JP2010010589A - レーザー式はんだ付け方法及び装置 - Google Patents

レーザー式はんだ付け方法及び装置 Download PDF

Info

Publication number
JP2010010589A
JP2010010589A JP2008170935A JP2008170935A JP2010010589A JP 2010010589 A JP2010010589 A JP 2010010589A JP 2008170935 A JP2008170935 A JP 2008170935A JP 2008170935 A JP2008170935 A JP 2008170935A JP 2010010589 A JP2010010589 A JP 2010010589A
Authority
JP
Japan
Prior art keywords
solder
terminal
cream solder
annular
soldering
Prior art date
Legal status (The legal status is an assumption and is not a legal conclusion. Google has not performed a legal analysis and makes no representation as to the accuracy of the status listed.)
Granted
Application number
JP2008170935A
Other languages
English (en)
Other versions
JP5043764B2 (ja
Inventor
Kotaro Matsushita
幸太郎 松下
Current Assignee (The listed assignees may be inaccurate. Google has not performed a legal analysis and makes no representation or warranty as to the accuracy of the list.)
Japan Unix Co Ltd
Original Assignee
Japan Unix Co Ltd
Priority date (The priority date is an assumption and is not a legal conclusion. Google has not performed a legal analysis and makes no representation as to the accuracy of the date listed.)
Filing date
Publication date
Application filed by Japan Unix Co Ltd filed Critical Japan Unix Co Ltd
Priority to JP2008170935A priority Critical patent/JP5043764B2/ja
Priority to US12/484,535 priority patent/US8269140B2/en
Priority to DE102009030249A priority patent/DE102009030249B4/de
Priority to CN2009101484631A priority patent/CN101618481B/zh
Publication of JP2010010589A publication Critical patent/JP2010010589A/ja
Application granted granted Critical
Publication of JP5043764B2 publication Critical patent/JP5043764B2/ja
Active legal-status Critical Current
Anticipated expiration legal-status Critical

Links

Images

Classifications

    • HELECTRICITY
    • H05ELECTRIC TECHNIQUES NOT OTHERWISE PROVIDED FOR
    • H05KPRINTED CIRCUITS; CASINGS OR CONSTRUCTIONAL DETAILS OF ELECTRIC APPARATUS; MANUFACTURE OF ASSEMBLAGES OF ELECTRICAL COMPONENTS
    • H05K3/00Apparatus or processes for manufacturing printed circuits
    • H05K3/30Assembling printed circuits with electric components, e.g. with resistor
    • H05K3/32Assembling printed circuits with electric components, e.g. with resistor electrically connecting electric components or wires to printed circuits
    • H05K3/34Assembling printed circuits with electric components, e.g. with resistor electrically connecting electric components or wires to printed circuits by soldering
    • H05K3/3447Lead-in-hole components
    • BPERFORMING OPERATIONS; TRANSPORTING
    • B23MACHINE TOOLS; METAL-WORKING NOT OTHERWISE PROVIDED FOR
    • B23KSOLDERING OR UNSOLDERING; WELDING; CLADDING OR PLATING BY SOLDERING OR WELDING; CUTTING BY APPLYING HEAT LOCALLY, e.g. FLAME CUTTING; WORKING BY LASER BEAM
    • B23K1/00Soldering, e.g. brazing, or unsoldering
    • B23K1/0008Soldering, e.g. brazing, or unsoldering specially adapted for particular articles or work
    • B23K1/0016Brazing of electronic components
    • BPERFORMING OPERATIONS; TRANSPORTING
    • B23MACHINE TOOLS; METAL-WORKING NOT OTHERWISE PROVIDED FOR
    • B23KSOLDERING OR UNSOLDERING; WELDING; CLADDING OR PLATING BY SOLDERING OR WELDING; CUTTING BY APPLYING HEAT LOCALLY, e.g. FLAME CUTTING; WORKING BY LASER BEAM
    • B23K1/00Soldering, e.g. brazing, or unsoldering
    • B23K1/005Soldering by means of radiant energy
    • B23K1/0056Soldering by means of radiant energy soldering by means of beams, e.g. lasers, E.B.
    • BPERFORMING OPERATIONS; TRANSPORTING
    • B23MACHINE TOOLS; METAL-WORKING NOT OTHERWISE PROVIDED FOR
    • B23KSOLDERING OR UNSOLDERING; WELDING; CLADDING OR PLATING BY SOLDERING OR WELDING; CUTTING BY APPLYING HEAT LOCALLY, e.g. FLAME CUTTING; WORKING BY LASER BEAM
    • B23K26/00Working by laser beam, e.g. welding, cutting or boring
    • B23K26/02Positioning or observing the workpiece, e.g. with respect to the point of impact; Aligning, aiming or focusing the laser beam
    • B23K26/03Observing, e.g. monitoring, the workpiece
    • BPERFORMING OPERATIONS; TRANSPORTING
    • B23MACHINE TOOLS; METAL-WORKING NOT OTHERWISE PROVIDED FOR
    • B23KSOLDERING OR UNSOLDERING; WELDING; CLADDING OR PLATING BY SOLDERING OR WELDING; CUTTING BY APPLYING HEAT LOCALLY, e.g. FLAME CUTTING; WORKING BY LASER BEAM
    • B23K3/00Tools, devices, or special appurtenances for soldering, e.g. brazing, or unsoldering, not specially adapted for particular methods
    • B23K3/06Solder feeding devices; Solder melting pans
    • B23K3/0607Solder feeding devices
    • B23K3/063Solder feeding devices for wire feeding
    • BPERFORMING OPERATIONS; TRANSPORTING
    • B23MACHINE TOOLS; METAL-WORKING NOT OTHERWISE PROVIDED FOR
    • B23KSOLDERING OR UNSOLDERING; WELDING; CLADDING OR PLATING BY SOLDERING OR WELDING; CUTTING BY APPLYING HEAT LOCALLY, e.g. FLAME CUTTING; WORKING BY LASER BEAM
    • B23K3/00Tools, devices, or special appurtenances for soldering, e.g. brazing, or unsoldering, not specially adapted for particular methods
    • B23K3/06Solder feeding devices; Solder melting pans
    • B23K3/0607Solder feeding devices
    • B23K3/0638Solder feeding devices for viscous material feeding, e.g. solder paste feeding
    • BPERFORMING OPERATIONS; TRANSPORTING
    • B23MACHINE TOOLS; METAL-WORKING NOT OTHERWISE PROVIDED FOR
    • B23KSOLDERING OR UNSOLDERING; WELDING; CLADDING OR PLATING BY SOLDERING OR WELDING; CUTTING BY APPLYING HEAT LOCALLY, e.g. FLAME CUTTING; WORKING BY LASER BEAM
    • B23K3/00Tools, devices, or special appurtenances for soldering, e.g. brazing, or unsoldering, not specially adapted for particular methods
    • B23K3/08Auxiliary devices therefor
    • B23K3/082Flux dispensers; Apparatus for applying flux
    • BPERFORMING OPERATIONS; TRANSPORTING
    • B23MACHINE TOOLS; METAL-WORKING NOT OTHERWISE PROVIDED FOR
    • B23KSOLDERING OR UNSOLDERING; WELDING; CLADDING OR PLATING BY SOLDERING OR WELDING; CUTTING BY APPLYING HEAT LOCALLY, e.g. FLAME CUTTING; WORKING BY LASER BEAM
    • B23K3/00Tools, devices, or special appurtenances for soldering, e.g. brazing, or unsoldering, not specially adapted for particular methods
    • B23K3/08Auxiliary devices therefor
    • B23K3/087Soldering or brazing jigs, fixtures or clamping means
    • BPERFORMING OPERATIONS; TRANSPORTING
    • B23MACHINE TOOLS; METAL-WORKING NOT OTHERWISE PROVIDED FOR
    • B23KSOLDERING OR UNSOLDERING; WELDING; CLADDING OR PLATING BY SOLDERING OR WELDING; CUTTING BY APPLYING HEAT LOCALLY, e.g. FLAME CUTTING; WORKING BY LASER BEAM
    • B23K2101/00Articles made by soldering, welding or cutting
    • B23K2101/36Electric or electronic devices
    • B23K2101/42Printed circuits
    • HELECTRICITY
    • H05ELECTRIC TECHNIQUES NOT OTHERWISE PROVIDED FOR
    • H05KPRINTED CIRCUITS; CASINGS OR CONSTRUCTIONAL DETAILS OF ELECTRIC APPARATUS; MANUFACTURE OF ASSEMBLAGES OF ELECTRICAL COMPONENTS
    • H05K2203/00Indexing scheme relating to apparatus or processes for manufacturing printed circuits covered by H05K3/00
    • H05K2203/04Soldering or other types of metallurgic bonding
    • H05K2203/0405Solder foil, tape or wire
    • HELECTRICITY
    • H05ELECTRIC TECHNIQUES NOT OTHERWISE PROVIDED FOR
    • H05KPRINTED CIRCUITS; CASINGS OR CONSTRUCTIONAL DETAILS OF ELECTRIC APPARATUS; MANUFACTURE OF ASSEMBLAGES OF ELECTRICAL COMPONENTS
    • H05K2203/00Indexing scheme relating to apparatus or processes for manufacturing printed circuits covered by H05K3/00
    • H05K2203/10Using electric, magnetic and electromagnetic fields; Using laser light
    • H05K2203/107Using laser light
    • HELECTRICITY
    • H05ELECTRIC TECHNIQUES NOT OTHERWISE PROVIDED FOR
    • H05KPRINTED CIRCUITS; CASINGS OR CONSTRUCTIONAL DETAILS OF ELECTRIC APPARATUS; MANUFACTURE OF ASSEMBLAGES OF ELECTRICAL COMPONENTS
    • H05K3/00Apparatus or processes for manufacturing printed circuits
    • H05K3/30Assembling printed circuits with electric components, e.g. with resistor
    • H05K3/32Assembling printed circuits with electric components, e.g. with resistor electrically connecting electric components or wires to printed circuits
    • H05K3/34Assembling printed circuits with electric components, e.g. with resistor electrically connecting electric components or wires to printed circuits by soldering
    • H05K3/3457Solder materials or compositions; Methods of application thereof
    • H05K3/3485Applying solder paste, slurry or powder
    • HELECTRICITY
    • H05ELECTRIC TECHNIQUES NOT OTHERWISE PROVIDED FOR
    • H05KPRINTED CIRCUITS; CASINGS OR CONSTRUCTIONAL DETAILS OF ELECTRIC APPARATUS; MANUFACTURE OF ASSEMBLAGES OF ELECTRICAL COMPONENTS
    • H05K3/00Apparatus or processes for manufacturing printed circuits
    • H05K3/30Assembling printed circuits with electric components, e.g. with resistor
    • H05K3/32Assembling printed circuits with electric components, e.g. with resistor electrically connecting electric components or wires to printed circuits
    • H05K3/34Assembling printed circuits with electric components, e.g. with resistor electrically connecting electric components or wires to printed circuits by soldering
    • H05K3/3494Heating methods for reflowing of solder

Landscapes

  • Engineering & Computer Science (AREA)
  • Mechanical Engineering (AREA)
  • Physics & Mathematics (AREA)
  • Optics & Photonics (AREA)
  • Manufacturing & Machinery (AREA)
  • Microelectronics & Electronic Packaging (AREA)
  • Plasma & Fusion (AREA)
  • Electric Connection Of Electric Components To Printed Circuits (AREA)

Abstract

【課題】プリント配線基板の環状端子と電子部品の棒状端子とを、レーザー光を使用し、上記電子部品の焼けの問題を生じることなく高品質にはんだ付けするための技術を提供する。
【解決手段】プリント配線基板15の環状端子21と該環状端子内に挿入された電子部品23の棒状端子23aとに、クリームはんだ供給装置からクリームはんだ28を供給してスルーホール22を塞ぎ、その状態でこれらの環状端子21と棒状端子23aとクリームはんだ28とにレーザー光照射装置からレーザー光32を照射すると共に、上記クリームはんだ28が溶け始めるのと同時に糸はんだ30を供給することにより、該糸はんだ30と上記クリームはんだ28とを融合させて上記環状端子21と棒状端子23aとをはんだ付けする。
【選択図】図4

Description

本発明は、レーザー光を使用してICやLSIなどの電子部品をプリント配線基板にはんだ付けするための技術に関するものである。
レーザー光を使用してICやLSIなどの電子部品をプリント配線基板にはんだ付けする技術は、例えば特許文献1や特許文献2に開示されているように従来より公知である。これらの技術は、はんだ付け装置のはんだ付けヘッドからプリント配線基板に向けてレーザー光を投射し、このレーザー光の熱ではんだを溶融させてはんだ付けするもので、非接触ではんだ付けを行うことができるという利点がある。
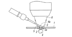
ところが、図7に示すように、プリント配線基板1の環状端子2で取り囲まれたスルーホール3内に電子部品4の棒状端子4aを挿入し、この棒状端子4aと上記環状端子2とを糸はんだ5を使用してはんだ付けする場合には、この糸はんだ5がレーザー光6により溶融してスルーホール3を埋める前に、該レーザー光6が上記環状端子2と棒状端子4aとの間の隙間3aを通して電子部品4に投射され、該電子部品4の一部に焼けが発生するという問題があった。また、上記糸はんだ5は、中心の空洞部内にフラックスを含有しているが、その構造上、フラックスの含有量が約3%(重量比)前後と少ないものが多く、このため、溶融後の濡れ性の問題により、上記環状端子2や棒状端子4aに沿った溶融はんだの広がりや、上記スルーホール3内への溶融はんだの流れ込み等に時間がかかり易いという問題もある。
一方、上記糸はんだ5の代わりに、はんだ粒子をペースト状にしたクリームはんだを使用し、このクリームはんだを上記環状端子2と棒状端子4aとにスルーホール3を塞ぐように予め供給しておき、そこにレーザー光を照射してクリームはんだを溶融させてはんだ付けするようにすれば、レーザー光がこのクリームはんだで遮断されて上記スルーホールを通過できないため、上記電子部品の焼けの問題は回避することができる。
しかし、上記クリームはんだは流動性があるため、上記環状端子と棒状端子とのはんだ付けに必要な量のクレームはんだを該環状端子の上に山積み状態で供給すると、そのあとレーザー光を照射するまでの間にこのクリームはんだが拡散して環状端子の外部まで流れ出てしまう。このような状態でレーザー光を照射すると、環状端子の外にあるクリームはんだは溶融しないまま残り、周囲に散らばるため、これが外観不良や導通不良等を起こす原因になり易い。また、供給するクリームはんだの量が多いため、レーザー光によって溶融するまでに時間がかかるだけでなく、予めスルーホールの内部に流入したクリームはんだ中の粒状はんだが完全には溶融しきれずに粒子のまま残り、はんだ不良を起こすことも多い。
特開平4−52073号公報 特開2002−1521号公報
そこで本発明の目的は、プリント配線基板の環状端子で取り囲まれたスルーホール内に電子部品の棒状端子を挿入し、この棒状端子と上記環状端子とをレーザー光を用いてはんだ付けする場合に、該レーザー光による電子部品の焼けの問題をなくし、高品質のはんだ付けを行うことができるようにすることにある。
上記目的を達成するため本発明によれば、プリント配線基板の環状端子で取り囲まれたスルーホール内に電子部品の棒状端子を挿入し、上記環状端子と該棒状端子とに上記スルーホールを塞ぐようにクリームはんだを供給したあと、このクリームはんだにレーザー光を照射すると共に、上記環状端子と棒状端子とにさらに糸はんだを供給することにより、該糸はんだと上記クリームはんだとを融合させて上記環状端子と棒状端子とをはんだ付けすることを特徴とするレーザー式はんだ付け方法が提供される。
本発明において、上記糸はんだの供給は、レーザー光の照射と同時か又は該レーザー光の照射によってクリームはんだが溶け始めるのに合わせて行われることが望ましい。
また、本発明においては、上記クリームはんだの供給量が、上記環状端子と棒状端子とを該クリームはんだ単独ではんだ付けする場合に必要な量より少ないが、上記スルーホールを完全に塞ぐことができる量であり、このクリームはんだの上から上記糸はんだを重ねるように供給してはんだ付けが行われる。
本発明において好ましくは、上記クリームはんだのフラックス含有量を、上記糸はんだのフラックス含有量より多くすることである。
また、本発明のはんだ付け装置は、環状端子で取り囲まれたスルーホール内に電子部品の棒状端子を挿入した状態のプリント配線基板を支持する基板支持テーブル、上記プリント配線基板の環状端子と棒状端子とに、上記スルーホールを塞ぐようにクリームはんだを供給するクリームはんだ供給装置、クリームはんだが供給された上記環状端子と棒状端子とに対して糸はんだを供給する糸はんだ供給装置、上記環状端子と棒状端子とを上記クリームはんだと糸はんだとを融合させてはんだ付けするため、これらの環状端子と棒状端子とに向けてレーザー光を照射するレーザー光照射装置を有することを特徴とする。
上記糸はんだ供給装置は、上記糸はんだを、上記レーザー光の照射と同時か又は該レーザー光の照射によってクリームはんだが溶け始めるのに合わせて該クリームはんだの上から供給するように構成されていることが望ましい。
また、本発明において好ましくは、上記基板支持テーブルに対して相対的に変位自在のはんだ付けヘッドを有し、このはんだ付けヘッドに、上記クリームはんだ供給装置とレーザー光照射装置と糸はんだ供給装置とが装着されていることである。
本発明によれば、環状端子と棒状端子とに予めクリームはんだを供給してスルーホールを塞いでおくことにより、はんだ付け時にレーザー光がこのクリームはんだで遮断されて上記スルーホールを通過できないため、電子部品の焼けの問題を解消することができる。また、上記クリームはんだの他にさらに糸はんだを供給してはんだ付けすることにより、これらのクリームはんだと糸はんだとが融合して互いの欠点を補い合うため、高品質のはんだ付けを行うことが可能になる。
図1は本発明に係るレーザー式はんだ付け装置の一実施形態を示すものである。このはんだ付け装置は、設定されたプログラムに従ってはんだ付けを自動的に行うもので、平面視形状が矩形をなす基台10と、この基台10の左右両端に設けられた一対の支持柱11と、これらの支持柱11の上端部間に水平に掛け渡されたガイドレール12と、このガイドレール12に沿って横方向(X方向)に移動自在のはんだ付けヘッド13と、はんだ付け対象であるプリント配線基板15を載置するため上記基台10上に配設された基板支持テーブル14とを有している。この基板支持テーブル14は、操作によって上記基台10の前後方向(Y方向)に移動可能である。
上記基台10の内部には、装置全体の動作を制御する制御装置16が内蔵され、左右何れか一方の支持柱11の側面には、スイッチ18や表示ランプ19等を備えた操作盤17が配設され、この操作盤17によって自動運転のための各種設定や操作あるいは運転状態の表示等が行われるようになっている。
上記プリント配線基板15は、図3から分かるように、環状端子21で取り囲まれたスルーホール22を1つ以上有するもので、このスルーホール22内に電子部品23の棒状端子23aを挿入した状態の該プリント配線基板15が、上記基板支持テーブル14上に載置されている。
上記環状端子21は、基板の表裏両面において上記スルーホール22を取り囲む円環状のパッド部21aと、上記スルーホール22を貫通してこれらのパッド部21aを相互に導通させる円筒部21bとからなるもので、上記パッド部21aが基板15上の印刷配線によって他の端子や電子部品等に接続されている。
上記はんだ付けヘッド13は、上記ガイドレール12に支持されたヘッド基盤26に、上記プリント配線基板15の環状端子21と棒状端子23aとに対してクリームはんだ28(図3参照)を供給するクリームはんだ供給装置27と、上記環状端子21と棒状端子23aとに糸はんだ30(図4参照)を供給する糸はんだ供給装置29と、レーザー光32(図4参照)を照射することによって上記クリームはんだ28と糸はんだ30とを融合させてはんだ付けを行うレーザー光照射装置31とを取り付けたものである。
上記クリームはんだ供給装置27は、上記ヘッド基盤26に昇降自在なるように取り付けられて上記制御装置16で昇降制御される供給ヘッド35を有している。この供給ヘッド35には、図2からも分かるように、クリームはんだ28が収容された円筒形のはんだ容器36が交換可能に取り付けられると共に、該はんだ容器36から送られるクリームはんだ28を上記環状端子21と棒状端子23aとに一定量ずつ供給するはんだ吐出ノズル37が設けられている。上記はんだ容器36には、圧力エア源に通じるエアチューブ38が接続され、このエアチューブ38を通じて供給されるエアの圧力によって該はんだ容器36内のクリームはんだ28が上記吐出ノズル37へ送られるようになっている。
上記クリームはんだ28のフラックス含有量は、5〜20%(重量比)程度であることが望ましい。このフラックスは、溶融したはんだの表面張力を強めたり、酸化物の生成を防いではんだの濡れ性や拡散性を高めたりする性質を有するものである。
上記はんだ吐出ノズル37は、上記供給ヘッド35から下向きに延出していて、下端にはんだ吐出口37aを有している。このはんだ吐出ノズル37の昇降動作とクリームはんだ28の吐出動作とは、上記制御装置16によって制御され、それによって該はんだ吐出ノズル37から、上記プリント配線基板15上の複数の環状端子21と棒状端子23aとに、図3に示すように、決められた量のクリームはんだ28が、上記スルーホール22を塞ぐように順次ポイント式に供給される。
このとき上記はんだ吐出ノズル37から各環状端子21と棒状端子23aとに供給されるクリームはんだ28の量は、該環状端子21と棒状端子23aとをこのクリームはんだ28単独ではんだ付けする場合に必要な量より少ないが、上記スルーホール22を完全に塞ぐことができる量である。
上記レーザー光照射装置31は、上記ヘッド基盤26の上記供給ヘッド35と隣接する位置に昇降自在に取り付けられた照射ヘッド40を有している。この照射ヘッド40の昇降は、上記制御装置16で制御される。この照射ヘッド40の側面には、レーザー源で発生したレーザー光32を導入するための光ファイバー41の先端部が接続され、該照射ヘッド40の内部には、導入されたレーザー光32の向きを変える半透鏡やビーム径を変える光学レンズ等の光学部材が内蔵され、該照射ヘッド40の先端には、上記光学部材から出力されるレーザー光32をはんだ付け対象に向けて照射するための照射口40aが設けられている。しかし、上記光学部材の図示は省略されている。上記照射ヘッド40から照射されるレーザー光32は円形である。
また、上記照射ヘッド40の上端部にはCCDカメラ42が取り付けられ、上記照射口40aを通じてはんだ付け対象を撮像できるようになっている。このCCDカメラ42で撮像したはんだ付け対象の画像は、図示しないモニターに表示され、表示された画像を見ながら、はんだ付け対象に対するレーザー光照射のための位置決めやティーチング等を行うことができるように構成されている。図中43は、上記CCDカメラ42からの画像信号を制御装置16に送るためのリード線である。
上記糸はんだ供給装置29は、上記環状端子21と棒状端子23aとに対して糸はんだ30を供給する細長い棒状の糸はんだノズル45と、この糸はんだノズル45に必要量の糸はんだ30をリール47から繰り出して供給する糸はんだ供給部46とを有し、この糸はんだ供給部46と上記糸はんだノズル45とが、はんだ送りチューブ48によって相互に連結されている。
上記糸はんだノズル45は、上記レーザー光照射装置31の照射ヘッド40に支持されていて、この照射ヘッド40と一緒に昇降自在である。即ち、この照射ヘッド40に設けられた支持部材50には、鉛直方向(上下方向)に位置調節自在なるように支持棒51が取り付けられ、該支持棒51の下端には、軸52aを中心にして回動自在なるように揺動部材52が取り付けられ、この揺動部材52に糸はんだノズル45が、自身の軸線方向に位置調節自在なるように支持されている。従って、この糸はんだノズル45は、上記環状端子21と棒状端子23aとに対し、上下方向及び左右方向の距離を調節自在であると共に、傾斜角度も調節自在である。
また、上記糸はんだ供給部46は、上記ヘッド基盤26の側面に取り付けられていて、糸はんだ30が巻かれた上記リール47と、このリール47を駆動する駆動機構(図示せず)とを有している。ここで使用される糸はんだ30のフラックス含有量は、上記クリームはんだ28のフラックス含有量より少なく、0〜4%(重量比)程度である。しかし、それよりフラックス含有量の多い糸はんだを使用することも勿論可能である。
図中53はケーブルで、上記ヘッド基盤26、操作盤17、ガイドレール12の内部に設けられているヘッド基盤用駆動装置、基台10の内部の制御装置16等を相互に電気接続するためのものである。
上記構成を有するはんだ付け装置で、基板支持テーブル14上に置かれたプリント配線基板15の環状端子21と棒状端子23aとをはんだ付けする場合、先ず、上記クリームはんだ供給装置27により、各環状端子21と棒状端子23aとにクリームはんだ28が供給、塗布される。即ち、図3に一つの環状端子21と棒状端子23aとについて代表的に示すように、プリント配線基板15上に移動した上記クリームはんだ供給装置27のはんだ吐出ノズル37から、環状端子21のパッド部21a上に、設定された量のクリームはんだ28が、該パッド部21aの周囲にはみ出ださない状態で、スルーホール22内の上記棒状端子23aの回りの隙間22aを塞ぐように供給される。
このときのクリームはんだ28の供給量は、このクリームはんだ28のみで上記環状端子21と棒状端子23aとをはんだ付けする場合に必要な量より少ないが、上記隙間22aは完全に塞ぐことができる量である。従って、上記クリームはんだ28の塗布量は少ないため、その後のレーザー光32の照射までの間に該クリームはんだ28が環状端子21の外部まで流れ出る心配はない。なお、上記クリームはんだ28によってスルーホール22の内部全体が完全に埋められている必要はない。
上記クリームはんだ28のフラックス含有量は、5〜20%(重量比)の範囲に調整されている。
全ての環状端子21と棒状端子23aとに対する上記クリームはんだ28の塗布が完了すると、今度は、上記レーザー光照射装置31がプリント配線基板15上に移動し、図4に示すように、クリームはんだ28が塗布された上記環状端子21と棒状端子23aとに対して照射ヘッド40からレーザー光32が照射される。このとき、糸はんだ供給装置29から糸はんだ30はまだ供給されていない。
上記レーザー光32が照射されると、上記クリームはんだ28は加熱されてすぐに溶け始める。そこで、レーザー光32を照射したあとこのクリームはんだ28が溶け始めるのに合わせて、具体的には、上記クリームはんだ28が溶け始めるのとほぼ同時か、又は溶け始める直前あるいは溶け始めた直後に、図5に示すように、上記糸はんだ供給装置29の糸はんだノズル45から、設定された長さ(量)の糸はんだ30が送り出され、上記クリームはんだ28の上から環状端子21と棒状端子23aとに供給される。
上記レーザー光32の照射からクリームはんだ28が溶け始めるまでの時間差は、該クレームはんだ28の塗布量やレーザー光32の熱容量等によっても異なるが、通常は0.1−0.5秒程度である。従って、上記のようにレーザー光32の照射が開示されてから糸はんだ30が供給されるまでの時間差も、実際にはごく僅かである。
上記糸はんだ30としては、上記クリームはんだ28よりフラックス含有量の少ないものが使用され、そのフラックス含有量は0〜4%(重量比)に調整されている。
供給された上記糸はんだ30は、レーザー光32の熱とクリームはんだ28からの熱とによって溶融され、先に溶融を始めた該クリームはんだ28と融合しながらこのクリームはんだ28と一緒にスルーホール22の内部へと浸透し、プリント配線基板15の裏面にまで達して環状端子21の裏面側のパッド部21aに沿っても拡散する。この場合、上述したようにフラックス含有量の多いクリームはんだ28を先に塗布しておき、このクリームはんだ28がレーザー光32の照射で溶融及び拡散を始めたところに上記糸はんだ30が供給されるため、この糸はんだ30自身の単位体積当たりのフラックス含有量は上記クリームはんだ28より少なくても、上記クリームはんだ28に多く含まれるフラックスの作用により、はんだ全体の上記環状端子21及び棒状端子23aに対する濡れ性や拡散性あるいはスルーホール22内への浸透性は非常に良好になる。
この結果、図6に示すように、上記環状端子21と棒状端子23aとが、上記クレームはんだ28と糸はんだ30とが融合したはんだ融合体33により、広くかつ厚く包み込まれた状態で精度良くはんだ付けされることになる。
なお、供給する上記糸はんだ30の長さ(量)を調整することにより、最終的なはんだの盛り量、即ち上記はんだ融合体33としてのはんだの盛り量を、はんだ付け対象に合わせて最適な量となるように調整することができるのは勿論のこと、必要に応じて多めにしたり少なめにするなどの調整も自由に行うことができる。
上記レーザー光32の照射時には、図4に示すように、スルーホール22内にある上記棒状端子23aの回りの隙間22aがクリームはんだ28によって完全に塞がれているため、照射されたレーザー光32はこのクリームはんだ28に遮られて上記スルーホール22を通過できない。このため、該レーザー光32による電子部品23の焼けの問題は完全に解消される。
また、上記レーザー光32の照射で加熱された状態あるいは溶け始めた状態のクリームはんだ28の上から糸はんだ30を供給すると、該糸はんだ30はレーザー光32とクリームはんだ28の両方で加熱されるため、単独の使用では溶けにくい該糸はんだ30の溶融速度が非常に早くなり、該糸はんだ30を単独で使用する場合よりははんだ付けに要する時間が短縮される。
しかも、上記糸はんだ30の供給時に、上記クリームはんだ28に含まれるフラックスが、該クリームはんだ28の加熱、溶融と共に蒸散してこの糸はんだ30の外面に付着するため、1つのポイント即ち1組の環状端子21と棒状端子23aとのはんだ付けが終了したとき、レーザー光32によって溶断された上記糸はんだ30の先端部は、図4に実線で示すように、付着したフラックスの作用によってほぼ線径のまま途切れており、次のポイントをはんだ付けする際の該糸はんだ30の供給量に誤差を生じない。
因みに、フラックス含有量がゼロか又は通常より少ない糸はんだ30を単独で使用した場合、レーザー光で溶断された該糸はんだ30の先端は、図4に鎖線で示すように、太い球30aが付着したような状態になることが知られており、このような状態になると、次のポイントをはんだ付けする際の該糸はんだ30の供給量に誤差を生じ易いだけでなく、該糸はんだが溶けにくいという問題が生じる。
上記実施形態においては、上記環状端子21と棒状端子23aとに対する糸はんだ30の供給を、レーザー光32の照射開始後、上記クリームはんだ28が溶け始めるのに合わせて行うようにしているが、レーザー光32の照射開始からクリームはんだ28が溶け始めるまでの時間差は非常に短く、特に、クリームはんだ28の塗布量が少ない場合や、レーザー光32の熱容量が大きい場合などにはその時間差が一層短いため、レーザー光32の照射とほぼ同時に糸はんだ30を供給するようにしても良い。
また、上記実施形態においては、はんだ付け装置のはんだ付けヘッド13に、クリームはんだ供給装置27と糸はんだ供給装置29とレーザー光照射装置31とが一緒に設けられているが、上記クリームはんだ供給装置27は、上記はんだ付けヘッド13から切り離して独立する装置として構成することができる。この場合に本発明のはんだ付け装置は、上記クリームはんだ供給装置27と、上記レーザー光照射装置31及び糸はんだ供給装置29と、これらの装置間を結ぶ図示しない基板用搬送ラインとによって構成される。
そして、上記クリームはんだ供給装置27でクリームはんだ28を塗布されたプリント配線基板15が、上記基板用搬送ラインによって上記レーザー光照射装置31及び糸はんだ供給装置29の位置まで搬送され、レーザー光32の照射と糸はんだ30の供給とを受けることによってはんだ付けが行われる。
なお、上記環状端子21はプリント配線基板15の片面パッド部21aを備えたものであっても良い。
本発明に係るレーザー式はんだ付け装置の一実施形態を示す正面図である。 クリームはんだ供給装置の要部の側面図である。 プリント配線基板における1つの環状端子と棒状端子とについてクリームはんだが塗布された状態を示す部分断面図である。 図3のものにレーザー光が照射された状態を示す部分断面図である。 図4のものに糸はんだが供給された状態を示す部分断面図である。 はんだ付けが完了した状態を示す部分断面図である。 従来のはんだ付け方法を示す部分断面図である。
符号の説明
13 はんだ付けヘッド
14 基板支持テーブル
15 プリント配線基板
21 環状端子
22 スルーホール
23 電子部品
23a 棒状端子
27 クリームはんだ供給装置
28 クリームはんだ
29 糸はんだ供給装置
30 糸はんだ
31 レーザー光照射装置
32 レーザー光

Claims (7)

  1. プリント配線基板の環状端子で取り囲まれたスルーホール内に電子部品の棒状端子を挿入し、上記環状端子と該棒状端子とに上記スルーホールを塞ぐようにクリームはんだを供給したあと、このクリームはんだにレーザー光を照射すると共に、上記環状端子と棒状端子とにさらに糸はんだを供給することにより、該糸はんだと上記クリームはんだとを融合させて上記環状端子と棒状端子とをはんだ付けすることを特徴とするレーザー式はんだ付け方法。
  2. 上記糸はんだの供給は、上記レーザー光の照射と同時か又は該レーザー光の照射によってクリームはんだが溶け始めるのに合わせて行うことを特徴とする請求項1に記載のはんだ付け方法。
  3. 上記クリームはんだの供給量は、上記環状端子と棒状端子とを該クリームはんだ単独ではんだ付けする場合に必要な量より少ないが、上記スルーホールを完全に塞ぐことができる量であり、このクリームはんだの上から上記糸はんだを重ねるように供給してはんだ付けすることを特徴とする請求項1又は2に記載のはんだ付け方法。
  4. 上記クリームはんだのフラックス含有量を、上記糸はんだのフラックス含有量より多くすることを特徴とする請求項1から3の何れかに記載のはんだ付け方法。
  5. 環状端子で取り囲まれたスルーホール内に電子部品の棒状端子を挿入した状態のプリント配線基板を支持する基板支持テーブル、
    上記プリント配線基板の環状端子と棒状端子とに、上記スルーホールを塞ぐようにクリームはんだを供給するクリームはんだ供給装置、
    クリームはんだが供給された上記環状端子と棒状端子とに対して糸はんだを供給する糸はんだ供給装置、
    上記環状端子と棒状端子とを上記クリームはんだと糸はんだとを融合させてはんだ付けするため、これらの環状端子と棒状端子とに向けてレーザー光を照射するレーザー光照射装置、
    を有することを特徴とするレーザー式はんだ付け装置。
  6. 上記糸はんだ供給装置は、上記糸はんだを、上記レーザー光の照射と同時か又は該レーザー光の照射によってクリームはんだが溶け始めるのに合わせて該クリームはんだの上から供給するように構成されていることを特徴とする請求項5に記載のはんだ付け装置。
  7. 上記基板支持テーブルに対して相対的に変位自在のはんだ付けヘッドを有し、このはんだ付けヘッドに、上記クリームはんだ供給装置とレーザー光照射装置と糸はんだ供給装置とが取り付けられていることを特徴とする請求項5又は6に記載のはんだ付け装置。
JP2008170935A 2008-06-30 2008-06-30 レーザー式はんだ付け方法及び装置 Active JP5043764B2 (ja)

Priority Applications (4)

Application Number Priority Date Filing Date Title
JP2008170935A JP5043764B2 (ja) 2008-06-30 2008-06-30 レーザー式はんだ付け方法及び装置
US12/484,535 US8269140B2 (en) 2008-06-30 2009-06-15 Method and apparatus for laser soldering
DE102009030249A DE102009030249B4 (de) 2008-06-30 2009-06-23 Verfahren und Vorrichtung zum Laserlöten
CN2009101484631A CN101618481B (zh) 2008-06-30 2009-06-30 激光焊接方法和装置

Applications Claiming Priority (1)

Application Number Priority Date Filing Date Title
JP2008170935A JP5043764B2 (ja) 2008-06-30 2008-06-30 レーザー式はんだ付け方法及び装置

Publications (2)

Publication Number Publication Date
JP2010010589A true JP2010010589A (ja) 2010-01-14
JP5043764B2 JP5043764B2 (ja) 2012-10-10

Family

ID=41413024

Family Applications (1)

Application Number Title Priority Date Filing Date
JP2008170935A Active JP5043764B2 (ja) 2008-06-30 2008-06-30 レーザー式はんだ付け方法及び装置

Country Status (4)

Country Link
US (1) US8269140B2 (ja)
JP (1) JP5043764B2 (ja)
CN (1) CN101618481B (ja)
DE (1) DE102009030249B4 (ja)

Cited By (3)

* Cited by examiner, † Cited by third party
Publication number Priority date Publication date Assignee Title
EP2347786A1 (en) 2010-01-21 2011-07-27 Asahi Intecc Co., Ltd. Medical guidewire
WO2014049780A1 (ja) * 2012-09-27 2014-04-03 パイオニアデジタルデザインアンドマニュファクチャリング株式会社 加熱装置、はんだ付け装置、加熱方法、および、はんだ付け方法
JPWO2022190483A1 (ja) * 2021-03-12 2022-09-15

Families Citing this family (20)

* Cited by examiner, † Cited by third party
Publication number Priority date Publication date Assignee Title
US8934999B2 (en) * 2012-02-13 2015-01-13 Tesla Motors, Inc. Robotic processing system and method
CN102699463A (zh) * 2012-04-18 2012-10-03 深圳市恒毅兴实业有限公司 基于电路板焊接的焊接方法及焊接系统
US20150271927A1 (en) * 2014-03-18 2015-09-24 Tektronix, Inc. Integrated soldering device
CN106180951B (zh) * 2016-08-22 2019-02-22 京信通信技术(广州)有限公司 多维度多平面多点位同步点锡装置及点锡方法
CN106424998A (zh) * 2016-08-31 2017-02-22 深圳市艾尔摩迪精密科技有限公司 基于焊点识别自动激光软钎焊系统
CN106825818A (zh) * 2016-12-23 2017-06-13 中源智人科技(深圳)股份有限公司 一种具有激光焊锡及插件功能的设备
CN106735666A (zh) * 2016-12-23 2017-05-31 中源智人科技(深圳)股份有限公司 一种激光焊锡设备
JP2018158357A (ja) * 2017-03-22 2018-10-11 日本電産株式会社 半田接合構造、半田接合方法及び半田接合用治具
EP3610957B1 (en) * 2017-04-14 2023-06-07 Illinois Tool Works Inc. Apparatus for preventing solder paste dripping
JP7127055B2 (ja) * 2017-04-14 2022-08-29 イリノイ トゥール ワークス インコーポレイティド はんだペースト印刷機の自動はんだペースト付加装置
WO2018189586A2 (zh) * 2017-04-14 2018-10-18 伊利诺斯工具制品有限公司 用于提供锡膏的组件及其方法
CN108637420B (zh) * 2018-07-04 2024-06-11 武汉松盛光电科技有限公司 一种自动送丝系统
JP7260401B2 (ja) * 2019-05-29 2023-04-18 ファナック株式会社 レーザー光にて半田付けを行う半田付け装置および半田付け装置を備えるロボット装置
CN110181175A (zh) * 2019-06-28 2019-08-30 深圳市火焱激光科技有限公司 一种位置可调式激光加工机
CN110919127B (zh) * 2019-11-29 2022-05-27 常德富博智能科技有限公司 一种自动加锡焊接自动设备
CN113118578B (zh) * 2019-12-31 2022-09-16 台州高知科技有限公司 一种保险丝焊接机
DE102022109905A1 (de) * 2021-04-26 2022-10-27 Pac Tech - Packaging Technologies Gmbh Verfahren und Vorrichtung zum Löten eines elektronischen Bauteils an eine Schaltkreisplatine, Computerprogrammprodukt und computerlesbares Medium
US12144123B2 (en) 2021-10-01 2024-11-12 Samsung Electronics Co., Ltd. Electronic device including coin-cell battery
CN114083098B (zh) * 2022-01-24 2022-05-17 快克智能装备股份有限公司 开合式焊接装置及其安装调试和焊接方法
CN116787925A (zh) * 2022-03-17 2023-09-22 伊利诺斯工具制品有限公司 锡膏分配反馈系统及使用该锡膏分配反馈系统的电路板印刷机

Citations (4)

* Cited by examiner, † Cited by third party
Publication number Priority date Publication date Assignee Title
JPH0513950A (ja) * 1991-06-28 1993-01-22 Matsushita Electric Ind Co Ltd 半田付け装置
JPH06132649A (ja) * 1992-10-20 1994-05-13 Matsushita Electric Ind Co Ltd 光ビームによるリード線のはんだ付け方法
JPH09162536A (ja) * 1995-12-06 1997-06-20 Sony Corp 印刷回路基板への部品実装方法および印刷回路基板に実装する部品ならびに印刷回路基板
JP2004119736A (ja) * 2002-09-26 2004-04-15 Kyocera Corp 熱電モジュールの製造方法

Family Cites Families (18)

* Cited by examiner, † Cited by third party
Publication number Priority date Publication date Assignee Title
JPS59114849A (ja) 1982-12-22 1984-07-03 Toshiba Corp 混成集積回路の製造方法
JPS59232666A (ja) 1983-06-13 1984-12-27 Fujitsu Ltd ジヤンパ−線の半田付装置および半田付方法
JPS6050881A (ja) * 1983-08-31 1985-03-20 富士通株式会社 被覆電気導線の配線接続方法
US4588468A (en) * 1985-03-28 1986-05-13 Avco Corporation Apparatus for changing and repairing printed circuit boards
JPS62282773A (ja) * 1986-05-30 1987-12-08 Apollo Seiko Kk 自動半田付け方法及び装置
DE3939812C2 (de) * 1989-12-01 1993-11-11 Deutsche Aerospace Laserlötsystem für SMD-Elemente
JPH0452073A (ja) 1990-06-15 1992-02-20 Matsushita Electric Ind Co Ltd 光ビームはんだ付方法
DE4234342C2 (de) * 1992-10-12 1998-05-14 Fraunhofer Ges Forschung Verfahren zur Materialbearbeitung mit Laserstrahlung
WO1997044191A1 (en) * 1996-05-17 1997-11-27 Matsushita Electric Industrial Co., Ltd. Printing method and printing apparatus
ES2140340B1 (es) * 1998-03-13 2000-10-16 Mecanismos Aux Es Ind S A M A Procedimiento de soldadura laser aplicable a la union de pines sobre circuitos impresos.
US6168070B1 (en) * 1998-10-14 2001-01-02 Visteon Global Technologies, Inc. Method for soldering DPAK-type electronic components to circuit boards
AT410067B (de) * 2000-11-16 2003-01-27 Fronius Schweissmasch Prod Vorrichtung für einen laser-hybrid-schweissprozess
JP3720681B2 (ja) * 2000-06-26 2005-11-30 株式会社ファインディバイス レーザー式はんだ付け方法及び装置
US7030337B2 (en) * 2003-12-19 2006-04-18 Honeywell International, Inc. Hand-held laser welding wand having removable filler media delivery extension tips
CN2683305Y (zh) * 2004-03-22 2005-03-09 中国航空工业第一集团公司北京航空制造工程研究所 一种激光填丝焊接气体保护集成装置
JP2006173282A (ja) * 2004-12-14 2006-06-29 Denso Corp 電子部品のはんだ付け方法及びその装置
US20060180245A1 (en) * 2005-02-15 2006-08-17 Tippy Wicker Lead-free solder paste
CN100467187C (zh) * 2007-01-26 2009-03-11 北京工业大学 船用铝合金t形型材的激光填丝焊接方法

Patent Citations (4)

* Cited by examiner, † Cited by third party
Publication number Priority date Publication date Assignee Title
JPH0513950A (ja) * 1991-06-28 1993-01-22 Matsushita Electric Ind Co Ltd 半田付け装置
JPH06132649A (ja) * 1992-10-20 1994-05-13 Matsushita Electric Ind Co Ltd 光ビームによるリード線のはんだ付け方法
JPH09162536A (ja) * 1995-12-06 1997-06-20 Sony Corp 印刷回路基板への部品実装方法および印刷回路基板に実装する部品ならびに印刷回路基板
JP2004119736A (ja) * 2002-09-26 2004-04-15 Kyocera Corp 熱電モジュールの製造方法

Cited By (5)

* Cited by examiner, † Cited by third party
Publication number Priority date Publication date Assignee Title
EP2347786A1 (en) 2010-01-21 2011-07-27 Asahi Intecc Co., Ltd. Medical guidewire
WO2014049780A1 (ja) * 2012-09-27 2014-04-03 パイオニアデジタルデザインアンドマニュファクチャリング株式会社 加熱装置、はんだ付け装置、加熱方法、および、はんだ付け方法
JPWO2022190483A1 (ja) * 2021-03-12 2022-09-15
WO2022190483A1 (ja) * 2021-03-12 2022-09-15 日立Astemo株式会社 回路基板の製造方法および電子装置
JP7591642B2 (ja) 2021-03-12 2024-11-28 日立Astemo株式会社 回路基板の製造方法および電子装置

Also Published As

Publication number Publication date
US8269140B2 (en) 2012-09-18
DE102009030249A1 (de) 2010-01-14
DE102009030249B4 (de) 2013-05-23
US20090321394A1 (en) 2009-12-31
CN101618481B (zh) 2012-06-13
CN101618481A (zh) 2010-01-06
JP5043764B2 (ja) 2012-10-10

Similar Documents

Publication Publication Date Title
JP5043764B2 (ja) レーザー式はんだ付け方法及び装置
US12349287B2 (en) Method for soldering an electronic component to a circuit board by jetting liquefied solder into a through hole
JP3720681B2 (ja) レーザー式はんだ付け方法及び装置
JP6913350B2 (ja) レーザーはんだ付け方法および装置
CN105458445B (zh) 一种激光锡焊装置及焊接方法
WO2021059456A1 (ja) レーザー式ハンダ付け方法とその装置
CN111299738B (zh) 一种定量裁剪锡丝夹融激光锡焊系统及其锡焊方法
CN104625405B (zh) 激光焊接方法以及激光焊接系统
JP6227992B2 (ja) 半田付け装置および方法
JP2020040089A (ja) レーザー式はんだ付け方法とその装置
CN110280862A (zh) 一种器件管脚的焊接系统及其方法
WO2015145509A1 (ja) 接合装置
CN112008177B (zh) 由激光进行焊接的焊接装置及具备焊接装置的机器人装置
CN107570829A (zh) 一种用于精密细微焊接区域的锡球焊接结构及方法
JP4457369B1 (ja) はんだ付け装置、はんだ付け方法およびはんだ付け品の製造方法
JP2008296265A (ja) はんだ付け装置
JP7447387B2 (ja) 回路基板に電子部品をはんだ付けするための方法及び装置、コンピュータプログラム製品、並びにコンピュータ可読媒体
JP2009099670A (ja) はんだ付け装置
JP7013063B1 (ja) 半田付け装置及び半田付け方法
JP2003025065A (ja) ろう付方法およびろう付装置
JP2000052028A (ja) 浸漬はんだ付け装置及び浸漬はんだ付け方法
JP2001198670A (ja) レーザー式はんだ付け方法及び装置
JP2008166489A (ja) レーザリフロー装置
JPS6024268A (ja) 予備はんだ付装置
JPH10296434A (ja) レーザー半田付装置

Legal Events

Date Code Title Description
A621 Written request for application examination

Free format text: JAPANESE INTERMEDIATE CODE: A621

Effective date: 20110301

A977 Report on retrieval

Free format text: JAPANESE INTERMEDIATE CODE: A971007

Effective date: 20120423

A131 Notification of reasons for refusal

Free format text: JAPANESE INTERMEDIATE CODE: A131

Effective date: 20120508

A521 Request for written amendment filed

Free format text: JAPANESE INTERMEDIATE CODE: A523

Effective date: 20120604

TRDD Decision of grant or rejection written
A01 Written decision to grant a patent or to grant a registration (utility model)

Free format text: JAPANESE INTERMEDIATE CODE: A01

Effective date: 20120626

A01 Written decision to grant a patent or to grant a registration (utility model)

Free format text: JAPANESE INTERMEDIATE CODE: A01

A61 First payment of annual fees (during grant procedure)

Free format text: JAPANESE INTERMEDIATE CODE: A61

Effective date: 20120712

R150 Certificate of patent or registration of utility model

Ref document number: 5043764

Country of ref document: JP

Free format text: JAPANESE INTERMEDIATE CODE: R150

Free format text: JAPANESE INTERMEDIATE CODE: R150

FPAY Renewal fee payment (event date is renewal date of database)

Free format text: PAYMENT UNTIL: 20150720

Year of fee payment: 3

R250 Receipt of annual fees

Free format text: JAPANESE INTERMEDIATE CODE: R250

R250 Receipt of annual fees

Free format text: JAPANESE INTERMEDIATE CODE: R250

R250 Receipt of annual fees

Free format text: JAPANESE INTERMEDIATE CODE: R250

R250 Receipt of annual fees

Free format text: JAPANESE INTERMEDIATE CODE: R250

R250 Receipt of annual fees

Free format text: JAPANESE INTERMEDIATE CODE: R250

R250 Receipt of annual fees

Free format text: JAPANESE INTERMEDIATE CODE: R250

R250 Receipt of annual fees

Free format text: JAPANESE INTERMEDIATE CODE: R250

R250 Receipt of annual fees

Free format text: JAPANESE INTERMEDIATE CODE: R250

R250 Receipt of annual fees

Free format text: JAPANESE INTERMEDIATE CODE: R250

R250 Receipt of annual fees

Free format text: JAPANESE INTERMEDIATE CODE: R250

R250 Receipt of annual fees

Free format text: JAPANESE INTERMEDIATE CODE: R250