JP2010010278A - 半導体装置の製造方法、エッチング幅の補正方法、半導体装置およびmos型トランジスタ - Google Patents

半導体装置の製造方法、エッチング幅の補正方法、半導体装置およびmos型トランジスタ Download PDF

Info

Publication number
JP2010010278A
JP2010010278A JP2008165896A JP2008165896A JP2010010278A JP 2010010278 A JP2010010278 A JP 2010010278A JP 2008165896 A JP2008165896 A JP 2008165896A JP 2008165896 A JP2008165896 A JP 2008165896A JP 2010010278 A JP2010010278 A JP 2010010278A
Authority
JP
Japan
Prior art keywords
insulating film
film
opening
semiconductor device
element isolation
Prior art date
Legal status (The legal status is an assumption and is not a legal conclusion. Google has not performed a legal analysis and makes no representation as to the accuracy of the status listed.)
Granted
Application number
JP2008165896A
Other languages
English (en)
Other versions
JP5419395B2 (ja
Inventor
Yoshiji Takamura
好二 高村
Current Assignee (The listed assignees may be inaccurate. Google has not performed a legal analysis and makes no representation or warranty as to the accuracy of the list.)
Sharp Corp
Original Assignee
Sharp Corp
Priority date (The priority date is an assumption and is not a legal conclusion. Google has not performed a legal analysis and makes no representation as to the accuracy of the date listed.)
Filing date
Publication date
Application filed by Sharp Corp filed Critical Sharp Corp
Priority to JP2008165896A priority Critical patent/JP5419395B2/ja
Publication of JP2010010278A publication Critical patent/JP2010010278A/ja
Application granted granted Critical
Publication of JP5419395B2 publication Critical patent/JP5419395B2/ja
Expired - Fee Related legal-status Critical Current
Anticipated expiration legal-status Critical

Links

Images

Landscapes

  • Drying Of Semiconductors (AREA)
  • Element Separation (AREA)
  • Metal-Oxide And Bipolar Metal-Oxide Semiconductor Integrated Circuits (AREA)
  • Insulated Gate Type Field-Effect Transistor (AREA)

Abstract

【課題】プロセス処理のばらつきを低減し、半導体基板の加工精度を向上することでばらつきの少ない半導体装置を製造できる半導体装置の製造方法およびエッチング幅の補正方法を提供する。
【解決手段】開口部が形成されたシリコン窒化膜と、このシリコン窒化膜の側面を覆う側壁保護膜とをマスクとして、シリコン酸化膜およびシリコン基板の一部をエッチングすることにより、シリコン基板に素子分離用トレンチを形成する(S108)。側壁保護膜は、シリコン窒化膜に関して開口部に隣接する隣接部の幅の計測値に基づいて膜厚調整して形成された酸化膜の一部からなる。
【選択図】図1

Description

本発明は、素子分離用トレンチを有する半導体装置の製造方法に関する。また、本発明は、エッチング幅の補正方法、半導体装置およびMOS型トランジスタに関する。
素子分離の方法として従来使用されていたLOCOS(LOCal Oxidation of Silicon)型の素子分離は微細化するにつれてバーズビークやシニングにより素子分離特性が劣化するといった問題が顕著になり、半導体素子の高集積化の妨げとなった。これを解決するために開発されたトレンチ型素子分離方法は、基板に形成されたトレンチに、酸化シリコン膜といった絶縁膜を充填する方法を使用し、これにより、バーズビーク、シニングの問題はなくなった。
しかし、素子の微細化に伴いトランジスタを形成する活性領域、つまりトランジスタのゲート幅の加工ばらつきの影響が、LSI(大規模集積回路)、特に狭いチャネルトランジスタで用いるフラッシュメモリーやSRAM(Static Random Access Memory)といったメモリーの動作マージンの減少を招いている。
上記活性領域の加工精度を向上させる技術として、図5に示す処理フローが導入されている。この処理フローはステップS301〜S307,S311〜S313を有している。
以下、図6A〜図6Iを用いて、上記ステップS301〜S307,S311〜S313について説明する。
まず、ステップS301で、図6Aに示すシリコン基板301を準備する。
次に、ステップS302で、シリコン基板301の表面上に、厚さ2〜20nm、例えば厚さ10nmのシリコン酸化膜302を熱酸化により形成する。そして、上記シリコン酸化膜302の表面上に、厚さ50nm〜200nm、例えば厚さ100nmのシリコン窒化膜303をLPCVD(低圧化学蒸気堆積)法により形成する。
次に、ステップS303で、上記シリコン窒化膜303の表面上に、レジスト膜を塗布した後、露光現像することにより、図6Bに示すレジストパターン304を形成する。このレジストパターン304は、素子形成領域(活性領域)上に形成され、開口部が素子分離領域を画定する。
次に、ステップS304で、レジストパターン304をエッチングマスクとし、シリコン窒化膜303およびシリコン酸化膜302をエッチングして、図6Cに示すシリコン窒化膜303aおよびシリコン酸化膜302aを得る。その後、上記レジストパターン304を除去して、図6Dに示す状態にする。
次に、ステップS305で、画定された素子分離領域の幅Wを基板上方より計測を行なう。
上記計測にはSEM(走査型電子顕微鏡)を用い、ステップS311で、設計基準値と比較できるように、幅Wの計測値を記録する。この計測値から、ステップS312で、加工条件変更値を算出する。そして、上記加工条件変更値は、ステップS313で、加工のマスクを形成するフォト工程(S303)、あるいは、加工を行なうエッチング工程(S304)を行うための条件設定に反映される。
一方、計測を終えた製品は、ステップS306で、シリコン基板301がエッチングされることにより、図6Eに示すように、素子分離用トレンチ341が形成されたシリコン基板301aを得る。この素子分離用トレンチ341は、160〜500nm、例えば300nmの深さとなる。
次に、図6Fに示すように、素子分離用トレンチ341の底面上および側面上にトレンチ表面酸化膜306を形成した後、図6Gに示す素子分離用埋め込み絶縁膜308を形成する。この素子分離用埋め込み絶縁膜308の一部は素子分離用トレンチ341内に埋め込まれる。
次に、図6Hに示すように、研磨等による表面平坦化工程を実施して、素子分離用埋め込み絶縁膜308aを得る。
次に、図6Hに示すように、加熱した燐酸に浸漬してシリコン窒化膜303aを除去し、シリコン酸化膜302aを湿式エッチングで除去する。これにより、素子分離用埋め込み絶縁膜308bが得られる。
次に、ステップS307で、素子を形成する。より詳しくは、図6Iに示すように、図6Hで形成した2ヶ所の活性領域のそれぞれにMOS(Metal Oxide Semiconductor)トランジスタを形成する。この一方のMOSトランジスタのゲート長方向は、他方のMOSトランジスタのゲート長方向に丁度直角となる。なお、図6Iにおいて、310はゲート絶縁膜、311はゲート電極、312はゲートスペーサ、313はソース・ドレイン部、314は層間膜、315はコンタクトプラグ、316は配線である。
ところで、図6I中の右側に形成されたMOSトランジスタにおいて、シリコン窒化膜303aを除去し、シリコン酸化膜302aを湿式エッチングで除去したため、Aで図示した部分、つまり、素子分離用トレンチ341の側部の上部は、トレンチ表面酸化膜306aや素子分離用埋め込み絶縁膜308aで覆われなくなっている。すなわち、上記MOSトランジスタの活性領域の表面部付近のトレンチ表面酸化膜306および素子分離用埋め込み絶縁膜308は湿式エッチングで除去されている。
その結果、上記MOSトランジにおいて、αで図示した部分でのゲート電極111とシリコン基板301aとの間のショート、リークが発生するという問題があった。
このような問題を解消するため、上記処理フローでは、ステップS305で、画定された素子分離領域の幅Wを基板上方より計測を行なって、幅Wの測定値を用いて、次のフォト工程(S303)あるいはエッチング工程(S304)を修正する。つまり、上記幅Wの測定値が規定値からずれた原因となる工程を補正する。
しかしながら、上記処理フローにおいては、幅Wのずれは、次のフォト工程(S303)あるいはエッチング工程(S304)が行われる製品に対しては反映されるが、ずれた幅Wを有する製品に対しては反映されないため、この製品は特性のばらつきを有することになる。あるいは、上記製品は規格外となるため、以降の工程処理を実施せず廃棄処理とせざるを得なかった。
そこで、本発明の課題は、プロセス処理のばらつきを低減し、半導体基板の加工精度を向上することでばらつきの少ない半導体装置を製造できる半導体装置の製造方法およびエッチング幅の補正方法を提供することにある。
また、上記半導体装置の製造方法で製造される半導体装置およびMOS型トランジスタを提供することにある。
上記課題を解決するため、本発明の半導体装置の製造方法は、
半導体基板を準備する工程と、
上記半導体基板の表面上に第1の絶縁膜を形成する工程と、
上記第1の絶縁膜の表面上に第2の絶縁膜を形成する工程と、
上記第2の絶縁膜の表面上に、素子分離用トレンチを形成のための窓部を有するフォトレジストを形成する工程と、
上記フォトレジストをマスクとして、上記第2の絶縁膜の一部を除去することにより、上記第2の絶縁膜に、上記第1の絶縁膜の表面の一部を露出させる開口部を形成する工程と、
上記フォトレジストを除去した後、上記開口部が形成された第2の絶縁膜に関して上記開口部に隣接する隣接部の幅を、上記半導体基板の表面側から見て計測する工程と、
上記開口部から露出した上記第1の絶縁膜の一部と、上記開口部が形成された第2の絶縁膜の側面および表面とを覆う第3の膜を、上記隣接部の幅の計測値に基づいて膜厚調整して形成する工程と、
上記開口部が形成された第2の絶縁膜の側面を覆う上記第3の膜の一部が残るようにエッチングを行うことにより、上記第3の膜の一部からなる側壁保護膜を形成する工程と、
上記開口部が形成された第2の絶縁膜と、上記側壁保護膜とをマスクとして、上記第1の絶縁膜および上記半導体基板の一部をエッチングすることにより、上記半導体基板に上記素子分離用トレンチを形成する工程と
を備えたことを特徴としている。
上記構成の半導体装置の製造方法によれば、上記開口部が形成された第2の絶縁膜と、この第2の絶縁膜の側面を覆う側壁保護膜とをマスクとして、第1の絶縁膜および半導体基板の一部をエッチングすることにより、半導体基板に素子分離用トレンチを形成する。この側壁保護膜は、開口部に隣接する隣接部の幅の計測値に応じて膜厚調整されて形成された第3の膜の一部からなるので、プロセス処理のばらつきを低減できる。ここで、上記プロセス処理とは、素子分離用トレンチを形成するためのマスクとなる膜を形成する処理である。
したがって、上記半導体基板の加工精度を向上することができ、半導体基板に所望形状の素子分離用トレンチを正確に形成することができる。
その結果、上記半導体装置を複数製造しても、各半導体装置の素子分離用トレンチの形状を実質的に同じにして、複数の半導体装置において性能のばらつきを少なくすることができる。
本発明の半導体装置の製造方法は、
半導体基板を準備する工程と、
上記半導体基板の表面上に第1の絶縁膜を形成する工程と、
上記第1の絶縁膜の表面上に第2の絶縁膜を形成する工程と、
上記第2の絶縁膜の表面上に、素子分離用トレンチを形成のための窓部を有するフォトレジストを形成する工程と、
上記フォトレジストをマスクとして、上記第2の絶縁膜および上記第1の絶縁膜の一部を除去することにより、上記第2の絶縁膜および上記第1の絶縁膜に、上記半導体基板の表面の一部を露出させる開口部を形成する工程と、
上記フォトレジストを除去した後、上記開口部が形成された第2の絶縁膜に関して上記開口部に隣接する隣接部の幅を、上記半導体基板の表面側から見て計測する工程と、
上記開口部から露出した上記半導体基板の一部と、上記開口部が形成された第1の絶縁膜の側面と、上記開口部が形成された第2の絶縁膜の側面および表面とを覆う第3の膜を、上記隣接部の幅の計測値に基づいて膜厚調整して形成する工程と、
上記開口部が形成された第1の絶縁膜の側面と、上記開口部が形成された第2の絶縁膜の側面とを覆う上記第3の膜の一部が残るようにエッチングを行うことにより、上記第3の膜の一部からなる側壁保護膜を形成する工程と、
上記開口部が形成された第2の絶縁膜と、上記側壁保護膜とをマスクとして、上記半導体基板の一部をエッチングすることにより、上記半導体基板に上記素子分離用トレンチを形成する工程と
を備えたことを特徴としている。
上記構成の半導体装置の製造方法によれば、上記開口部が形成された第2の絶縁膜と、第1,第2の絶縁膜の側面を覆う側壁保護膜とをマスクとして、半導体基板の一部をエッチングすることにより、半導体基板に素子分離用トレンチを形成する。この側壁保護膜は、開口部に隣接する隣接部の幅の計測値に応じて膜厚調整されて形成された第3の膜の一部からなるので、プロセス処理のばらつきを低減できる。ここで、上記プロセス処理とは、素子分離用トレンチを形成するためのマスクとなる膜を形成する処理である。
したがって、上記半導体基板の加工精度を向上することができ、半導体基板に所望形状の素子分離用トレンチを正確に形成することができる。
その結果、上記半導体装置を複数製造しても、各半導体装置の素子分離用トレンチの形状を実質的に同じにして、複数の半導体装置において性能のばらつきを少なくすることができる。
一実施形態の半導体装置の製造方法では、
上記フォトレジストを除去した後、上記開口部が形成された第1の絶縁膜に関して上記開口部に隣接する隣接部の幅を、上記半導体基板の表面側から見て計測する工程を備える。
上記実施形態の半導体装置の製造方法によれば、上記フォトレジストを除去した後、開口部が形成された第1の絶縁膜に関して開口部に隣接する隣接部の幅を、半導体基板の表面側から見て計測するので、SEM(走査型電子顕微鏡)を用いて容易に製造工程途中に計測できる。
一実施形態の半導体装置の製造方法では、
上記第3の膜は、シリコン酸化膜、シリコン窒化膜、SiON膜およびポリシリコン膜のうちのいずれか1つである。
上記実施形態の半導体装置の製造方法によれば、上記シリコン酸化膜、シリコン窒化膜、SiON膜およびポリシリコン膜のうちのいずれか1つを第3の膜とするので、LSI製造工程上、容易に用いることが出来る材料であり、シリコン基板に対して選択的な除去ができる。
一実施形態の半導体装置の製造方法では、
上記第3の膜の膜厚は5〜50nmである。
上記実施形態の半導体装置の製造方法によれば、上記第3の膜の膜厚を5〜50nmとするので、充分にプロセスバラツキによる活性領域のバラツキを補正できる。
一実施形態の半導体装置の製造方法では、
上記第3の膜の形成は化学蒸気堆積法で行う。
上記実施形態の半導体装置の製造方法によれば、上記第3の膜の形成を化学蒸気堆積法で行うので、シリコン基板表面、第2の絶縁膜の表面、及び側面に均一な厚さの膜を形成できる。
一実施形態の半導体装置の製造方法では、
上記第2の絶縁膜はシリコン窒化膜である
上記実施形態の半導体装置の製造方法によれば、上記第2の絶縁膜をシリコン窒化膜とするので、LSI製造工程上、容易に用いることが出来る材料であり、シリコン酸化膜に対して選択的に除去できる。
本発明のエッチング幅の補正方法は、
半導体基板上に形成され、パターニングされた絶縁膜のパターン幅を計測し、
上記パターン幅の計測値と設計基準値との差分を算出し、
上記差分から算出した膜厚を有する補正用絶縁膜を、上記絶縁膜の側面に形成し、
上記絶縁膜および上記補正用絶縁膜をマスクにして、上記半導体基板の一部をエッチングすることを特徴としている。
上記構成のエッチング幅の補正方法によれば、上記絶縁膜および補正用絶縁膜をマスクにして、半導体基板の一部をエッチングする。この補正用絶縁膜は、絶縁膜のパターン幅の計測値と設計基準値との差分から算出した膜厚を有するので、プロセス処理のばらつきを低減できる。ここで、上記プロセス処理とは、半導体基板の一部をエッチングする処理である。
したがって、上記半導体基板の加工精度を向上することができ、半導体基板に所望形状の例えば素子分離用トレンチを正確に形成することができる。
したがって、上記エッチング幅の補正方法を用いて、複数の半導体装置を製造した場合、各半導体装置の素子分離用トレンチの形状を実質的に同じになり、複数の半導体装置において性能のばらつきを少なくすることができる。
一実施形態のエッチング幅の補正方法では、
上記補正用絶縁膜の膜厚は上記差分の0.8〜1.5倍に設定される。
上記施形態のエッチング幅の補正方法によれば、上記補正用絶縁膜の膜厚を差分の0.8〜1.5倍に設定するので、精度良くプロセスバラツキによる活性領域のバラツキを補正できる。
一実施形態のエッチング幅の補正方法では、
上記絶縁膜のパターン幅と、上記補正用絶縁膜の膜厚を2倍したものとを合わせた値は、半導体素子が有する活性領域の幅に等しい。
上記実施形態のエッチング幅の補正方法によれば、上記絶縁膜のパターン幅と、補正用絶縁膜の膜厚を2倍したものとを合わせた値が、半導体素子が有する活性領域の幅に等しいので、精度良くプロセスバラツキによる活性領域のバラツキを補正できる。
一実施形態のエッチング幅の補正方法では、
上記補正用絶縁膜はサイドウォール状に形成される。
上記実施形態のエッチング幅の補正方法によれば、上記補正用絶縁膜の形状がサイドウォール状であるので、以降の工程を従来から大きく変更すること無く製造できる。
本発明の半導体装置は、
本発明の半導体装置の製造方法を用いて製造された半導体装置であって、
上記素子分離用トレンチと、この素子分離用トレンチで画定された活性領域とを有する半導体基板と、
上記素子分離用トレンチ内に埋め込まれた埋め込み絶縁膜と、
上記活性領域上に形成されたゲート絶縁膜と、
上記ゲート絶縁膜上に形成されたゲート電極と
を備え、
上記埋め込み絶縁膜が上記素子分離用トレンチの側壁の全部を覆っていることを特徴としている。
上記構成の半導体装置によれば、上記埋め込み絶縁膜が素子分離用トレンチの側壁の全部を覆っているので、ゲート絶縁膜およびゲート電極が素子分離用トレンチの側壁に接しないようにすることができる。
したがって、上記ゲート電極とシリコン基板との間のショート、リークが発生するのを防ぐことができる。
本発明のMOS型トランジスタは、
本発明の半導体装置の製造方法を用いて製造されたMOS型トランジスタであって、
上記素子分離用トレンチと、この素子分離用トレンチで画定された活性領域とを有する半導体基板と、
上記素子分離用トレンチ内に埋め込まれた埋め込み絶縁膜と、
上記活性領域上に形成されたゲート絶縁膜と、
上記ゲート絶縁膜上に形成されたゲート電極と
を備え、
上記埋め込み絶縁膜が上記素子分離用トレンチの側壁の全部を覆っていることを特徴としている。
上記構成のMOS型トランジスタによれば、上記埋め込み絶縁膜が素子分離用トレンチの側壁の全部を覆っているので、ゲート絶縁膜およびゲート電極が素子分離用トレンチの側壁に接しないようにすることができる。
したがって、上記ゲート電極とシリコン基板との間のショート、リークが発生するのを防ぐことができる。
本発明によれば、素子分離用トレンチを用いたLSIの活性領域の幅、つまり、トランジスタのゲート幅のばらつきをロット間やウェハー間で少なくすることができるので、MOSトランジスタのゲート電極とシリコン基板との間のショート、リークの発生を防止すると共に、閾値電圧の変動の無い、安定した特性のトランジスタを提供でき、LSIの回路動作の安定化に貢献する。
以下、本発明の実施形態について、処理フロー図並びに各工程の模式断面図を用いて説明する。
(第1実施形態)
図1は、本発明の第1実施形態のCMOS型トランジスタの製造方法の処理フローを示す図である。この処理フローはステップS101〜S109,S111〜S113を有している。
以下、図2A〜図2Kを用いて、上記ステップS101〜S109,S111〜S113について説明する。
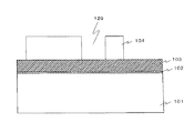
まず、ステップS101で、図2Aに示すシリコン基板101を準備する。
次に、ステップS102で、シリコン基板101の表面上に、厚さ2〜20nm、例えば厚さ10nmのシリコン酸化膜102を熱酸化により形成する。そして、上記シリコン酸化膜102の上に、厚さ50nm〜200nm、例えば厚さ100nmのシリコン窒化膜103をLPCVDにより形成する。なお、上記シリコン基板101は半導体基板の一例、シリコン酸化膜102は第1の絶縁膜の一例、シリコン窒化膜103は第2の絶縁膜の一例である。
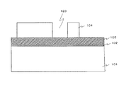
次に、ステップS103で、上記シリコン窒化膜103の表面上に、レジスト膜を塗布し、露光現像することにより、図2Bに示すように、窓部120を有するレジストパターン104を形成する。このレジストパターン104は、素子形成領域(活性領域)上に形成され、窓部120が素子分離領域を画定する。つまり、上記窓部120は、素子分離領域とすべき領域と重なるように形成される。なお、上記レジストパターン104はフォトレジストの一例である。
次に、ステップS104で、シリコン窒化膜103およびシリコン酸化膜102をエッチングする。これにより、図2Cに示すように、シリコン窒化膜103aに開口部130が形成され、開口部130からシリコン酸化膜102の一部が露出する。その後、上記レジストパターン104を除去して、図2Dに示す状態にする。
次に、ステップS105で、開口部130が形成されたシリコン窒化膜103aに関して開口部130に隣接する隣接部131の幅Aを、シリコン基板101の表面側から見て計測する。
上記計測にはSEM(走査型電子顕微鏡)を用い、ステップS111で、設計基準値と比較できるように、幅Aの測定値を記録する。この測定値から、ステップS112で、膜厚設定値を算出する。そして、上記膜厚設定値は、ステップS113で、後述する第3の膜の形成工程(S106)の目標膜厚に設定される。なお、上記ステップS111の記録については、後の第3の膜を形成する際に用いることができればよく、手段は問わない。
上記膜厚設定値の算出方法をより詳しく説明すると、まず、幅Aの測定値と設計基準値との差分を求める。この差分が規定の範囲(立てば10nm)から外れている場合には、第3の膜の目標膜厚の変更を行う。つまり、上記差分が大きければ、第3の膜の目標膜厚が厚くなるように、逆に、差分が小さければ、第3の膜の目標膜厚が薄くなるように、第3の膜の目標膜厚を変更する。このとき、上記変更膜厚は、幅Aの測定値と設計基準値との差分に0.8〜1.5を掛けた値とするのが好ましい。
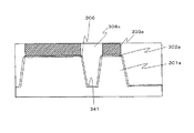
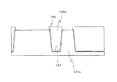
次に、ステップS106で、図2Eに示すように、第3の膜の一例としての酸化膜105をLPCVD法で形成する。この酸化膜105は、開口部130から露出していたシリコン酸化膜102の一部と、シリコン窒化膜103aの側面とを覆う。なお、上記酸化膜105は補正用絶縁膜の一例でもある。
ここで、上記酸化膜105の膜厚Bが厚くなるほど、トランジスタのチャネル領域となるシリコン基板101の表面において、後述の素子分離用埋め込み絶縁膜108で覆われる領域が増加する(図2H参照)。逆に、上記酸化膜105の膜厚Bが薄くなると、後述の素子分離用トレンチ141の側面が素子分離用埋め込み絶縁膜108から露出する可能性がある(図2J参照)。上記素子分離用トレンチ141の側面はトランジスタのチャネル領域の一部となる。このため、上記素子分離用トレンチ141の側面の露出は、閾値電圧やドレイン電流といったトランジスタ特性の急激な変動を引き起こす。
このようなトランジスタ特性の急激な変動を回避し、精度良くゲート幅の制御し、トランジスタ特性のばらつきを低減するには、酸化膜105の膜厚Bの最小値は、図2Kで示すトランジスタ形成後の断面図において、素子分離用トレンチ141の側面の全部が素子分離用埋め込み絶縁膜108で覆われるような範囲で選択する必要がある。また、上記酸化膜105の膜厚Bの最小値は以降の工程の組合せによって変動するために適時最適値を選択する必要がある。本実施形態では、酸化膜105を第3の膜、補正用絶縁膜の一例としても用いたが、膜厚制御、後の加工条件との兼ね合いで適切な材料からなる膜を第3の膜、補正用絶縁膜の一例としても用いてもよい。つまり、上記第3の膜および補正用絶縁膜は酸化膜105に限られるものではない。上記第3の膜としては、シリコン酸化膜やシリコン窒化膜などがある。
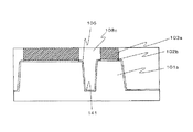
次に、ステップS107で、上記シリコン窒化膜103aの表面に接触する酸化膜105と、シリコン酸化膜102の表面に接触する酸化膜105とを、RIE(リアクティブイオンエッチング)法により異方性の強い条件でエッチングする。これにより、図2Fに示すように、シリコン窒化膜103aの側壁を覆うようなサイドウォール状の側壁保護膜105aが形成される。このとき、図2Eに示すシリコン酸化膜102の一部が露出する。
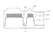
次に、ステップS108で、上記シリコン酸化膜102およびシリコン基板101の一部をエッチングすることにより、図2Fに示すように、素子分離用トレンチ141を有するシリコン基板101aと、シリコン酸化膜102aとが得られる。このとき、上記素子分離用トレンチ141は、深さが160〜500nm、例えば300nmとなるように形成される。
上記素子分離用トレンチ141を形成するとき、活性領域の幅C(幅A+2×膜厚B)よりエッチング時のロス等で小さい幅になるが、上述の通り、幅Aが設計基準値より小さい場合には膜厚Bを大きくし、逆に、幅Aが設計基準値より大きい場合にはBを小さくするように調整されるので、幅Cの変動を防ぐことができる。その結果、トランジスタのゲート幅が安定して形成されるので、トランジスタ特性、特に狭いチャネル幅をもつトランジスタのドレイン電流のばらつきが低減することができる。
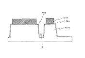
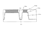
次に、図2Gに示すように、素子分離用トレンチ141の底面上および側面上にトレンチ表面酸化膜106を形成した後、図2Hに示す素子分離用埋め込み絶縁膜108を形成する。この素子分離用埋め込み絶縁膜108の一部は素子分離用トレンチ141内に埋め込まれる。
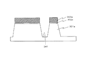
次に、図2Iに示すように、研磨等による表面平坦化工程を実施して、素子分離用埋め込み絶縁膜108aを得る。
次に、図2Jに示すように、加熱した燐酸に浸漬してシリコン窒化膜103aを除去し、シリコン酸化膜102aを湿式エッチングで除去する。これにより、素子分離用埋め込み絶縁膜108bが得られる。
次に、ステップS109で、素子を形成する。より詳しくは、図2Kに示すように、通常のCMOS(Complementary Metal Oxide Semiconductor) LSIの工程に従い、ゲート絶縁膜110およびゲート電極111を形成する。このゲート絶縁膜110の形成前にシリコン基板101aに不純物を導入して、シリコン基板101aにウェルを形成してもよい。さらに、上記ゲート電極111の両側にゲートスペーサ112を形成した後、シリコン基板101aにソース・ドレイン部113を形成する。そして、層間膜114、コンタクトプラグ115および配線116を形成する。
本実施形態の製造方法によれば、シリコン窒化膜103aを除去し、シリコン酸化膜102aを湿式エッチングで除去しても、図2Jで示すように、素子分離用埋め込み絶縁膜108bから素子分離用トレンチ141の一部が露出しない。
したがって、上記ゲート電極111とシリコン基板101との間のショート、リークの発生を防ぐことができる。
また、上記側壁保護膜105aは、開口部130に隣接する隣接部131の幅Aの計測値に応じて膜厚調整されて形成された酸化膜105の一部からなるので、プロセス処理のばらつきを低減できる。
したがって、上記シリコン基板101aの加工精度を向上することができ、シリコン基板101aに所望形状の素子分離用トレンチ141を正確に形成することができる。
その結果、上記製造方法を用いてCMOS型トランジスタを複数製造しても、各CMOS型トランジスタの素子分離用トレンチの形状を実質的に同じにして、複数のCMOS型トランジスタにおいて性能のばらつきを少なくすることができる。
(第2実施形態)
図3は、本発明の第2実施形態の半導体装置の製造方法の処理フローを示す図である。この処理フローはステップS201〜S209,S211〜S213を有している。
以下、図4A〜図4Kを用いて、上記ステップS201〜S209,S211〜S213について説明する。
まず、ステップS201で、図4Aに示すシリコン基板101を準備する。
次に、ステップS202で、シリコン基板101の表面上に、厚さ2〜20nm、例えば厚さ10nmのシリコン酸化膜102を熱酸化により形成する。そして、上記シリコン酸化膜102の上に、厚さ50nm〜200nm、例えば厚さ100nmのシリコン窒化膜103をLPCVDにより形成する。なお、上記シリコン基板101は半導体基板の一例、シリコン酸化膜102は第1の絶縁膜の一例、シリコン窒化膜103は第2の絶縁膜の一例である。
次に、ステップS203で、上記シリコン窒化膜103の表面上に、レジスト膜を塗布し、露光現像することにより、図4Bに示すように、窓部120を有するレジストパターン104を形成する。このレジストパターン104は、素子形成領域(活性領域)上に形成され、窓部120が素子分離領域を画定する。つまり、上記窓部120は、素子分離領域とすべき領域と重なるように形成される。なお、上記レジストパターン104はフォトレジストの一例である。
次に、ステップS204で、シリコン窒化膜103およびシリコン酸化膜102をエッチングする。これにより、図4Cに示すように、シリコン窒化膜103aおよびシリコン酸化膜102bに開口部230が形成され、開口部230からシリコン基板101の一部が露出する。その後、上記レジストパターン104を除去して、図4Dに示す状態にする。
次に、ステップS205で、開口部230が形成されたシリコン窒化膜103aに関して開口部230に隣接する隣接部131の幅Aを、シリコン基板101の表面側から見て計測する。
上記計測にはSEM(走査型電子顕微鏡)を用い、ステップS211で、設計基準値と比較できるように、幅Aの測定値を記録する。この測定値から、ステップS212で、膜厚設定値を算出する。そして、上記膜厚設定値は、ステップS213で、後述する第3の膜の形成工程(S206)の目標膜厚に設定される。なお、上記ステップS211の記録については、後の第3の膜を形成する際に用いることができればよく、手段は問わない。
上記膜厚設定値の算出方法をより詳しく説明すると、まず、幅Aの測定値と設計基準値との差分を求める。この差分が規定の範囲(立てば10nm)から外れている場合には、第3の膜の目標膜厚の変更を行う。つまり、上記差分が大きければ、第3の膜の目標膜厚が厚くなるように、逆に、差分が小さければ、第3の膜の目標膜厚が薄くなるように、第3の膜の目標膜厚を変更する。このとき、上記変更膜厚は、幅Aの測定値と設計基準値との差分に0.8〜1.5を掛けた値とするのが好ましい。
次に、ステップS206で、図4Eに示すように、第3の膜の一例としての酸化膜105をLPCVD法で形成する。この酸化膜105は、開口部230から露出していたシリコン基板101の一部と、シリコン窒化膜103aおよびシリコン酸化膜102bの側面とを覆う。なお、上記酸化膜105は補正用絶縁膜の一例でもある。
ここで、上記酸化膜105の膜厚Bが厚くなるほど、トランジスタのチャネル領域となるシリコン基板101の表面において、後述の素子分離用埋め込み絶縁膜108で覆われる領域が増加する(図4H参照)。逆に、上記酸化膜105の膜厚Bが薄くなると、後述の素子分離用トレンチ141の側面が素子分離用埋め込み絶縁膜108から露出する可能性がある(図4J参照)。上記素子分離用トレンチ141の側面はトランジスタのチャネル領域の一部となる。このため、上記素子分離用トレンチ141の側面の露出は、閾値電圧やドレイン電流といったトランジスタ特性の急激な変動を引き起こす。
このようなトランジスタ特性の急激な変動を回避し、精度良くゲート幅の制御し、トランジスタ特性のばらつきを低減するには、酸化膜105の膜厚Bの最小値は、図4Kで示すトランジスタ形成後の断面図において、素子分離用トレンチ141の側面の全部が素子分離用埋め込み絶縁膜108で覆われるような範囲で選択する必要がある。また、上記酸化膜105の膜厚Bの最小値は以降の工程の組合せによって変動するために適時最適値を選択する必要がある。本実施形態では、酸化膜105を第3の膜、補正用絶縁膜の一例としても用いたが、膜厚制御、後の加工条件との兼ね合いで適切な材料からなる膜を第3の膜、補正用絶縁膜の一例としても用いてもよい。つまり、上記第3の膜および補正用絶縁膜は酸化膜105に限られるものではない。上記第3の膜としては、シリコン酸化膜やシリコン窒化膜などがある。
次に、ステップS207で、上記シリコン窒化膜103aの表面に接触する酸化膜105と、シリコン基板101の表面に接触する酸化膜105とを、RIE法により異方性の強い条件でエッチングする。これにより、図4Fに示すように、シリコン窒化膜103aの側壁を覆うようなサイドウォール状の側壁保護膜105bが形成される。このとき、図4Eに示すシリコン基板101の一部が露出する。
次に、ステップS208で、上記シリコン基板101の一部をエッチングすることにより、図4Fに示すように、素子分離用トレンチ141を有するシリコン基板101aが得られる。このとき、上記素子分離用トレンチ141は、深さが160〜500nm、例えば300nmとなるように形成される。
上記素子分離用トレンチ141を形成するとき、活性領域の幅C(幅A+2×膜厚B)よりエッチング時のロス等で小さい幅になるが、上述の通り、幅Aが設計基準値より小さい場合には膜厚Bを大きくし、逆に、幅Aが設計基準値より大きい場合にはBを小さくするように調整されるので、幅Cの変動を防ぐことができる。その結果、トランジスタのゲート幅が安定して形成されるので、トランジスタ特性、特に狭いチャネル幅をもつトランジスタのドレイン電流のばらつきが低減することができる。
次に、図4Gに示すように、素子分離用トレンチ141の底面上および側面上にトレンチ表面酸化膜106を形成した後、図4Hに示す素子分離用埋め込み絶縁膜108を形成する。この素子分離用埋め込み絶縁膜108の一部は素子分離用トレンチ141内に埋め込まれる。
次に、図4Iに示すように、研磨等による表面平坦化工程を実施して、素子分離用埋め込み絶縁膜108cを得る。
次に、図4Jに示すように、加熱した燐酸に浸漬してシリコン窒化膜103aを除去し、シリコン酸化膜102bを湿式エッチングで除去する。これにより、素子分離用埋め込み絶縁膜108dが得られる。
次に、ステップS209で、素子を形成する。より詳しくは、図4Kに示すように、通常のCMOS LSIの工程に従い、ゲート絶縁膜110およびゲート電極111を形成する。このゲート絶縁膜110の形成前にシリコン基板101aに不純物を導入して、シリコン基板101aにウェルを形成してもよい。さらに、上記ゲート電極111の両側にゲートスペーサ112を形成した後、シリコン基板101aにソース・ドレイン部113を形成する。そして、層間膜114、コンタクトプラグ115および配線116を形成する。
本実施形態の製造方法によれば、シリコン窒化膜103aを除去し、シリコン酸化膜102bを湿式エッチングで除去しても、図4Jで示すように、素子分離用埋め込み絶縁膜108dから素子分離用トレンチ141の一部が露出しない。
したがって、上記ゲート電極111とシリコン基板101との間のショート、リークの発生を防ぐことができる。
また、上記側壁保護膜105bは、開口部230に隣接する隣接部131の幅Aの計測値に応じて膜厚調整されて形成された酸化膜105の一部からなるので、プロセス処理のばらつきを低減できる。
したがって、上記シリコン基板101aの加工精度を向上することができ、シリコン基板101aに所望形状の素子分離用トレンチ141を正確に形成することができる。
その結果、上記製造方法を用いてCMOS型トランジスタを複数製造しても、各CMOS型トランジスタの素子分離用トレンチの形状を実質的に同じにして、複数のCMOS型トランジスタにおいて性能のばらつきを少なくすることができる。
上記第2実施形態では、ステップS201で、シリコン窒化膜103aに関して開口部230に隣接する隣接部131の幅Aを、シリコン基板101の表面側から見て計測していたが、シリコン窒化膜103aに関して開口部230に隣接する隣接部131の幅Aを、シリコン基板101の表面側から見て計測すると共に、シリコン酸化膜102bに関して開口部230に隣接する隣接部の幅も、シリコン基板101の表面側から見て計測してもよい。この場合、上記シリコン窒化膜103aの隣接部131の幅Aと、シリコン酸化膜102bの隣接部の幅とから、ステップS213の目標膜厚を設定すればよい。酸化膜105の目標膜厚は予め、電気的、もしくは物理的手法を用いてトランジスタの実行ゲート幅と酸化膜105の相関を得ておき、その相関式を用いることで所望のトランジスタの実行ゲート幅となるような膜厚を選択する。
上記第1,第2実施形態では、本発明を用いてCMOS型トランジスタを製造していたが、本発明を用いて、例えばMOS型トランジスタを製造してもよいし、素子分離用トレンチを有する他の半導体装置を製造してもよい。
以上、本発明者によってなされた発明を、第1,第2実施形態に基づき具体的に説明したが、本発明は上記第1,第2実施形態に限定されるものではなく、その要旨を逸脱しない範囲で種々変更可能である。
図1は本発明の第1実施形態のCMOS型トランジスタの製造方法の処理フロー図である。 図2Aは上記第1実施形態のCMOS型トランジスタの一製造工程の模式断面図である。 図2Bは上記第1実施形態のCMOS型トランジスタの一製造工程の模式断面図である。 図2Cは上記第1実施形態のCMOS型トランジスタの一製造工程の模式断面図である。 図2Dは上記第1実施形態のCMOS型トランジスタの一製造工程の模式断面図である。 図2Eは上記第1実施形態のCMOS型トランジスタの一製造工程の模式断面図である。 図2Fは上記第1実施形態のCMOS型トランジスタの一製造工程の模式断面図である。 図2Gは上記第1実施形態のCMOS型トランジスタの一製造工程の模式断面図である。 図2Hは上記第1実施形態のCMOS型トランジスタの一製造工程の模式断面図である。 図2Iは上記第1実施形態のCMOS型トランジスタの一製造工程の模式断面図である。 図2Jは上記第1実施形態のCMOS型トランジスタの一製造工程の模式断面図である。 図2Kは上記第1実施形態のCMOS型トランジスタの一製造工程の模式断面図である。 図3は本発明の第2実施形態のCMOS型トランジスタの製造方法の処理フロー図である。 図4Aは上記第2実施形態のCMOS型トランジスタの一製造工程の模式断面図である。 図4Bは上記第2実施形態のCMOS型トランジスタの一製造工程の模式断面図である。 図4Cは上記第2実施形態のCMOS型トランジスタの一製造工程の模式断面図である。 図4Dは上記第2実施形態のCMOS型トランジスタの一製造工程の模式断面図である。 図4Eは上記第2実施形態のCMOS型トランジスタの一製造工程の模式断面図である。 図4Fは上記第2実施形態のCMOS型トランジスタの一製造工程の模式断面図である。 図4Gは上記第2実施形態のCMOS型トランジスタの一製造工程の模式断面図である。 図4Hは上記第2実施形態のCMOS型トランジスタの一製造工程の模式断面図である。 図4Iは上記第2実施形態のCMOS型トランジスタの一製造工程の模式断面図である。 図4Jは上記第2実施形態のCMOS型トランジスタの一製造工程の模式断面図である。 図4Kは上記第2実施形態のCMOS型トランジスタの一製造工程の模式断面図である。 図5は本発明の第1実施形態のCMOS型トランジスタの製造方法の処理フロー図である。 図6Aは上記第1実施形態のCMOS型トランジスタの一製造工程の模式断面図である。 図6Bは上記第1実施形態のCMOS型トランジスタの一製造工程の模式断面図である。 図6Cは上記第1実施形態のCMOS型トランジスタの一製造工程の模式断面図である。 図6Dは上記第1実施形態のCMOS型トランジスタの一製造工程の模式断面図である。 図6Eは上記第1実施形態のCMOS型トランジスタの一製造工程の模式断面図である。 図6Fは上記第1実施形態のCMOS型トランジスタの一製造工程の模式断面図である。 図6Gは上記第1実施形態のCMOS型トランジスタの一製造工程の模式断面図である。 図6Hは上記第1実施形態のCMOS型トランジスタの一製造工程の模式断面図である。 図6Iは上記第1実施形態のCMOS型トランジスタの一製造工程の模式断面
符号の説明
101,101a シリコン基板
102,102a,102b シリコン酸化膜
103,103a シリコン窒化膜
104 レジストパターン
105 酸化膜
105a,105b 側壁保護膜
108,108a,108b,108c,108d 素子分離用埋め込み絶縁膜
120 窓部
130,230 開口部
131 隣接部

Claims (13)

  1. 半導体基板を準備する工程と、
    上記半導体基板の表面上に第1の絶縁膜を形成する工程と、
    上記第1の絶縁膜の表面上に第2の絶縁膜を形成する工程と、
    上記第2の絶縁膜の表面上に、素子分離用トレンチを形成のための窓部を有するフォトレジストを形成する工程と、
    上記フォトレジストをマスクとして、上記第2の絶縁膜の一部を除去することにより、上記第2の絶縁膜に、上記第1の絶縁膜の表面の一部を露出させる開口部を形成する工程と、
    上記フォトレジストを除去した後、上記開口部が形成された第2の絶縁膜に関して上記開口部に隣接する隣接部の幅を、上記半導体基板の表面側から見て計測する工程と、
    上記開口部から露出した上記第1の絶縁膜の一部と、上記開口部が形成された第2の絶縁膜の側面および表面とを覆う第3の膜を、上記隣接部の幅の計測値に基づいて膜厚調整して形成する工程と、
    上記開口部が形成された第2の絶縁膜の側面を覆う上記第3の膜の一部が残るようにエッチングを行うことにより、上記第3の膜の一部からなる側壁保護膜を形成する工程と、
    上記開口部が形成された第2の絶縁膜と、上記側壁保護膜とをマスクとして、上記第1の絶縁膜および上記半導体基板の一部をエッチングすることにより、上記半導体基板に上記素子分離用トレンチを形成する工程と
    を備えたことを特徴とする半導体装置の製造方法。
  2. 半導体基板を準備する工程と、
    上記半導体基板の表面上に第1の絶縁膜を形成する工程と、
    上記第1の絶縁膜の表面上に第2の絶縁膜を形成する工程と、
    上記第2の絶縁膜の表面上に、素子分離用トレンチを形成のための窓部を有するフォトレジストを形成する工程と、
    上記フォトレジストをマスクとして、上記第2の絶縁膜および上記第1の絶縁膜の一部を除去することにより、上記第2の絶縁膜および上記第1の絶縁膜に、上記半導体基板の表面の一部を露出させる開口部を形成する工程と、
    上記フォトレジストを除去した後、上記開口部が形成された第2の絶縁膜に関して上記開口部に隣接する隣接部の幅を、上記半導体基板の表面側から見て計測する工程と、
    上記開口部から露出した上記半導体基板の一部と、上記開口部が形成された第1の絶縁膜の側面と、上記開口部が形成された第2の絶縁膜の側面および表面とを覆う第3の膜を、上記隣接部の幅の計測値に基づいて膜厚調整して形成する工程と、
    上記開口部が形成された第1の絶縁膜の側面と、上記開口部が形成された第2の絶縁膜の側面とを覆う上記第3の膜の一部が残るようにエッチングを行うことにより、上記第3の膜の一部からなる側壁保護膜を形成する工程と、
    上記開口部が形成された第2の絶縁膜と、上記側壁保護膜とをマスクとして、上記半導体基板の一部をエッチングすることにより、上記半導体基板に上記素子分離用トレンチを形成する工程と
    を備えたことを特徴とする半導体装置の製造方法。
  3. 請求項2に記載の半導体装置の製造方法において、
    上記フォトレジストを除去した後、上記開口部が形成された第1の絶縁膜に関して上記開口部に隣接する隣接部の幅を、上記半導体基板の表面側から見て計測する工程を備えたことを特徴とする半導体装置の製造方法。
  4. 請求項1から3までのいずれか一項に記載の半導体装置の製造方法において、
    上記第3の膜は、シリコン酸化膜、シリコン窒化膜、SiON膜およびポリシリコン膜のうちのいずれか1つであることを特徴とする半導体装置の製造方法。
  5. 請求項1から4までのいずれか一項に記載の半導体装置の製造方法において、
    上記第3の膜の膜厚は5〜50nmであることを特徴とする半導体装置の製造方法。
  6. 請求項1から5までのいずれか一項に記載の半導体装置の製造方法において、
    上記第3の膜の形成は化学蒸気堆積法で行うことを特徴とする半導体装置の製造方法。
  7. 請求項1から6までのいずれか一項に記載の半導体装置の製造方法において、
    上記第2の絶縁膜はシリコン窒化膜であることを特徴とする半導体装置の製造方法。
  8. 半導体基板上に形成され、パターニングされた絶縁膜のパターン幅を計測し、
    上記パターン幅の計測値と設計基準値との差分を算出し、
    上記差分から算出した膜厚を有する補正用絶縁膜を、上記絶縁膜の側面に形成し、
    上記絶縁膜および上記補正用絶縁膜をマスクにして、上記半導体基板の一部をエッチングすることを特徴とするエッチング幅の補正方法。
  9. 請求項8に記載のエッチング幅の補正方法において、
    上記補正用絶縁膜の膜厚は上記差分の0.8〜1.5倍に設定されることを特徴とするエッチング幅の補正方法。
  10. 請求項8または9に記載のエッチング幅の補正方法において、
    上記絶縁膜のパターン幅と、上記補正用絶縁膜の膜厚を2倍したものとを合わせた値は、半導体素子が有する活性領域の幅に等しいことを特徴とするエッチング幅の補正方法。
  11. 請求項8から10までのいずれか一項に記載のエッチング幅の補正方法において、
    上記補正用絶縁膜はサイドウォール状に形成されることを特徴とするエッチング幅の補正方法。
  12. 請求項1から7までのいずれか一項に記載の半導体装置の製造方法を用いて製造された半導体装置であって、
    上記素子分離用トレンチと、この素子分離用トレンチで画定された活性領域とを有する半導体基板と、
    上記素子分離用トレンチ内に埋め込まれた埋め込み絶縁膜と、
    上記活性領域上に形成されたゲート絶縁膜と、
    上記ゲート絶縁膜上に形成されたゲート電極と
    を備え、
    上記埋め込み絶縁膜が上記素子分離用トレンチの側壁の全部を覆っていることを特徴とする半導体装置。
  13. 請求項1から7までのいずれか一項に記載の半導体装置の製造方法を用いて製造されたMOS型トランジスタであって、
    上記素子分離用トレンチと、この素子分離用トレンチで画定された活性領域とを有する半導体基板と、
    上記素子分離用トレンチ内に埋め込まれた埋め込み絶縁膜と、
    上記活性領域上に形成されたゲート絶縁膜と、
    上記ゲート絶縁膜上に形成されたゲート電極と
    を備え、
    上記埋め込み絶縁膜が上記素子分離用トレンチの側壁の全部を覆っていることを特徴とするMOS型トランジスタ。
JP2008165896A 2008-06-25 2008-06-25 半導体装置の製造方法、半導体装置およびmos型トランジスタ Expired - Fee Related JP5419395B2 (ja)

Priority Applications (1)

Application Number Priority Date Filing Date Title
JP2008165896A JP5419395B2 (ja) 2008-06-25 2008-06-25 半導体装置の製造方法、半導体装置およびmos型トランジスタ

Applications Claiming Priority (1)

Application Number Priority Date Filing Date Title
JP2008165896A JP5419395B2 (ja) 2008-06-25 2008-06-25 半導体装置の製造方法、半導体装置およびmos型トランジスタ

Publications (2)

Publication Number Publication Date
JP2010010278A true JP2010010278A (ja) 2010-01-14
JP5419395B2 JP5419395B2 (ja) 2014-02-19

Family

ID=41590436

Family Applications (1)

Application Number Title Priority Date Filing Date
JP2008165896A Expired - Fee Related JP5419395B2 (ja) 2008-06-25 2008-06-25 半導体装置の製造方法、半導体装置およびmos型トランジスタ

Country Status (1)

Country Link
JP (1) JP5419395B2 (ja)

Citations (7)

* Cited by examiner, † Cited by third party
Publication number Priority date Publication date Assignee Title
JPS6122630A (ja) * 1984-07-10 1986-01-31 Sony Corp 半導体装置の製造方法
JPH04158515A (ja) * 1990-10-23 1992-06-01 Fujitsu Ltd 半導体装置の製造方法
JPH06244157A (ja) * 1993-02-12 1994-09-02 Nippon Steel Corp 半導体装置の製造方法
JPH11145274A (ja) * 1997-11-10 1999-05-28 Hitachi Ltd 半導体装置およびその製造方法
JP2003209105A (ja) * 2002-01-17 2003-07-25 Mitsubishi Electric Corp 半導体装置の製造方法、その制御装置およびその制御方法
JP2004228557A (ja) * 2002-06-24 2004-08-12 Hitachi Ltd 半導体装置及びその製造方法
JP2009267111A (ja) * 2008-04-25 2009-11-12 Tokyo Electron Ltd 半導体デバイスの製造方法、製造装置、コンピュータプログラム、及びコンピュータ可読記憶媒体

Patent Citations (7)

* Cited by examiner, † Cited by third party
Publication number Priority date Publication date Assignee Title
JPS6122630A (ja) * 1984-07-10 1986-01-31 Sony Corp 半導体装置の製造方法
JPH04158515A (ja) * 1990-10-23 1992-06-01 Fujitsu Ltd 半導体装置の製造方法
JPH06244157A (ja) * 1993-02-12 1994-09-02 Nippon Steel Corp 半導体装置の製造方法
JPH11145274A (ja) * 1997-11-10 1999-05-28 Hitachi Ltd 半導体装置およびその製造方法
JP2003209105A (ja) * 2002-01-17 2003-07-25 Mitsubishi Electric Corp 半導体装置の製造方法、その制御装置およびその制御方法
JP2004228557A (ja) * 2002-06-24 2004-08-12 Hitachi Ltd 半導体装置及びその製造方法
JP2009267111A (ja) * 2008-04-25 2009-11-12 Tokyo Electron Ltd 半導体デバイスの製造方法、製造装置、コンピュータプログラム、及びコンピュータ可読記憶媒体

Also Published As

Publication number Publication date
JP5419395B2 (ja) 2014-02-19

Similar Documents

Publication Publication Date Title
US6939777B2 (en) Method for manufacturing semiconductor device
US7528031B2 (en) Semiconductor device and method for manufacturing the same
US20120049253A1 (en) Semiconductor device and method for fabricating the same
JP2009158813A (ja) 半導体装置の製造方法、及び半導体装置
KR101078726B1 (ko) 반도체 소자 및 그의 제조방법
KR100464229B1 (ko) 반도체장치의 제조방법
JP5419395B2 (ja) 半導体装置の製造方法、半導体装置およびmos型トランジスタ
KR100827514B1 (ko) 반도체 소자 및 반도체 소자의 형성 방법
KR20010107707A (ko) Sti 구조를 갖는 반도체 장치를 제조하기 위한 방법
JP2006024605A (ja) 半導体集積回路装置の製造方法
KR100762870B1 (ko) 반도체 소자의 제조방법
KR100557967B1 (ko) 반도체 소자의 제조방법
KR20100074479A (ko) 반도체 소자 및 그 제조 방법
JP2009059770A (ja) 半導体装置及びその製造方法
JP5266833B2 (ja) 半導体装置及びその製造方法
CN120769515A (zh) 沟槽型mosfet器件及其制作方法
JP2007048781A (ja) 半導体装置の製造方法
KR100660337B1 (ko) 반도체 소자의 트랜지스터 형성방법
KR100713937B1 (ko) 리세스 게이트를 갖는 반도체 소자의 제조방법
KR100832712B1 (ko) 반도체 소자의 제조 방법
KR20090099411A (ko) 반도체 소자의 형성 방법
KR20070007468A (ko) 반도체 장치의 제조 방법.
JP2008042045A (ja) 半導体装置の製造方法
KR20090081249A (ko) 반도체 소자 및 그 형성 방법
JP2007142102A (ja) 半導体装置及びその製造方法

Legal Events

Date Code Title Description
A621 Written request for application examination

Free format text: JAPANESE INTERMEDIATE CODE: A621

Effective date: 20100826

A977 Report on retrieval

Free format text: JAPANESE INTERMEDIATE CODE: A971007

Effective date: 20120911

A131 Notification of reasons for refusal

Free format text: JAPANESE INTERMEDIATE CODE: A131

Effective date: 20121106

A521 Written amendment

Free format text: JAPANESE INTERMEDIATE CODE: A523

Effective date: 20121213

A131 Notification of reasons for refusal

Free format text: JAPANESE INTERMEDIATE CODE: A131

Effective date: 20130806

A521 Written amendment

Free format text: JAPANESE INTERMEDIATE CODE: A523

Effective date: 20131004

A01 Written decision to grant a patent or to grant a registration (utility model)

Free format text: JAPANESE INTERMEDIATE CODE: A01

Effective date: 20131029

A61 First payment of annual fees (during grant procedure)

Free format text: JAPANESE INTERMEDIATE CODE: A61

Effective date: 20131119

LAPS Cancellation because of no payment of annual fees