JP2010009353A - 半導体集積回路、半導体集積回路を実装したicカードおよびその動作方法 - Google Patents

半導体集積回路、半導体集積回路を実装したicカードおよびその動作方法 Download PDF

Info

Publication number
JP2010009353A
JP2010009353A JP2008168471A JP2008168471A JP2010009353A JP 2010009353 A JP2010009353 A JP 2010009353A JP 2008168471 A JP2008168471 A JP 2008168471A JP 2008168471 A JP2008168471 A JP 2008168471A JP 2010009353 A JP2010009353 A JP 2010009353A
Authority
JP
Japan
Prior art keywords
circuit
signal
demodulation
reception
received
Prior art date
Legal status (The legal status is an assumption and is not a legal conclusion. Google has not performed a legal analysis and makes no representation as to the accuracy of the status listed.)
Granted
Application number
JP2008168471A
Other languages
English (en)
Other versions
JP2010009353A5 (ja
JP5295657B2 (ja
Inventor
Akihiro Toriyama
顕宏 鳥山
Kazuki Watanabe
一希 渡邊
Current Assignee (The listed assignees may be inaccurate. Google has not performed a legal analysis and makes no representation or warranty as to the accuracy of the list.)
Renesas Technology Corp
Original Assignee
Renesas Technology Corp
Priority date (The priority date is an assumption and is not a legal conclusion. Google has not performed a legal analysis and makes no representation as to the accuracy of the date listed.)
Filing date
Publication date
Application filed by Renesas Technology Corp filed Critical Renesas Technology Corp
Priority to JP2008168471A priority Critical patent/JP5295657B2/ja
Priority to EP09251325A priority patent/EP2138961B1/en
Priority to US12/470,942 priority patent/US8643470B2/en
Priority to CN200910150401.4A priority patent/CN101615260B/zh
Publication of JP2010009353A publication Critical patent/JP2010009353A/ja
Publication of JP2010009353A5 publication Critical patent/JP2010009353A5/ja
Application granted granted Critical
Publication of JP5295657B2 publication Critical patent/JP5295657B2/ja
Active legal-status Critical Current
Anticipated expiration legal-status Critical

Links

Images

Classifications

    • GPHYSICS
    • G06COMPUTING OR CALCULATING; COUNTING
    • G06KGRAPHICAL DATA READING; PRESENTATION OF DATA; RECORD CARRIERS; HANDLING RECORD CARRIERS
    • G06K19/00Record carriers for use with machines and with at least a part designed to carry digital markings
    • G06K19/06Record carriers for use with machines and with at least a part designed to carry digital markings characterised by the kind of the digital marking, e.g. shape, nature, code
    • G06K19/067Record carriers with conductive marks, printed circuits or semiconductor circuit elements, e.g. credit or identity cards also with resonating or responding marks without active components
    • G06K19/07Record carriers with conductive marks, printed circuits or semiconductor circuit elements, e.g. credit or identity cards also with resonating or responding marks without active components with integrated circuit chips
    • G06K19/0723Record carriers with conductive marks, printed circuits or semiconductor circuit elements, e.g. credit or identity cards also with resonating or responding marks without active components with integrated circuit chips the record carrier comprising an arrangement for non-contact communication, e.g. wireless communication circuits on transponder cards, non-contact smart cards or RFIDs
    • GPHYSICS
    • G06COMPUTING OR CALCULATING; COUNTING
    • G06KGRAPHICAL DATA READING; PRESENTATION OF DATA; RECORD CARRIERS; HANDLING RECORD CARRIERS
    • G06K19/00Record carriers for use with machines and with at least a part designed to carry digital markings
    • G06K19/06Record carriers for use with machines and with at least a part designed to carry digital markings characterised by the kind of the digital marking, e.g. shape, nature, code
    • G06K19/067Record carriers with conductive marks, printed circuits or semiconductor circuit elements, e.g. credit or identity cards also with resonating or responding marks without active components
    • G06K19/07Record carriers with conductive marks, printed circuits or semiconductor circuit elements, e.g. credit or identity cards also with resonating or responding marks without active components with integrated circuit chips
    • G06K19/0723Record carriers with conductive marks, printed circuits or semiconductor circuit elements, e.g. credit or identity cards also with resonating or responding marks without active components with integrated circuit chips the record carrier comprising an arrangement for non-contact communication, e.g. wireless communication circuits on transponder cards, non-contact smart cards or RFIDs
    • G06K19/0724Record carriers with conductive marks, printed circuits or semiconductor circuit elements, e.g. credit or identity cards also with resonating or responding marks without active components with integrated circuit chips the record carrier comprising an arrangement for non-contact communication, e.g. wireless communication circuits on transponder cards, non-contact smart cards or RFIDs the arrangement being a circuit for communicating at a plurality of frequencies, e.g. for managing time multiplexed communication over at least two antennas of different types

Landscapes

  • Engineering & Computer Science (AREA)
  • Computer Networks & Wireless Communication (AREA)
  • Computer Hardware Design (AREA)
  • Microelectronics & Electronic Packaging (AREA)
  • Physics & Mathematics (AREA)
  • General Physics & Mathematics (AREA)
  • Theoretical Computer Science (AREA)
  • Near-Field Transmission Systems (AREA)

Abstract

【課題】少なくとも3種類の受信信号のいずれのタイプの受信信号を、短時間で受け付けること。
【解決手段】アンテナL1のRF信号が、復調回路U7の第1と第2の復調回路U14、U15に並列に供給される。第1復調回路U14は、第1変調度の第1受信信号を復調する。第2復調回路U15は第1通信開始信号(SOF)を持つ第2受信信号と第2通信開始信号(Preamble)を持つ第3受信信号とを復調する。第1と第2の復調回路U14、U15の復調出力信号は、判定回路U16に供給される。第1復調回路U14による復調出力が判定される場合は、第1受信信号の受信と判定される。第2復調回路U15による第2受信信号の復調出力が判定される場合は、第2受信信号の受信と判定される。第2復調回路U15による第3受信信号の復調出力が判定される場合は、第3受信信号の受信と判定される。
【選択図】図1

Description

本発明は、半導体集積回路、半導体集積回路を実装したICカードおよびその動作方法に関するもので、特に、少なくとも3種類の受信信号のいずれのタイプの受信信号を短時間で受け付けるのに有益な技術に関する。
国際規格ISO/IEC14443によれば、非接触インターフェースを有するICカードはPICCと呼ばれ、PCDと呼ばれるリーダー/ライター装置とRF通信を行うものである。尚、ISOはInternational Organization for Standardizationの略であり、IECはInternational Electrical Commissionの略である。また、PICCはProximity Cardの略であり、PCDはProximity Coupling Deviceの略である。
例えば、下記非特許文献1に記載されているように、国際規格ISO/IEC14443のタイプAでは、PCDからPICCへの通信は、ASK100%の変調度の変調方式で変形ミラー方式による符号化方式とされている。しかし、国際規格ISO/IEC14443のタイプBではPCDからPICCへの通信はASK10%の変調率の変調方式でNRZ−L方式による符号化方式とされている。尚、NRZ−Lは、Non Return to Zero-Levelの略である。尚、ASKは、ディジタル変調方式の1つである振幅偏移変調(Amplitude Shift Keying)である。
例えば、下記非特許文献2に記載されているように、国際規格ISO/IEC14443では、PICCが動作フィールドに入ってから5m秒以内にリクエストを受け付けることが規定されている。また、タイプAのPICCはタイプBのいかなるコマンドを受信しても、5m秒以内にタイプAのリクエストコマンドを受け付けることが規定されている。同様に、タイプBのPICCはタイプAのいかなるコマンドを受信しても、5m秒以内にタイプBのリクエストコマンドを受け付けることが規定されている。
更に、下記非特許文献2に記載のように、タイプAの初期化では、タイプAのPICCは、アイドル状態からタイプAのリクエストコマンドによってレディー状態に遷移して、更にレディー状態から選択コマンドによってアクテイブ状態に遷移して、アクテイブ状態からホールトコマンドによって停止状態に遷移する。尚、レディー状態は、アンチコロージョンループを有している。
また、下記非特許文献2と下記特許文献5とに記載のように、タイプBの初期化ではタイプBのPICCは、アイドル状態でタイプBのリクエストコマンドを待っている。このリクエストコマンドは、タイプBのPICCにアプリケーション・ファミリー・アイデンティファイヤー(AFI)、属性情報パラメータ(PARAM)、巡回冗長チェックコード(CRC)を生成する準備のためのものである。タイプBのPICCがAFIの一致を検出するとタイプBのリクエストに対するレスポンスをPCDに送信する。このレスポンスは、擬似ユニーク・アイデンティファイヤー(PUPI)、アプリケーション情報(アプリケーションデータ)、プロトコール情報、巡回冗長チェックコード(CRC)を含んでいる。その後、タイプBのPICCがPICC選択コマンドを受け付けると、それに対するレスポンスをPCDに送信して、アクテイブ状態に遷移する。更にタイプBの送信データはフレームとしてのキャラクタと呼ばれており、このフレームはSOF(Start Of Frame)とEOF(End Of Frame)とによって境界が定められている。SOFとEOFのそれぞれは、1個の立ち下がりエッジと所定の長さの論理“0”を含んでいる。
近年、短距離無線通信技術(NFC)と呼ばれ、家電製品、デジタルメディア、消費者向けの無線通信接続、コンテンツ、ビジネス上の取引を簡略化して、かつ拡大させる通信技術が普及している。このNFC技術は既存の種々の通信方式と互換性を持ち、13.56MHzのRF周波数を使用して、10cm程度で最大通信レート847Kbpsの短距離通信を可能とする。特に、電子決済機能を有するICカードマイコン(セキュアチップ)を内蔵する携帯電話端末にNFC技術が搭載されて、非接触による店舗での商品購入の支払い、駅での交通費の支払い等の種々の非接触電子決済への活用によりエンドユーザの利便性を向上させることを狙っている。尚、NFCは、Near Field Communicationの略である。
下記非特許文献3には、国際規格ISO/IEC18092のNFCの内容が記載されている。ISO/IEC18092のNFCの212Kbpsから424Kbpsの転送レートの通信では、変調率が8%〜30%のASK変調方式の変調方式でManchester方式による符号化方式とされている。パッシィブ通信モードではターゲットにエネルギー供給するRF電界をイニシェーターが生成する一方、アクテイブ通信モードではイニシェーターとターゲットとは交互にRF電界を生成するものである。
ISO/IEC18092の106、212または424Kbpsのいずれかの転送レートの通信の初期化では、アプリケーションがアクテイブ通信モードにスイッチする一方、3つの転送レートのひとつを選択する。212と424Kbpsの転送レートのパッシィブ通信モードの初期化では、データパケットの前にはプリアンブルが挿入され、このプリアンブルは論理“0”がエンコードされた最小48ビットを含むものである。
一方、下記特許文献1には、カードリーダー/ライター装置から送信されたISO/IEC14443の種々の通信法の信号の変調方式と符号化方式とをCPUの判断部が判断することによって用途別に通信することが可能な非接触式ICカードが記載されている。
また、下記特許文献2には、ISO/IEC14443のタイプAのリクエスト信号を100%ASK変調回路と変形ミラー復調回路とで処理する一方、タイプBのリクエスト信号を10%ASK変調回路とNRZ−Lとで処理する近接型の非接触ICカードが記載されている。タイプAとタイプBとのいずれか一方が受信され、他方の処理はエラーとなって無意味なビット列となるので、演算回路は両方の出力値を比較して意味のある信号を選択する。ICカードの不揮発性メモリには演算動作の為のアプリケーションが記憶され、通信方式はタイプAとタイプBのいずれかを使用することができる。しかし、リーダー/ライター装置からの供給電力の余裕等の理由から、ICカードの優先度テーブルにはタイプBの優先度を高く設定することが記載されている。
一方、下記特許文献3には、アンテナ・コイル、整流回路、電源回路、CPU、復調回路、変調回路、非接触制御回路、ROM、RAM、EEPROMの部品を含む非接触ICカードが記載されている。アンテナ・コイル以外の部品は、シリコン基板に集積化されている。非接触制御回路は、高速タイプのプリアンブルを検出する第1検出回路とISO/IEC14443のタイプBのSOFを検出する第2検出回路とを含んでいる。高速タイプはマンチェスター・コーディング方式でプリアンブルのヘッダ方式である一方、タイプBはNRZコーディング方式でSOFのヘッダ方式である。第1検出回路のヘッダ検出信号と第2検出回路のヘッダ検出信号とは、通信方式検出回路に供給される。第1検出回路からの出力はCPUのプログラム実行による第1処理によって処理されて、第2検出回路からの出力はCPUのプログラム実行による第2処理によって処理される。通信方式検出回路の高速タイプまたはタイプBの一致検出出力信号によって、第1処理と第2処理のいずれか一方の無駄な処理の実行が禁止される。
また、下記特許文献4には、ISO/IEC14443のタイプBでの送信データの先頭に付加されるSOF信号の論理値“0”の長い時間幅とISO/IEC18092のマンチェスター・コードの伝送データの論理値“0”の短い時間幅とを識別する非接触型ICカードが記載されている。
D. Baddeley, "Final Committee Draft ISO/IEC 14443−2" Identification cards−Contactless integrated circuit(s) card−Proximity card− Part 2: Radio frequency power and signal interface,http://www.waaza.org/download/fcd−14443−2.pdf[平成20年5月30日検索] D. Baddeley, "FINAL COMMITTEE DRAFT ISO/IEC 14443−3" Identification cards−Contactless integrated circuit(s) card−Proximity card− Part 3: Radio Itialization and anticollision,http://www.waaza.org/download/fcd−14443−3.pdf[平成20年5月30日検索] INTERNATIONAL STADARD ISO/IEC 18092, "Information technology −Telecommunication and information exchange between systems−Near Field Commmnication−Interface and Protocol(NFCIP−1)",http://stadards.iso.org/ittf/licence.html[平成20年5月30日検索] 特開2008−059271号 公報 特開2003−249870号 公報 特開2006−060363号 公報 特開2006−072678号 公報 米国特許 第7、364、083 B2号 明細書
本発明者は本発明に、先立って非接触リーダー/ライター装置とのNFC通信を利用する携帯電話に搭載される非接触インターフェースを有するICカードの開発に従事した。このICカードには、上述のISO/IEC14443のタイプAの通信機能とISO/IEC14443のタイプBの通信機能とISO/IEC18092のNFCの通信機能の3種類の通信機能とを搭載することが必要となった。
この非接触ICカードは、電池を有する携帯電話に搭載されるだけではなく、電池の無いICカード単体で利用される場合もある。電池の無いICカード単体で利用される環境では、ICカードの内部回路のための動作電源電圧は、アンテナが受信する非接触リーダー/ライター装置のRFキャリア信号の整流・平滑によって生成される動作電圧のみである。非接触リーダー/ライター装置のRFキャリア信号を受信するアンテナは、ICカードの樹脂モールドされる絶縁基板表面上のプリント配線によって形成される渦巻き形状のコイルによって構成される。このアンテナで受信されるRFキャリア信号の整流・平滑によって生成される動作電圧の駆動能力は、比較的小さなものである。
一方、非接触ICカードの実際の使用環境に際しては、3種類のいずれのタイプの非接触リーダー/ライター装置の通信距離範囲内に近接するか予測できない。一方、国際規格ISO/IEC14443によって規定されたタイプAとタイプBのICカードは、動作フィールドに入ってから5m秒以内にリクエストコマンドを受け付けることが必要である。しかし、3種類のリクエストコマンドを受け付ける3個のコマンドのための検出回路を並列に動作させることは、アンテナの受信RFキャリア信号の整流・平滑による動作電圧の比較的小さな駆動能力では困難であることが本発明者等による検討によって明らかとされた。一方、1個のコマンドのための検出回路のコマンド受付機能をランダムに切り換える方法も検討されたが、国際規格によって規定された5m秒以内の受け付けは困難であることも本発明者等による検討によって明らかとされた。
本発明は、以上のような本発明に先立った本発明者等の検討の結果、なされたものである。
従って、本発明の目的とするところは、少なくとも3種類の受信信号のいずれのタイプの受信信号を短時間で受け付けることにある。
また、本発明の他の目的とするところは、上述のいずれのタイプの受信信号を受け付ける際の消費電力を削減することにある。更に、本発明のその他の目的とするところは、アンテナからの小さな駆動能力の動作電圧によって動作可能とすることにある。
本発明の前記ならびにその他の目的と新規な特徴は、本明細書の記述および添付図面から明らかになるであろう。
本願において開示される発明のうちの代表的なものについて簡単に説明すれば下記のとおりである。
すなわち、本発明の代表的な半導体集積回路(U2)は、第1アンテナ接続端子(LA)と、第2アンテナ接続端子(LB)と、電源回路(U3)と、復調回路(U7)と、判定回路(U16)とを具備する。
前記第1と第2のアンテナ接続端子の間にはアンテナ(L1)によるRF信号が供給され、前記電源回路は前記RF信号の整流・平滑により生成される動作電圧(VDD)を前記復調回路と前記判定回路に供給する。
前記復調回路(U7)は、アンテナ(L1)のRF信号が並列に供給される第1復調回路(U14)と第2復調回路(U15)とを含む。前記第1復調回路(U14)は、前記RF信号として第1変調度(100%)を持つ第1受信信号(タイプA)を復調して第1復調出力信号(2値化信号A)を生成する。前記第2復調回路(U15)は、前記RF信号として第2変調度(10%)および第1フォーマット(SOF)の第1通信開始信号を持つ第2受信信号(タイプB)と前記第2変調度および第2フォーマット(Preamble)の第2通信開始信号を持つ第3受信信号(18092)を復調して第2復調出力信号(2値化信号B)を生成する。
前記第1復調回路(U14)の前記第1復調出力信号と前記第2復調回路(U15)の前記第2復調出力信号とは、前記判定回路(U16)に供給される(図1参照)。
前記第1復調回路(U14)による前記第1復調出力信号の生成が前記判定回路(U16)により判定される場合には、前記第1受信信号の受信と判定される(図7:F4−2、F4−4)。前記第1復調回路(U14)による前記第1復調出力信号の非生成が前記判定回路(U16)により判定される場合には、前記判定回路は前記第1通信開始信号と前記第2通信開始信号とのフォーマットの相違を判定可能する(図7:F4−3)。前記第2復調回路(U15)による前記第1フォーマットの前記第1通信開始信号を持つ前記第2受信信号(タイプB)の復調による前記第2復調出力信号の生成が前記判定回路(U16)により判定される場合には、前記第2受信信号の受信と判定される(図7:F4−3、F4−5)。前記第2復調回路(U15) による前記第2フォーマットの前記第2通信開始信号を持つ前記第3受信信号(18092)の復調による前記第2復調出力信号の生成が前記判定回路(U16)により判定される場合には、前記第3受信信号の受信と判定される(図7:F4−3、F4−6)。
本願において開示される発明のうち代表的なものによって得られる効果を簡単に説明すれば下記の通りである。すなわち、本発明によれば、少なくとも3種類の受信信号のいずれのタイプの受信信号を、短時間で受け付けることができる。
《代表的な実施の形態》
先ず、本願において開示される発明の代表的な実施の形態について概要を説明する。代表的な実施の形態についての概要説明で括弧を付して参照する図面の参照符号はそれが付された構成要素の概念に含まれるものを例示するに過ぎない。
〔1〕本発明の代表的な実施の形態による半導体集積回路(U2)は、第1アンテナ接続端子(LA)と、第2アンテナ接続端子(LA)と、電源回路(U3)と、復調回路(U7)と、判定回路(U16)とを具備する。
前記第1アンテナ接続端子と前記第2アンテナ接続端子との間にはアンテナ(L1)によって受信されるRF信号が供給可能とされ、前記電源回路は前記RF信号の整流・平滑によって生成する動作電圧(VDD)を前記復調回路と前記判定回路とに供給可能とされている。
前記復調回路(U7)は第1復調回路(U14)と第2復調回路(U15)とを含み、前記第1アンテナ接続端子と前記第2アンテナ接続端子との間に供給される前記RF信号は前記第1復調回路の入力と前記第2復調回路の入力とに並列に供給可能とされる。
前記第1復調回路(U14)は、前記RF信号として第1変調度(100%)を持つ第1受信信号(タイプA)を復調することによって第1復調出力信号(2値化信号A)を生成可能とされる。
前記第2復調回路(U15)は、前記RF信号として前記第1変調度と異なる値の第2変調度(10%)および第1フォーマット(SOF)の第1通信開始信号を持つ第2受信信号(タイプB)と前記第2変調度および第2フォーマット(Preamble)の第2通信開始信号を持つ第3受信信号(18092)を復調することによって第2復調出力信号(2値化信号B)を生成可能とされる。
前記第1復調回路(U14)の前記第1復調出力信号と前記第2復調回路(U15)の前記第2復調出力信号とは、前記判定回路(U16)に供給可能とされる(図1参照)。
前記第1復調回路(U14)が前記第1復調出力信号を生成することを前記判定回路(U16)によって判定される場合には、前記RF信号として前記第1変調度を持つ前記第1受信信号が受信されていると前記判定回路(U16)によって判定される(図7:F4−2、F4−4)。
前記第1復調回路(U14)が前記第1復調出力信号を生成しないことを前記判定回路(U16)によって判定される場合には、前記判定回路は前記第1通信開始信号と前記第2通信開始信号とのフォーマットの相違を判定可能とされる(図7:F4−3)。
前記第2復調回路(U15)が前記第1フォーマット(SOF)の前記第1通信開始信号を持つ前記第2受信信号(タイプB)を復調することによって前記第2復調出力信号を生成することを前記判定回路(U16)によって判定される場合には、前記RF信号として前記第2受信信号が受信されていると前記判定回路(U16)によって判定される(図7:F4−3、F4−5)。
前記第2復調回路(U15)が前記第2フォーマット(Preamble)の前記第2通信開始信号を持つ前記第3受信信号(18092)を復調することによって前記第2復調出力信号を生成することを前記判定回路(U16)によって判定される場合には、前記RF信号として前記第3受信信号が受信されていると前記判定回路(U16)によって判定される(図7:F4−3、F4−6)。
前記実施の形態によれば、前記第1復調回路(U14)と前記第2復調回路(U15)と前記判定回路(U16)とによって2回の判断処理が実行されることによって3種類の受信信号(タイプA、タイプB、18092)の受信判断を行うことができる。まず、前記第1復調回路(U14)と前記判定回路(U16)とによる1回目の判断にて前記第1変調度(100%)の第1受信信号(タイプA)を前記第1復調回路(U14)が復調することで前記第1復調出力信号を生成すると判定される場合には、前記RF信号として前記第1受信信号(タイプA)が受信中と極めて短時間で判定されることが可能となる。尚、この1回目の判断自体は、上記特許文献2に記載された100%ASK変調回路と10%ASK変調回路と演算回路の選択とによる判断と原理的に同一と言うことができる。
次に1回目の判断の結果が否の場合に、前記第2復調回路(U15)と前記判定回路(U16)とによる2回目の判断にて前記第1通信開始信号(SOF)を持つ前記第2受信信号(タイプB)を前記第2復調回路(U15)が復調することで前記第2復調出力信号を生成すると判定される場合には、前記RF信号として前記第2受信信号(タイプB)が受信中と判定されるものとなる。逆に、この2回目の判断にて前記第2通信開始信号(Preamble)を持つ前記第3受信信号(18092)を前記第2復調回路(U15)が復調することで前記第2復調出力信号を生成すると判定される場合には、前記RF信号として前記第3受信信号(18092)が受信中と判定されるものとなる。尚、この2回目の判断自体は、上記特許文献3に記載の高速タイプのプリアンブルとタイプBのSOFとの判別および上記特許文献4に記載のタイプBのSOFと18092のマンチェスター・コードの伝送データの論理値“0”との判別と原理的に同一と言うことができる。
このようにして前記実施の形態によれば、前記順序の2回の判断処理の実行によって少なくとも3種類の受信信号(タイプA、タイプB、18092)のいずれのタイプの受信信号を短時間で受け付けることが可能となる。尚、上記特許文献2と上記特許文献3と上記特許文献4とにも前記順序の2回の判断処理の実行によって前記3種類の受信信号のいずれのタイプの受信信号を短時間で受け付けることを示唆する記載は見当たらない。
また好適な実施の形態によれば、前記第1復調回路(U14)が前記第1復調出力信号を生成することを前記判定回路(U16)によって判定された場合には、前記判定回路から生成される制御信号(低消費電力モード信号)によって前記第2復調回路(U15)の動作が停止可能とされる(図1、図14参照)。
また前記第1復調回路(U14)が前記第1復調出力信号を生成しないことを前記判定回路(U16)によって判定された場合には、前記判定回路から生成される前記制御信号によって前記前記第1復調回路(U14)の動作が停止可能とされる(図1、図15、図16参照)。
前記好適な実施の形態によれば、少なくとも3種類の受信信号を受け付ける際の消費電力を削減することが可能となる。
より好適な実施の形態によれば、前記第1受信信号(タイプA)と前記第2受信信号(タイプB)と前記第3受信信号(18092)とはASK変調信号であり、前記第1変調度と前記第2変調度とはASK変調度であり、前記第2変調度は前記第1変調度よりも小さなASK変調度を持つ。
前記第1復調回路(U14)は大きなASK変調度の前記第1変調度を持つ前記第1受信信号(タイプA)を復調することによって前記第1復調出力信号(2値化信号A)を生成可能とされる。
前記第2復調回路(U15)は前記小さなASK変調度の前記第2変調度を持つ前記第2受信信号(タイプB)と前記第3受信信号(18092)を復調することによって前記第2復調出力信号(2値化信号B)を生成可能とされる。
更により好適な実施の形態によれば、前記第2受信信号(タイプB)の前記第1フォーマット(SOF)の前記第1通信開始信号は第1ユーザーデータ(Character)に先行する第1ヘッダ情報である。
また、前記第3受信信号(18092)の前記第2フォーマット(Preamble)の前記第2通信開始信号は第2ユーザーデータ(PD0、PD1…PDn)に先行する第2ヘッダ情報である。
具体的な一つの実施の形態による半導体集積回路(U2)は、中央処理ユニット(U12)と、ランダムアクセスメモリ(U10)と、不揮発性メモリ(U11、U13)と、受信回路(U19)と、送信回路(U20)と、変調回路(U8)とを更に具備する。
前記不揮発性メモリには、前記中央処理ユニットが実行する処理プログラムが格納されている。
前記第1復調回路(U14)から生成される前記第1復調出力信号に含まれる第1受信データと前記第2復調回路(U15)から生成される前記第2復調出力信号に含まれる第2受信データとは、前記受信回路(U19)を介して前記ランダムアクセスメモリ(U10)に格納される。
前記第1受信データと前記第2受信データとの一方のデータの前記ランダムアクセスメモリ(U10)への格納の以前では、前記中央処理ユニット(U12)は低消費電力状態に制御される。
前記一方のデータの前記ランダムアクセスメモリ(U10)への前記格納に応答して前記中央処理ユニット(U12)は前記低消費電力状態から動作状態に遷移され、前記動作状態に遷移した前記中央処理ユニットは前記ランダムアクセスメモリの格納データを読み出すことが可能とされる。
前記中央処理ユニットは前記ランダムアクセスメモリから読み出した前記格納データを前記処理プログラムに従って処理して当該処理データを前記ランダムアクセスメモリに格納して、当該格納の後に前記中央処理ユニットは前記動作状態から前記低消費電力状態に遷移することが可能とされる。
前記送信回路(U20)は前記ランダムアクセスメモリ(U10)から前記処理データを読み出して、当該読み出しデータを前記変調回路(U8)に転送して、当該転送されたデータに応答して前記変調回路は前記アンテナ(L1)から送信されるRF送信信号を生成可能とされる(図14、図15、図16、図17参照)。
最も具体的な一つの実施の形態によれば、前記第1受信信号は国際規格ISO/IEC14443のタイプAに準拠するものであり、前記第2受信信号は国際規格ISO/IEC14443のタイプBに準拠するものであり、前記第3受信信号は国際規格ISO/18092に準拠するものである。
〔2〕本発明の別の観点の代表的な実施の形態によるICカードは基板上に半導体集積回路と配線により形成されたアンテナとが実装されている。
前記半導体集積回路(U2)は、第1アンテナ接続端子(LA)と、第2アンテナ接続端子(LB)と、電源回路(U3)と、復調回路(U7)と、判定回路(U16)とを有する。
前記第1アンテナ接続端子と前記第2アンテナ接続端子との間には前記アンテナ(L1)によって受信されるRF信号が供給可能とされ、前記電源回路は前記RF信号の整流・平滑によって生成する動作電圧(VDD)を前記復調回路と前記判定回路とに供給可能とされている。
前記復調回路(U7)は第1復調回路(U14)と第2復調回路(U15)とを含み、前記第1アンテナ接続端子と前記第2アンテナ接続端子との間に供給される前記RF信号は前記第1復調回路の入力と前記第2復調回路の入力とに並列に供給可能とされる。
前記第1復調回路(U14)は、前記RF信号として第1変調度(100%)を持つ第1受信信号(タイプA)を復調することによって第1復調出力信号(2値化信号A)を生成可能とされる。
前記第2復調回路(U15)は、前記RF信号として前記第1変調度と異なる値の第2変調度(10%)および第1フォーマット(SOF)の第1通信開始信号を持つ第2受信信号(タイプB)と前記第2変調度および第2フォーマット(Preamble)の第2通信開始信号を持つ第3受信信号(18092)を復調することによって第2復調出力信号(2値化信号B)を生成可能とされる。
前記第1復調回路(U14)の前記第1復調出力信号と前記第2復調回路(U15)の前記第2復調出力信号とは、前記判定回路(U16)に供給可能とされる(図1参照)。
前記第1復調回路(U14)が前記第1復調出力信号を生成することを前記判定回路(U16)によって判定される場合には、前記RF信号として前記第1変調度を持つ前記第1受信信号が受信されていると前記判定回路(U16)によって判定される(図7:F4−2、F4−4)。
前記第1復調回路(U14)が前記第1復調出力信号を生成しないことを前記判定回路(U16)によって判定される場合には、前記判定回路は前記第1通信開始信号と前記第2通信開始信号とのフォーマットの相違を判定可能とされる(図7:F4−3)。
前記第2復調回路(U15)が前記第1フォーマット(SOF)の前記第1通信開始信号を持つ前記第2受信信号(タイプB)を復調することによって前記第2復調出力信号を生成することを前記判定回路(U16)によって判定される場合には、前記RF信号として前記第2受信信号が受信されていると前記判定回路(U16)によって判定される(図7:F4−3、F4−5)。
前記第2復調回路(U15)が前記第2フォーマット(Preamble)の前記第2通信開始信号を持つ前記第3受信信号(18092)を復調することによって前記第2復調出力信号を生成することを前記判定回路(U16)によって判定される場合には、前記RF信号として前記第3受信信号が受信されていると前記判定回路(U16)によって判定される(図7:F4−3、F4−6)。
〔3〕本発明の更に他の観点の代表的な実施の形態は、基板上に半導体集積回路と配線により形成されたアンテナとが実装されたICカードの動作方法に関するものである。
前記半導体集積回路(U2)は、第1アンテナ接続端子(LA)と、第2アンテナ接続端子(LB)と、電源回路(U3)と、復調回路(U7)と、判定回路(U16)とを有する。
前記第1アンテナ接続端子と前記第2アンテナ接続端子との間には前記アンテナ(L1)によって受信されるRF信号が供給可能とされ、前記電源回路は前記RF信号の整流・平滑によって生成する動作電圧(VDD)を前記復調回路と前記判定回路とに供給可能とされている。
前記復調回路(U7)は第1復調回路(U14)と第2復調回路(U15)とを含み、前記第1アンテナ接続端子と前記第2アンテナ接続端子との間に供給される前記RF信号は前記第1復調回路の入力と前記第2復調回路の入力とに並列に供給可能とされる。
前記第1復調回路(U14)は、前記RF信号として第1変調度(100%)を持つ第1受信信号(タイプA)を復調することによって第1復調出力信号(2値化信号A)を生成可能とされる。
前記第2復調回路(U15)は、前記RF信号として前記第1変調度と異なる値の第2変調度(10%)および第1フォーマット(SOF)の第1通信開始信号を持つ第2受信信号(タイプB)と前記第2変調度および第2フォーマット(Preamble)の第2通信開始信号を持つ第3受信信号(18092)を復調することによって第2復調出力信号(2値化信号B)を生成可能とされる。
前記第1復調回路(U14)の前記第1復調出力信号と前記第2復調回路(U15)の前記第2復調出力信号とは、前記判定回路(U16)に供給可能とされる(図1参照)。
前記第1復調回路(U14)が前記第1復調出力信号を生成することを前記判定回路(U16)によって判定される場合には、前記RF信号として前記第1変調度を持つ前記第1受信信号が受信されていると前記判定回路(U16)によって判定される(図7:F4−2、F4−4)。
前記第1復調回路(U14)が前記第1復調出力信号を生成しないことを前記判定回路(U16)によって判定される場合には、前記判定回路は前記第1通信開始信号と前記第2通信開始信号とのフォーマットの相違を判定可能とされる(図7:F4−3)。
前記第2復調回路(U15)が前記第1フォーマット(SOF)の前記第1通信開始信号を持つ前記第2受信信号(タイプB)を復調することによって前記第2復調出力信号を生成することを前記判定回路(U16)によって判定される場合には、前記RF信号として前記第2受信信号が受信されていると前記判定回路(U16)によって判定される(図7:F4−3、F4−5)。
前記第2復調回路(U15)が前記第2フォーマット(Preamble)の前記第2通信開始信号を持つ前記第3受信信号(18092)を復調することによって前記第2復調出力信号を生成することを前記判定回路(U16)によって判定される場合には、前記RF信号として前記第3受信信号が受信されていると前記判定回路(U16)によって判定される(図7:F4−3、F4−6)。
《実施の形態の説明》
次に、実施の形態について更に詳述する。尚、発明を実施するための最良の形態を説明するための全図において、前記の図と同一の機能を有する部品には同一の符号を付して、その繰り返しの説明は省略する。
《非接触ICカードの基本的な構成》
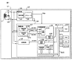
図1は、本発明の実施の形態による非接触ICカードの基本的な構成を示す図である。
図1に示す非接触ICカードU1は、アンテナL1、共振容量C1、半導体集積回路U2を含んでいる。アンテナL1の一端と共振容量C1の一端とは半導体集積回路U2の第1アンテナ接続端子LAに接続され、アンテナL1の他端と共振容量C1の他端とは半導体集積回路U2の第2アンテナ接続端子LBに接続されている。従って、非接触リーダー/ライター装置からのRFキャリア信号はアンテナ接続端子LA、LBを介して、非接触ICカードU1の動作エネルギーとして電源回路U3に供給されることができる。
また、非接触リーダー/ライター装置からの受信信号は非接触ICカードU1のアンテナ接続端子LA、LBを介して復調回路U7に供給される一方、非接触ICカードU1の変調回路U8からの送信信号はアンテナ接続端子LA、LBとアンテナL1と共振容量C1を介して非接触リーダー/ライター装置に供給されることができる。
半導体集積回路U2は、電源回路U3、内部回路U4を含み、電源回路U3は整流回路U5、レギュレータU6を含み、内部回路U4は復調回路U7、変調回路U8、非接触制御回路U9を含んでいる。復調回路U7は、非接触リーダー/ライター装置からのISO/IEC14443のタイプAの受信信号を受信するための低感度復調回路U14と、非接触リーダー/ライター装置からのISO/IEC14443のタイプBおよびISO/IEC18092の受信信号を受信するための高感度復調回路U15を含んでいる。非接触制御回路U9は、判定回路U16、判定結果レジスタU17、受信エラーレジスタU18、受信回路U19、送信回路U20を含んでいる。非接触制御回路U9には、バス(BUS)を介してRAM(U10)、ROM(U11)、CPU(U12)、EEPROM(U13)および図示はされないが暗号処理等を行うコプロセッサ、インターフェース回路等が接続されている。
図1に示す非接触ICカードU1は非接触リーダー/ライター装置からの受信信号がISO/IEC14443のタイプAと、ISO/IEC14443のタイプBと、ISO/IEC18092のいずれの情報伝達方式であるかを、ASK変調度と論理値の時間幅とから検出する機能を有する。
図1に示す非接触ICカードU1が非接触リーダー/ライター装置のRFリャリア信号を受信できる動作フィールドに入ると、非接触ICカードU1の電源回路U3の整流回路U5とレギュレータU6とは内部電源電圧VDDを生成して内部回路U4に含まれる各回路へ動作電源電圧として供給する。まず、アンテナL1の両端で受信された受信信号は初期受信の間に復調回路U7の低感度復調回路U14と高感度復調回路U15に供給される一方、低感度復調回路U14の出力と高感度復調回路U15の出力は非接触制御回路U9の判定回路U16に供給される。それによって、現在の受信信号が、タイプAとタイプBと18092とのいずれの情報伝達方式であるかが検出される。最初に、低感度復調回路U14の出力と高感度復調回路U15の出力とは非接触制御回路U9の判定回路U16に供給されることによって、初期受信の間に受信された受信信号のASK変調度が判定回路U16によって検出される。
後に詳述するように、初期受信の間に復調回路U7の低感度復調回路U14はISO/IEC14443のタイプAのASK変調度が100%の受信信号を検出する一方、復調回路U7の高感度復調回路U15はISO/IEC14443のタイプBおよびISO/IEC18092でASK変調度が10%の受信信号を検出するものである。非接触制御回路U9の判定回路U16は、現在の受信信号のASK変調度は低感度復調回路U14が検出する100%なのか高感度復調回路U15が検出する10%なのかを判定する。例えば、判定回路U16が現在の受信信号のASK変調度は低感度復調回路U14の100%であると判定した場合は、低消費電力モード信号によって高感度復調回路U15の動作が停止される。それによって、初期受信の後の受信ユーザーデータの受信処理の間の高感度復調回路U15の無駄な動作による消費電力が削減できる。逆に、判定回路U16が現在の受信信号のASK変調度は高感度復調回路U15の10%であると判定した場合は、低消費電力モード信号によって低感度復調回路U14の動作が停止される。それによって、初期受信の後の受信ユーザーデータの受信処理の間の低感度復調回路U14の無駄な動作による消費電力が削減できる。
《ASK変調度の検出》
図2は、ISO/IEC14443のタイプAのASK変調度が100%の場合と、ISO/IEC14443のタイプBおよびISO/IEC18092でASK変調度が10%の場合の非接触ICカードでの非接触リーダー/ライター装置からの受信信号の波形を示す図である。すなわち、図2(A)はISO/IEC14443のタイプAのASK変調度が100%の場合の受信信号の波形であり、図2(B)はISO/IEC14443のタイプBおよびISO/IEC18092でASK変調度が10%の場合の受信信号の波形である。振幅変調された受信信号の最小振幅値aと最大振幅値bとすると、ASK変調度は|b−a|/|b+a|で与えられる。
図1に示す非接触ICカードU1の内部回路U4の復調回路U7は、低感度復調回路U14と高感度復調回路U15とを含んでいる。例えば、低感度復調回路U14は、最小振幅値aと最大振幅値bの振幅差が90%以上の振幅差でなければ検出できない低い検出感度を持ち、高感度復調回路U15は、最小振幅値aと最大振幅値bの振幅差が18%以上の振幅差であれば検出できる高い検出感度を持つ。
図1の復調回路U7の低感度復調回路U14の差動入力端子と高感度復調回路U15の差動入力端子とにアンテナL1の両端の受信信号が供給され、低感度復調回路U14の出力からは2値化信号Aが生成され、高感度復調回路U15の出力からは2値化信号Bが生成される。
図2(A)の下には、ISO/IEC14443のタイプAの受信信号に応答する低い検出感度を持つ低感度復調回路U14の出力の2値化信号Aと高い検出感度を持つ高感度復調回路U15の出力の2値化信号Bとが示されている。この場合には、両出力の波形は同一となる。
図2(B)の下には、ISO/IEC14443のタイプBまたはISO/IEC18092の受信信号に応答する低い検出感度の低感度復調回路U14の出力の2値化信号Aと高い検出感度の高感度復調回路U15の出力の2値化信号Bとが示されている。この場合には、高い検出感度の高感度復調回路U15の出力の2値化信号Bからは、ASK変調度が10%のISO/IEC14443のタイプBとISO/IEC18092との受信信号の検出信号が生成される。しかし、低い検出感度の低感度復調回路U14の出力2値化信号Aからは、ASK変調度が10%のISO/IEC14443のタイプBとISO/IEC18092との受信信号の検出信号は生成されない。
《情報伝達方式の検出》
始めに、非接触リーダー/ライター装置から非接触ICカードU1に送信されるデータを「ダウンリンクデータ」と定義する一方、非接触ICカードU1から非接触リーダー/ライター装置に送信されるデータを「アップリンクデータ」と定義する。
図7は、図1に示す非接触ICカードU1が非接触リーダー/ライター装置からの受信信号がタイプAとタイプBと18092とのいずれの情報伝達方式であるかを検出する動作フローを説明するための図である。
図7のステップF1で図1に示す非接触ICカードU1が非接触リーダー/ライター装置の動作フィールドに入ると、非接触ICカードU1の電源回路U3は内部電源VDDを生成して内部回路U4へ動作電源電圧として供給する。
次に図7のステップF2で、CPU(U12)はバス(BUS)を介して、非接触制御回路U9内部の判定結果レジスタU17の内容を読み出す。以前に情報伝達方式と情報通信速度との判定が実行されていれば、判定結果レジスタU17には判定回路U16で判定された情報伝達方式と情報通信速度との判定結果の情報とが格納されている。ここでは、以前に判定が実行されていないので、判定結果レジスタU17には判定結果が格納されていないので、非接触ICカードU1の状態は図7のステップF4の初期受信モードに遷移する。すると、図7の次のステップF4−1の初期受信期間に、非接触ICカードU1の復調回路U7での低感度復調回路U14と高感度復調回路U15とによる並列復調動作が実行される。低感度復調回路U14の出力の2値化信号Aと高い検出感度を持つ高感度復調回路U15の出力の2値化信号Bは、判定回路U16に供給される。
図2(A)の下で説明したように、ISO/IEC14443のタイプAの受信信号を受信する場合には、低感度復調回路U14の出力の2値化信号Aと高感度復調回路U15の出力の2値化信号Bの両出力の波形は同一となる。従って、判定回路U16は、図7のステップF4−2の左側の結果とステップF4−4での方式決定に示すように、同一の波形から現在ASK変調度が100%のISO/IEC14443のタイプAの受信信号を受信していることを判定することができる。そして、判定回路U16は図7の次のステップF4−7でタイプAの受信の判定結果を判定結果レジスタU17に書き込み、図7の更に次のステップF4−10でタイプAの受信ユーザーデータの受信処理を行うものである。この時には、非接触リーダー/ライター装置から非接触ICカードU1への情報伝達方式がISO/IEC14443のタイプAと判定されているので、受信回路U19によってシリアル・パラレル変換された2値化信号の受信ユーザーデータ部分が受信パラレル・データの形態でRAM(U10)に転送されて格納される。受信パラレル・データは、低消費電力状態とされるCPU(U12)とは独立に受信回路U19からの専用信号線を介して例えば1バイト毎にRAM(U10)へ供給される。RAM(U10)には、例えば、固定アドレス(例えば、RAMのメモリ空間の先頭アドレス)から転送されたデータを順次格納することで、データ転送制御に関係する回路規模を抑制することが可能となる。
ステップF5で受信を終了した後、CPU(U12)は低消費電力状態から動作状態に復帰して、例えば、ROM(U11)またはEEPROM(U13)に格納されたセキュア電子決済処理プログラムに従ってRAM(U10)の格納データを処理して、その処理結果を再びRAM(U10)に格納する。RAM(U10)に格納された処理結果は送信パラレル・データとして非接触制御回路U9の送信回路U20に転送されて、送信回路U20でISO/IEC14443のフレームに変換される。シリアルデータの2値化信号Cは、変調回路U8を介して非接触リーダー/ライター装置へ送信される。
図7のステップF4−10の受信処理中に何らかの受信エラーがあった場合には、図7のステップF4−13で受信回路U19は受信エラーの結果を受信エラーレジスタU18に書き込んで、図7の次のステップF5で受信終了となる。図7のステップF4−10の受信中に受信エラーが発生せず、正常に受信が行われた場合には、ステップF4−13の受信エラーレジスタ設定は不要となって、ステップF5の受信動作終了となる。
図2(B)の下で説明したように、ISO/IEC14443のタイプBまたはISO/IEC18092の受信信号を受信する場合には、高感度復調回路U15の出力からはハイレベルとローレベルとの間で変化するASK変調度が10%のISO/IEC14443のタイプBもしくはISO/IEC18092の受信信号の検出信号が2値化信号Bとして生成されることができる。しかし、この場合には、低感度復調回路U14の出力からはハイレベルとローレベルとの間で変化する2値化信号Aが生成されることはできない。従って、判定回路U16は図7のステップF4−2の右側の結果に示すように2値化信号Aと2値化信号Bとの波形の相違から現在ASK変調度が10%のISO/IEC14443のタイプBもしくはISO/IEC18092のいずれかの受信信号を受信していることを判定することができる。
《2値化信号のパルス幅判定》
現在受信している受信信号がISO/IEC14443のタイプBなのかISO/IEC18092なのかは、判定回路U16による図7のステップF4−3の2値化信号Bのパルス幅判定によって判断することが可能である。
上記非特許文献2に記載されているようにISO/IEC14443のタイプBの非接触リーダー/ライター装置から非接触ICカードU1への送信データとしてのフレームの先頭には、所定の長さの論理“0”を含むSOF(Start Of Frame)が付加されている。
図3は、ISO/IEC14443のタイプBの送信データとしてのフレームの構成を示す図である。図3に示すように、フレームの先頭には通信開始信号としてのSOF(Start Of Frame)が含まれている。フレームの中央には転送ユーザーデータとしてのキャラクター(Character)が含まれ、それに続いて巡回冗長チェックコード(CRC)と通信終了信号としてのEOF(End Of Frame)とが付加されている。
それに対して、上記非特許文献3に記載のように、ISO/IEC18092の非接触リーダー/ライター装置から非接触ICカードU1への送信データパケットの先頭には最小48ビットのエンコードされた論理“0”を含むプリアンブル(Preamble)が通信開始信号として付加されている。
図4は、ISO/IEC18092の送信データパケットの構成を示す図である。図4に示すように送信データパケットは、先頭からプリアンブル(Preamble)、同期コード、データ長(LEN)、ペイロードデータ(PD0、PD1…PDn)、巡回冗長チェックコード(CRC)を含んでいる。
図5は、非接触リーダー/ライター装置から非接触ICカードU1へのISO/IEC14443のタイプBの送信データの通信速度が106kbps、212kbps、424kbps、848kbpsのそれぞれの場合のフレームの先頭の通信開始信号SOFの時間の長さを示す図である。上記非特許文献2に記載のように、ISO/IEC14443のタイプBのSOFは10〜11etuの論理“0”と2〜3etuの論理“1”とを含むものである。従って、通信速度が比較的低速の212kbpsの場合には10〜11etuの論理“0”の変調期間(変調時間)は47.17〜51.89μSとなり、通信速度が高速の848kbpsの場合には10〜11etuの論理“0”の変調期間は11.79〜12.97μSとなる。尚、etuは、elementary time unitの略である。
図6は、非接触リーダー/ライター装置から非接触ICカードU1へのISO/IEC18092の送信データの通信速度が212kbps、424kbps、848kbpsのそれぞれの場合の送信データパケットの先頭のプリアンブル(Preamble)の論理“0”の時間の長さを示す図である。上記非特許文献3に記載のように、ISO/IEC18092のプリアンブルは最小48ビットのエンコードされた論理“0”を含むものである。従って、通信速度が比較的低速の212kbpsの場合にはプリアンブルの最初の論理“0”の変調期間は2.36μSとなり、通信速度が高速の848kbpsの場合にはプリアンブルの最初の論理“0”の変調期間は0.59μSとなる。
従って、比較的低速の212kbpsの通信速度でのISO/IEC14443のタイプBの送信データのSOFでの論理“0”の変調期間47.17〜51.89μSと比較すると、同一の通信速度でのISO/IEC18092の送信データのプリアンブルの最初の論理“0”の変調期間2.36μSは極めて短い時間となる。この論理“0”のパルス幅の差を判定回路U16が図7のステップF4−3の2値化信号Bのパルス幅判定によって判断することによって、現在受信中の受信信号がISO/IEC14443のタイプBなのかISO/IEC18092なのかの判断が可能となる。
従って、図7のステップF4−3の2値化信号Bのパルス幅判定によってその時点での例えば比較的低速の212kbpsの通信速度での論理“0”の変調期間が長いと判定されると、判定回路U16はステップF4−3の左側の結果とステップF4−5に示すように現在ISO/IEC14443のタイプBの受信信号の受信中と通信速度の判定が可能となる。そして、判定回路U16は図7の次のステップF4−8でタイプBの受信の判定結果を判定結果レジスタU17に書き込み、図7の更に次のステップF4−11でタイプBの受信ユーザーデータの受信処理を行うものである。この時には、非接触リーダー/ライター装置から非接触ICカードU1への情報伝達方式がISO/IEC14443のタイプBであると判定されているので、受信回路U19によってシリアル・パラレル変換された2値化信号の受信ユーザーデータ部分がRAM(U10)に転送されて格納される。受信パラレル・データは、低消費電力状態とされるCPU(U12)とは独立に受信回路U19からの専用信号線を介して例えば1バイト毎にRAM(U10)へ供給される。RAM(U10)には、例えば、固定アドレス(例えば、RAMのメモリ空間の先頭アドレス)から転送されたデータを順次格納することで、データ転送制御に関係する回路規模を抑制することが可能となる。
CPU(U12)は、例えばROM(U11)またはEEPROM(U13)に格納されたセキュア電子決済処理プログラムに従ってRAM(U10)の格納データを処理して、その処理結果を再びRAM(U10)に格納する。RAM(U10)の処理結果は送信パラレル・データとして非接触制御回路U9の送信回路U20に転送され、送信回路U20でISO/IEC14443のフレームに変換される。シリアルデータの2値化信号Cは、変調回路U8を介して非接触リーダー/ライター装置へ送信される。
図7のステップF4−11の受信処理中に何らかの受信エラーがあった場合には、図7のステップF4−14で受信回路U19は受信エラーの結果を受信エラーレジスタU18に書き込んで、図7の次のステップF5で受信終了となる。図7のステップF4−11の受信中に受信エラーが発生せず、正常に受信が行われた場合には、ステップF4−14の受信エラーレジスタ設定は不要となって、ステップF5の受信動作終了となる。
また、図7のステップF4−3の2値化信号Bのパルス幅判定によってその時点での例えば比較的低速の212kbpsの通信速度での論理“0”の変調期間が短いと判定されると、判定回路U16はステップF4−3の下側の結果とステップF4−6に示すように現在ISO/IEC18092の受信信号の受信中と通信速度の判定が可能となる。そして、判定回路U16は図7の次のステップF4−9で18092の受信の判定結果を判定結果レジスタU17に書き込み、図7の更に次のステップF4−12で18092の受信ユーザーデータの受信処理を行うものである。この時には、非接触リーダー/ライター装置から非接触ICカードU1への情報伝達方式が18092であると判定されているので、受信回路U19によってシリアル・パラレル変換された2値化信号の受信ユーザーデータ部分がRAM(U10)に転送されて格納される。受信パラレル・データは、低消費電力状態とされるCPU(U12)とは独立に受信回路U19からの専用信号線を介して例えば1バイト毎にRAM(U10)へ供給される。RAM(U10)には、例えば、固定アドレス(例えば、RAMのメモリ空間の先頭アドレス)から転送されたデータを順次格納することで、データ転送制御に関係する回路規模を抑制することが可能となる。
CPU(U12)は、例えばROM(U11)またはEEPROM(U13)に格納されたセキュア電子決済処理プログラムに従ってRAM(U10)の格納データを処理して、その処理結果を再びRAM(U10)に格納する。RAM(U10)の処理結果は送信パラレル・データとして非接触制御回路U9の送信回路U20に転送され、送信回路U20でISO/IEC18092のフレームに変換される。シリアルデータの2値化信号Cは、変調回路U8を介して非接触リーダー/ライター装置へ送信される。
図7のステップF4−12の受信処理中に何らかの受信エラーがあった場合には、図7のステップF4−15で受信回路U19は受信エラーの結果を受信エラーレジスタU18に書き込んで、図7の次のステップF5で受信終了となる。図7のステップF4−12の受信中に受信エラーが発生せず、正常に受信が行われた場合には、ステップF4−15の受信エラーレジスタ設定は不要となって、ステップF5の受信動作終了となる。
更に、図7のステップF4−3の2値化信号Bのパルス幅判定により212kbpsの通信速度での論理“0”の変調期間がタイプBもしくは18092で規定された設定時間の範囲外と判定されると、判定回路U16は非接触ICカードU1の動作状態をステップF4−2に戻す処理を実行する。
《初期受信以降の受信動作、受信エラーまたは変調期間の設定範囲外の後の処理》
図7のステップF4−13とステップF4−14とステップF4−15のいずれかでの受信エラーが発生した時には、受信エラーレジスタU18にそのエラー情報が書き込まれて受信終了となる。その後、CPU(U12)は、受信エラーレジスタU18の内容を読み出す。読み出された内容には受信エラーが含まれているため、CPU(U12)は受信エラーレジスタU18の格納内容と判定結果レジスタU17の格納内容とをクリアする。その後、CPU(U12)は、非接触ICカードU1の動作状態を図7のステップF2すなわち図8のステップF4に戻す処理を実行する。また、図7のステップF4−3のパルス幅判定によって論理“0”の変調期間が設定時間の範囲外と判定された後に、非接触制御回路U9は非接触ICカードU1の動作状態を図7のステップF4−1に戻す処理を実行する。
図8は、図1に示す非接触ICカードU1が初期受信で受信エラーが無く、判定結果レジスタU17に情報伝達方式の判定結果が格納され、初期受信以降の受信で情報伝達方式の判定を省略した動作フローを説明するための図である。
図7の動作フローで、受信エラーが無く判定結果レジスタU17に情報伝達方式の判定結果が格納されると、初期受信が終了する。すると、非接触制御回路U9の判定結果レジスタU17には以前の情報伝達方式の判定結果が格納されているので、非接触ICカードU1の動作状態は図8のステップF3の情報伝達方式確定受信モードに遷移して、更に図8のステップF3−1の受信処理が開始される。初期受信で判定された情報伝達方式は、タイプAもしくはタイプBもしくは18092のいずれかである。従って、図8の次のステップF3−2にて判定回路U16は、初期受信で判定された情報伝達方式を判定結果レジスタU17から判定する。初期受信で判定された情報伝達方式がISO/IEC14443のタイプAであったとの判定結果が判定結果レジスタU17に格納されている場合には、図8のステップF3−9の受信処理では以前と同一の方式であるISO/IEC14443のタイプAの受信処理が実行される。図8のステップF3−9の受信処理中に何らかの受信エラーがあった場合には、図8のステップF3−12で受信回路U19は受信エラーの結果を受信エラーレジスタU18に書き込み、図8の次のステップF5で受信終了となる。
しかし、図8のステップF3−2で判定結果レジスタU17から判定によって初期受信で判定された情報伝達方式がISO/IEC14443のタイプBまたはISO/IEC18092であった時には、図8のステップF3−3とステップF3−4とで2値化信号Bのパルス幅判定が実行される。
すなわち、図8のステップF3−3での判定回路U16による2値化信号Bのパルス幅判定によって現在ISO/IEC14443のタイプBの受信信号の受信中と通信速度が判定されると、判定回路U16は図8のステップF3−5で通信速度を決定してステップF3−7でタイプBの受信の判定結果を判定結果レジスタU17に書き込むものである。その後、図8のステップF3−10で図7のステップF4−11と同様にタイプBの受信ユーザーデータの受信処理を行う。図8のステップF3−10の受信処理中に何らかの受信エラーがあった場合には、図8のステップF3−13で受信回路U19は受信エラーの結果を受信エラーレジスタU18に書き込んで、図8の次のステップF5で受信終了となる。
また、図8のステップF3−4での判定回路U16による2値化信号Bのパルス幅判定によって現在ISO/IEC18092の受信信号の受信中と通信速度が判定されると、判定回路U16は図8のステップF3−6で通信速度を決定してステップF3−8で18092の受信の判定結果を判定結果レジスタU17に書き込むものである。その後に、図8のステップF3−11で、図7のステップF4−12と同様に18092の受信ユーザーデータの受信処理を行う。図8のステップF3−11の受信処理中に何らかの受信エラーがあった場合には、図8のステップF3−14で受信回路U19は受信エラーの結果を受信エラーレジスタU18に書き込んで、図8の次のステップF5で受信終了となる。
更に、図8のステップF3−3とステップF3−4とで2値化信号Bのパルス幅判定により論理“0”の変調期間がタイプBもしくは18092で規定された設定時間の範囲外と判定されたとする。つまり、規定された設定期間で定義される通信速度とは異なる通信速度の場合には、判定回路U16は非接触ICカードU1の動作状態をステップF3−2に戻す処理を実行する。その結果、今度は図8のステップF3−3とステップF3−4とのいずれかで、2値化信号Bのパルス幅判定によって論理“0”の変調期間がタイプBもしくは18092で規定された設定時間の範囲内と判定される。すると、判定回路U16はステップF3−5とステップF3−6のいずれかで通信速度を決定して、ステップF3−7とステップF3−8のいずれかで通信速度の判定結果とタイプBもしくは18092の受信の判定結果を判定結果レジスタU17にそれぞれ書き込むものである。その後に、図8のステップF3−10とステップF3−11とのいずれかで、タイプBもしくは18092の受信ユーザーデータの受信を行う。この受信中に何らかの受信エラーがあった場合には、図8のステップF3−13とステップF3−14とのいずれかで受信回路U19は受信エラーの結果を受信エラーレジスタU18に書き込んで、図8の次のステップF5で受信終了となる。
以上説明したように、図7の動作フローと図8の動作フローとによって制御される図1に示す非接触ICカードU1は、一度、タイプA、タイプBもしくは18092のいずれかの情報伝達方式を判定すると、動作フィールド外部への移動によって非接触リーダー/ライター装置からのRFキャリア信号が停止されるまで、または、CPU(U12)によって判定結果レジスタU17に格納された判定結果がクリアされるまで、判定結果レジスタU17に格納された判定結果は保持されている。
図7のステップF4−13、F4−14、F4−15のいずれかの後のステップF5の受信終了もしくは図8のステップF3−13、F3−14、F3−15のいずれかの後のステップF5の受信終了の後に、図18に示すメモリ領域のアドレス0に格納されている共通プログラムが実行される。
図18は、図1に示す非接触ICカードU1のROM(U10)もしくはEEPROM(U13)等の不揮発性メモリに格納されて非接触ICカードU1によって実行される種々のプログラムの構成を示す図である。
図18に示す不揮発性メモリのメモリ領域のアドレス0と、アドレス1と、アドレス2と、アドレス3とには、それぞれ共通プログラムと、ISO/IEC14443のタイプAのためのプログラムと、ISO/IEC14443のタイプBのためのプログラムと、ISO/IEC18092のためのプログラムが格納されている。
CPU(U12)による図18の不揮発性メモリのメモリ領域のアドレス0に格納された共通プログラムの実行によって、図9のステップF6でCPU(U12)は受信エラーレジスタU18の内容を読み出し、受信エラーが有るか否かを確認する。
図9は、図1の非接触ICカードU1による図7の動作フローのステップF4の初期受信から受信エラーによるステップF5の受信終了の動作実行の後に実行される動作フローを説明するための図である。
図9のステップF5での受信エラーによる受信終了の後に、ステップF6でCPU(U12)は受信エラーレジスタU18の内容を読み出し、受信エラーが有るか否かを確認する。もし、受信エラーがある場合には、図9のステップF7で受信エラーレジスタU18の格納内容と判定結果レジスタU17の格納内容をクリアした後、再びステップF4の初期受信とステップF4−1の受信開始とが実行される。
同様な処理の反復によって図9のステップF6での受信エラーが無くなるので、図9のステップF8ではCPU(U12)が判定結果レジスタU17の格納内容を読み出して、タイプA、タイプB、18092のいずれかの情報伝達方式が格納されているか否かを確認する。もし、判定結果レジスタU17にいずれの情報伝達方式の結果も格納されていない場合には、ステップF4の初期受信とステップF4−1の受信開始とが実行される。判定結果レジスタU17にいずれかの情報伝達方式の結果が格納されている場合には、図9のステップF9、ステップF10、ステップF11に示すように図18のメモリ領域のアドレス1のタイプA、アドレス2のタイプB、アドレス3の18092のいずれかのプログラムに遷移するものとなる。従って、図9のステップF12、ステップF13、ステップF14に示すように、タイプAとタイプBと18092のいずれかの受信エラーの発生時と同一のプログラムが実行される。
ステップF15にてプログラム実行が完了すると、ステップF17にて判定結果レジスタU17に格納されたタイプA、タイプB、18092のいずれかの情報伝達方式によって送信動作を実行して、ステップF18で送信動作を完了する。再び、非接触リーダー/ライター装置からの送信データを受信すると、図9の動作フローを行い、必要なデータ送受信を繰り返す。
《非接触ICカードの詳細な構成》
《非接触制御回路の構成》
図10は、図1に示す非接触ICカードU1の半導体集積回路U2の内部回路U4に含まれた非接触制御回路U9の構成を示す図である。
図10に示す非接触制御回路U9は、判定回路U16、判定結果レジスタU17、受信エラーレジスタU18、受信回路U19、送信回路U20、バス(BUS)を含んでいる。図1のように、判定回路U16には、復調回路U7の低感度復調回路U14、高感度復調回路U15の2値化信号A、2値化信号Bが供給され、判定回路U16から復調回路U7へ低消費電力モード信号が供給される。受信回路U19には、復調回路U7の低感度復調回路U14、高感度復調回路U15の2値化信号A、2値化信号Bと判定回路U16の情報通信速度判定信号と情報伝達方式判定信号が供給される。受信回路U19からRAM(U10)へ受信パラレル・データが転送される一方、受信回路U19から受信エラーレジスタ(U18)にエラー検出信号が供給される。判定結果レジスタ(U17)には判定回路U16の情報通信速度判定信号と情報伝達方式判定信号が供給される一方、判定結果レジスタ(U17)から送信回路(U20)には情報通信速度判定信号と情報伝達方式判定信号とが供給される。送信回路(U20)にはRAM(U10)から送信パラレル・データが転送される一方、送信回路(U20)から図1の変調回路U8に2値化信号Cが供給される。
《判定回路の構成》
図11は、図1に示す非接触ICカードU1の半導体集積回路U2の内部回路U4の非接触制御回路U9に含まれた判定回路U16の構成を示す図である。
図11に示す判定回路U16は、復調回路U7の低感度復調回路U14からの2値化信号Aのローレベルからハイレベルへの変化に応答するエッジ検出回路U21を含んでいる。また判定回路U16は、復調回路U7の高感度復調回路U15からの2値化信号Bが供給されるパルス幅検出器U22を含み、パルス幅検出器U22はパルス幅カウンタU23を含んでいる。
例えば、復調回路U7の低感度復調回路U14がISO/IEC14443のタイプAのASK変調度100%の受信信号を受信する場合には、低感度復調回路U14の2値化信号Aはローレベルからハイレベルに変化する。このレベル変化に応答してエッジ検出回路U21は、タイプAでの受信モードの情報伝達方式判定信号を生成する。この情報伝達方式判定信号は復調回路U7の高感度復調回路U15の動作を停止する低消費電力モード信号となり、またパルス幅検出器U22への動作停止制御信号となる。従って、判定回路U16のエッジ検出回路U21は、図7の動作フローのステップF4−2のASK変調度判定の判定結果を生成するものである。
一方、復調回路U7の高感度復調回路U15がISO/IEC14443のタイプBもしくはISO/IEC18092のASK変調度10%の受信信号を受信している場合は、低感度復調回路U14からの2値化信号Aはローレベルに維持されている。従って、現在の受信信号がタイプBと18092とのいずれであるかを判定するために、図7の動作フローのステップF4−3での2値化信号Bパルス幅判定が必要となる。従って、パルス幅検出器U22のパルス幅カウンタU23は、2値化信号Bのパルス幅判定のために論理“0”の変調期間の短長を判定する。すなわちパルス幅カウンタU23は、2値化信号Bの論理“0”の期間にてクロック数をカウントするものである。カウント数が大きな上側の4つのケースは論理“0”の変調期間が長いISO/IEC14443のタイプBの受信信号と判定され、カウント数が小さな下側の3つのケースは論理“0”の変調期間が長いISO/IEC18092の受信信号と判定される。また、これらの7つのケースでは、106kbpsから848kbpsまでの情報通信速度も同時に判定されることができる。また、パルス幅検出器U22は、カウント数とタイプBまたは18092の情報伝達方式および情報通信速度をリンクするルックアップテーブル(参照テーブル)を含むものである。
《受信回路の構成》
図12は、図1に示す非接触ICカードU1の半導体集積回路U2の内部回路U4の非接触制御回路U9に含まれた受信回路U19の構成を示す図である。
図12に示す受信回路U19は、タイプAのデータ抽出回路U191とタイプBのデータ抽出回路U192と18092のデータ抽出回路U193と出力セレクターU194を含んでいる。
タイプAのデータ抽出回路U191には復調回路U7の低感度復調回路U14のシリアルの2値化信号Aと判定回路U16の情報伝達方式判定信号が供給され、タイプAのデータ抽出回路U191からはタイプAの受信パラレル・データと受信エラー信号とが生成されて出力セレクターU194に供給される。
タイプBのデータ抽出回路U192には復調回路U7の高感度復調回路U15のシリアルの2値化信号Bと判定回路U16の情報伝達方式判定信号と情報通信速度判定信号とが供給され、タイプBのデータ抽出回路U192からはタイプBの受信パラレル・データと受信エラー信号とが生成されて出力セレクターU194に供給される。
18092のデータ抽出回路U193には復調回路U7の高感度復調回路U15のシリアルの2値化信号Bと判定回路U16の情報伝達方式判定信号と情報通信速度判定信号とが供給され、この18092のデータ抽出回路U193からは18092の受信パラレル・データと受信エラー信号とが生成されて出力セレクターU194に供給される。
データ抽出回路U191、データ抽出回路U192、データ抽出回路U193、出力セレクターU194に判定結果レジスタ17から供給される情報伝達方式判定信号は、タイプA、タイプB、18092のいずれかの方式である。従って、情報伝達方式判定信号によって指定された方式に従って、タイプAのデータ抽出回路U191とタイプBのデータ抽出回路U192と18092のデータ抽出回路U193とのいずれかが低消費電力状態または非活性化状態から活性化される。従って、活性化されたデータ抽出回路は、受信シリアル入力信号から受信パラレル・データと受信エラー信号とを生成する。
出力セレクターU194には判定回路U16からのタイプAとタイプBと18092とのいずれかの情報伝達方式判定信号が供給されているので、出力セレクターU194はこのいずれかの方式の受信パラレル・データとエラー検出信号とを選択して、受信パラレル・データをRAM(U10)に転送して、エラー検出信号を受信エラーレジスタ(U18)に供給するものである。
《送信回路の構成》
図13は、図1に示す非接触ICカードU1の半導体集積回路U2の内部回路U4の非接触制御回路U9に含まれた送信回路U20の構成を示す図である。
図13に示す送信回路U20は、タイプAのフレーム変換回路U201とタイプBのフレーム変換回路U202と18092のフレーム変換回路U203と出力セレクターU204を含んでいる。
判定結果レジスタ17からの情報伝達方式判定信号はタイプAのフレーム変換回路U201とタイプBのフレーム変換回路U202と18092のフレーム変換回路U203と共通に供給され、判定結果レジスタ17からの情報通信速度判定信号はタイプBのフレーム変換回路U202と18092のフレーム変換回路U203とに供給される。バス(BUS)を介して転送されるRAM(U10)からの送信パラレル・データは、タイプAのフレーム変換回路U201とタイプBのフレーム変換回路U202と18092のフレーム変換回路U203と共通に供給される。
フレーム変換回路U201、フレーム変換回路U202、フレーム変換回路U203、出力セレクターU204に判定結果レジスタ17から供給される情報伝達方式判定信号は、タイプAとタイプBと18092とのいずれかの方式である。従って、情報伝達方式判定信号によって指定された方式に従って、タイプAのフレーム変換回路U201とタイプBのフレーム変換回路U202と18092のフレーム変換回路U203とのいずれかが低消費電力状態または非活性化状態から活性化される。従って、活性化された変換回路は、専用信号線を介してRAM(U10)からの送信パラレル・データを判定結果レジスタ17からの情報通信速度判定信号に従って送信シリアルデータに変換する。出力セレクターU204は、情報伝達方式判定信号に従って送信シリアルデータを選択して2値化信号Cを生成して変調回路8に供給する。
以上説明したように、復調回路U7と判定回路U16と受信回路U19とによるデータの受信動作の間、もしくは、送信回路U20と変調回路U8とによるデータの送信動作の間では、RF信号の復調または変調処理とRAM(U10)とのデータ転送とに直接関係のないCPU(U12)とバス(BUS)とを低消費電力状態にできるので、非接触リーダー/ライター装置とのデータ通信時の消費電力の低減を実現することが可能となる。
《タイプAの受信》
図14は、図1に示す非接触ICカードU1が非接触リーダー/ライター装置からISO/IEC14443のタイプAの情報伝達方式による受信信号を受信する場合の動作を示す図である。
図14に示すように非接触ICカードU1が非接触リーダー/ライター装置の動作フィールドに入ると、非接触ICカードU1の復調回路U7での低感度復調回路U14と高感度復調回路U15とによる並列復調動作が実行される。1回目のダウンリンク通信の直前に、判定回路U16は図7のステップF4−2の左側で現在ASK変調度が100%のISO/IEC14443のタイプAの受信信号の受信を判定する。従って、判定回路U16からの低消費電力モード信号によって、高感度復調回路U15の動作が停止される。従って、タイプAの受信ユーザーデータは復調回路U7の低感度復調回路U14と非接触制御回路U9の受信回路U19とによって受信された後に、専用信号線としての受信パラレル・データ信号線を介してRAM(U10)に格納される。
RAM(U10)への受信ユーザーデータの格納の終了時点での割り込み信号に応答してCPU(U11)は、停止状態からウェーク(起動)して動作状態に移行する。CPU(U11)はRAM(U10)に格納されたデータを読み出して、ROM(U11)またはEEPROM(U13)に格納されたセキュア電子決済処理プログラムに従って読み出しデータを処理して、その処理結果を再びRAM(U10)に格納する。CPU(U11)による処理結果のRAM(U10)への格納の完了時点で、CPU(U11)は動作状態からスリープ状態の停止状態に移行する。
CPU(U11)の動作状態からスリープ状態への移行に応答して、送信回路(U20)と変調回路(U8)とは停止状態からウェーク(起動)して動作状態に移行する。従って、送信回路(U20)は、RAM(U10)に格納された処理結果を専用信号線としての送信パラレル・データ信号線を介して読み出して、変調回路(U8)へ転送する。その結果、変調回路(U8)による非接触リーダー/ライター装置への1回目のアップリンク通信が実行される。
《タイプBの受信》
図15は、図1に示す非接触ICカードU1が非接触リーダー/ライター装置からISO/IEC14443のタイプBの情報伝達方式による受信信号を受信する場合の動作を示す図である。
図15に示すように非接触ICカードU1が非接触リーダー/ライター装置の動作フィールドに入ると、非接触ICカードU1の復調回路U7での低感度復調回路U14と高感度復調回路U15とによる並列復調動作が実行される。1回目のダウンリンク通信の直前に、判定回路U16は図7のステップF4−2の右側で現在ASK変調度が10%の受信信号の受信を判定している。また判定回路U16は、図7のステップF4−3での2値化信号Bのパルス幅判定によるISO/IEC14443のタイプBもしくはISO/IEC18092の受信信号の受信を判定する。判定回路U16によって論理“0”の変調期間が長いと判定されると、判定回路U16はステップF4−3の左側の結果とステップF4−5に示すように現在ISO/IEC14443のタイプBの受信信号の受信中と106kbpsの情報通信速度の判定を実行し、判定回路U16からの低消費電力モード信号によって低感度復調回路U14の動作が停止される。従って、タイプBの受信ユーザーデータは復調回路U7の高感度復調回路U15と非接触制御回路U9の受信回路U19とによって受信された後に、専用信号線としての受信パラレル・データ信号線を介してRAM(U10)に格納される。
RAM(U10)への受信ユーザーデータの格納の終了時点での割り込み信号に応答してCPU(U11)は、停止状態からウェーク(起動)して動作状態に移行する。CPU(U11)はRAM(U10)に格納されたデータを読み出して、ROM(U11)またはEEPROM(U13)に格納されたセキュア電子決済処理プログラムに従って読み出しデータを処理して、その処理結果を再びRAM(U10)に格納する。CPU(U11)による処理結果のRAM(U10)への格納の完了時点で、CPU(U11)は動作状態からスリープ状態の停止状態に移行する。
CPU(U11)の動作状態からスリープ状態への移行に応答して、送信回路(U20)と変調回路(U8)とは停止状態からウェーク(起動)して動作状態に移行する。従って、送信回路(U20)は、RAM(U10)に格納された処理結果を専用信号線としての送信パラレル・データ信号線を介して読み出して、変調回路(U8)へ転送する。その結果、変調回路(U8)による非接触リーダー/ライター装置への1回目のアップリンク通信が実行される。
《18092の受信》
図16は、図1に示す非接触ICカードU1が非接触リーダー/ライター装置からISO/IEC18092の情報伝達方式による受信信号を受信する場合の動作を示す図である。
図16に示すように非接触ICカードU1が非接触リーダー/ライター装置の動作フィールドに入ると、非接触ICカードU1の復調回路U7での低感度復調回路U14と高感度復調回路U15とによる並列復調動作が実行される。1回目のダウンリンク通信の直前に、判定回路U16は図7のステップF4−2の右側で現在ASK変調度が10%の受信信号の受信を判定している。また判定回路U16は、図7のステップF4−3での2値化信号Bのパルス幅判定によるISO/IEC14443のタイプBもしくはISO/IEC18092の受信信号の受信を判定する。判定回路U16によって論理“0”の変調期間が短いと判定されると、判定回路U16はステップF4−3の下側の結果とステップF4−6に示すように現在ISO/IEC18092の受信信号の受信中と424kbpsの情報通信速度の判定を実行し、判定回路U16からの低消費電力モード信号によって低感度復調回路U14の動作が停止される。従って、18092の受信ユーザーデータは復調回路U7の高感度復調回路U15と非接触制御回路U9の受信回路U19とによって受信された後に、専用信号線としての受信パラレル・データ信号線を介してRAM(U10)に格納される。
RAM(U10)への受信ユーザーデータの格納の終了時点での割り込み信号に応答してCPU(U11)は、停止状態からウェーク(起動)して動作状態に移行する。CPU(U11)はRAM(U10)に格納されたデータを読み出して、ROM(U11)またはEEPROM(U13)に格納されたセキュア電子決済処理プログラムに従って読み出しデータを処理して、その処理結果を再びRAM(U10)に格納する。CPU(U11)による処理結果のRAM(U10)への格納の完了時点で、CPU(U11)は動作状態からスリープ状態の停止状態に移行する。
CPU(U11)の動作状態からスリープ状態への移行に応答して、送信回路(U20)と変調回路(U8)とは停止状態からウェーク(起動)して動作状態に移行する。従って、送信回路(U20)は、RAM(U10)に格納された処理結果を専用信号線としての送信パラレル・データ信号線を介して読み出して、変調回路(U8)へ転送する。その結果、変調回路(U8)による非接触リーダー/ライター装置への1回目のアップリンク通信が実行される。
《受信途中での情報通信速度の変更》
図17は、図1に示す非接触ICカードU1が非接触リーダー/ライター装置からISO/IEC14443のタイプBの情報伝達方式による受信信号の受信中に情報通信速度を変更した後に再び同一のタイプBによる受信を実行する場合の動作を示す図である。
図17の1回目のダウンリンク通信の動作は図15の1回目のダウンリンク通信の動作と同一であるが、図17のN回目のダウンリンク通信の際には非接触リーダー/ライター装置からISO/IEC14443のタイプBの受信信号の情報通信速度が最低速の106kbpsから中低速の212kbpsに変更される。この情報通信速度の変更は、図8のステップF3−3での判定回路U16による2値化信号Bのパルス幅判定によるタイプBの受信信号の通信速度の判定によって検出されることができる。新しく検出された変更後の情報通信速度は判定結果レジスタU17に書き込まれるので、送信回路U20の送信の情報通信速度は中低速の212kbpsに変更される。また、受信回路U19も新しく検出された変更後の情報通信速度に対応して、シリアルの2値化信号Bを受信パラレル・データに変換するものである。また、この情報通信速度の変更は106kbps、212kbps、424kbps、848kbpsのいずれか1個から他の1個に任意に変更することが可能である。
またISO/IEC14443のタイプBだけではなくISO/IEC18092の方式による受信信号の受信中に、212kbps、424kbps、848kbpsのいずれか1個から他の1個に任意に変更することが可能である。
《非接触ICカードの構造》
図19は、図1に示す非接触ICカードU1の構造を示す図である。
図19に示す非接触ICカードU1は、樹脂モールドされるプリント基板によってカードの形態を取っている。外部の非接触リーダー/ライター装置からの電磁波を受けるアンテナは、プリント基板の配線により形成される渦巻き状のコイルによって構成される。1個のICチップで構成された半導体集積回路U2は、プリント基板に実装され、ICチップにアンテナとなるコイルが接続される。
このように、図19の非接触ICカードU1は携帯電話のように電池を持たないものであり、ICカード単体で非接触リーダー/ライター装置の動作フィールドの範囲内でアンテナによって受信されるRF信号の整流・平滑による低駆動能力の動作電圧で動作するものである。
《携帯電話に搭載される非接触ICカード》
図20は、図1に示す非接触ICカードが携帯電話に搭載される様子を示す図である。
図20に示す非接触ICカードは、図19に示す非接触ICカードと同様にプリント基板の上にICチップとアンテナとが形成されている。しかし、図20の非接触ICカードは、図19の非接触ICカードよりも極めて小さな外形とされることによって、携帯電話に搭載されることが可能となるものである。従って、図20に示す非接触ICカードは、携帯電話に搭載される移動体通信機能を有するその他の半導体集積回路、液晶表示コントローラ・ドライバ等のその他の半導体集積回路と同様に、携帯電話に内蔵される電池の動作電圧で動作することが可能である。この場合も、低消費電力モード信号に応答して各回路を低消費電力状態とすることで、低消費電力化を実現することが可能となる。
また、図20に示す非接触ICカードは携帯電話に搭載されるばかりではなく、PDA(Personal Digital Assistant)と呼ばれる手帳タイプのパーソナル・コンピュータやノート型パーソナル・コンピュータの携帯情報端末の全般に内蔵されることが可能である。
以上本発明者によってなされた発明を実施形態に基づいて具体的に説明したが、本発明はそれに限定されるものではなく、その要旨を逸脱しない範囲において種々変更可能であることは言うまでもない。
例えば、本発明は非接触型ICカードに限定されるものではなく、接触型の入出力端子の非接触インターフェースと非接触インターフェースとを持つデュアルタイプICカードに適用することもできる。
また、図1の非接触ICカードにおいて半導体集積回路U2はシングルチップ構成に限定されるものではなく、第1チップと第2チップとのマルチ・チップ構成とすることができる。例えば、第1チップは、電源回路U2と復調回路U7と変調回路U8と非接触制御回路U9とを含むものである。また、第2チップは、RAM(U10)、ROM(U11)、CPU(U12)、EEPROM(U13)、バス(BUS)を含むだけでなく、第1チップとの通信のためのインターフェース回路を含むことができる。
また、図1の半導体集積回路に搭載される受信回路U19または送信回路U20とRAM(U10)との間のデータ転送は、専用信号線としての受信パラレル・データ線または送信パラレル・データ線は専用信号線に限定されるものではなく、CPU(U12)に接続されたバス(BUS) を介してまたはその他の周辺バスを介してデータ転送を行うことも可能である。
また、RAM(U10)に対するデータ転送において、RAM(U10)の固定アドレスから順次格納する構成に限定されるものではなく、メモリ制御回路を利用することによって任意のアドレスに格納することも可能である。
更に本発明はASK方式のディジタル変調方式による通信だけでなく、周波数偏移変調方式(FSK:Frequency Shift Keying)や位相偏移変調方式(PSK:Phase Shift Keying)等によるディジタル変調方式による通信にも適用することが可能である。
図1は、本発明の実施の形態による非接触ICカードの基本的な構成を示す図である。 図2は、ISO/IEC14443のタイプAのASK変調度が100%の場合と、ISO/IEC14443のタイプBおよびISO/IEC18092でASK変調度が10%の場合の非接触ICカードでの非接触リーダー/ライター装置からの受信信号の波形を示す図である。 図3は、ISO/IEC14443のタイプBの送信データとしてのフレームの構成を示す図である。 図4は、ISO/IEC18092の送信データパケットの構成を示す図である。 図5は、非接触リーダー/ライター装置から非接触ICカードへのISO/IEC14443のタイプBの送信データの通信速度が106kbps、212kbps、424kbps、848kbpsのそれぞれの場合のフレームの先頭の通信開始信号SOFの時間の長さを示す図である。 図6は、非接触リーダー/ライター装置から非接触ICカードへのISO/IEC18092の送信データの通信速度が212kbps、424kbps、848kbpsのそれぞれの場合の送信データパケットの先頭のプリアンブルの論理“0”の時間の長さを示す図である。 図7は、図1に示す非接触ICカードが非接触リーダー/ライター装置からの受信信号がタイプAとタイプBと18092とのいずれの情報伝達方式であるかを検出する動作フローを説明するための図である。 図8は、図1に示す非接触ICカードが初期受信で受信エラーが無く、判定結果レジスタに情報伝達方式の判定結果が格納され、初期受信以降の受信で情報伝達方式の判定を省略した動作フローを説明するための図である。 図9は、図1の非接触ICカードによる図7の動作フローのステップF4の初期受信から受信エラーによるステップF5の受信終了の動作実行の後に実行される動作フローを説明するための図である。 図10は、図1に示す非接触ICカードの半導体集積回路の内部回路に含まれた非接触制御回路の構成を示す図である。 図11は、図1に示す非接触ICカードの半導体集積回路の内部回路の非接触制御回路に含まれた判定回路の構成を示す図である。 図12は、本発明の1つの実施の形態による半導体集積回路の回路構成を示す図である。 図13は、図12に示した本発明の1つの実施の形態による半導体集積回路を構成する種々のデバイスのレイアウトを示すシリコンチップの平面図である。 図14は、図1に示す非接触ICカードが非接触リーダー/ライター装置からISO/IEC14443のタイプAの情報伝達方式による受信信号を受信する場合の動作を示す図である。 図15は、図1に示す非接触ICカードが非接触リーダー/ライター装置からISO/IEC14443のタイプBの情報伝達方式による受信信号を受信する場合の動作を示す図である。 図16は、図1に示す非接触ICカードが非接触リーダー/ライター装置からISO/IEC18092の情報伝達方式による受信信号を受信する場合の動作を示す図である。 図17は、図1に示す非接触ICカードが非接触リーダー/ライター装置からISO/IEC14443のタイプBの情報伝達方式による受信信号の受信中に情報通信速度を変更した後に再び同一のタイプBによる受信を実行する場合の動作を示す図である。 図18は、図1に示す非接触ICカードU1のROM(U10)もしくはEEPROM(U13)等の不揮発性メモリに格納されて非接触ICカードU1によって実行される種々のプログラムの構成を示す図である。 図19は、図1に示す非接触ICカードU1の構造を示す図である。 図20は、図1に示す非接触ICカードが携帯電話に搭載される様子を示す図である。
符号の説明
U1 非接触ICカード
L1 アンテナ
LA 第1アンテナ接続端子
LB 第2アンテナ接続端子
C1 共振容量
U2 半導体集積回路
U3 電源回路
U4 内部回路
U5 整流回路
U6 レギュレータ
U7 復調回路
U8 変調回路
U9 非接触制御回路
U10 RAM
U11 ROM
U12 CPU
U13 EEPROM
U14 低感度復調回路
U15 高感度復調回路
U16 判定回路
U17 判定結果レジスタ
U18 受信エラーレジスタ
U19 受信回路
U20 送信回路

Claims (18)

  1. 第1アンテナ接続端子と、第2アンテナ接続端子と、電源回路と、復調回路と、判定回路とを具備して、
    前記第1アンテナ接続端子と前記第2アンテナ接続端子との間にはアンテナによって受信されるRF信号が供給可能とされ、前記電源回路は前記RF信号の整流・平滑によって生成する動作電圧を前記復調回路と前記判定回路とに供給可能とされ、
    前記復調回路は第1復調回路と第2復調回路とを含み、前記第1アンテナ接続端子と前記第2アンテナ接続端子との間に供給される前記RF信号は前記第1復調回路の入力と前記第2復調回路の入力とに並列に供給可能とされ、
    前記第1復調回路は、前記RF信号として第1変調度を持つ第1受信信号を復調することによって第1復調出力信号を生成可能とされ、
    前記第2復調回路は、前記RF信号として前記第1変調度と異なる値の第2変調度および第1フォーマットの第1通信開始信号を持つ第2受信信号と前記第2変調度および第2フォーマットの第2通信開始信号を持つ第3受信信号を復調することによって第2復調出力信号を生成可能とされ、
    前記第1復調回路の前記第1復調出力信号と前記第2復調回路の前記第2復調出力信号とは、前記判定回路に供給可能とされ、
    前記第1復調回路が前記第1復調出力信号を生成することを前記判定回路によって判定される場合には、前記RF信号として前記第1変調度を持つ前記第1受信信号が受信されていると前記判定回路によって判定され、
    前記第1復調回路が前記第1復調出力信号を生成しないことを前記判定回路によって判定される場合には、前記判定回路は前記第1通信開始信号と前記第2通信開始信号とのフォーマットの相違を判定可能とされ、
    前記第2復調回路が前記第1フォーマットの前記第1通信開始信号を持つ前記第2受信信号を復調することによって前記第2復調出力信号を生成することを前記判定回路によって判定される場合には、前記RF信号として前記第2受信信号が受信されていると前記判定回路によって判定され、
    前記第2復調回路が前記第2フォーマットの前記第2通信開始信号を持つ前記第3受信信号を復調することによって前記第2復調出力信号を生成することを前記判定回路によって判定される場合には、前記RF信号として前記第3受信信号が受信されていると前記判定回路によって判定される半導体集積回路。
  2. 前記第1復調回路が前記第1復調出力信号を生成することを前記判定回路によって判定された場合には、前記判定回路から生成される制御信号によって前記第2復調回路の動作が停止可能とされ、
    前記第1復調回路が前記第1復調出力信号を生成しないことを前記判定回路によって判定された場合には、前記判定回路から生成される前記制御信号によって前記前記第1復調回路の動作が停止可能とされる請求項1に記載の半導体集積回路。
  3. 前記第1受信信号と前記第2受信信号と前記第3受信信号とはASK変調信号であり、前記第1変調度と前記第2変調度とはASK変調度であり、前記第2変調度は前記第1変調度よりも小さなASK変調度を持ち、
    前記第1復調回路は大きなASK変調度の前記第1変調度を持つ前記第1受信信号を復調することによって前記第1復調出力信号を生成可能とされ、
    前記第2復調回路は前記小さなASK変調度の前記第2変調度を持つ前記第2受信信号と前記第3受信信号を復調することによって前記第2復調出力信号を生成可能とされる請求項2に記載の半導体集積回路。
  4. 前記第2受信信号の前記第1フォーマットの前記第1通信開始信号は第1ユーザーデータに先行する第1ヘッダ情報であり、
    前記第3受信信号の前記第2フォーマットの前記第2通信開始信号は第2ユーザーデータに先行する第2ヘッダ情報である請求項3に記載の半導体集積回路。
  5. 中央処理ユニットと、ランダムアクセスメモリと、不揮発性メモリと、受信回路と、送信回路と、変調回路とを更に具備して、
    前記不揮発性メモリには、前記中央処理ユニットが実行する処理プログラムが格納され、
    前記第1復調回路から生成される前記第1復調出力信号に含まれる第1受信データと前記第2復調回路から生成される前記第2復調出力信号に含まれる第2受信データとは、前記受信回路を介して前記ランダムアクセスメモリに格納され、
    前記第1受信データと前記第2受信データとの一方のデータの前記ランダムアクセスメモリへの格納の以前では、前記中央処理ユニットは低消費電力状態に制御され、
    前記一方のデータの前記ランダムアクセスメモリへの前記格納に応答して前記中央処理ユニットは前記低消費電力状態から動作状態に遷移され、前記動作状態に遷移した前記中央処理ユニットは前記ランダムアクセスメモリの格納データを読み出すことが可能とされ、
    前記中央処理ユニットは前記ランダムアクセスメモリから読み出した前記格納データを前記処理プログラムに従って処理して当該処理データを前記ランダムアクセスメモリに格納して、当該格納の後に前記中央処理ユニットは前記動作状態から前記低消費電力状態に遷移することが可能とされ、
    前記送信回路は前記ランダムアクセスメモリから前記処理データを読み出して、当該読み出しデータを前記変調回路に転送して、当該転送されたデータに応答して前記変調回路は前記アンテナから送信されるRF送信信号を生成可能とされる請求項4に記載の半導体集積回路。
  6. 前記第1受信信号は国際規格ISO/IEC14443のタイプAに準拠するものであり、前記第2受信信号は国際規格ISO/IEC14443のタイプBに準拠するものであり、前記第3受信信号は国際規格ISO/18092に準拠するものである請求項5に記載の半導体集積回路。
  7. 基板上に半導体集積回路と配線により形成されたアンテナとが実装されたICカードであって、
    前記半導体集積回路は、第1アンテナ接続端子と、第2アンテナ接続端子と、電源回路と、復調回路と、判定回路とを有して、
    前記第1アンテナ接続端子と前記第2アンテナ接続端子との間には前記アンテナによって受信されるRF信号が供給可能とされ、前記電源回路は前記RF信号の整流・平滑によって生成する動作電圧を前記復調回路と前記判定回路とに供給可能とされ、
    前記復調回路は第1復調回路と第2復調回路とを含み、前記第1アンテナ接続端子と前記第2アンテナ接続端子との間に供給される前記RF信号は前記第1復調回路の入力と前記第2復調回路の入力とに並列に供給可能とされ、
    前記第1復調回路は、前記RF信号として第1変調度を持つ第1受信信号を復調することによって第1復調出力信号を生成可能とされ、
    前記第2復調回路は、前記RF信号として前記第1変調度と異なる値の第2変調度および第1フォーマットの第1通信開始信号を持つ第2受信信号と前記第2変調度および第2フォーマットの第2通信開始信号を持つ第3受信信号を復調することによって第2復調出力信号を生成可能とされ、
    前記第1復調回路の前記第1復調出力信号と前記第2復調回路の前記第2復調出力信号とは、前記判定回路に供給可能とされ、
    前記第1復調回路が前記第1復調出力信号を生成することを前記判定回路によって判定される場合には、前記RF信号として前記第1変調度を持つ前記第1受信信号が受信されていると前記判定回路によって判定され、
    前記第1復調回路が前記第1復調出力信号を生成しないことを前記判定回路によって判定される場合には、前記判定回路は前記第1通信開始信号と前記第2通信開始信号とのフォーマットの相違を判定可能とされ、
    前記第2復調回路が前記第1フォーマットの前記第1通信開始信号を持つ前記第2受信信号を復調することによって前記第2復調出力信号を生成することを前記判定回路によって判定される場合には、前記RF信号として前記第2受信信号が受信されていると前記判定回路によって判定され、
    前記第2復調回路が前記第2フォーマットの前記第2通信開始信号を持つ前記第3受信信号を復調することによって前記第2復調出力信号を生成することを前記判定回路によって判定される場合には、前記RF信号として前記第3受信信号が受信されていると前記判定回路によって判定されるICカード。
  8. 前記第1復調回路が前記第1復調出力信号を生成することを前記判定回路によって判定された場合には、前記判定回路から生成される制御信号によって前記第2復調回路の動作が停止可能とされ、
    前記第1復調回路が前記第1復調出力信号を生成しないことを前記判定回路によって判定された場合には、前記判定回路から生成される前記制御信号によって前記前記第1復調回路の動作が停止可能とされる請求項7に記載のICカード。
  9. 前記第1受信信号と前記第2受信信号と前記第3受信信号とはASK変調信号であり、前記第1変調度と前記第2変調度とはASK変調度であり、前記第2変調度は前記第1変調度よりも小さなASK変調度を持ち、
    前記第1復調回路は大きなASK変調度の前記第1変調度を持つ前記第1受信信号を復調することによって前記第1復調出力信号を生成可能とされ、
    前記第2復調回路は前記小さなASK変調度の前記第2変調度を持つ前記第2受信信号と前記第3受信信号を復調することによって前記第2復調出力信号を生成可能とされる請求項8に記載のICカード。
  10. 前記第2受信信号の前記第1フォーマットの前記第1通信開始信号は第1ユーザーデータに先行する第1ヘッダ情報であり、
    前記第3受信信号の前記第2フォーマットの前記第2通信開始信号は第2ユーザーデータに先行する第2ヘッダ情報である請求項9に記載のICカード。
  11. 前記半導体集積回路は、中央処理ユニットと、ランダムアクセスメモリと、不揮発性メモリと、受信回路と、送信回路と、変調回路とを更に有して、
    前記不揮発性メモリには、前記中央処理ユニットが実行する処理プログラムが格納され、
    前記第1復調回路から生成される前記第1復調出力信号に含まれる第1受信データと前記第2復調回路から生成される前記第2復調出力信号に含まれる第2受信データとは、前記受信回路を介して前記ランダムアクセスメモリに格納され、
    前記第1受信データと前記第2受信データとの一方のデータの前記ランダムアクセスメモリへの格納の以前では、前記中央処理ユニットは低消費電力状態に制御され、
    前記一方のデータの前記ランダムアクセスメモリへの前記格納に応答して前記中央処理ユニットは前記低消費電力状態から動作状態に遷移され、前記動作状態に遷移した前記中央処理ユニットは前記ランダムアクセスメモリの格納データを読み出すことが可能とされ、
    前記中央処理ユニットは前記ランダムアクセスメモリから読み出した前記格納データを前記処理プログラムに従って処理して当該処理データを前記ランダムアクセスメモリに格納して、当該格納の後に前記中央処理ユニットは前記動作状態から前記低消費電力状態に遷移することが可能とされ、
    前記送信回路は前記ランダムアクセスメモリから前記処理データを読み出して、当該読み出しデータを前記変調回路に転送して、当該転送されたデータに応答して前記変調回路は前記アンテナから送信されるRF送信信号を生成可能とされる請求項10に記載のICカード。
  12. 前記第1受信信号は国際規格ISO/IEC14443のタイプAに準拠するものであり、前記第2受信信号は国際規格ISO/IEC14443のタイプBに準拠するものであり、前記第3受信信号は国際規格ISO/18092に準拠するものである請求項11に記載のICカード。
  13. 基板上に半導体集積回路と配線により形成されたアンテナとが実装されたICカードの動作方法であって、
    前記半導体集積回路は、第1アンテナ接続端子と、第2アンテナ接続端子と、電源回路と、復調回路と、判定回路とを有して、
    前記第1アンテナ接続端子と前記第2アンテナ接続端子との間には前記アンテナによって受信されるRF信号が供給可能とされ、前記電源回路は前記RF信号の整流・平滑によって生成する動作電圧を前記復調回路と前記判定回路とに供給可能とされ、
    前記復調回路は第1復調回路と第2復調回路とを含み、前記第1アンテナ接続端子と前記第2アンテナ接続端子との間に供給される前記RF信号は前記第1復調回路の入力と前記第2復調回路の入力とに並列に供給可能とされ、
    前記第1復調回路は、前記RF信号として第1変調度を持つ第1受信信号を復調することによって第1復調出力信号を生成可能とされ、
    前記第2復調回路は、前記RF信号として前記第1変調度と異なる値の第2変調度および第1フォーマットの第1通信開始信号を持つ第2受信信号と前記第2変調度および第2フォーマットの第2通信開始信号を持つ第3受信信号を復調することによって第2復調出力信号を生成可能とされ、
    前記第1復調回路の前記第1復調出力信号と前記第2復調回路の前記第2復調出力信号とは、前記判定回路に供給可能とされ、
    前記第1復調回路が前記第1復調出力信号を生成することを前記判定回路によって判定される場合には、前記RF信号として前記第1変調度を持つ前記第1受信信号が受信されていると前記判定回路によって判定され、
    前記第1復調回路が前記第1復調出力信号を生成しないことを前記判定回路によって判定される場合には、前記判定回路は前記第1通信開始信号と前記第2通信開始信号とのフォーマットの相違を判定可能とされ、
    前記第2復調回路が前記第1フォーマットの前記第1通信開始信号を持つ前記第2受信信号を復調することによって前記第2復調出力信号を生成することを前記判定回路によって判定される場合には、前記RF信号として前記第2受信信号が受信されていると前記判定回路によって判定され、
    前記第2復調回路が前記第2フォーマットの前記第2通信開始信号を持つ前記第3受信信号を復調することによって前記第2復調出力信号を生成することを前記判定回路によって判定される場合には、前記RF信号として前記第3受信信号が受信されていると前記判定回路によって判定されるICカードの動作方法。
  14. 前記第1復調回路が前記第1復調出力信号を生成することを前記判定回路によって判定された場合には、前記判定回路から生成される制御信号によって前記第2復調回路の動作が停止可能とされ、
    前記第1復調回路が前記第1復調出力信号を生成しないことを前記判定回路によって判定された場合には、前記判定回路から生成される前記制御信号によって前記前記第1復調回路の動作が停止可能とされる請求項13に記載のICカードの動作方法。
  15. 前記第1受信信号と前記第2受信信号と前記第3受信信号とはASK変調信号であり、前記第1変調度と前記第2変調度とはASK変調度であり、前記第2変調度は前記第1変調度よりも小さなASK変調度を持ち、
    前記第1復調回路は大きなASK変調度の前記第1変調度を持つ前記第1受信信号を復調することによって前記第1復調出力信号を生成可能とされ、
    前記第2復調回路は前記小さなASK変調度の前記第2変調度を持つ前記第2受信信号と前記第3受信信号を復調することによって前記第2復調出力信号を生成可能とされる請求項14に記載のICカードの動作方法。
  16. 前記第2受信信号の前記第1フォーマットの前記第1通信開始信号は第1ユーザーデータに先行する第1ヘッダ情報であり、
    前記第3受信信号の前記第2フォーマットの前記第2通信開始信号は第2ユーザーデータに先行する第2ヘッダ情報である請求項15に記載のICカードの動作方法。
  17. 前記半導体集積回路は、中央処理ユニットと、ランダムアクセスメモリと、不揮発性メモリと、受信回路と、送信回路と、変調回路とを更に有して、
    前記不揮発性メモリには、前記中央処理ユニットが実行する処理プログラムが格納され、
    前記第1復調回路から生成される前記第1復調出力信号に含まれる第1受信データと前記第2復調回路から生成される前記第2復調出力信号に含まれる第2受信データとは、前記受信回路を介して前記ランダムアクセスメモリに格納され、
    前記第1受信データと前記第2受信データとの一方のデータの前記ランダムアクセスメモリへの格納の以前では、前記中央処理ユニットは低消費電力状態に制御され、
    前記一方のデータの前記ランダムアクセスメモリへの前記格納に応答して前記中央処理ユニットは前記低消費電力状態から動作状態に遷移され、前記動作状態に遷移した前記中央処理ユニットは前記ランダムアクセスメモリの格納データを読み出すことが可能とされ、
    前記中央処理ユニットは前記ランダムアクセスメモリから読み出した前記格納データを前記処理プログラムに従って処理して当該処理データを前記ランダムアクセスメモリに格納して、当該格納の後に前記中央処理ユニットは前記動作状態から前記低消費電力状態に遷移することが可能とされ、
    前記送信回路は前記ランダムアクセスメモリから前記処理データを読み出して、当該読み出しデータを前記変調回路に転送して、当該転送されたデータに応答して前記変調回路は前記アンテナから送信されるRF送信信号を生成可能とされる請求項16に記載のICカードの動作方法。
  18. 前記第1受信信号は国際規格ISO/IEC14443のタイプAに準拠するものであり、前記第2受信信号は国際規格ISO/IEC14443のタイプBに準拠するものであり、前記第3受信信号は国際規格ISO/18092に準拠するものである請求項17に記載のICカードの動作方法。
JP2008168471A 2008-06-27 2008-06-27 半導体集積回路、半導体集積回路を実装したicカードおよびその動作方法 Active JP5295657B2 (ja)

Priority Applications (4)

Application Number Priority Date Filing Date Title
JP2008168471A JP5295657B2 (ja) 2008-06-27 2008-06-27 半導体集積回路、半導体集積回路を実装したicカードおよびその動作方法
EP09251325A EP2138961B1 (en) 2008-06-27 2009-05-15 Semiconductor integrated circuit, IC card mounted with the semiconductor integrated circuit, and operation method for the same
US12/470,942 US8643470B2 (en) 2008-06-27 2009-05-22 Semiconductor integrated circuit, IC card mounted with the semiconductor integrated circuit, and operation method for the same
CN200910150401.4A CN101615260B (zh) 2008-06-27 2009-06-19 半导体集成电路、安装有该电路的ic卡和该ic卡操作方法

Applications Claiming Priority (1)

Application Number Priority Date Filing Date Title
JP2008168471A JP5295657B2 (ja) 2008-06-27 2008-06-27 半導体集積回路、半導体集積回路を実装したicカードおよびその動作方法

Publications (3)

Publication Number Publication Date
JP2010009353A true JP2010009353A (ja) 2010-01-14
JP2010009353A5 JP2010009353A5 (ja) 2011-07-28
JP5295657B2 JP5295657B2 (ja) 2013-09-18

Family

ID=40888273

Family Applications (1)

Application Number Title Priority Date Filing Date
JP2008168471A Active JP5295657B2 (ja) 2008-06-27 2008-06-27 半導体集積回路、半導体集積回路を実装したicカードおよびその動作方法

Country Status (4)

Country Link
US (1) US8643470B2 (ja)
EP (1) EP2138961B1 (ja)
JP (1) JP5295657B2 (ja)
CN (1) CN101615260B (ja)

Cited By (6)

* Cited by examiner, † Cited by third party
Publication number Priority date Publication date Assignee Title
JP2011175627A (ja) * 2010-02-23 2011-09-08 Samsung Electronics Co Ltd 近距離通信のための受信装置とそれによる通信モード検出方法
JP2012178750A (ja) * 2011-02-28 2012-09-13 Casio Comput Co Ltd Rfid通信装置及びプログラム
US9276404B2 (en) 2012-05-28 2016-03-01 Renesas Electronics Corporation Semiconductor integrated circuit and operating method thereof
US9362742B2 (en) 2012-05-28 2016-06-07 Renesas Electronics Corporation Semiconductor integrated circuit and operating method thereof
US9665753B2 (en) 2013-06-03 2017-05-30 Ricoh Company, Ltd. Non-contact communication method determination circuit, non-contact communication circuit, and IC card
US9754919B2 (en) 2012-07-03 2017-09-05 Renesas Electronics Corporation Semiconductor device and method of manufacturing the same

Families Citing this family (24)

* Cited by examiner, † Cited by third party
Publication number Priority date Publication date Assignee Title
JP4668315B2 (ja) * 2008-12-02 2011-04-13 フェリカネットワークス株式会社 情報処理装置、通信制御方法、およびプログラム
JP5353675B2 (ja) * 2009-12-16 2013-11-27 ソニー株式会社 信号処理装置および方法
KR20110096808A (ko) * 2010-02-23 2011-08-31 삼성전자주식회사 데이터 수신율을 개선하기 위한 수신 데이터 보정방법 및 그에 따른 수신 모뎀 회로
US8892854B2 (en) * 2011-04-01 2014-11-18 Honeywell International Inc. Devices that receive data while not directly powered
CN202008675U (zh) * 2011-04-27 2011-10-12 北京同方微电子有限公司 用于非接触式智能卡多协议自适应选择电路
FR2980873B1 (fr) * 2011-09-30 2015-08-07 Proton World Int Nv Configuration d'un routeur de communication en champ proche en type de modulation
FR2980874B1 (fr) 2011-09-30 2018-06-08 Proton World International N.V. Configuration du type de modulation d'un routeur de communication en champ proche
CN103188118B (zh) * 2011-12-30 2015-08-19 北京中电华大电子设计有限责任公司 一种14443接口pcd帧结束检测方法
US9106268B2 (en) * 2012-09-12 2015-08-11 Qualcomm Incorporated Methods and apparatus for improving acquisition for NFC load modulation
CN103714374B (zh) * 2012-09-28 2016-08-17 上海华虹宏力半导体制造有限公司 A型非接触ic卡的解调电路
CN103226726A (zh) * 2013-04-28 2013-07-31 重庆邮电大学 一种新型半无源rfid标签芯片
DE102014106815B4 (de) 2014-05-14 2024-01-18 Infineon Technologies Ag Kommunikationsmodul
JP6813254B2 (ja) * 2014-07-15 2021-01-13 ソニー株式会社 情報処理装置、情報処理方法、及びプログラム
DE102014219512A1 (de) * 2014-09-26 2016-03-31 Dr. Johannes Heidenhain Gmbh Verfahren und Vorrichtung zur seriellen Datenübertragung über einen bidirektionalen Datenübertragungskanal
JP6790071B2 (ja) * 2016-03-25 2020-11-25 シャープ株式会社 発電システム、パワーコンディショナ、電力制御装置、電力制御方法及び電力制御プログラム
JP6946027B2 (ja) * 2017-03-17 2021-10-06 株式会社東芝 Icカード、携帯可能電子装置、プログラム、処理装置及び処理システム
EP3496004B1 (en) * 2017-12-08 2020-11-25 Nxp B.V. Active receiver for connected rfid tags
EP3584948A1 (en) * 2018-06-19 2019-12-25 STMicroelectronics razvoj polprevodnikov d.o.o. Protocol detection and decoding in multiprotocol tag, and corresponding integrated circuit
EP3584949B1 (en) 2018-06-19 2022-01-19 STMicroelectronics razvoj polprevodnikov d.o.o. Method for limiting the level of a modulated signal received by a tag and corresponding limiter
CN109766980B (zh) * 2019-01-17 2022-05-06 卓捷创芯科技(深圳)有限公司 一种改进温度传感器无源射频识别标签能量收集的电路及方法
CN110460345B (zh) * 2019-07-29 2021-08-03 北京中电华大电子设计有限责任公司 一种超高波特率接收电路参数检测配置方法
CN112583434A (zh) * 2021-02-26 2021-03-30 北京紫光青藤微系统有限公司 信号接收装置、近场通信系统及信号接收方法
FR3122955B1 (fr) * 2021-05-11 2024-10-25 St Microelectronics Rousset Dispositif de communication en champ proche
US12456857B2 (en) * 2023-02-21 2025-10-28 Cypress Semiconductor Corporation Power converter current sense fault detection

Citations (4)

* Cited by examiner, † Cited by third party
Publication number Priority date Publication date Assignee Title
JP2000172806A (ja) * 1998-12-08 2000-06-23 Hitachi Ltd 非接触icカード
JP2000510633A (ja) * 1998-02-17 2000-08-15 シーメンス アクチエンゲゼルシヤフト データおよびエネルギの無接点受信のためのデータキャリア、およびこのようなデータキャリアの作動方法
WO2001091046A1 (en) * 2000-05-22 2001-11-29 Matsushita Electric Industrial Co., Ltd. Ic card
JP2006060363A (ja) * 2004-08-18 2006-03-02 Renesas Technology Corp 半導体集積回路及び非接触icカード

Family Cites Families (18)

* Cited by examiner, † Cited by third party
Publication number Priority date Publication date Assignee Title
JPH09101941A (ja) 1995-10-04 1997-04-15 Hitachi Ltd 通信制御システム
JP2002335344A (ja) 2001-03-07 2002-11-22 Casio Comput Co Ltd 接続ユニット、無線通信システム、接続ユニットの制御方法、及び、無線通信方法
JP4824195B2 (ja) 2001-05-18 2011-11-30 日本信号株式会社 非接触型icカード用リーダライタ及びその制御方法
JP3819783B2 (ja) 2002-02-08 2006-09-13 日本電信電話株式会社 非接触icカード及び非接触icカード用リーダライタ
JP3592304B2 (ja) 2002-02-21 2004-11-24 日本電信電話株式会社 最適通信方式選択方法及び非接触応答装置
US7494055B2 (en) * 2002-09-17 2009-02-24 Vivotech, Inc. Collaborative negotiation techniques for mobile personal trusted device financial transactions
KR100560770B1 (ko) * 2003-09-15 2006-03-13 삼성전자주식회사 실시간 프로토콜 전환 기능을 갖는 비접촉 집적회로 카드및 그것을 포함한 카드 시스템
JP4072503B2 (ja) 2004-02-04 2008-04-09 シャープ株式会社 補助演算用コプロセッサ内蔵型icカード及びその制御方法
KR100596410B1 (ko) * 2004-11-04 2006-07-03 한국전자통신연구원 기능 확장용 에스디 메모리 카드
JP4576935B2 (ja) 2004-09-02 2010-11-10 株式会社日立製作所 非接触電子装置
US20070026825A1 (en) * 2005-02-24 2007-02-01 Innovision Research & Technology Plc NFC device and apparatus
GB0505060D0 (en) * 2005-03-11 2005-04-20 Innovision Res & Tech Plc Gain controlled impedance
FR2892212A1 (fr) * 2005-10-17 2007-04-20 St Microelectronics Sa Lecteur nfc ayant un mode de fonctionnement passif a faible consommation electrique
GB0610227D0 (en) * 2006-05-23 2006-07-05 Innovision Res & Tech Plc Near field rf communicators and near field communications enabled devices
US20090011706A1 (en) * 2006-05-23 2009-01-08 Innovision Research & Technology Plc Near field RF communicators and near field communications-enabled devices
JP4891708B2 (ja) 2006-08-31 2012-03-07 株式会社東芝 情報通信媒体
US20100056053A1 (en) * 2006-11-23 2010-03-04 Nxp, B.V. Single communication channel between a contactless frontend device and a transceiver device
JP2008168471A (ja) 2007-01-10 2008-07-24 Canon Inc インクジェット記録装置

Patent Citations (4)

* Cited by examiner, † Cited by third party
Publication number Priority date Publication date Assignee Title
JP2000510633A (ja) * 1998-02-17 2000-08-15 シーメンス アクチエンゲゼルシヤフト データおよびエネルギの無接点受信のためのデータキャリア、およびこのようなデータキャリアの作動方法
JP2000172806A (ja) * 1998-12-08 2000-06-23 Hitachi Ltd 非接触icカード
WO2001091046A1 (en) * 2000-05-22 2001-11-29 Matsushita Electric Industrial Co., Ltd. Ic card
JP2006060363A (ja) * 2004-08-18 2006-03-02 Renesas Technology Corp 半導体集積回路及び非接触icカード

Cited By (8)

* Cited by examiner, † Cited by third party
Publication number Priority date Publication date Assignee Title
JP2011175627A (ja) * 2010-02-23 2011-09-08 Samsung Electronics Co Ltd 近距離通信のための受信装置とそれによる通信モード検出方法
JP2012178750A (ja) * 2011-02-28 2012-09-13 Casio Comput Co Ltd Rfid通信装置及びプログラム
US9330289B2 (en) 2011-02-28 2016-05-03 Casio Computer Co., Ltd. Communication apparatus and computer program product
US9276404B2 (en) 2012-05-28 2016-03-01 Renesas Electronics Corporation Semiconductor integrated circuit and operating method thereof
US9362742B2 (en) 2012-05-28 2016-06-07 Renesas Electronics Corporation Semiconductor integrated circuit and operating method thereof
US9754919B2 (en) 2012-07-03 2017-09-05 Renesas Electronics Corporation Semiconductor device and method of manufacturing the same
US9997499B2 (en) 2012-07-03 2018-06-12 Renesas Electronics Corporation Semiconductor device and method of manufacturing the same
US9665753B2 (en) 2013-06-03 2017-05-30 Ricoh Company, Ltd. Non-contact communication method determination circuit, non-contact communication circuit, and IC card

Also Published As

Publication number Publication date
EP2138961B1 (en) 2012-12-26
EP2138961A1 (en) 2009-12-30
US8643470B2 (en) 2014-02-04
JP5295657B2 (ja) 2013-09-18
CN101615260B (zh) 2013-02-13
CN101615260A (zh) 2009-12-30
US20090322484A1 (en) 2009-12-31

Similar Documents

Publication Publication Date Title
JP5295657B2 (ja) 半導体集積回路、半導体集積回路を実装したicカードおよびその動作方法
TWI534712B (zh) 智慧卡性能增強電路及系統
JP5073379B2 (ja) 非接触電子装置
CN102822843B (zh) 通过第一便携式数据存储介质检测第二便携式数据存储介质的存在的系统和方法
JP4558259B2 (ja) コンビネーション型icカード
US8543056B2 (en) Communication device, communication method, and program
CN102222260B (zh) 一种汽车专用的无源超高频rfid电子标签芯片及控制方法
US20170083727A1 (en) Card reader and method of operating the same
CN105453449A (zh) 非接触式通信方法确定电路、非接触式通信电路、以及ic卡
JP3929761B2 (ja) 半導体装置の動作制御方法、半導体装置動作制御プログラム、半導体装置動作制御プログラムを記録した記録媒体、半導体装置、およびicカード
US9686041B2 (en) End of communication detection
CN105005751B (zh) 一种rfid标签芯片信号反射方法
CN102202128B (zh) 一种高频超高频双界面sim卡及射频识别系统
JP2005229512A (ja) データ通信システム、データ通信装置、非接触通信媒体およびデータ通信装置制御プログラム
JPH1115934A (ja) 無電池方式のrfid
CN208298223U (zh) Uhf rfid 标签芯片电路
JP2003018043A (ja) 通信装置
JP4732024B2 (ja) Icタグ、リーダ・ライタ、それらを用いた通信方法及び通信システム
CN104853356A (zh) 一种nfc系统智能识别方法
CN206620140U (zh) 一种防盗刷车载单元
JP2008028852A (ja) 情報処理端末、データ選択処理方法、およびプログラム
CN202102477U (zh) 一种汽车专用的无源超高频rfid电子标签芯片
KR100831898B1 (ko) 트랜스폰더, 부하 변조 신호 발생 방법, 및 상기트랜스폰더를 포함하는 rfid 시스템
JP2009135582A (ja) 無線通信装置
CN202008671U (zh) 转换装置和射频读写系统

Legal Events

Date Code Title Description
A711 Notification of change in applicant

Free format text: JAPANESE INTERMEDIATE CODE: A712

Effective date: 20100527

A521 Request for written amendment filed

Free format text: JAPANESE INTERMEDIATE CODE: A523

Effective date: 20110614

A621 Written request for application examination

Free format text: JAPANESE INTERMEDIATE CODE: A621

Effective date: 20110614

A977 Report on retrieval

Free format text: JAPANESE INTERMEDIATE CODE: A971007

Effective date: 20121010

A131 Notification of reasons for refusal

Free format text: JAPANESE INTERMEDIATE CODE: A131

Effective date: 20121108

A521 Request for written amendment filed

Free format text: JAPANESE INTERMEDIATE CODE: A523

Effective date: 20121226

TRDD Decision of grant or rejection written
A01 Written decision to grant a patent or to grant a registration (utility model)

Free format text: JAPANESE INTERMEDIATE CODE: A01

Effective date: 20130523

A61 First payment of annual fees (during grant procedure)

Free format text: JAPANESE INTERMEDIATE CODE: A61

Effective date: 20130612

R150 Certificate of patent or registration of utility model

Ref document number: 5295657

Country of ref document: JP

Free format text: JAPANESE INTERMEDIATE CODE: R150

Free format text: JAPANESE INTERMEDIATE CODE: R150

S531 Written request for registration of change of domicile

Free format text: JAPANESE INTERMEDIATE CODE: R313531

R350 Written notification of registration of transfer

Free format text: JAPANESE INTERMEDIATE CODE: R350