JP2010008802A - ズームレンズ鏡筒 - Google Patents

ズームレンズ鏡筒 Download PDF

Info

Publication number
JP2010008802A
JP2010008802A JP2008169246A JP2008169246A JP2010008802A JP 2010008802 A JP2010008802 A JP 2010008802A JP 2008169246 A JP2008169246 A JP 2008169246A JP 2008169246 A JP2008169246 A JP 2008169246A JP 2010008802 A JP2010008802 A JP 2010008802A
Authority
JP
Japan
Prior art keywords
cam
optical axis
cam groove
group unit
lens
Prior art date
Legal status (The legal status is an assumption and is not a legal conclusion. Google has not performed a legal analysis and makes no representation as to the accuracy of the status listed.)
Granted
Application number
JP2008169246A
Other languages
English (en)
Other versions
JP2010008802A5 (ja
JP4948483B2 (ja
Inventor
Tatsuya Sato
佐藤  達也
Current Assignee (The listed assignees may be inaccurate. Google has not performed a legal analysis and makes no representation or warranty as to the accuracy of the list.)
Canon Inc
Original Assignee
Canon Inc
Priority date (The priority date is an assumption and is not a legal conclusion. Google has not performed a legal analysis and makes no representation as to the accuracy of the date listed.)
Filing date
Publication date
Application filed by Canon Inc filed Critical Canon Inc
Priority to JP2008169246A priority Critical patent/JP4948483B2/ja
Priority to US12/491,854 priority patent/US8068287B2/en
Priority to CN200910150574.6A priority patent/CN101614859B/zh
Publication of JP2010008802A publication Critical patent/JP2010008802A/ja
Publication of JP2010008802A5 publication Critical patent/JP2010008802A5/ja
Application granted granted Critical
Publication of JP4948483B2 publication Critical patent/JP4948483B2/ja
Expired - Fee Related legal-status Critical Current
Anticipated expiration legal-status Critical

Links

Images

Classifications

    • GPHYSICS
    • G02OPTICS
    • G02BOPTICAL ELEMENTS, SYSTEMS OR APPARATUS
    • G02B7/00Mountings, adjusting means, or light-tight connections, for optical elements
    • G02B7/02Mountings, adjusting means, or light-tight connections, for optical elements for lenses
    • G02B7/04Mountings, adjusting means, or light-tight connections, for optical elements for lenses with mechanism for focusing or varying magnification
    • G02B7/10Mountings, adjusting means, or light-tight connections, for optical elements for lenses with mechanism for focusing or varying magnification by relative axial movement of several lenses, e.g. of varifocal objective lens
    • G02B7/102Mountings, adjusting means, or light-tight connections, for optical elements for lenses with mechanism for focusing or varying magnification by relative axial movement of several lenses, e.g. of varifocal objective lens controlled by a microcomputer

Landscapes

  • Physics & Mathematics (AREA)
  • Engineering & Computer Science (AREA)
  • General Engineering & Computer Science (AREA)
  • General Physics & Mathematics (AREA)
  • Optics & Photonics (AREA)
  • Lens Barrels (AREA)

Abstract

【課題】落下衝撃時のカムフォロワによるカム溝の削れを防止する。
【解決手段】落下時に衝撃を受ける望遠及び広角のカム溝16aの光軸直交方向の平行フラット部に垂直壁を設け、1群ユニット1に設けたカムフォロワピン22に平行カット面22aを形成し、カム溝16aの平行フラット部と当接させる。また、平行フラット部以外のリフト部のカム溝16aには段差16eを設ける。
【選択図】図13

Description

本発明は、特に非撮影時の携帯性を考慮し、レンズ保持部材が鏡筒本体部分に対して光軸方向に突出動作及び収納動作をする所謂沈胴式のズームレンズ鏡筒に関するものである。
従来、沈胴式のレンズ鏡筒でズーム機能を有するレンズ装置が、例えば特許文献1に開示されている。このレンズ装置では、移動レンズを保持したレンズ保持枠の外周面に突設されたカムフォロワと、カム筒の内周面に形成され、カムフォロワが係合するカム溝と、レンズ保持枠の回転を止めてレンズ保持枠を直進的に案内する案内筒とから構成されている。
また、カム筒はモータにより光軸を中心に回動され、カム筒の内周に設けたカム溝と、案内筒に設けた直進ガイド溝により、レンズ保持枠を光軸方向に前後移動させることにより、沈胴動作及びズ−ミングが行われる。
また、レンズ保持枠が繰り出している状態で衝撃など外力が作用した場合に、カムフォロワがカム溝から脱落することを防止するために、カム溝の形状がカム筒の内周面に対して垂直な垂直面と傾斜面とに形成されている。
特開2002−267917号公報
しかし、外力が大きくなると上述のレンズ装置でも、カムフォロワがカム溝から脱落する虞れがある。一般に、カム筒は射出成型により成形されるモ−ルド部品であり、カムフォロワは円形形状の金属部品であるため、外力が大きくなると、カム溝をカムフォロワが削って脱落する。
従って、カム溝が台形形状のような傾斜面のみの構成よりは、上述のレンズ装置のように垂直面を設けた方が外力に対する耐力が向上するが、更なる耐力の向上が求められている。
本発明の目的は、上述の問題点を解消し、衝撃などの外力に対するカム溝の耐力を更に向上させ、ズ−ム及び沈胴機能が損われないようにするズームレンズ鏡筒を提供することにある。
上記目的を達成するための本発明に係るズームレンズ鏡筒は、レンズを保持しカムフォロワピンを設けたレンズ保持枠と、該レンズ保持枠の外側に設け前記レンズ保持枠を直進案内する案内筒と、該案内筒の外側に設け前記カムフォロワピンが係合するカム溝を有するカム筒とを有し、該カム筒は光軸を中心に回動し、前記レンズ保持枠が光軸方向に移動するレンズ鏡筒において、前記カム溝は光軸と直交方向に平行な平行フラット部と光軸と非直交方向のリフト部を持つ軌跡とを有し、前記平行フラット部には前記カム筒の内周面に対して垂直な垂直面を有し、前記カムフォロワピンに前記垂直面に平行な平行カット面を形成したことを特徴とする。
本発明に係るズームレンズ鏡筒によれば、衝撃などの外力に対するカム溝の耐力を更に向上させ、ズ−ム及び沈胴機能が損われないようにする。
本発明を図示の実施例に基づいて詳細に説明する。
図1は本実施例のズームレンズ鏡筒の分解斜視図、図2は沈胴時の断面図、図3は広角時の断面図、図4は望遠時の断面図である。本実施例のズームレンズ鏡筒は、4群構成の変倍光学系を有し、非撮影状態では各レンズ群の間隔を通常の使用時に対して縮小して、レンズ全長を大幅に短縮する所謂2段沈胴方式のレンズ鏡筒に適用されている。
光軸上に、第1レンズ群L1、第2レンズ群L2、光軸と垂直な平面内で移動してぶれ補正動作を行う第3レンズ群L3、光軸方向に移動することにより合焦動作を行う第4レンズ群L4が配列されている。
1群ユニット1は第1レンズ群L1を保持している第1のレンズ保持枠から成り、2群ユニット2は第2レンズ群L2を保持している第2のレンズ保持枠から成っている。また、3群ユニット3は第3レンズ群L3を光軸と垂直な平面内でシフト移動を可能とする第3のレンズ保持枠から成り、4群ユニット4は第4レンズ群L4を保持する第4のレンズ保持枠から成っている。
光量を調節する絞りユニット5は、2群ユニット2と3群ユニット3の間に配置され、4群ユニット4の後方にはCCD等から成る撮像素子がCCDホルダ6により保持されている。
4群ユニット4はガイドバー7、8の案内により光軸方向に移動可能に支持されている。ガイドバー7、8の後方側の端部はCCDホルダ6に位置決め固定され、ガイドバー7、8の前側の端部は後部鏡筒10に位置決め固定されており、後部鏡筒10はCCDホルダ6と駆動源のフォーカスモータ11にビスにより固定されている。
4群ユニット4はフォーカスモータ11の駆動により光軸方向に沿って前後移動する。フォーカスモータ11のロータと一体的に回転するリードスクリュー11aにラック12が螺合し、リードスクリュー11aの回転運動を4群ユニット4の直進駆動に変換している。ラックばね13は4群ユニット4とラック12のがたが少なくなるように付勢している。
4群ユニット4の絶対位置を検出するフォトインタラプタ14は、4群ユニット4の遮光壁がフォトインタラプタ14内を横切ることで、フォトインタラプタ14の遮光・透光を切換え、絶対位置を検出するようになっている。
CCDホルダ6には固定筒15がビスにより固定されている。固定筒15は内側にカム部材であるカム筒16を光軸方向に進退させるためのカム溝15aと、更に内側の案内筒17に設置されたキー17cと嵌合し、案内筒17の光軸に対する偏芯位置決め及び直進案内を行う直進案内溝15bが設けられている。
案内筒17とその外側のカム筒16はバヨネット構造によって光軸方向の互いの位置が一体的に規制され、キー17cと、図5の固定筒15の展開図に示す案内溝15bによって直進案内され、案内筒17の外形を軸とする回転運動をしながら、光軸方向に進退する。
カム筒16には、内周に1群ユニット1、2群ユニット2、3群ユニット3をそれぞれ光軸に沿って進退させるために、図6の展開図に示すようなカム溝16a、カム溝16b、カム溝16cが設けられている。
カム筒16に設置されたギア部と螺合し、カム筒16の回転駆動範囲で常に螺合し続けるようにナルトギア18が設けられている。このナルトギア18は所定の長さを必要とし、固定筒15とCCDホルダ6とによって挟み込まれたナルトギアシャフト19を軸として、定位置回転を行う。
CCDホルダ6にはビスによってズームモータユニット20が固定されている。ズームモータユニット20はその出力ギアとナルトギア18が螺合し、ナルトギア18を介して、ズームモータユニット20の動力をカム筒16に伝達するようにされている。
図7において、カム筒16には120°均等で3個所にカムフォロワピン21が配置され、カムフォロワピン21は図5に示す固定筒15のカム溝15aに係合し、沈胴→広角→望遠へと繰り出す構成とされている。このとき、カム溝15aは沈胴、広角、望遠位置で光軸直交方向に平行、つまり図5において水平部として現れている平行フラット部を有している。
また1群ユニット1では、1群ユニット1に120°均等で3個所に配置されたカムフォロワピン22が、図6のカム溝16aに係合し、沈胴→広角→望遠へと繰り出す構成とされている。
しかし、前述したようにカム筒16自体も移動し、カム筒16は2つのカム溝15a、16aの合成カムリフト量によって決められる光学位置へと移動する。本実施例においては、カム筒16は沈胴→望遠で繰り出すため、1群ユニット1は合算分だけ繰り出す構成とされている。このとき、カム溝16aは沈胴、広角、望遠位置で光軸直交方向に平行なフラット部となっている。
また2群ユニット2では、2群ユニット2に120°均等で3個所に配置されたカムフォロワピン23が、図6のカム溝16bに係合し、沈胴→広角で繰り出し、広角→望遠においては繰り込む構成となっている。カム筒16自体も移動し、2群ユニット2は広角位置まで一旦繰り出し、望遠位置では広角に比べて繰り込まれる光学位置に移動する。この2群ユニット2の移動はフォトインタラプタ24により検出される。
3群ユニット3では、120°均等で3個所に配置されたカムフォロワピン25が、図6のカム溝16cに係合し、沈胴→広角で繰り込み、広角→望遠においては中間付近で一旦繰り込み、望遠では広角に比べて繰り出す構成となっている。カム筒16自体も移動し、3群ユニット3は沈胴→望遠で繰り出される光学位置に移動する。
このように、カム筒16が前述した光軸に沿った進退移動及び光軸を中心とした回転運動をすることによって、1群ユニット1、2群ユニット2、3群ユニット3が案内筒17に設置した直進ガイド溝17a、17bにより案内される。これにより、1群ユニット1、2群ユニット2、3群ユニット3は相対的に光軸に沿って前後移動し、変倍動作を行うと共にレンズ鏡筒全体を沈胴させる。
また、本実施例においてはカム筒16では、上述のカム軌跡を有しているが、光学タイプによる各レンズ群の移動量、レンズ群間距離を達成できる異なるカム軌跡であっても支障はない。
図5における固定筒15のカム溝入口15cは、カム筒16のカムフォロワピン21をカム溝15aに導入する。また、図6におけるカム筒16のカム溝入口16dは、1群ユニット1のカムフォロワピン22、2群ユニット2のカムフォロワピン23、3群ユニット3のカムフォロワピン25をそれぞれのカム溝16a、16b、16cに導入する。
上述した本実施例におけるズーム作動は、ズームモータユニット20の動力をナルトギア18を介してカム筒16を回転させ、カム筒16自体、及び1群ユニット1、2群ユニット2、3群ユニット3を光軸方向に移動させて行う。その際に、ズーム作動における絶対位置は、図8に示す2群ユニット2に設置した遮光壁2aがフォトインタラプタ24内を通過し、遮光・透光による電気出力の変化により検出される。
本実施例においては、沈胴←→広角間の所定の位置でフォトインタラプタ24による検出が行われている。撮影時においては、このフォトインタラプタ24の切換わりを絶対位置として、ズームモータユニット20に内蔵されたパルス発生機構によりパルスを検出、計数し、広角から望遠の任意の位置で停止できるような制御機能を持っている。
このときのパルス発生機構としては、所謂パルス板と、フォトインタラプタやフォトリフレクタなどを組み合わせた方式や、ステップモータを用いた方式などでもよい。
図9は外力が作用する1つの例として、ユーザが不用意にカメラCを落下させた場合の説明図である。カメラC全体の重量が1群ユニット1の先端に作用すると、図10に示すように1群ユニット1のカムフォロワピン22が、カム筒16のカム溝16aの垂直面及び傾斜面を削って脱落すると共に、1群ユニット1が傾き、その後のズーム作動が不能となる。
この場合に、カムフォロワピン22の断面が円形形状のため、カム溝16aに対する接触面積が少なく、金属部材であるカムフォロワピン22がモ−ルド部材であるカム溝16aを削ると考えられる。また、カム溝16aが台形形状の傾斜面の構成よりも、垂直面を設けた構成の方が外力に対する耐力は増加するが、落下高さが高くなればなるほど衝撃力が増すため、更なる削れ耐力の向上が必要となる。
このため本実施例では、上述したカムフォロワピン22のカム溝16aに対する接触面積を考えて、図11に示すようにカムフォロワピン22の両側にDカット加工を施し、平行カット面22aを形成し、削れ耐力の向上を図っている。
図11に示すカムフォロワピン22の平行カット面22aは、図6に示すカム溝16aの望遠近傍及び広角近傍の光軸直交方向の平行フラット部と平行に設置する必要がある。このため本実施例では、図11に示すように1群ユニット1のレンズ保持枠の光軸方向と直交方向に、平行カット面22aが向くように圧入設定されている。
図12は図4の望遠時のカム溝16aとカムフォロワピン22の嵌合状態の拡大断面図である。カムフォロワピン22はカム溝16aの傾斜面のみと係合させてあり、平行カット面22aとカム溝16aの垂直面は、部品精度上、二重係合が困難なため隙間を開けるように設定されている。また、平行カット面22aとカム溝16aの関係は、図6に示すカム筒16の光軸直交方向の平行フラット部の広角近傍でも同様である。
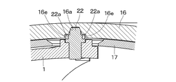
一方、図6に示す望遠−広角間、及び沈胴−広角間のように、光軸と非直交方向のリフト部を持つカム軌跡部では、カムフォロワピン22の平行カット面22aがカム溝16aと干渉するため、カム溝16aに段差を設けて干渉を回避している。つまり、図13は図6で示す望遠−中間間における断面図である。リフト部を持つカム軌跡部のカム溝16aには、垂直面を設けず傾斜面のみとし、更には段差16eが設けられ、カムフォロワピン22の平行カット面22aとの干渉を回避している。
図14はカム筒16の内側から見た斜視図であり、カム溝16aの垂直面・傾斜面、及び段差16eの繋がりは図6の展開図に示す通りである。
図15はぶれ補正機能を有するレンズ鏡筒を搭載した撮影装置のレンズ鏡筒の駆動及びぶれ補正のためのブロック回路構成図である。光学ローパスフィルタ31を経て撮像素子32に入力した光学像の電気信号は、カメラ信号処理回路33を経てマイコン34に接続されている。マイコン34にはフォーカス検出回路35、ズーム検出回路36、ピッチ位置検出回路37、ヨー位置検出回路38、ピッチ角度検出回路39、ヨー角度検出回路40の出力が接続されている。またマイコン34の出力は、フォーカス駆動回路41、ズーム駆動回路42、絞り駆動回路43、ピッチコイル駆動回路44、ヨーコイル駆動回路45に接続されている。
レンズ鏡筒において、光学ローパスフィルタ31は被写体の空間周波数の高域成分を除去し、撮像素子32はピント面に配置された光学像を電気信号に変換するための撮像素子である。撮像素子32から読み出された電気信号aは、カメラ信号処理回路33により画像信号bとなる。
マイコン34はレンズ駆動を制御し、電源投入時にマイコン34はフォーカス検出回路35及びズーム検出回路36の出力を監視する。そして、フォーカス駆動回路41及びズーム駆動回路42により、それぞれのモータを回転させて、各レンズ群を光軸方向に移動させる。
フォーカス検出回路35及びズーム検出回路36の出力は、それぞれの可動部材が予め設定された所定位置までくると、可動部材に設けられた遮光壁がフォトインタラプタの発光部を遮光する境界部に至ったとき反転する。
その位置を基準として、以後はフォーカスはフォーカスモータ11の駆動ステップ数をマイコン34内で計数する。また、ズーム駆動はズームモータユニット20に内蔵されたパルス板とフォトインタラプタによるパルス出力をマイコン34内で計数し、マイコン34は各レンズ群の絶対位置を知ることができる。これにより、正確な焦点距離情報が得られるが、この一連の動作をズーム及びフォーカスのリセット動作という。
絞り駆動回路43は絞り装置13を駆動し、マイコン34に取り込まれた映像信号の明るさ情報bに基づいて、絞りの開口径、及びNDフィルタの絞り量などの絞りユニット5による光量調節機能が制御される。本実施例については、撮像素子としてCCDを用いた例を示しているが、CMOSでも問題はない。
角度検出回路39、40は光学装置のピッチ(縦方向の傾き角)及びヨー(横方向の傾き角)検出用であり、角度の検出は例えば撮影装置に固定された振動ジャイロ等の角速度センサの出力を積分して行われる。ピッチ角度検出回路39、ヨー角度検出回路40の出力、即ち撮影装置の傾き角度の情報はマイコン34に取り込まれる。
ピッチコイル駆動回路44及びヨーコイル駆動回路45はぶれ補正を行うために、第3レンズ群L3を光軸に対して垂直に移動させるためであり、シフト磁気回路のコイルに通電し、3群ユニット3をシフトさせる駆動力を発生させる。
ピッチ位置検出回路37及びヨー位置検出回路38により3群ユニット3の光軸に対するシフト量を検出し、マイコン34に取り込まれる。マイコン34の出力により3群ユニット3が光軸に対して垂直に移動すると、通過光束が曲げられて、撮像素子32上に結像している被写体像の位置が移動する。
このときの像の移動量を実際に撮影装置が傾いたことによって、像が移動する方向と逆に同じ大きさだけ移動するようにマイコン34で制御することにより、撮影装置がぶれても結像している像が動かない所謂ぶれ補正を実現できる。
マイコン34内では、ピッチ角度検出回路39及びヨー角度検出回路40により得られた撮影装置の傾き信号と、ピッチ位置検出回路37及びヨー位置検出回路38から得られた3群ユニット3のシフト量信号をそれぞれ差し引く。そして、それぞれの差信号を増幅及び適当な位相補償を行った信号で、ピッチコイル駆動回路44及びヨーコイル駆動回路45によりそれぞれ第3レンズ群L3を駆動する。
この制御により、上記の差信号がより小さくなるように位置決め制御が行われ、目標位置に保たれる。更に、本実施例では1群ユニット1、2群ユニット2、3群ユニット3の相対移動により変倍動作を行っているので、3群ユニット3のシフト量に対する像の移動量が焦点距離によって変化する。
従って、ピッチ角度検出回路39及びヨー角度検出回路40によって得られる撮影装置の傾き信号により、そのまま3群ユニット3のシフト量を決定せず、焦点距離情報により補正を行って撮影装置の傾きによる像の動きを、3群ユニット3の移動により相殺する。
本発明は実施例の構成に限定されるものではなく、特許請求の範囲の範疇内の構成であればよいことは云うまでもない。
本実施例のズームレンズ鏡筒の分解斜視図である。 沈胴時のズームレンズ鏡筒の断面図である。 広角時のズームレンズ鏡筒の断面図である。 望遠時のズームレンズ鏡筒の断面図である。 固定筒の主要部のカム展開図である。 カム筒の主要部のカム展開図である。 カム筒と案内筒の斜視図である。 2群ユニットとフォトインタラプタの斜視図である。 カメラ落下時の説明図である。 カムフォロワピンがカム溝から脱落した説明図である。 1群ユニットの斜視図である。 カム溝とカムフォロワピンの嵌合状態の拡大断面図である。 段差を設けたカム溝とカムフォロワピンの嵌合状態の拡大断面図である。 カム筒の斜視図である。 レンズ駆動及びぶれ補正のブロック回路構成図である。
符号の説明
1 1群ユニット
2 2群ユニット
3 3群ユニット
4 4群ユニット
5 絞りユニット
15 固定筒
15a、16a、16b、16c カム溝
15b 案内溝
15c、16d カム溝入口
16 カム筒
16e 段差
17 案内筒
21、22、23、25 カムフォロワピン
22a 平行カット面

Claims (3)

  1. レンズを保持しカムフォロワピンを設けたレンズ保持枠と、該レンズ保持枠の外側に設け前記レンズ保持枠を直進案内する案内筒と、該案内筒の外側に設け前記カムフォロワピンが係合するカム溝を有するカム筒とを有し、該カム筒は光軸を中心に回動し、前記レンズ保持枠が光軸方向に移動するレンズ鏡筒において、前記カム溝は光軸と直交方向に平行な平行フラット部と光軸と非直交方向のリフト部を持つ軌跡とを有し、前記平行フラット部には前記カム筒の内周面に対して垂直な垂直面を有し、前記カムフォロワピンに前記垂直面に平行な平行カット面を形成したことを特徴とするズームレンズ鏡筒。
  2. 前記リフト部のカム溝には前記平行カット面と干渉しない段差を設けたことを特徴とする請求項1に記載のズームレンズ鏡筒。
  3. レンズ鏡筒を備えたことを特徴とする請求項1又は2に記載のズームレンズ鏡筒。
JP2008169246A 2008-06-27 2008-06-27 レンズ鏡筒 Expired - Fee Related JP4948483B2 (ja)

Priority Applications (3)

Application Number Priority Date Filing Date Title
JP2008169246A JP4948483B2 (ja) 2008-06-27 2008-06-27 レンズ鏡筒
US12/491,854 US8068287B2 (en) 2008-06-27 2009-06-25 Lens barrel
CN200910150574.6A CN101614859B (zh) 2008-06-27 2009-06-26 透镜镜筒

Applications Claiming Priority (1)

Application Number Priority Date Filing Date Title
JP2008169246A JP4948483B2 (ja) 2008-06-27 2008-06-27 レンズ鏡筒

Publications (3)

Publication Number Publication Date
JP2010008802A true JP2010008802A (ja) 2010-01-14
JP2010008802A5 JP2010008802A5 (ja) 2011-08-04
JP4948483B2 JP4948483B2 (ja) 2012-06-06

Family

ID=41494597

Family Applications (1)

Application Number Title Priority Date Filing Date
JP2008169246A Expired - Fee Related JP4948483B2 (ja) 2008-06-27 2008-06-27 レンズ鏡筒

Country Status (3)

Country Link
US (1) US8068287B2 (ja)
JP (1) JP4948483B2 (ja)
CN (1) CN101614859B (ja)

Cited By (3)

* Cited by examiner, † Cited by third party
Publication number Priority date Publication date Assignee Title
US8373934B2 (en) 2010-06-14 2013-02-12 Panasonic Corporation Lens barrel
US8456754B2 (en) 2010-08-17 2013-06-04 Canon Kabushiki Kaisha Zoom lens barrel
US8699148B2 (en) 2010-06-14 2014-04-15 Panasonic Corporation Lens barrel

Families Citing this family (7)

* Cited by examiner, † Cited by third party
Publication number Priority date Publication date Assignee Title
JP5914819B2 (ja) * 2009-07-27 2016-05-11 パナソニックIpマネジメント株式会社 レンズ鏡筒および撮像装置
CN102841429A (zh) * 2011-06-21 2012-12-26 佛山普立华科技有限公司 变焦镜头
JP2015018003A (ja) * 2011-11-11 2015-01-29 パナソニック株式会社 レンズ鏡筒
TWI471628B (zh) * 2011-12-07 2015-02-01 Ability Entpr Co Ltd 鏡頭機構
JP5858902B2 (ja) * 2012-11-26 2016-02-10 キヤノン株式会社 レンズ鏡筒および撮像装置
JP6415102B2 (ja) * 2013-06-25 2018-10-31 キヤノン株式会社 レンズ鏡筒及びそれを有する光学機器
JP6737095B2 (ja) * 2016-09-13 2020-08-05 コニカミノルタ株式会社 レンズ鏡胴

Citations (3)

* Cited by examiner, † Cited by third party
Publication number Priority date Publication date Assignee Title
JP2002023036A (ja) * 2000-07-12 2002-01-23 Olympus Optical Co Ltd 鏡枠装置
JP2002267917A (ja) * 2001-03-08 2002-09-18 Fuji Photo Optical Co Ltd レンズ装置
JP2003084186A (ja) * 2001-09-10 2003-03-19 Fuji Photo Optical Co Ltd レンズ鏡胴

Family Cites Families (2)

* Cited by examiner, † Cited by third party
Publication number Priority date Publication date Assignee Title
US6049432A (en) * 1993-06-07 2000-04-11 Nikon Corporation Zoom lens barrel
US6487025B2 (en) * 2000-03-31 2002-11-26 Olympus Optical Co., Ltd. Lens barrel having a plurality of lens frames which are relatively movable in forward and backward directions

Patent Citations (3)

* Cited by examiner, † Cited by third party
Publication number Priority date Publication date Assignee Title
JP2002023036A (ja) * 2000-07-12 2002-01-23 Olympus Optical Co Ltd 鏡枠装置
JP2002267917A (ja) * 2001-03-08 2002-09-18 Fuji Photo Optical Co Ltd レンズ装置
JP2003084186A (ja) * 2001-09-10 2003-03-19 Fuji Photo Optical Co Ltd レンズ鏡胴

Cited By (6)

* Cited by examiner, † Cited by third party
Publication number Priority date Publication date Assignee Title
US8373934B2 (en) 2010-06-14 2013-02-12 Panasonic Corporation Lens barrel
JP2013033297A (ja) * 2010-06-14 2013-02-14 Panasonic Corp レンズ鏡筒
US8526122B2 (en) 2010-06-14 2013-09-03 Panasonic Corporation Lens barrel
US8699148B2 (en) 2010-06-14 2014-04-15 Panasonic Corporation Lens barrel
US8854742B2 (en) 2010-06-14 2014-10-07 Panasonic Corporation Lens barrel
US8456754B2 (en) 2010-08-17 2013-06-04 Canon Kabushiki Kaisha Zoom lens barrel

Also Published As

Publication number Publication date
US20100020413A1 (en) 2010-01-28
CN101614859B (zh) 2015-10-14
CN101614859A (zh) 2009-12-30
JP4948483B2 (ja) 2012-06-06
US8068287B2 (en) 2011-11-29

Similar Documents

Publication Publication Date Title
JP4948483B2 (ja) レンズ鏡筒
JP5995521B2 (ja) レンズ鏡筒およびカメラシステム
CN100399097C (zh) 伸缩式透镜镜筒和使用该镜筒的光学仪器
JP7722514B2 (ja) レンズ鏡筒及び撮像装置
JP2011150117A (ja) レンズ鏡筒及び撮像装置
JP4759241B2 (ja) レンズ鏡筒および撮影装置
JP5065196B2 (ja) レンズ鏡筒及び撮影装置
JP2002214667A (ja) レンズ鏡筒および撮影装置
JP2010169816A (ja) レンズ鏡筒
JP2008164681A (ja) レンズ鏡筒
JP6436619B2 (ja) 光学機器
JP2009237409A (ja) 光学機器の調整方法
JP4603833B2 (ja) レンズ装置及び撮像装置
JP2010169734A (ja) レンズ装置
JP7580928B2 (ja) レンズ装置および撮像装置
JP2011033847A (ja) レンズ装置および撮影装置
JP4439650B2 (ja) レンズ鏡筒およびこれを備えた光学機器
JP2012237856A (ja) 光学機器
JP2760669B2 (ja) レンズ基準位置調整装置を有する撮像装置
JP4642405B2 (ja) レンズ鏡筒、および、光学機器
JP2007212505A (ja) カメラ
JP4636913B2 (ja) レンズ鏡筒および光学機器
JP2009128714A (ja) レンズ鏡筒の製造方法、レンズ鏡筒、及び、カメラ
JP2014186285A (ja) レンズ鏡筒およびそれを用いた光学機器
JP2017122755A (ja) レンズ鏡筒および撮像装置

Legal Events

Date Code Title Description
RD01 Notification of change of attorney

Free format text: JAPANESE INTERMEDIATE CODE: A7421

Effective date: 20100218

RD01 Notification of change of attorney

Free format text: JAPANESE INTERMEDIATE CODE: A7421

Effective date: 20100630

A521 Request for written amendment filed

Free format text: JAPANESE INTERMEDIATE CODE: A523

Effective date: 20110617

A621 Written request for application examination

Free format text: JAPANESE INTERMEDIATE CODE: A621

Effective date: 20110617

A977 Report on retrieval

Free format text: JAPANESE INTERMEDIATE CODE: A971007

Effective date: 20120118

TRDD Decision of grant or rejection written
A01 Written decision to grant a patent or to grant a registration (utility model)

Free format text: JAPANESE INTERMEDIATE CODE: A01

Effective date: 20120207

A01 Written decision to grant a patent or to grant a registration (utility model)

Free format text: JAPANESE INTERMEDIATE CODE: A01

A61 First payment of annual fees (during grant procedure)

Free format text: JAPANESE INTERMEDIATE CODE: A61

Effective date: 20120306

FPAY Renewal fee payment (event date is renewal date of database)

Free format text: PAYMENT UNTIL: 20150316

Year of fee payment: 3

R151 Written notification of patent or utility model registration

Ref document number: 4948483

Country of ref document: JP

Free format text: JAPANESE INTERMEDIATE CODE: R151

FPAY Renewal fee payment (event date is renewal date of database)

Free format text: PAYMENT UNTIL: 20150316

Year of fee payment: 3

LAPS Cancellation because of no payment of annual fees