JP2010007280A - 防振セパレータ - Google Patents

防振セパレータ Download PDF

Info

Publication number
JP2010007280A
JP2010007280A JP2008165375A JP2008165375A JP2010007280A JP 2010007280 A JP2010007280 A JP 2010007280A JP 2008165375 A JP2008165375 A JP 2008165375A JP 2008165375 A JP2008165375 A JP 2008165375A JP 2010007280 A JP2010007280 A JP 2010007280A
Authority
JP
Japan
Prior art keywords
vibration
end plate
plate
mold
wall
Prior art date
Legal status (The legal status is an assumption and is not a legal conclusion. Google has not performed a legal analysis and makes no representation as to the accuracy of the status listed.)
Granted
Application number
JP2008165375A
Other languages
English (en)
Other versions
JP5208596B2 (ja
Inventor
Takashi Funaki
崇 舟木
Current Assignee (The listed assignees may be inaccurate. Google has not performed a legal analysis and makes no representation or warranty as to the accuracy of the list.)
Yakmo Co Ltd
Original Assignee
Yakmo Co Ltd
Priority date (The priority date is an assumption and is not a legal conclusion. Google has not performed a legal analysis and makes no representation as to the accuracy of the date listed.)
Filing date
Publication date
Application filed by Yakmo Co Ltd filed Critical Yakmo Co Ltd
Priority to JP2008165375A priority Critical patent/JP5208596B2/ja
Publication of JP2010007280A publication Critical patent/JP2010007280A/ja
Application granted granted Critical
Publication of JP5208596B2 publication Critical patent/JP5208596B2/ja
Active legal-status Critical Current
Anticipated expiration legal-status Critical

Links

Images

Landscapes

  • Underground Structures, Protecting, Testing And Restoring Foundations (AREA)

Abstract

【課題】土留壁側からの振動がコンクリート壁に伝達されることを確実に遮断できる高性能で、かつ、組み立て容易な防振セパレータを提供する。
【解決手段】地下に鉄筋コンクリート壁を構築する地下壁構造において防振板、型枠間に介在させる防振セパレータ1であって、第1端板11と、第2端板12とを隅ボルト14、高ナット13を用いて平行配置に取り付けたセパレータ本体10と、小径の突出円筒部15を第1端板11から防振板側に突出する状態とし、円筒基部16が第1端板11、第2端板12間に内装され、開口端面側が第2端板12に接合する状態として配置した防振材からなる防振突出円筒体23と、突出円筒部15内に設けた土留壁側の鋼材にねじ連結した壁側ねじ連結具7の突出端側が螺着される内装高ナットと、第2端板12の型枠に対向する側に設けた型枠側から延在する型枠側ねじ連結具8の突出端側が螺着される型枠側高ナット20を有する。
【選択図】図2

Description

本発明は、防振セパレータに関し、詳しくは、地下に形成した土留壁の部分に鉄筋コンクリート壁を構築する地下壁構造に用いられる防振セパレータに関するものである。
例えば、建物の外壁等に用いる鉄筋コンクリート製の壁を、地面を掘削して得られた土留壁の部分に施工する場合、土留壁に芯材となる鋼材及びゴム、発泡体等からなる防振板を添設し、次いでこの防振板に平行し、かつ、施工しようとするコンクリート壁の厚み分離隔した位置にベニヤ板等よりなる型枠を設置する。
型枠は長尺のボルト等よりなる連結具、座金、ナットを用いて防振板に対して所定の間隔をもって保持される。
連結具の一端は、防振板を貫通して土留壁の芯材となる鋼材に取り付けられ、他端は型枠を貫き座金、ナットを用いて型枠に固定する。
次に、防振板と型枠との間に鉄筋を配筋し、更にコンクリートを流し込み硬化させることにより、コンクリートの壁を打設する。この後、コンクリートが固まった段階でナット、座金を取り外して型枠をコンクリート壁面から除去する。更に、コンクリート壁面から外部に突出した連結具の端部を切断する。また、連結具は、切断された部分を除きコンクリート壁の中に残されることになる。
以上の工程を経て土留壁の部分に所望の鉄筋コンクリート製の壁を構築することができる。
ところで、例えば、地震による地盤振動、電車軌道等で発生した地盤振動は、地盤から土留壁に伝わるが、上記のように施工した場合、土留壁側からの振動は、防振板によりある程度吸収されるとしても、前記鋼材に取り付けられ型枠固定に用いた連結具に伝達される。
連結具とコンクリート壁はともに剛体であり、しかも、直接接しているため、その連結具に伝達された土留壁からの振動はコンクリート壁に直に伝わり、コンクリート壁が振動して振動音が生じる等の不都合が生じる。
このようなコンクリート壁の振動により生ずる振動音はできるだけ小さいことが望ましく、特に美術館、コンサートホール等の静かな環境が求められる建築物においては、地震や電車軌道等に起因する地盤振動を地下のコンクリート壁に可能な限り伝達しないようにすることが強く要請される。
そこで、このような土留壁側に接続された連結具で型枠を支持し、土留壁に配置された防振板と型枠との間にコンクリートを打設することにより構築するコンクリート壁の防振構造として、連結具の途中に防振セパレータを介在させる試みが種々提案されている。
例えば、特許文献1には、鞘管と、鞘管の両端に配された弾性部材と、鞘管を貫通する連結具を構成するねじ体とを有し、ねじ体の周囲に空間を設けるとともに、鞘管の型枠側の端部に配された弾性部材を型枠に当接させた構成の防振地下壁用セパレータが提案されている。
特許文献2には、地中連壁に沿って配設される防振材と、防振材側の取付部材と所定間隔離隔して配置される型枠とを支持部材により連結して、防振材、型枠間にコンクリート打設空間を形成するようにして構築する地下外壁の防振構造において、前記支持部材の取付部材側との固定部分を生分解性プラスチックによって構成したセパレータが提案されている。
しかし、特許文献1、2ともに、ねじ体や支持部材自体を地中壁側と型枠側とに分離するように構成したものではない。
特許第3732902号公報 特開2007−100303号公報
本発明が解決しようとする課題は、土留壁側からの振動がコンクリート壁に伝達されることを確実に遮断できる高性能で、しかも、簡略、かつ、組み立て容易な防振セパレータが存在しない点である。
本発明は、地下に形成した土留壁に鋼材及び防振板を添設し、前記防振板からコンクリート壁厚分離隔して型枠を設置し、前記防振板、型枠間にコンクリートを打設して鉄筋コンクリート壁を構築する地下壁構造において前記防振板、型枠間に介在させる防振セパレータであって、第1端板と、第2端板とをボルト、ナットを用いて所定の間隔を有する平行配置に取り付けたセパレータ本体と、小径の突出円筒部と、この突出円筒部と一体の大径の円筒基部とを有し、前記突出円筒部を前記第1端板から防振板側に突出する状態とし、前記円筒基部が前記第1端板、第2端板間に内装され、開口端面側が前記第2端板に接合する状態として配置した防振材からなる防振突出円筒体と、前記突出円筒部内に設けた前記土留壁側の鋼材にねじ連結した壁側ねじ連結具の突出端側が螺着される第1螺着部と、前記第2端板の前記型枠に対向する側に設けた前記型枠側から延在する型枠側ねじ連結具の突出端側が螺着される第2螺着部と、を有することを最も主要な特徴とする。
請求項1記載の発明によれば、土留壁側からの振動が鉄筋コンクリート壁に伝達されることを確実に遮断し、振動音が生じる等の不都合が発生することを無くすことができる高性能の防振性能を有する防振セパレータを提供することができる。
請求項2記載の発明によれば、請求項1記載の発明の効果を奏することに加え、防振突出円筒体の円形凹部内に、防水材を充填した構成としているので、ノロ発生や空洞発生を回避でき、これにより、鉄筋コンクリート壁の施工後においてコンクリート本来の強度を維持することができる効果をも奏する防振セパレータを提供することができる。
請求項3記載の発明によれば、請求項2記載の発明の効果を奏することに加え、その組み立てに際して、所要のボルト、ナットによる締め付け方式を採用しているので、組み立てが簡略であり、施工の簡便化、施工コストの低廉化をも図ることができ防振セパレータを提供することができる。
本発明は、土留壁側からの振動がコンクリート壁に伝達されることを確実に遮断できる高性能で、しかも、簡略、かつ、組み立て容易な防振セパレータを提供することを目的とするものである。
本発明は、上記目的を、地下に形成した土留壁に鋼材及び防振板を添設し、前記防振板からコンクリート壁厚分離隔して型枠を設置し、前記防振板、型枠間にコンクリートを打設して鉄筋コンクリート壁を構築する地下壁構造において前記防振板、型枠間に介在させる防振セパレータであって、矩形状の第1端板と、矩形状の第2端板とをボルト、ナットを用いて所定の間隔を有する平行配置に取り付けたセパレータ本体と、小径の突出円筒部と、この突出円筒部と一体の大径の円筒基部とを有し、前記突出円筒部を前記第1端板から防振板側に突出する状態とし、前記円筒基部が前記第1端板、第2端板間に内装され、その開口端面側が前記第2端板に接合する状態として配置した防振材からなる防振突出円筒体と、前記突出円筒部内にボルト及び座金を用いて固定配置した前記土留壁側の鋼材にねじ連結した壁側ねじ連結具の突出端側が螺着されるナットからなる第1螺着部と、前記第2端板の前記型枠に対向する側にボルトを用いて固定配置した前記型枠側から延在する型枠側ねじ連結具の突出端側が螺着されるナットからなる第2螺着部と、前記防振突出円筒体の円筒基部の開口内に充填した防水材と、を有する構成により実現した。
以下に、本発明の実施例に係る防振セパレータ1について図面を参照して詳細に説明する。
本実施例に係る防振セパレータ1は、図1に示すように、建物の外壁等に用いる鉄筋コンクリート製の壁(以下、「鉄筋コンクリート壁」という)2を、地面を掘削して得られた地下の防振連壁を形成する土留壁3の部分に施工する場合に使用するものである。
すなわち、前記土留壁3に芯材となる鋼材4及びゴム、発泡体等からなる防振板5を添設し、次いでこの防振板5に平行し、かつ、施工しようとする鉄筋コンクリート壁2の厚みtの分離隔した位置にベニヤ板等よりなる型枠6を設置する。
そして、防振板5と型枠6との間に、本実施例に係る防振セパレータ1をねじ棒材からなる壁側ねじ連結具7、長尺のねじ棒材等からなる型枠側ねじ連結具8を用いてねじ結合により介在させるものである。
次に、本実施例に係る防振セパレータ1の構成について、図2乃至図8をも参照して詳述する。
本実施例に係る防振セパレータ1は、図2に示すように、防振板5側に配置する矩形状で四隅をR状とした第1端板11と、型枠6側に配置する同じく矩形状で四隅をR状とした第2端板12とを所定の間隔で対向配置し、これらによりセパレータ本体10を構成する。
前記第1端板11には、図4に示すように、その中心部に中心孔11bを設け、またその四隅近傍位置に合計四個のボルト孔11aを設けている。
前記第2端板12には、図6に示すように、その中心部に中心孔12bを設け、またその四隅近傍位置に合計四個のボルト孔12aを設けている。更に、前記第2端板12には、前記中心孔12bを挟んで同図において上下配置に注入孔12c、吐出孔12dを設けている。
このように構成した前記第1端板11、第2端板12を、図2、図3、図5に示すように、所定の間隔で平行配置し、各ボルト孔11a、ボルト孔12a間に各々高ナット13を配置するとともに、各ボルト孔11a、ボルト孔12aの外側から、合計8個の隅ボルト14を各高ナット13に各々ねじ込むことで、前記第1端板11、第2端板12を一体的に連結する。この場合に、前記隅ボルト14にはねじロック剤を塗布するようにしている。
なお、前記第2端板12は、以下に述べるように、防振突出円筒体23、内装高ナット17、座金18及び内装座金固定ボルト19を前記第1端板11側に配置した後において各高ナット13の他端側に連結されるものである。
前記第1端板11、第2端板12の間には、ゴム材又は発泡材等のような防振性能を有する素材により形成した防振突出円筒体23が配置される。
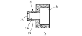
前記防振突出円筒体23は、図8にも示すように、小径の突出円筒部15と、この突出円筒部15と一体の大径の円筒基部16とを有するとともに、前記突出円筒部15内を中心方向に貫通する状態に第2端板12側が開口した円形凹部16a、高ナット孔15a及びこの高ナット孔15aより小径の連結具挿入孔15bを連ねている。
この防振突出円筒体23は、前記第2端板12を各高ナット13に取り付ける前に、突出円筒部15を前記第1端板11の中心孔11bを貫通させることで第1端板11に添設する。
そして、前記高ナット孔15a内に第1螺着部を構成する内装高ナット17を挿入し、円形凹部16aの底面に図7に示す円形の座金18を配置して、この状態でねじロック剤を塗布した内装座金固定ボルト19を前記座金18を貫通させ、その先端部が内装高ナット17のねじ孔の途中位置に至る状態となるようにねじ込むことで、前記内装高ナット17と座金18とを防振突出円筒体23の内部で連結固定する。また、前記座金18と円形凹部16aの底面とは接着剤を用いて圧着固定している。
一方、前記第2端板12を取り付けるに先立ち、この第2端板12の外面(型枠6側の面)において中心孔12bの位置に第2螺着部を構成する型枠側高ナット20を配置し、内面(第1端板11側の面)側からねじロック剤を塗布した内装高ナット固定ボルト21を前記中心孔12bを貫通させ、その先端が型枠側高ナット20のねじ孔の途中位置に至る状態となるようにねじ込むことで、型枠側高ナット20を第2端板12に前記型枠6側に突出する状態で一体的に連結する。
この後、4個の隅ボルト14を用いて前記第2端板12を各高ナット13の端面に連結して図2に示す状態とする。この状態では、前記防振突出円筒体23の開口側の端面が第2端板12の内面に密接する状態に設定している。
更に、前記円形凹部16a内には、空洞発生を防止するためのシリコン等からなる防水材(コーキング材)22を充填している。
この防水材22は、上述のようにして各要素の組み立てを行った後に、前記第2端板12に設けた注入孔12cから円形凹部16a内に前記吐出孔12dからはみ出るに至るまで注入して、円形凹部16a内に充満させ、更に、前記注入孔12c、吐出孔12dの表面部分を表面処理して、外部に流出しないようにしている。
このようにして、組み立てが完了した前記防振セパレータ1においては、図2に示すように、前記突出円筒部15における連結具挿入孔15bの内部に位置する内装高ナット17には、前記壁側ねじ連結具7をねじ込むための所定の深さのねじ孔が存在し、また、前記型枠側高ナット20にも前記型枠側ねじ連結具8をねじ込むための所定の深さのねじ孔が存在することになる。
次に、本実施例に係る防振セパレータ1の作用、効果について説明する。
本実施例に係る防振セパレータ1においては、上述したように、壁側ねじ連結具7の一端を前記土留壁3の鋼材4にねじ結合により連結するとともに、壁側ねじ連結具7の突出端側を前記防振突出円筒体23の連結具挿入孔15b内に挿入し、前記内装高ナット17にねじ結合(螺着)することで防振板5に取り付ける。このとき、防振セパレータ1の突出円筒部15の一部は前記防振板5内に埋没した状態となる。
一方、本実施例に係る防振セパレータ1における型枠側高ナット20に対しては、前記型枠6の外側にナット等により一端を固定し、型枠6を貫通させた型枠側ねじ連結具8の突出端側をねじ結合(螺着)することで前記型枠6を図2に示す状態に固定配置するものである。
このようにして、前記土留壁3の部分に添設した防振板5と、鉄筋コンクリート壁2の厚みtの分離隔し、かつ、前記防振セパレータ1を介在させつつ配置した型枠6との間に鉄筋を配筋した後、コンクリートを流し込んで硬化させることで、鉄筋コンクリート壁2を構築する。
そして、コンクリート硬化後、前記型枠6を取り外し、鉄筋コンクリート壁2の壁面から突出する型枠側ねじ連結具8の一端部を切断することで鉄筋コンクリート壁2の施工を完了する。
以上説明した本実施例に係る防振セパレータ1によれば、この防振セパレータ1における前記壁側ねじ連結具7に対しては、地震等の発生に伴って前記土留壁3側からの振動が伝達され、前記防振突出円筒体23内の内装高ナット17も振動するが、この振動は前記防振突出円筒体23により吸収される振動絶縁構造を採用しているので、前記セパレータ本体10、前記型枠側高ナット20への振動伝達が遮断される。
この結果、土留壁3側からの振動が鉄筋コンクリート壁2に伝達されることを確実に遮断し、振動音が生じる等の不都合が発生することを無くすことができる。
また、本実施例に係る防振セパレータ1によれば、第1端板11、第2端板12、高ナット13、隅ボルト14から構成されるセパータ本体10、防振突出円筒体23、内装高ナット17、型枠側高ナット20等からなる全体構造を薄型、小型に構成でき、これにより、防振セパレータ1自体の製造コスト低減を図ることができる。
本実施例に係る防振セパレータ1によれば、防振セパレータ1を組み立てる場合に所要のボルト、ナットによる締め付け方式を採用しているので、組み立てが簡略であり、施工の簡便化、施工コストの低廉化を図ることができる。
本実施例に係る防振セパレータ1によれば、前記防振突出円筒体23の円形凹部16a内に、防水材22を充填しているので、円形凹部16a内でのノロ(コンクリートの肉だれ)発生による防振性能の劣化や、コンクリート打設後の空洞発生を回避でき、これにより、鉄筋コンクリート壁2の施工後においてコンクリート本来の強度を維持することができる。
本実施例に係る防振セパレータ1によれば、セパータ本体10に配置した前記防振突出円筒体23により、前記壁側ねじ連結具7と型枠側ねじ連結具8とを完全に分離する構造としているので、仮に前記土留壁3側から壁側ねじ連結具7を伝わってセパータ本体10に水が浸入しようとしても前記防振突出円筒体23により阻止することができ、これにより、型枠側ねじ連結具8から外部への水漏れを無くすことができる。
本発明の防振セパレータは、鉄筋コンクリート構造のビルディング、橋梁、発電所用等のダム、その他各種の鉄筋コンクリート構造物の防振対策として広範に応用可能である。
本発明の実施例に係る防振セパレータの具体的使用態様を示す概略図である。 本実施例に係る防振セパレータの断面図である。 本実施例に係る防振セパレータの左側面図である。 本実施例に係る防振セパレータの第1端板を示す平面図である。 本実施例に係る防振セパレータの右側面図である。 本実施例に係る防振セパレータの第2端板を示す平面図である。 本実施例に係る防振セパレータの座金を示す平面図である。 本実施例に係る防振セパレータの防振突出円筒体を示す断面図である。
符号の説明
1 防振セパレータ
2 鉄筋コンクリート壁
3 土留壁
4 鋼材
5 防振板
6 型枠
7 壁側ねじ連結具
8 型枠側ねじ連結具
10 セパレータ本体
11 第1端板
11a ボルト孔
11b 中心孔
12 第2端板
12a ボルト孔
12b 中心孔
12c 注入孔
12d 吐出孔
13 高ナット
14 隅ボルト
15 突出円筒部
15a 高ナット孔
15b 連結具挿入孔
16 円筒基部
16a 円形凹部
17 内装高ナット
18 座金
19 内装座金固定ボルト
20 型枠側高ナット
21 内装高ナット固定ボルト
22 防水材
23 防振突出円筒体

Claims (3)

  1. 地下に形成した土留壁に鋼材及び防振板を添設し、前記防振板からコンクリート壁厚分離隔して型枠を設置し、前記防振板、型枠間にコンクリートを打設して鉄筋コンクリート壁を構築する地下壁構造において前記防振板、型枠間に介在させる防振セパレータであって、
    第1端板と、第2端板とをボルト、ナットを用いて所定の間隔を有する平行配置に取り付けたセパレータ本体と、
    小径の突出円筒部と、この突出円筒部と一体の大径の円筒基部とを有し、前記突出円筒部を前記第1端板から防振板側に突出する状態とし、前記円筒基部が前記第1端板、第2端板間に内装され、開口端面側が前記第2端板に接合する状態として配置した防振材からなる防振突出円筒体と、
    前記突出円筒部内に設けた前記土留壁側の鋼材にねじ連結した壁側ねじ連結具の突出端側が螺着される第1螺着部と、
    前記第2端板の前記型枠に対向する側に設けた前記型枠側から延在する型枠側ねじ連結具の突出端側が螺着される第2螺着部と、
    を有することを特徴とする防振セパレータ。
  2. 地下に形成した土留壁に鋼材及び防振板を添設し、前記防振板からコンクリート壁厚分離隔して型枠を設置し、前記防振板、型枠間にコンクリートを打設して鉄筋コンクリート壁を構築する地下壁構造において前記防振板、型枠間に介在させる防振セパレータであって、
    矩形状の第1端板と、矩形状の第2端板とをボルト、ナットを用いて所定の間隔を有する平行配置に取り付けたセパレータ本体と、
    小径の突出円筒部と、この突出円筒部と一体の大径の円筒基部とを有し、前記突出円筒部を前記第1端板から防振板側に突出する状態とし、前記円筒基部が前記第1端板、第2端板間に内装され、その開口端面側が前記第2端板に接合する状態として配置した防振材からなる防振突出円筒体と、
    前記突出円筒部内に設けた前記土留壁側の鋼材にねじ連結した壁側ねじ連結具の突出端側が螺着される第1螺着部と、
    前記第2端板の前記型枠に対向する側に設けた前記型枠側から延在する型枠側ねじ連結具の突出端側が螺着される第2螺着部と、
    前記防振突出円筒体の円筒基部の開口内に充填した防水材と、
    を有することを特徴とする防振セパレータ。
  3. 地下に形成した土留壁に鋼材及び防振板を添設し、前記防振板からコンクリート壁厚分離隔して型枠を設置し、前記防振板、型枠間にコンクリートを打設して鉄筋コンクリート壁を構築する地下壁構造において前記防振板、型枠間に介在させる防振セパレータであって、
    矩形状の第1端板と、矩形状の第2端板とをボルト、ナットを用いて所定の間隔を有する平行配置に取り付けたセパレータ本体と、
    小径の突出円筒部と、この突出円筒部と一体の大径の円筒基部とを有し、前記突出円筒部を前記第1端板から防振板側に突出する状態とし、前記円筒基部が前記第1端板、第2端板間に内装され、その開口端面側が前記第2端板に接合する状態として配置した防振材からなる防振突出円筒体と、
    前記突出円筒部内にボルト及び座金を用いて固定配置した前記土留壁側の鋼材にねじ連結した壁側ねじ連結具の突出端側が螺着されるナットからなる第1螺着部と、
    前記第2端板の前記型枠に対向する側にボルトを用いて固定配置した前記型枠側から延在する型枠側ねじ連結具の突出端側が螺着されるナットからなる第2螺着部と、
    前記防振突出円筒体の円筒基部の開口内に充填した防水材と、
    を有することを特徴とする防振セパレータ。
JP2008165375A 2008-06-25 2008-06-25 防振セパレータ Active JP5208596B2 (ja)

Priority Applications (1)

Application Number Priority Date Filing Date Title
JP2008165375A JP5208596B2 (ja) 2008-06-25 2008-06-25 防振セパレータ

Applications Claiming Priority (1)

Application Number Priority Date Filing Date Title
JP2008165375A JP5208596B2 (ja) 2008-06-25 2008-06-25 防振セパレータ

Publications (2)

Publication Number Publication Date
JP2010007280A true JP2010007280A (ja) 2010-01-14
JP5208596B2 JP5208596B2 (ja) 2013-06-12

Family

ID=41588079

Family Applications (1)

Application Number Title Priority Date Filing Date
JP2008165375A Active JP5208596B2 (ja) 2008-06-25 2008-06-25 防振セパレータ

Country Status (1)

Country Link
JP (1) JP5208596B2 (ja)

Cited By (2)

* Cited by examiner, † Cited by third party
Publication number Priority date Publication date Assignee Title
JP2016156183A (ja) * 2015-02-24 2016-09-01 昭和電線デバイステクノロジー株式会社 防振セパレーター
CN111119233A (zh) * 2019-12-14 2020-05-08 中冶天工集团有限公司 一种混凝土侧墙预埋铁件固定机构及其使用方法

Citations (3)

* Cited by examiner, † Cited by third party
Publication number Priority date Publication date Assignee Title
JPS61197337U (ja) * 1985-05-31 1986-12-09
JPH06220938A (ja) * 1993-01-21 1994-08-09 Nippon Light Metal Co Ltd 型枠兼用ボードを用いるコンクリート打込み型枠パネルの施工法
JPH07102586A (ja) * 1993-09-30 1995-04-18 Bridgestone Corp 弾性セパレーター

Patent Citations (3)

* Cited by examiner, † Cited by third party
Publication number Priority date Publication date Assignee Title
JPS61197337U (ja) * 1985-05-31 1986-12-09
JPH06220938A (ja) * 1993-01-21 1994-08-09 Nippon Light Metal Co Ltd 型枠兼用ボードを用いるコンクリート打込み型枠パネルの施工法
JPH07102586A (ja) * 1993-09-30 1995-04-18 Bridgestone Corp 弾性セパレーター

Cited By (3)

* Cited by examiner, † Cited by third party
Publication number Priority date Publication date Assignee Title
JP2016156183A (ja) * 2015-02-24 2016-09-01 昭和電線デバイステクノロジー株式会社 防振セパレーター
CN111119233A (zh) * 2019-12-14 2020-05-08 中冶天工集团有限公司 一种混凝土侧墙预埋铁件固定机构及其使用方法
CN111119233B (zh) * 2019-12-14 2022-02-11 中冶天工集团有限公司 一种混凝土侧墙预埋铁件固定机构及其使用方法

Also Published As

Publication number Publication date
JP5208596B2 (ja) 2013-06-12

Similar Documents

Publication Publication Date Title
KR101890860B1 (ko) 이중 피씨벽패널 조립체 및 이를 이용한 합성 벽체 시공 방법
KR20100088658A (ko) 내진형 조립식 배관지지가대
KR101670553B1 (ko) Pc벽체가 기존 건축물 외면에 접합되는 내진보강구조
KR102644511B1 (ko) 매립형 포스트 텐션을 이용한 pc벽체의 수직접합장치 및 시공방법
JP5208596B2 (ja) 防振セパレータ
KR100887160B1 (ko) 다중접속 탄성장치를 이용한 구조물 내진보강공법
JP3803434B2 (ja) 建築構造物の施工における免震装置の取付工法
KR100738999B1 (ko) 강재 덕트를 이용한 조립구조를 가지는 프리캐스트콘크리트 세그먼트 및 그 연결 조립구조
KR102192782B1 (ko) 마이크로파일 면진 고무패드 및 이를 이용한 내진과 면진 기능을 갖는 마이크로파일의 시공방법
JPH11140994A (ja) プレキャストコンクリート部材の接合構造
JP4696709B2 (ja) 壁パネル接合構造、地中連続壁の構築方法、及び地中連続壁
KR100704609B1 (ko) 복합 기능을 갖는 프리캐스트 콘크리트 박스 암거의 구조
KR101310843B1 (ko) 장선 및 멍에부재가 일체화된 보강패널 및 이를 이용한 거푸집조립체
KR101089266B1 (ko) 콘크리트용 거푸집
JP5447896B1 (ja) 建築、構造物のブロック製品と組積工法
JP3608130B2 (ja) 増設耐震壁の面外転倒防止構造
JP4301903B2 (ja) 型枠ユニット
JP6788241B2 (ja) 開口部用埋設部材、それを用いた開口部構造の施工方法、及び開口部構造
JP5003936B2 (ja) 補強構造
JP4438536B2 (ja) 壁パネル接合構造、地中連続壁の構築方法、および地中連続壁
KR101934804B1 (ko) 이중벽체구조 및 이를 이용한 구조물 제작 및 설치방법
KR200415020Y1 (ko) 거푸집판넬의 연결조립구
CN115030326B (zh) 一种全预制装配式民居结构
CN113846774B (zh) 一种建筑用抗震墙体及其施工工艺
JP2001254532A (ja) 免震装置の取付構造および取付方法

Legal Events

Date Code Title Description
A621 Written request for application examination

Free format text: JAPANESE INTERMEDIATE CODE: A621

Effective date: 20110624

A977 Report on retrieval

Free format text: JAPANESE INTERMEDIATE CODE: A971007

Effective date: 20120718

TRDD Decision of grant or rejection written
A01 Written decision to grant a patent or to grant a registration (utility model)

Free format text: JAPANESE INTERMEDIATE CODE: A01

Effective date: 20130122

A61 First payment of annual fees (during grant procedure)

Free format text: JAPANESE INTERMEDIATE CODE: A61

Effective date: 20130220

FPAY Renewal fee payment (event date is renewal date of database)

Free format text: PAYMENT UNTIL: 20160301

Year of fee payment: 3

R150 Certificate of patent or registration of utility model

Ref document number: 5208596

Country of ref document: JP

Free format text: JAPANESE INTERMEDIATE CODE: R150

Free format text: JAPANESE INTERMEDIATE CODE: R150

R250 Receipt of annual fees

Free format text: JAPANESE INTERMEDIATE CODE: R250

R250 Receipt of annual fees

Free format text: JAPANESE INTERMEDIATE CODE: R250

R250 Receipt of annual fees

Free format text: JAPANESE INTERMEDIATE CODE: R250

R250 Receipt of annual fees

Free format text: JAPANESE INTERMEDIATE CODE: R250

R250 Receipt of annual fees

Free format text: JAPANESE INTERMEDIATE CODE: R250

R250 Receipt of annual fees

Free format text: JAPANESE INTERMEDIATE CODE: R250

R250 Receipt of annual fees

Free format text: JAPANESE INTERMEDIATE CODE: R250

R250 Receipt of annual fees

Free format text: JAPANESE INTERMEDIATE CODE: R250

R250 Receipt of annual fees

Free format text: JAPANESE INTERMEDIATE CODE: R250

R250 Receipt of annual fees

Free format text: JAPANESE INTERMEDIATE CODE: R250