JP2010005151A - 内視鏡用アンカー付把持装置 - Google Patents

内視鏡用アンカー付把持装置 Download PDF

Info

Publication number
JP2010005151A
JP2010005151A JP2008168126A JP2008168126A JP2010005151A JP 2010005151 A JP2010005151 A JP 2010005151A JP 2008168126 A JP2008168126 A JP 2008168126A JP 2008168126 A JP2008168126 A JP 2008168126A JP 2010005151 A JP2010005151 A JP 2010005151A
Authority
JP
Japan
Prior art keywords
traction
anchor
gripping
load
endoscope
Prior art date
Legal status (The legal status is an assumption and is not a legal conclusion. Google has not performed a legal analysis and makes no representation as to the accuracy of the status listed.)
Granted
Application number
JP2008168126A
Other languages
English (en)
Other versions
JP5224278B2 (ja
Inventor
Hisamitsu Kobayashi
寿光 小林
Kunitoshi Ikeda
邦利 池田
Naoyuki Naito
直幸 内藤
Akiyoshi Matsubara
晃義 松原
Current Assignee (The listed assignees may be inaccurate. Google has not performed a legal analysis and makes no representation or warranty as to the accuracy of the list.)
Hoya Corp
National Cancer Center Japan
Original Assignee
Hoya Corp
National Cancer Center Japan
Priority date (The priority date is an assumption and is not a legal conclusion. Google has not performed a legal analysis and makes no representation as to the accuracy of the date listed.)
Filing date
Publication date
Application filed by Hoya Corp, National Cancer Center Japan filed Critical Hoya Corp
Priority to JP2008168126A priority Critical patent/JP5224278B2/ja
Publication of JP2010005151A publication Critical patent/JP2010005151A/ja
Application granted granted Critical
Publication of JP5224278B2 publication Critical patent/JP5224278B2/ja
Active legal-status Critical Current
Anticipated expiration legal-status Critical

Links

Images

Landscapes

  • Surgical Instruments (AREA)

Abstract

【課題】把持部材及び磁気アンカーを内視鏡の内部に通したフック部材と簡単に接続できる内視鏡用アンカー付把持装置を提供する。
【解決手段】牽引分離部材28が、牽引部材69から所定の保持解除荷重以上の荷重を受けないときは、収納筒部材38に接触することにより牽引分離部材の収納筒部材に対する相対移動を規制し、かつ、保持解除荷重以上の荷重を受けたときは相対移動を許容する保持部24、29を備え、牽引分離部材の接続部は、牽引部材に保持解除荷重より大きい所定の分離荷重以上の荷重が掛かったときに、把持部材との接続を解除する。
【選択図】図14

Description

本発明は、患者の体内の配置した磁気アンカーを体外に配置した磁力発生装置の磁力によって移動させる磁気アンカー遠隔誘導システムにおいて利用可能な内視鏡用アンカー付把持装置に関する。
特許文献1には、磁気アンカー、把持部材(クリップ)、クリップ受容管、及びループワイヤ(牽引分離部材)からなるアンカー付把持装置が開示してある。
このアンカー付把持装置は、磁気アンカーから延びる連結ひもとループワイヤを把持部材に接続し、把持部材をクリップ受容管の内部に収納することにより、磁気アンカー、把持部材(クリップ)、クリップ受容管、及びループワイヤを一体化したものである。アンカー付把持装置は、そのループワイヤに内視鏡の処置具挿通路の先端開口部(挿入部の先端面に設けた孔)から突出させた操作ワイヤ(牽引部材)の先端部に固定したフック部を掛け、操作ワイヤをその基端側に引いてフック部とアンカー付把持装置の一部を処置具挿通路内に位置させることにより、処置具挿通路の先端開口部に装着する。
内視鏡を用いてアンカー付把持装置を患者の体内に配置した後に、上記操作ワイヤを引き操作すると、把持部材が一旦開いた後に再度閉じて患部を把持する。そして、患者の外部に配置した磁力発生装置の磁力によって磁気アンカーを移動させると、磁気アンカーに引っ張られた把持部材によって患部が持ち上げられる。このようにして患部を持ち上げると、処置具によって患部を簡単に切除できる。
特開2004−357814号公報
アンカー付把持装置と操作ワイヤを接続する際はループワイヤにフック部を掛ける必要がある。
しかし、ループワイヤは可撓性を有する柔軟な部材ゆえその形状は安定せず、しかもクリップ受容管に対して相対移動可能である。そのため、ループワイヤにフック部を掛ける作業は容易でなく、術者の負担が大きかった。
本発明は、把持部材及び磁気アンカーを内視鏡の内部に通したフック部材と簡単に接続できる内視鏡用アンカー付把持装置を提供することを目的とする。
本発明の内視鏡用アンカー付把持装置は、開閉可能であり、閉じたときに対象物内部の対象部位を把持する把持部材と、該把持部材に柔軟な連結部材を介して連結した、上記対象物外部に配設した磁力発生装置が発生する磁力に吸引される磁気アンカーと、牽引部材の先端部に固定したフック部材に接続し、かつ上記把持部材に接続する接続部を備える、外力が掛からないときは形状を保持する弾性材料からなる牽引分離部材と、上記把持部材及び牽引分離部材の一部を内部に収納する収納筒部材と、を備え、上記牽引分離部材が、上記牽引部材から所定の保持解除荷重以上の荷重を受けないときは、上記収納筒部材に接触することにより該牽引分離部材が上記収納筒部材に対して該収納筒部材の軸線方向に相対移動するのを規制し、かつ、該保持解除荷重以上の荷重を受けたときは、該牽引分離部材が上記軸線方向に相対移動するのを許容する保持部を備え、上記牽引分離部材の上記接続部は、上記牽引部材に上記保持解除荷重より大きい所定の分離荷重以上の荷重が掛かったときに、上記把持部材との接続を解除することを特徴としている。
上記接続部が、互いに接離可能で、上記牽引部材に上記分離荷重以上の荷重が掛からないときは互いに接触することにより上記把持部材が上記牽引分離部材から分離するのを規制し、かつ、上記牽引部材に上記分離荷重以上の荷重が掛かったときは互いに離間して、上記把持部材が上記牽引分離部材から分離するのを許容する一対の接続片からなるものとしてもよい。
さらにこの場合は、上記牽引分離部材を金属製または樹脂製とし、上記一対の接続片どうしを、上記牽引部材に上記分離荷重以上の荷重が掛かったときに破断するレーザ溶接、スポット溶接または接着剤により結合してもよい。
また、上記牽引分離部材を金属製または樹脂製とし、上記接続部に、周辺部に比べて機械的強度が弱い脆弱部を形成してもよい。
上記保持部が、上記把持部材に形成した、上記収納筒部材の長手方向の一方の端面に当接する第1接触部と、上記牽引分離部材に形成した、上記収納筒部材の長手方向の他方の端面に当接する第2接触部と、を具備してもよい。
この場合は、上記収納筒部材に係止孔または係止凹部を形成し、上記保持部が、上記牽引分離部材に形成した、上記係止孔または係止凹部に係合する係止突起であり、該係止突起は、上記牽引部材に所定の保持解除荷重以上の荷重が掛からないときは上記係止孔または係止凹部との係合状態を保持し、該保持解除荷重以上の荷重が掛かったときは該係止孔または係止凹部から脱出するのが好ましい。
上記牽引分離部材が、上記接続部を有する薄肉部と、該薄肉部より肉厚であり、かつ上記牽引部材に接続する厚肉部と、を備えていてもよい。
この場合は、上記薄肉部と上記厚肉部を、別部材として成形した後に一体化してもよい。
本発明の牽引分離部材は弾性変形可能であるものの、外力が掛からないときは形状を保持しかつ収納筒部材に対して相対移動しないので、牽引部材の先端部に固定したフック部材を掛けるのが容易である。そのため、牽引分離部材と牽引部材の取り付け時間を短くすることができ、術者の負担を軽減できる。
以下、本発明の第1の実施形態を、図1から図20を参照しながら詳しく説明する。
本実施形態のアンカー付把持装置10Aは、内視鏡50の内部に挿入した操作装置60を介して病変部Xに取り付けられるものであり、かつ患者Aの体外に配置した磁気アンカー誘導装置70の磁力によって吸引制御されるものである。
まず、図1から図7を参照して、磁気アンカー11(連結ひも15)、把持部材18、牽引分離部材28及び収納筒部材38からなるアンカー付把持装置10Aの構成について説明する。
強磁性体(例えば、純鉄、鉄合金のほか、プラチナマグネット、希土類磁石、テルビウム・ディスプロシウム・鉄合金などの磁石)からなりかつ略三角錐形状をなす磁気アンカー11は、その端部に突部12を有しており、突部12の端面に形成した凹部内に固定した固定部13には、柔軟性を有しかつ全体として環状をなす連結ひも15が接続してある。連結ひも15としては、例えば、手術用縫合糸、釣糸、金属製ワイヤを利用可能である。
図6等に示すように、金属等の弾性材料からなる把持部材18は一対の開閉片19を具備している。一対の開閉片19は共に、略平行な基端部20と、基端部20に連なる中間部21と、中間部21に連なる先端把持部22と、を具備している。中間部21における基端部20に連なる部分は第1傾斜部(第1接触部)24となっており、先端把持部22における中間部21に連なる部分は第2傾斜部25となっている。さらに、両先端把持部22の先端には互いに対向する把持爪26が設けてある。なお、把持部材18を3枚以上の開閉片19からなるものすることも可能である。
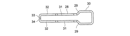
弾性材料である金属からなる牽引分離部材28は、互いに近づく方向に傾斜する一対の傾斜当接部(第2接触部)29を有するループ部30と、一対の傾斜当接部29から略平行に延び、かつ側面視における幅がループ部30より広幅(図3参照)である一対の中間広幅部31と、一対の中間広幅部31から略平行に延びかつループ部30と略同幅(図3参照)である一対の先端部32と、を具備している。一対の先端部32の先端には互いに対向する接続片(接続部)33と接続片(接続部)34がそれぞれ設けてある。図4に示すように、接続片33の端面は正面視で直線をなす平面であるが、接続片34の端面は正面視略円弧状をなす湾曲面である。接続片33と接続片34は牽引分離部材28自身の弾性力によって互いの端面同士が点接触している。なお、図5に示すように、一方の先端部32の接続片(接続部)36のループ部30との対向端面を正面視略三角形状に加工してもよい。
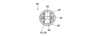
収納筒部材38は連結ひも15、把持部材18及び牽引分離部材28の一部を収納するための部材であり、図1等に示すように両端が開口する略円筒形をなしている。収納筒部材38は大径部39と小径部40を具備している。大径部39側の開口縁部はテーパ面41となっており、大径部39と小径部40に跨る一本のスリット42が設けてある。さらに、収納筒部材38の内部孔43の内径はその全長にわたって一定である。この収納筒部材38は、例えばステンレスやプラスチックや超弾性合金により成形することができる。
磁気アンカー11(連結ひも15)、把持部材18、牽引分離部材28及び収納筒部材38は次の手順により組み立てる。
まず、図2に示す状態にある牽引分離部材28の接続片33と接続片34を牽引分離部材28自身の弾性力に抗して引き離し、接続片33と接続片34の間に形成された隙間を通して把持部材18における一対の基端部20どうしの連結部を牽引分離部材28の内部に通す。そして、接続片33と接続片34同士を接触(点接触)させて、両者の接触部をレーザ溶接、スポット溶接または接着剤により結合する。さらに、離間状態にある一対の先端部32の中間部(図2参照)を互いに近づく方向に塑性変形させることにより、当該部分を互いに接触するくびれ部35とする(図1参照)。先端部32にくびれ部35を形成すると、把持部材18の基端部20がくびれ部35よりループ部30側に移動するのを規制できる。
次に、連結ひも15の一部を収納筒部材38のスリット42を利用して収納筒部材38の内部に挿入し、大径部39の開口部を通して収納筒部材38の外部に引き出す。そして、連結ひも15の当該引き出した部分(ループ状の部分)に把持部材18の一方の開閉片19に通し、このループ状部分を把持部材18における一対の基端部20どうしの連結部に掛ける(図1参照)。
続いて、収納筒部材38の小径部40側の端面開口部から紐あるいは先端にフック部を備える硬質部材からなる棒を挿入し、紐あるいはフック部を収納筒部材38の大径部39側の開口部から突出させる。そして、この紐あるいはフック部を牽引分離部材28のループ部30に引っ掛け、紐あるいは棒を小径部40側の端面側に引っ張る。すると、牽引分離部材28のループ部30が幅を狭める方向に弾性変形しながら内部孔43の内部に引き込まれる。図1に示すようにループ部30が小径部40側の端面開口部から脱出するまで紐あるいは棒を引っ張れば、磁気アンカー11(連結ひも15)、把持部材18、牽引分離部材28及び収納筒部材38の組み付け作業(アンカー付把持装置10Aの構成作業)が完了する。このとき、図1に示すように、一対の傾斜当接部29が収納筒部材38の小径部40側の開口部に接触すると共に把持部材18の一対の第1傾斜部24が収納筒部材38のテーパ面41に接触し、さらに図7に示すように一対の中間広幅部31が内部孔43に接触するので、収納筒部材38に対して把持部材18及び牽引分離部材28が図1の位置に保持される。
アンカー付把持装置10Aが図1及び図6に示す状態にあるとき、把持部材18は一対の開閉片19の把持爪26が互いに接触する全閉状態となる。
この状態からループ部30を小径部40から離れる方向に所定の大きさである保持解除荷重以上の力で引くと、図8に示すように牽引分離部材28が塑性変形し、牽引分離部材28の幅が収納筒部材38の内部孔43及び規制管63の小径部65の内周面の内径より短くなる。さらに、把持部材18の一対の第1傾斜部24がテーパ面41に接触しながら互いに近づく方向に弾性変形し、一対の中間部21が内部孔43内に収納される。すると、一対の中間部21が内部孔43の周面に接触することにより互いに近づく方向に弾性変形するので、この動きに連動して一対の把持部材18が開き、把持部材18は図8に示す全開状態となる。
この状態からループ部30をさらに引くと、図9に示すように牽引分離部材28の塑性変形がさらに進行して牽引分離部材28の幅がさらに狭くなり、かつ、把持部材18の一対の第2傾斜部25が収納筒部材38の内部に引き込まれる。第2傾斜部25が内部孔43に接触することにより互いに近づく方向に弾性変形すると、図9に示すように一対の把持爪26が互いに接近するので、把持部材18は再度全閉状態となる。
図10は、アンカー付把持装置10Aを装着可能な内視鏡50を示している。
内視鏡50は、術者が把持する操作部51と、操作部51から延びる挿入部52と、操作部51から挿入部52と反対側に向かって延び、端部にプロセッサ(光源装置兼画像処理装置。図示略)に接続するためのコネクタ部54を有するユニバーサルチューブ53と、を具備している。挿入部52の先端面55には、エア及び洗浄水を送るための送気送水ノズルと、切除部及びその周辺を照らすための照明レンズと、切除部及びその周辺を観察するとともに、直後に挿入部52の内部に配設した対物レンズと撮像素子が配置された観察窓と、処置具挿通路56の出口開口57(図11、図14から図19参照)が設けてある。処置具挿通路56の基端側開口部は、操作部51に突設した処置具挿通用突部58の端面に形成してある。
図11等に示した操作装置60は、内視鏡50の処置具挿通用突部58から処置具挿通路56の内部に挿入するものであり、挿入管61、挿入コイル62、規制管63及び操作ワイヤ(牽引部材)69を具備している。
挿入管61は可撓性を有する筒状部材であり、挿入コイル62は挿入管61の内部に相対移動可能に挿入してある。規制管63は前部をなす大径部64と、後部をなしかつ挿入コイル62の先端部に嵌合固定される小径部65と、を備えている。大径部64の外径は挿入管61の内径より小さく、かつ、挿入コイル62の外径とほぼ同一に設定してある。さらに、大径部64の内径は小径部65の内径及び収納筒部材38の小径部40の外径より大きく設定してあり、大径部64の内周面と小径部65の内周面の接続部には環状段部66が形成してある。
挿入コイル62の内側には、先端にフック部材68を固定した操作ワイヤ69を相対移動可能に配設してある。
挿入管61、挿入コイル62及び操作ワイヤ69の各基端部は、図示を省略した基端側操作部によって互いに軸方向に相対移動可能として結合してある。
次に、図12及び図13を用いて、患者Aの体外において磁気アンカー11を吸引制御する磁気アンカー誘導装置70の構成について説明する。
患者Aを載せるベッド71の両側部には、一対のXYステージ72が配設してある。この一対のXYステージ72は、床面上をベッド71の長手方向に沿って同期しながら直線的にスライド(往復移動)するものであり、両XYステージ72の該長手方向の位置は常に一致する。さらに、ベッド71の上方には、ベッド71の長手方向と直交する平面内において互いに平行をなす、正面視略逆U字形の二つのレール74、レール75からなるフレーム/レール73が配設してあり、このフレーム/レール73の両端部は、左右のXYステージ72にそれぞれ固定してある。内側のレール74には、アンカー付把持装置10Aの磁気アンカー11を患者Aの体外において吸引制御する(磁気アンカー11に磁力を及ぼす)磁気誘導部材(磁力発生装置)76が摺動自在に装着してある。磁気誘導部材76は、その基体78に鉄心にコイルを巻いた構造の電磁石77を固定したものであり、電磁石77は常に患者A側を向いている(図12参照)。
フレーム/レール73の外側のレール75には、フレーム/レール73全体の重量バランスを保つためのカウンターウェイト79が摺動自在に装着してある。カウンターウェイト79は、磁気誘導部材76の位置に応じて、その位置を変更する。例えば、磁気誘導部材76が患者Aの正面側に位置するときは、カウンターウェイト79は患者Aの背面側に位置し、磁気誘導部材76が患者Aの背面側に位置するときは、カウンターウェイト79は患者Aの正面側に位置する。
そして、以上説明したXYステージ72、フレーム/レール73及び磁気誘導部材76が磁気アンカー誘導装置70の構成要素である。
次に、患者Aの病変部Xの切除要領について説明する。
切除術の実施に先立っては、まず、図12及び図13に示すように、局所麻酔を施した患者Aをベッド71上に横たわらせる。このとき、磁気誘導部材76をフレーム/レール73に沿って切除術開始時位置に移動させる(図12及び図13参照)。
次いで、あらかじめ図示を省略した可撓性を有するオーバーチューブを内視鏡50の挿入部52の手元側に装着した状態で、アンカー付把持装置10A及び操作装置60が装着されていない状態の内視鏡50を患者Aの口から挿入し、挿入部52の先端部を病変部Xに近接させる(図示略)。このようにして内視鏡50の挿入部52の先端を臓器B内に挿入すると、挿入部52の先端面55に設けた上記観察窓から得られた臓器B内の観察像が、上記プロセッサに接続したテレビモニタ(図示略)に写し出される。この状態で、上記オーバーチューブを挿入部52に沿って患者Aの口から所定位置まで挿入する。
次いで内視鏡50の処置具挿通用突部58から、先端部に注射針を具備するチューブ状の処置具(図示略)を挿入し、その注射針を挿入部52の出口開口57から突出させて、注射針を病変部Xの周辺から臓器壁の粘膜下層B1に挿入して生理食塩水を注入し、病変部Xを固有筋層B2から浮き上がらせておく(図16から図19参照)。
次に、患者Aの体内から内視鏡50を取り出し、患者Aの体外において内視鏡50にアンカー付把持装置10Aと操作装置60を次の手順で取り付ける。
まず、内視鏡50の処置具挿通路56に操作装置60を挿通し、挿入管61の先端部を挿入部52の出口開口57から外部に僅かに突出させ、さらに規制管63の先端部を挿入管61の先端部から僅かに突出させる(図11参照)。次いで、上記基端側操作部を操作することにより操作ワイヤ69の先端部に固着したフック部材68を規制管63の前方に突出させる(図11参照)。
次いで、フック部材68の直前にアンカー付把持装置10Aの牽引分離部材28のループ部30を位置させ、フック部材68をループ部30に引っ掛ける。そして、上記基端側操作部を操作することによりフック部材68を操作ワイヤ69の基端側に引っ張り、フック部材68によって収納筒部材38の小径部40を環状段部66に当接するまで大径部64の内部に引き込む(図14参照)。このようにして規制管63の内部に小径部40を収納しても、収納筒部材38のスリット42の前端部は規制管63の大径部64より前方に位置するので(図14等参照)、連結ひも15はスリット42の前端部から外部へ引き出すことができる。
続いて、上記基端側操作部を操作することにより挿入管61を前方に押し出すと、図15に示すように把持部材18及び収納筒部材38が挿入管61の内部に収納され、かつ磁気アンカー11の突部12が挿入管61の先端部に嵌合する。
そして、最後に上記状態を保持したまま基端側操作部を操作することにより挿入管61、挿入コイル62及び操作ワイヤ69を基端側に引くと、図15に示すように磁気アンカー11が処置具挿通路56の出口開口57に嵌合するので、アンカー付把持装置10A及び操作装置60が内視鏡50と一体になる。
次いで、アンカー付把持装置10A及び操作装置60と一体となった内視鏡50の挿入部52を上記オーバーチューブ内に挿入し、挿入部52の先端部及びアンカー付把持装置10Aを臓器B内に挿入する。そして、挿入部52の先端部を病変部Xに近接させた後にアンカー付把持装置10A及び操作装置60を前方に移動させて、内視鏡50から離間させる。さらに、挿入コイル62と操作ワイヤ69を操作することによって規制管63と共に収納筒部材38を挿入管61に対して前方へ相対移動させると、この動作にともなって把持部材18が収納筒部材38と一緒に前方に移動するので、把持部材18の先端(把持爪26)が磁気アンカー11の突部12の後端面に当接する。収納筒部材38をさらに前方に移動させると、挿入管61の先端部に嵌合している磁気アンカー11が把持部材18(把持爪26)によって前方に押し出され(挿入管61から外れ)、かつ収納筒部材38が挿入管61の前方に突出する(図16参照)。
次いで、上記保持解除荷重以上の力で操作ワイヤ69を基端側に引っ張ると、牽引分離部材28及び把持部材18が収納筒部材38に対して後方に相対移動するので、図8に示すように把持部材18の一対の開閉片19が全開状態になる。
次いで、挿入コイル62、規制管63及び操作ワイヤ69を一体的に前方に移動させることにより全開状態となった把持部材18を病変部X側に近づけて、把持部材18の把持爪26が所望の位置に来たところで、操作ワイヤ69を挿入コイル62及び規制管63に対して相対的に後方に移動させる。すると、図9及び図17に示すように把持部材18が全閉状態となるので、把持部材18の一対の把持爪26が病変部Xを把持する(図17参照)。
この状態で、操作ワイヤ69を上記保持解除荷重より大きい所定の分離荷重以上の強い力で後方に引くと、牽引分離部材28の接続片33と接続片34を接合しているレーザ溶接、スポット溶接または接着剤が破断し、かつ接続片33及び接続片34が塑性変形するので、図18に示すように接続片33と接続片34が分離する。そのため、接続片33と接続片34の間に形成された隙間から把持部材18が前方に脱出し、磁気アンカー11、連結ひも15、把持部材18及び収納筒部材38が操作装置60から完全に分離する(図19参照)。
続いて、磁気誘導部材76の発生磁界を強めることによって、磁気アンカー11を磁気誘導部材76の発生磁界(磁力)によって図20の上側に吸引すると、連結ひも15全体が緊張して把持部材18が磁力方向(図20の上方)に移動し、把持部材18に掴まれている病変部Xも同方向に十分な距離だけ確実に引っ張られる。
このように、病変部Xを所望方向に所望距離だけ引っ張ると、病変部Xと正常組織との境界部に、十分な大きさの切除部分が形成されるので、挿入管61、挿入コイル62、及び操作ワイヤ69を内視鏡50の処置具挿通路56から取り出し、処置具挿通路56を利用して高周波メス80などの切開具を臓器B内に挿入し、高周波メス80の先端部81で病変部Xを粘膜とともに切除する(図示略)。
以上のようにして病変部Xの切除作業を終えると、正常組織から切り離された病変部Xは把持部材18に把持されたままの状態となるので、病変部Xが紛失することが防止される。切除した病変部Xを回収するには、内視鏡50の処置具挿通路56に図示を省略した把持鉗子を挿入し、この把持鉗子によりアンカー付把持装置10A(例えば連結ひも15)を把持し、そのままの状態で内視鏡50を体内から抜き去り、病変部Xをアンカー付把持装置10Aとともに体外に取り出す。そしてその後に、切除した部分の縫合、消毒などの処置を行う。
以上説明したように、本実施形態の牽引分離部材28は弾性変形可能であるものの外力が掛からないときは形状を保持し、しかも収納筒部材38に対して相対移動しない。しかも、ループ部30は中間広幅部31に比べて狭幅なので広幅の場合に比べてフック部材68を掛け易いので、術者はフック部材68を牽引分離部材28のループ部30に簡単に引っ掛けることができる。
また、牽引分離部材28の接続片33と接続片34を単に接触させるのではなく、レーザ溶接、スポット溶接または接着剤によって接合しているので、牽引分離部材28に上記分離荷重以上の荷重が掛かる前に接続片33と接続片34が不意に分離してしまうのを確実に防止できる。
さらに、操作ワイヤ69を所定の大きさ以上の力で引くだけで磁気アンカー11、連結ひも15、把持部材18及び収納筒部材38を操作装置60から確実に分離できる。特に、接続片33と接続片34を中間広幅部31より狭幅で機械的強度が弱い部分としているので、牽引分離部材28に上記分離荷重以上の荷重が掛かると接続片33と接続片34が大きく塑性変形して接続片33と接続片34の間には大きな隙間が形成されるので、把持部材18は牽引分離部材28から確実に脱出できる。
従って、術者はアンカー付把持装置10A、内視鏡50、操作装置60及び磁気アンカー誘導装置70を用いた内視鏡術を円滑に行うことが可能である。
次に、本発明の第2の実施形態について、図21から図27を参照しながら説明する。
なお、第1の実施形態と同じ部材には同じ符号を付すに止めて、その詳細な説明は省略する。
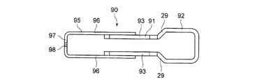
本実施形態のアンカー付把持装置10Bの牽引分離部材90は金属製であり、厚肉部91と薄肉部95の二部材から構成してある。
厚肉部91は、牽引分離部材28のループ部30と略同じ形状であるループ部92と、中間広幅部31に相当する一対の中間広幅部93とを備えている。一方、薄肉部95は、先端部32に相当する一対の先端部96と、一対の先端部96の先端同士を接続する接続部97とからなるものであり、図23に示すように接続部97には三角形状をなす一対の切欠98が設けてある。一対の先端部96は、対応する厚肉部91の外側面にそれぞれ溶接(例えばスポット溶接)してある。図21から明らかなように、薄肉部95は厚肉部91よりも薄肉であり、その機械的強度は厚肉部91より小さい。
把持部材18と牽引分離部材90を接続するには、まず把持部材18の先端把持部22の幅方向と先端部96の長手方向が一致するように牽引分離部材90に対する把持部材18の向きを調整した後に、一方の開閉片19を一対の先端部96の間に挿入し、一対の基端部20の連結部が一対の先端部96の間に位置した後に牽引分離部材90に対する把持部材18の向きを変えて、図24、図26及び図27に示すように平面視で把持部材18と牽引分離部材90を同一直線上に位置させる。さらに、互いに離間した状態にある一対の先端部96の中間部を互いに近づく方向に塑性変形させることにより、当該部分を互いに接触するくびれ部99とする(図26参照)。
このようにして一体化した把持部材18と牽引分離部材90は第1の実施形態と同じ手順により収納筒部材38に収納する。すると牽引分離部材90の一対の傾斜当接部29が収納筒部材38の小径部40側の開口部に接触し、把持部材18の一対の第1傾斜部24が収納筒部材38のテーパ面41に接触し、さらに図25に示すように一対の中間広幅部93が内部孔43に接触するので、収納筒部材38に対して把持部材18及び牽引分離部材90が図24に示す位置に保持される。
アンカー付把持装置10Bは図26に示すように、第1の実施形態とほぼ同じ要領により内視鏡50の挿入部52に装着される。さらに、図27に示すように、把持部材18が病変部Xを把持した状態で操作ワイヤ69を後方に引くと牽引分離部材90の接続部97、特に2つの切欠98の間に位置する幅が狭くなっている部分(脆弱部)に応力が集中する。そのため、操作ワイヤ69に掛かった荷重が所定の分離荷重以上となったときに接続部97の上記脆弱部が破断する。そのため、破断により出来た隙間から把持部材18の一対の基端部20の連結部が前方に脱出し、磁気アンカー11、連結ひも15、把持部材18及び収納筒部材38が操作装置60から完全に分離する。
このように本実施形態では、牽引分離部材90の先端部を溶接等により固定する必要がないので、把持部材18と牽引分離部材90の接続作業が容易である。
しかも、薄肉部95は厚肉部91よりも機械的強度が弱いため、牽引分離部材90に分離荷重以上の荷重が掛かったときには、破断により分離した2つの接続部97は大きく変形する。そのため、分離した2つの接続部97の間に大きな隙間が形成されるため、把持部材18は牽引分離部材90から確実に脱出できる。
次に、本発明の第3の実施形態について、図28から図30を参照しながら説明する。
なお、従前の実施形態と同じ部材には同じ符号を付すに止めて、その詳細な説明は省略する。
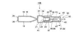
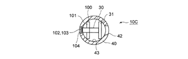
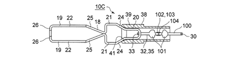
本実施形態のアンカー付把持装置10Cの牽引分離部材100は金属製であり、その基本構造は第1の実施形態の牽引分離部材28と同じである。しかし、一方の中間広幅部31に相当する部分を、ループ部30と先端部32にそれぞれ連なる一対の中間広幅部101と、一対の中間広幅部101を接続する中間狭幅部102とから形成した点が異なる。中間狭幅部102はループ部30及び先端部32と同幅であり、かつその中間部には側方に向かって突出する係止突起103が形成してある。図示するように、収納筒部材38におけるスリット42と反対側の側面には側面視方形の係止孔104が穿設してある。
牽引分離部材100を収納筒部材38に収納すると、係止突起103が係止孔104に嵌合し、係止突起103の前後一対の傾斜面が係止孔104の前後の縁部に接触する。これによって、収納筒部材38に対する牽引分離部材100の回転を規制できる。さらに、一対の傾斜当接部29が収納筒部材38の小径部40側の開口部に接触し、かつ図30に示すように中間広幅部31及び中間広幅部101が内部孔43に接触する。そのため、牽引分離部材100に所定の保持解除荷重以上の荷重が掛からない場合は、収納筒部材38に対して牽引分離部材100(及び把持部材18)を図28及び図29の位置に確実に保持できる。その他の作用効果は従前の実施形態と同様である。
なお、係止孔104の形状は方形でなくともよく、例えば図31に示すように円形として実施することも可能である。また、係止孔104の代わりに有底の係止凹部を形成してもよい。
最後に、本発明の第4の実施形態について、図32から図34を参照しながら説明する。
なお、従前の実施形態と同じ部材には同じ符号を付すに止めて、その詳細な説明は省略する。
本実施形態のアンカー付把持装置10Dの牽引分離部材110は金属製であり、第3の実施形態の牽引分離部材100に類似した形状である。即ち、本実施形態の牽引分離部材110は一対の中間広幅部101と中間狭幅部102からなる中間部を一対具備している。さらに、収納筒部材38には一対の係止孔104が穿設してある(一方の係止孔104はスリット42と同じ位置に形成してある)。
そのため牽引分離部材110を収納筒部材38に収納すると、一対の係止突起103が対応する係止孔104にそれぞれ嵌合し、各係止突起103の前後一対の傾斜面が対応する係止孔104の前後の縁部に接触する。さらに、図34に示すように各中間広幅部101が内部孔43に接触する。そのため、牽引分離部材100に所定の保持解除荷重以上の荷重が掛からない場合は、収納筒部材38に対して牽引分離部材110(及び把持部材18)を図32及び図33の位置に保持できる。その他の作用効果は従前の実施形態と同様である。
なお、第3の実施形態と同様に係止孔104の形状は方形でなくともよく、また有底の係止凹部として実施してもよい。
以上、本発明について上記各実施形態を利用して説明したが、本発明は様々な変更を施しながら実施可能である。
例えば、牽引分離部材28、90、100、110を弾性材料である樹脂により成形してもよい。
また、牽引分離部材28、100、110の2つのくびれ部35や牽引分離部材90の2つのくびれ部99を、スポット溶接等によって互いに固定してもよい。
さらに、牽引分離部材28、100、110の弾性力が大きい場合は、接続片33と接続片34(接続片36)をレーザ溶接、スポット溶接、接着剤等により固定しなくてもよい。このように構成すると、分離荷重以上の荷重が掛からないとき、接続片33と接続片34(接続片36)は牽引分離部材28、100、110の弾性力によって互いに接触した状態に保持される。
本発明の一実施形態のアンカー付把持装置の縦断面図である。 くびれ部を形成する前の牽引分離部材の平面図である。 くびれ部を形成する前の牽引分離部材の側面図である。 牽引分離部材の正面図である。 変形例の牽引分離部材の正面図である。 磁気アンカーを省略して示す図1のVI−VI矢線に沿う断面図である。 図6のVII−VII矢線に沿う断面図である。 把持部材が全開状態にあるときの図6と同様の断面図である。 把持部材が全閉状態になったときの図6と同様の断面図である。 内視鏡の全体図である。 挿入部の先端から、挿入管、挿入コイル、及びフック部材が突出した状態を示す、内視鏡先端部の拡大縦断側面図である。 磁気アンカー誘導装置を患者の頭部側から見た図である。 磁気アンカー誘導装置の側面図である。 アンカー付把持装置を操作装置に接続した状態を示す拡大縦断側面図である。 アンカー付把持装置の内視鏡の挿入部への装着が完了したときの挿入部、アンカー付把持装置及び操作装置の拡大縦断側面図である。 臓器内において、把持部材及び磁気アンカーを挿入管から外部に押し出し、かつ把持部材を開いた状態を示す、挿入部、アンカー付把持装置及び操作装置の拡大縦断側面図である。 把持部材が患部を把持したときの挿入部、アンカー付把持装置及び操作装置の拡大縦断側面図である。 牽引分離部材の接続片が分離したときの挿入部、アンカー付把持装置及び操作装置の拡大縦断側面図である。 アンカー付把持装置が内視鏡から完全に切り離されたときの挿入部、アンカー付把持装置及び操作装置の拡大縦断側面図である。 把持部材が病変部を把持した状態で磁気アンカー誘導装置を用いて病変部を移動させている状態を示す拡大縦断側面図である。 第2の実施形態の牽引分離部材のくびれ部を変形させる前の平面図である。 くびれ部を変形させる前の牽引分離部材の側面図である。 牽引分離部材の正面図である。 把持部材、牽引分離部材及び収納筒部材の図6と同様の断面図である。 図24のXXV−XXV矢線に沿う断面図である。 図15と同様の拡大縦断側面図である。 図18と同様の拡大縦断側面図である。 第3の実施形態のアンカー付把持装置の図1と同様の縦断面図である。 図28のXXIX−XXIX矢線に沿う断面図である。 図29のXXX−XXX矢線に沿う断面図である。 第3の実施形態の変形例のアンカー付把持装置の図29と同様の断面図である。 第4の実施形態のアンカー付把持装置の図1と同様の縦断面図である。 図32のXXXIII−XXXIII矢線に沿う断面図である。 図33のXXXIV−XXXIV矢線に沿う断面図である。
符号の説明
10A 10B 10C 10D アンカー付把持装置
11 磁気アンカー
12 突部
13 固定部
15 連結ひも(連結部材)
18 把持部材
19 開閉片
20 基端部
21 中間部
22 先端把持部
24 第1傾斜部(第1接触部)(保持部)
25 第2傾斜部
26 把持爪
28 牽引分離部材
29 傾斜当接部(第2接触部)(保持部)
30 ループ部
31 中間広幅部
32 先端部
33 34 接続片(接続部)
35 くびれ部
36 接続片(接続部)
38 収納筒部材
39 大径部
40 小径部
41 テーパ面
42 スリット
43 内部孔
50 内視鏡
51 操作部
52 挿入部
53 ユニバーサルチューブ
54 コネクタ部
55 先端面
56 処置具挿通路
57 出口開口
58 処置具挿通用突部
60 操作装置
61 挿入管
62 挿入コイル
63 規制管
64 大径部
65 小径部
66 環状段部
68 フック部材
69 操作ワイヤ(牽引部材)
70 磁気アンカー誘導装置
71 ベッド
72 XYステージ
73 フレーム/レール(一平面内動機構)
74 75 レール
76 磁気誘導部材(磁力発生装置)
77 電磁石
78 基体
79 カウンターウェイト
80 高周波メス
81 先端部
90 牽引分離部材
91 厚肉部
92 ループ部
93 中間広幅部
95 薄肉部
96 先端部
97 接続部
98 切欠
99 くびれ部
100 牽引分離部材
101 中間広幅部
102 中間狭幅部
103 係止突起(保持部)
104 係止孔
110 牽引分離部材
A 患者(対象物)
A1 頭部
B 臓器
B1 粘膜下層
B2 固有筋層
X 病変部(対象部位)

Claims (8)

  1. 開閉可能であり、閉じたときに対象物内部の対象部位を把持する把持部材と、
    該把持部材に柔軟な連結部材を介して連結した、上記対象物外部に配設した磁力発生装置が発生する磁力に吸引される磁気アンカーと、
    牽引部材の先端部に固定したフック部材に接続し、かつ上記把持部材に接続する接続部を備える、外力が掛からないときは形状を保持する弾性材料からなる牽引分離部材と、
    上記把持部材及び牽引分離部材の一部を内部に収納する収納筒部材と、
    を備え、
    上記牽引分離部材が、上記牽引部材から所定の保持解除荷重以上の荷重を受けないときは、上記収納筒部材に接触することにより該牽引分離部材が上記収納筒部材に対して該収納筒部材の軸線方向に相対移動するのを規制し、かつ、該保持解除荷重以上の荷重を受けたときは、該牽引分離部材が上記軸線方向に相対移動するのを許容する保持部を備え、
    上記牽引分離部材の上記接続部は、上記牽引部材に上記保持解除荷重より大きい所定の分離荷重以上の荷重が掛かったときに、上記把持部材との接続を解除することを特徴とする内視鏡用アンカー付把持装置。
  2. 請求項1記載の内視鏡用アンカー付把持装置において、
    上記接続部が、互いに接離可能で、上記牽引部材に上記分離荷重以上の荷重が掛からないときは互いに接触することにより上記把持部材が上記牽引分離部材から分離するのを規制し、かつ、上記牽引部材に上記分離荷重以上の荷重が掛かったときは互いに離間して、上記把持部材が上記牽引分離部材から分離するのを許容する一対の接続片からなる内視鏡用アンカー付把持装置。
  3. 請求項2記載の内視鏡用アンカー付把持装置において、
    上記牽引分離部材が金属製または樹脂製であり、
    上記一対の接続片どうしを、上記牽引部材に上記分離荷重以上の荷重が掛かったときに破断するレーザ溶接、スポット溶接または接着剤により結合した内視鏡用アンカー付把持装置。
  4. 請求項1記載の内視鏡用アンカー付把持装置において、
    上記牽引分離部材が金属製または樹脂製であり、
    上記接続部に、周辺部に比べて機械的強度が弱い脆弱部を形成した内視鏡用アンカー付把持装置。
  5. 請求項1から4のいずれか1項記載の内視鏡用アンカー付把持装置において、
    上記保持部が、
    上記把持部材に形成した、上記収納筒部材の長手方向の一方の端面に当接する第1接触部と、
    上記牽引分離部材に形成した、上記収納筒部材の長手方向の他方の端面に当接する第2接触部と、を具備する内視鏡用アンカー付把持装置。
  6. 請求項5記載の内視鏡用アンカー付把持装置において、
    上記収納筒部材に係止孔または係止凹部を形成し、
    上記保持部が、上記牽引分離部材に形成した、上記係止孔または係止凹部に係合する係止突起であり、
    該係止突起は、上記牽引部材に所定の保持解除荷重以上の荷重が掛からないときは上記係止孔または係止凹部との係合状態を保持し、該保持解除荷重以上の荷重が掛かったときは該係止孔または係止凹部から脱出する内視鏡用アンカー付把持装置。
  7. 請求項1から6のいずれか1項記載の内視鏡用アンカー付把持装置において、
    上記牽引分離部材が、
    上記接続部を有する薄肉部と、
    該薄肉部より肉厚であり、かつ上記牽引部材に接続する厚肉部と、
    を備える内視鏡用アンカー付把持装置。
  8. 請求項7記載の内視鏡用アンカー付把持装置において、
    上記薄肉部と上記厚肉部は、別部材として成形した後に一体化したものである内視鏡用アンカー付把持装置。
JP2008168126A 2008-06-27 2008-06-27 内視鏡用アンカー付把持装置 Active JP5224278B2 (ja)

Priority Applications (1)

Application Number Priority Date Filing Date Title
JP2008168126A JP5224278B2 (ja) 2008-06-27 2008-06-27 内視鏡用アンカー付把持装置

Applications Claiming Priority (1)

Application Number Priority Date Filing Date Title
JP2008168126A JP5224278B2 (ja) 2008-06-27 2008-06-27 内視鏡用アンカー付把持装置

Publications (2)

Publication Number Publication Date
JP2010005151A true JP2010005151A (ja) 2010-01-14
JP5224278B2 JP5224278B2 (ja) 2013-07-03

Family

ID=41586317

Family Applications (1)

Application Number Title Priority Date Filing Date
JP2008168126A Active JP5224278B2 (ja) 2008-06-27 2008-06-27 内視鏡用アンカー付把持装置

Country Status (1)

Country Link
JP (1) JP5224278B2 (ja)

Citations (6)

* Cited by examiner, † Cited by third party
Publication number Priority date Publication date Assignee Title
JP2004242923A (ja) * 2003-02-14 2004-09-02 Pentax Corp 内視鏡用クリップ装置
JP2004242922A (ja) * 2003-02-14 2004-09-02 Pentax Corp 内視鏡用留置クリップ
JP2005000230A (ja) * 2003-06-09 2005-01-06 Pentax Corp 内視鏡用アンカー遠隔誘導システム、及びアンカー遠隔誘導システムを用いた内視鏡による処置方法
JP2007061535A (ja) * 2005-09-02 2007-03-15 Pentax Corp 内視鏡用把持装置
JP2007068956A (ja) * 2005-09-08 2007-03-22 River Seiko:Kk 内視鏡用クリップ装置
JP2007222649A (ja) * 2000-10-16 2007-09-06 Olympus Corp 生体組織のクリップ装置

Patent Citations (6)

* Cited by examiner, † Cited by third party
Publication number Priority date Publication date Assignee Title
JP2007222649A (ja) * 2000-10-16 2007-09-06 Olympus Corp 生体組織のクリップ装置
JP2004242923A (ja) * 2003-02-14 2004-09-02 Pentax Corp 内視鏡用クリップ装置
JP2004242922A (ja) * 2003-02-14 2004-09-02 Pentax Corp 内視鏡用留置クリップ
JP2005000230A (ja) * 2003-06-09 2005-01-06 Pentax Corp 内視鏡用アンカー遠隔誘導システム、及びアンカー遠隔誘導システムを用いた内視鏡による処置方法
JP2007061535A (ja) * 2005-09-02 2007-03-15 Pentax Corp 内視鏡用把持装置
JP2007068956A (ja) * 2005-09-08 2007-03-22 River Seiko:Kk 内視鏡用クリップ装置

Also Published As

Publication number Publication date
JP5224278B2 (ja) 2013-07-03

Similar Documents

Publication Publication Date Title
JP2004344427A (ja) 内視鏡用磁気アンカー誘導システム、及び磁気アンカー誘導システムを用いた内視鏡による処置方法
JP2005021576A (ja) 内視鏡用磁気アンカー遠隔誘導システム、及び磁気アンカー遠隔誘導システムを用いた内視鏡による処置方法
US11723655B2 (en) Magnet-assisted suture graspers
JP5224278B2 (ja) 内視鏡用アンカー付把持装置
JP4360838B2 (ja) 内視鏡用アンカー遠隔誘導システム
JP4373720B2 (ja) 内視鏡用アンカー遠隔誘導システム
JP4349850B2 (ja) 内視鏡用アンカー遠隔誘導システム
JP4320202B2 (ja) 内視鏡用アンカー遠隔誘導システム及び内視鏡用誘導装置
JP4338437B2 (ja) 内視鏡用誘導手段遠隔誘導システム
JP5224279B2 (ja) 内視鏡用磁気アンカー誘導装置
JP4349847B2 (ja) 内視鏡用磁気アンカー遠隔誘導システム
JP4338441B2 (ja) 内視鏡用誘導手段誘導システム、及び内視鏡用誘導装置
JP4320208B2 (ja) 重力方向視認装置付き磁気誘導手段遠隔誘導システム及び重力方向視認装置付き内視鏡用磁気誘導装置
JP4320205B2 (ja) 内視鏡用誘導手段誘導システム及び内視鏡用誘導装置
JP4341739B2 (ja) 内視鏡用誘導手段誘導システム、及び内視鏡用誘導装置
JP4320201B2 (ja) 内視鏡用重力誘導装置
JP4243977B2 (ja) 内視鏡用アンカー誘導システム
JP5360753B2 (ja) 磁気アンカー誘導用磁力発生装置、磁気アンカー牽引モニタリングシステム、及び磁気牽引力自動切り替え機能付き磁気アンカーモニタリングシステム
JP4614263B2 (ja) 把持装置
JP4341740B2 (ja) 内視鏡用誘導手段誘導システム、及び内視鏡用誘導装置
JP2004358024A (ja) 内視鏡用アンカー遠隔誘導システム、及びアンカー遠隔誘導システムを用いた内視鏡による処置方法
JP2004358136A (ja) 内視鏡用アンカー遠隔誘導システム、及びアンカー遠隔誘導システムを用いた内視鏡による処置方法
JP4446050B2 (ja) 把持装置
JP2004350735A (ja) 内視鏡用把持装置
JP4349859B2 (ja) 内視鏡用アンカー遠隔誘導システム

Legal Events

Date Code Title Description
A711 Notification of change in applicant

Free format text: JAPANESE INTERMEDIATE CODE: A712

Effective date: 20100507

A521 Request for written amendment filed

Free format text: JAPANESE INTERMEDIATE CODE: A821

Effective date: 20100712

RD02 Notification of acceptance of power of attorney

Free format text: JAPANESE INTERMEDIATE CODE: A7422

Effective date: 20100712

A621 Written request for application examination

Free format text: JAPANESE INTERMEDIATE CODE: A621

Effective date: 20110523

A521 Request for written amendment filed

Free format text: JAPANESE INTERMEDIATE CODE: A523

Effective date: 20110707

A521 Request for written amendment filed

Free format text: JAPANESE INTERMEDIATE CODE: A523

Effective date: 20110812

A131 Notification of reasons for refusal

Free format text: JAPANESE INTERMEDIATE CODE: A131

Effective date: 20121023

A521 Request for written amendment filed

Free format text: JAPANESE INTERMEDIATE CODE: A523

Effective date: 20121210

TRDD Decision of grant or rejection written
A01 Written decision to grant a patent or to grant a registration (utility model)

Free format text: JAPANESE INTERMEDIATE CODE: A01

Effective date: 20130226

A61 First payment of annual fees (during grant procedure)

Free format text: JAPANESE INTERMEDIATE CODE: A61

Effective date: 20130305

R150 Certificate of patent or registration of utility model

Ref document number: 5224278

Country of ref document: JP

Free format text: JAPANESE INTERMEDIATE CODE: R150

Free format text: JAPANESE INTERMEDIATE CODE: R150

FPAY Renewal fee payment (event date is renewal date of database)

Free format text: PAYMENT UNTIL: 20160322

Year of fee payment: 3

S531 Written request for registration of change of domicile

Free format text: JAPANESE INTERMEDIATE CODE: R313531

R350 Written notification of registration of transfer

Free format text: JAPANESE INTERMEDIATE CODE: R350

R250 Receipt of annual fees

Free format text: JAPANESE INTERMEDIATE CODE: R250

R250 Receipt of annual fees

Free format text: JAPANESE INTERMEDIATE CODE: R250

R250 Receipt of annual fees

Free format text: JAPANESE INTERMEDIATE CODE: R250

R250 Receipt of annual fees

Free format text: JAPANESE INTERMEDIATE CODE: R250

R250 Receipt of annual fees

Free format text: JAPANESE INTERMEDIATE CODE: R250

R250 Receipt of annual fees

Free format text: JAPANESE INTERMEDIATE CODE: R250

R250 Receipt of annual fees

Free format text: JAPANESE INTERMEDIATE CODE: R250

R250 Receipt of annual fees

Free format text: JAPANESE INTERMEDIATE CODE: R250

R250 Receipt of annual fees

Free format text: JAPANESE INTERMEDIATE CODE: R250