JP2010004908A - 穿刺針補助具 - Google Patents

穿刺針補助具 Download PDF

Info

Publication number
JP2010004908A
JP2010004908A JP2008164032A JP2008164032A JP2010004908A JP 2010004908 A JP2010004908 A JP 2010004908A JP 2008164032 A JP2008164032 A JP 2008164032A JP 2008164032 A JP2008164032 A JP 2008164032A JP 2010004908 A JP2010004908 A JP 2010004908A
Authority
JP
Japan
Prior art keywords
sliding contact
puncture needle
guide groove
contact portion
auxiliary tool
Prior art date
Legal status (The legal status is an assumption and is not a legal conclusion. Google has not performed a legal analysis and makes no representation as to the accuracy of the status listed.)
Granted
Application number
JP2008164032A
Other languages
English (en)
Other versions
JP5185706B2 (ja
Inventor
Shigeaki Funamura
重彰 船村
Hisataka Harada
久崇 原田
Satoru Igarashi
悟 五十嵐
Kazuhiro Abe
一博 阿部
Current Assignee (The listed assignees may be inaccurate. Google has not performed a legal analysis and makes no representation or warranty as to the accuracy of the list.)
Nippon Covidien Ltd
Original Assignee
Nippon Covidien Ltd
Priority date (The priority date is an assumption and is not a legal conclusion. Google has not performed a legal analysis and makes no representation as to the accuracy of the date listed.)
Filing date
Publication date
Application filed by Nippon Covidien Ltd filed Critical Nippon Covidien Ltd
Priority to JP2008164032A priority Critical patent/JP5185706B2/ja
Priority to US12/487,108 priority patent/US8968343B2/en
Priority to AT09008041T priority patent/ATE546096T1/de
Priority to ES09008041T priority patent/ES2382706T3/es
Priority to EP09008041A priority patent/EP2138108B1/en
Publication of JP2010004908A publication Critical patent/JP2010004908A/ja
Application granted granted Critical
Publication of JP5185706B2 publication Critical patent/JP5185706B2/ja
Active legal-status Critical Current
Anticipated expiration legal-status Critical

Links

Images

Classifications

    • AHUMAN NECESSITIES
    • A61MEDICAL OR VETERINARY SCIENCE; HYGIENE
    • A61BDIAGNOSIS; SURGERY; IDENTIFICATION
    • A61B17/00Surgical instruments, devices or methods
    • A61B17/04Surgical instruments, devices or methods for suturing wounds; Holders or packages for needles or suture materials
    • A61B17/0482Needle or suture guides
    • AHUMAN NECESSITIES
    • A61MEDICAL OR VETERINARY SCIENCE; HYGIENE
    • A61BDIAGNOSIS; SURGERY; IDENTIFICATION
    • A61B17/00Surgical instruments, devices or methods
    • A61B17/04Surgical instruments, devices or methods for suturing wounds; Holders or packages for needles or suture materials
    • A61B17/0485Devices or means, e.g. loops, for capturing the suture thread and threading it through an opening of a suturing instrument or needle eyelet
    • AHUMAN NECESSITIES
    • A61MEDICAL OR VETERINARY SCIENCE; HYGIENE
    • A61BDIAGNOSIS; SURGERY; IDENTIFICATION
    • A61B17/00Surgical instruments, devices or methods
    • A61B17/04Surgical instruments, devices or methods for suturing wounds; Holders or packages for needles or suture materials
    • A61B17/06Needles ; Sutures; Needle-suture combinations; Holders or packages for needles or suture materials
    • A61B17/06061Holders for needles or sutures, e.g. racks, stands
    • AHUMAN NECESSITIES
    • A61MEDICAL OR VETERINARY SCIENCE; HYGIENE
    • A61BDIAGNOSIS; SURGERY; IDENTIFICATION
    • A61B50/00Containers, covers, furniture or holders specially adapted for surgical or diagnostic appliances or instruments, e.g. sterile covers
    • A61B50/20Holders specially adapted for surgical or diagnostic appliances or instruments
    • A61B50/22Racks
    • AHUMAN NECESSITIES
    • A61MEDICAL OR VETERINARY SCIENCE; HYGIENE
    • A61BDIAGNOSIS; SURGERY; IDENTIFICATION
    • A61B17/00Surgical instruments, devices or methods
    • A61B17/04Surgical instruments, devices or methods for suturing wounds; Holders or packages for needles or suture materials
    • A61B17/0469Suturing instruments for use in minimally invasive surgery, e.g. endoscopic surgery
    • AHUMAN NECESSITIES
    • A61MEDICAL OR VETERINARY SCIENCE; HYGIENE
    • A61BDIAGNOSIS; SURGERY; IDENTIFICATION
    • A61B17/00Surgical instruments, devices or methods
    • A61B17/04Surgical instruments, devices or methods for suturing wounds; Holders or packages for needles or suture materials
    • A61B17/06Needles ; Sutures; Needle-suture combinations; Holders or packages for needles or suture materials
    • A61B2017/06052Needle-suture combinations in which a suture is extending inside a hollow tubular needle, e.g. over the entire length of the needle

Landscapes

  • Health & Medical Sciences (AREA)
  • Life Sciences & Earth Sciences (AREA)
  • Surgery (AREA)
  • Molecular Biology (AREA)
  • Engineering & Computer Science (AREA)
  • Biomedical Technology (AREA)
  • Heart & Thoracic Surgery (AREA)
  • Medical Informatics (AREA)
  • Nuclear Medicine, Radiotherapy & Molecular Imaging (AREA)
  • Animal Behavior & Ethology (AREA)
  • General Health & Medical Sciences (AREA)
  • Public Health (AREA)
  • Veterinary Medicine (AREA)
  • Surgical Instruments (AREA)
  • Infusion, Injection, And Reservoir Apparatuses (AREA)
  • Measurement Of The Respiration, Hearing Ability, Form, And Blood Characteristics Of Living Organisms (AREA)

Abstract

【課題】穿刺針の穿刺操作についての操作性を改善する。
【解決手段】第1回転摺接部122が第1ヒンジ連結部126を回転中心として開位置から閉位置へ補助具本体112の表面側に回転して、第1ガイド溝116aの表面開口が閉じられる。第2回転摺接部124が第2ヒンジ連結部128を回転中心として開位置から閉位置へ補助具本体112の表面側に回転して、第2ガイド溝116b〜116dの表面開口が閉じられる。穿刺針がガイド溝16に沿って移動し、位置ずれすることなく適正な状態で体内に穿刺される。第1回転摺接部122の閉位置では、係合突起134の段差140が係合孔136の孔縁に引っ掛かるように係合突起134が係合孔136に係合して第1回転摺接部122の閉位置が維持され、また、第2回転摺接部124の閉位置では、係合突起130の段差138が係合切欠132の切欠縁に引っ掛かるように係合突起130が係合切欠132に係合して第2回転摺接部124の閉位置が維持される。
【選択図】図1

Description

本発明は、縫合糸で臓器を皮膚側部分に固定するために用いられる複数の穿刺針を前記皮膚側部分から前記臓器側に穿刺するときに使用される穿刺針補助具に関する。
高齢や疾病により自力で口から食べ物を摂取する機能が低下した人に対し、胃瘻カテーテルを用いて流動食や栄養剤等の流体飲食物を胃内に供給することが行われている。胃瘻カテーテルは、患者の腹部に穴部を形成して取り付けられる。胃瘻カテーテルの取り付けにあたっては、予め、腹壁と胃壁とが縫合糸で固定される。胃壁を腹壁に固定する技術として例えば、特許文献1に示すものが公知である。
それによれば、臓器腹壁固定針の外針及び糸導入針がそれぞれ嵌合できる穴が連結板及び挿入長調節板にそれぞれ設けられている。臓器腹壁固定針の外針と糸導入針との間が連結板で連結されて一定間隔に保たれるとともに、挿入長調節板が針の軸方向にスライド可能に設けられて各針の挿入長が調節されるようになっている。臓器腹壁固定針の外針と糸挿入針とを一体化して同時に穿刺作業を行うことができる。まず、臓器腹壁固定針の外針と糸挿入針とを腹壁と胃壁とを貫いて胃の内腔まで穿刺する。その後、臓器腹壁固定針の外針内の内針をスライドして内針の先端のスネアループを臓器腹壁固定針の外針の先端孔部から針の軸方向に対して垂直方向に突出する。一方、糸を糸挿入針に挿入して糸の先端部をスネアループ内に通し、内針を引き込み操作してスネアループを外針内に引き込む。続いて内針を体外に抜去するとともに、糸の両端が体外に引き抜かれた状態で臓器腹壁固定針の外針及び糸挿入針のいずれも体外に抜去する。糸の両端を引張り操作して糸を結べば、胃壁を腹壁に接触し、密着状態にすることができる。
特開平5−161655号公報
しかしながら、従来のものでは、連結板、挿入長調節板の2枚の別個の板を用いなければならず、加えてまた、それら2枚の板のそれぞれの穴に臓器腹壁固定針の外針及び糸挿入針をそれぞれ嵌めなければならない等、穿刺針の穿刺操作について操作性がよくない。
本発明は、このような問題に対処するためになされたもので、その目的は、穿刺針の穿刺操作についての操作性を改善する穿刺針補助具を提供することである。
前述した目的を達成するため、縫合糸で臓器を皮膚側部分に固定するために用いられる複数の穿刺針を前記皮膚側部分から前記臓器側に穿刺するときに使用される穿刺針補助具であって、前記複数の穿刺針を軸方向に移動可能な状態で設置できる複数の平行するガイド溝が表面に形成された補助具本体と、前記補助具本体の前記ガイド溝が延びる方向と略平行する縁部に、対本体回転軸部を介して前記ガイド溝の表面開口を開く開位置から前記ガイド溝の表面開口を閉じる閉位置へ回転可能に取り付けられ、前記閉位置側に回転することにより前記ガイド溝に設置される前記穿刺針の周面と摺接可能になる回転摺接体と、前記補助具本体と前記回転摺接体とに設けられて前記回転摺接体の閉位置を維持するように係合する係合手段とを備えたことことにある。
このように構成した本発明に係る穿刺針補助具によると、縫合糸で臓器を皮膚側部分に固定するために複数の穿刺針を前記皮膚側部分から前記臓器側に穿刺するときには以下のような使用が可能になる。
まず、補助具本体が患者の体の被縫合部の皮膚側部分に置かれる。回転摺接体が開位置にある状態で、穿刺針がガイド溝に入れられて設置される。回転摺接体が補助具本体の表面側に回転してガイド溝の表面開口が閉じられている状態で、穿刺針を体表面へ押し付ければ、穿刺針がガイド溝に沿って移動し、穿刺針の先端側部分が体内に穿刺される。
回転摺接体が閉位置にあれば穿刺針が軸方向と直交する方向にガイド溝から外れることは防止される。穿刺針がガイド溝に沿って移動するので、位置ずれすることなく適正な状態で体内に穿刺される。
回転摺接体の閉位置では係合手段の係合により、回転摺接体の閉位置が維持されるため、
穿刺針補助具から手を離しても回転摺接体の閉位置が維持される。このように、穿刺針がガイド溝に設置された(穿刺針が穿刺針補助具にセットされた)ままの状態が保たれるため、両手を穿刺針の穿刺操作に使用できる等、回転摺接体の閉位置を維持するための労力を他に振り向けることができる。複数の穿刺針を同時に穿刺する場合には、特に有効である。
なお、複数の穿刺針を一緒にそれぞれ対応するガイド溝に設置して回転摺接体を閉じ、複数の穿刺針を同時にあるいは穿刺針毎に患者の体に穿刺する外、穿刺針毎に、穿刺針をガイド溝に設置して回転摺接体を閉じて患者の体に穿刺することも可能である。また、穿刺針をガイド溝に設置するのに、回転摺接体の開位置で穿刺針をガイド溝に入れる外、回転摺接体の閉位置で穿刺針をガイド溝に入れることも可能である。
本発明に係る穿刺針補助具の他の構成上の特徴は、前記回転摺接体は、第1回転摺接部と第2回転摺接部との二つで構成され、前記第1回転摺接部は、前記補助具本体に前記対本体回転軸部を介して回転可能に取り付けられるとともに、前記第2回転摺接部は、前記第1回転摺接部の前記対本体回転軸部とは反対側の縁部に、摺接部間回転軸部を介して回転可能に取り付けられ、前記ガイド溝は第1ガイド溝と第2ガイド溝とからなり、前記第1回転摺接部が前記補助具本体の表面側に回転することにより前記第1ガイド溝の表面開口が閉じられ、前記第2回転摺接部が前記補助具本体の表面側に回転することにより前記第2ガイド溝の表面開口が閉じられることにある。
これによると、第1回転摺接部が閉位置にある状態で第2回転摺接部は開位置も閉位置も取り得る。すなわち、第1ガイド溝の表面開口が閉じられている状態で第2ガイド溝の表面開口が開閉可能となる。先に一の穿刺針を第1ガイド溝に設置して第1回転摺接部を閉じれば、次の他の穿刺針については、第1回転摺接部を再度、開けることなくして第2ガイド溝への設置が可能である。穿刺針毎に確実に設置することができる等、操作性が高まる。
本発明に係る穿刺針補助具の更に他の構成上の特徴は、前記回転摺接体は、第1回転摺接部と第2回転摺接部との二つで構成され、前記対本体回転軸部は、前記補助具本体の一方の縁部に位置をずらして設けられた一対の対本体回転軸部からなり、前記第1回転摺接部と前記第2回転摺接部とは、それぞれ位置をずらした状態で前記補助具本体の一方の縁部に前記一対の対本体回転軸部を介して回転可能に取り付けられ、前記ガイド溝は第1ガイド溝と第2ガイド溝とからなり、前記第1回転摺接部が前記補助具本体の表面側に回転することにより前記ガイド溝の少なくとも第1ガイド溝の一部の表面開口が閉じられ、前記第2回転摺接部が前記補助具本体の表面側に回転することにより前記ガイド溝の少なくとも前記第1ガイド溝の他の部分を含む残りの部分の表面開口が閉じられることにある。
これによると、第1回転摺接部が開閉いずれの位置にあっても第2回転摺接部は開位置も閉位置も取り得る。第2回転摺接部の開閉は第1回転摺接部の開閉の影響を受けない。ガイド溝について見れば、第1ガイド溝の表面開口が開閉いずれの状態にあっても、第2ガイド溝の表面開口が開閉可能となる。第2ガイド溝の表面開口の開閉は第1ガイド溝の表面開口の開閉の影響を受けない。穿刺針毎に確実に設置することができる等、操作性が更に高まる。
この場合、第2回転摺接部をL型に形成して第1回転摺接部を第1回転摺接部のL型の凹部内に収まることのできる小さな四角形に形成し、第1回転摺接部で第1ガイド溝の上部の表面開口を閉じ、第2回転摺接部で第1ガイド溝と第2ガイド溝との下部の表面開口と第2ガイド溝の上部の表面開口とを閉じるようにすることができる。また、四角形の第1回転摺接部で第1ガイド溝の下部の表面開口を閉じ、L型の第2回転摺接部で第1ガイド溝と第2ガイド溝との上部の表面開口と第2ガイド溝の下部の表面開口とを閉じるようにすることもできる。
本発明に係る穿刺針補助具の更に他の構成上の特徴は、前記回転摺接体は、第1回転摺接部と第2回転摺接部との二つで構成され、前記対本体回転軸部は前記補助具本体の両側縁部にそれぞれ設けられた一対の対本体回転軸部からなり、前記第1回転摺接部は、前記補助具本体の一方の縁部に一方の対本体回転軸部を介して取り付けられるとともに、前記第2回転摺接部は、前記補助具本体の他方の縁部に他方の対本体回転軸部を介して取り付けられ、前記ガイド溝は第1ガイド溝と第2ガイド溝とからなり、前記第1回転摺接部が前記補助具本体の表面側に回転することにより前記第1ガイド溝の表面開口が閉じられ、前記第2回転摺接部が前記補助具本体の表面側に回転することにより前記第2ガイド溝の表面開口が閉じられることにある。
これによると、第1回転摺接部が開閉いずれの位置にあっても第2回転摺接部は開位置も閉位置も取り得る。逆に、第2回転摺接部が開閉いずれの位置にあっても第1回転摺接部は開位置も閉位置も取り得る。第1回転摺接部の開閉と第2回転摺接部の開閉とは互いに影響を受けない。ガイド溝について見れば、第1ガイド溝の表面開口が開閉いずれの状態にあっても、第2ガイド溝の表面開口が開閉可能となり、逆に、第2ガイド溝の表面開口が開閉いずれの状態にあっても、第1ガイド溝の表面開口が開閉可能となる。第1ガイド溝の表面開口の開閉と第2ガイド溝の表面開口の開閉とは互いに影響を受けない。穿刺針を穿刺針毎に確実に設置することができる等、操作性が一層に高まる。
本発明に係る穿刺針補助具の更に他の構成上の特徴は、前記係合手段は、前記第1回転摺接部の前記対本体回転軸部とは反対側の縁部とその縁部に対応する前記補助具本体の部分とに設けられる第1回転摺接部係合手段と、前記第2回転摺接部の前記摺接部間回転軸部とは反対側の縁部とその縁部に対応する前記補助具本体の部分とに設けられる第2回転摺接部係合手段とからなることにある。
これによると、第1回転摺接部の閉位置が第1回転摺接部係合手段により維持され、第2回転摺接部の閉位置が第2回転摺接部係合手段により維持される。一の穿刺針の第1ガイド溝への設置の後は、第1回転摺接部の閉位置を維持するための労力を他の穿刺針の第2ガイド溝への設置等に振り向けることができる。その分、操作性が高まる。
本発明に係る穿刺針補助具の更に他の構成上の特徴は、前記係合手段は、前記第1回転摺接部の前記対本体回転軸部とは反対側の縁部とその縁部に対応する前記補助具本体の部分とに設けられる第1回転摺接部係合手段と、前記第2回転摺接部の前記対本体回転軸部とは反対側の縁部とその縁部に対応する前記補助具本体の部分とに設けられる第2回転摺接部係合手段とからなることにある。
これによっても、第1回転摺接部の閉位置が第1回転摺接部係合手段により維持され、第2回転摺接部の閉位置が第2回転摺接部係合手段により維持される。一の穿刺針の第1ガイド溝への設置の後は、第1回転摺接部の閉位置を維持するための労力を他の穿刺針の第2ガイド溝への設置等に振り向けることができる。その分、操作性が高まる。
本発明に係る穿刺針補助具の更に他の構成上の特徴は、前記係合手段は、互いに係合可能な係合突起と被係合部とで構成されることにある。
これによると、係合手段を、互いに係合される係合突起と被係合部とで構成すれば、操作性がよく、製造上も容易である。互いに係合される係合突起と被係合部とよりなる係合手段を、第1回転摺接部係合手段及び第2回転摺接部係合手段のいずれにも採用すれば、係合操作が同一でよく、その分、操作性も高まる。製造上も容易である。
本発明に係る穿刺針補助具の更に他の構成上の特徴は、前記第1ガイド溝は1本であり、前記第2ガイド溝は2本以上であることにある。
これによると、一の穿刺針と他の穿刺針との2本の穿刺針を用いるような場合、一の穿刺針については第1ガイド溝に設置し、他の穿刺針については、2本以上の第2ガイド溝の中のいずれを使用するかによって、一の穿刺針と他の穿刺針との間隔を適宜、選択することができる。
本発明に係る穿刺針補助具の更に他の構成上の特徴は、前記回転摺接体の閉位置で前記ガイド溝に対向するように前記回転摺接体に設けられ、前記ガイド溝に設置される前記穿刺針の周面に摺接抵抗を与える抵抗突起を備えたことにある。
これによると、穿刺針をガイド溝に設置したままで穿刺針補助具を一体的に扱っても、例えば、次の使用に備えて待機させるような場合に、あるいは、先に穿刺針をガイド溝に設置したうえで穿刺針補助具を患者の体の被縫合部の皮膚側部分に置くような場合に、不用意な意図しない穿刺針の軸方向への脱落を防止することができる。なお、抵抗突起の抵抗として、穿刺針の自重落下を阻止する程度のものが可能である。
また、前記抵抗突起は、ガイド溝毎に、同一の突高さ形状で形成することが好ましく、
これによると、穿刺針に共通に、必要かつ十分な摺接抵抗を与えることができる。また、製造上も容易である。
本発明に係る穿刺針補助具の更に他の構成上の特徴は、前記回転摺接体が閉位置にあるときに前記対本体回転軸部と前記対本体回転軸部に最も近いガイド溝との間に位置する把持部を前記補助具本体と前記回転摺接体とに形成したことにある。
これによると、ガイド溝に穿刺針を設置する際、ガイド溝から離れて穿刺針補助具を把持することができ、ガイド溝に穿刺針を設置する際の操作性が高められる。
この場合の把持部は補助具本体と回転摺接体との対本体回転軸側の部分で構成してもよいし、その部分から外側に向かって突出した突出片で構成してもよい。
本発明に係る穿刺針補助具の第1実施形態を図1から図22に基づいて説明する。なお、本実施形態では、穿刺針補助具を、縫合糸で臓器としての胃の胃壁を皮膚側部分としての腹壁に固定するために複数の穿刺針を腹壁側から胃壁側に穿刺するときに使用されるものとして説明する。
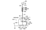
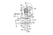
図1乃至図3に示すように、穿刺針補助具110は、板状の補助具本体112と、補助具本体112の一方の縁部に回転可能に取り付けられた板状の回転摺接体114とを備える。補助具本体112の表面には、ガイド溝116が平行に複数、並んで設けられている。なお、図3(a)の上下方向及び左右方向を基準として、以下、ガイド溝116の延びる方向(溝方向)を上下方向とし、ガイド溝116の並び方向を左右方向として説明する。ガイド溝116は補助具本体112の上下方向寸法に亘って形成され、溝方向と直交する横断面形状は半円状とされている。ガイド溝116の溝底に対応して補助具本体112の裏面は上下方向から見て半円状に突出されている(図2及び図4(b))。穿刺針としての挿入用穿刺針20(図7(a))の挿入用穿刺針外針21(図8(a))及び取出用穿刺針30(図7(b))がガイド溝116に設置され、軸方向(上下方向)にガイド溝116を移動可能とされる。補助具本体112の上端部には突出縁部118が設けられている。突出縁部118は、補助具本体112の表面側(手前側)及び裏面側のいずれの側にも突出し、補助具本体112の左側の部分を除いて左右方向長さ寸法の略2/3の右側部分に設けられている。突出縁部118には、ガイド溝116の上端部を構成するガイド切欠120が形成されている。ガイド切欠120は、手前側に向けて広幅とされて解放され、穿刺針をガイド溝116へ入れて設置するための案内用となっている。
回転摺接体114は、第1回転摺接部122と第2回転摺接部124とに、ガイド溝116の延びる方向と略直交する方向に沿って左右に二つで構成されている。第1回転摺接部122は補助具本体112に、ガイド溝116の延びる方向と略平行な縁部同士(第1回転摺接部122の右側の縁部と補助具本体112の左側の縁部(図3(a)を参照))で、対本体回転軸部としての第1ヒンジ連結部126を介して一体的に連結されて取り付けられている。第1ヒンジ連結部126は他の部分に比して薄肉とされている(図4(a)及び図4(b))。第1ヒンジ連結部126を中心として(第1ヒンジ連結部126の部分が屈曲することにより)、第1回転摺接部122が、ガイド溝116の表面開口を開く開位置からガイド溝116の表面開口を閉じる閉位置(図6(a))へ補助具本体112の表面に向けて回転可能である。第2回転摺接部124は第1回転摺接部122に、ガイド溝116の延びる方向と略平行な縁部同士(第2回転摺接部124の右側の縁部と第1回転摺接部122の左側の縁部、図3(a)を参照)で、摺接部間回転軸部としての第2ヒンジ連結部128を介して一体的に連結されて取り付けられている。第1ヒンジ連結部126と同様に、第2ヒンジ連結部128も他の部分に比して薄肉とされている(図4(a)及び図4(b))。第2ヒンジ連結部128を中心として(第2ヒンジ連結部128の部分が屈曲することにより)、第2回転摺接部124が、第1回転摺接部122に対して回転可能である。第1回転摺接部122が閉位置にあるとき、第2回転摺接部124は開位置から閉位置(図6(b))へ補助具本体112の表面に向けて回転可能である。第1回転摺接部122及び第2回転摺接部124のいずれもが閉位置にあるとき(図6(b))、回転摺接体114は(第1回転摺接部122及び第2回転摺接部124のいずれも)、補助具本体112の表面に重ねられ、回転摺接体114の上端面が補助具本体112の突出縁部118の下面に沿い、回転摺接体114の下端面が補助具本体112の下端面と同一高さとなる。
ガイド溝116は4本ある。第1ガイド溝116aが1本であり、第2ガイド溝116b、116c、116dが3本である。第1ガイド溝116aは、第1ヒンジ連結部126に最も近く、補助具本体112の左右方向の略中央部に位置され、第2ガイド溝116b、116c、116dは、この順に右側へ第1ヒンジ連結部126から離れ、補助具本体112の第1ヒンジ連結部126とは反対側の右側の部分に位置されている。第1ガイド溝116aと第2ガイド溝116bとの間隔は広くされ、第2ガイド溝116b、116c、116dのそれぞれの間隔は狭く、また等しくされている。第1回転摺接部122が閉位置にあるときに第1ガイド溝116aの表面開口が閉じられ、第1回転摺接部122が、第1ガイド溝116aに設置される穿刺針の周面と摺接可能となる。また、第2回転摺接部124が閉位置にあるときに第2ガイド溝116b、116c、116dの表面開口が閉じられ、第2回転摺接部124が、第2ガイド溝116b、116c、116dに設置される穿刺針の周面と摺接可能となる。
補助具本体112と回転摺接体114とには係合手段が設けられ、回転摺接体114の閉位置が維持されるようになっている。係合手段は、第1回転摺接部係合手段と第2回転摺接部係合手段とから構成される。第1回転摺接部係合手段は、係合突起134と被係合部としての係合孔136とからなる。係合突起134は、第1回転摺接部122の第1ヒンジ連結部126とは反対側の縁部に沿って、上下部分を除いて上下に長く第1回転摺接部122の表面上に立ち上がるように突出形成されている。係合孔136は、第1回転摺接部122の係合突起134の設けられる縁部に対応する補助具本体112の部分に、すなわち補助具本体112の第1ガイド溝116aと第2ガイド溝116bとの間に上下に長い矩形に開口されている。
第2回転摺接部係合手段は、係合突起130と被係合部としての係合切欠132とからなる。係合突起130は、回転摺接体114の第1ヒンジ連結部126とは反対側の縁部(第2回転摺接部124の第2ヒンジ連結部128とは反対側の縁部)に沿って、上下部分を除いて上下に長く手前側へ折れ曲がるように突出形成されている。係合切欠132は、第2回転摺接部124の係合突起130の設けられる縁部に対応する補助具本体112の部分に、すなわち補助具本体112の第1ヒンジ連結部126とは反対側の縁部に上下に長い矩形に切り欠かれている。
係合突起130、134は共に同様の形状とされ、突出方向中央部には段差138、140が形成されて係合突起130、134の先端部は楔状とされている。係合切欠132の切欠縁の部分及び係合孔136の孔縁の部分にはそれぞれ補助具本体112の表面側から裏面側に向けて傾斜面が形成されている。第1回転摺接部122の閉動作に伴い、係合突起134の楔状の部分の傾斜面が係合孔136の孔縁の部分の傾斜面に当たり、係合突起134の段差140が係合孔136の孔縁に引っ掛かるように、係合突起134が係合孔136に弾性的に係脱自在に係合され、第1回転摺接部122の閉位置が維持される。また、第2回転摺接部124の閉動作に伴い、係合突起130の楔状の部分の傾斜面が係合切欠132の切欠縁の部分の傾斜面に当たり、係合突起130の段差138が係合切欠132の切欠縁に引っ掛かるように、係合突起130が係合切欠132に弾性的に係脱自在に係合され、第2回転摺接部124の閉位置が維持される。
回転摺接体114の閉位置でガイド溝116に対向するように、すなわち、第1回転摺接部122の閉位置で第1ガイド溝116aに対向するように、また、第2回転摺接部124の閉位置で第2ガイド溝116b、116c、116dにそれぞれ対向するように、回転摺接体114には抵抗突起142が4個(第1回転摺接部122に1個、第2回転摺接部124に3個)、設けられている。抵抗突起142は上下方向から見て半円状の板状とされ、横断面半円状のガイド溝116の半円の円中心の位置で回転摺接体114の上端部の高さ位置に突設されている。抵抗突起142は、ガイド溝116に設置される穿刺針の周面に点接触的に当たって穿刺針に摺接抵抗を与えて穿刺針の自重落下を阻止するようになっている。
補助具本体112及び第1回転摺接部122にはそれぞれ把持部144、145が形成されている。補助具本体112の把持部144及び第1回転摺接部122の把持部145は、第1回転摺接部122が閉位置にあるときに重なり、第1ヒンジ連結部126と、第1ヒンジ連結部126に最も近いガイド溝116(第1ガイド溝116a)との間に対向して位置するようになっている。把持部144、145の上端部は、突出縁部118を避けるように突出縁部118の左側を突出縁部118の高さ位置より高く、すなわち、補助具本体112と回転摺接体114との他の部分に比して2倍程度、高く延び出ている。全体的に、補助具本体112と回転摺接体114とは共に鉤形で、第1ヒンジ連結部126を介して線対称的な形状となっている。把持部144、145を挟むようにすれば、穿刺針補助具110を保持することができ、また、第1回転摺接部122を開位置から閉位置へ回転することができる。
補助具本体112の下端には安定板146、146が補助具本体112と一体的に形成されている。安定板146は、第1ガイド溝116aの左側と、第2ガイド溝116dの右側とにそれぞれ設けられ、補助具本体112の表裏のいずれ側にも同等長さに延出されている(図5(a)及び図5(b))。安定板146の下面を腹壁に置いたときに安定感が得られるようになっている。
図2及び図3(b)に示すように、補助具本体112の把持部144の裏面及び第1回転摺接部122の把持部145の裏面にはそれぞれ、補強用のリブ148が設けられている。リブ148は、把持部144、145の上下端部分を除いて上下方向に延び、把持部144、145にそれぞれ3本づつ左右方向に並んで設けられている。補助具本体112の裏面において第2ガイド溝116bと係合孔136との間にも、補強用のリブ150が突設されている。リブ150は、上下方向から見ると左右方向に沿って円弧状とされ、上下方向に所定間隔を置いて4個、形成されている。
さて、本実施形態の作用を説明する前に、挿入用穿刺針20の挿入用穿刺針外針21、取出用穿刺針30について説明しておく。
挿入用穿刺針20は、図7(a)に示すように、挿入用穿刺針外針21と挿入用穿刺針内針22とを備える。挿入用穿刺針外針21は、図8(a)に示すように、ステンレス製の円筒体に形成され、挿入用穿刺針外針21の内部は、挿入用穿刺針内針22(図8(b))を挿通させる挿通孔21aとされている。挿入用穿刺針外針21の基端部(上端部)には、樹脂製のハブ部23が取り付けられている。ハブ部23は、上部23aが小径の円筒状に形成され、ハブ部23の中央から下部側にかけてはハブ本体23bがハブ部23の上部23aよりも幅の大きな四角筒状(4側面を有する)に形成されている。ハブ部23の内部には、挿通孔21aに連通するガイド穴23cが形成されている。
ガイド穴23cは、上部側が大径で下部側が小径に形成されている。ハブ部23の上方から挿通孔21a内への挿入用穿刺針内針22の挿入が容易になっている。ハブ本体23bの周面上端部の一側面には、上下に貫通する穴部を備えた環状被係合部23dが設けられている。挿入用穿刺針外針21の先端部(下端部)は、環状被係合部23dに対応して斜め方向に切断されている。切断により開口部21bが横方向(軸方向と直交する方向)から見えるように形成されている。開口部21bの横方向の向きと環状被係合部23dの設置の向きとは、挿入用穿刺針外針21の軸方向から見て同一とされている。環状被係合部23dの位置によって、開口部21bの横方向の向きを確認することができる。
挿入用穿刺針外針21のハブ部23の下方には、ハブ部23と間隔を置いて板状の位置決め部24が取り付けられている。位置決め部24の中央部に形成された穴部に、挿入用穿刺針外針21が差し込まれ、挿入用穿刺針外針21に対する位置決め部24の軸方向の取付位置が変更可能となっている。位置決め部24の挿入用穿刺針外針21に対する取付位置は、位置決め部24より下側部分の挿入用穿刺針外針21の必要とされる突出量(被縫合部に差し込む長さと、穿刺針補助具110の突出縁部118の上面と安定板146の下面との間の長さとの和)に応じて適宜設定される。
図8(b)に示すように、挿入用穿刺針内針22は、挿入用穿刺針外針21の挿通孔21a内に挿通可能なステンレス製の細径の棒体で形成されている。挿入用穿刺針内針22の基端部(上端部)には、樹脂製のハブ部25が取り付けられている。ハブ部25は、四角柱状(4側面を有する)に形成されている。ハブ部25の下部側にはハブ部23の上部23aを収容できる凹部(図示せず)が形成されている。ハブ部25の周面下端部の一側面には、環状被係合部23dの穴部内に挿入可能な係合突部25aが形成されている。係合突部25aの下端部は下方に向って延びている。挿入用穿刺針内針22の先端部(下端部)は、係合突部25aに対応して斜め方向に切断されている。切断された切断面22aの横方向(軸方向と直交する方向)への向きと、係合突部25aの設置の向きとは、挿入用穿刺針内針22の軸方向から見て同一とされている。係合突部25aの位置によって、切断面22aの向きを確認することができる。
図7(a)、図8に示すように、挿入用穿刺針外針21の挿通孔21a内に挿入用穿刺針内針22を挿入していくと、挿入用穿刺針内針22のハブ部25の内部に挿入用穿刺針外針21のハブ部23の上部23aが入り込んで、挿入用穿刺針内針22のハブ部25の係合突部25aが、挿入用穿刺針外針21のハブ部23の環状被係合部23dと係合し、挿入用穿刺針内針22の切断面22aが、挿入用穿刺針外針21の挿通孔21a内で挿入用穿刺針外針21の開口部21bと同じ向きになる。挿入用穿刺針外針21に挿入用穿刺針内針22を組み付けた挿入用穿刺針20には、使用しないときは、図10(a)に示すように、円筒状のプロテクタ26が取り付けられる。プロテクタ26の内部に挿入用穿刺針20の穿刺針部分が収容された状態で、プロテクタ26の開口内周縁部に挿入用穿刺針外針21のハブ部23の下端部分が係合され、挿入用穿刺針20の穿刺針部分が保護されるようになっている。
取出用穿刺針30は、図7(b)、図9に示すように、取出用穿刺針外針31と、取出用穿刺針内針32とを備える。取出用穿刺針外針31は、図9(a)に示すように、内部に取出用穿刺針内針32を挿通させる挿通孔31aが形成されたステンレス製の円筒体で形成されている。取出用穿刺針外針31の基端部(上端部)には、樹脂製のハブ部33が取り付けられている。ハブ部33は、上部33aが小径の円筒状に形成され、ハブ部33の中央から下部側にかけては、ハブ本体33bが上部33aよりも幅の大きな四角筒状(4側面を有する)に形成されている。ハブ部33の内部には、挿通孔31aに連通するガイド穴33cが形成されている。
ガイド穴33cは、上部側が大径で下部側が小径に形成されている。ハブ部33の上方から挿通孔31a内への取出用穿刺針内針32の挿入が容易になっている。ハブ本体33bの周面上端部の一側面には、上下に貫通する穴部を備えた環状被係合部33dが設けられている。取出用穿刺針外針31の先端部(下端部)は、環状被係合部33dに対応して斜め方向に切断されている。切断によって開口部31bが横方向(取出用穿刺針外針31の軸方向と直交する)へ開口形成されている。開口部31bの横方向の向きと環状被係合部33dの設置の向きとは、取出用穿刺針外針31の軸方向から見て同一とされている。環状被係合部33dの位置によって、開口部31bの横方向の向きを確認することができる。
取出用穿刺針外針31のハブ部33の下方には、ハブ部33と間隔を保って板状の位置決め部34が取り付けられている。位置決め部34は、中央部に形成された穴部に取出用穿刺針外針31が差し込まれ、取出用穿刺針外針31に対する位置決め部34の軸方向の取付位置が変更可能となっている。位置決め部34の取出用穿刺針外針31に対する取付位置は、取出用穿刺針外針31の位置決め部34より下側部分の突出量(被縫合部に差し込む長さと、穿刺針補助具110の突出縁部118の上面と安定板146の下面との間の長さとの和)に応じて適宜設定される。
取出用穿刺針内針32は、図9(b)に示すように、取出用穿刺針外針31の挿通孔31a内を挿通可能な細径のステンレス製の内針部35と、内針部35の先端部に設けられた環状の捕獲部36と、内針部35の上端部に設けられたハブ部37とを備える。捕獲部36は、内針部35よりもさらに細い極細の線状体で形成され、内針部35の先端部から屈曲して略水平方向に延びている。捕獲部36の平面視の形状は、略円形となり(図9(c))、側面視の形状は、中央部分が下方に湾曲した円弧状になっている(図9(b))。捕獲部36の先端部には、小さなU字状の係合曲部36aが形成されている(図9(c))。
捕獲部36は可撓性とされ、係合曲部36aを内針部35の先端部から離すように軽く力を加えることにより容易に変形して真っ直ぐに延びるが、変形させる力を解除すると、もとの環状に復元する。ハブ部37の下部には取出用穿刺針外針31のハブ部33の上部33aを収容できる凹部(図示せず)が形成されている。ハブ部37の4側面の中の一側面の下端部には、捕獲部36が延びる方向に対応して、係合突部37aが設けられている。係合突部37aの下端部が下方に向って延びて、取出用穿刺針外針31のハブ部33の環状被係合部33dの穴部内に挿入可能となっている。
図7(b)、図9に示すように、取出用穿刺針外針31の挿通孔31a内に、取出用穿刺針内針32の捕獲部36を直線状に延ばした状態で取出用穿刺針内針32を挿入していくと、取出用穿刺針内針32のハブ部37の内部に取出用穿刺針外針31のハブ部33の上部33aが入り込み、取出用穿刺針内針32のハブ部37の係合突部37aが取出用穿刺針外針31のハブ部33の環状被係合部33dと係合し、取出用穿刺針内針32の捕獲部36が、取出用穿刺針外針31の開口部31bから外部に突出して環状の形状に戻る。
取出用穿刺針外針31に取出用穿刺針内針32を組み付けた取出用穿刺針30には、図10(b)に示すように、使用しないときには、略円筒状のプロテクタ38が取り付けられる。プロテクタ38の先端部は、一方側の部分が斜めに切断されて斜めに切断された部分を含めて開口されている。プロテクタ38の内部に取出用穿刺針30の穿刺針部分を収容した状態で、プロテクタ38の上端部の開口内周縁部に取出用穿刺針外針31のハブ部33の下端部分を係合すれば、取出用穿刺針30の穿刺針部分が保護される。プロテクタ38の先端部の開口からは取出用穿刺針内針32の捕獲部36が突出されて、捕獲部36に外力が掛からないようにされている。捕獲部36の形状が長期にわたって維持される。
では、本実施形態の作用として、穿刺針補助具110を用いて、腹壁Aと胃壁Bとを縫合する場合について説明する。
まず、図11に示すように、補助具本体112が患者の腹壁Aの皮膚表面に置かれる。把持部144、145が把持されて回転摺接体114が支えられ、図12に示すように、取出用穿刺針内針32の捕獲部36が取出用穿刺針外針31内に収容されて取出用穿刺針内針32のハブ部37が取出用穿刺針外針31のハブ部33の上方に位置された状態で取出用穿刺針30の先端側部分が、補助具本体112のガイド溝116の中の第1ガイド溝116aに入れられ、設置される。このとき、第1回転摺接部122、第2回転摺接部124はいずれも開位置にある。
次に、把持部144、145を挟むようにすれば、図13に示すように、第1回転摺接部122が開位置から閉位置へ補助具本体112の表面側に回転し、補助具本体112の表面に第1回転摺接部122が重ねられる。係合突起134が係合孔136に係合されて第1回転摺接部122の閉位置が維持され、一方、第2回転摺接部122は開位置(図6(a)を参照)にある。この状態で、取出用穿刺針30が、腹壁Aの皮膚表面に押し付けられ、図14に示すように、第1ガイド溝116a及び第1回転摺接部122に摺接するように下降して、第1ガイド溝116aに沿って移動し、取出用穿刺針30の先端側部分が腹壁Aと胃壁Bとに刺し込まれる。なお、図13乃至図20において、穿刺針補助具110はリブ148を省略して示す。
次に、図15に示すように、取出用穿刺針外針31の位置決め部34が補助具本体112の突出縁部118に当たるまで取出用穿刺針30が刺し込まれる。続いて、取出用穿刺針内針32が取出用穿刺針外針31内を移動し、取出用穿刺針内針32の係合突部37aが取出用穿刺針外針31の環状被係合部33dに係合されると、取出用穿刺針内針32の捕獲部36が取出用穿刺針外針31の開口部31bから突出される。取出用穿刺針内針32の捕獲部36が胃壁Bの内部側で取出用穿刺針外針31に対して略直角になるように広がって環状になる。取出用穿刺針内針32の捕獲部36が広がる方向は、取出用穿刺針内針32の係合突部37aと取出用穿刺針外針31の環状被係合部33dとの位置から確認できる。
次に、挿入用穿刺針内針22が挿入用穿刺針外針21から抜き取られて挿入用穿刺針外針21の先端側部分が、補助具本体112の第2ガイド溝116b、116c、116dの中の例えば、第1ガイド溝116aに最も近い第2ガイド溝116bに入れられ、設置される。補助具本体112と回転摺接部124とを挟むようにすれば、図16に示すように、第2回転摺接部124が開位置から閉位置へ補助具本体112の表面側に回転し、補助具本体112の表面に第2回転摺接部124が重ねられる(図6(b)を参照)。係合突起130が係合切欠132に係合されて第2回転摺接部124の閉位置が維持される。
この状態で、挿入用穿刺針外針21が腹壁Aの皮膚表面に押し付けられ、図17に示すように、挿入用穿刺針外針21の位置決め部24が補助具本体112の突出縁部118に当たるまで、挿入用穿刺針外針21が第2ガイド溝116bに沿って移動し、挿入用穿刺針外針21の先端側部分が腹壁Aと胃壁Bとに刺し込まれる。挿入用穿刺針外針21の先端部が取出用穿刺針内針32の捕獲部36の中央近傍に位置される。挿入用穿刺針外針21のハブ部23の環状被係合部23dが、取出用穿刺針内針32のハブ部37の係合突部37aと取出用穿刺針外針31のハブ部33の環状被係合部33dとに対向することによって、挿入用穿刺針外針21の開口部21bが、取出用穿刺針外針31の開口部31bと対向できる。
次に、図18に示すように、縫合糸28が、挿入用穿刺針外針21のハブ部23のガイド穴から挿入用穿刺針外針21の挿通孔21a内に挿し込まれ、図19に示すように、縫合糸28の先端部分が挿入用穿刺針外針21の開口部21bから突出される。縫合糸28の先端部分と、取出用穿刺針内針32の捕獲部36とは内視鏡で確認できる。縫合糸28の先端部分が捕獲部36内に位置したならば、図20に示すように、取出用穿刺針内針32のハブ部37が上方に引っ張られ、取出用穿刺針内針32が取出用穿刺針外針31の上部側に移動される。縫合糸28の先端部分が取出用穿刺針内針32の捕獲部36の係合曲部36aに係合され、捕獲部36と共に取出用穿刺針外針31の内部側に入り込む。
次に、挿入用穿刺針外針21と取出用穿刺針30とが患者の体から引き抜かれる。なお、挿入用穿刺針外針21と取出用穿刺針30とがガイド溝116に設置されたままで穿刺針補助具110が被縫合部から取り除かれる。縫合糸28の両端が、胃壁Bおよび腹壁Aを貫通して、図21に示すように、患者の体外に突出される。図22に示すように、縫合糸28の両端部を結び付けると、縫合処理が終了する。
なお、挿入用穿刺針外針21の挿通孔21a内に縫合糸28を挿し込む際に、縫合糸28が挿通孔21a内で詰まった場合には、次のようにすればよい。一旦、縫合糸28を挿入用穿刺針外針21から抜き戻し、挿入用穿刺針内針22を挿通孔21a内に挿入して挿通孔21a内で詰まったものを取り除ければ、その後、再度、縫合糸28を挿通孔21a内に挿入して縫合糸28の先端部分を開口部21bから突出することができる。
以上のように、補助具本体112が患者の体の腹壁の皮膚表面に置かれ、第1回転摺接部122が開位置にある状態で、取出用穿刺針30が、ガイド溝116に入れられて設置される。第1回転摺接部122が補助具本体112の表面側に回転して閉位置にある状態で、取出用穿刺針30を体内へ押し付ければ、取出用穿刺針30がガイド溝116に沿って移動し、取出用穿刺針30の先端側部分が体内に穿刺される。第2回転摺接部124についても同様に、第2回転摺接部124が開位置にある状態で、挿入用穿刺針20が、ガイド溝116に入れられて設置される。第2回転摺接部124が補助具本体112の表面側に回転して閉位置にある状態で、挿入用穿刺針外針21を体内へ押し付ければ、挿入用穿刺針外針21がガイド溝116に沿って移動し、挿入用穿刺針外針21の先端側部分が体内に穿刺される。
第1回転摺接部122が閉位置にあれば、取出用穿刺針30が軸方向と直交する方向にガイド溝116から外れることは防止される。取出用穿刺針30がガイド溝116に沿って移動するので、位置ずれすることなく適正な状態で体内に穿刺される。第2回転摺接部124についても同様に、第2回転摺接部124が閉位置にあれば、挿入用穿刺針外針21が軸方向と直交する方向にガイド溝116から外れることは防止される。挿入用穿刺針外針21がガイド溝116に沿って移動するので、位置ずれすることなく適正な状態で体内に穿刺される。
第1回転摺接部122の閉位置では、係合突起134の段差140が係合孔136の孔縁に引っ掛かるように係合突起134が係合孔136に係合して第1回転摺接部122の閉位置が維持され、また、第2回転摺接部124の閉位置では、係合突起130の段差138が係合切欠132の切欠縁に引っ掛かるように係合突起130が係合切欠132に係合して第2回転摺接部124の閉位置が維持される。このため、穿刺針補助具110から手を離しても第1回転摺接部122の閉位置の閉位置が維持され、また、第2回転摺接部124の閉位置が維持される。このように、穿刺針がガイド溝116に設置された(穿刺針が穿刺針補助具にセットされた)ままの状態が保たれるため、両手を穿刺針の穿刺操作に使用できる等、第1回転摺接部122の閉位置を維持するための労力を他に振り向けることができ、また、第2回転摺接部124の閉位置を維持するための労力を他に振り向けることができる。取出用穿刺針30及び挿入用穿刺針20を同時に穿刺する場合には、特に有効である。
なお、本実施形態のように、穿刺針毎に、すなわち、取出用穿刺針30を第1ガイド溝116aに設置して第1回転摺接部122を閉じて患者の体に穿刺し、次に、挿入用穿刺針外針21を第2ガイド溝116bに設置して第2回転摺接部124を閉じて患者の体に穿刺することの外、取出用穿刺針30及び挿入用穿刺針外針21のように複数の穿刺針を一緒にそれぞれ対応するガイド溝116(取出用穿刺針30を第1ガイド溝116a、挿入用穿刺針外針21を第2ガイド溝116b)に設置して第1回転摺接部122と第2回転摺接部124とを閉じ、複数の穿刺針を同時にあるいは穿刺針毎に患者の体に穿刺することも可能である。また、取出用穿刺針30をガイド溝116に設置するのに、第1回転摺接部122を開けた状態で、取出用穿刺針30をガイド溝116に入れる外、第1回転摺接部122を閉じた状態で取出用穿刺針30をガイド溝116に入れることも可能である。挿入用穿刺針外針21についても、挿入用穿刺針外針21をガイド溝116に設置するのに、第2回転摺接部124を開けた状態で、挿入用穿刺針外針21をガイド溝116に入れる外、第2回転摺接部124を閉じた状態で挿入用穿刺針外針21をガイド溝116に入れることも可能である。
係合手段の位置は、必ずしも本実施形態に限定されない。ただ、第1回転摺接部係合手段を、第1回転摺接部122の第1ヒンジ連結部126の反対側の縁部とその縁部に対応する補助具本体112の部分とに設けるようにすれば、第1回転摺接部122に対応するガイド溝116(第1ガイド溝116a)の表面開口を確実に閉じておくことができ、また、第2回転摺接部係合手段を、第2回転摺接部124の第2ヒンジ連結部128の反対側の縁部とその縁部に対応する補助具本体112の部分とに設けるようにすれば、第2回転摺接部124に対応するガイド溝116b、116c、116dの表面開口を確実に閉じておくことができる。
回転摺接体は必ずしも二つで構成されなくてもよいが、回転摺接体114が、第1回転摺接部122と第2回転摺接部124とに左右に2つで構成され、第1回転摺接部122が閉位置にある状態で第2回転摺接部124が開位置も閉位置も取り得る場合、すなわち、第1ガイド溝116aの表面開口が閉じられている状態で第2ガイド溝116b、116c、116dの表面開口が開閉可能となる場合には、先に取出用穿刺針30を第1ガイド溝116aに設置して第1回転摺接部122を閉じれば、次の挿入用穿刺針外針21については、第1回転摺接部122を再度、開けることなくして第2回転摺接部124の開閉によるガイド溝116への設置が可能である。穿刺針毎に確実に設置することができる等、操作性が高まる。
回転摺接体114が二つで構成された場合に第1回転摺接部122と第2回転摺接部124とのいずれにも係合手段が必ずしも求められるわけではない。ただ、第1回転摺接部122の閉位置では、係合突起134の段差140が係合孔136の孔縁に引っ掛かるように係合突起134が係合孔136に係合して第1回転摺接部122の閉位置が維持され、また、第2回転摺接部124の閉位置では、係合突起130の段差138が係合切欠132の切欠縁に引っ掛かるように係合突起130が係合切欠132に係合して第2回転摺接部124の閉位置が維持されるので、先の取出用穿刺針30の第1ガイド溝116aへの設置の後は、第1回転摺接部122の閉位置を維持するための労力を次の挿入用穿刺針20の第2ガイド溝116b、116c、116dへの設置等に振り向けることができる。その分、操作性が高まる。なお、係合突起134の係合孔136との係合にあって、また、係合突起130の係合切欠132との係合にあっては、段差が縁に引っ掛かるので、節度感のある係合が可能となる。
第1回転摺接部係合手段については、係合突起134が係合孔136と係合される係合構造が採用され、第2回転摺接部係合手段についても、係合突起130が係合切欠132と係合される係合構造が採用されている。係合手段を、互いに係合される係合突起と被係合部とで構成すれば、操作性がよく、製造上も容易である。互いに係合される係合突起と被係合部とよりなる係合手段を、第1回転摺接部係合手段及び第2回転摺接部係合手段のいずれにも採用すれば、係合操作が同一でよく、その分、操作性も高まる。製造上も容易である。
ガイド溝116の本数は必ずしも4本に限らない。少なくとも、第1回転摺接部122の閉じる第1ガイド溝が1本、第2回転摺接部124の閉じる第2ガイド溝が1本あればよい。第1ガイド溝が1本あり、第2ガイド溝が2本以上あり、逆に、第1ガイド溝が2本以上あり、第2ガイド溝が1本あり、あるいは、第1、第2ガイド溝が共に2本以上あってもよいものである。ただ、第1ガイド溝116aが1本であり、第2ガイド溝116b、116c、116dが3本のように2本以上あれば、第1ガイド溝116aに取出用穿刺針30を設置し、挿入用穿刺針外針21については、第2ガイド溝116b、116c、116dのいずれに設置するかによって、取出用穿刺針30と挿入用穿刺針外針21との間隔を患者に対応させる等、適宜、選択することができる。第2ガイド溝116bを選択すれば、間隔が最も小さい。第2ガイド溝116b、第2ガイド溝116c、ガイド溝116dの順で間隔が大きくなる。
ガイド溝116に対向して回転摺接体114に設けられた抵抗突起142によれば、抵抗突起124が、取出用穿刺針30及び挿入用穿刺針外針21の周面と点接触的に当たり、取出用穿刺針30及び挿入用穿刺針外針21に摺接抵抗を与えているので、取出用穿刺針30をガイド溝116に設置したままで、また挿入用穿刺針外針21をガイド溝116に設置したままで穿刺針補助具110を一体的に扱っても、不用意な意図しない取出用穿刺針30、挿入用穿刺針外針21の軸方向への脱落を防止することができる。縫合を複数個所で行なうにあたって次の使用に備えて待機させるような場合に、あるいは、先に穿刺針をガイド溝116に設置したうえで穿刺針補助具110を患者の体の被縫合部の皮膚側部分の腹部に置くような場合に有効的である。
抵抗突起124が、前記ガイド溝116毎に、同一の突高さ形状で形成されているので、取出用穿刺針30及び挿入用穿刺針外針21に共通に、必要かつ十分な摺接抵抗を与えることができる。また、製造上も容易である。
把持部144、145によれば、ガイド溝116に取出用穿刺針30を設置する際、また、挿入用穿刺針外針21を設置する際、ガイド溝116から離れて穿刺針補助具110を持つことができ、操作性が高められる。
把持部144、145は補助具本体と回転摺接体との対本体回転軸側の部分で構成してもよいし、本実施形態のように、その部分から外側に向かって突出した突出片の態様に、すなわち、突出縁部118の高さより高く延び出るようにしてもよい。その高く延び出ている上端部を把持すれば、ガイド溝116から横方向だけでなく高さ(上下)方向にも離れ、特に効果的である。また、把持部144及び把持部145の両方を突出させるのではなく、片方だけ、すなわち、把持部144及び把持部145の中の一方だけを突出させるようにしてもよい。
なお、補助具本体112の下端部には安定板146を設けているだけで、補助具本体112の下端部までガイド溝116が上下に連続形成されている。ガイド溝116について穿刺針をガイドするのに十分かつ必要な長さが得られ、限られた穿刺針の有効長さを最大限に利用することができる。
また、補助具本体112の下端部に安定板146を設けたため、穿刺針補助具110を患者の体に設置する際に、安定板146を患者の皮膚表面に当てると、皮膚表面とガイド溝116とが直交する。このため、取出用穿刺針30や挿入用穿刺針外針21を患者の腹壁Aおよび胃壁Bに対して適正な角度で穿刺することができる。また、補助具本体112の上端部に突出縁部118を設けて、突出縁部118にガイド切欠120を形成したので、突出縁部118が補強部となって穿刺針補助具10の強度が向上する。
突出縁部118のガイド切欠120によれば、手前側に幅が広く開放されているので、取出用穿刺針30や挿入用穿刺針外針21のガイド溝への取り付けがし易くなる。特に、第1回転摺接部122を補助具本体112の表面側に位置させた状態で、取出用穿刺針30をガイド溝116と第1回転摺接部122との間に挿し込む場合には、また、第2回転摺接部124を補助具本体112の表面側に位置させた状態で挿入用穿刺針外針21の先端側部分をガイド溝116と第2回転摺接部124との間に挿し込む場合には、その操作がし易くなる。
また、補助具本体112と回転摺接体114とを含めて穿刺針補助具110の全体を合成樹脂製の一体成形で得ることができる。透明又は半透明の素材を選択することも可能である。
次に、第1実施形態の変形例を図23に基づき説明する。
本変形例の穿刺針補助具180では、図23に示すように、第1回転摺接部係合手段が係合突起182と係合孔136とからなる。係合突起182は、基端から突出先端に亘って同厚の板状とされ、段差が無い。係合孔136は第1実施形態と同様である。第1回転摺接部122の閉位置では係合突起182が係合孔136と係脱自在に弾性的に係合され、係合突起182の板面が係合孔136の孔縁と当接し、摺接抵抗(摩擦抵抗)に基づいて第1回転摺接部122の閉位置が維持されるようになっている。
これによれば、極めて軽度の係合力が実現され、係合の解除の容易性が優先されている。
他の構成、作用効果は第1実施形態と同様である。
次に第2実施形態を図24に基づき説明する。
本実施形態の穿刺針補助具210では、図24に示すように、第1回転摺接部係合手段について、第1実施形態の係合突起134が、一対の係合突起234、234に替えられている。係合突起234、234は、第1ガイド溝116aと第2ガイド溝116bとの間の位置において、突出縁部218と補助具本体112の下端部とにそれぞれ設けられている。係合突起234の形状は、第1実施形態の係合突起134と同様に、段差240を有して先端部が楔状とされている。第1回転摺接部122の第1ヒンジ連結部126とは反対側の縁部の位置において、係合突起234、234の段差240、240間に第1回転摺接部122の上下が挟み込まれるように引っ掛かりが生じて係合突起134と第1回転摺接部122の上下端部とが係脱自在に弾性的に係合され、第1回転摺接部122の閉位置が維持されるようになっている。第1回転摺接部122の上下端部が被係合部とされる。
第2回転摺接部係合手段については、第1実施形態の係合切欠132が、第1実施形態の係合孔136と同様な被係合部としての係合孔232に替えられている。第2回転摺接部124の閉位置では、係合突起130の段差138が係合孔232の孔縁に引っ掛かるように、係合突起130が係合孔232と係脱自在に弾性的に係合され、第2回転摺接部124の閉位置が維持されるようになっている。
他の構成、作用効果は第1実施形態と同様である。
次に第3実施形態を図25に基づき説明する。
本実施形態の穿刺針補助具310では、図25に示すように、第1回転摺接部係合手段が、上下に間隔を置いて突設された一対の円柱状の係合突起334、334と、これに対応する一対の円形あるいは矩形の被係合部としての係合孔336、336とからなる。係合突起334、334が係合孔336、336に弾性的に係脱自在に係合され、係合突起334、334の外周面が係合孔336、336の孔縁に当接し、摺接抵抗(摩擦抵抗)に基づいて、第1回転摺接部122の閉位置が維持されるようになっている。第1実施形態の変形例と同様に、極めて軽度の係合力が実現され、係合の解除の容易性が優先されている。
他の構成、作用効果は第1実施形態と同様である。
次に第4実施形態を図26に基づき説明する。
本実施形態の穿刺針補助具410では、図26に示すように、回転摺接体414が第1回転摺接部422と第2回転摺接部424とに概ね上下に二つで構成されるとともに、第1回転摺接部422と第2回転摺接部424とが同じ側(左側)から開閉されるようになっている。対本体回転軸部は、位置をずらした一対の第1ヒンジ連結部426、427からなる。すなわち、第1ヒンジ連結部426は上側に位置し、第1ヒンジ連結部427は第1ヒンジ連結部426と同軸状に下側に位置する。第1回転摺接部422は、上側に位置し、補助具本体112に、ガイド溝116の延びる方向と略平行する縁部同士(第1回転摺接部422の右側の縁部と補助具本体112の左側の縁部)で、第1ヒンジ連結部426を介して回転可能に取り付けられている。第1回転摺接部422の閉位置では、第1ガイド溝116aの上半分の部分において、第1ガイド溝116aの表面開口が閉じられる。すなわち、第1回転摺接部422の閉位置では、少なくとも第1ガイド溝116aの一部の表面開口が閉じられる。
第2回転摺接部424は、補助具本体112に、ガイド溝116の延びる方向と略平行する縁部同士(第2回転摺接部424の右側の縁部と補助具本体112の左側の縁部)で、第1ヒンジ連結部427を介して回転可能に取り付けられている。第2回転摺接部424の形状は、第1回転摺接部422を避けるように第1回転摺接部422の下を通って第1回転摺接部422の第1ヒンジ連結部426とは反対側の縁部に沿って上方へ立ち上がるようにL型とされている。第2回転摺接部424の閉位置では、第2ガイド溝116b、116c、116dの表面開口の上下方向の全部分に亘って、第2ガイド溝116b、116c、116dの表面開口が閉じられるとともに、第1ガイド溝116aの下半分の部分において、第1ガイド溝116aの表面開口が閉じられる。すなわち、第2回転摺接部424の閉位置では、ガイド溝116の少なくとも第1ガイド溝116aの他の部分を含む残りの部分の表面開口が閉じられる。
係合手段は、第1回転摺接部係合手段と第2回転摺接部係合手段とからなる。第1回転摺接部係合手段は、係合突起430と被係合部としての係合孔436とからなる。係合突起430は、第1回転摺接部422の第1ヒンジ連結部426とは反対側の縁部に上下方向長さは短いが第1実施形態の係合突起130と同様に形成されている。係合孔436は、第1ガイド溝116aと第2ガイド溝116bとの間の位置において、係合突起430に対応して補助具本体112の上半分の部分に、上下方向長さは短いが第1実施形態の係合孔136と同様に矩形に形成されている。第2回転摺接部係合手段は、第1実施形態と同様に、係合突起130と、係合切欠132とからなる。
第1回転摺接部422の係合突起430の段差が補助具本体112の係合孔436の孔縁に引っ掛かるように、係合突起430が係合孔436と係脱自在に係合されることによって第1回転摺接部422の閉位置が維持される。また、第2回転摺接部424の係合突起130と補助具本体112の係合切欠132とが第1実施形態と同様に係合し、この係合によって第2回転摺接部424の閉位置が維持される。
第1回転摺接部422が開閉いずれの位置にあっても第2回転摺接部424は開位置も閉位置も取り得る。第2回転摺接部424の開閉は第1回転摺接部422の開閉の影響を受けない。ガイド溝116について見れば、第1ガイド溝116aの表面開口が開閉いずれの状態にあっても、第2ガイド溝116b、116c、116dの表面開口が開閉可能となる。第2ガイド溝116b、116c、116dの表面開口の開閉は第1ガイド溝116aの表面開口の開閉の影響を受けない。穿刺針毎に確実に設置することができる等、操作性が更に高まる。
なお、本実施形態では、第2回転摺接部をL型に形成し、第1回転摺接部を第1回転摺接部のL型の凹部内に収まることのできる小さな四角形(把持部の上方へ突出した形状を除外すれば)に形成して、第1回転摺接部で第1ガイド溝の上部の表面開口を閉じ、第2回転摺接部で第1ガイド溝と第2ガイド溝との下部の表面開口及び第2ガイド溝の上部の表面開口を閉じるようにしているが、これに限られない。例えば、四角形の第1回転摺接部で第1ガイド溝の下部の表面開口を閉じ、L型の第2回転摺接部で第1ガイド溝と第2ガイド溝との上部の表面開口及び第2ガイド溝の下部の表面開口を閉じるようにすることもできる。
また、回転摺接体414に形成される把持部が、第1回転摺接部422及び第2回転摺接部424にそれぞれ対応して上下に二つで構成されている。上に位置する第1回転摺接部422の把持部445aと、補助具本体112の把持部144とを挟むように持って、第1回転摺接部422を開位置から閉位置へ回転することができ、第2回転摺接部424の把持部445bと、補助具本体112の把持部144とを挟むように持って、第2回転摺接部424を開位置から閉位置へ回転することができる。
他の構成、作用効果は第1実施形態と同様である。
次に第5実施形態を図27に基づき説明する。
本実施形態の穿刺針補助具510では、図27に示すように、回転摺接体514が、第4実施形態と同様の第1回転摺接部422と、第4実施形態とは異なる第2回転摺接部524とに概ね上下に二つで構成されている。第1回転摺接部422と第2回転摺接部524とは観音開き(左右両開)の態様である。対本体回転軸部は、補助具本体512の両側縁部にそれぞれ設けられた一対の第1ヒンジ連結部426、526からなる。第1ヒンジ連結部426は、第4実施形態と同様に補助具本体512の一方(左側)の縁部にあり、第1ヒンジ連結部526は、補助具本体512の他方(右側)の縁部にある。第2回転摺接部524は、補助具本体512に、ガイド溝116の延びる方向と略平行する縁部同士(第2回転摺接部524の左側の縁部と補助具本体512の右側の縁部)で、第1ヒンジ連結部526を介して回転可能に取り付けられている。第2回転摺接部524の閉位置では、第2ガイド溝116b、116c、116dの表面開口の下半分の部分において、第2ガイド溝116b、116c、116dの表面開口が閉じられる。
係合手段は、第1回転摺接部係合手段と第2回転摺接部係合手段とからなる。第1回転摺接部係合手段は、第4実施形態と同様に、係合突起430と係合孔436とからなる。第2回転摺接部係合手段は、係合突起531と被係合部としての係合孔537とからなる。係合突起531は、第2回転摺接部524の第1ヒンジ連結部526とは反対側の縁部に形成されて係合突起430と同様とされている。係合孔537は、係合突起531に対応して補助具本体512の下半分の部分で係合孔436の下方に位置し、係合孔436と同様とされている。
第1回転摺接部422の係合突起430と補助具本体512の係合孔436との係合によって第1回転摺接部422の閉位置が維持されるのは第4実施形態と同様である。一方、第2回転摺接部524の係合突起531の段差541が補助具本体512の係合孔537の孔縁に引っ掛かるように、第2回転摺接部524の係合突起531と補助具本体512の係合孔537との係脱自在の係合によって第2回転摺接部524の閉位置が維持される。
第1回転摺接部422が開閉いずれの位置にあっても第2回転摺接部524は開位置も閉位置も取り得る。逆に、第2回転摺接部が開閉いずれの位置にあっても第1回転摺接部は開位置も閉位置も取り得る。第1回転摺接部422の開閉と第2回転摺接部524の開閉とは互いに影響を受けない。ガイド溝116について見れば、第1ガイド溝116aの表面開口が開閉いずれの状態にあっても、第2ガイド溝116b、116c、116dの表面開口が開閉可能となり、逆に、第2ガイド溝116b、116c、116dの表面開口が開閉いずれの状態にあっても、第1ガイド溝116aの表面開口が開閉可能となる。第1ガイド溝116aの表面開口の開閉と第2ガイド溝116b、116c、116dの表面開口の開閉とは互いに影響を受けない。穿刺針毎に確実に設置することができる等、操作性が一層に高まる。
また、補助具本体512の右側の部分(第2ガイド溝116dと第2ヒンジ連結部526との間の部分)にも左側の把持部144と同様に把持部544が形成されるとともに、第2回転摺接部524の第2ヒンジ連結部526の側の部分(第2ヒンジ連結部526の閉位置において第2ヒンジ連結部526と第2ガイド溝116dとの間に対応する部分)にも把持部545が形成されている。第1回転摺接部422の把持部445aと、補助具本体512の左側の把持部144とを挟むように持って、第1回転摺接部422を開位置から閉位置へ回転することができ、第2回転摺接部524の把持部545と、補助具本体512の右側の把持部544とを挟むように持って、第2回転摺接部を開位置から閉位置へ回転することができる。
他の構成、作用効果は第1実施形態、第4実施形態と同様である。
なお、本発明に係る穿刺針補助具は上記の各実施形態、変形例に限定されるものではなく、適宜変更して実施することができる。例えば、上記の各実施形態、変形例では、腹壁Aと胃壁Bとを縫合する取出用穿刺針30や挿入用穿刺針外針21を用いているが、これに限らず、体内の他の部位の縫合に使用する穿刺針にも使用することができるものである。
また、係合手段としては、種々のものが可能であり、弾性的に係合するものにあっても、相手側に引っ掛かるものや、摺接抵抗(摩擦抵抗)に基づくものやその他のものが可能であり、上記の各実施形態、変形例に限定されることはない。
更に、上記の各実施形態、変形例では、補助具本体112、512を厚みの小さな板状に形成しているが、補助具本体は厚みの大きな板体で形成することができ、これによると安定板や突出縁部を省略することができる。
本発明の第1実施形態に係る穿刺針補助具の表面側から見た斜視図である。 第1実施形態に係る穿刺針補助具の裏面側から見た斜視図である。 第1実施形態に係る穿刺針補助具を示し、(a)は正面図、(b)は背面図である。 第1実施形態に係る穿刺針補助具を示し、(a)は平面図、(b)は底面図である。 第1実施形態に係る穿刺針補助具を示し、(a)は左側面図、(b)は右側面図である。 第1実施形態に係る穿刺針補助具を示し、(a)は第1回転摺接部が閉位置で第2回転摺接部が開位置にある平面図、(b)は第1回転摺接部及び第2回転摺接部のいずれも閉位置にある平面図である。 (a)は挿入用穿刺針を示す正面図、(b)は取出用穿刺針を示す正面図である。 (a)は挿入用穿刺針外針を示す正面図、(b)は挿入用穿刺針内針を示す正面図である。 (a)は取出用穿刺針外針を示す正面図、(b)は取出用穿刺針内針を示す正面図、(c)は取出用穿刺針内針の捕獲部を示す平面図である。 (a)は挿入用穿刺針にプロテクタを取り付けた状態を示す正面図、(b)は取出用穿刺針にプロテクタを取り付けた状態を示す正面図である。 第1実施形態に係る穿刺針補助具を腹部の皮膚表面に置いた状態を示す正面図である。 第1実施形態に係る穿刺針補助具であって、ガイド溝に取出用穿刺針を設置する状態を示す正面図である。 第1実施形態に係る穿刺針補助具であって、ガイド溝に取出用穿刺針を設置して第1回転摺接部を補助具本体の表面側に回転した状態を示す正面図である。 第1実施形態に係る穿刺針補助具であって、取出用穿刺針を腹部に刺し込んだ状態を示す正面図である。 第1実施形態に係る穿刺針補助具であって、取出用穿刺針内針の捕獲部を胃内で環状に広げた状態を示す正面図である。 第1実施形態に係る穿刺針補助具であって、ガイド溝に挿入用穿刺針外針を設置して第2回転摺接部を補助具本体の表面側に回転した状態を示す正面図である。 第1実施形態に係る穿刺針補助具であって、挿入用穿刺針外針を腹部に刺し込んだ状態を示す正面図である。 第1実施形態に係る穿刺針補助具であって、縫合糸を挿入用穿刺針外針内に挿入した状態を示す正面図である。 第1実施形態に係る穿刺針補助具であって、取出用穿刺針内針の捕獲部内に縫合糸の先端部分を通した状態を示す正面図である。 第1実施形態に係る穿刺針補助具であって、縫合糸の先端部分が取出用穿刺針内針の捕獲部と共に取出用穿刺針外針31の内部側に入り込む状態を示す正面図である。 挿入用穿刺針外針及び取出用穿刺針を穿刺針補助具と共に取り除いた後に、腹壁から縫合糸の両端側部分が突出した状態を示す正面図である。 挿入用穿刺針外針及び取出用穿刺針を穿刺針補助具と共に取り除いた後に、腹壁から突出した縫合糸の両端側部分同士を結ぼうとする状態を示す正面図である。 本発明の第1実施形態に係る穿刺針補助具の変形例を示し、表面側から見た斜視図である。 本発明の第2実施形態に係る穿刺針補助具を示し、表面側から見た斜視図である。 本発明の第3実施形態に係る穿刺針補助具を示し、表面側から見た斜視図である。 本発明の第4実施形態に係る穿刺針補助具を示し、表面側から見た斜視図である。 本発明の第5実施形態に係る穿刺針補助具を示し、表面側から見た斜視図である。
符号の説明
110、180、210、310、410、510…穿刺針補助具、28…縫合糸、A…腹壁、B…胃壁、21…挿入用穿刺針外針、30…取出用穿刺針、116…ガイド溝、116a…第1ガイド溝、116b、116c、116d…第2ガイド溝、112、512…補助具本体、126、426、427、526…第1ヒンジ連結部、128…第2ヒンジ連結部、114、414、514…回転摺接体、130、134、182、240、334、430、531…係合突起、132…係合切欠、136、232、336、436、537…係合孔、122、422…第1回転摺接部、124、424、524…第2回転摺接部、144、145、445a、445b、544、545…把持部

Claims (10)

  1. 縫合糸で臓器を皮膚側部分に固定するために用いられる複数の穿刺針を前記皮膚側部分から前記臓器側に穿刺するときに使用される穿刺針補助具であって、
    前記複数の穿刺針を軸方向に移動可能な状態で設置できる複数の平行するガイド溝が表面に形成された補助具本体と、
    前記補助具本体の前記ガイド溝が延びる方向と略平行する縁部に、対本体回転軸部を介して前記ガイド溝の表面開口を開く開位置から前記ガイド溝の表面開口を閉じる閉位置へ回転可能に取り付けられ、前記閉位置側に回転することにより前記ガイド溝に設置される前記穿刺針の周面と摺接可能になる回転摺接体と、
    前記補助具本体と前記回転摺接体とに設けられて前記回転摺接体の閉位置を維持するように係合する係合手段と
    を備えたことを特徴とする穿刺針補助具。
  2. 前記回転摺接体は、第1回転摺接部と第2回転摺接部との二つで構成され、前記第1回転摺接部は、前記補助具本体に前記対本体回転軸部を介して回転可能に取り付けられるとともに、前記第2回転摺接部は、前記第1回転摺接部の前記対本体回転軸部とは反対側の縁部に、摺接部間回転軸部を介して回転可能に取り付けられ、前記ガイド溝は第1ガイド溝と第2ガイド溝とからなり、前記第1回転摺接部が前記補助具本体の表面側に回転することにより前記第1ガイド溝の表面開口が閉じられ、前記第2回転摺接部が前記補助具本体の表面側に回転することにより前記第2ガイド溝の表面開口が閉じられる請求項1に記載の穿刺針補助具。
  3. 前記回転摺接体は、第1回転摺接部と第2回転摺接部との二つで構成され、前記対本体回転軸部は、前記補助具本体の一方の縁部に位置をずらして設けられた一対の対本体回転軸部からなり、前記第1回転摺接部と前記第2回転摺接部とは、それぞれ位置をずらした状態で前記補助具本体の一方の縁部に前記一対の対本体回転軸部を介して回転可能に取り付けられ、前記ガイド溝は第1ガイド溝と第2ガイド溝とからなり、前記第1回転摺接部が前記補助具本体の表面側に回転することにより前記ガイド溝の少なくとも第1ガイド溝の一部の表面開口が閉じられ、前記第2回転摺接部が前記補助具本体の表面側に回転することにより前記ガイド溝の少なくとも前記第1ガイド溝の他の部分を含む残りの部分の表面開口が閉じられる請求項1に記載の穿刺針補助具。
  4. 前記回転摺接体は、第1回転摺接部と第2回転摺接部との二つで構成され、前記対本体回転軸部は前記補助具本体の両側縁部にそれぞれ設けられた一対の対本体回転軸部からなり、前記第1回転摺接部は、前記補助具本体の一方の縁部に一方の対本体回転軸部を介して取り付けられるとともに、前記第2回転摺接部は、前記補助具本体の他方の縁部に他方の対本体回転軸部を介して取り付けられ、前記ガイド溝は第1ガイド溝と第2ガイド溝とからなり、前記第1回転摺接部が前記補助具本体の表面側に回転することにより前記第1ガイド溝の表面開口が閉じられ、前記第2回転摺接部が前記補助具本体の表面側に回転することにより前記第2ガイド溝の表面開口が閉じられる請求項1に記載の穿刺針補助具。
  5. 前記係合手段は、前記第1回転摺接部の前記対本体回転軸部とは反対側の縁部とその縁部に対応する前記補助具本体の部分とに設けられる第1回転摺接部係合手段と、前記第2回転摺接部の前記摺接部間回転軸部とは反対側の縁部とその縁部に対応する前記補助具本体の部分とに設けられる第2回転摺接部係合手段とからなる請求項2に記載の穿刺針補助具。
  6. 前記係合手段は、前記第1回転摺接部の前記対本体回転軸部とは反対側の縁部とその縁部に対応する前記補助具本体の部分とに設けられる第1回転摺接部係合手段と、前記第2回転摺接部の前記対本体回転軸部とは反対側の縁部とその縁部に対応する前記補助具本体の部分とに設けられる第2回転摺接部係合手段とからなる請求項3又は4に記載の穿刺針補助具。
  7. 前記係合手段は、互いに係合可能な係合突起と被係合部とで構成される請求項1乃至6のうちのいずれか1つに記載の穿刺針補助具。
  8. 前記第1ガイド溝は1本であり、前記第2ガイド溝は2本以上である請求項2乃至7のうちのいずれか1つに記載の穿刺針補助具。
  9. 前記回転摺接体の閉位置で前記ガイド溝に対向するように前記回転摺接体に設けられ、前記ガイド溝に設置される前記穿刺針の周面に摺接抵抗を与える抵抗突起を備えた請求項1乃至8のうちのいずれか1つに記載の穿刺針補助具。
  10. 前記回転摺接体が閉位置にあるときに前記対本体回転軸部と前記対本体回転軸部に最も近いガイド溝との間に位置する把持部を前記補助具本体と前記回転摺接体とに形成した請求項1乃至9のうちのいずれか1つに記載の穿刺針補助具。
JP2008164032A 2008-06-24 2008-06-24 穿刺針補助具 Active JP5185706B2 (ja)

Priority Applications (5)

Application Number Priority Date Filing Date Title
JP2008164032A JP5185706B2 (ja) 2008-06-24 2008-06-24 穿刺針補助具
US12/487,108 US8968343B2 (en) 2008-06-24 2009-06-18 Puncturing needle assisting tool
AT09008041T ATE546096T1 (de) 2008-06-24 2009-06-19 Punktierungsnadelhilfswerkzeug
ES09008041T ES2382706T3 (es) 2008-06-24 2009-06-19 Herramienta auxiliar de aguja de punción
EP09008041A EP2138108B1 (en) 2008-06-24 2009-06-19 Puncturing needle assisting tool

Applications Claiming Priority (1)

Application Number Priority Date Filing Date Title
JP2008164032A JP5185706B2 (ja) 2008-06-24 2008-06-24 穿刺針補助具

Publications (2)

Publication Number Publication Date
JP2010004908A true JP2010004908A (ja) 2010-01-14
JP5185706B2 JP5185706B2 (ja) 2013-04-17

Family

ID=41050904

Family Applications (1)

Application Number Title Priority Date Filing Date
JP2008164032A Active JP5185706B2 (ja) 2008-06-24 2008-06-24 穿刺針補助具

Country Status (5)

Country Link
US (1) US8968343B2 (ja)
EP (1) EP2138108B1 (ja)
JP (1) JP5185706B2 (ja)
AT (1) ATE546096T1 (ja)
ES (1) ES2382706T3 (ja)

Cited By (3)

* Cited by examiner, † Cited by third party
Publication number Priority date Publication date Assignee Title
JP2012231837A (ja) * 2011-04-28 2012-11-29 Nihon Covidien Kk 穿刺装置
JP2013070862A (ja) * 2011-09-28 2013-04-22 Nihon Covidien Kk 医療用縫合具
CN117942139A (zh) * 2024-01-30 2024-04-30 中国人民解放军陆军军医大学第二附属医院 一种3d打印的肺部结节定位辅助装置

Families Citing this family (6)

* Cited by examiner, † Cited by third party
Publication number Priority date Publication date Assignee Title
JP4614451B2 (ja) * 2005-12-26 2011-01-19 日本シャーウッド株式会社 医療用縫合具
JP4565576B2 (ja) * 2007-02-20 2010-10-20 日本シャーウッド株式会社 穿刺針補助具
DE112010002322T5 (de) * 2009-07-07 2012-06-21 Illinois Tool Works Inc. Selbst zentrierendes Klebeband
JP5963559B2 (ja) * 2012-06-18 2016-08-03 日本コヴィディエン株式会社 医療用縫合具
US20170055977A1 (en) * 2015-08-24 2017-03-02 Nir Altman Multiple-needle suturing assembly
CN113100921A (zh) * 2021-05-06 2021-07-13 广州复大医疗有限公司 陡脉冲消融探针穿刺助力固定器

Citations (3)

* Cited by examiner, † Cited by third party
Publication number Priority date Publication date Assignee Title
JPS61205510U (ja) * 1985-06-13 1986-12-25
WO2004075761A1 (ja) * 2003-02-26 2004-09-10 Sumitomo Bakelite Co., Ltd. 医療用器具
JP2006075386A (ja) * 2004-09-10 2006-03-23 Toshiba Corp 穿刺アダプタ

Family Cites Families (97)

* Cited by examiner, † Cited by third party
Publication number Priority date Publication date Assignee Title
US2012776A (en) * 1931-05-23 1935-08-27 Roeder Hans Albert Ligator
DE2900265A1 (de) 1979-01-04 1980-07-17 Fritz Dr Sammer Schlinge aus fadenfoermigem werkstoff
US5123914A (en) * 1986-05-19 1992-06-23 Cook Incorporated Visceral anchor for visceral wall mobilization
US5052396A (en) * 1987-04-24 1991-10-01 Victor J. Wedel Needle guide for ultrasound transducers
US5251873B1 (en) * 1992-06-04 1995-05-02 Vernay Laboratories Medical coupling site.
US4775121A (en) * 1987-07-20 1988-10-04 Carty James F Cable clamp
US4935027A (en) * 1989-08-21 1990-06-19 Inbae Yoon Surgical suture instrument with remotely controllable suture material advancement
US5037433A (en) * 1990-05-17 1991-08-06 Wilk Peter J Endoscopic suturing device and related method and suture
US5100387A (en) * 1990-07-02 1992-03-31 Ng Raymond C Disposable universal needle guide apparatus (for amniocentesis)
FR2668698B1 (fr) * 1990-11-06 1997-06-06 Ethnor Instrument chirurgical formant trocart.
JPH0624533B2 (ja) 1990-12-29 1994-04-06 昌貴 鮒田 医療用器具
US5226892A (en) * 1991-08-23 1993-07-13 Boswell Thomas A Surgical tubing clamp
JPH05161655A (ja) 1991-12-19 1993-06-29 Olympus Optical Co Ltd 臓器腹壁固定具
US5336231A (en) * 1992-05-01 1994-08-09 Adair Edwin Lloyd Parallel channel fixation, repair and ligation suture device
US5281237A (en) * 1992-09-25 1994-01-25 Gimpelson Richard J Surgical stitching device and method of use
JP2597439Y2 (ja) 1992-11-26 1999-07-05 株式会社三菱化学ビーシーエル 創離開防止用当て具
US5363539A (en) * 1993-02-08 1994-11-15 Illinois Tool Works Inc. Flexible tube clip
US5336229A (en) * 1993-02-09 1994-08-09 Laparomed Corporation Dual ligating and dividing apparatus
US5330488A (en) * 1993-03-23 1994-07-19 Goldrath Milton H Verres needle suturing kit
US5501691A (en) * 1993-03-23 1996-03-26 Goldrath; Milton H. Verres needle suturing device
US5993434A (en) * 1993-04-01 1999-11-30 Genetronics, Inc. Method of treatment using electroporation mediated delivery of drugs and genes
US5403348A (en) * 1993-05-14 1995-04-04 Bonutti; Peter M. Suture anchor
US5364410A (en) * 1993-05-28 1994-11-15 Ethicon, Inc. Percutaneous suture externalizer
US5569269A (en) * 1993-07-26 1996-10-29 Innovasive Devices, Inc. Surgical grasping and suturing device and method
US5391182A (en) * 1993-08-03 1995-02-21 Origin Medsystems, Inc. Apparatus and method for closing puncture wounds
US5722981A (en) * 1993-10-08 1998-03-03 Tahoe Surgical Instruments Double needle ligature device
US5462560A (en) * 1993-10-08 1995-10-31 Tahoe Surgical Instruments Double needle ligature device
US5391173A (en) * 1994-02-10 1995-02-21 Wilk; Peter J. Laparoscopic suturing technique and associated device
DE69505168T2 (de) * 1994-03-09 1999-04-01 Bundy International Ltd., Abingdon, Oxfordshire Schelle zur Befestigung von Rohren
US5389082A (en) * 1994-03-14 1995-02-14 Baugues; Mary C. Intravenous line separator system
JP3375730B2 (ja) 1994-06-07 2003-02-10 マニー株式会社 医療用糸通し具
US5531699A (en) * 1994-09-19 1996-07-02 Abbott Laboratories Spring-loaded reciprocable stylet holder
US5938668A (en) * 1994-10-07 1999-08-17 United States Surgical Surgical suturing apparatus
US5562684A (en) * 1994-10-11 1996-10-08 Ethicon, Inc. Surgical knot pusher device and improved method of forming knots
US5499991A (en) * 1994-12-19 1996-03-19 Linvatec Corporation Endoscopic needle with suture retriever
US5643295A (en) * 1994-12-29 1997-07-01 Yoon; Inbae Methods and apparatus for suturing tissue
US5653716A (en) * 1994-12-29 1997-08-05 Acufex Microsurgical, Inc. Suture manipulating instrument with grasping members
US5665096A (en) * 1995-03-07 1997-09-09 Yoon; Inbae Needle driving apparatus and methods of suturing tissue
JP3729861B2 (ja) * 1995-06-07 2005-12-21 メッドトロニック・インコーポレイテッド 傷口閉鎖デバイス
US6451024B1 (en) * 1995-06-14 2002-09-17 Dexterity Surgical, Inc. Surgical method for treating urinary incontinence, and apparatus for use in same
US5681333A (en) * 1995-11-08 1997-10-28 Arthrex, Inc. Method and apparatus for arthroscopic rotator cuff repair utilizing bone tunnels for suture attachment
US5817111A (en) * 1996-03-28 1998-10-06 Riza; Erol D. Open loop suture snare
US5741276A (en) * 1996-03-28 1998-04-21 Innovative Surgical Instruments Apparatus for facilitating the performance of surgical procedures such as the placement of sutures, ligatures and the like
US5782845A (en) * 1996-07-31 1998-07-21 Shewchuk; Dwight Trocar site suturing device
US5795335A (en) * 1997-02-26 1998-08-18 Zinreich; Eva S. Intravenous tube restraint and cover device
US5728109A (en) * 1997-04-08 1998-03-17 Ethicon Endo-Surgery, Inc. Surgical knot and method for its formation
US5921993A (en) * 1997-05-01 1999-07-13 Yoon; Inbae Methods of endoscopic tubal ligation
US5895395A (en) * 1997-07-17 1999-04-20 Yeung; Teresa T. Partial to full thickness suture device & method for endoscopic surgeries
US5910148A (en) * 1997-08-06 1999-06-08 Mitek Surgical Products, Inc. Suture retrograder
US5897563A (en) * 1997-10-08 1999-04-27 Ethicon Endo-Surgery, Inc. Method for using a needle holder to assist in suturing
US6156056A (en) * 1998-01-09 2000-12-05 Ethicon, Inc. Suture buttress
US6113611A (en) * 1998-05-28 2000-09-05 Advanced Vascular Technologies, Llc Surgical fastener and delivery system
US6066146A (en) * 1998-06-24 2000-05-23 Carroll; Brendan J. Laparascopic incision closure device
US6036700A (en) * 1998-07-14 2000-03-14 Ethicon Endo-Surgery, Inc. Surgical anastomosis instrument
US6113068A (en) * 1998-10-05 2000-09-05 Rymed Technologies Swabbable needleless injection port system having low reflux
US6110183A (en) * 1998-12-22 2000-08-29 Cook Incorporated Suture anchor device
AU770243B2 (en) * 1999-04-09 2004-02-19 Evalve, Inc. Methods and apparatus for cardiac valve repair
US6524317B1 (en) * 1999-12-30 2003-02-25 Opus Medical, Inc. Method and apparatus for attaching connective tissues to bone using a knotless suture anchoring device
US6638286B1 (en) * 2000-11-16 2003-10-28 Vascular Control Systems, Inc. Doppler directed suture ligation device and method
US6500184B1 (en) * 2001-01-31 2002-12-31 Yung C. Chan Suturing apparatus and method of suturing
US7842050B2 (en) * 2001-02-26 2010-11-30 Diduch David R Suture passing devices
JP4493258B2 (ja) * 2001-04-04 2010-06-30 オリンパス株式会社 組織穿刺装置
US20030004523A1 (en) * 2001-07-02 2003-01-02 Cornell Research Foundation, Inc. Multi-needle holding device
JP4499327B2 (ja) * 2001-12-06 2010-07-07 松崎 浩巳 拡径器具および手術器具セット
JP3331215B1 (ja) 2002-02-04 2002-10-07 治郎 蟹江 生体用縫合具
US6699263B2 (en) * 2002-04-05 2004-03-02 Cook Incorporated Sliding suture anchor
CA2484841C (en) 2002-07-10 2006-10-31 Canica Design Inc. System and method for moving and stretching plastic tissue
JP4443162B2 (ja) 2002-10-03 2010-03-31 株式会社トップ 継ぎ手装置
US7090690B2 (en) * 2002-11-19 2006-08-15 Arthrocare Corporation Devices and methods for repairing soft tissue
US7942898B2 (en) * 2002-12-11 2011-05-17 Usgi Medical, Inc. Delivery systems and methods for gastric reduction
US8066718B2 (en) * 2003-03-18 2011-11-29 Depuy Mitek, Inc. Expandable needle suture apparatus and associated handle assembly
JP4145200B2 (ja) * 2003-06-06 2008-09-03 オリンパス株式会社 縫合器
US7320693B2 (en) * 2003-08-21 2008-01-22 Pollak Stanley B Methods and instruments for closing laparoscopic trocar puncture wounds
US7731726B2 (en) * 2003-12-03 2010-06-08 St. Jude Medical Puerto Rico Llc Suture based vascular closure apparatus and method incorporating a pre-tied knot
JP4212494B2 (ja) * 2004-03-02 2009-01-21 日本シャーウッド株式会社 医療用縫合具
JP4641733B2 (ja) 2004-03-24 2011-03-02 住友ベークライト株式会社 穿刺針誘導ガイド
JP4115963B2 (ja) * 2004-05-12 2008-07-09 ポップリベット・ファスナー株式会社 パイプ等のクランプ装置
US20050288689A1 (en) * 2004-06-25 2005-12-29 Kammerer Gene W Applicator and method for deploying a surgical fastener
JP2006025932A (ja) 2004-07-13 2006-02-02 Jms Co Ltd 生体用縫合具及び生体用縫合方法
JP2006025933A (ja) 2004-07-13 2006-02-02 Jms Co Ltd 生体用縫合具
JP2006025934A (ja) 2004-07-13 2006-02-02 Jms Co Ltd 生体用縫合具
JP4669315B2 (ja) * 2005-04-21 2011-04-13 日本シャーウッド株式会社 臓器固定具および臓器固定具セット
JP2006102255A (ja) * 2004-10-06 2006-04-20 Nippon Sherwood Medical Industries Ltd 輸液ラインの接続構造及びその接続構造を備えたコネクター
JP4733970B2 (ja) 2004-11-29 2011-07-27 大王製紙株式会社 紙おむつやナプキン等の衛生用品を収納するための包装袋
JP4823533B2 (ja) 2005-02-04 2011-11-24 オリンパス株式会社 医療用縫合結紮具及び医療用縫合結紮装置
US7387282B2 (en) * 2005-07-20 2008-06-17 Newfrey Llc Hinged clip having a retainer
US7647122B2 (en) * 2005-07-26 2010-01-12 Medtronic, Inc. Surgical needle driver
WO2007018520A1 (en) 2005-07-28 2007-02-15 Samimi M D Darius Bladder saver retropubic ligature carrier device
JP5013689B2 (ja) 2005-08-02 2012-08-29 オーチス エレベータ カンパニー エレベータの地震管制運転システム
JP4488981B2 (ja) * 2005-08-23 2010-06-23 日本シャーウッド株式会社 取出し具及び医療用縫合具セット
JP4614451B2 (ja) * 2005-12-26 2011-01-19 日本シャーウッド株式会社 医療用縫合具
CA2652512C (en) * 2006-05-22 2016-04-05 Scandius Biomedical, Inc. Method and apparatus for meniscal repair
ATE518484T1 (de) * 2006-05-31 2011-08-15 Covidien Ag Medizinisches nahtinstrument mit greifvorrichtung
JP4536698B2 (ja) * 2006-10-05 2010-09-01 日本シャーウッド株式会社 医療用縫合具
JP4936118B2 (ja) 2006-12-27 2012-05-23 株式会社ジェイテクト 一方向クラッチ
JP4565576B2 (ja) 2007-02-20 2010-10-20 日本シャーウッド株式会社 穿刺針補助具
EP2120728B1 (en) * 2007-03-15 2020-04-15 Boss Instruments, Ltd., Inc. Replaceable tip suturing device and system for use with differing needles

Patent Citations (3)

* Cited by examiner, † Cited by third party
Publication number Priority date Publication date Assignee Title
JPS61205510U (ja) * 1985-06-13 1986-12-25
WO2004075761A1 (ja) * 2003-02-26 2004-09-10 Sumitomo Bakelite Co., Ltd. 医療用器具
JP2006075386A (ja) * 2004-09-10 2006-03-23 Toshiba Corp 穿刺アダプタ

Cited By (3)

* Cited by examiner, † Cited by third party
Publication number Priority date Publication date Assignee Title
JP2012231837A (ja) * 2011-04-28 2012-11-29 Nihon Covidien Kk 穿刺装置
JP2013070862A (ja) * 2011-09-28 2013-04-22 Nihon Covidien Kk 医療用縫合具
CN117942139A (zh) * 2024-01-30 2024-04-30 中国人民解放军陆军军医大学第二附属医院 一种3d打印的肺部结节定位辅助装置

Also Published As

Publication number Publication date
ES2382706T3 (es) 2012-06-12
US8968343B2 (en) 2015-03-03
ATE546096T1 (de) 2012-03-15
US20090318939A1 (en) 2009-12-24
EP2138108B1 (en) 2012-02-22
EP2138108A1 (en) 2009-12-30
JP5185706B2 (ja) 2013-04-17

Similar Documents

Publication Publication Date Title
JP5185706B2 (ja) 穿刺針補助具
AU2008200547B2 (en) Auxiliary device for a puncture needle
JP5209676B2 (ja) 手術用牽引器具
JP5377944B2 (ja) 胃瘻用シース、シース付きダイレータ、挿入補助具付き胃瘻用シース、胃瘻カテーテルキット
US12350451B2 (en) Systems and methods for anchoring medical devices
CN105848590B (zh) 腹腔镜穿刺口部位闭合装置
JP2022002796A (ja) カテーテル組立体
JP4669315B2 (ja) 臓器固定具および臓器固定具セット
EP2906127B1 (en) Devices, systems and kits for anchoring medical devices
EP1526816B1 (en) Orifice introducer device
BR112016028210B1 (pt) Dispositivo de entrega de sutura para suturar uma abertura em um tecido
WO2004075761A1 (ja) 医療用器具
WO2016185949A1 (ja) カテーテル組立体
JP2007229472A (ja) 内視鏡の先端部に取り付け可能なキャップ
CN106470619B (zh) 用于缝合组织的缝线输送装置
WO2010114591A2 (en) Surgical suturing device, method and tools used therewith
JPWO2018174150A1 (ja) カテーテル組立体
KR20170126604A (ko) 복강경 수술용 견인 장치
CN100403993C (zh) 医疗装置
JP2015084781A (ja) 胃壁固定器具
WO2012149533A1 (en) Puncture device
KR101198495B1 (ko) 의료용 봉합 기구
JP5632943B2 (ja) 胃瘻用シース、シース付きダイレータ、挿入補助具付き胃瘻用シース、胃瘻カテーテルキット
TW308532B (ja)
MXPA06009519A (en) Removal device and medical suture appliance set

Legal Events

Date Code Title Description
A621 Written request for application examination

Free format text: JAPANESE INTERMEDIATE CODE: A621

Effective date: 20110617

A977 Report on retrieval

Free format text: JAPANESE INTERMEDIATE CODE: A971007

Effective date: 20121228

TRDD Decision of grant or rejection written
A01 Written decision to grant a patent or to grant a registration (utility model)

Free format text: JAPANESE INTERMEDIATE CODE: A01

Effective date: 20130108

A61 First payment of annual fees (during grant procedure)

Free format text: JAPANESE INTERMEDIATE CODE: A61

Effective date: 20130118

R150 Certificate of patent or registration of utility model

Ref document number: 5185706

Country of ref document: JP

Free format text: JAPANESE INTERMEDIATE CODE: R150

Free format text: JAPANESE INTERMEDIATE CODE: R150

FPAY Renewal fee payment (event date is renewal date of database)

Free format text: PAYMENT UNTIL: 20160125

Year of fee payment: 3

R250 Receipt of annual fees

Free format text: JAPANESE INTERMEDIATE CODE: R250

R250 Receipt of annual fees

Free format text: JAPANESE INTERMEDIATE CODE: R250

S531 Written request for registration of change of domicile

Free format text: JAPANESE INTERMEDIATE CODE: R313531

R350 Written notification of registration of transfer

Free format text: JAPANESE INTERMEDIATE CODE: R350

R250 Receipt of annual fees

Free format text: JAPANESE INTERMEDIATE CODE: R250

R250 Receipt of annual fees

Free format text: JAPANESE INTERMEDIATE CODE: R250

S531 Written request for registration of change of domicile

Free format text: JAPANESE INTERMEDIATE CODE: R313531

R350 Written notification of registration of transfer

Free format text: JAPANESE INTERMEDIATE CODE: R350

R250 Receipt of annual fees

Free format text: JAPANESE INTERMEDIATE CODE: R250

R250 Receipt of annual fees

Free format text: JAPANESE INTERMEDIATE CODE: R250

R250 Receipt of annual fees

Free format text: JAPANESE INTERMEDIATE CODE: R250

R250 Receipt of annual fees

Free format text: JAPANESE INTERMEDIATE CODE: R250

R250 Receipt of annual fees

Free format text: JAPANESE INTERMEDIATE CODE: R250

R250 Receipt of annual fees

Free format text: JAPANESE INTERMEDIATE CODE: R250

R250 Receipt of annual fees

Free format text: JAPANESE INTERMEDIATE CODE: R250