JP2010004775A - 麺帯圧延機、および麺帯圧延方法 - Google Patents

麺帯圧延機、および麺帯圧延方法 Download PDF

Info

Publication number
JP2010004775A
JP2010004775A JP2008165795A JP2008165795A JP2010004775A JP 2010004775 A JP2010004775 A JP 2010004775A JP 2008165795 A JP2008165795 A JP 2008165795A JP 2008165795 A JP2008165795 A JP 2008165795A JP 2010004775 A JP2010004775 A JP 2010004775A
Authority
JP
Japan
Prior art keywords
rolling
noodle strip
pair
noodle
roll
Prior art date
Legal status (The legal status is an assumption and is not a legal conclusion. Google has not performed a legal analysis and makes no representation as to the accuracy of the status listed.)
Granted
Application number
JP2008165795A
Other languages
English (en)
Other versions
JP5291996B2 (ja
Inventor
Yasumasa Kawate
康正 川手
Toshito Kitamura
俊人 北村
Masato Taniguchi
正人 谷口
Shuichi Ishida
秀一 石田
Mitsufumi Fujikawa
詳史 藤川
Current Assignee (The listed assignees may be inaccurate. Google has not performed a legal analysis and makes no representation or warranty as to the accuracy of the list.)
NISSEY DELICA CORP
SODICK SHINYOKO CO Ltd
Original Assignee
NISSEY DELICA CORP
SODICK SHINYOKO CO Ltd
Priority date (The priority date is an assumption and is not a legal conclusion. Google has not performed a legal analysis and makes no representation as to the accuracy of the date listed.)
Filing date
Publication date
Application filed by NISSEY DELICA CORP, SODICK SHINYOKO CO Ltd filed Critical NISSEY DELICA CORP
Priority to JP2008165795A priority Critical patent/JP5291996B2/ja
Publication of JP2010004775A publication Critical patent/JP2010004775A/ja
Application granted granted Critical
Publication of JP5291996B2 publication Critical patent/JP5291996B2/ja
Active legal-status Critical Current
Anticipated expiration legal-status Critical

Links

Images

Landscapes

  • Manufacturing And Processing Devices For Dough (AREA)
  • Noodles (AREA)

Abstract

【課題】一対の圧延ロール間を通過して圧延された麺帯に、材料密度の密な部分と疎な部分を不均一に形成し、圧延された麺帯にいわゆる手揉みで圧延されたような食感を与える麺帯圧延機、および麺帯圧延方法の提供を図る。
【解決手段】一対の圧延ロール間に麺帯Bを通過させて圧延する麺帯圧延機1が、一対の圧延ロール11、13を回転させて、この圧延ロール間に麺帯Bを通過させるロール駆動部10と、一対の圧延ロール11、13の少なくとも一方を他方に対して近接離間する往復動をさせて、この一対の圧延ロール11,13の間隔Gを調整するロール間隔調整部20と、この間隔Gが麺帯Bの通過中にランダムに拡縮するように、ロール間隔調整部20を一対の圧延ロール11、13の回転に対して非同期に制御するロール制御部30とを備える。
【選択図】図2

Description

本発明は、一対の圧延ロール間に麺帯を通過させて圧延する麺帯圧延機、および麺帯圧延方法に関するものである。詳しくは、一対の圧延ロールの少なくとも一方を麺帯の通過中に麺帯厚方向に移動させることにより、一対の圧延ロールの間隔が拡縮する麺帯圧延機、および麺帯圧延方法に関するものである。
従来、一対の圧延ロール間に麺帯を通過させて圧延する場合、圧延後の麺帯に材料密度の密な部分と疎な部分が形成されることで、圧延された麺帯に良い食感を与えることができるとされている。
特許文献1には、平行に所定間隔を有して配置された一対の圧延ロール間に麺帯を通過させ、この一対の圧延ロールの一方を圧延ロールの回転に同期して麺帯厚方向に振動させて、一対の圧延ロールの間隔を周期的に変化させることにより、圧延された麺帯に材料密度の密な部分と疎な部分を形成する技術が提案されている。
特開2006−314266号公報
近年、麺の食感の向上が要求されている。すなわち、圧延された麺帯に、いわゆる手揉みで圧延されたような食感、つまり人間が麺棒により麺生地を圧延したような食感を与えることが要求されている。
しかしながら、特許文献1に開示されている技術では、平行に所定間隔で配置された一対の圧延ロールの一方を、圧延ロールの回転に同期して振動させることにより、圧延された麺帯に材料密度の密な部分と疎な部分を形成するので、圧延された麺帯に形成される材料密度の密な部分と疎な部分とが圧延ロールの回転と周期に規則的であるため、つまり麺帯の送り出し量に対して麺帯の材料密度の密な部分と疎な部分とが規則性を有して形成されるため、その食感は依然として手揉みの食感からは程遠くいわゆる機械的なものでしかなく、いわゆる本来の手揉みで圧延されたような食感を与えるには不十分である。
本発明の目的は、上記事情に鑑み、一対の圧延ロール間で圧延された麺帯に材料密度の密な部分と疎な部分を不均一に形成し、圧延された麺帯にいわゆる手揉みで圧延されたような食感を与える麺帯圧延機、および麺帯圧延方法を提供することにある。
上記の課題を解決するために、本発明による麺帯圧延機は、一対の圧延ロール間に麺帯を通過させて麺帯を圧延する麺帯圧延機において、一対の圧延ロールを回転させて、この圧延ロール間に麺帯を通過させるロール駆動手段と、一対の圧延ロールの少なくとも一方を他方に対して近接離間する往復動をさせることにより、一対の圧延ロールの間隔を調整するロール間隔調整手段と、一対の圧延ロールの間隔が麺帯の通過中にランダムに拡縮するように、ロール間隔調整手段を一対の圧延ロールの回転に対して非同期に制御するロール制御手段とを備えたことを特徴とする。
ここで、「一対の圧延ロールの間隔」とは、圧延ロールの表面同士の最短距離を意味する。「一対の圧延ロールの回転に対して非同期」とは、圧延ロールの回転運動から予想される規則性を有さないことを意味する。
本発明による麺帯圧延機は、そのロール制御手段が、一対の圧延ロールの間隔が、距離、速度、周期のすくなくともいずれか1つにおいてランダムに拡縮するように、ロール間隔調整手段を一対の圧延ロールの回転に対して非同期に制御するものであってもよい。
ここで、「距離」とは、一対の圧延ロール間隔そのものの長さを意味する。上記「速度」とは、一対の圧延ロール間隔の拡縮する速度を意味する。上記「周期」とは、一対の圧延ロール間隔の拡縮する周期を意味する。上記「距離においてランダムに拡縮する」とは、拡縮するときの麺帯の送り出し方向の位置における距離がランダムに変化することを意味する。上記「速度においてランダムに拡縮する」とは、拡縮するときの速度がランダムに変化することを意味する。「周期においてランダムに拡縮する」とは、拡縮するときの周期がランダムに変化することを意味する。
本発明による麺帯圧延機は、そのロール間隔調整手段が、サーボモータを有しているものであってもよい。
本発明による麺帯圧延方法は、一対の圧延ロール間に麺帯を通過させて麺帯を圧延する麺帯圧延方法において、一対の圧延ロールを回転させて、この圧延ロール間に麺帯を通過させ、一対の圧延ロールの少なくとも一方を、麺帯の通過中に一対の圧延ロールの間隔がランダムに拡縮するように、圧延ロールの回転に対して非同期に他方に対して近接離間する往復動をさせることを特徴とする。
本発明による麺帯圧延方法は、一対の圧延ロールの少なくとも一方を、一対の圧延ロールの間隔が、距離、速度、周期の少なくとも何れか1つにおいてランダムに拡縮するように、圧延ロールの回転に対して非同期に他方に対して近接離間する往復動をさせるものであってもよい。
本発明の麺帯圧延機および麺帯圧延方法によれば、一対の圧延ロールを回転させて、この圧延ロール間に麺帯を通過させるとともに、一対の圧延ロールの少なくとも一方を、麺帯の通過中に一対の圧延ロールの間隔がランダムに拡縮するように、圧延ロールの回転に対して非同期に往復動させるため、一対の圧延ロールの回転動と往復動が互いに規則性を有さずに独立して駆動することで、圧延ロールの間隔が縮むことによる材料密度の密な部分と圧延ロールの間隔が拡大することによる材料密度の疎な部分が、圧延ロールの回転による麺帯の送り出しと無関係に形成される。したがって、材料密度の密な部分と材料の疎な部分が圧延された麺帯に不均一に形成されることになり、手揉みと同様な良好な食感を麺帯に与えることができる。
以下、本発明の麺帯圧延機および麺帯圧延方法の実施形態について図面を用いて詳細に説明する。まず、本発明の麺帯圧延機が適用される製麺装置全体の概略について説明する。図1は、製麺装置の概略構成図である。製麺装置100は、小麦粉と食塩水を混練することにより麺粒Pを生成するミキサー110と、生成された麺粒Pを搬送する生地コンベア111と、搬送された麺粒Pから麺帯Bを生成する複合機120と、生成された麺帯Bを所定の厚みに圧延する麺帯圧延機1と、圧延された麺帯Bを麺線Lに切り出す麺線切出機130と、麺線Lを所定の長さに切断する麺線切断機140とから構成されている。
ミキサー110には小麦粉と食塩水が供給され、ミキサー110が供給された小麦粉と食塩水を攪拌棒で混練することにより、麺粒Pを生成する。この麺粒Pの粒径は、一例として低加水の場合には、1〜10mm程度となり、多加水の場合には、10mm以上となる。生成された麺粒Pは、生地コンベア111により、ミキサー110から複合機120に搬送される。なお、ミキサー110には、小麦粉の他に蕎麦粉等も供給される場合がある。
複合機120は、図1に示すように、搬送コンベア121と、搬送コンベア121の上流に搬送方向に並んで配置された2つのホッパ122と、搬送コンベア121の下流に配置された一対の複合ロール123とから主に構成されている。一般的に複合機は、複数のホッパを有するものであり、本実施形態は、一例として2つのホッパ122を有するものとして説明する。
各ホッパ122の上部口122aには生地コンベア111により搬送された麺粒Pが供給され、下部口122bに設けられた一対の圧延ロール124により、麺粒Pが帯状の麺帯Bとされ、2つの麺帯Bは搬送コンベア121上で互いに重なりあうように排出される。重なりあった麺帯Bは、一対の複合ロール123を通過することにより、各ホッパの圧延ロール124から排出された麺帯B同士が複合して所定の厚みを有する麺帯Bが生成される。複合された麺帯Bの厚みは、一例として10〜12mm程度となる。
複合機120により所定の厚みに複合された麺帯Bは麺帯圧延機1に供給される。この麺帯圧延機1は、後述する一対の圧延ロールから主に構成されている。麺帯圧延機1に供給された麺帯Bは、この一対の圧延ロール間を通過して所定の麺帯厚みに圧延される。一対の圧延ロールの間隔Gは、圧延前の麺帯厚みの通常は70%以上となるように設定される。一般的に麺帯Bは、除々に圧延されることが望ましいため、麺帯Bを複数の麺帯圧延機1を通過させることにより、所定の厚みに圧延する。麺帯Bは、除々に圧延されて麺帯厚みが、一例として1mm程度となる。本実施形態では、図1に示すように、一例として一対の圧延ロールを有する麺帯圧延機1が5台配置されているものとして説明するが、これに限定されるものではない。麺帯圧延機1は、少なくとも1台以上配置されていれば良い。また、麺帯圧延機1は、一対の圧延ロールを複数有する構成であってもよい。本実施形態は、一例として最上流の麺帯圧延機1が、後述する本発明の麺帯圧延方法を行うものとして説明するが、これに限定されるものではない。最下流の1台を除く4台の麺帯圧延機1の少なくとも1台が本発明の麺帯圧延方法を行えばよい。また、麺帯圧延機1が複数の一対の圧延ロールを有する場合には、少なくとも1つの一対の圧延ロールが本発明の麺帯圧延方法を行えばよい。なお、最下流の麺帯圧延機1は、麺帯Bの表面が平坦となるように圧延することが一般的である。
通常、複数の麺帯圧延機で複数回にわたって麺帯Bを圧延して順次、麺帯厚みを小さくする場合には、各麺帯圧延機1の一対の圧延ロールは、各ロール径が上流から下流に向けて順次小さくなるように構成されている。一例としてロール径は、最上流から最下流に向けて、300mm、240mm、180mm、150mm、120mm程度に構成される。麺帯圧延機1の具体的な構成については後述する。
所定厚みに圧延された麺帯Bは麺線切出機130に供給される。麺線切出機130は、円板状の切刃を所定間隔空けて複数枚同軸上に配列したローラと、この切刃を受けるローラとからなる一対の切刃ロール131を有しており、この一対の切刃ロール131を通過した麺帯Bは、線状の麺線Lの束として切り出される。切り出された麺線Lの束は、麺線切断機140に供給される。麺線切断機140は、一定速度で回転する麺線カッタ141を有しており、この麺線カッタ141が回転軸141aの回りを等速に回転して麺線Lの束に当接することにより、供給された麺線Lの束は所定長で幅方向に一時に切断される。
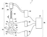
次に、本発明の麺帯圧延機1の構成について詳細に説明する。図2は、本発明の麺帯圧延機1の概略構成図である。麺帯圧延機1は、一対の圧延ロール11、13を回転させるロール駆動部10と、一対の圧延ロール11、13の間隔を調整するロール間隔調整部20と、ロール駆動部10とロール間隔調整部20を制御するロール制御部30とから構成されている。
ロール駆動部10は、下方に配置された雌ロール11と、雌ロール11を回転させる雌ロール用モータ12と、雌ロール11と所定間隔Gを有して上方に配置された雄ロール13と、雄ロール13を回転させる破線で示す雄ロール用モータ14を有している。麺帯Bは、雌ロール11と雄ロール13の間を通過するものであり、両ロールに送り出される麺帯Bの送り出し方向は、両ロールの回転軸11a、13aを結ぶ方向に対して直交方向となる。
雌ロール用モータ12は、本実施形態において、雌ロール11の回転軸11aにギアを介して直結する、いわゆるダイレクト駆動のギアードモータである。雌ロール用モータ12は、雌ロール11に反時計回りの矢印R1方向の回転を伝達するものである。雄ロール用モータ14は、本実施形態において、雌ロール用モータ12と同様に、雄ロール13の回転軸13aと同軸上に配置され、回転軸同士が連結されて雄ロール13に時計回りの矢印R2方向の回転を伝達するものである。また、雌ロール11と雄ロール13は回転方向が逆となるが、後述するロール制御部30により回転速度は同一である。
麺帯圧延機1の駆動伝達機構は、雌ロール11と雄ロール13の回転が上述の関係を満たせばよく、本実施形態に限定されるものではない。さらに、雌ロール11と雄ロール13をチェーン、ギア、タイミングベルト等を介して回転させてもよい。また、ロール間隔調整部20を有していない雌ロール用モータ12では、モータの回転をテンションローラでテンションが与えられたタイミングベルトによって雌ロール11の回転軸11aに伝達して雌ロール11を回転させる構成に変形することができる。
本実施形態において、雌ロール用モータ12および雄ロール用モータ14は、回転速度の変更が可能なACモータとして説明するが、これに限定されるものではなくサーボモータ、ステッピングモータ等であってもよい。また、各モータは、図示しないギアを介することで所望のトルクを発生することができるとともに、図示しないポテンショメータ、エンコーダ等により回転角度の検出が可能なものである。
図2に示される雌ロール11および雄ロール13は、ステンレス、またはステンレスの表面にフッ素樹脂等をコーティングしたものである。なお、麺帯がロール表面に付着しにくく麺帯を滑らずに送りだせるものであるならば、金属性ロールに限らず、例えば、ウレタンのような発泡性樹脂等からなるローラを一対の圧延ロール11,13として用いることができる。
ロール間隔調整部20は、雌ロール11と雄ロール13の間隔Gを調整するものであり、雄ロール13が回転可能に支持されるフランジ21と、このフランジ21と連結して、雄ロール13をフランジ21とともに平行移動させるボールネジ22と、このボールネジ22を回転させるサーボモータ23とを有している。ここで、サーボモータ23は、エンコーダ23aを内蔵しており、カップリング24を介してボールネジ22と連結されている。
ボールネジ22の軸方向は、図2に示すように、回転軸11aと回転軸13aを結ぶ直線と平行となる。これにより、サーボモータ23の回転が、カップリング24を介してボールネジ23に伝達されると、雄ロール13は、図中矢印A方向に往復動する。
ロール制御部30は、シーケンサ31と、雌ロール用モータ12および雄ロール用モータ14の回転速度を制御する2台のスピードコントロール32と、サーボモータ23を駆動するサーボドライバ33から構成されている。
シーケンサ31には、2台のスピードコントロール32とサーボドライバ33が接続されている。また、シーケンサ31には、供給された麺帯Bの弛みを検出するセンサ、操作ボタン、ポテンショメータ等の各種センサの情報が入力され、内蔵されたプログラムに基づいて、スピードコントロール32およびサーボドライバ33を制御する。
スピードコントロール32は、シーケンサ31からの命令に基づいて雌ロール11と雄ロール13を所定の回転速度で回転するように制御する。サーボドライバ33は、シーケンサ31からの命令に基づいて、サーボモータ23を所望の回転角度および回転速度となるように制御する。このサーボドライバ33には、エンコーダ23aからサーボモータ23の回転角度の情報が入力される。
次に本発明の麺帯圧延機1の動作について説明する。雌ロール11と雄ロール13の間隔Gは、サーボモータ23により予め所望の間隔に設定される。スピードコントロール32で設定された速度で雌ロール用モータ12および雄ロール用モータ14が回転し、雌ロール11および雄ロール13に回転が伝達される。複合機120から供給された麺帯Bは、雄ロール13と雌ロール11の回転により送り出されて、雌ロール11と雄ロール13の間を通過する。上述のとおり、シーケンサ31には、麺帯Bの弛み検出センサ、操作ボタン等の情報が入力されるため、これらの情報に基づいて雌ロール11および雄ロール13の回転速度を変化させることも可能である。また、シーケンサ31は、上述のとおり、ポテンショメータからの情報に基づいて麺帯Bの送り量の演算が可能である。なお、シーケンサ31がポテンショメータからの情報を有しない場合であっても、雌ロール11および雄ロール13の回転速度と回転時間から麺帯Bの送り量を演算することは可能である。
次に、本発明の麺帯圧延方法について説明する。上述のとおり、以下の動作は、一例として図1中の最上流の麺帯圧延機1の動作を示すものである。図3は、本発明の麺帯圧延方法の第1の実施形態、図4は、本発明の麺帯圧延方法の第2の実施形態、図5は、本発明の麺帯圧延方法の第3の実施形態、図6は、本発明の第4の実施形態を示す図である。図3〜6において、横軸は時間t、縦軸は一対の圧延ロール11、13の間隔Gを示すものである。また、図中の上限ULは、ロール間隔調整部20により拡大する間隔Gの上限値であり、これは、複合機120からの圧延前の麺帯Bの厚みに設定される。図中の設定STは、ロール間隔調整部20により縮小する間隔Gの下限値であり、これは、上述したとおり、圧延前の麺帯厚みの70パーセント程度以上に設定される。すなわち、間隔Gは、設定STから上限UL以下の間をロール間隔調整部20により拡縮自在に往復動するものである。また、図3〜6において、間隔Gの拡縮距離Lは縦軸の変動、間隔Gの拡縮速度Vは勾配の変動、間隔Gの拡縮周期Tは横軸の変動により示されるものである。
第1の実施形態は、図3に示すように、間隔Gの拡縮距離Lを変化させて、麺帯Bが雌ロール11と雄ロール13の間を通過中に、間隔Gをランダムに拡縮する麺帯圧延方法である。また、第1の実施形態においては、拡縮速度V1および拡縮周期T1は一定である。第1の実施形態においては、一例として拡縮距離Lを4段階(L1〜L4)に変化することにより、間隔Gをランダムに拡縮している。ここで、拡縮距離Lは、上限ULを越えるものではない。第1の実施形態で圧延された麺帯Bの表面には、高さがランダムな凹凸部分が形成されることになる。すなわち、圧延された麺帯Bの表面には、材料密度の密な部分と疎な部分が予想できない程度に疎密の程度が不均一に形成されている。
第2の実施形態は、図4に示すように、間隔Gの拡縮速度Vを変化させて、麺帯Bが雌ロール11と雄ロール13の間を通過中に、間隔Gをランダムに拡縮する麺帯圧延方法である。また、第2の実施形態においては、拡縮距離L1および拡縮周期T1は一定である。第2の実施形態においては、一例として拡縮速度Vを4段階(V1〜V4)に変化することにより、間隔Gをランダムに拡縮している。ここで、拡縮速度Vは、ボールネジ22のピッチ、サーボモータ23の容量により限界を有するものである。第2の実施形態で圧延された麺帯Bの表面には、勾配がランダムな凹凸部分が形成されることになる。すなわち、圧延された麺帯Bの表面には、材料密度の密な部分と疎な部分が予想できない程度に疎密の程度が不均一に形成されている。
第3の実施形態は、図5に示すように、間隔Gの拡縮周期Tを変化させて、麺帯Bが雌ロール11と雄ロール13の間を通過中に、間隔Gをランダムに拡縮する麺帯圧延方法である。また、第3の実施形態においては、拡縮距離L1および拡縮速度V1は一定である。第3の実施形態は、一例として拡縮周期Tを4段階(T1〜T4)に変化することにより、間隔Gをランダムに拡縮している。ここで、拡縮周期Tは、第2の実施形態と同様に、ボールネジ22のピッチ、サーボモータ23の容量により限界を有するものであるが、本発明の実施形態においては、一例として0.3秒以上程度である。第3の実施形態で圧延された麺帯Bの表面には、間隔がランダムな凹凸部分が形成されることになる。すなわち、圧延された麺帯Bの表面には、材料密度の密な部分と疎な部分が予想できない程度に疎密の程度が不均一に形成されている。
第4の実施形態は、図6に示すように、拡縮距離L、拡縮速度V、拡縮周期Tの少なくとも2つを変化させて、麺帯Bが雌ロール11と雄ロール13の間を通過中に、間隔Gをランダムに拡縮する麺帯圧延方法である。第4の実施形態では、一例として拡縮距離L、拡縮速度V、拡縮周期Tをそれぞれ4段階(L1〜L4、V1〜V4、T1〜T4)に変化させることにより、間隔Gをランダムに拡縮している。上述したとおり、第4の実施形態では、拡縮距離Lと拡縮速度Vのみを変化させる場合、拡縮距離Lと拡縮周期Tのみを変化させる場合、拡縮速度Vと拡縮周期Tのみを変化させる場合であってもよい。
また、第1〜第4の実施形態においては、間隔Gが各拡縮動作が図3〜6に示すように、設定STまで縮小する前に拡大するものであってもよい。
また、第1〜第4の実施形態においては、シーケンサ31に間隔Gのランダムな拡縮動作パターンを予めプログラムし、このプログラムにおいて間隔Gのランダムな拡縮動作が、麺帯Bの送り量、送り速度とは無関係に決定されることにより、材料密度の密な部分と疎な部分とが圧延された麺帯Bに予測不可能な程度に不均一に形成できる。
なお、本発明の麺帯圧延方法は、上述のとおり、図1に示す5台の麺帯圧延機1の全てが実行する必要はない、一般的に最下流の麺帯圧延機1においては、麺帯Bの表面が平坦となるように圧延される。この場合であっても、一度、本発明の麺帯圧延方法により圧延された麺帯Bの材料密度の密な部分と疎な部分とは、圧延された麺帯Bにおいて不均一に存在する。
本発明の麺帯圧延機および麺帯圧延方法によれば、雌ロール11と雄ロール13の間を通過中に、ロール間隔調整部20により間隔Gを雌ロール11と雄ロールの回転と非同期でランダムに拡縮するこが可能であり、雌ロール11と雄ロール13の間を通過した麺帯Bには、材料の密な部分(凹部)と材料の疎な部分(凸部)が不均一に形成されることになり、圧延された麺帯Bにいわゆる手揉みで圧延されたような食感を与えることが可能となる。
本発明の麺帯圧延機が適用される製麺装置の概略構成図 本発明の麺帯圧延機の概略構成図 本発明の麺帯圧延方法の第1の実施形態を示す図 本発明の麺帯圧延方法の第2の実施形態を示す図 本発明の麺帯圧延方法の第3の実施形態を示す図 本発明の麺帯圧延方法の第4の実施形態を示す図
符号の説明
B 麺帯
G 間隔
L 拡縮距離
T 拡縮周期
V 拡縮速度
1 麺帯圧延機
10 ロール駆動部
11 雌ロール
13 雄ロール
20 ロール間調整部
23 サーボモータ
30 ロール制御部

Claims (5)

  1. 一対の圧延ロール間に麺帯を通過させて該麺帯を圧延する麺帯圧延機において、
    前記一対の圧延ロールを回転させて、該圧延ロール間に麺帯を通過させるロール駆動手段と、
    前記一対の圧延ロールの少なくとも一方を他方に対して近接離間する往復動をさせることにより、前記一対の圧延ロールの間隔を調整するロール間隔調整手段と、
    前記一対の圧延ロールの間隔が前記麺帯の通過中にランダムに拡縮するように、前記ロール間隔調整手段を前記一対の圧延ロールの回転に対して非同期に制御するロール制御手段とを備えたことを特徴とする麺帯圧延機。
  2. 前記ロール制御手段が、前記一対の圧延ロールの間隔が、距離、速度、周期の少なくともいずれか1つにおいてランダムに拡縮するように、前記ロール間隔調整手段を前記一対の圧延ロールの回転に対して非同期に制御するものであることを特徴とする請求項1に記載の麺帯圧延機。
  3. 前記ロール間隔調整手段が、サーボモータを有することを特徴とする請求項1または2に記載の麺帯圧延機。
  4. 一対の圧延ロール間に麺帯を通過させて該麺帯を圧延する麺帯圧延方法において、
    一対の圧延ロールを回転させて、該圧延ロール間に麺帯を通過させ、
    前記一対の圧延ロールの少なくとも一方を、該麺帯の通過中に前記一対の圧延ロールの間隔がランダムに拡縮するように、前記圧延ロールの回転に対して非同期に他方に対して近接離間する往復動をさせることを特徴とする麺帯圧延方法。
  5. 前記一対の圧延ロールの少なくとも一方を、前記一対の圧延ロールの間隔が、距離、速度、周期の少なくもともいずれか1つにおいてランダムに拡縮するように、前記圧延ロールの回転に対して非同期に他方に対して近接離間する往復動をさせることを特徴とする請求項4に記載の麺帯圧延方法。
JP2008165795A 2008-06-25 2008-06-25 麺帯圧延機、および麺帯圧延方法 Active JP5291996B2 (ja)

Priority Applications (1)

Application Number Priority Date Filing Date Title
JP2008165795A JP5291996B2 (ja) 2008-06-25 2008-06-25 麺帯圧延機、および麺帯圧延方法

Applications Claiming Priority (1)

Application Number Priority Date Filing Date Title
JP2008165795A JP5291996B2 (ja) 2008-06-25 2008-06-25 麺帯圧延機、および麺帯圧延方法

Publications (2)

Publication Number Publication Date
JP2010004775A true JP2010004775A (ja) 2010-01-14
JP5291996B2 JP5291996B2 (ja) 2013-09-18

Family

ID=41585978

Family Applications (1)

Application Number Title Priority Date Filing Date
JP2008165795A Active JP5291996B2 (ja) 2008-06-25 2008-06-25 麺帯圧延機、および麺帯圧延方法

Country Status (1)

Country Link
JP (1) JP5291996B2 (ja)

Cited By (2)

* Cited by examiner, † Cited by third party
Publication number Priority date Publication date Assignee Title
JP2013158313A (ja) * 2012-02-07 2013-08-19 Yamato Seisakusho:Kk 麺生地圧延装置
US12317915B2 (en) 2016-02-24 2025-06-03 Nissin Foods Holdings Co., Ltd. Method for producing instant fried noodles

Citations (3)

* Cited by examiner, † Cited by third party
Publication number Priority date Publication date Assignee Title
JP2003061561A (ja) * 2001-08-24 2003-03-04 Rheon Autom Mach Co Ltd 食品生地の延展方法及び装置
JP2006314266A (ja) * 2005-05-13 2006-11-24 Yamato Seisakusho:Kk 麺生地ロール圧延装置
JP3981613B2 (ja) * 2002-09-12 2007-09-26 株式会社大竹麺機 麺製造装置

Patent Citations (3)

* Cited by examiner, † Cited by third party
Publication number Priority date Publication date Assignee Title
JP2003061561A (ja) * 2001-08-24 2003-03-04 Rheon Autom Mach Co Ltd 食品生地の延展方法及び装置
JP3981613B2 (ja) * 2002-09-12 2007-09-26 株式会社大竹麺機 麺製造装置
JP2006314266A (ja) * 2005-05-13 2006-11-24 Yamato Seisakusho:Kk 麺生地ロール圧延装置

Cited By (2)

* Cited by examiner, † Cited by third party
Publication number Priority date Publication date Assignee Title
JP2013158313A (ja) * 2012-02-07 2013-08-19 Yamato Seisakusho:Kk 麺生地圧延装置
US12317915B2 (en) 2016-02-24 2025-06-03 Nissin Foods Holdings Co., Ltd. Method for producing instant fried noodles

Also Published As

Publication number Publication date
JP5291996B2 (ja) 2013-09-18

Similar Documents

Publication Publication Date Title
JP5208600B2 (ja) 麺帯圧延機および麺帯圧延方法
KR101670711B1 (ko) 식품생지 신장장치 및 식품생지 신장방법
JP6440787B2 (ja) 食品生地の切断方法及び装置
JPH03210142A (ja) 生地延展方法および装置
US9283688B2 (en) Method for cutting block materials and cutting machine for cutting block materials
JP5291996B2 (ja) 麺帯圧延機、および麺帯圧延方法
EP1810798A1 (en) Machine for cutting soap bars into portions of preset length, with flexible operation
US10306896B2 (en) Variable contoured rounding bar, device and method of using same
KR101871458B1 (ko) 사선엠보싱 국수제조장치
JP4134213B2 (ja) 麺帯圧延方法及び麺帯圧延装置
JP3761876B2 (ja) 麺製造装置
JPH04131034A (ja) 生地延展方法及び装置
JP5754760B1 (ja) 製玉装置
EP2736342B1 (en) Adjustable unit for sheeting dough
JP2001218549A (ja) 生地の圧延装置およびその制御方法
JP2011160667A (ja) 製麺機の縮れ付与装置
US10897912B2 (en) Variable contoured rounding bar, device and method of using same
KR101618576B1 (ko) 두꺼운 면대를 얇게 켜는 스카이슬리팅장치를 구비한 국수제조장치
JP4019050B2 (ja) 食品生地成形装置
JP2001069902A (ja) 生地の圧延装置
JP2007152719A (ja) 紙管の製造装置及び製造方法
JP2010088423A (ja) 食品生地の延展方法及び装置
JP3137993U (ja) 麺生地切断装置
JPH0538627Y2 (ja)
EA048121B1 (ru) Устройство для формирования и раскатки пласта теста (варианты)

Legal Events

Date Code Title Description
A711 Notification of change in applicant

Free format text: JAPANESE INTERMEDIATE CODE: A712

Effective date: 20091007

A711 Notification of change in applicant

Free format text: JAPANESE INTERMEDIATE CODE: A711

Effective date: 20110128

A521 Request for written amendment filed

Free format text: JAPANESE INTERMEDIATE CODE: A821

Effective date: 20110128

A521 Request for written amendment filed

Free format text: JAPANESE INTERMEDIATE CODE: A523

Effective date: 20110328

A521 Request for written amendment filed

Free format text: JAPANESE INTERMEDIATE CODE: A821

Effective date: 20110328

A621 Written request for application examination

Free format text: JAPANESE INTERMEDIATE CODE: A621

Effective date: 20110615

A711 Notification of change in applicant

Free format text: JAPANESE INTERMEDIATE CODE: A712

Effective date: 20120731

A521 Request for written amendment filed

Free format text: JAPANESE INTERMEDIATE CODE: A821

Effective date: 20120731

A131 Notification of reasons for refusal

Free format text: JAPANESE INTERMEDIATE CODE: A131

Effective date: 20130122

A521 Request for written amendment filed

Free format text: JAPANESE INTERMEDIATE CODE: A523

Effective date: 20130304

TRDD Decision of grant or rejection written
A01 Written decision to grant a patent or to grant a registration (utility model)

Free format text: JAPANESE INTERMEDIATE CODE: A01

Effective date: 20130528

A61 First payment of annual fees (during grant procedure)

Free format text: JAPANESE INTERMEDIATE CODE: A61

Effective date: 20130610

R150 Certificate of patent or registration of utility model

Ref document number: 5291996

Country of ref document: JP

Free format text: JAPANESE INTERMEDIATE CODE: R150

R250 Receipt of annual fees

Free format text: JAPANESE INTERMEDIATE CODE: R250

R250 Receipt of annual fees

Free format text: JAPANESE INTERMEDIATE CODE: R250

R250 Receipt of annual fees

Free format text: JAPANESE INTERMEDIATE CODE: R250

R250 Receipt of annual fees

Free format text: JAPANESE INTERMEDIATE CODE: R250

R250 Receipt of annual fees

Free format text: JAPANESE INTERMEDIATE CODE: R250

R250 Receipt of annual fees

Free format text: JAPANESE INTERMEDIATE CODE: R250

R250 Receipt of annual fees

Free format text: JAPANESE INTERMEDIATE CODE: R250

R250 Receipt of annual fees

Free format text: JAPANESE INTERMEDIATE CODE: R250

R250 Receipt of annual fees

Free format text: JAPANESE INTERMEDIATE CODE: R250

R250 Receipt of annual fees

Free format text: JAPANESE INTERMEDIATE CODE: R250