JP2010004068A - 端子ボックス及び太陽電池モジュール - Google Patents

端子ボックス及び太陽電池モジュール Download PDF

Info

Publication number
JP2010004068A
JP2010004068A JP2009219624A JP2009219624A JP2010004068A JP 2010004068 A JP2010004068 A JP 2010004068A JP 2009219624 A JP2009219624 A JP 2009219624A JP 2009219624 A JP2009219624 A JP 2009219624A JP 2010004068 A JP2010004068 A JP 2010004068A
Authority
JP
Japan
Prior art keywords
terminal
terminal block
box
lead wire
output lead
Prior art date
Legal status (The legal status is an assumption and is not a legal conclusion. Google has not performed a legal analysis and makes no representation as to the accuracy of the status listed.)
Granted
Application number
JP2009219624A
Other languages
English (en)
Other versions
JP5132646B2 (ja
JP2010004068A5 (ja
Inventor
Akira Shimizu
彰 清水
Current Assignee (The listed assignees may be inaccurate. Google has not performed a legal analysis and makes no representation or warranty as to the accuracy of the list.)
Sharp Corp
Original Assignee
Sharp Corp
Priority date (The priority date is an assumption and is not a legal conclusion. Google has not performed a legal analysis and makes no representation as to the accuracy of the date listed.)
Filing date
Publication date
Application filed by Sharp Corp filed Critical Sharp Corp
Priority to JP2009219624A priority Critical patent/JP5132646B2/ja
Publication of JP2010004068A publication Critical patent/JP2010004068A/ja
Publication of JP2010004068A5 publication Critical patent/JP2010004068A5/ja
Application granted granted Critical
Publication of JP5132646B2 publication Critical patent/JP5132646B2/ja
Active legal-status Critical Current
Anticipated expiration legal-status Critical

Links

Images

Classifications

    • YGENERAL TAGGING OF NEW TECHNOLOGICAL DEVELOPMENTS; GENERAL TAGGING OF CROSS-SECTIONAL TECHNOLOGIES SPANNING OVER SEVERAL SECTIONS OF THE IPC; TECHNICAL SUBJECTS COVERED BY FORMER USPC CROSS-REFERENCE ART COLLECTIONS [XRACs] AND DIGESTS
    • Y02TECHNOLOGIES OR APPLICATIONS FOR MITIGATION OR ADAPTATION AGAINST CLIMATE CHANGE
    • Y02EREDUCTION OF GREENHOUSE GAS [GHG] EMISSIONS, RELATED TO ENERGY GENERATION, TRANSMISSION OR DISTRIBUTION
    • Y02E10/00Energy generation through renewable energy sources
    • Y02E10/50Photovoltaic [PV] energy

Landscapes

  • Photovoltaic Devices (AREA)

Abstract

【課題】出力リード線の引き出し構造を工夫することで、端子ボックスの小型化を図る。
【解決手段】太陽電池ストリング116裏面のバックフィルム125上に載置固定されるボックスケース11と、このボックスケース11上に形成された端子台20とからなり、ボックスケース11はさらに、太陽電池ストリング116裏面のバックフィルム125上に載置固定されるケース本体12と、このケース本体12の上部に端子台20を載置固定するための端子台固定部13とからなり、出力リード線122aを端子台20の上方まで通すための開口部14(14a,14b,20a)がケース本体12の底面から端子台20の上面まで一連に形成されており、端子台20の一方の縁部20bが、出力リード線122aの先端部122a1を折り曲げ係止可能なように端子台固定部13から突出して設けられている。
【選択図】図1

Description

本発明は、太陽電池セルの電極に接続されバックフィルムを貫通して引き出された出力リード線を電気的に接続する端子ボックスに係り、より詳細には、出力リード線の配線構造に特徴を有する端子ボックス及びこの端子ボックスを備えた太陽電池モジュールに関する。
建物の屋根等に複数枚の太陽電池ストリングをマトリックス状に敷設して太陽光発電を行う太陽光発電システムが広く一般に普及しはじめている。このような太陽電池発電システムにおいて、各太陽電池モジュールには、隣接して敷設された他の太陽電池モジュールと互いに電気的に接続可能とするための端子ボックスが備えられている。
従来の端子ボックスの一例を、従来技術1として図5に示す。ただし、図5(a)は断面図、(b)は平面図である。
この従来技術1の端子ボックス200は、太陽電池ストリング300のバックフィルム310を貫通して引き出された出力リード線301を電気的に接続するために、太陽電池ストリング300の裏面上に載置固定されるボックスケース201と、このボックスケース201上に形成された端子台210とからなっている。また、ボックスケース201は、太陽電池ストリング300の裏面上に載置固定されるケース本体202と、このケース本体202の上部に前記端子台210を載置固定するための端子台固定部203とからなっている。
そして、ケース本体202には、太陽電池ストリング300の裏面から引き出された出力リード線301を上方に引き出すための本体挿通穴204が形成されている。また、この本体挿通穴204と対向する側の端子台210の一端部211は、端子固定部203から突出するように設けられており、この突出部に、出力リード線301の先端部302を挿通するための端子台挿通穴212が形成されている。
このような構成の端子ボックス200を用いて出力リード線301を電気的に接続する場合、まず、太陽電池ストリング300の裏面を上に向けて図示しない作業台の上に載置し、この太陽電池ストリング300の裏面から上方に引き出された出力リード線301の先端部302に、端子ボックスの本体挿通穴204が対向するように位置合わせして、端子ボックス200を太陽電池ストリング300の上方から被せるように載置する。次に、この状態で本体挿通穴204から上方に突出した出力リード線301をピンセット等で摘んで端子台210の方に折り曲げ、出力リード線301の先端部302を端子台210に形成された端子台挿通穴212に上方から挿通する。そして、この状態で端子台210上の出力リード線301を半田付けによって端子台210に固定することで、出力リード線301を端子台210に取り付け固定するようになっている。
このように、出力リード線301の先端部302を、単なる半田固定ではなく、端子台挿通穴212に一旦挿通(係止)してから半田固定するのは、IEC(International Electrotechnical Commission)規格によってそのように規定(半田固定だけではだめであ
ると規定)されているからである。
また、従来の端子ボックスの他の例として、特許文献1に記載の端子ボックス(接続ボックス)の構造を図6に示す。
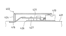
この特許文献1に記載の端子ボックス402は、ボックス体424のケーブル嵌通孔410から挿入されて端子固定部427に抜止係止された端子421の長手方向他端部に、フレーム挿入孔426から挿入されたリードフレーム416の先端部が半田付けにより接続され、端子ボックス402のボックス本体424の下面が太陽電池ストリング本体401の裏面に接着剤により接着固定された構造となっている。
一方、上記従来技術1の端子ボックス100では、出力リード線201と端子台110との固定を半田付けによる固定としているが、このような半田付けの工程を無くすようにした端子ボックスも提案されている(例えば、特許文献2参照)。
特許文献2に記載の端子ボックスは、図7に示すように、太陽電池ストリング507の電極取り出し部506を覆うように取り付けられており、端子ボックス501の底面には内部リード線503を取り込むための内部リード線取り込み孔508が形成されている。また、端子ボックス501内には、内部リード線取り込み孔508の近傍に中継端子504を機械的に固定するための中継端子支持体505が形成されている。そして、内部リード線503と外部出力線502が中継端子504により互いに電気的かつ機械的に接続され、この中継端子504に穿設された掛止部(開口部)513を棒状の中継端子支持体505に通すことにより、中継端子504を中継端子支持体505に機械的に固定する構造となっている。
特開2001−250974号公報 特開平11−17204号公報
上記従来技術1の端子ボックスでは、本体挿通穴204から上方に突出した出力リード線301の先端部302を端子台210に形成された端子台挿通穴212に上方から挿通するという工程が必要であるため、自動化が難しいといった問題があった。
また、出力リード線301を取り出すための本体挿通穴204と、取り出された出力リード線301の先端部302を挿通するための端子台210の端子台挿通穴212とを個別に設けており、本体挿通穴204から取り出された出力リード線301を湾曲させて端子台挿通穴212に挿通させるため、本体挿通穴204から端子台挿通穴212まである程度の距離が必要であり、この部分のスペースが無駄であるといった問題があった。すなわち、端子ボックスの小型化が難しいといった問題があった。この問題は、上記特許文献1や特許文献2に記載の端子ボックスについても同様に生じる問題である。
また、本体挿通穴204から端子台挿通穴212まである程度の距離があるため、出力リード線301も本体挿通穴204から上方に十分長く引き出す必要がある。そのため、引き出された出力リード線301がぐらつくことで、出力リード線301の端子台210への半田付けが安定して行われない可能性があるといった問題があった。この問題は、上記特許文献1に記載の端子ボックスについても同様に生じる問題である。
さらに、端子ボックス200を太陽電池ストリング300の上方から被せるとき、端子ボックス200の本体挿通穴204の縁部が出力リード線301に接触して折れ曲がらないように、本体挿通穴204の内径を十分大きくしておく必要がある。すなわち、本体挿通穴204を大きな開口部に形成しておく必要がある。そのため、出力リード線301の先端部302を端子台210の端子台挿通穴212に上方から挿通するとき、出力リード線301を深く挿通すると、出力リード線301の先端部302が端子台固定部203の側面203aやケース本体202の上面202aなどに接触してC字状に湾曲し、本体挿
通穴204から太陽電池ストリング300の裏面まで入り込む可能性があり、この場合には絶縁耐圧が低くなってしまうといった問題があった。
なお、上記特許文献1に記載の端子ボックスについては、リードフレーム416を端子421に単に半田付けするだけであるため、固定強度が十分でなく、また、IEC規格にも準拠していないといった問題もあった。同様に、特許文献2に記載の端子ボックスについても、内部リード線503と外部出力線502とが中継端子504に半田付けのみによって固定されているため、この部分の強度が十分でなく、また、IEC規格にも準拠していないといった問題があった。
本発明はかかる問題点を解決すべく創案されたもので、その目的は、特に上記従来技術1の端子ボックスに着目し、これを改良することで上記各問題を解決した端子ボックス及びこの端子ボックスを備えた太陽電池モジュールを提供することにある。
上記課題を解決するため、本発明の端子ボックスは、太陽電池セルの電極に接続されバックフィルムを貫通して引き出された出力リード線を電気的に接続する端子ボックスであって、前記バックフィルム上に載置固定されるボックスケースと、このボックスケース上に形成された前記出力リード線を電気的に接続する端子台とからなり、前記ボックスケースはさらに、前記バックフィルム上に載置固定されるケース本体と、このケース本体の上部に前記端子台を載置固定するための端子台固定部とからなり、前記出力リード線を前記端子台の上方まで通すための開口部が前記ケース本体の底面から前記端子台の上面まで一連に形成されていることを特徴としている。
また、本発明の太陽電池モジュールは、太陽電池セルの電極に接続されバックフィルムを貫通して引き出された出力リード線を電気的に接続する端子ボックスを備えた太陽電池モジュールであって、前記端子ボックスは、前記バックフィルム上に載置固定されるボックスケースと、このボックスケース上に形成された前記出力リード線を電気的に接続する端子台とからなり、前記ボックスケースはさらに、前記バックフィルム上に載置固定されるケース本体と、このケース本体の上部に前記端子台を載置固定するための端子台固定部とからなり、前記出力リード線を前記端子台の上方まで通すための開口部が前記ケース本体の底面から前記端子台の上面まで一連に形成されていることを特徴としている。
上記構成によれば、出力リード線を端子台の上方まで通すための開口部が、ケース本体の底面から端子台の上面まで一連に形成されている。すなわち、開口部は一つだけであり、従来技術1のように、本体挿通穴104と端子台挿通穴112とが個別に設けられた構成ではないので、従来技術1の端子ボックスのような無駄なスペースを無くすことができ、端子ボックス自体を小型化することが可能である。
また、本発明によれば、前記ケース本体に形成された前記開口部は、前記端子台固定部に連通する側から前記ケース本体の底面に向かって漸次拡開するテーパ状の貫通穴に形成されていることが好ましい。このようにテーパ状に形成することで、出力リード線を挿通する開口部の下端部の口径が大きくなることから、出力リード線が開口部の縁部に当たって折れ曲がってしまうといった不具合を防止することができる。
また、本発明によれば、前記端子台の一方の縁部が、前記出力リード線の先端部を折り曲げ係止可能なように前記端子台固定部から突出して設けられた構成としてもよい。すなわち、本発明では、開口部から上方に突出した出力リード線をそのまま開口部の縁部に押し当てるようにして端子台の一方の縁部側に折り曲げ、その折り曲げ先端部をさら端子台の一方の縁部に押し当てるようにして、下方に折り返すまで折り曲げることにより、出力
リード線の先端部を端子台に係止固定することが可能となる。すなわち、端子台の開口部の縁部、及び端子台の一方の縁部の2点をそれぞれ折り曲げ起点として、2回の折り曲げ工程を実施するだけで、出力リード線の先端部を端子台に確実に係止固定することが可能となる。これにより、出力リード線の先端部を端子台に半田付けする次の工程も安定して行うことが可能となり、IEC規格に十分準拠した端子ボックスの取り付け構造とすることができる。
また、本発明によれば、前記端子台固定部は、前記ケース本体の前後方向に所定の間隔を存して立設された一対の端子台固定片によって形成され、この端子台固定片の間を前記出力リード線を通すための開口部としてもよい。すなわち、端子台固定部に形成される開口部は、円筒形のようないわゆる穴ではなく、左右両側が開放された溝のような構造となっている。そのため、この端子ボックスに出力リード線及び外部出力線を接続した後、ポッティングによって樹脂封止するとき、ポッティング材が開口部から内部に流入し易くなり、バックフィルムを貫通して引き出された出力リード線の周辺を確実に樹脂封止することが可能となる。この場合、前記ケース本体に、当該ケース本体の底面から上面まで達する空気抜き孔が設けた構成としてもよい。空気抜き孔を設けることで、ポッティング材が開口部に流れ込むとき、開口部内及び太陽電池セルの裏面と端子ボックスの底面との隙間に存在している空気が、空気抜き孔から外部に抜けるため、ポッティング材を開口部内(より具体的には、開口部内の太陽電池セルのバックフィルムまで、さらには太陽電池セルのバックフィルムと端子ボックスの底面との隙間まで)確実に充填することができ、空隙の無い樹脂封止を行うことが可能となる。
本発明によれば、出力リード線を端子台の上方まで通すための開口部が、ケース本体の底面から端子台の上面まで一連に形成されているので、従来技術のように2つの挿通孔を個別に設ける必要がなく、従って、従来技術の端子ボックスのような無駄なスペースを無くして、端子ボックス自体を小型化することができる。
本発明の端子ボックスの一実施の形態を示しており、(a)は断面図、(b)は平面図である。 本実施形態の端子ボックスの斜視図である。 太陽電池ストリングの一構成例を示しており、(a),(b)は製造工程の2つの場面を示している。 太陽電池ストリングをラミネート封止する工程を示す説明図である。 従来技術1に係わる端子ボックスの構造を示しており、(a)は断面図、(b)は平面図である。 特許文献1に記載の端子ボックス(接続ボックス)の構造を示した断面図である。 特許文献2に記載の端子ボックス(接続ボックス)の構造を示した全体斜視図である。
以下、本発明の実施の形態について、図面を参照して説明する。
<太陽電池ストリングの説明>
まず、最初に、本発明の端子ボックスが適用される太陽電池ストリングの一構成例について、図3(a),(b)及び図4を参照して説明する。
太陽電池セル115は、透光性絶縁基板111上に、図示は省略しているが透明導電膜からなる透明電極膜、光電変換層、裏面電極膜がこの順に積層されて形成されている。透光性絶縁基板としてはガラスやポリイミドなどの耐熱性樹脂がある。透明電極膜としてはSnO2 、ZnO、ITOなどがある。光電変換層としてはアモルファスシリコンがある。
このように構成された太陽電池セル115は、図3(a)に示すように細長い短冊状で、透光性絶縁基板111のほぼ全幅にわたる長さを有しており、隣接する太陽電池セル115,115同士において一方の透明電極膜と他方の裏面電極膜とが互いに接続されることで複数の太陽電池セル115が直列に接続された太陽電池ストリング116が構成されている。
そして、この太陽電池ストリング116における一端部の太陽電池セル115の透明電極膜の端部上に、太陽電池セル115とほぼ同一長さの線状のP型電極端子部117が形成され、他端部の太陽電池セル115の裏面電極膜の端部上に、太陽電池セル115とほ
ぼ同一長さの線状のN型電極端子部118が形成されている。これらP型電極端子部117及びN型電極端子部118が電極取り出し部になる。このように同一長とすることにより、太陽電池ストリング116の複数の太陽電池セル115を直列に流れてきた電流が局部的に集中することがなく、その電流を均一に取り出すことができるのでシリーズ抵抗ロスの発生を抑制することができる。
そして、P型電極端子部117の中央部とN型電極端子部118の中央部との間をわたすようにして、太陽電池ストリング116の上に絶縁膜119が敷設されている。この絶縁膜119は、P型電極端子部117及びN型電極端子部118には重ならないように敷設されている。絶縁膜119としては、熱可塑性の高分子フィルムが好ましく、なかでもEVA(エチレンビニルアセテート樹脂)製のものが最適である。
一方、P型電極端子部117と同形・同大の銅箔からなるバスバーと呼ばれる正極集電部120が、P型電極端子部117の全面に対して電気的かつ機械的に接合されている。同様に、N型電極端子部118と同形・同大の負極集電部121が、N型電極端子部118の全面に対して電気的かつ機械的に接合されている。これらの接合手段としては、半田付けまたは導電性ペーストなどを用いることができる。
絶縁膜119の上には、フラットケーブルからなる正極リード線122と負極リード線123とが、互いの先端部を対向させた状態で一直線状に(若しくは幅方向にずらせた平行状態に)配置されている。
正極リード線122の一端部は、正極集電部120の中央位置に接続されている。また、正極リード線122の他端部は、太陽電池ストリング116のほぼ中央部に位置し、かつ太陽電池ストリング116の面に対して垂直に折り曲げられた立ち上がり端子部122aとなっている。同様に、負極リード線123の一端部は、負極集電部121の中央位置に接続されている。また、負極リード線123の他端部は、太陽電池ストリング116のほぼ中央部に位置し、かつ太陽電池ストリング116の面に対して垂直に折り曲げられた立ち上がり端子部123aとなっている。
正極リード線122及び負極リード線123は、正極集電部20及び負極集電部21と同一材料(すなわち、銅箔)で作られており、各リード線と集電部の接合手段としては半田付けまたはスポット溶接などを用いることができる。正極リード線22及び負極リード線23は、複数の太陽電池セル115上にまたがっているが、太陽電池セル115との間に絶縁膜119が介在されているので、これら複数の太陽電池セル115をショートすることはない。絶縁膜119の幅は、正極リード線122及び負極リード線123の幅よりも充分に広いことが望ましく、正極集電部120から負極集電部121まで1枚の帯状シートの形で配置されている。
この状態において、図4に示すように、正極リード線122及び負極リード線123の各立ち上がり端子部122a,123aを貫通孔124a及び貫通孔125aに挿通する状態で、封止絶縁フィルム124と耐候性・高絶縁性のための裏面保護材としてのバックフィルム125とが、太陽電池ストリング116の全面にラミネート封止されている。封止絶縁フィルム124としては、絶縁膜119と同一材質の熱可塑性の高分子フィルムが好ましく、なかでもEVA(エチレンビニルアセテート樹脂)製のものが最適である。封止絶縁フィルム124を絶縁膜119と同一材質の熱可塑性の高分子フィルムとすると、ラミネート封止の際の熱融着時に、両者間の分子結合が有効的に進行し、冷却後の一体化が完全に行われることとなり、これによって太陽電池ストリングの防水性を向上することができる。また、バックフィルム125としては、PET/Al/PET(PET:ポリエチレンテレフタレート)の3層構造のものが好ましい。厚みの一例を挙げると、絶縁膜
119:100μm、封止絶縁フィルム124:600μmに対して、バックフィルム125を100μmとする。
このように構成された太陽電池ストリング116において、バックフィルム125の貫通孔125aから上方に向けて突出している正極リード線122及び負極リード線123の各立ち上がり端子部122a,123aに、本発明の端子ボックスを取り付けて電気的に接続し、さらに、この端子ボックスに外部出力線を電気的に取り付けることで、太陽電池モジュールが作製される。
なお、太陽電池ストリング116の電極配置構造はあくまで一例であり、このような配置構造に限定されるものではない。例えば、正極リード線122及び負極リード線123の配置位置は、太陽電池ストリング116の中央部ではなく、一方の端部側に寄っていてもく、また、中央部まで引き出す必要もない。すなわち、正極集電部20及び負極集電部21の近傍から各立ち上がり端子部122a,123aが上方に突出するように配置されていてもよい。
<端子ボックスの説明>
図1は、本発明の端子ボックスの一実施の形態を示しており、(a)は概略断面図、(b)は平面図である。また、図2は、端子台部分を分離した状態で示した斜視図である。ただし、端子ボックスは、正極集電部20の立ち上がり端子部122a、及び負極集電部21の立ち上がり端子部123aのそれぞれに取り付けられるものであるが、その取り付け構造は同じであるので、本実施形態では、正極集電部20の立ち上がり端子部122aに取り付けた場合について説明する。
本実施形態の端子ボックス1は、太陽電池ストリング116の裏面からバックフィルム125を貫通して引き出された立ち上がり端子部(以下、出力リード線ともいう)122aを電気的に接続するために、太陽電池ストリング116のバックフィルム125上に載置固定されるボックスケース11と、このボックスケース11上に形成された端子台20とからなっている。また、ボックスケース11は、太陽電池ストリング116のバックフィルム125上に載置固定されるケース本体12と、このケース本体12の上部に前記端子台20を載置固定するための端子台固定部13とからなっている。
本実施形態では、ボックスケース11は、図1(b)中左右方向に長く、幅方向に短い直方体形状に形成されており、端子台固定部13は、全体として略立方体形状に形成されている。
このようなボックスケース11の構成において、本実施形態では、出力リード線122aを端子台20の上方まで通すための開口部14(14a,14b,20a)が、ケース本体11の底面から端子台20の上面まで一連に形成されている。すなわち、出力リード線122aを通すための開口部は一つだけであり、従来技術1のように、本体挿通穴104と端子台挿通穴112とが個別に設けられた構成ではないので、従来技術1の端子ボックスのような無駄なスペースを無くすことができ、端子ボックス自体を小型化することができる。
ここで、本実施形態では、端子台固定部13に形成される開口部14aは、図2に示すように、ケース本体11の左右方向に所定の間隔を存して立設された一対の端子台固定片13a,13bによって形成され、この端子台固定片13a,13bの間が、出力リード線122aを通すための開口部14aとなっている。すなわち、端子台固定部3に形成される開口部14aは、円筒形のようないわゆる穴ではなく、左右両側が開放された溝のような構造となっている。そのため、この端子ボックス1に出力リード線122a及び図示
しない外部出力線(隣接配置される他の太陽電池モジュールと接続するための線)を接続した後、ポッティングによって樹脂封止するとき、ポッティング材が開口部14aからケース本体11の開口部14b内部に(さらには、太陽電池ストリング116のバックフィルム125まで)流入し易くなり、太陽電池ストリング116のバックフィルム125から引き出された出力リード線122aの周辺を確実に樹脂封止することが可能となる。
なお、このような開口部14aの形状に合わせて、端子台20の開口部20aも、幅方向に長い長方形状となっている。
また、本実施形態では、ケース本体11に形成された開口部14bは、平面からみて四角形状に形成されており、各内壁面は、端子台固定部13に連通する側(すなわち、開口部14aの下端縁)からケース本体11の底面に向かって漸次拡開するテーパ状に形成されている。このようにテーパ状に形成することで、出力リード線122aを挿通する開口部14bの下端部の口径が大きくなることから、端子ボックス1を上から被せるとき、出力リード線122aが開口部14bの縁部に当たって折れ曲がってしまうといった不具合を防止することができる。
また、本実施形態では、端子台20は、端子台固定部13の上面形状に合わせて四角形状に形成されているが、一方の縁部20bが、出力リード線122aの先端部122a1を折り曲げ係止可能なように、端子台固定部13から突出して設けられている。すなわち、本実施形態では、端子台20の開口部20aから上方に突出した出力リード線122aをそのまま開口部20aの縁部に押し当てるようにして端子台20の一方の縁部側(図1では右側)に折り曲げ、その折り曲げ先端部をさら端子台20の一方の縁部20bに押し当てるようにして、下方に折り返すまで折り曲げることにより、出力リード線122aの先端部122a1を端子台20に係止固定することが可能となる。すなわち、端子台20の開口部20aの縁部、及び端子台20の一方の縁部20bの2点をそれぞれ折り曲げ起点として、2回の折り曲げ工程を実施するだけで、出力リード線122aの先端部122a1を端子台20に確実に係止固定することが可能となる。これにより、出力リード線122aの折り曲げ部分を端子台20に半田付けする次の工程を安定して行うことが可能となり、IEC規格に十分準拠した端子ボックスの取り付け構造とすることができる。また、従来技術のような半田付けのための出力リード線の引き回しスペースが不要となるため、端子ボックスに設けられるダイオードや他の配線などの配置自由度も高めることができるといった利点がある。
また、本実施形態では、ケース本体11の適所に、底面から上面まで達する空気抜き孔16を設けた構成としてもよい。ただし、この空気孔16は、端子台固定部13から十分離れた位置に設けるものとする。端子ボックス1を太陽電池ストリング116のバックフィルム125に取り付けるため、端子ボックス1のケース本体12の底面には、その周囲(全周であっても、例えば隅角部の4箇所等であってもよい)に接着用のシリコン樹脂18が塗布されている。従って、端子ボックス1を太陽電池ストリング116のバックフィルム125上に接着固定すると、このシリコン樹脂18の厚み分だけ、ケース本体12の底面と太陽電池ストリング116のバックフィルム125との間に隙間Sができることになる。従って、空気抜き孔16を設けることで、ポッティング材が開口部14に流れ込むとき、開口部14内部及び太陽電池ストリング116のバックフィルム125と端子ボックス1のケース本体12の底面との隙間Sに存在している空気が、空気抜き孔16から外部に抜けるため、ポッティング材を開口部14内(より具体的には、開口部14内の太陽電池ストリング116のバックフィルム125まで、さらには太陽電池ストリング116のバックフィルム125と端子ボックス1のケース本体12の底面との隙間Sまで)確実に充填することができ、空隙の無い樹脂封止を行うことが可能となる。
なお、図示は省略しているが、この端子台20に固定される外部出力線の固定方法としては、外部出力線の接続端部を端子台20の他方の端部にリベット等を用いて直接かしめるようにすればよい。このように、太陽電池ストリング116のバックフィルム125上に端子ボックス1を取り付けて、端子台20に出力リード線122aを電気的に接続し、さらに、この端子台20に外部出力線を電気的に接続することで、太陽電池モジュールが作製される。
1 端子ボックス
11 ボックスケース
12 ケース本体
13 端子台固定部
13a,13b 端子台固定片
14(14a,14b,20a) 開口部
16 空気抜き孔
20 端子台
20b 一方の縁部
111 透光性絶縁基板
115 太陽電池セル
116 太陽電池ストリング(薄膜太陽電池ストリング)
117 P型電極端子部
118 N型電極端子部
119 絶縁膜
120 正極集電部
121 負極集電部
122 正極リード線
123 負極リード線
122a,123a 立ち上がり端子部
122a1 先端部
124 封止絶縁フィルム
125 バックフィルム
124a,125a 貫通孔

Claims (6)

  1. 太陽電池セルの電極に接続されバックフィルムを貫通して引き出された出力リード線を電気的に接続する端子ボックスであって、
    前記バックフィルム上に載置固定されるボックスケースと、このボックスケース上に形成された前記出力リード線を電気的に接続する端子台とからなり、前記ボックスケースはさらに、前記バックフィルム上に載置固定されるケース本体と、このケース本体の上部に前記端子台を載置固定するための端子台固定部とからなり、
    前記出力リード線を前記端子台の上方まで通すための開口部が前記ケース本体の底面から前記端子台の上面まで一連に形成されていることを特徴とする端子ボックス。
  2. 請求項1に記載の端子ボックスにおいて、
    前記ケース本体に形成された前記開口部は、前記端子台固定部に連通する側から前記ケース本体の底面に向かって漸次拡開するテーパ状の貫通穴からなることを特徴とする端子ボックス。
  3. 請求項1または請求項2に記載の端子ボックスにおいて、
    前記端子台の一方の縁部が、前記出力リード線の先端部を折り曲げ係止可能なように前記端子台固定部から突出して設けられていることを特徴とする端子ボックス。
  4. 請求項1から請求項3までのいずれか1項に記載の端子ボックスにおいて、
    前記端子台固定部は、前記ケース本体の前後方向に所定の間隔を存して立設された一対の端子台固定片によって形成され、この端子台固定片の間が前記出力リード線を通すための開口部となっていることを特徴とする端子ボックス。
  5. 請求項1から請求項4までのいずれか1項に記載の端子ボックスにおいて、
    前記ケース本体に、当該ケース本体の底面から上面まで達する空気抜き孔が設けられていることを特徴とする端子ボックス。
  6. 太陽電池セルの電極に接続されバックフィルムを貫通して引き出された出力リード線を電気的に接続する端子ボックスを備えた太陽電池モジュールであって、
    前記端子ボックスは、前記バックフィルム上に載置固定されるボックスケースと、このボックスケース上に形成された前記出力リード線を電気的に接続する端子台とからなり、前記ボックスケースはさらに、前記バックフィルム上に載置固定されるケース本体と、このケース本体の上部に前記端子台を載置固定するための端子台固定部とからなり、
    前記出力リード線を前記端子台の上方まで通すための開口部が前記ケース本体の底面から前記端子台の上面まで一連に形成されていることを特徴とする太陽電池モジュール。
JP2009219624A 2009-09-24 2009-09-24 端子ボックス及び太陽電池モジュール Active JP5132646B2 (ja)

Priority Applications (1)

Application Number Priority Date Filing Date Title
JP2009219624A JP5132646B2 (ja) 2009-09-24 2009-09-24 端子ボックス及び太陽電池モジュール

Applications Claiming Priority (1)

Application Number Priority Date Filing Date Title
JP2009219624A JP5132646B2 (ja) 2009-09-24 2009-09-24 端子ボックス及び太陽電池モジュール

Related Parent Applications (1)

Application Number Title Priority Date Filing Date
JP2008147024A Division JP4384241B1 (ja) 2008-06-04 2008-06-04 端子ボックス及び太陽電池モジュール

Related Child Applications (1)

Application Number Title Priority Date Filing Date
JP2012006946A Division JP5306490B2 (ja) 2012-01-17 2012-01-17 端子ボックス及び太陽電池モジュール

Publications (3)

Publication Number Publication Date
JP2010004068A true JP2010004068A (ja) 2010-01-07
JP2010004068A5 JP2010004068A5 (ja) 2010-10-21
JP5132646B2 JP5132646B2 (ja) 2013-01-30

Family

ID=41585464

Family Applications (1)

Application Number Title Priority Date Filing Date
JP2009219624A Active JP5132646B2 (ja) 2009-09-24 2009-09-24 端子ボックス及び太陽電池モジュール

Country Status (1)

Country Link
JP (1) JP5132646B2 (ja)

Cited By (2)

* Cited by examiner, † Cited by third party
Publication number Priority date Publication date Assignee Title
JP2012234850A (ja) * 2011-04-28 2012-11-29 Angel Kogyo Kk 端子ボックス付太陽電池モジュールと端子ボックス
WO2018062185A1 (ja) * 2016-09-29 2018-04-05 パナソニックIpマネジメント株式会社 太陽電池モジュールおよび太陽電池モジュールの製造方法

Citations (5)

* Cited by examiner, † Cited by third party
Publication number Priority date Publication date Assignee Title
JPH0212878A (ja) * 1988-04-11 1990-01-17 Westinghouse Electric Corp <We> 光電池モジュール
JP2005353734A (ja) * 2004-06-09 2005-12-22 Sumitomo Wiring Syst Ltd 太陽電池モジュール用端子ボックス
JP2006041262A (ja) * 2004-07-28 2006-02-09 Sumitomo Wiring Syst Ltd 太陽電池モジュール用端子ボックス
JP2006269803A (ja) * 2005-03-24 2006-10-05 Mitsubishi Electric Corp 太陽電池モジュール用端子ボックス装置
JP2006310439A (ja) * 2005-04-27 2006-11-09 Yukita Electric Wire Co Ltd 太陽電池モジュール用端子ボックス

Patent Citations (5)

* Cited by examiner, † Cited by third party
Publication number Priority date Publication date Assignee Title
JPH0212878A (ja) * 1988-04-11 1990-01-17 Westinghouse Electric Corp <We> 光電池モジュール
JP2005353734A (ja) * 2004-06-09 2005-12-22 Sumitomo Wiring Syst Ltd 太陽電池モジュール用端子ボックス
JP2006041262A (ja) * 2004-07-28 2006-02-09 Sumitomo Wiring Syst Ltd 太陽電池モジュール用端子ボックス
JP2006269803A (ja) * 2005-03-24 2006-10-05 Mitsubishi Electric Corp 太陽電池モジュール用端子ボックス装置
JP2006310439A (ja) * 2005-04-27 2006-11-09 Yukita Electric Wire Co Ltd 太陽電池モジュール用端子ボックス

Cited By (2)

* Cited by examiner, † Cited by third party
Publication number Priority date Publication date Assignee Title
JP2012234850A (ja) * 2011-04-28 2012-11-29 Angel Kogyo Kk 端子ボックス付太陽電池モジュールと端子ボックス
WO2018062185A1 (ja) * 2016-09-29 2018-04-05 パナソニックIpマネジメント株式会社 太陽電池モジュールおよび太陽電池モジュールの製造方法

Also Published As

Publication number Publication date
JP5132646B2 (ja) 2013-01-30

Similar Documents

Publication Publication Date Title
JP4384241B1 (ja) 端子ボックス及び太陽電池モジュール
JP4558070B2 (ja) 太陽電池モジュール
US8952240B2 (en) Solar cell module
US8921684B2 (en) Solar cell module and manufacturing method thereof
CN203277411U (zh) 太阳能电池模块
JP2010056251A (ja) 太陽電池モジュール
JP2011054661A (ja) 太陽電池モジュール
JP5306490B2 (ja) 端子ボックス及び太陽電池モジュール
US20110271998A1 (en) Solar cell module and manufacturing method thereof
JP2012019023A (ja) 太陽電池モジュール組品及び太陽電池モジュール組品を搭載した移動体
JP4245724B2 (ja) 太陽電池モジュール
JP5132646B2 (ja) 端子ボックス及び太陽電池モジュール
JP2010283231A (ja) 太陽電池モジュール及びその製造方法
JPH11303325A (ja) 太陽電池モジュール
JP4687067B2 (ja) 太陽電池モジュールおよび電力リード線接続方法
JP2002141535A (ja) 太陽電池モジュールの電力リード引き出し方法
JP6042710B2 (ja) 太陽電池モジュール、及び太陽電池モジュールの製造方法
JP2012064745A (ja) 太陽電池モジュール
JP2003017732A (ja) 太陽電池モジュールの電力リード引き出し方法
JP2012142635A (ja) 太陽電池モジュール
JP2012142634A (ja) 太陽電池モジュール及びその製造方法
JP2012142637A (ja) 太陽電池モジュール
JP2012142636A (ja) 太陽電池モジュール及びその製造方法

Legal Events

Date Code Title Description
A521 Request for written amendment filed

Free format text: JAPANESE INTERMEDIATE CODE: A523

Effective date: 20100831

A621 Written request for application examination

Free format text: JAPANESE INTERMEDIATE CODE: A621

Effective date: 20100831

TRDD Decision of grant or rejection written
A01 Written decision to grant a patent or to grant a registration (utility model)

Free format text: JAPANESE INTERMEDIATE CODE: A01

Effective date: 20121016

A01 Written decision to grant a patent or to grant a registration (utility model)

Free format text: JAPANESE INTERMEDIATE CODE: A01

A61 First payment of annual fees (during grant procedure)

Free format text: JAPANESE INTERMEDIATE CODE: A61

Effective date: 20121106

FPAY Renewal fee payment (event date is renewal date of database)

Free format text: PAYMENT UNTIL: 20151116

Year of fee payment: 3

R150 Certificate of patent or registration of utility model

Free format text: JAPANESE INTERMEDIATE CODE: R150

Ref document number: 5132646

Country of ref document: JP

Free format text: JAPANESE INTERMEDIATE CODE: R150