JP2010004048A - 積層チップパッケージおよびその製造方法 - Google Patents

積層チップパッケージおよびその製造方法 Download PDF

Info

Publication number
JP2010004048A
JP2010004048A JP2009148252A JP2009148252A JP2010004048A JP 2010004048 A JP2010004048 A JP 2010004048A JP 2009148252 A JP2009148252 A JP 2009148252A JP 2009148252 A JP2009148252 A JP 2009148252A JP 2010004048 A JP2010004048 A JP 2010004048A
Authority
JP
Japan
Prior art keywords
main body
chip package
electrodes
semiconductor chip
substructure
Prior art date
Legal status (The legal status is an assumption and is not a legal conclusion. Google has not performed a legal analysis and makes no representation as to the accuracy of the status listed.)
Granted
Application number
JP2009148252A
Other languages
English (en)
Other versions
JP5432604B2 (ja
Inventor
Yoshitaka Sasaki
芳高 佐々木
Hiroyuki Ito
浩幸 伊藤
Tatsuya Harada
達也 原田
Nobuyuki Okuzawa
信之 奥澤
Satoru Sueki
悟 末木
Current Assignee (The listed assignees may be inaccurate. Google has not performed a legal analysis and makes no representation or warranty as to the accuracy of the list.)
TDK Corp
Headway Technologies Inc
Original Assignee
TDK Corp
Headway Technologies Inc
Priority date (The priority date is an assumption and is not a legal conclusion. Google has not performed a legal analysis and makes no representation as to the accuracy of the date listed.)
Filing date
Publication date
Application filed by TDK Corp, Headway Technologies Inc filed Critical TDK Corp
Publication of JP2010004048A publication Critical patent/JP2010004048A/ja
Application granted granted Critical
Publication of JP5432604B2 publication Critical patent/JP5432604B2/ja
Expired - Fee Related legal-status Critical Current
Anticipated expiration legal-status Critical

Links

Images

Classifications

    • H10P72/74
    • H10W46/00
    • H10W70/093
    • H10W72/0198
    • H10W90/00
    • H10P72/743
    • H10W46/101
    • H10W46/301
    • H10W72/07554
    • H10W72/536
    • H10W72/547
    • H10W72/834
    • H10W74/00
    • H10W90/22

Landscapes

  • Semiconductor Integrated Circuits (AREA)
  • Encapsulation Of And Coatings For Semiconductor Or Solid State Devices (AREA)
  • Internal Circuitry In Semiconductor Integrated Circuit Devices (AREA)

Abstract

【課題】積層チップパッケージを低コストで短時間に大量生産することを可能にする。
【解決手段】積層チップパッケージ1は、複数の階層部分11〜18を含む本体2と、本体2の側面に配置された配線3A,3Bを備えている。各階層部分は、半導体チップと、半導体チップの少なくとも1つの側面を覆う絶縁部と、半導体チップに接続された複数の電極を含んでいる。絶縁部は、配線3A,3Bが配置された本体2の側面に配置された端面を有している。各電極は、配線3A,3Bが配置された本体2の側面に配置され且つ絶縁部によって囲まれた端面を有している。積層チップパッケージ1を製造する際には、半導体ウェハを処理して、配列された複数の半導体チップ予定部を形成し、少なくとも1つの半導体チップ予定部に隣接するように延びる1以上の溝を形成し、この溝を埋めるように絶縁層を形成し、更に複数の電極を形成して、基礎構造物を作製する。
【選択図】図1

Description

本発明は、積層された複数のチップを含む積層チップパッケージおよびその製造方法、ならびに積層チップパッケージの製造に用いられる積層チップパッケージ用基礎構造物(substructure)に関する。
近年、携帯電話やノート型パーソナルコンピュータに代表される携帯機器では、軽量化と高性能化が求められている。それに伴い、携帯機器に用いられる電子部品の高集積化が求められている。また、半導体メモリの大容量化のためにも、電子部品の高集積化が求められている。
近年、高集積化された電子部品として、システム・イン・パッケージ(System in Package;以下、SiPと記す。)、特に複数のチップを積層する3次元実装技術を用いたSiPが注目されている。本出願において、積層された複数のチップを含むパッケージを、積層チップパッケージと呼ぶ。この積層チップパッケージには、高集積化が可能になるという利点に加え、配線の長さの短縮が可能になることから、回路の動作の高速化や配線の浮遊容量の低減が可能になるという利点がある。
積層チップパッケージを製造するための3次元実装技術の主なものには、基板上に複数のチップを積層し、各チップに形成された複数の電極と、基板に形成された外部接続端子とを、ワイヤボンディングによって接続するワイヤボンディング方式と、積層される各チップにそれぞれ複数の貫通電極を形成し、この貫通電極によってチップ間の配線を行う貫通電極方式とがある。
ワイヤボンディング方式では、ワイヤ同士の接触を避けるために電極の間隔を小さくすることが難しいという問題点や、ワイヤの高い抵抗値が回路の高速動作の妨げになるという問題点がある。
貫通電極方式では、上記のワイヤボンディング方式における問題点は解消される。しかし、貫通電極方式では、チップに貫通電極を形成するために多くの工程が必要であることから、積層チップパッケージのコストが高くなるという問題点がある。すなわち、貫通電極方式では、チップに貫通電極を形成するために、後に切断されることによって複数のチップとなるウェハに、複数の貫通電極用の複数の穴を形成し、次に、この複数の穴内およびウェハの上面上に絶縁層とシード層を形成し、次に、めっき法によって複数の穴内にCu等の金属を充填して複数の貫通電極を形成し、次に、余分なシード層を除去するという一連の工程が必要である。
また、貫通電極方式では、比較的大きなアスペクト比の穴に金属を充填して貫通電極を形成する。そのため、貫通電極方式では、穴への金属の充填の不良によって貫通電極にボイドやキーホールが発生しやすく、そのため、貫通電極による配線の信頼性が低下しやすいという問題点がある。
また、貫通電極方式では、上下のチップの貫通電極同士を例えば半田により接続することによって、上下のチップを物理的に接合する。そのため、貫通電極方式では、上下のチップを正確に位置合わせした上で、高温下で上下のチップを接合する必要がある。しかし、高温下で上下のチップを接合する際には、チップの伸縮によって、上下のチップ間の位置ずれが生じて、上下のチップ間の電気的接続の不良が発生しやすい。
また、貫通電極方式では、積層された複数のチップに1つ以上の不良チップが含まれていた場合に、その不良チップを良品のチップと交換することが難しいという問題点がある。すなわち、貫通電極方式によって製造された積層チップパッケージでは、上下のチップの貫通電極同士が例えば半田によって接続されている。そのため、この積層チップパッケージから不良チップを取り外す際には、不良チップと他のチップとの間の半田を加熱により溶融させる必要がある。しかし、これにより、良品チップ間の半田も溶融するため、良品チップ間の半田が酸化したり、流れ出したりして、良品チップ間の電気的接続の不良が発生するおそれがある。そのため、貫通電極方式では、積層された複数のチップに1つ以上の不良チップが含まれていた場合に、その不良チップを良品のチップと交換することが難しく、その結果、積層チップパッケージの歩留まりが低くなると共に、コストが高くなる。
特許文献1には、以下のような積層チップパッケージの製造方法が記載されている。この製造方法では、処理されたウェハより切り出された複数のチップを埋め込み用樹脂中に埋め込んだ後、各チップに接続される複数のリードを形成して、Neo-Wafer(ネオ・ウェハ)と呼ばれる構造物を作製する。次に、このNeo-Waferを切断して、それぞれ、1つ以上のチップとこのチップの周囲を囲む樹脂と複数のリードとを含むNeo-chip(ネオ・チップ)と呼ばれる複数の構造物を作製する。チップに接続された複数のリードの端面は、Neo-chipの側面において露出する。次に、複数種類のNeo-chipを積層して積層体を作製する。この積層体において、各層毎のチップに接続された複数のリードの端面は、積層体の同じ側面において露出している。
非特許文献1には、特許文献1に記載された製造方法と同様の方法で積層体を製造すると共に、この積層体の2つ側面に配線を形成することが記載されている。
特許文献2には、それぞれフレキシブルなポリマー基板に1以上の電子的要素と複数の導電トレースとを形成してなる複数の能動層を積層して構成された多層モジュールが記載されている。
米国特許第5,953,588号明細書 米国特許第7,127,807 B2号明細書
Keith D. Gann,"Neo-Stacking Technology",HDI Magazine,1999年12月
特許文献1に記載された製造方法では、工程数が多く、積層チップパッケージのコストが高くなるという問題点がある。また、この製造方法では、処理されたウェハより切り出された複数のチップを埋め込み用樹脂中に埋め込んだ後、各チップに接続される複数のリードを形成してNeo-Waferを作製するため、Neo-Waferを作製する際に複数のチップの正確な位置合わせが必要になる。この点からも、積層チップパッケージのコストが高くなる。
特許文献2に記載された多層モジュールでは、1つの能動層において電子的要素が占める領域の割合を大きくすることができず、その結果、集積度を大きくすることが困難である。
本発明はかかる問題点に鑑みてなされたもので、その目的は、積層された複数のチップを含む積層チップパッケージを低コストで短時間に大量生産することを可能にする積層チップパッケージおよびその製造方法、ならびに積層チップパッケージの製造に用いられる積層チップパッケージ用基礎構造物を提供することにある。
本発明の製造方法によって製造される積層チップパッケージは、上面、下面および4つの側面を有する本体と、この本体の少なくとも1つの側面に配置された配線とを備えている。本体は、積層された複数の階層部分を含んでいる。複数の階層部分の各々は、上面、下面および4つの側面を有する半導体チップと、半導体チップの4つの側面のうちの少なくとも1つの側面を覆う絶縁部と、半導体チップに接続された複数の電極とを含んでいる。絶縁部は、配線が配置された本体の少なくとも1つの側面に配置された少なくとも1つの端面を有している。複数の電極の各々は、配線が配置された本体の少なくとも1つの側面に配置され且つ絶縁部によって囲まれた端面を有している。配線は、複数の階層部分における複数の電極の端面に接続されている。
本発明の積層チップパッケージの製造方法は、
積層チップパッケージの複数の階層部分にそれぞれ対応する複数の基礎構造物であって、各々が対応する階層部分を複数含み、後にそれら対応する階層部分のうちの隣接するもの同士の境界位置で切断される複数の基礎構造物を作製する工程と、
複数の基礎構造物を用いて本体を作製すると共に、本体に対して配線を形成して、積層チップパッケージを完成させる工程とを備えている。
複数の基礎構造物を作製する工程は、各基礎構造物を作製するための一連の工程として、
互いに反対側を向いた第1および第2の面を有する1つの半導体ウェハにおける第1の面に処理を施すことによって、それぞれデバイスを含む複数の半導体チップ予定部が配列され、且つ半導体ウェハの第1および第2の面に対応する第1および第2の面を有する基礎構造物前ウェハを作製する工程と、
基礎構造物前ウェハに対して、少なくとも1つの半導体チップ予定部に隣接するように延び、且つ基礎構造物前ウェハの第1の面において開口する1以上の溝を形成する工程と、
1以上の溝を埋めるように、後に絶縁部の一部となる絶縁層を形成する工程と、
一部が絶縁層の上に配置されるように、複数の電極を形成する工程とを含んでいる。
本発明の積層チップパッケージの製造方法では、積層チップパッケージを完成させる工程において、溝が延びる方向に沿って切断面が形成されるように絶縁層を切断し、これにより、絶縁層の切断面によって絶縁部の少なくとも1つの端面の一部が形成され、且つ複数の電極の端面が露出する。
本発明の積層チップパッケージの製造方法において、積層チップパッケージを完成させる工程は、複数の基礎構造物を用いて、複数の階層部分の積層方向と直交する一方向に配列され、それぞれ後に本体となる複数の本体予定部を含む本体集合体を作製する工程と、本体集合体における各本体予定部に対してそれぞれ配線を形成する工程と、配線の形成後、複数の本体予定部が互いに分離されてそれぞれ本体となることによって複数の積層チップパッケージが形成されるように、本体集合体を切断する工程とを含んでいてもよい。
本体集合体を作製する工程は、複数の基礎構造物を、積層チップパッケージの複数の階層部分の積層の順序に対応させて積層して、積層基礎構造物を作製する工程と、本体集合体が形成されるように、積層基礎構造物を切断する工程とを含んでいてもよく、積層基礎構造物を切断する工程において絶縁層が切断されてもよい。この場合、複数の電極を形成する工程では、複数の電極の形成と同時に、絶縁層の上にアライメントマークを形成し、積層基礎構造物を作製する工程では、アライメントマークを利用して、積層する複数の基礎構造物の位置合わせを行ってもよい。また、絶縁層は透明であってもよい。また、基礎構造物前ウェハに対して1以上の溝を形成する工程では、1以上の溝の底部が基礎構造物前ウェハの第2の面に達しないように1以上の溝を形成してもよく、積層基礎構造物を作製する工程は、複数の基礎構造物の各々に対して、1以上の溝が露出するまで、基礎構造物前ウェハの第2の面に対応する面から研磨を行う工程を含んでいてもよい。
また、本体集合体を作製する工程は、複数の基礎構造物をそれぞれ切断して、後に積層されることによって本体集合体を構成することになる複数の要素を作製する工程と、本体集合体が形成されるように、複数の要素を積層する工程とを含んでいてもよく、複数の要素を作製する工程において絶縁層が切断されてもよい。この場合、複数の電極を形成する工程では、複数の電極の形成と同時に、絶縁層の上にアライメントマークを形成し、複数の要素を積層する工程では、アライメントマークを利用して、積層する複数の要素の位置合わせを行ってもよい。また、絶縁層は透明であってもよい。
また、配線を形成する工程では、複数の本体集合体を、複数の階層部分の積層方向に並べた後、この複数の本体集合体における各本体予定部に対してそれぞれ配線を形成してもよい。この場合、複数の電極を形成する工程では、複数の電極の形成と同時に、絶縁層の上にアライメントマークを形成してもよく、配線を形成する工程では、アライメントマークを利用して、複数の階層部分の積層方向に並べる複数の本体集合体の位置合わせを行ってもよい。また、絶縁層は透明であってもよい。
また、本発明の積層チップパッケージの製造方法において、半導体チップの4つの側面のうちの1つの側面のみが絶縁部によって覆われ、他の3つの側面は、それぞれ、本体の3つの側面に配置されてもよい。
また、本発明の積層チップパッケージの製造方法において、半導体チップの4つの側面のうちの、互いに反対側を向いた2つの側面のみが絶縁部によって覆われ、他の2つの側面は、それぞれ、本体の2つの側面に配置されてもよい。
また、本発明の積層チップパッケージの製造方法において、半導体チップの4つの側面が絶縁部によって覆われ、基礎構造物前ウェハに対して1以上の溝を形成する工程では、複数の第1の溝と複数の第2の溝とを形成し、複数の第1の溝と複数の第2の溝は、互いに直交する方向に延びてもよい。
本発明の第1の積層チップパッケージは、上面、下面、互いに反対側を向いた第1および第2の側面、ならびに互いに反対側を向いた第3および第4の側面を有する本体と、この本体の第1の側面に配置された配線とを備えている。本体は、積層された複数の階層部分を含んでいる。複数の階層部分の各々は、上面、下面、互いに反対側を向いた第1および第2の側面、ならびに互いに反対側を向いた第3および第4の側面を有する半導体チップを含んでいる。半導体チップの第2ないし第4の側面は、それぞれ、本体の第2ないし第4の側面に配置されている。半導体チップの第1の側面は、本体の第1の側面に向いている。複数の階層部分の各々は、更に、半導体チップの第1の側面を覆う絶縁部と、半導体チップに接続された複数の電極とを含んでいる。絶縁部は、本体の第1の側面に配置された端面を有している。複数の電極の各々は、本体の第1の側面に配置され且つ絶縁部によって囲まれた端面を有している。配線は、複数の階層部分における複数の電極の端面に接続されている。
本発明の第2の積層チップパッケージは、上面、下面、互いに反対側を向いた第1および第2の側面、ならびに互いに反対側を向いた第3および第4の側面を有する本体と、本体の第1の側面に配置された第1の配線と、本体の第2の側面に配置された第2の配線とを備えている。本体は、積層された複数の階層部分を含んでいる。複数の階層部分の各々は、上面、下面、互いに反対側を向いた第1および第2の側面、ならびに互いに反対側を向いた第3および第4の側面を有する半導体チップを含んでいる。半導体チップの第3および第4の側面は、それぞれ、本体の第3および第4の側面に配置されている。半導体チップの第1および第2の側面は、それぞれ、本体の第1および第2の側面に向いている。複数の階層部分の各々は、更に、半導体チップの第1および第2の側面を覆う絶縁部と、半導体チップに接続された複数の第1の電極および複数の第2の電極とを含んでいる。絶縁部は、本体の第1の側面に配置された第1の端面と本体の第2の側面に配置された第2の端面とを有している。複数の第1の電極の各々は、本体の第1の側面に配置され且つ絶縁部によって囲まれた端面を有している。複数の第2の電極の各々は、本体の第2の側面に配置され且つ絶縁部によって囲まれた端面を有している。第1の配線は、複数の階層部分における複数の第1の電極の端面に接続されている。第2の配線は、複数の階層部分における複数の第2の電極の端面に接続されている。
本発明の積層チップパッケージ用基礎構造物は、上面、下面および4つの側面を有する本体と、この本体の少なくとも1つの側面に配置された配線とを備えた積層チップパッケージを製造するために用いられる。積層チップパッケージにおいて、本体は、積層された複数の階層部分を含んでいる。複数の階層部分の各々は、上面、下面および4つの側面を有する半導体チップと、半導体チップの4つの側面のうちの少なくとも1つの側面を覆う絶縁部と、半導体チップに接続された複数の電極とを含んでいる。絶縁部は、配線が配置された本体の少なくとも1つの側面に配置された少なくとも1つの端面を有している。複数の電極の各々は、配線が配置された本体の少なくとも1つの側面に配置され且つ絶縁部によって囲まれた端面を有している。配線は、複数の階層部分における複数の電極の端面に接続されている。
本発明の積層チップパッケージ用基礎構造物は、積層チップパッケージの複数の階層部分の1つに対応し、対応する階層部分を複数含み、後にそれら対応する階層部分のうちの隣接するもの同士の境界位置で切断されるものである。
本発明の積層チップパッケージ用基礎構造物は、互いに反対側を向いた第1および第2の面を有する1つの半導体ウェハにおける第1の面に処理を施すことによって作製され、それぞれデバイスを含む複数の半導体チップ予定部が配列された基礎構造物本体を備えている。基礎構造物本体は、半導体ウェハの第1および第2の面に対応する第1および第2の面と、少なくとも1つの半導体チップ予定部に隣接するように延び、且つ基礎構造物本体の第1の面において開口する1以上の溝とを有している。1以上の溝は、基礎構造物本体の第2の面に達しない底部を有している。積層チップパッケージ用基礎構造物は、更に、1以上の溝を埋め、後に絶縁部の一部となる絶縁層と、一部が絶縁層の上に配置された複数の電極とを備えている。
本発明の積層チップパッケージの製造方法、積層チップパッケージまたは積層チップパッケージ用基礎構造物によれば、積層チップパッケージを低コストで短時間に大量生産することが可能になるという効果を奏する。
本発明の第1の実施の形態に係る積層チップパッケージの斜視図である。 図1に示した積層チップパッケージに含まれる1つの階層部分を示す斜視図である。 本発明の第1の実施の形態に係る積層チップパッケージの製造方法における一工程で作製される基礎構造物前ウェハの一部を示す断面図である。 図3に示した工程に続く工程で作製される基礎構造物本体の一部を示す断面図である。 図4に示した工程に続く工程で作製される構造物の一部を示す断面図である。 図5に示した工程に続く工程で作製される基礎構造物の一部を示す断面図である。 図6に示した工程に続く工程で作製される積層体の一部を示す断面図である。 図7に示した工程に続く工程で作製される積層体の一部を示す断面図である。 図3に示した工程で作製される基礎構造物前ウェハを示す斜視図である。 図9に示した基礎構造物前ウェハにおける半導体チップ予定部の内部の構造の一例を示す断面図である。 図4に示した工程で作製される基礎構造物本体の一部を示す斜視図である。 図6に示した工程で作製される構造物の一部を示す斜視図である。 図8に示した工程で作製される積層体の一部を示す斜視図である。 図6に示した工程に続く工程の他の例で作製される構造物の一部を示す断面図である。 図14に示した工程に続く工程で作製される積層体の一部を示す断面図である。 図6に示した工程に続く工程の更に他の例で作製される積層体の一部を示す断面図である。 図16に示した工程に続く工程で作製される積層体の一部を示す断面図である。 図8に示した工程に続く工程で作製される積層基礎構造物の一部を示す断面図である。 図8に示した工程に続く工程で作製される積層基礎構造物を示す斜視図である。 図18に示した工程に続く工程で作製される本体集合体の一部を示す断面図である。 図20に示した工程で作製される本体集合体の一例を示す斜視図である。 図20に示した工程で作製される本体集合体の他の例を示す斜視図である。 図20に示した工程で作製される本体集合体の一部を示す斜視図である。 本発明の第1の実施の形態に係る積層チップパッケージの製造方法において、複数の本体集合体を並べる方法の一例を示す説明図である。 それぞれ治具が張り付けられた複数の本体集合体が並べられた状態を示す斜視図である。 それぞれ治具が張り付けられていない複数の本体集合体が並べられた状態を示す斜視図である。 本発明の第1の実施の形態に係る積層チップパッケージの製造方法における本体集合体の他の形成方法を示す説明図である。 配線が形成された後の本体集合体の一部を示す斜視図である。 本体集合体を切断して作製された複数の積層チップパッケージを示す斜視図である。 本発明の第1の実施の形態に係る積層チップパッケージの使用例を示す斜視図である。 本発明の第1の実施の形態に係る積層チップパッケージの他の使用例を示す斜視図である。 本発明の第1の実施の形態に係る積層チップパッケージの更に他の使用例を示す斜視図である。 本発明の第2の実施の形態に係る積層チップパッケージに含まれる1つの階層部分を示す斜視図である。 本発明の第2の実施の形態における基礎構造物本体の一部を示す斜視図である。 本発明の第3の実施の形態に係る積層チップパッケージの斜視図である。 本発明の第3の実施の形態に係る積層チップパッケージに含まれる1つの階層部分を示す斜視図である。 本発明の第3の実施の形態における基礎構造物本体の一部を示す断面図である。
[第1の実施の形態]
以下、本発明の実施の形態について図面を参照して詳細に説明する。始めに、図1を参照して、本発明の第1の実施の形態に係る積層チップパッケージの構成について説明する。図1は、本実施の形態に係る積層チップパッケージの斜視図である。図1に示したように、本実施の形態に係る積層チップパッケージ1は、直方体形状の本体2を備えている。本体2は、上面2a、下面2b、互いに反対側を向いた第1の側面2cおよび第2の側面2d、ならびに互いに反対側を向いた第3の側面2eおよび第4の側面2fを有している。
積層チップパッケージ1は、更に、本体2の少なくとも1つの側面に配置された配線を備えている。図1に示した例では、積層チップパッケージ1は、本体2の第1の側面2cに配置された第1の配線3Aと、本体2の第2の側面2dに配置された第2の配線3Bとを備えている。
本体2は、積層された複数の階層部分を含んでいる。図1には、一例として、本体2が、下から順に配置された8つの階層部分11,12,13,14,15,16,17,18を含んでいる例を示している。しかし、本体2に含まれる階層部分の数は8つに限らず、複数であればよい。以下の説明では、任意の階層部分に関しては、符号10を付して表す。
本体2は、更に、最も上に配置された階層部分18の上に積層された端子層20を含んでいる。上下に隣接する2つの階層部分の間、および階層部分18と端子層20の間は、それぞれ、接着剤によって接合されている。階層部分11〜18と端子層20は、いずれも、上面と、下面と、4つの側面とを有している。端子層20は、上面と下面を有する端子層本体21と、この端子層本体21の上面に配置された複数のパッド状端子22とを含んでいる。複数のパッド状端子22は、積層チップパッケージ1における外部接続端子として機能する。複数のパッド状端子22のうちのいくつかは、本体2の側面2cに配置された端面を有し、この端面に第1の配線3Aが接続されている。複数のパッド状端子22のうちの他のいくつかは、本体2の側面2dに配置された端面を有し、この端面に第2の配線3Bが接続されている。
図2は、1つの階層部分10を示す斜視図である。図2に示したように、階層部分10は、半導体チップ30を含んでいる。半導体チップ30は、上面30a、下面30b、互いに反対側を向いた第1の側面30cおよび第2の側面30d、ならびに互いに反対側を向いた第3の側面30eおよび第4の側面30fを有している。側面30c,30d,30e,30fは、それぞれ、本体2の側面2c,2d,2e,2fに向いている。
階層部分10は、更に、半導体チップ30の4つの側面のうちの少なくとも1つの側面を覆う絶縁部31と、半導体チップ30に接続された複数の電極32とを含んでいる。絶縁部31は、配線が配置された本体2の少なくとも1つの側面に配置された少なくとも1つの端面31aを有している。図2に示した例では、絶縁部31は、半導体チップ30の4つの側面の全てを覆い、絶縁部31は、本体2の4つの側面に配置された4つの端面31aを有している。また、この例では、絶縁部31は、半導体チップ30の上面30aも覆っている。
また、図2に示した例では、複数の電極32は、複数の第1の電極32Aと、複数の第2の電極32Bとを含んでいる。複数の第1の電極32Aの各々は、本体2の第1の側面2cに配置され且つ絶縁部31によって囲まれた端面32Aaを有している。複数の第2の電極32Bの各々は、本体2の第2の側面2dに配置され且つ絶縁部31によって囲まれた端面32Baを有している。本体2の第1の側面2cに配置された第1の配線3Aは、複数の階層部分10における複数の第1の電極32Aの端面32Aaに接続されている。本体2の第2の側面2dに配置された第2の配線3Bは、複数の階層部分10における複数の第2の電極32Bの端面32Baに接続されている。以下、任意の電極に関しては符号32を付して表し、任意の電極32の端面に関しては符号32aを付して表す。
半導体チップ30は、フラッシュメモリ、DRAM、SRAM、MRAM、PROM、FeRAM等のメモリを構成するメモリチップであってもよい。この場合には、複数の半導体チップ30を含む積層チップパッケージ1によって、大容量のメモリを実現することができる。また、本実施の形態に係る積層チップパッケージ1によれば、積層チップパッケージ1に含まれる半導体チップ30の数を変えることにより、64GB(ギガバイト)、128GB、256GB等の種々の容量のメモリを容易に実現することができる。
また、積層チップパッケージ1は、互いに異なる種類のメモリを構成するメモリチップとしての複数の半導体チップ30を含んでいてもよい。また、積層チップパッケージ1は、メモリチップとしての半導体チップ30と、メモリチッブを制御するコントローラとしての半導体チップ30とを含んでいてもよい。
また、半導体チップ30は、メモリチップに限らず、CPU、センサ、センサの駆動回路等の他のデバイスを実現するものであってもよい。本実施の形態に係る積層チップパッケージ1は、特にSiPを実現するのに適している。
後で説明する製造方法による積層チップパッケージ1の製造を容易にするために、本体2に含まれる階層部分の数は、偶数であることが好ましい。また、半導体チップ30の歩留まりが高い場合には、積層チップパッケージ1に不良の半導体チップ30が含まれることによる積層チップパッケージ1のリワーク(作り直し)の可能性が低いため、本体2に含まれる階層部分の数を8や16のように多くしてもよい。一方、半導体チップ30の歩留まりが低い場合には、積層チップパッケージ1のリワークを容易にするために、本体2に含まれる階層部分の数は、2や4のように少ない方が好ましい。
次に、本実施の形態に係る積層チップパッケージ1の製造方法について説明する。本実施の形態に係る積層チップパッケージ1の製造方法は、積層チップパッケージ1の複数の階層部分10にそれぞれ対応する複数の基礎構造物であって、各々が対応する階層部分10を複数含み、後にそれら対応する階層部分10のうちの隣接するもの同士の境界位置で切断される複数の基礎構造物を作製する工程と、この複数の基礎構造物を用いて本体2を作製すると共に、本体2に対して配線3A,3Bを形成して、積層チップパッケージ1を完成させる工程とを備えている。複数の基礎構造物の各々は、同種の階層部分10を複数含んでいてもよい。
以下、図3ないし図6、図11および図12を参照して、本実施の形態に係る積層チップパッケージ1の製造方法における複数の基礎構造物を作製する工程について詳しく説明する。なお、以下、1つの基礎構造物を作製するための一連の工程について説明するが、複数の基礎構造物は、いずれも以下の一連の工程によって作製される。
図3は、基礎構造物を作製するための一連の工程における最初の工程を示している。この工程では、互いに反対側を向いた第1の面100aおよび第2の面100bを有する1つの半導体ウェハ100における第1の面100aに処理、例えばウェハプロセスを施すことによって、それぞれデバイスを含み、後に複数の半導体チップ30となる複数の半導体チップ予定部30Pが配列された基礎構造物前ウェハ101を作製する。基礎構造物前ウェハ101における複数の半導体チップ予定部30Pは、後に同種の複数の半導体チップ30となるものであってもよい。基礎構造物前ウェハ101は、半導体ウェハ100の第1の面100aに対応する第1の面101aと、半導体ウェハ100の第2の面100bに対応する第2の面101bとを有している。基礎構造物前ウェハ101において、複数の半導体チップ予定部30Pは一列に配列されていてもよいし、縦方向と横方向にそれぞれ複数個並ぶように、複数列に配列されていてもよい。以下の説明では、基礎構造物前ウェハ101において、複数の半導体チップ予定部30Pは、縦方向と横方向にそれぞれ複数個並ぶように、複数列に配列されているものとする。
半導体ウェハ100としては、例えばシリコンウェハが用いられる。ウェハプロセスとは、ウェハを加工して、複数のチップに分割される前の複数のデバイスを作製するプロセスである。基礎構造物前ウェハ101において、第1の面101aは、デバイスが形成されているデバイス形成面である。複数の半導体チップ予定部30Pの各々は、基礎構造物前ウェハ101の第1の面101aに配置された複数のパッド状電極34を有している。
図9は、基礎構造物前ウェハ101を示す斜視図である。図9に示したように、基礎構造物前ウェハ101には、縦方向に隣接する2つの半導体チップ予定部30Pの境界を通るように横方向に延びる複数のスクライブライン102Aと、横方向に隣接する2つの半導体チップ予定部30Pの境界を通るように縦方向に延びる複数のスクライブライン102Bとが形成されている。
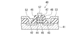
図10は、図9に示した基礎構造物前ウェハ101における半導体チップ予定部30Pの内部の構造の一例を示す断面図である。ここでは、半導体チップ予定部30Pに、デバイスとして、フラッシュメモリにおける複数のメモルセルが形成されている例を示す。図10は、半導体チップ予定部30Pに形成されたデバイスとしての複数のメモルセルのうちの1つを示している。このメモリセル40は、半導体ウェハ100よりなるP型シリコン基板41の表面(半導体ウェハ100の第1の面100a)の近傍に形成されたソース42およびドレイン43を備えている。ソース42およびドレイン43は、共にN型の領域である。ソース42とドレイン43は、これらの間にP型シリコン基板41の一部よりなるチャネルが形成されるように、所定の間隔を開けて配置されている。メモリセル40は、更に、ソース42とドレイン43の間において基板41の表面上に順に積層された絶縁膜44、浮遊ゲート45、絶縁膜46および制御ゲート47を備えている。メモリセル40は、更に、ソース42、ドレイン43、絶縁膜44、浮遊ゲート45、絶縁膜46および制御ゲート47を覆う絶縁層48を備えている。この絶縁層48には、ソース42、ドレイン43、制御ゲート47のそれぞれの上で開口するコンタクトホールが形成されている。メモリセル40は、それぞれ、ソース42、ドレイン43、制御ゲート47の上方の位置で絶縁層48上に形成されたソース電極52、ドレイン電極53、制御ゲート電極57を備えている。ソース電極52、ドレイン電極53、制御ゲート電極57は、それぞれ、対応するコンタクトホールを通して、ソース42、ドレイン43、制御ゲート47に接続されている。
図4は、図3に示した工程に続く工程を示している。この工程では、まず、基礎構造物前ウェハ101の第1の面101aの全体を覆うように、フォトレジスト等よりなる保護膜103を形成する。次に、基礎構造物前ウェハ101に対して、少なくとも1つの半導体チップ予定部30Pに隣接するように延び、且つ基礎構造物前ウェハ101の第1の面101aにおいて開口する1以上の溝104を形成する。ここでは、図4に示したように、複数の溝104を形成するものとする。隣接する2つの半導体チップ予定部30Pの境界の位置では、隣接する2つの半導体チップ予定部30Pの境界を通るように溝104が形成される。このようにして、複数の溝104が形成された後の基礎構造物前ウェハ101よりなる基礎構造物本体105が作製される。基礎構造物本体105は、複数の半導体チップ予定部30Pを含んでいる。また、基礎構造物本体105は、半導体ウェハ100の第1の面100aおよび基礎構造物前ウェハ101の第1の面101aに対応する第1の面105aと、半導体ウェハ100の第2の面100bおよび基礎構造物前ウェハ101の第2の面101bに対応する第2の面105bと、第1の面105aにおいて開口する複数の溝104とを有している。基礎構造物本体105において、第1の面105aは、デバイスが形成されているデバイス形成面である。
複数の溝104は、図9に示したスクライブライン102A,102Bに沿って形成される。また、溝104は、その底部が基礎構造物前ウェハ101の第2の面101bに達しないように形成される。溝104の幅は、例えば50〜150μmの範囲内である。溝104の深さは、例えば30〜150μmの範囲内である。溝104は、例えば、ダイシングソーによって形成してもよいし、反応性イオンエッチング等のエッチングによって形成してもよい。なお、基礎構造物前ウェハ101の第2の面101bに治具を張り付けた状態で溝104を形成する場合には、底部が第2の面101bに達するように溝104を形成してもよい。
図11は、図4に示した工程で作製される基礎構造物本体105の一部を示している。本実施の形態では、複数の溝104は、複数の第1の溝104Aと複数の第2の溝104Bとを含んでいる。複数の第1の溝104Aと複数の第2の溝104Bは、互いに直交する方向に延びている。なお、図11には、1つの第1の溝104Aと1つの第2の溝104Bのみを示している。第1の溝104Aは、図9に示したスクライブライン102Aに沿って形成され、第2の溝104Bは、図9に示したスクライブライン102Bに沿って形成されている。
図5は、図4に示した工程に続く工程を示している。この工程では、まず、基礎構造物本体105の複数の溝104を埋め、且つ複数のパッド状電極34を覆うように、絶縁層106を形成する。この絶縁層106は、後に絶縁部31の一部となるものである。次に、絶縁層106に、複数のパッド状電極34を露出させるための複数の開口部106aを形成する。
絶縁層106は、エポキシ樹脂、ポリイミド樹脂等の樹脂によって形成されてもよい。また、絶縁層106は、感光剤を含んだポリイミド樹脂等の感光性を有する材料によって形成されてもよい。絶縁層106が感光性を有する材料によって形成されている場合には、フォトリソグラフィによって絶縁層106に開口部106aを形成することができる。絶縁層106が感光性を有しない材料によって形成されている場合には、絶縁層106を選択的にエッチングすることによって、絶縁層106に開口部106aを形成することができる。
また、絶縁層106は、複数の溝104を埋める第1層と、この第1層および複数のパッド状電極34を覆う第2層とを含んでいてもよい。この場合には、開口部106aは、第2層に形成される。第1層と第2層は、共に、エポキシ樹脂、ポリイミド樹脂等の樹脂によって形成されてもよい。また、第2層は、感光剤を含んだポリイミド樹脂等の感光性を有する材料によって形成されてもよい。第2層が感光性を有する材料によって形成されている場合には、フォトリソグラフィによって第2層に開口部106aを形成することができる。第2層が感光性を有しない材料によって形成されている場合には、第2層を選択的にエッチングすることによって、第2層に開口部106aを形成することができる。
また、絶縁層106は、熱膨張係数の小さな樹脂によって形成することが好ましい。熱膨張係数の小さな樹脂によって絶縁層106を形成することにより、後にダイシングソーによって絶縁層106を切断する場合に、絶縁層106の切断が容易になる。
また、絶縁層106は、透明であることが好ましい。絶縁層106が透明であることにより、後に絶縁層106の上に形成されるアライメントマークを、絶縁層106を通して容易に認識することが可能になる。
図6は、図5に示した工程に続く工程を示している。この工程では、一部が絶縁層106の上に配置されるように、複数の電極32を形成する。各電極32は、開口部106aを通してパッド状電極34に接続される。図12は、図6に示した工程で作製される構造物の一部を示している。なお、図6および図12には、隣接する2つの半導体チップ予定部30Pの各々から延びる電極32同士が連結されている例を示している。しかし、隣接する2つの半導体チップ予定部30Pの各々から延びる電極32は連結されていなくてもよい。
電極32は、Cu等の導電性材料によって形成される。また、電極32は、例えばフレームめっき法によって形成される。この場合には、まず、絶縁層106の上に、めっき用のシード層を形成する。次に、シード層の上に、溝部を有するフレームを形成する。このフレームは、例えば、フォトリソグラフィによりフォトレジスト層をパターニングすることによって形成される。次に、めっき法によって、フレームの溝部内であってシード層の上に、電極32の一部となるめっき層を形成する。次に、フレームを除去し、更に、シード層のうち、めっき層の下に存在する部分以外の部分をエッチングによって除去する。これにより、めっき層およびその下に残ったシード層によって電極32が形成される。
図12に示したように、複数の電極32を形成する工程では、複数の電極32の形成と同時に、絶縁層106の上に複数のアライメントマーク107を形成する。アライメントマーク107は、溝104の上方の位置に配置される。アライメントマーク107の材料および形成方法は、電極32と同様である。
ここまで説明した一連の工程により、図6および図12に示す基礎構造物110が作製される。基礎構造物110は、基礎構造物本体105と、基礎構造物本体105の複数の溝104を埋め、後に絶縁部31の一部となる絶縁層106と、一部が絶縁層106の上に配置された複数の電極32と、絶縁層106の上に配置された複数のアライメントマーク107とを備えている。基礎構造物110は、本発明の積層チップパッケージ用基礎構造物に対応する。
以下、積層チップパッケージ1の複数の階層部分10にそれぞれ対応する複数の基礎構造物110を用いて本体2を作製すると共に、本体2に対して配線3A,3Bを形成して、積層チップパッケージ1を完成させるための一連の工程について説明する。
積層チップパッケージ1を完成させるための一連の工程では、始めに、複数の基礎構造物110の各々に対して、複数の溝104が露出するまで、基礎構造物前ウェハ101の第2の面101bに対応する面、すなわち基礎構造物本体105の第2の面105bから研磨を行う。これにより、基礎構造物110の厚みを小さくすることができる。
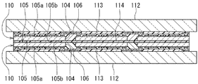
単独の状態の基礎構造物110に対して研磨を行うと、基礎構造物110が薄くなるために、基礎構造物110の取り扱いが難しくなると共に、基礎構造物110が損傷を受け易くなる。そこで、ここでは、図7に示したように、基礎構造物110に対する研磨を行う前に、2つの基礎構造物110を、基礎構造物本体105の第1の面105a同士が向き合うように、絶縁性の接着剤によって張り合わせて、2つの基礎構造物110を含む積層体を作製する。次に、この積層体における両面すなわち2つの第2の面105bを研磨することによって、2つの基礎構造物110に対する研磨を行う。この方法によれば、2つの基礎構造物110を含む積層体の強度が、単独の状態の基礎構造物110の強度に比べて大きくなることから、基礎構造物110の取り扱いが容易になると共に、基礎構造物110が損傷を受け難くなる。なお、張り合わされる2つの基礎構造物110は、積層チップパッケージ1において上下に隣接する2つの階層部分10にそれぞれ対応する2つの基礎構造物110である。張り合わされた2つの基礎構造物110の間には、接着剤よりなる絶縁層111が形成される。この絶縁層111は、電極32を覆い、絶縁部31の一部となる。絶縁層111は、透明であることが好ましい。図7において、破線は、研磨後の基礎構造物本体105の第2の面105bの位置を示している。
図8は、上述のようにして両面が研磨された後の積層体を示している。上述のように2つの基礎構造物110を含む積層体の両面を研磨する工程では、積層体の一方の面を研磨した後、この研磨された面に、図8に示した板状の治具112を張り付けた後、他方の面の研磨を行う。このように積層体の研磨後の面に治具112を張り付けることにより、その後の工程において、積層体の取り扱いが容易になると共に積層体が損傷を受けることを防止することができる。また、絶縁層106,111が透明である場合には、治具112としてアクリル板、ガラス板等の透明なものを用いることにより、いずれも透明な治具112および絶縁層106,111を通して、積層体に含まれる2つの基礎構造物110におけるアライメントマーク107を見ることが可能になる。これにより、後で説明するように、図8に示した積層体を2つ以上積層する際に、アライメントマーク107を利用して、積層体同士の位置合わせを行うことが可能になる。
図13は、図8に示した工程で作製される積層体の一部を示している。複数の溝104が露出するまで、第2の面105b側から基礎構造物110を研磨することにより、複数の半導体チップ予定部30Pは、互いに分離されて、それぞれ半導体チップ30となる。
ここで、図14および図15を参照して、それぞれ第2の面105bが研磨された2つの基礎構造物110を含む積層体を作製する他の方法について説明する。この方法では、まず、第1の面105aが、図14に示した板状の治具112の一方の面に対向するように、絶縁性の接着剤によって、図6に示した基礎構造物110を治具112に張り付ける。接着剤によって形成される絶縁層113は、電極32を覆い、絶縁部31の一部となる。絶縁層113は、透明であることが好ましい。次に、治具112に張り付けられた基礎構造物110に対して、複数の溝104が露出するまで、基礎構造物前ウェハ101の第2の面101bに対応する面、すなわち基礎構造物本体105の第2の面105bから研磨を行う。図14は、研磨後の基礎構造物110と治具112を示している。
次に、図15に示したように、それぞれ上記の方法により、治具112に張り付けられた状態で研磨された2つの基礎構造物110を、第2の面105b同士が向き合うように、絶縁性の接着剤によって張り合わせて、それぞれ第2の面105bが研磨された2つの基礎構造物110を含む積層体を作製する。なお、張り合わされる2つの基礎構造物110は、積層チップパッケージ1において上下に隣接する2つの階層部分10にそれぞれ対応する2つの基礎構造物110である。張り合わされた2つの基礎構造物110の間には、接着剤よりなる接着層114が形成される。接着層114は、透明であることが好ましい。
ここで、絶縁層106,113および接着層114が透明である場合には、治具112としてアクリル板、ガラス板等の透明なものを用いることにより、いずれも透明な治具112、絶縁層106,113および接着層114を通して、張り合わせる2つの基礎構造物110におけるアライメントマーク107を見ることが可能になる。これにより、アライメントマーク107を利用して、張り合わせる2つの基礎構造物110の位置合わせを行うことが可能になる。
次に、図16および図17を参照して、それぞれ第2の面105bが研磨された2つの基礎構造物110を含む積層体を作製する更に他の方法について説明する。この方法では、まず、第1の面105aが、図16に示した板状の治具112の一方の面に対向するように、絶縁性の接着剤によって、図6に示した基礎構造物110を治具112に張り付ける。この基礎構造物110を第1の基礎構造物110と呼ぶ。接着剤によって形成される絶縁層113は、電極32を覆い、絶縁部31の一部となる。絶縁層113は、透明であることが好ましい。次に、治具112に張り付けられた第1の基礎構造物110に対して、複数の溝104が露出するまで、基礎構造物前ウェハ101の第2の面101bに対応する面、すなわち基礎構造物本体105の第2の面105bから研磨を行う。
次に、図16に示したように、第1の基礎構造物110とは別の第2の基礎構造物110を、その第1の面105aが、第1の基礎構造物110における研磨後の第2の面105bに対向するように、絶縁性の接着剤によって、第1の基礎構造物110に対して張り合わせる。接着剤によって2つの基礎構造物110の間に形成される絶縁層113は、第2の基礎構造物110における電極32を覆い、絶縁部31の一部となる。絶縁層113は、透明であることが好ましい。次に、第2の基礎構造物110に対して、複数の溝104が露出するまで、基礎構造物前ウェハ101の第2の面101bに対応する面、すなわち基礎構造物本体105の第2の面105bから研磨を行う。図16において、破線は、研磨後の第2の基礎構造物110における第2の面105bの位置を示している。図17は、第2の基礎構造物110に対する研磨が行われた後の積層体を示している。
ここで、絶縁層106,113が透明である場合には、治具112としてアクリル板、ガラス板等の透明なものを用いることにより、第1の基礎構造物110に対して第2の基礎構造物110を張り合わせる際に、治具112の外側より、張り合わせる2つの基礎構造物110におけるアライメントマーク107を見ることが可能になる。これにより、アライメントマーク107を利用して、張り合わせる2つの基礎構造物110の位置合わせを行うことが可能になる。
なお、図16および図17に示した方法によれば、第2の基礎構造物110の上に更に1つ以上の基礎構造物110を積層して、それぞれ第2の面105bが研磨された後の3つ以上の基礎構造物110を含む積層体を作製することも可能である。
次に、基礎構造物110を研磨した後の工程について説明する。この工程では、まず、研磨後の複数の基礎構造物110を、積層チップパッケージ1の複数の階層部分10の積層の順序に対応させて積層して、積層基礎構造物を作製する。積層チップパッケージ1が2つの階層部分10のみを含む場合には、図8、図15または図17に示した2つの基礎構造物110を含む積層体が積層基礎構造物となる。積層チップパッケージ1が3つ以上の階層部分10を含む場合には、3つ以上の基礎構造物110を積層して積層基礎構造物を作製する。
ここでは、図1に示したように、積層チップパッケージ1が8つの階層部分10と端子層20とを含む場合を例にとって説明する。図18および図19は、積層された8つの基礎構造物110を含む積層基礎構造物115を示している。図18および図19には、図8に示した2つの基礎構造物110を含む積層体を4つ積層し、上下に隣接する積層体同士を接着剤によって接着することによって、8つの基礎構造物110を積層した例を示している。図18において、符号116は、接着剤によって形成された接着層を示している。
図18および図19に示した積層基礎構造物115は、最も上に配置された基礎構造物110の上に配置された端子用ウェハ120を含んでいる。端子用ウェハ120は、樹脂、セラミック等の絶縁材料によって形成された板状のウェハ本体121を有している。ウェハ本体121は、後に互いに分離されてそれぞれ端子層本体21となる複数の端子層本体予定部21Pを含んでいる。端子用ウェハ120は、更に、ウェハ本体121の上面に配置された複数組のパッド状端子22を有している。1組のパッド状端子22は、1つの端子層本体予定部21Pに配置されている。なお、図18および図19には、隣接する2つの端子層本体予定部21Pの境界において、2つの端子層本体予定部21Pの各々に配置された複数のパッド状端子22同士が連結されている例を示している。しかし、隣接する2つの端子層本体予定部21Pの各々に配置された複数のパッド状端子22は連結されていなくてもよい。ウェハ本体121は透明であってもよい。この場合、ウェハ本体121の上面において、隣接する2つの端子層本体予定部21Pの境界の位置にアライメントマークを設けてもよい。
次に、図20に示したように、ダイシングソーによって、図13における第1の溝104Aに沿って、積層基礎構造物115を切断して、複数の本体集合体130を作製する。図21は本体集合体130の一例を示し、図22は本体集合体130の他の例を示している。図21および図22に示したように、本体集合体130は、積層チップパッケージ1の複数の階層部分10の積層方向と直交する一方向に配列され、それぞれ後に本体2となる複数の本体予定部2Pを含んでいる。図21に示した本体集合体130は、端子用ウェハ120のウェハ本体121が透明で、ウェハ本体121の上面において、隣接する2つの端子層本体予定部21Pの境界の位置に、アライメントマーク123が設けられた積層基礎構造物115を切断して得られたものである。図22に示した本体集合体130は、ウェハ本体121の上面にアライメントマーク123が設けられていない積層基礎構造物115を切断して得られたものである。なお、図21および図22には、本体集合体130が5つの本体予定部2Pを含む例を示したが、本体集合体130に含まれる本体予定部2Pの数は複数であればよい。
積層基礎構造物115の切断は、積層基礎構造物115を板状の治具または一般的にウェハのダイシングの際に使用されるウェハシートに張り付けた状態で行ってもよい。図20は、積層基礎構造物115を板状の治具125に張り付けた状態で、積層基礎構造物115の切断を行った例を示している。また、図20では、治具125は切断されていないが、積層基礎構造物115と共に治具125も切断してもよい。
図21および図22に示したように、本体集合体130は、上面と、下面と、4つの側面を有している。本体集合体130の下面には、治具126を張り付けてもよい。この治具126は、積層基礎構造物115を切断する際に積層基礎構造物115に張り付けた治具125が切断されて形成されたものであってもよい。
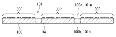
積層基礎構造物115を切断する工程では、図13における第1の溝104Aが延びる方向に沿って切断面が形成されるように絶縁層106が切断される。図23は、積層基礎構造物115を切断することによって作製された本体集合体130の一部を示している。図23に示したように、絶縁層106は、切断されることにより、絶縁部31の一部である絶縁層31Aとなる。また、絶縁層106の切断面、すなわち絶縁層31Aの切断面31Aaによって、絶縁部31の端面31aの一部が形成される。
積層基礎構造物115を切断する工程では、絶縁層106が切断される際に、電極32を覆う絶縁層111も切断される。絶縁層111は、切断されることにより、絶縁部31の他の一部である絶縁層31Bとなる。また、絶縁層111の切断面、すなわち絶縁層31Bの切断面31Baによって、絶縁部31の端面31aの他の一部が形成される。
また、積層基礎構造物115を切断する工程では、絶縁層106が切断されることによって、絶縁部31の端面31aから露出する複数の電極32の端面32aが露出する。端面32aは、絶縁部31によって囲まれている。
積層基礎構造物115を切断することにより、本体集合体130の4つの側面のうち、複数の本体予定部2Pが並ぶ方向に平行な2つの側面に、それぞれ、複数の電極32の端面32aが現れる。より詳しく説明すると、本体集合体130の1つの側面には、本体集合体130に含まれる全ての階層部分10における複数の電極32Aの端面32Aaが現れ、この側面とは反対側の本体集合体130の側面には、本体集合体130に含まれる全ての階層部分10における複数の電極32Bの端面32Baが現れる。
積層チップパッケージ1を完成させる工程では、積層基礎構造物115を切断した後、複数の電極32の端面32aが現れる本体集合体130の2つの側面を研磨する。次に、本体集合体130における各本体予定部2Pに対してそれぞれ配線3A,3Bを形成する。この配線3A,3Bを形成する工程では、複数の本体集合体130を、複数の階層部分10の積層方向に並べた後、この複数の本体集合体130における各本体予定部2Pに対して同時に配線3A,3Bを形成してもよい。これにより、短時間で、多数の本体予定部2Pに対して配線3A,3Bを形成することが可能になる。
図24は、複数の本体集合体130を並べる方法の一例を示している。この例では、チップの位置の認識および制御が可能なチップボンディング装置を利用して、テーブル142上において、それぞれ治具126が張り付けられた複数の本体集合体130を、位置合わせを行いながら複数の階層部分10の積層方向に並べている。図24において、符号141は、チップを保持するためのヘッドを示している。この例では、治具126が張り付けられた状態の本体集合体130をヘッド141によって保持し、本体集合体130の位置の認識および制御を行いながら、本体集合体130をテーブル142上の所望の位置に配置している。図25は、それぞれ治具126が張り付けられた複数の本体集合体130が、複数の階層部分10の積層方向に並べられた状態を表している。なお、並べられた複数の本体集合体130を、容易に分離可能に接着して固定してもよい。
複数の本体集合体130を並べる際には、チップボンディング装置が備えている画像認識装置によって、本体集合体130の外縁の位置や、本体集合体130の側面に現れている電極32の端面32aの位置を認識することにより、本体集合体130の位置の認識および制御を行うことが可能になる。
また、それぞれ治具126が張り付けられていない複数の本体集合体130を、位置合わせを行いながら、複数の階層部分10の積層方向に並べてもよい。図26は、このようにして並べられた複数の本体集合体130を表している。この場合も、並べられた複数の本体集合体130を、容易に分離可能に接着して固定してもよい。
それぞれ治具126が張り付けられていない複数の本体集合体130を並べる場合において、絶縁部31および端子層本体21となる部分が透明で、アライメントマーク107,123の少なくとも一方を観察可能な場合には、チップボンディング装置が備えている画像認識装置によって、アライメントマーク107,123の少なくとも一方を認識することにより、本体集合体130の位置の認識および制御を行ってもよい。この場合には、画像認識装置によって、図24において符号143で示す矢印方向からアライメントマークを観察する。
ここで、図27を参照して、本体集合体130の他の形成方法について説明する。この方法では、図27に示したように、積層チップパッケージ1の複数の階層部分10にそれぞれ対応する複数の基礎構造物110と端子用ウェハ120をそれぞれ切断して、後に積層されることによって本体集合体130を構成することになる複数の要素150を作製する。次に、本体集合体130が形成されるように、複数の要素150を積層し、接着剤によって接合する。この方法では、複数の要素150を作製する工程において絶縁層106が切断され、これにより、絶縁層106の切断面によって絶縁部31の端面の一部が形成され、且つ複数の電極32の端面32aが露出する。次に、複数の電極32の端面32aが現れる本体集合体130の2つの側面を研磨する。この方法において、基礎構造物110における絶縁層106および端子用ウェハ120のウェハ本体121が透明で、アライメントマーク107,123の少なくとも一方を観察可能な場合には、アライメントマーク107,123の少なくとも一方を利用して、積層する複数の要素150の位置合わせを行ってもよい。
次に、図28を参照して、配線3A,3Bを形成する工程について説明する。この工程では、本体集合体130における各本体予定部2Pに対してそれぞれ配線3A,3Bを形成する。配線3A,3Bは、例えばフレームめっき法によって形成される。この場合には、まず、配線3Aを形成すべき本体集合体130の側面上に、めっき用のシード層を形成する。次に、シード層の上に、溝部を有するフレームを形成する。このフレームは、例えば、フォトレジストフィルムをフォトリソグラフィによりパターニングすることによって形成される。次に、めっき法によって、フレームの溝部内であってシード層の上に、配線3Aの一部となるめっき層を形成する。次に、フレームを除去し、更に、シード層のうち、めっき層の下に存在する部分以外の部分をエッチングによって除去する。これにより、めっき層およびその下に残ったシード層によって配線3Aが形成される。次に、配線3Bを形成すべき本体集合体130の側面上に、配線3Aの形成方法と同様の方法によって配線3Bを形成する。図28は、配線3A,3Bが形成された後の本体集合体130の一部を示している。
次に、図29を参照して、本体集合体130を切断する工程について説明する。この工程では、本体集合体130に含まれる複数の本体予定部2Pが互いに分離されてそれぞれ本体2となることによって複数の積層チップパッケージ1が形成されるように、本体集合体130を切断する。このようにして、図29に示したように、積層チップパッケージ1が複数個同時に製造される。
本実施の形態に係る積層チップパッケージ1は、そのままの状態で、1つの電子部品として使用することが可能である。例えば、積層チップパッケージ1は、複数の複数のパッド状端子22が下を向くように配線基板上に配置することにより、フリップチップ法によって配線基板に実装することができる。
また、例えば、積層チップパッケージ1を使用する装置に、積層チップパッケージ1を収容する凹部が設けられている場合には、複数のパッド状端子22が上を向くようにして、凹部内に積層チップパッケージ1を挿入し、複数のパッド状端子22を装置内の回路に接続することができる。
図30は、積層チップパッケージ1の使用例を示している。この例では、積層チップパッケージ1の複数のパッド状端子22にそれぞれボンディングワイヤ160の一端を接続している。ボンディングワイヤ160の他端は、積層チップパッケージ1を使用する装置における端子に接続される。
図31および図32は、積層チップパッケージ1の他の使用例を示している。この例では、複数のピン161を有するリードフレームに積層チップパッケージ1を取り付け、積層チップパッケージ1をモールド樹脂によって封止している。積層チップパッケージ1の複数のパッド状端子22は、複数のピン161に接続されている。モールド樹脂は、積層チップパッケージ1を保護する保護層162となる。図31は、複数のピン161が水平方向に延びている例を示している。図32は、複数のピン161が下方に向けて折り曲げられた例を示している。
以上説明したように、本実施の形態によれば、積層された複数のチップ30を含み、高集積化の可能な積層チップパッケージ1を実現することができる。本実施の形態に係る積層チップパッケージ1は、上面、下面および4つの側面を有する本体2と、この本体2の少なくとも1つの側面に配置された配線3とを備えている。本体2は、積層された複数の階層部分10を含んでいる。複数の階層部分10の各々は、上面、下面および4つの側面を有する半導体チップ30と、半導体チップ30の4つの側面のうちの少なくとも1つの側面を覆う絶縁部31と、半導体チップ30に接続された複数の電極32とを含んでいる。絶縁部31は、配線3が配置された本体2の少なくとも1つの側面に配置された少なくとも1つの端面31aを有している。複数の電極32の各々は、配線3が配置された本体2の少なくとも1つの側面に配置され且つ絶縁部31によって囲まれた端面32aを有している。配線3は、複数の階層部分10における複数の電極32の端面32aに接続されている。
本実施の形態では、積層された複数の半導体チップ30は、本体2の少なくとも1つの側面に配置された配線3によって電気的に接続される。そのため、本実施の形態では、ワイヤボンディング方式における問題点、すなわちワイヤ同士の接触を避けるために電極の間隔を小さくすることが難しいという問題点や、ワイヤの高い抵抗値が回路の高速動作の妨げになるという問題点は生じない。
また、本実施の形態では、貫通電極方式に比べて以下の利点がある。まず、本実施の形態では、チップに貫通電極を形成する必要がないので、チップに貫通電極を形成するための多くの工程は不要である。
また、本実施の形態では、複数の半導体チップ30間の電気的接続を、本体2の少なくとも1つの側面に配置された配線3によって行う。そのため、本実施の形態によれば、複数のチップ間の電気的接続を貫通電極によって行う場合に比べて、チップ間の電気的接続の信頼性を向上させることができる。
また、本実施の形態では、配線3の線幅や厚みを容易に変更することができる。そのため、本実施の形態によれば、将来における配線3の微細化の要望にも容易に対応することができる。
また、貫通電極方式では、上下のチップの貫通電極同士を、例えば、高温下で半田によって接続する必要がある。これに対し、本実施の形態では、配線3は例えばめっき法によって形成することができるため、より低温下で、配線3を形成することが可能である。また、本実施の形態では、複数の階層部分10の接合も低温下で行うことができる。そのため、チップ30が熱によって損傷を受けることを防止することができる。
また、貫通電極方式では、上下のチップの貫通電極同士を接続するため、上下のチップを正確に位置合わせする必要がある。これに対し、本実施の形態では、複数の半導体チップ30間の電気的接続を、上下に隣接する2つの階層部分10の界面では行わず、本体2の少なくとも1つの側面に配置された配線3によって行うため、複数の階層部分10の位置合わせの精度は、貫通電極方式における複数のチッブ間の位置合わせの精度に比べて緩やかでよい。
また、貫通電極方式では、上下のチップの貫通電極同士が例えば半田によって接続されているため、積層された複数のチップに1つ以上の不良チップが含まれていた場合に、その不良チップを良品のチップと交換することが難しい。これに対し、本実施の形態では、積層チップパッケージ1に1つ以上の不良の半導体チップ30が含まれていた場合に、その不良チップを良品のチップと容易に交換することが可能である。すなわち、不良チップを良品のチップと交換する場合には、まず、例えば研磨によって配線3を除去する。次に、少なくとも不良の半導体チップ30を含む階層部分10と他の階層部分10とが分離するように、本体2を分解して、不良の半導体チップ30を取り出す。本実施の形態では、上下に隣接する2つの階層部分10は接着剤によって接合されているので、これらの分離は容易である。次に、不良の半導体チップ30の代りに良品の半導体チップ30を用いて、本体2を再構築する。次に、再構築された本体2において配線3を形成すべき側面を研磨した後、この側面に配線3を形成する。
また、本実施の形態に係る積層チップパッケージの製造方法では、特許文献1に記載された積層チップパッケージの製造方法に比べて、工程数を少なくすることができ、その結果、積層チップパッケージのコストを低減することができる。
以上のことから、本実施の形態によれば、積層チップパッケージ1を低コストで短時間に大量生産することが可能になる。
[第2の実施の形態]
次に、本発明の第2の実施の形態について説明する。本実施の形態に係る積層チップパッケージ1の外観は、第1の実施の形態と同様に、図1に示したようになる。
図33は、本実施の形態における1つの階層部分10を示す斜視図である。本実施の形態では、半導体チップ30の第3の側面30eと第4の側面30fは、それぞれ、本体2の第3の側面2eと第4の側面2fに配置されている。半導体チップ30の第1の側面30cと第2の側面30dは、それぞれ、本体の第1の側面2cと第2の側面2dに向いている。また、本実施の形態では、絶縁部31は、半導体チップ30の4つの側面のうち、第1の側面30cと第2の側面30dを覆っているが、第3の側面30eと第4の側面30fは覆っていない。
次に、図34を参照して、本実施の形態に係る積層チップパッケージ1の製造方法が第1の実施の形態とは異なる点について説明する。図34は、本実施の形態において、図4に示した工程で作製される基礎構造物本体105の一部を示している。本実施の形態では、図4に示した工程において、複数の溝104として、図9に示した複数のスクライブライン102Aに沿った複数の第1の溝104Aのみを形成する。すなわち、本実施の形態では、第1の実施の形態では形成していた、複数のスクライブライン102Bに沿った複数の第2の溝104B(図11参照)を形成しない。本実施の形態では、図29に示した工程において、スクライブライン102Bに沿って本体集合体130が切断され、これにより、複数の半導体チップ予定部30Pは、互いに分離されて、それぞれ半導体チップ30となる。また、スクライブライン102Bに沿って本体集合体130が切断されることにより、半導体チップ30の第3の側面30eと第4の側面30fが形成される。
本実施の形態によれば、第1の実施の形態に比べて、1つの階層部分10において半導体チップ30が占める領域の割合を大きくすることができ、その結果、積層チップパッケージ1における集積度を大きくすることが可能になる。本実施の形態におけるその他の構成、作用および効果は、第1の実施の形態と同様である。
[第3の実施の形態]
次に、本発明の第3の実施の形態について説明する。図35は、本実施の形態に係る積層チップパッケージ1の斜視図である。図35に示したように、本実施の形態に係る積層チップパッケージ1は、本体2の少なくとも1つの側面に配置された配線3として、本体2の第1の側面2cに配置された配線3Aのみを備え、第1および第2の実施の形態では本体2の第2の側面2dに配置されていた配線3B(図1参照)は備えていない。また、本実施の形態では、端子層20に含まれる複数のパッド状端子22は、全て、本体2の側面2cに配置された端面を有するものになっている。複数のパッド状端子22の端面には、配線3Aが接続されている。
図36は、本実施の形態における1つの階層部分10を示す斜視図である。図36に示したように、本実施の形態では、半導体チップ30の第2の側面30d、第3の側面30e、第4の側面30fは、それぞれ、本体2の第2の側面2d、第3の側面2e、第4の側面2fに配置されている。半導体チップ30の第1の側面30cは、本体の第1の側面2cに向いている。また、本実施の形態では、絶縁部31は、半導体チップ30の4つの側面のうち、第1の側面30cを覆っているが、第2の側面30d、第3の側面30eおよび4の側面30fは覆っていない。
また、本実施の形態では、階層部分10は、半導体チップ30に接続された複数の電極32として、複数の第1の電極32Aのみを含んでいる。複数の電極32Aの各々は、本体2の第1の側面2cに配置され且つ絶縁部31によって囲まれた端面32Aaを有している。本体2の第1の側面2cに配置された配線3Aは、複数の階層部分10における複数の電極32Aの端面32Aaに接続されている。
次に、図37を参照して、本実施の形態に係る積層チップパッケージ1の製造方法が第1の実施の形態とは異なる点について説明する。図37は、本実施の形態における基礎構造物本体105の一部を示している。本実施の形態では、図3に示した工程で基礎構造物前ウェハ101を作製した後、基礎構造物前ウェハ101の第1の面101aの全体を覆うように、フォトレジスト等よりなる保護膜103を形成する。次に、基礎構造物前ウェハ101に対して、少なくとも1つの半導体チップ予定部30Pに隣接するように延び、且つ基礎構造物前ウェハ101の第1の面101aにおいて開口する複数の溝104を形成する。これにより、複数の溝104が形成された後の基礎構造物前ウェハ101よりなる基礎構造物本体105が作製される。
本実施の形態では、複数の溝104として、図9に示した複数のスクライブライン102Aのうち、1つ置きのスクライブライン102Aに沿った複数の第1の溝104Aのみを形成する。すなわち、本実施の形態では、隣り合う2つの溝104Aの間に存在する2つの半導体チップ予定部30Pの間には溝は形成されない。図37において、符号202を付した一点鎖線は、隣り合う2つの溝104Aの間に存在する2つの半導体チップ予定部30Pの境界を示している。
本実施の形態では、積層基礎構造物115を切断して、複数の本体集合体130を作製する工程(図20参照)において、複数のスクライブライン102Aの各々に沿って積層基礎構造物115が切断される。溝104Aが形成されたスクライブライン102Aの位置では、図23に示したように、溝104A内に形成された絶縁層106が切断されて絶縁層31Aが形成され、電極32を覆う絶縁層111が切断されて絶縁層31Bが形成される。また、絶縁層31Aの切断面31Aaと絶縁層31Bの切断面31Baとによって、絶縁部31の端面31aが形成される。
一方、溝104Aが形成されていないスクライブライン102Aの位置、すなわち図37において符号202を付した一点鎖線で示す位置では、複数の本体集合体130を作製する工程(図20参照)において、スクライブライン102Aに沿って積層基礎構造物115が切断されることにより、半導体チップ30の第2の側面30dが形成される。
また、第2の実施の形態と同様に、本実施の形態においても、複数のスクライブライン102Bに沿った複数の第2の溝104B(図11参照)は形成されない。本実施の形態では、図29に示した工程において、スクライブライン102Bに沿って本体集合体130が切断され、これにより、複数の半導体チップ予定部30Pは、互いに分離されて、それぞれ半導体チップ30となる。また、スクライブライン102Bに沿って本体集合体130が切断されることにより、半導体チップ30の第3の側面30eと第4の側面30fが形成される。
本実施の形態によれば、第1および第2の実施の形態に比べて、1つの階層部分10において半導体チップ30が占める領域の割合を大きくすることができ、その結果、積層チップパッケージ1における集積度を大きくすることが可能になる。本実施の形態におけるその他の構成、作用および効果は、第1の実施の形態と同様である。
なお、本発明は、上記各実施の形態に限定されず、種々の変更が可能である。例えば、実施の形態では、複数の本体集合体130を並べて、この複数の本体集合体130における各本体予定部2Pに対して同時に配線3を形成したが、複数の本体集合体130を並べずに、1つの本体集合体130における各本体予定部2Pに対して配線3を形成してもよい。
また、配線3が形成された後の本体集合体130を切断して本体2を形成した後、本体集合体130を切断することによって本体2に形成された面に、更に他の配線を形成してもよい。
また、積層チップパッケージ1の本体2は、端子層20を含まずに、配線3の一部が外部接続端子を兼ねていてもよい。
1…積層チップパッケージ、2…本体、3A,3B…配線、11〜18…階層部分、30…半導体チップ、31…絶縁部、32…電極、101…基礎構造物前ウェハ、104…溝、110…基礎構造物。

Claims (18)

  1. 上面、下面および4つの側面を有する本体と、
    前記本体の少なくとも1つの側面に配置された配線とを備え、
    前記本体は、積層された複数の階層部分を含み、
    前記複数の階層部分の各々は、上面、下面および4つの側面を有する半導体チップと、前記半導体チップの4つの側面のうちの少なくとも1つの側面を覆う絶縁部と、前記半導体チップに接続された複数の電極とを含み、
    前記絶縁部は、前記配線が配置された前記本体の前記少なくとも1つの側面に配置された少なくとも1つの端面を有し、
    前記複数の電極の各々は、前記配線が配置された前記本体の前記少なくとも1つの側面に配置され且つ前記絶縁部によって囲まれた端面を有し、
    前記配線は、前記複数の階層部分における複数の電極の端面に接続されている積層チップパッケージを製造する方法であって、
    前記積層チップパッケージの複数の階層部分にそれぞれ対応する複数の基礎構造物であって、各々が対応する階層部分を複数含み、後にそれら対応する階層部分のうちの隣接するもの同士の境界位置で切断される複数の基礎構造物を作製する工程と、
    前記複数の基礎構造物を用いて前記本体を作製すると共に、前記本体に対して前記配線を形成して、積層チップパッケージを完成させる工程とを備え、
    前記複数の基礎構造物を作製する工程は、各基礎構造物を作製するための一連の工程として、
    互いに反対側を向いた第1および第2の面を有する1つの半導体ウェハにおける前記第1の面に処理を施すことによって、それぞれデバイスを含む複数の半導体チップ予定部が配列され、且つ前記半導体ウェハの第1および第2の面に対応する第1および第2の面を有する基礎構造物前ウェハを作製する工程と、
    前記基礎構造物前ウェハに対して、少なくとも1つの半導体チップ予定部に隣接するように延び、且つ前記基礎構造物前ウェハの第1の面において開口する1以上の溝を形成する工程と、
    前記1以上の溝を埋めるように、後に前記絶縁部の一部となる絶縁層を形成する工程と、
    一部が前記絶縁層の上に配置されるように、前記複数の電極を形成する工程とを含み、
    前記積層チップパッケージを完成させる工程において、前記溝が延びる方向に沿って切断面が形成されるように前記絶縁層を切断し、これにより、前記絶縁層の前記切断面によって前記絶縁部の前記少なくとも1つの端面の一部が形成され、且つ前記複数の電極の端面が露出することを特徴とする積層チップパッケージの製造方法。
  2. 前記積層チップパッケージを完成させる工程は、
    前記複数の基礎構造物を用いて、前記複数の階層部分の積層方向と直交する一方向に配列され、それぞれ後に前記本体となる複数の本体予定部を含む本体集合体を作製する工程と、
    前記本体集合体における各本体予定部に対してそれぞれ前記配線を形成する工程と、
    前記配線の形成後、複数の本体予定部が互いに分離されてそれぞれ前記本体となることによって複数の前記積層チップパッケージが形成されるように、前記本体集合体を切断する工程とを含むことを特徴とする請求項1記載の積層チップパッケージの製造方法。
  3. 前記本体集合体を作製する工程は、
    前記複数の基礎構造物を、前記積層チップパッケージの複数の階層部分の積層の順序に対応させて積層して、積層基礎構造物を作製する工程と、
    前記本体集合体が形成されるように、前記積層基礎構造物を切断する工程とを含み、
    前記積層基礎構造物を切断する工程において前記絶縁層が切断されることを特徴とする請求項2記載の積層チップパッケージの製造方法。
  4. 前記複数の電極を形成する工程では、前記複数の電極の形成と同時に、前記絶縁層の上にアライメントマークを形成し、
    前記積層基礎構造物を作製する工程では、前記アライメントマークを利用して、積層する前記複数の基礎構造物の位置合わせを行うことを特徴とする請求項3記載の積層チップパッケージの製造方法。
  5. 前記絶縁層は透明であることを特徴とする請求項4記載の積層チップパッケージの製造方法。
  6. 前記基礎構造物前ウェハに対して1以上の溝を形成する工程では、前記1以上の溝の底部が前記基礎構造物前ウェハの第2の面に達しないように前記1以上の溝を形成し、
    前記積層基礎構造物を作製する工程は、前記複数の基礎構造物の各々に対して、前記1以上の溝が露出するまで、前記基礎構造物前ウェハの第2の面に対応する面から研磨を行う工程を含むことを特徴とする請求項3記載の積層チップパッケージの製造方法。
  7. 前記本体集合体を作製する工程は、
    前記複数の基礎構造物をそれぞれ切断して、後に積層されることによって前記本体集合体を構成することになる複数の要素を作製する工程と、
    前記本体集合体が形成されるように、前記複数の要素を積層する工程とを含み、
    前記複数の要素を作製する工程において前記絶縁層が切断されることを特徴とする請求項2記載の積層チップパッケージの製造方法。
  8. 前記複数の電極を形成する工程では、前記複数の電極の形成と同時に、前記絶縁層の上にアライメントマークを形成し、
    前記複数の要素を積層する工程では、前記アライメントマークを利用して、積層する前記複数の要素の位置合わせを行うことを特徴とする請求項7記載の積層チップパッケージの製造方法。
  9. 前記絶縁層は透明であることを特徴とする請求項8記載の積層チップパッケージの製造方法。
  10. 前記配線を形成する工程では、前記複数の本体集合体を、前記複数の階層部分の積層方向に並べた後、この複数の本体集合体における各本体予定部に対してそれぞれ前記配線を形成することを特徴とする請求項2記載の積層チップパッケージの製造方法。
  11. 前記複数の電極を形成する工程では、前記複数の電極の形成と同時に、前記絶縁層の上にアライメントマークを形成し、
    前記配線を形成する工程では、前記アライメントマークを利用して、前記複数の階層部分の積層方向に並べる前記複数の本体集合体の位置合わせを行うことを特徴とする請求項10記載の積層チップパッケージの製造方法。
  12. 前記絶縁層は透明であることを特徴とする請求項11記載の積層チップパッケージの製造方法。
  13. 前記半導体チップの4つの側面のうちの1つの側面のみが前記絶縁部によって覆われ、他の3つの側面は、それぞれ、前記本体の3つの側面に配置されることを特徴とする請求項1記載の積層チップパッケージの製造方法。
  14. 前記半導体チップの4つの側面のうちの、互いに反対側を向いた2つの側面のみが前記絶縁部によって覆われ、他の2つの側面は、それぞれ、前記本体の2つの側面に配置されることを特徴とする請求項1記載の積層チップパッケージの製造方法。
  15. 前記半導体チップの4つの側面が前記絶縁部によって覆われ、
    前記基礎構造物前ウェハに対して1以上の溝を形成する工程では、複数の第1の溝と複数の第2の溝とを形成し、前記複数の第1の溝と複数の第2の溝は、互いに直交する方向に延びることを特徴とする請求項1記載の積層チップパッケージの製造方法。
  16. 上面、下面、互いに反対側を向いた第1および第2の側面、ならびに互いに反対側を向いた第3および第4の側面を有する本体と、
    前記本体の前記第1の側面に配置された配線とを備え、
    前記本体は、積層された複数の階層部分を含み、
    前記複数の階層部分の各々は、上面、下面、互いに反対側を向いた第1および第2の側面、ならびに互いに反対側を向いた第3および第4の側面を有する半導体チップを含み、
    前記半導体チップの第2ないし第4の側面は、それぞれ、前記本体の第2ないし第4の側面に配置され、
    前記半導体チップの第1の側面は、前記本体の第1の側面に向き、
    前記複数の階層部分の各々は、更に、前記半導体チップの第1の側面を覆う絶縁部と、前記半導体チップに接続された複数の電極とを含み、
    前記絶縁部は、前記本体の第1の側面に配置された端面を有し、
    前記複数の電極の各々は、前記本体の第1の側面に配置され且つ前記絶縁部によって囲まれた端面を有し、
    前記配線は、前記複数の階層部分における複数の電極の端面に接続されていることを特徴とする積層チップパッケージ。
  17. 上面、下面、互いに反対側を向いた第1および第2の側面、ならびに互いに反対側を向いた第3および第4の側面を有する本体と、
    前記本体の前記第1の側面に配置された第1の配線と、
    前記本体の前記第2の側面に配置された第2の配線とを備え、
    前記本体は、積層された複数の階層部分を含み、
    前記複数の階層部分の各々は、上面、下面、互いに反対側を向いた第1および第2の側面、ならびに互いに反対側を向いた第3および第4の側面を有する半導体チップを含み、
    前記半導体チップの第3および第4の側面は、それぞれ、前記本体の第3および第4の側面に配置され、
    前記半導体チップの第1および第2の側面は、それぞれ、前記本体の第1および第2の側面に向き、
    前記複数の階層部分の各々は、更に、前記半導体チップの第1および第2の側面を覆う絶縁部と、前記半導体チップに接続された複数の第1の電極および複数の第2の電極とを含み、
    前記絶縁部は、前記本体の第1の側面に配置された第1の端面と前記本体の第2の側面に配置された第2の端面とを有し、
    前記複数の第1の電極の各々は、前記本体の第1の側面に配置され且つ前記絶縁部によって囲まれた端面を有し、
    前記複数の第2の電極の各々は、前記本体の第2の側面に配置され且つ前記絶縁部によって囲まれた端面を有し、
    前記第1の配線は、前記複数の階層部分における複数の第1の電極の端面に接続され、
    前記第2の配線は、前記複数の階層部分における複数の第2の電極の端面に接続されていることを特徴とする積層チップパッケージ。
  18. 上面、下面および4つの側面を有する本体と、
    前記本体の少なくとも1つの側面に配置された配線とを備え、
    前記本体は、積層された複数の階層部分を含み、
    前記複数の階層部分の各々は、上面、下面および4つの側面を有する半導体チップと、前記半導体チップの4つの側面のうちの少なくとも1つの側面を覆う絶縁部と、前記半導体チップに接続された複数の電極とを含み、
    前記絶縁部は、前記配線が配置された前記本体の前記少なくとも1つの側面に配置された少なくとも1つの端面を有し、
    前記複数の電極の各々は、前記配線が配置された前記本体の前記少なくとも1つの側面に配置され且つ前記絶縁部によって囲まれた端面を有し、
    前記配線は、前記複数の階層部分における複数の電極の端面に接続されている積層チップパッケージを製造するために用いられ、
    前記積層チップパッケージの複数の階層部分の1つに対応し、対応する階層部分を複数含み、後にそれら対応する階層部分のうちの隣接するもの同士の境界位置で切断される積層チップパッケージ用基礎構造物であって、
    互いに反対側を向いた第1および第2の面を有する1つの半導体ウェハにおける前記第1の面に処理を施すことによって作製され、それぞれデバイスを含む複数の半導体チップ予定部が配列された基礎構造物本体を備え、
    前記基礎構造物本体は、前記半導体ウェハの第1および第2の面に対応する第1および第2の面と、少なくとも1つの半導体チップ予定部に隣接するように延び、且つ前記基礎構造物本体の第1の面において開口する1以上の溝とを有し、
    前記1以上の溝は、前記基礎構造物本体の第2の面に達しない底部を有し、
    積層チップパッケージ用基礎構造物は、更に、
    前記1以上の溝を埋め、後に前記絶縁部の一部となる絶縁層と、
    一部が前記絶縁層の上に配置された前記複数の電極とを備えたことを特徴とする積層チップパッケージ用基礎構造物。
JP2009148252A 2008-06-23 2009-06-23 積層チップパッケージの製造方法 Expired - Fee Related JP5432604B2 (ja)

Applications Claiming Priority (2)

Application Number Priority Date Filing Date Title
US12/213,645 2008-06-23
US12/213,645 US7846772B2 (en) 2008-06-23 2008-06-23 Layered chip package and method of manufacturing same

Publications (2)

Publication Number Publication Date
JP2010004048A true JP2010004048A (ja) 2010-01-07
JP5432604B2 JP5432604B2 (ja) 2014-03-05

Family

ID=41430372

Family Applications (1)

Application Number Title Priority Date Filing Date
JP2009148252A Expired - Fee Related JP5432604B2 (ja) 2008-06-23 2009-06-23 積層チップパッケージの製造方法

Country Status (2)

Country Link
US (2) US7846772B2 (ja)
JP (1) JP5432604B2 (ja)

Cited By (6)

* Cited by examiner, † Cited by third party
Publication number Priority date Publication date Assignee Title
JP2011159949A (ja) * 2010-01-29 2011-08-18 Headway Technologies Inc 半導体基板、積層チップパッケージおよび半導体プレート並びにこれらの製造方法
JP2011166111A (ja) * 2010-02-04 2011-08-25 Headway Technologies Inc 積層チップパッケージの製造方法
JP2011166109A (ja) * 2010-02-04 2011-08-25 Headway Technologies Inc 積層チップパッケージの製造方法
JP2012060102A (ja) * 2010-09-03 2012-03-22 Headway Technologies Inc 積層チップパッケージおよびその製造方法
JP2013070021A (ja) * 2011-09-22 2013-04-18 Headway Technologies Inc 複合型積層チップパッケージ
US11705445B2 (en) 2021-03-15 2023-07-18 Kioxia Corporation Semiconductor device manufacturing method and semiconductor device

Families Citing this family (13)

* Cited by examiner, † Cited by third party
Publication number Priority date Publication date Assignee Title
JPH0615967Y2 (ja) 1989-10-25 1994-04-27 鹿島建設株式会社 揚重装置
JP2010135545A (ja) * 2008-12-04 2010-06-17 Elpida Memory Inc 半導体装置
US7968374B2 (en) * 2009-02-06 2011-06-28 Headway Technologies, Inc. Layered chip package with wiring on the side surfaces
US8274165B2 (en) * 2009-02-10 2012-09-25 Headway Technologies, Inc. Semiconductor substrate, laminated chip package, semiconductor plate and method of manufacturing the same
US8525167B2 (en) * 2009-10-26 2013-09-03 Headway Technologies, Inc. Laminated chips package, semiconductor substrate and method of manufacturing the laminated chips package
CN102237324A (zh) * 2010-04-29 2011-11-09 国碁电子(中山)有限公司 集成电路封装结构及方法
US8492175B1 (en) * 2011-11-28 2013-07-23 Applied Micro Circuits Corporation System and method for aligning surface mount devices on a substrate
US9299670B2 (en) 2013-03-14 2016-03-29 Freescale Semiconductor, Inc. Stacked microelectronic packages having sidewall conductors and methods for the fabrication thereof
US9524950B2 (en) 2013-05-31 2016-12-20 Freescale Semiconductor, Inc. Stacked microelectronic packages having sidewall conductors and methods for the fabrication thereof
JP6257291B2 (ja) * 2013-12-04 2018-01-10 株式会社ディスコ パッケージ基板の加工方法
US9305911B2 (en) * 2013-12-05 2016-04-05 Freescale Semiconductor, Inc. Devices and stacked microelectronic packages with package surface conductors and adjacent trenches and methods of their fabrication
US10388607B2 (en) 2014-12-17 2019-08-20 Nxp Usa, Inc. Microelectronic devices with multi-layer package surface conductors and methods of their fabrication
US10923456B2 (en) * 2018-12-20 2021-02-16 Cerebras Systems Inc. Systems and methods for hierarchical exposure of an integrated circuit having multiple interconnected die

Citations (3)

* Cited by examiner, † Cited by third party
Publication number Priority date Publication date Assignee Title
JP2002050737A (ja) * 2000-08-02 2002-02-15 Fujitsu Ltd 半導体素子積層体、半導体素子積層体の製造方法、及び半導体装置
WO2007066409A1 (ja) * 2005-12-09 2007-06-14 Spansion Llc 半導体装置およびその製造方法
WO2007071696A1 (fr) * 2005-12-23 2007-06-28 3D Plus Procede de fabrication collective de modules electroniques 3d

Family Cites Families (42)

* Cited by examiner, † Cited by third party
Publication number Priority date Publication date Assignee Title
US6355976B1 (en) 1992-05-14 2002-03-12 Reveo, Inc Three-dimensional packaging technology for multi-layered integrated circuits
WO1995025341A1 (en) 1994-03-15 1995-09-21 Irvine Sensors Corporation 3d stack of ic chips having leads reached by vias through passivation covering access plane
MY114888A (en) 1994-08-22 2003-02-28 Ibm Method for forming a monolithic electronic module by stacking planar arrays of integrated circuit chips
US5648684A (en) 1995-07-26 1997-07-15 International Business Machines Corporation Endcap chip with conductive, monolithic L-connect for multichip stack
US5691248A (en) 1995-07-26 1997-11-25 International Business Machines Corporation Methods for precise definition of integrated circuit chip edges
US5952725A (en) 1996-02-20 1999-09-14 Micron Technology, Inc. Stacked semiconductor devices
US5953588A (en) * 1996-12-21 1999-09-14 Irvine Sensors Corporation Stackable layers containing encapsulated IC chips
US7127802B1 (en) * 1997-11-21 2006-10-31 Fonar Corporation Method of fabricating a composite plate
US6706546B2 (en) 1998-10-09 2004-03-16 Fujitsu Limited Optical reflective structures and method for making
US20020096760A1 (en) 2001-01-24 2002-07-25 Gregory Simelgor Side access layer for semiconductor chip or stack thereof
US6734370B2 (en) * 2001-09-07 2004-05-11 Irvine Sensors Corporation Multilayer modules with flexible substrates
US6611052B2 (en) * 2001-11-16 2003-08-26 Micron Technology, Inc. Wafer level stackable semiconductor package
KR100486832B1 (ko) * 2002-02-06 2005-05-03 삼성전자주식회사 반도체 칩과 적층 칩 패키지 및 그 제조 방법
AU2003255254A1 (en) 2002-08-08 2004-02-25 Glenn J. Leedy Vertical system integration
KR100774775B1 (ko) 2002-09-17 2007-11-07 앤터온 비.브이. 카메라 디바이스, 카메라 디바이스 제조 방법, 웨이퍼스케일 패키지 및 광학 어셈블리
US6936913B2 (en) 2002-12-11 2005-08-30 Northrop Grumman Corporation High performance vias for vertical IC packaging
KR100541393B1 (ko) 2003-04-26 2006-01-10 삼성전자주식회사 멀티칩 bga 패키지
US7572373B2 (en) * 2004-02-11 2009-08-11 Filtertech Inc. Oil filtration vessel
JP4205613B2 (ja) 2004-03-01 2009-01-07 エルピーダメモリ株式会社 半導体装置
US20090115042A1 (en) 2004-06-04 2009-05-07 Zycube Co., Ltd. Semiconductor device having three-dimensional stacked structure and method of fabricating the same
US7491288B2 (en) 2004-06-07 2009-02-17 Fujitsu Limited Method of cutting laminate with laser and laminate
KR100575591B1 (ko) * 2004-07-27 2006-05-03 삼성전자주식회사 웨이퍼 레벨 적층 패키지용 칩 스케일 패키지 및 그 제조 방법
KR100753528B1 (ko) 2006-01-04 2007-08-30 삼성전자주식회사 웨이퍼 레벨 패키지 및 이의 제조 방법
JP4726640B2 (ja) 2006-01-20 2011-07-20 ルネサスエレクトロニクス株式会社 半導体装置
US8581380B2 (en) 2006-07-10 2013-11-12 Stats Chippac Ltd. Integrated circuit packaging system with ultra-thin die
US8432026B2 (en) 2006-08-04 2013-04-30 Stats Chippac Ltd. Stackable multi-chip package system
US7829438B2 (en) * 2006-10-10 2010-11-09 Tessera, Inc. Edge connect wafer level stacking
US8513789B2 (en) 2006-10-10 2013-08-20 Tessera, Inc. Edge connect wafer level stacking with leads extending along edges
KR100840788B1 (ko) 2006-12-05 2008-06-23 삼성전자주식회사 칩 적층 패키지 및 그 제조 방법
JP5014853B2 (ja) 2007-03-23 2012-08-29 株式会社日立製作所 半導体装置の製造方法
US7883938B2 (en) 2007-05-22 2011-02-08 United Test And Assembly Center Ltd. Stacked die semiconductor package and method of assembly
US8367471B2 (en) 2007-06-15 2013-02-05 Micron Technology, Inc. Semiconductor assemblies, stacked semiconductor devices, and methods of manufacturing semiconductor assemblies and stacked semiconductor devices
US8093102B2 (en) 2007-06-28 2012-01-10 Freescale Semiconductor, Inc. Process of forming an electronic device including a plurality of singulated die
US20090051046A1 (en) 2007-08-24 2009-02-26 Semiconductor Energy Laboratory Co., Ltd. Semiconductor device and manufacturing method for the same
US7676912B2 (en) * 2007-09-05 2010-03-16 Headway Technologies, Inc. Method of manufacturing electronic component package
KR100975652B1 (ko) 2007-10-05 2010-08-17 한국과학기술원 아연 및 아연합금을 이용한 비아 및 그의 형성 방법, 그를3차원 다중 칩 스택 패키지 제조 방법
JP4828559B2 (ja) 2008-03-24 2011-11-30 新光電気工業株式会社 配線基板の製造方法及び電子装置の製造方法
KR101458958B1 (ko) 2008-06-10 2014-11-13 삼성전자주식회사 반도체 칩, 반도체 패키지 및 반도체 칩의 제조 방법
US7745259B2 (en) * 2008-06-30 2010-06-29 Headway Technologies, Inc. Layered chip package and method of manufacturing same
US7767494B2 (en) * 2008-06-30 2010-08-03 Headway Technologies, Inc. Method of manufacturing layered chip package
US7993941B2 (en) 2008-12-05 2011-08-09 Stats Chippac, Ltd. Semiconductor package and method of forming Z-direction conductive posts embedded in structurally protective encapsulant
EP2406821A2 (en) 2009-03-13 2012-01-18 Tessera, Inc. Stacked microelectronic assemblies having vias extending through bond pads

Patent Citations (4)

* Cited by examiner, † Cited by third party
Publication number Priority date Publication date Assignee Title
JP2002050737A (ja) * 2000-08-02 2002-02-15 Fujitsu Ltd 半導体素子積層体、半導体素子積層体の製造方法、及び半導体装置
WO2007066409A1 (ja) * 2005-12-09 2007-06-14 Spansion Llc 半導体装置およびその製造方法
WO2007071696A1 (fr) * 2005-12-23 2007-06-28 3D Plus Procede de fabrication collective de modules electroniques 3d
JP2009521116A (ja) * 2005-12-23 2009-05-28 トロワデー、プリュ 3d電子モジュールを集積的に製造する方法

Cited By (7)

* Cited by examiner, † Cited by third party
Publication number Priority date Publication date Assignee Title
JP2011159949A (ja) * 2010-01-29 2011-08-18 Headway Technologies Inc 半導体基板、積層チップパッケージおよび半導体プレート並びにこれらの製造方法
JP2011166111A (ja) * 2010-02-04 2011-08-25 Headway Technologies Inc 積層チップパッケージの製造方法
JP2011166109A (ja) * 2010-02-04 2011-08-25 Headway Technologies Inc 積層チップパッケージの製造方法
US8298862B2 (en) 2010-02-04 2012-10-30 Headway Technologies, Inc. Method of manufacturing layered chip package
JP2012060102A (ja) * 2010-09-03 2012-03-22 Headway Technologies Inc 積層チップパッケージおよびその製造方法
JP2013070021A (ja) * 2011-09-22 2013-04-18 Headway Technologies Inc 複合型積層チップパッケージ
US11705445B2 (en) 2021-03-15 2023-07-18 Kioxia Corporation Semiconductor device manufacturing method and semiconductor device

Also Published As

Publication number Publication date
US20100327464A1 (en) 2010-12-30
JP5432604B2 (ja) 2014-03-05
US7846772B2 (en) 2010-12-07
US8134229B2 (en) 2012-03-13
US20090315189A1 (en) 2009-12-24

Similar Documents

Publication Publication Date Title
JP5432604B2 (ja) 積層チップパッケージの製造方法
JP5275915B2 (ja) 積層チップパッケージ
JP5461077B2 (ja) 積層チップパッケージ
JP5451204B2 (ja) 積層チップパッケージの製造方法
JP5535560B2 (ja) メモリデバイスを実現する積層チップパッケージ
JP5102339B2 (ja) 積層チップパッケージの製造方法
JP5491802B2 (ja) ヒートシンクを備えた積層チップパッケージ
JP5275941B2 (ja) 積層チップパッケージおよびその製造方法
JP5550872B2 (ja) 積層チップパッケージおよびその製造方法
JP5154667B2 (ja) 積層チップパッケージおよびその製造方法
JP5004311B2 (ja) 積層チップパッケージおよびその製造方法
JP5769293B2 (ja) 積層チップパッケージの製造方法
JP4927194B2 (ja) 積層チップパッケージの製造方法
JP4948635B2 (ja) 積層チップパッケージの製造方法
JP2011097009A (ja) 複合型積層チップパッケージおよびその製造方法
JP5228068B2 (ja) 積層チップパッケージおよびその製造方法

Legal Events

Date Code Title Description
A621 Written request for application examination

Free format text: JAPANESE INTERMEDIATE CODE: A621

Effective date: 20120217

A977 Report on retrieval

Free format text: JAPANESE INTERMEDIATE CODE: A971007

Effective date: 20130117

A131 Notification of reasons for refusal

Free format text: JAPANESE INTERMEDIATE CODE: A131

Effective date: 20130122

A521 Request for written amendment filed

Free format text: JAPANESE INTERMEDIATE CODE: A523

Effective date: 20130418

TRDD Decision of grant or rejection written
A01 Written decision to grant a patent or to grant a registration (utility model)

Free format text: JAPANESE INTERMEDIATE CODE: A01

Effective date: 20131203

A61 First payment of annual fees (during grant procedure)

Free format text: JAPANESE INTERMEDIATE CODE: A61

Effective date: 20131206

R150 Certificate of patent or registration of utility model

Free format text: JAPANESE INTERMEDIATE CODE: R150

Ref document number: 5432604

Country of ref document: JP

Free format text: JAPANESE INTERMEDIATE CODE: R150

R250 Receipt of annual fees

Free format text: JAPANESE INTERMEDIATE CODE: R250

R250 Receipt of annual fees

Free format text: JAPANESE INTERMEDIATE CODE: R250

R250 Receipt of annual fees

Free format text: JAPANESE INTERMEDIATE CODE: R250

R250 Receipt of annual fees

Free format text: JAPANESE INTERMEDIATE CODE: R250

LAPS Cancellation because of no payment of annual fees