JP2010003404A - ディジタル情報記録装置、再生装置、出力装置および送信装置 - Google Patents

ディジタル情報記録装置、再生装置、出力装置および送信装置 Download PDF

Info

Publication number
JP2010003404A
JP2010003404A JP2009184000A JP2009184000A JP2010003404A JP 2010003404 A JP2010003404 A JP 2010003404A JP 2009184000 A JP2009184000 A JP 2009184000A JP 2009184000 A JP2009184000 A JP 2009184000A JP 2010003404 A JP2010003404 A JP 2010003404A
Authority
JP
Japan
Prior art keywords
recording
digital information
information
copy control
circuit
Prior art date
Legal status (The legal status is an assumption and is not a legal conclusion. Google has not performed a legal analysis and makes no representation as to the accuracy of the status listed.)
Granted
Application number
JP2009184000A
Other languages
English (en)
Other versions
JP4637254B2 (ja
JP2010003404A5 (ja
Inventor
Hiroo Okamoto
宏夫 岡本
Hitoaki Owashi
仁朗 尾鷲
Atsushi Yoshioka
厚 吉岡
Shinko Otsuka
眞弘 大塚
Shuichi Tago
修一 田胡
Current Assignee (The listed assignees may be inaccurate. Google has not performed a legal analysis and makes no representation or warranty as to the accuracy of the list.)
Hitachi Ltd
Original Assignee
Hitachi Ltd
Priority date (The priority date is an assumption and is not a legal conclusion. Google has not performed a legal analysis and makes no representation as to the accuracy of the date listed.)
Filing date
Publication date
Application filed by Hitachi Ltd filed Critical Hitachi Ltd
Priority to JP2009184000A priority Critical patent/JP4637254B2/ja
Publication of JP2010003404A publication Critical patent/JP2010003404A/ja
Publication of JP2010003404A5 publication Critical patent/JP2010003404A5/ja
Application granted granted Critical
Publication of JP4637254B2 publication Critical patent/JP4637254B2/ja
Anticipated expiration legal-status Critical
Expired - Lifetime legal-status Critical Current

Links

Images

Landscapes

  • Television Signal Processing For Recording (AREA)
  • Signal Processing For Digital Recording And Reproducing (AREA)
  • Storage Device Security (AREA)

Abstract

【課題】
コピーが制限された情報を、一時記録の繰り返しにより媒体内に永く残存することを防
止する。また、許容数以上の記録媒体へコピーされることを防止する。
【解決手段】
コピー制御情報が規定の制限時間を持つ一時記録を許すことを示す場合は、一時記録を
許さないことを示す制御情報を付加して記録媒体に記録する。また、コピーが制限された
情報をコピーする際、記録装置、記録媒体数を検知し、許容数以内の媒体にのみ記録する

【選択図】 図4

Description

本発明は、映像、音声などのディジタル情報の記録装置、再生装置及び出力装置に関わ
り、特に著作権者などの権限により、情報を媒体へ記録することに関し制限を与えられる
ようにした装置に関する。さらに本発明は、このような記録装置に対し、ディジタル情報
を好適に送信する送信装置に関する。
テレビジョン放送、およびこれを記録し再生する装置、さらには映画ソフトなどのパッ
ケージメディアの分野では、ディジタル放送が開始され、これに対応した民生用のディジ
タル記録再生装置が発売されている。この装置で用いるパッケージソフトも近い将来現れ
るであろう。ディジタル放送、ディジタル記録装置は、情報の伝送過程や記録再生過程で
の品質劣化がない、もしくはごく少ないことが長所である。しかし、情報の良質なコピー
が、著作権者の預かり知らぬところで多数作成されて出回り、またコピーを繰返した場合
、その著作権者に利益が還元されない問題がある。
米国特許No.5,896,454では、情報に2ビットのコピー制御情報を付す方法
が開示されている。これは著作権者、情報作成者の意志により、コピー禁止、コピー認可
、一世代のみコピー認可の三つのうち、いずれかを選択することで、記録装置の動作を制
御するものである。記録装置は、コピー禁止ならば記録動作をせず、コピー認可なら記録
動作を行う。一世代のみコピーが認可されるなら、記録装置はこの制御情報を、これ以上
のコピーを認めない情報に書替えたうえで、記録動作を行う。
放送において、コピー制御情報をコピー禁止とした場合、たまたま来客があった時など
、ユーザはその放送を視聴する手段がなくなる問題がある。そこで特開2000−149
417号公報では、コピー制御情報がコピー禁止を示す場合にも、一時記録という手段を
用いて、この問題を解消する方法が開示されている。これは物理的には一旦記録媒体に情
報を記録するのであるが、再生し視聴する期間に、たとえば90分などという制限を設け
、再生後もしくは制限時間後に消去するものである。すなわち永く保存し多目的利用する
ために記録するのではなく、等価的に放送を90分以内で遅らせて視聴することとなる。
記録媒体が永く残ることはないため、著作権者に不利益を与えることなく、上記したユー
ザの不便を解消できる。なお、一時記録はその性格上、受信装置に内蔵したハードディス
クレコーダなどを用いて行うことが多い。
米国特許No.5,896,454
しかしながら、一時記録を行う装置が複数台準備されれば、上記制限時間内であれば他
の装置へ一時記録が可能となる。これを繰返せば、結局記録した媒体が永く残ってしまい
、本来の目的である通常の視聴以外の目的に流用される恐れがある。その可能性を少しで
も低減するために、制限期間は90分、120分などと比較的短く設定されるのであるが
、ユーザにとっては不便な場合がある。制限時間の余裕がないため、深夜の番組の一時記
録は、翌日にまわして視聴することができないことになる。
さらには、録画済みのパッケージソフトが今後現れると、新たな問題が発生する。多く
のパッケージソフトでは、コピー制御情報をコピー禁止とするであろうが、これが一時記
録される恐れがある。パッケージソフトはいつでも視聴できるものであるから、本来は一
時記録を認める意味はない。これができると、不正なコピーの作成を幇助しかねない問題
がある。上記従来技術では、一時記録に関しこれらの問題については考慮されていない。
さらには、上記従来の技術に開示される事項は、一つの記録再生装置が一つの記録再生
部を持つことを前提としている。実際にはコピー、編集などのために、通称でダブルデッ
キと呼ばれるような、同じ筐体内に複数の記録再生部を持つものが現れるであろう。この
問題については、上記した文献には記述されていない。
本発明の目的は、上記した問題に鑑み、コピー禁止という本来の著作権者の意図から外
れることのない、一時記録の方法を提供することにある。また、上記したユーザにとって
の不便を解消することにある。さらには、コピー制御情報を、一世代のみコピー認可とし
た場合も同様に、不利益を与えることのない一時記録の方法を提供することにある。
さらには、複数の記録再生部を有する装置が現れた後も、コピーに関する本来のルール
を守る手段、およびこれを適用した装置を提供することにある。
上記目的を達成するため、本発明のディジタル情報記録装置においては、ディジタル情
報には、ディジタル情報を記録媒体に記録することを許すか否かを示す第一のコピー制御
情報と、第一のコピー制御情報が記録することを許さないことを示す場合にも、再生に際
して規定の制限時間を持つ一時記録を許すか否かを示す第二のコピー制御情報と、上記制
限時間を指定する第三のコピー制御情報が付加されており、ディジタル情報に所定の処理
を行い記録媒体に記録する記録回路と、ディジタル情報に付加されているコピー制御情報
を検出する制御検出回路と、制御検出回路での検出結果に基づき記録回路の記録動作を制
御する記録制御回路とを備える。記録制御回路は、制御検出回路で検出した第一および第
二のコピー制御情報に従い記録回路の記録動作を制御し、第二のコピー制御情報が、規定
の制限時間を持つ一時記録を許すことを示す場合は、ディジタル情報を記録媒体に記録す
る。
そして、前記第二のコピー制御情報が規定の制限時間を持つ一時記録を許すことを示す
場合は、前記記録回路は、一時記録を許さないことを示す情報をディジタル情報に付加し
て記録媒体に記録する。
本発明によるディジタル情報再生装置においては、再生されるディジタル情報に所定の
処理を行って出力する再生回路と、少なくとも再生されるディジタル情報からに付加され
ている第一のコピー制御情報を検出する制御検出回路と、制御検出回路での検出結果に基
づき再生回路の再生動作を制御する再生制御回路とを備える。検出した第一のコピー制御
情報が記録することを許さないことを示し、かつ、記録後規定の制限時間を過ぎている場
合には、再生した情報の出力を行わない。
そして前記制御検出回路は、さらに再生されるディジタル情報に付加されている第二の
コピー制御情報を検出し、検出した第一のコピー制御情報が記録することを許さないこと
を示し、かつ、第二のコピー制御情報が再生に際して規定の制限時間を持つ一時記録を許
すことを示し、記録後規定の制限時間を過ぎていない場合には、再生に際して規定の制限
時間を持つ一時記録を許さない情報を再生した情報に付加して出力する。
また本発明のディジタル情報記録装置においては、ディジタル情報には、ディジタル情
報を記録媒体に記録することを許すか否かを示す第一のコピー制御情報と、第一のコピー
制御情報が一世代のみ記録することを許すことを示す場合に、記録後規定の制限時間の間
は一世代のみ記録することを許した状態のまま再生出力することを許すか否かを示す第二
のコピー制御情報が付加されている。第二のコピー制御情報が上記した記録後規定の制限
時間の間は一世代のみ記録することを許した状態のまま再生出力することを許すことを示
す場合は、一時記録を許さないことを示す情報をディジタル情報に付加して記録媒体に記
録する。
本発明のディジタル情報再生装置においては、検出したコピー制御情報が一世代のみ記
録することを許すこと、ないし一世代の記録済みのためこれ以上の記録を許さないことを
示す場合には、記録後規定の制限時間の間は一世代のみ記録することを許した状態のまま
再生出力することを許さないことを示す情報を再生した情報に付加して出力する。
さらには、本発明によるディジタル情報記録装置においては、複数の記録媒体を装着し
、入力されたディジタル情報を上記複数の記録媒体へ記録可能とするための複数の記録手
段を有し、入力されたディジタル情報に付されたコピー制御情報が一世代のみコピーを認
可することを示す場合には、上記した複数の記録手段のうちの1つの記録手段により1つ
の記録媒体にのみディジタル情報を記録する。
本発明によるディジタル情報出力装置は、外部に接続された複数の情報記録装置にディ
ジタル情報を出力するものであって、接続された情報記録装置を認証し、該情報記録装置
に装着された記録媒体の総数を検知する認証手段と、接続された情報記録装置へのディジ
タル情報の出力を制御する出力制御手段と有する。ディジタル情報に付されたコピー制御
情報がコピーを制限することを示し、認証手段にて検知した外部情報記録装置の記録媒体
の総数が所定の許容数を超える場合には、出力制御手段は、接続された情報記録装置のう
ち一部の装置へのディジタル情報の出力を行わない。
また、本発明によるディジタル情報記録装置は、複数の記録媒体へ記録可能とするため
の複数の記録手段を有し、入力されたディジタル情報に付されたコピー制御情報がコピー
を制限することを示す場合には、上記した複数の記録手段により複数の記録媒体に一旦デ
ィジタル情報を記録した後、少なくとも1つの記録媒体を残して、他の記録媒体に記録さ
れたディジタル情報を再生不能化する。
また、本発明によるディジタル情報記録装置は、複数の記録媒体へ記録可能とするため
の複数の記録手段を有し、入力されたディジタル情報に付されたコピー制御情報がコピー
をすることを示す場合には、上記した複数の記録手段のうちの1つの記録手段により、1
つの記録媒体にのみディジタル情報を記録する。
本発明によるディジタル情報記録装置は、複数の記録媒体へ記録可能とするための複数
の記録手段を有し、入力されたディジタル情報に付されたコピー制御情報がコピーを認可
しないディジタル情報の移動であることを示す場合には、上記した複数の記録手段により
複数の記録媒体に一旦ディジタル情報を記録した後、いずれか1つの記録媒体を残して、
他の記録媒体に記録されたディジタル情報を再生不能化する。
さらに、本発明によるディジタル情報記録装置は、入力されたディジタル情報に付され
たコピー制御情報が一世代のみコピーを認可することを示す場合には、記録媒体に、上記
一世代のみコピーを認可する際の許容数以下のディジタル情報を記録する。
本発明によるディジタル情報記録装置は、入力されたディジタル情報に付されたコピー
制御情報が一世代のみコピーを認可することを示す場合には、上記一世代のみコピーを認
可する際の許容数以下の記録媒体に、ディジタル情報を記録する。
以上述べたように本発明においては、コピー制御情報を Copy Never とされた情報を一
時記録する際に、その可否を著作権者などの管理下で定め、さらには再生し視聴できる制
限時間を設定できるようになる。このため、一時記録を認める意味のない情報が一時記録
され、悪用されることを防止できる。制限時間内に一時記録を繰返して、情報が永く記録
媒体に残ることを阻止できる。また、視聴できる制限時間の短さに由来するユーザの不便
を解消できるという効果がある。
さらにコピー制御情報を Copy One Generation とされた情報を、一時記録する際にも
適用することで、制限時間内に一時記録を繰返した際に、情報が永く Copy One Generati
on のままで記録媒体に残ることを阻止できる。
さらに、複数の記録再生部を有する記録再生装置においても、Copy One Generation で
ある情報が、従来以上の数の記録媒体に記録され、また Copy No More である情報が複数
の記録媒体に移動される問題を解消できる。このため、情報の製作者、著作権者の利益を
守ることができるという効果がある。
本発明を適用するディジタル情報送受信記録システム全体の一実施形態を示すブロック図。 図1における放送局などの情報提供局1の構成の一例を示すブロック図。 図1における受信装置3の構成の一例を示すブロック図。 図1における記録再生装置4の構成の一例を示すブロック図。 図4の記録再生装置の記録媒体の周辺を示すブロック図。 本発明における制御情報信号の構成の一例を示すブロック図。(a)は情報提供局より送られるもの、(b)は記録媒体へ記録するものを示す。 記録媒体上での制御情報信号と情報データの記録位置を示す図。(a)はテープ、(b)はビデオディスク、(c)はハードディスクの例である。 本発明におけるディスプレイ上の文字表示の一例を示す図。
以下、本発明の実施形態を必要に応じて、図面を用いながら説明する。本発明の一実施
例は、コピー禁止とされた情報の、一時記録に関するものであるが、その説明の前に本発
明を適用するシステム全体から述べる。
図1は本発明で用いるシステム全体の実施形態を示すブロック図であって、放送で情報
を送受信し、また記録再生する場合を例にとって示したものである。これには、本発明を
適用した装置が含まれている。1は放送局などの情報提供局、2は中継局、3は受信装置
、4は受信装置3に内蔵される第一の記録再生装置、5はディスプレイ、6は第二の記録
再生装置である。なお、ここで放送などを記録する際は、これに付されたコピー制御情報
に応じ、第一の記録再生装置4と第二の記録再生装置6の双方、あるいは、いずれか一方
に記録することができる。また、第一の記録再生装置4は記録媒体としては、たとえばハ
ードディスクなど取外しのできないものであって良い。ビデオディスク、ビデオテープな
ど取外しのできるものでも良いが、受信装置に内蔵する記録再生装置は、情報を比較的短
い期間保存する場合に用いられることがあり、たとえば前記した一時記録を主な目的にす
る場合など、取外しのできないものでも使用できる。また、本実施形態では、第一の記録
再生装置4は受信装置3に内蔵されるものとして以下の説明を行うが、これは必ずしも必
要条件ではなく、受信装置3に外付けされるものとしても本発明は適用できる。
第二の記録再生装置6は、ここでは2個の記録再生部を有するものとして説明する。第
一、第二の記録再生部61,62は、例えば前者がハードディスクを用い、後者が磁気テ
ープ、光ディスクなど取外しのできるものを用いれば、各々の長所を生かした使い分けが
可能であるが、これに限定するものではなく、双方とも光ディスクであったりしても良い
。第一の記録再生装置4が複数の記録再生部を持っても良く、また双方が持っても良いが
、ここでは代表的なものとして上記の例で説明する。
放送局など情報提供局1は、たとえば放送用衛星などの中継局2を介して、情報によっ
て変調された信号電波を伝送する。勿論、それ以外のたとえばケーブルによる伝送、電話
線による伝送、地上波放送による伝送などを用いても良い。受信側の受信装置3で受信さ
れたこの信号電波は、後に述べるように、復調されて情報信号となった後、必要に応じ、
第一の記録再生装置4ないし第二の記録再生装置6へ記録するに適した信号となって記録
される。また、ディスプレイ5へ送られる。ここでユーザは、情報内容を直接視聴するこ
とができる。また、上記した第一の記録再生装置4、第二の記録再生装置6で再生された
情報は、受信装置3を介してディスプレイ5へ与えられ、元の映像音声などの情報が視聴
される。情報が予め記録された取外し可能な記録媒体、たとえばパッケージソフトが提供
される時は、これを取付けた、たとえば第二の記録再生装置6での再生動作以降が行われ
る。なお、装置間の情報の授受はディジタル信号で行われることが多いが、たとえば受信
装置3とディスプレイ5の間は、アナログ信号で接続することもある。
図2は、上記システムのうち、放送局などの情報提供局1の構成例を示すブロック図で
ある。11はソース発生部、12はMPEG方式等で圧縮を行うエンコード回路、13は
スクランブル回路、14は変調回路、15は送信アンテナ、16は管理情報付与回路、1
7は入力端子である。
カメラ、記録再生装置などから成るソース発生部11で発生した映像音声などの情報は
、より少ない占有帯域で伝送できるよう、エンコード回路12でデータ量の圧縮が施され
る。必要に応じてスクランブル回路13で、特定の視聴者のみが視聴可能となるように伝
送暗号化される。変調回路14で伝送するに適した信号となるよう変調された後、送信ア
ンテナ15から、たとえば放送用衛星などの中継局2に向けて電波として発射される。こ
の際管理情報付与回路16では、前記したコピー制御情報を始め現在時刻等の情報を付加
する。また入力端子17からは、先の図1では省略したが、たとえばリクエスト情報が電
話回線などを介して入力される。これはビデオオンデマンドなど、視聴者のリクエストに
応えて送出する情報を決定するシステムで活用される。
なお、実際には一つの電波には複数の情報が、時分割、スペクトル拡散などの方法で多
重されることが多い。簡単のため図2には記していないが、この場合、ソース発生部11
とエンコード回路12の系統が複数個あり、エンコード回路12とスクランブル回路13
との間に、複数の情報を多重するマルチプレクス回路が置かれる。
図3は、図1のシステムにおける受信装置3の構成の一例を示すブロック図である。3
01はRF/IF変換回路、302は復調回路、303は誤り訂正回路、304は信号に
施された伝送暗号を解除するデスクランブル回路、305は第一のデマルチプレクス回路
、306は入出力端子、307は第二のデマルチプレクス回路、308はデコード回路、
309,310は出力端子、311は受信装置3の全体を制御する制御回路、312は情
報管理回路、313はコマンド入力回路、314は入力端子である。4は第一の記録再生
装置であり、図1で記したように、受信装置3に内蔵されていても良い。図中、実線は映
像音声など主となる情報の流れを、点線は各構成要素間の制御信号情報の流れを示す。
ここでまず、301から310の構成要素に関し、実線で示した映像音声などの情報の
流れを説明する。RF/IF変換回路301には、たとえば放送用衛星などの中継局から
の電波が入力される。ここでRF帯域の電波はIF帯域 (Intermediate Frequency) に周
波数変換され、また受信チャネルに依存しない一定の帯域の信号となり、復調回路302
で伝送のために施された変調操作が復調される。さらに誤り訂正回路303で、伝送途中
で発生した符合の誤りが検出さらには訂正された後、デスクランブル回路304で伝送暗
号の解除を行う。その後、第一および第二のデマルチプレクス回路305および307へ
送られる。上記したとおり、特にディジタル放送の場合、一つのチャネルには複数の情報
が、時分割、スペクトラム拡散などの方法で多重されることが多い。デマルチプレクス回
路は、これから所望の情報だけを分離するものである。2つのデマルチプレクス回路を設
ける理由は、いわゆる裏番組記録を可能にするのみならず、第一のデマルチプレクス回路
305で、記録に値しない情報を除去するためである。すなわち、情報の中には天気予報
、番組の放送予定などの付加情報が付されていることが多く、これは放送時点で見るなら
良いが、記録して後日見るには値しないため、ここで除去することも可能にしている。
第一のデマルチプレクス回路305の出力は、第一の記録再生装置4へ与えられ、必要
に応じて、その記録媒体へ記録される。また入出力端子306へも与えられ、ここに接続
される第二の記録再生装置6と信号の授受を行う。入出力端子306は双方向の端子であ
って、第二の記録再生装置6との間で、記録再生する情報などをたとえばディジタルデー
タで授受する。もちろん必ずしも一本の情報ラインが双方向となっていなくとも良く、複
数の単方向ないし双方向の情報ラインで構成されていても良い。一般にはIEEE139
4規格による接続が多く用いられる。さきの第二のデマルチプレクス回路307には、デ
スクランブル回路304から送られた情報、第一の記録再生装置4で再生された情報、あ
るいは、入出力端子306からの第二の記録再生装置6で再生された情報が接続されてお
り、そのいずれか視聴したい情報が選択され、さらに所望の情報を分離する。次のデコー
ド回路308では、伝送前に施された動画像のデータ圧縮がデコードされ、出力端子30
9を介して外部のディスプレイ5へ送られる。出力端子は309,310の二つを備え、
一方をディジタル出力、他方をアナログ出力としても良い。
ディジタル放送には、走査線数が例えば1000本を越すHD(High Definition)情
報と、500本前後のSD(Standard Definition)情報がある。これに応じて、前者を
HD出力、後者をSD出力とすれば、HD対応のディスプレイには出力端子309の情報
を、SD対応のディスプレイには、出力端子310の情報を供給すると良い。出力端子3
09,310の情報はディスプレイの入力次第で、ディジタル、アナログのいずれであっ
ても良い。
次に点線で示した制御信号に関して述べる。制御回路311は、上記した301より3
05、307、308の各構成要素との間で制御信号の授受を行い、受信装置3の全体が
所望の動作を行うように制御する。情報管理回路312は、制御回路311が制御を行う
時の管理データを要求に応じて供給する。たとえば、ここには受信契約の情報が管理され
ている。ユーザが視聴したいチャネルを指定した時、この指定は入力端子314から入力
され、コマンド入力回路313を介して制御回路311に送られる。制御回路311は情
報管理回路312に、受信契約情報を要求する。ユーザが指定したチャネルと契約がある
と判断した場合、上記した各構成要素に制御信号を送り、該当チャネルの受信動作を指示
する。また、情報管理回路312には、ユーザによるタイマ予約情報が管理されている。
視聴を予約した時間になると、制御回路311は上記した各構成要素に制御信号を送り、
受信動作を開始させる。
また、第一の記録再生装置4が受信装置3に内蔵されている場合には、入力端子314
から入力されたユーザの指示に応じて記録再生の動作を行う。このため、コマンド入力回
路313の出力が供給されている。この制御信号は、制御回路311から供給されるよう
にしても良い。
次に図4、図5を用いて、記録再生装置の記録再生動作を述べる。さきに示した第一の
記録再生装置4と第二の記録再生装置6に内蔵する第一の記録再生部61、第二の記録再
生部62は、基本的な回路ブロック構成は同様であって良く、その例をここに示している
。アナログ記録方式を用いるものは、その構成が従来から汎く知られているので、図面を
用いた説明は省略する。なお本発明は、例えば第二の記録再生部62がアナログ記録方式
であるなど、記録方式が混在する場合にも適用可能である。
まず記録再生装置は、ディジタル伝送あるいは放送された圧縮ビットストリームをその
まま記録する、主には最近の、あるいは今後現れるディジタル記録方式によるものが相応
しい。この場合、受信装置3と第二の記録再生装置6との情報の授受は、前記したとおり
IEEE1394規格などによりディジタル方式で行うのが良い。またその記録媒体は、
テープのみならず、ディジタルビデオディスクなどの取外し可能なディスク、ハードディ
スクなどの装置に内蔵されたディスクなど、様々なものが可能である。前記したように、
第一の記録再生装置4はハードディスクを、第二の記録再生装置6は取外し可能なディス
クを媒体とし、用途に応じて使い分けても良い。
図4は、記録再生装置の回路ブロック図である。特に記録媒体として、ディスクを用い
るものに適している。41は記録回路、4101は記録する信号の入力端子、4102は
半導体メモリなどの記憶手段、4103は暗号化回路、4104は暗号化キーの入力端子
、4105は記録符号化回路、4106は記録媒体へ記録する信号の出力端子、4107
は媒体検知回路、4108は制御検出回路、4109は記録制御回路、4110は制御信
号の入出力端子、4111は制御信号の出力端子である。また、42は再生回路、420
1は再生信号の入力端子、4202は再生復号回路、4203はブロック再生回路、42
04は半導体メモリなどの記憶手段、4205は誤り訂正回路、4206は暗号復号回路
、4207は暗号を復号するキーの入力端子、4208は信号出力回路、4209は受信
機などへ再生信号を送る出力端子、4210は制御信号の検出回路、4211は時計、4
212は再生制御回路、4213は制御信号の入出力端子、4214は制御信号の出力端
子である。
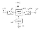
図5は、記録再生装置の記録媒体の周辺を示すブロック図である。43は記録再生部、
4301は入力端子、4302は記録増幅器、4303はハードディスク、ビデオディス
ク、ビデオテープなどの記録媒体を搭載した記録媒体ドライブ、4304は再生増幅器、
4305は出力端子、4306は機構制御回路、4307は入力端子である。
まず、図4を用いて動作の説明を行う。記録回路41から述べる。入力端子4101か
らは、記録する情報が入力される。これは、さきの図3の第一のマルチプレクス回路30
5から供給されるものである。デスクランブル回路304で伝送暗号を復号した後の情報
であるが、もちろん、これを復号せずに供給される場合も本発明の範疇にある。
第二の記録再生装置6の場合は、この情報はさらに入出力端子306を介して供給され
、また、後に述べる再生回路42で再生した情報の出力端子4209の出力も、図3の入
出力端子306へ与えられる。従って、第二の記録再生装置6では、4101と4209
とを一つにし入出力端子としても良い。もちろん、これは必ずしも中の信号線が一本とい
うことではなく、複数の単方向ないし双方向の信号線であって良い。IEEE1394規
格で規定するものでも良い。
入力された情報は、一旦、記憶手段4102にブロック毎に蓄積される。これには、映
像音声などのディジタル情報のほか、たとえば後述する図6(a)で示したような様々の
制御情報が付されている。放送の場合、たとえば図2の管理情報付与回路16で付与され
たものである。これは制御検出回路4108に与えられ、制御情報が検出される。後で詳
しく述べるように、これを基に記録制御回路4109では、この信号を記録して良いか否
か、記録する際に暗号化するか否かなどを判断し、その結果を暗号化回路4103と記録
符号化回路4105へ送る。
一方、記憶手段4102の映像音声などの情報は、暗号化回路4103において、記録
制御回路4109からの制御信号に従い、必要に応じて暗号化が行われる。暗号化は、た
とえば入力端子4104からの情報に基づいて行われる。これは、装置の識別番号などの
デバイスキー、ユーザの所持するICカードを装置に装着して読み取られた個人IDなど
のユーザキー、あるいは記録する情報(コンテンツ)ごとに乱数的に発生させたコンテン
ツキーなどが用いられる。コピー制御情報が記録を禁止することを意味する Copy Never
、一世代のみ記録を認可することを意味する Copy One Generation である場合などは、
高いセキュリティを要求されるため、前記した条件付きの一時記録を行う場合には第三者
に利用されないよう、暗号化して一時記録することがある。暗号化をプログラム(コンテ
ンツ)単位で行った場合、同じコンテンツの中で、時間とともにキーを変え、たとえばセ
クタ単位でキーを変えても良い。
暗号化された情報は、記録符号化回路4105に与えられる。記録符号化回路4105
では、記録制御回路4109からの制御情報に基づき、記録を行わない場合はここで情報
を遮断し、記録を行う場合は使用する媒体に適した変調を施し出力端子4106へ出力す
る。
記録制御回路4109から記録符号化回路4105へは、コピー制御情報のほかに、時
計4211から出力される記録時の現在時刻も与えられており、記録が可能な場合には、
必要に応じてこれも同時に記録する。現在時刻は、受信した情報に含まれている場合はそ
れを用いてもよいし、また、受信した情報で時計4211を校正するようにしてもよい。
さらに、出力端子4106の情報信号は、図5に示した記録再生部43の入力端子43
01へ与えられる。この信号は、レーザ発生素子や磁気ヘッドを駆動できるよう記録増幅
器4302で増幅された後、記録媒体ドライブ4303で上記したような記録媒体へ記録
される。4306は記録媒体ドライブ4303を駆動するモータなどの機構制御回路であ
って、入力端子4307からの制御信号で記録媒体を制御する。
なお、さきに示した図4の記録制御回路4109の出力は、出力端子4111に与えら
れている。必要に応じ、これを図5の入力端子4307へ与え、前記した一時記録を含め
記録を禁止された情報が入力された時に、機構制御回路4306へ記録動作を停止するよ
う指示しても良い。また、図4の入出力端子4110では、外部の装置との制御信号の入
出力を行う。たとえば、制御情報を制御検出回路4108で検出せずに、映像音声などの
データとは別に外部から与える方法もあり、この際に活用される。第二の記録再生装置6
の場合は、IEEE1394規格に従って、入力端子4101、出力端子4209と共用
することもできる。
たとえば90分を制限時間とした一時記録を行う時、特に記録媒体ドライブ4303の
記録媒体がハードディスクである場合などは、一時記録を開始する際に、90分の記録に
必要な容量だけ記録領域を確保してから始めると良い。90分を経過した後は、再生の有
無に関らず情報を消去するのであるから、その一時記録の最初から上書きすると良い。9
0分間のデータ量は情報内容によって異なる場合がある。特にその途中で放送方式が切替
り、たとえば標準精細から高精細へ切替るなどすると、予めデータ量の予想をすることは
難しい。その場合は、該当する放送チャネルの最大伝送レートを前提として容量を確保す
ると良い。これらの制御も、さきの記録制御回路4109で行うことができる。
次に、記録した情報を再生する時の動作を説明する。図5の記録媒体ドライブ4303
から再生された情報信号は、再生増幅器4304で後段での信号処理が可能なレベルまで
増幅された後、出力端子4305へ出力される。入力端子4307には、図4の出力端子
4214からの制御信号が入力され、機構制御回路4306を制御する。これは再生制御
回路4212で生成したものである。さきの記録制御回路4109とこの再生制御回路4
212は、実際には同一の半導体デバイス上にあるのが普通であり、この場合、4111
と4214の出力端子は共通にできる。
図5の出力端子4305の情報信号は、図4の再生回路42の入力端子4201へ与え
られる。これは再生復号回路4202に供給される。ここでは媒体に記録再生するために
記録側で施した変調が復調され、波形を等化しクロックでデータを確定する。次にブロッ
ク再生回路4203で同期信号、ID信号などの検出を行い、これをもとに再生データは
記憶手段4204の所定の位置に一旦格納される。誤り訂正回路4205は、格納された
データより演算操作で、記録再生過程で発生した誤りを検出し正しい値に訂正する。誤り
訂正後のデータは、暗号復号回路4206へ与えられる。これは、記録時にさきの暗号化
回路4103で行われた記録暗号化を復号するためのものである。ここで、入力端子42
07からの装置のデバイスキー、個人IDなどユーザキー、あるいはコンテンツキーなど
によって復号が行われる。これが所定のものでなければ、正常な暗号の復号は行われず視
聴することはできない。従って、記録した装置ないしユーザが視聴することは可能である
が、記録した媒体を他の装置ないしユーザが再生し、視聴することは極めて困難となる。
なお、入力端子4207からの復号キーは、後に図6(b)で示す暗号化情報111から
得たもの、あるいはここから暗号を復号して得たものであっても良い。
一方、さきの誤り訂正を施されたデータより、制御信号の検出回路4210で、たとえ
ばコピー制御情報、記録時の時刻などが検出される。次に再生制御回路4212では、検
出されたこれらの情報のほか、時計4211からの現在時刻などをもとに、再生出力の可
否を判断し、信号出力回路4208の出力を制御する。あるいは、暗号復号回路4206
を動作ないし停止させる。たとえば、再生し視聴する期間に時間制限があり、これが過ぎ
ている場合などは、信号出力回路4208から少なくも正常に視聴できる情報は出力しな
いようにする。必要に応じて、出力端子4214から図5の入力端子4307へ制御情報
を送り、記録媒体ドライブ4303自体の再生動作を停止しても良い。
再生した情報を出力することを認められた時は、この情報は出力端子4209へ与えら
れ、図1の受信装置3を介して、ディスプレイ5へ供給される。図2のエンコード回路1
2で施されたMPEGなどによるデータ量の圧縮操作は、受信装置3のデコード回路30
8で元に戻される。このため、ユーザは情報内容を視聴することができる。デコード回路
308は、ディスプレイ5に内蔵されることもある。なお、コピー制御情報などがここま
で述べたものと異なり、電子透かしとして映像情報中に埋め込まれているときには、再生
時に、この電子透かしから検出した情報を使って同様の制御を行っても良い。
時計4211は、当然ながらある程度の正確さが要求される。ユーザの悪意で容易に変
えられるものでは目的を果たさない。放送局などからの時間情報で制御のかかるものであ
ることが望ましい。故意に時刻を変えた場合、以後は装置が動作しないようにしても良い
入出力端子4213は、外部の装置と制御情報の授受を行うものである。たとえば再生
した情報を、さらに外部の記録装置へ記録する場合などに活用される。入出力端子411
0と4213とは共通化できる。また、第二の記録再生装置6においては、たとえばIE
EE1394規格に従い、入力端子4101、出力端子4209の情報も含め一系統で授
受し、あるいは赤外線などを用いて無線で授受することができる。また、これは2個の記
録再生部61,62を持つのであるから、各々の入力端子4101、出力端子4209、
入出力端子4110,4213を共通化し、図3の入出力端子306と接続して良い。
再生制御回路4212から記録符号化回路4105へ与えられる制御信号は、たとえば
再生時の情報の消去を指示するものである。後に述べるように、視聴する制限時間を過ぎ
た情報を消去し、また、一度再生した情報を制限時間に関らず消去する場合に活用する。
記録媒体がディスクである場合など、この制御信号に従い、記録符号化回路4105は情
報として意味のない信号を発生し、媒体上に記録することで情報を消去する。あるいは、
暗号化キーなどの暗号化情報を消去する。この場合、記録媒体は消去可能なものでなけれ
ばならない。媒体検知回路4107はこのために設けられている。第二の記録再生装置6
などのように、記録媒体が取外し可能である装置に有効である。いずれ消去することを条
件に記録を認めた情報を記録する場合、CD−Rなど情報の消去が不可能な媒体が取付け
られていれば、記録を行わないようにしている。
また、消去が不可能な媒体から情報を移動しようとした際に、再生動作を停止するよう
にしている。これらは、媒体検知回路4107から記録符号化回路4105、再生制御回
路4212へ制御信号を送ることで実現される。以上が、図4と図5の基本的な動作説明
である。
次に図6は、本実施形態における制御情報信号の一構成例を示すブロック図である。こ
のうち図6(a)は、受信装置3で受信され、第一の記録再生装置4ないし第二の記録再
生装置6へ入力され、記録側の制御検出回路4108で検出される制御情報を示す。図6
(b)は、記録符号化回路4105において、図6(a)の制御情報を基に必要に応じて
書替えられ、また内容を追加して記録媒体へ記録される制御情報を示す。パッケージソフ
トなどには図6(b)の制御情報が、予め記録されている。図6(b)のうちで、図6(
a)の中の情報を基としたものには、同じ番号を付して対応させている。図6(b)の情
報は、たとえばテープ媒体の場合、一つの記録トラックに一個記録されれば充分であるが
、当然ながら映像音声などの情報データとは決まった関係で記録され、再生時容易に分離
できるようになされる。
図6の内容を、必要に応じて図4の回路ブロック図と対比して述べながら、本発明の実
施例における動作説明をする。図6(b)において、プログラム番号100は、その媒体
で何番目のプログラムであるかを示す。セクタ情報101は、媒体へ記録するに際し、プ
ログラムを所定の単位で分割したセクタの番号である。分割は、固定の単位、たとえば2
kバイト単位に分割してもよいし、情報の一定単位、たとえば、エンコードする時の分割
の単位でもよい。また、番号はプログラム内で付けてもよいし、記録媒体全体での通し番
号でもよい。後述する記録時刻107b等の情報は、このセクタ単位で付加される。時間
情報102は、その記録部分がそのプログラム開始後、どれだけ経ているかを示す。以上
は情報を記録媒体へ記録するに際して、追加されたものである。
種類103bは、そのプログラムが販売されたものか、レンタルか、自作か、放送から
かなどの属性情報を示す。これは図6(a)の103aで示したとおり、伝送する段階か
ら付されていた場合には、これをそのまま記録しても良い。
次に、図6(a)におけるコピー制御104aは、その情報を媒体に記録して良いか否
かを示す。Copy Never(コピー禁止)、Copy One Generation(一世代のみコピー認可)
、Copy Free(コピー認可)のうちいずれかを、情報の作成者など著作権者が選択して決
めるものである。放送では、さきの図2の管理情報付与回路16で与えられることが多い
。図6(b)におけるコピー制御104bは、この104aの情報を基に記録に際し必要
に応じて、図4の記録符号化回路4105でこれを書替えたものである。104aが Cop
y Free を示す場合は、そのまま記録して良い。Copy One Generation を示す場合は、原
則として Copy No more (Copy One Generationで一回コピーされたもので、これ以上は
コピー禁止)と書替えて記録する。なお、後記する一時記録が許されていれば、Copy One
Generation のままか、もしくはCopy No More と書替えるか、いずれかで一時記録され
る。104aが Copy Never を示す場合は、原則としては記録できないが、一時記録が許
されていれば Copy never のままで記録する。情報ソフトが記録媒体で与えられる場合は
、その権利者が作成時に記録する。すなわち、Copy Never,Copy One Generation,Copy
No More,Copy Freeといった計4つの状態があるので、2ビットの情報で伝送できる。Co
py Never は(1,1)、Copy One Generation は(1,0)、Copy No More は(0,1
)、Copy free は(0,0)などとする。
APS105aは、アナログ記録機器へのコピー制御情報(APS; Analogue Protec
tion System)であり、例えば特開昭61−288582号公報に記されているような、
アナログ映像信号への擬似シンクパルスの追加等によりコピーの可否を制御する。そのま
まAPS105bとして記録しても良い。
Pause106aは、コピー制御情報104aが Copy Never を示すときに、前記し
た一時記録をして良いか否かを示す。一時記録とは、放送をある時間だけ休止したに等し
い働きをするため、Pause機能とよばれる。たとえば、一時記録を認めるならば“0
”、禁止するなら“1”などとすれば1ビットで伝送できる。これにより、一時記録の可
否を著作権者側で管理できるようになる。また、一時記録を認める意味のないパッケージ
ソフト(記録済ソフト)では、これを“1”と設定すれば不正な利用を幇助する恐れがな
くなる。さらに、一時記録をして良い場合(“0”)で一時記録を実行する際、記録媒体
に記録するPause106bの情報を、一時記録を禁止する“1”に書替えるか、また
はこの情報を再生し出力する時に、“1”に書替えて出力する。これにより、その後の一
時記録は一切禁止されることになり、複数の記録機での一時記録を繰返すことにより情報
が永く記録媒体に残ることを阻止できる。
さらに、Copy One Generation の情報にも一時記録を認め、このビットを活用して、一
時記録の可否を制御しても良い。これが一時記録を認めない“1”の場合は、コピー制御
情報を Copy No More と書換えて記録する。一時記録を認める“0”の場合は、コピー制
御情報を Copy One Generation のままで記録するか、またはCopy No More と書換えて記
録したうえで、再生し出力する際に、制限時間内であれば、Copy One Generation と、図
4の信号出力回路4208などで書換えて出力する。
いずれの場合でも、一時記録を認める“0”である時は、これを“1”と、図4の記録
符号化回路4105などで書換えて記録すると良い。制限時間内に、他の装置へ繰返して
一時記録される問題が解消できる。さきのコピー制御104a,104bと、Pause
106a,106bは図6のなかで、本発明において最も重要な要素の一つである。
時刻107aは、たとえば、図2の管理情報付与回路16で与えられた放送時の現在時
刻である。これをそのまま記録時刻107bとして記録しても良く、また図4の時計42
11を校正して、これを記録しても良い。この記録は、たとえばセクタ単位で行われる。
たとえばコピー制御情報を Copy Never とされた情報の一時記録は、再生し視聴できる時
間の制限があるが、この管理を行う上では時刻107a,107bが重要である。
放送方式108aは、HD情報(HD;High Definition;高精細)、SD情報(SD
;Standard Definition;標準精細)など、その情報が用いている放送方式を示す。これ
をそのまま108bとして記録しても良い。
Pause時間109aは、本発明においてユーザの使い勝手を向上するためのもので
ある。Pause時間とは、Copy Never の情報の場合、一時記録した後再生し視聴でき
る制限時間を意味する。これは一般には90分ないし120分と短いため、ユーザにとっ
て不便な場合がある。そこで、Pause時間109aとして例えば3ビットを付してや
れば、各種の時間設定ができる。(“001”は90分、“010”は一日、“011”
は一週間、“100”は一ヶ月、“101”は半年、“110”は一年、“111”は無
制限などとする)。これにより、著作権者などの管理のもと、Pause時間の短さに由
来するユーザの不便を解消できるという効果がある。これをそのまま109bとして記録
しても良い。
なお、 Copy One Generation の情報にも一時記録を認める場合にも、このビットを活
用しても良い。一時記録した後、この期間はコピー制御情報104bを Copy One Genera
tion のままとし、制限時間を経過した後、Copy No More と書換えるようにする。あるい
は、コピー制御情報104bを Copy No More と書換えて記録し、制限時間内に再生した
際は、これを Copy One Generation と、図4の信号出力回路4208などで書換えて出
力する。
なお、このPause時間は上記の場合、3ビットの情報として伝送され、記録再生さ
れるだけであるから、そのままではユーザが内容を知ることはできない。たとえば図3の
デコード回路308に文字加算機能を付し、ディスプレイ5に表示される映像に、図8に
示すようなPause時間の表示を出すと良い。これは制御回路311からの指示によっ
ても可能である。勿論、再生する情報に対して同様の表示を行っても良い。
図6(b)において、ユーザ識別110は、記録時と同じ装置あるいはユーザでしか再
生できなくするなどのために、ユーザ固有のコードを用いる際に記録する。暗号化情報1
11は、暗号化して記録された情報を再生し、暗号を復号する際に使われる。情報そのも
ののデータ量が多い時は、コード番号を記録しておき、再生装置で予め記憶された対応す
る情報を引き出して使うようにしても良い。図4における暗号化回路4103での暗号化
キー、ないし、それをさらにデバイスキーで暗号化したものを、ここに入れても良い。ユ
ーザ識別110、暗号化情報111は、記録する際に追加されるものである。
以上は必要に応じ映像のフレーム毎、或いは決まった量のデータ毎など比較的細かい時
間間隔で記録される。図6で示した制御情報信号の構成は一例であり、構成、媒体上での
記録位置、頻度など様々なものが適用可能である。また本発明において、その内容は全て
が必須ではなく、いくつかが省略されていても良い。順番がこれに限定されないことは勿
論である。
図7は記録媒体上での制御情報信号と、映像音声などの情報データとの記録位置を、模
式的に描いたものである。同図で(a)はテープ媒体に適したものである。この場合、制
御信号のブロックはたとえば記録トラック毎にあることが望まれる。したがって、トラッ
ク毎に映像音声などの情報に、たとえば先行してそのヘッダー部などに制御情報のブロッ
クが配置される。(b)はディジタルビデオディスクなどに適したものである。この場合
、ある情報量のセクタ毎にあることが望まれる。従って、セクタ毎そのヘッダー部などに
配置される。(c)はハードディスクなどに適したものである。この場合、映像音声など
の情報と制御情報とはディスク上で離れた位置に記録し、起動時は短時間の内に全体の制
御情報を読み取れるようにすると良い。
Copy Never とされた情報は、一時記録を開始した後、許された制限時間(図6のPa
use時間)を経過した後は、再生の有無に係わらず視聴できなくなる。この場合、その
時点の放送をディスプレイに映出しても良いが、制限時間を経過する前に、自動的に一時
記録したものを最初から再生し映出しても良い。この時、やはり文字表示を行い、ユーザ
に再生することを知らせると良い。ユーザが視聴を忘れることを防止できる効果がある。
ハードディスクを用いた装置などは、記録と再生を同時に行うことができるので、再生し
ながら、その時点の放送も引続き一時記録でき、許されたPause時間以上の放送時間
を要すプログラムも、全て時間をシフトして視聴できる。
許されたPause時間を過ぎる時に再生を開始したのでは、再生中に一旦停止するこ
とができなくなる。強いて停止すれば、直ちに制限時間切れとなり、再生できなくなる。
そこでユーザの選択により、Pause時間を過ぎる前に自動的に再生を開始しても良い
。たとえば、90分のPause時間に対し、一時記録開始後、30分、ないし60分経
過後に、再生を自動的に開始できるようにする。
ここまで、図6(a)のPause106aは、コピー制御情報104aが Copy Neve
r を示すときに、前記した一時記録をして良いか否かを示す場合を述べた。この情報はさ
らに進んで、コピー制御情報が Copy One Generation を示す時にも活用することができ
る。すなわち、Copy One Generation の情報も一時記録を認めることがある。たとえば9
0分の制限時間を設定して記録した後、この期間はコピー制御情報104bを Copy One
Generation のままとし、制限時間を経過した後、Copy No More と書替えるようにする。
あるいは、コピー制御情報104bを Copy No More と書替えて記録し、制限時間内に再
生した際は、これを Copy One Generation と、図4の信号出力回路4208などで書替
えて出力する。
この場合も、制限時間内に複数の装置間で一時記録を繰返せば、永い間、Copy One Gen
eration のまま残ってしまう。そこで、さきのPause106a,106bのビットを
、ここでも一時記録をして良いか否かを示すものとして利用する。同じ情報のコピー制御
情報が、同時に Copy Never, Copy One Generation の双方にはならないので利用可能で
ある。
これが一時記録を認めない“1”の場合は“1”のままで記録し、またコピー制御情報
を Copy No More と書替えて記録することで、上記した一時記録の繰り返しを阻止できる
一時記録を認める“0”の場合は、これを“1”と書替えて記録するか、または“0”
のままで記録し、再生し出力する際に“1”と書替える。コピー制御情報は Copy One Ge
neration のままで記録するか、またはCopy No More と書替えて記録したうえで、再生し
出力する際に、上記した制限時間内であれば、Copy One Generation と書替えて出力する
。これにより、制限時間内で一世代のみのコピーを許すという Copy One Generation の
情報の一時記録を、その繰り返しを阻止したうえで実現できる。
さらには、Pause時間109a,109bも利用して、Copy One Generation のま
まで記録媒体に留まる制限時間を選べるようにしても良い。このようにすれば、制限時間
の短さによるユーザの不便を解消できる。なお、Copy One Generation の情報は、これを
記録する際に、複数台の装置へ同時に記録することを認めることが多い。この場合、ディ
ジタル情報を供給するバスへ、実際に接続できる装置の数だけ記録を作ることができる。
次に、図1の情報提供局1から送信された際に、図6(a)のコピー制御情報104a
が Copy One Generation である場合について、本実施形態の動作を説明する。この場合
は、製作者によってPause106aが規定され、一時記録を認める場合は例えば“0
”、認めない場合は“1”とする。
これを受信装置3に内蔵される第一の記録再生装置4に一時記録する場合を考える。P
ause106aが“1”であるならば、一時記録は行われない。
これが“0”であるならば、一時記録が可能である。この時、Pause106bは“
1”と書替えて一時記録する。また、コピー制御情報104bは Copy One Generation
のまま一時記録する。あるいは、コピー制御情報104bを記録符号化回路4105で C
opy No More と書替えて一時記録し、再生時に記録時刻107bとPause時間109
bから判断して、制限時間内であればCopy One Generation と書替えて出力する。Pau
se106bの書替えにより、制限時間内での一時記録の繰返しにより、長い間 Copy On
e Generation のまま留まることを防止できる。
なお、コピー制御情報104bを Copy One Generation のまま一時記録した場合は、
例えば再生時に上記した制限時間を過ぎている時には、信号出力回路4208で Copy No
More と書替えて出力する。以上述べた方法で、Copy One Generation とされた情報の一
時記録が実現できる。
また第一の記録再生装置4に、一時記録ではない通常の記録を行う場合を考える。この
時、記録符号化回路4105でコピー制御情報104bを Copy No More と書替え、Pa
use106bを“1”として媒体へ記録する。
以上のように第一の記録再生装置4で記録し、また再生された情報を、2つの記録再生
部61,62を有する第二の記録再生装置6へ供給する場合を考える。
まずこの段階で第一の記録再生装置4での、一時記録の制限時間内であれば、受信装置
3で最初に受信した時と同様に、Copy One Generation としての扱いを行え、記録をする
ことができる。但し、Pause106bは“1”となっているので、一時記録を行うこ
とはできない。一時記録は、情報を第一の記録再生装置4を介さずに受信装置3から直接
受け、Pause106aが“0”であった場合にのみ可能である。
記録を行う際に、記録符号化回路4105でコピー制御情報104bは Copy No More
と書替えられ、これ以上のコピーは取れないようにされる。これで、元々のCopy One Gen
eration(一世代のみコピー認可)とする意図が達成できる。
この場合、前記したように2個(一般にn個)の記録再生部を有する装置を認証限界の
最大62台集めて接続すると、コピー媒体が最大124個(一般に62×n個)発生する
問題がある。これでは著作権者に新たな不利益を生む。本実施形態では、これを解決する
ために次のようにする。
一つは、第二の記録再生装置6は複数の記録再生部を持つのであるが、Copy One Gener
ation である情報を記録する時は、いずれか一つの記録再生部のみに記録するように構成
することである。いずれを選ぶかは、ユーザに選択させても良く、また装置側で選んでも
良い。
または、ソース側装置(この場合は第一の記録再生装置4)からみて、接続し認証する
シンク側装置(この場合は第二の記録再生装置6)の数を、例えば従来の半分の31台に
制限することである。これは、再生制御回路4212のソフトウェア上の操作で容易に実
現でき、シンク側装置がn=2個の記録再生部を持つものだけであるならば有効である。
しかし、n=3個以上の記録再生部をもつ装置が含まれれば、62個以上の記録媒体が作
成され、逆に、n=1個の記録再生部だけの装置を接続した場合は、31個の記録媒体し
か作成できなくなる。
すなわち、接続し認証するシンク側装置の数がm台に制限し、シンク側装置で記録でき
る記録再生部(媒体)の数をn個に制限すれば、コピーの数を最大m×n個に制限するこ
とができる。
そこで、他の実施形態では、接続した装置との認証を行なう動作において、ソース側装
置が、接続されたシンク側装置の記録再生部の数を把握する方法を用いる。認証とは、複
数の装置をケーブルなどで接続した際に、まずシンク側装置からソース側装置へキー情報
を送ることで開始される。このキー情報は、シンク側装置が、例えば前記したコピー制御
情報に従って動作する装置であることを、ソース側装置へ知らせる働きをする。このキー
情報により、ソース側装置がシンク側装置へ情報を与えて良いと判断すれば認証が成立し
、装置間でコピー並びに以下で述べる移動などの動作が行われる。従って、認証が成立し
なければ、その装置間でこれらの動作を行うことはできない。
シンク側装置からソース側装置へ送るキー情報に、シンク側装置の持つ記録再生部の数
を示すコード、ないしその時点で記録媒体を取付けてある記録再生部の数を示すコードを
加え、この数をソース側装置で累計する。例えば制限数62を越した場合、これ以上シン
ク側装置が増えて認証のキー情報を送ったとしても、ソース側装置は認証の成立を拒否す
る。このようにすれば、制限数を越した数の記録媒体が作成される問題を解消できる。
なお、シンク側装置の記録再生部のうち、そのいくつかが記録した情報を誤って失った
時のバックアップを目的とするならば、その分は上記した累計数に含めない方法もある。
他の方法として、2個の記録再生部61,62の一方は、媒体として取外ししないハー
ドディスクを用い、他方は取外しできる磁気テープ、光ディスクなどの媒体を用いる場合
に、特に有効な方法をあげる。これは、従来どおり62台までシンク側装置を接続し、各
装置の2個の記録再生部に記録する。期待したとおりに記録を完了した後すぐに、あるい
は記録を完了して取外しできる媒体を取外した際に、ハードディスク側に記録された情報
を再生不能化する。つまり、記録符号化回路4105は情報として意味のない符号を発生
させて、ハードディスクの該当箇所へ記録し、実質的に情報を再生利用できない程度に、
少なくもその一部を、あるいは全部を再生不能化する。これにより、取外しできる媒体側
での記録失敗をおこした際のバックアップを、ハードディスク側でとりながら、最終的に
残る媒体の数は、従来どおり62個までに制限し、著作権者、製作者、ユーザのいずれに
も不利益を与えずに、問題を解決できる。
なお、ハードディスク上に記録した情報が特定用途に限定され、例えば記録した情報を
誤って失った時のバックアップを目的とするならば、再生不能化せずに残すことも考えら
れる。
通常はアクセスできず、記録した情報を失った時の修復のみにしか使用されないように
機能が限定されていれば、実質的なコピー数を増やすことにはならず、かつ、記録した情
報の信頼性を向上させることができる。
上記説明では、簡単のために、1個の記録媒体に1個のディジタル情報を記録すること
を前提とした。1個の記録媒体に複数個のディジタル情報が記録される場合には、記録媒
体単位ではなく、ディジタル情報を単位として記録を制限することが可能である。たとえ
ば、いずれか1個の記録媒体だけが、同じ2個のディジタル情報を記録するならば、記録
できる記録媒体数は1個減って、61個とする。これもシンク側装置からソース側装置へ
、記録するディジタル情報の数を知らせることで、管理できる。但し、同じ記録媒体へ同
じディジタル情報を複数個記録する目的は、多くの場合、前記したように、情報を誤って
失った場合のバックアップである。そこで、この場合もディジタル情報単位ではなく、記
録媒体単位で記録を制限するようにしても良い。
最後に、“移動”ないし“move”と称する動作モードについて述べる。これは、コ
ピー制御情報が Copy One Generation であった情報が記録されて、Copy No More となり
、あるいは、一時記録された後、上記した制限時間を過ぎ Copy No More として出力され
るようになってから、適用されるものである。Copy No More であっても、記録した媒体
を増やすことがなければ、媒体を変更したとしても、著作権者などへ不利益を与えること
はない。ユーザにとっては、たとえば最初ハードディスクへ記録したものを、テープへ移
動して保管する手段を与えられ、使い勝手が向上する。
この移動を行うための条件は、次のとおりである。(1)新たな媒体へ記録した際に、
元の媒体の情報の全体ないし一部を消去するなどして、元の媒体からは、少なくも実用レ
ベルの品質の情報を再生出力することが出来ないようにすること。(2)移動する先の装
置は1台に限られること。
これらの条件のうち(1)は、たとえばディスク媒体の場合、さきの記録符号化回路4
105で、情報として意味のない符号を発生させ、たとえば暗号化情報111に上書きす
るなどすれば、目的を達成できる。(2)は移動元となる装置と、移動先となる装置との
間で、キーの交換などによる認証を行い、これが2台の装置の間だけで1対1で成立する
ようにすれば良い。このようにすれば、移動先となる装置以外にもバスが接続されていた
としても、そこへ記録される恐れはなく、記録した媒体が増加することはない。
移動に際しては、移動先の装置で記録できるようにするために、移動元の装置から出力
されるコピー制御情報は、Copy One Generation と書替えられる場合もある。この時、本
来の Copy One Generation とは異なり、複数台の装置に記録されることを阻止せねばな
らない。上記したような認証を行えば、これを満足することができる。
しかし、図1で示した例では、移動先として接続された第二の記録再生装置6には2個
の記録再生部があるので、たとえこの1台の記録再生装置に移動したとしても、記録した
媒体が2個存在する問題がある。ソース装置との間の認証は、筐体上の接続端子を切り口
とするため、認証方法の改良では解決しない。
これを解決する方法の一つは、今後開発される通称ダブルデッキでは、移動に際して、
いずれか一方の記録再生部のみでしか記録できないようにすることである。これは、ユー
ザにいずれの装置を使用するか選択させる方法と、装置側で選択設定する方法とがある。
他の方法として、前記した例と同様に、2個の記録再生部61,62の一方が媒体とし
て取外ししないハードディスクを用い、他方が磁気テープ、光ディスクなど取外しできる
媒体を用いる場合に、特に有効な方法をあげる。これは移動の場合も、2個の記録再生部
とも情報を与えて記録し、期待したとおりに記録を完了した後すぐに、あるいは、記録を
完了して取外しできる媒体を取外した際に、ハードディスク側の情報を再生不能化する。
つまり、記録符号化回路4105で情報として意味のない符号を発生させてハードディス
ク上の該当箇所へ記録し、実質的に情報を再生利用できない程度に、少なくもその一部を
、あるいは全部を再生不能化する。これにより、取外しできる媒体側での記録失敗をおこ
した際のバックアップをハードディスク側でとりながら、最終的に残る媒体の数は、1個
のみに制限し、“移動”本来の動作を実現できる。
なお、上記した移動を行った際は、ソース側である第一の記録再生装置4の該当情報は
、例えば記録符号化回路4105を用いて再生不能化される。
さらに、ハードディスク側で記録した情報が特定用途に限定され、例えば記録した情報
を誤って失った時のバックアップを目的とするならば、再生不能化せずに残すことも考え
られる。
ここまで、ハードディスクは装置から取外されない記録媒体として述べてきた。しかし
ながら、これを故意に取外して他の装置へ装着し、他の装置で情報を再生される恐れがあ
る。この場合、上記したような再生不能化を施す前に取外されると、著作権者の預かり知
らないところで情報が流用されることになる。
そこで、ハードディスクへ記録する情報は、記録装置固有のデバイスキーを用いて暗号
化して記録すると良い。このようにすれば、これを取外して他の装置へ装着しても、暗号
を解読するためのデバイスキーを入手できず、再生して使用することはできない。このた
めの暗号化は、やはり暗号化回路4103で行う。
1・・・・・・放送局などの情報提供局16・・・・・管理情報付与回路104a,10
4b・・・コピー制御105a,105b・・・APS106a,106b・・・Pau
se109a,109b・・・Pause時間2・・・・・・中継局3・・・・・・受信
装置4・・・・・・第一の記録再生装置41・・・・・記録回路4108・・・制御検出
回路4109・・・記録制御回路42・・・・・再生回路4208・・・信号出力回路4
210・・・制御検出回路4212・・・再生制御回路43・・・・・記録再生部5・・
・・・・ディスプレイ6・・・・・・第二の記録再生装置61・・・・・第一の記録再生
部62・・・・・第二の記録再生部

Claims (33)

  1. 入力されたディジタル情報を記録媒体に記録するためのディジタル情報記録装置におい
    て、
    上記ディジタル情報には、該ディジタル情報を記録媒体に記録することを許すか否かを
    示す第一のコピー制御情報と、該第一のコピー制御情報が記録することを許さないことを
    示す場合にも、再生に際して規定の制限時間を持つ一時記録を許すか否かを示す第二のコ
    ピー制御情報が付加されており、
    上記ディジタル情報に所定の処理を行い記録媒体に記録する記録回路と、
    上記ディジタル情報に付加されている上記第一および第二のコピー制御情報を検出する
    制御検出回路と、
    該制御検出回路での検出結果に基づき上記記録回路の記録動作を制御する記録制御回路
    とを備え、
    上記記録制御回路は、上記制御検出回路で検出した第一および第二のコピー制御情報に
    従い上記記録回路の記録動作を制御し、
    上記第二のコピー制御情報が、規定の制限時間を持つ一時記録を許すことを示す場合は
    、上記ディジタル情報を記録媒体に記録することを特徴とするディジタル情報記録装置。
  2. 入力されたディジタル情報を記録媒体に記録するためのディジタル情報記録装置におい
    て、
    上記ディジタル情報には、該ディジタル情報を記録媒体に記録することを許すか否かを
    示す第一のコピー制御情報と、該第一のコピー制御情報が記録することを許さないことを
    示す場合にも、再生に際して規定の制限時間を持つ一時記録を許すか否かを示す第二のコ
    ピー制御情報と、上記制限時間を指定する第三のコピー制御情報が付加されており、
    上記ディジタル情報に所定の処理を行い記録媒体に記録する記録回路と、
    上記ディジタル情報に付加されている上記コピー制御情報を検出する制御検出回路と、
    該制御検出回路での検出結果に基づき上記記録回路の記録動作を制御する記録制御回路
    とを備え、
    上記記録制御回路は、上記制御検出回路で検出した第一および第二のコピー制御情報に
    従い上記記録回路の記録動作を制御し、
    上記第二のコピー制御情報が、規定の制限時間を持つ一時記録を許すことを示す場合は
    、上記ディジタル情報を記録媒体に記録することを特徴とするディジタル情報記録装置。
  3. 前記第二のコピー制御情報が、規定の制限時間を持つ一時記録を許すことを示す場合は
    、前記記録回路は、一時記録を許さないことを示す情報を、前記ディジタル情報に付加し
    て記録媒体に記録することを特徴とする請求項1または請求項2に記載のディジタル情報
    記録装置。
  4. 前記記録媒体に一時記録した後に、前記制限時間を過ぎている場合には、一時記録した
    前記ディジタル情報の少なくとも一部を再生不能化することを特徴とする請求項1または
    請求項2に記載のディジタル情報記録装置。
  5. ディジタル情報を、記録媒体から再生するためのディジタル情報再生装置において、
    上記再生されるディジタル情報には、該ディジタル情報を他の記録媒体に記録すること
    を許すか否かを示す第一のコピー制御情報と、該第一のコピー制御情報が記録することを
    許さないことを示す場合にも、再生に際して規定の制限時間を持つ一時記録を許すか否か
    を示す第二のコピー制御情報が付加されており、
    上記再生されるディジタル情報に所定の処理を行って出力する再生回路と、
    少なくとも上記再生されるディジタル情報に付加されている上記第一のコピー制御情報
    を検出する制御検出回路と、
    該制御検出回路での検出結果に基づき上記再生回路の再生動作を制御する再生制御回路
    とを備え、
    検出した第一のコピー制御情報が記録することを許さないことを示し、かつ、記録後規
    定の制限時間を過ぎている場合には、再生した情報の出力を行わないことを特徴とするデ
    ィジタル情報再生装置。
  6. ディジタル情報を、記録媒体から再生するためのディジタル情報再生装置において、
    上記再生されるディジタル情報には、該ディジタル情報を他の記録媒体に記録すること
    を許すか否かを示す第一のコピー制御情報と、該第一のコピー制御情報が記録することを
    許さないことを示す場合にも、再生に際して規定の制限時間を持つ一時記録を許すか否か
    を示す第二のコピー制御情報と、上記制限時間を指定する第三のコピー制御情報が付加さ
    れており、
    上記再生されるディジタル情報に所定の処理を行って出力する再生回路と、
    少なくとも上記再生されるディジタル情報に付加されている第一および第三のコピー制
    御情報を検出する制御検出回路と、
    該制御検出回路での検出結果に基づき上記再生回路の再生動作を制御する再生制御回路
    とを備え、
    検出した第一のコピー制御情報が記録することを許さないことを示し、かつ、記録後第
    三のコピー制御情報に規定の制限時間を過ぎている場合には、再生した情報の出力を行わ
    ないことを特徴とするディジタル情報再生装置。
  7. 前記制御検出回路は、さらに上記再生されるディジタル情報に付加されている第二のコ
    ピー制御情報を検出し、
    検出した第一のコピー制御情報が記録することを許さないことを示し、かつ、第二のコ
    ピー制御情報が再生に際して規定の制限時間を持つ一時記録を許すことを示し、記録後規
    定の制限時間を過ぎていない場合には、再生に際して規定の制限時間を持つ一時記録を許
    さない情報を再生した情報に付加して出力することを特徴とする請求項5または請求項6
    に記載のディジタル情報再生装置。
  8. 前記ディジタル情報が、記録後規定の制限時間を経過した後、もしくは一時記録したデ
    ィジタル情報の再生を行った際に、前記記録媒体に記録された前記ディジタル情報の少な
    くとも一部を再生不能化することを特徴とする請求項5または請求項6に記載のディジタ
    ル情報再生装置。
  9. 入力されたディジタル情報を記録媒体に記録し、再生するためのディジタル情報記録再
    生装置において、
    上記ディジタル情報には、該ディジタル情報を記録媒体に記録することを許すか否かを
    示す第一のコピー制御情報と、該第一のコピー制御情報が記録することを許さないことを
    示す場合にも、再生に際して規定の制限時間を持つ一時記録を許すか否かを示す第二のコ
    ピー制御情報が付加されており、
    上記ディジタル情報に所定の処理を行い記録媒体に記録する記録回路と、
    上記再生されるディジタル情報に所定の処理を行って出力する再生回路とを備え、
    上記した一時記録を行った部分が上記した制限時間を経過する際に、もしくは経過する
    前に、上記再生回路は、該一時記録した情報の再生を行うことを特徴とするディジタル情
    報記録再生装置。
  10. ディジタル情報を、記録装置に向けて送信するディジタル情報送信装置において、
    該ディジタル情報を記録媒体に記録することを許すか否かを示す第一のコピー制御情報
    と、該第一のコピー制御情報が記録することを許さないことを示す場合にも、再生に際し
    て規定の制限時間を持つ一時記録を許すか否かを示す第二のコピー制御情報とを、上記デ
    ィジタル情報に付加して送信する送信回路を有したことを特徴とするディジタル情報送信
    装置。
  11. 入力されたディジタル情報を記録媒体に記録するためのディジタル情報記録装置におい
    て、
    上記ディジタル情報には、該ディジタル情報を記録媒体に記録することを許すか否かを
    示す第一のコピー制御情報と、該第一のコピー制御情報が一世代のみ記録することを許す
    ことを示す場合に、記録後規定の制限時間の間は一世代のみ記録することを許した状態の
    まま再生出力することを許すか否かを示す第二のコピー制御情報が付加されており、
    上記ディジタル情報に所定の処理を行い記録媒体に記録する記録回路と、
    上記ディジタル情報に付加されている、上記第一および第二のコピー制御情報を検出す
    る制御検出回路と、
    該制御検出回路での検出結果に基づき上記記録回路の記録動作を制御する記録制御回路
    とを備え、
    上記記録制御回路は、上記制御検出回路で検出した第一および第二のコピー制御情報に
    従い上記記録回路の記録動作を制御し、
    上記第二のコピー制御情報が上記した記録後規定の制限時間の間は一世代のみ記録する
    ことを許した状態のまま再生出力することを許すことを示す場合は、一時記録を許さない
    ことを示す情報を、上記ディジタル情報に付加して記録媒体に記録することを特徴とする
    ディジタル情報記録装置。
  12. ディジタル情報を、記録媒体から再生するためのディジタル情報再生装置において、
    上記再生されるディジタル情報には、該ディジタル情報を他の記録媒体に記録すること
    を許すか否かを示すコピー制御情報が付加されており、
    上記再生されるディジタル情報に所定の処理を行って出力する再生回路と、
    上記コピー制御情報を検出する制御検出回路と、
    該制御検出回路での検出結果に基づき上記再生回路の再生動作を制御する再生制御回路
    とを備え、
    検出したコピー制御情報が一世代のみ記録することを許すこと、ないし一世代の記録済
    みのためこれ以上の記録を許さないことを示す場合には、記録後規定の制限時間の間は、
    一世代のみ記録することを許した状態のまま再生出力することを許さないことを示す情報
    を再生した情報に付加して出力することを特徴とするディジタル情報再生装置。
  13. ディジタル情報を、記録装置に向けて送信するディジタル情報送信装置において、
    該ディジタル情報を記録媒体に記録することを許すか否かを示す第一のコピー制御情報
    と、該第一のコピー制御情報が一世代のみ記録することを許すことを示す場合に、記録後
    規定の制限時間の間は一世代のみ記録することを許した状態のまま再生出力することを許
    すか否かを示す第二のコピー制御情報とを、上記ディジタル情報に付加して送信する送信
    回路を有したことを特徴とするディジタル情報送信装置。
  14. 複数の記録媒体に入力されたディジタル情報を記録する機能を有するディジタル情報記
    録装置において、
    上記入力されたディジタル情報を、上記複数の記録媒体へ記録するための複数の記録手
    段を有し、
    上記入力されたディジタル情報に付されたコピー制御情報が、コピーを制限することを
    示す場合には、
    上記ディジタル情報を記録可能な記録媒体の数を制限することを特徴とするディジタル
    情報記録装置。
  15. 前記コピー制御情報が一世代のみコピーを認可することを示す場合は、前記ディジタル
    情報を記録可能な媒体の数を所定数個に制限することを特徴とする請求項14に記載のデ
    ィジタル情報記録装置。
  16. 前記ディジタル情報を記録可能な媒体の数にバックアップのための記録を含めないこと
    を特徴とする請求項14に記載のディジタル情報記録装置。
  17. 外部に接続された複数の情報記録装置にディジタル情報を出力可能なディジタル情報出
    力装置において、
    接続された上記情報記録装置を認証し、該情報記録装置に装着された記録媒体の総数を
    検知する認証手段と、
    接続された上記情報記録装置へのディジタル情報の出力を制御する出力制御手段とを有
    し、
    上記ディジタル情報に付されたコピー制御情報が、コピーを制限することを示し、上記
    認証手段にて検知した外部情報記録装置の記録媒体の総数が、所定の許容数を超える場合
    には、
    上記出力制御手段は、接続された情報記録装置のうち一部の装置への上記ディジタル情
    報の出力を行わないことを特徴とするディジタル情報出力装置。
  18. 前記コピー制御情報が一世代のみコピーを認可することを示し、前記認証手段にて検知
    した外部情報記録装置の記録媒体の総数が、上記一世代のみコピーを認可する際の記録媒
    体の許容数を超える場合には、
    前記出力制御手段は、接続された情報記録装置のうち一部の装置への上記ディジタル情
    報の出力を行わないことを特徴とする請求項17に記載のディジタル情報出力装置。
  19. 複数の記録媒体に入力されたディジタル情報を記録する機能を有するディジタル情報記
    録装置において、
    上記入力されたディジタル情報を、上記複数の記録媒体へ記録するための複数の記録手
    段を有し、
    上記入力されたディジタル情報に付されたコピー制御情報が、コピーを制限することを
    示す場合には、
    上記した複数の記録手段により複数の記録媒体に一旦上記ディジタル情報を記録した後
    、少なくとも1つの記録媒体を残して、他の記録媒体に記録されたディジタル情報を再生
    不能化することを特徴とするディジタル情報記録装置。
  20. 複数の記録媒体に入力されたディジタル情報を記録する機能を有するディジタル情報記
    録装置において、
    上記入力されたディジタル情報を、上記複数の記録媒体へ記録するための複数の記録手
    段を有し、
    上記入力されたディジタル情報に付されたコピー制御情報が、コピーを制限することを
    示す場合には、
    上記した複数の記録手段のうちの1つの記録手段により、1つの記録媒体にのみ上記デ
    ィジタル情報を記録することを特徴とするディジタル情報記録装置。
  21. 前記コピー制御情報が、コピーを認可しないディジタル情報の移動であることを示す場
    合には、
    前記した複数の記録手段のうちの1つの記録手段により、1つの記録媒体にのみ前記デ
    ィジタル情報を記録することを特徴とする請求項20に記載のディジタル情報記録装置。
  22. 複数の記録媒体に入力されたディジタル情報を記録する機能を有するディジタル情報記
    録装置において、
    上記入力されたディジタル情報を、上記複数の記録媒体へ記録するための複数の記録手
    段を有し、
    上記入力されたディジタル情報に付されたコピー制御情報が、コピーを認可しないディ
    ジタル情報の移動であることを示す場合には、
    上記した複数の記録手段により複数の記録媒体に一旦上記ディジタル情報を記録した後
    、いずれか1つの記録媒体を残して、他の記録媒体に記録されたディジタル情報を再生不
    能化することを特徴とするディジタル情報記録装置。
  23. 入力されたディジタル情報を、記録媒体に記録するためのディジタル情報記録装置にお
    いて、
    上記入力されたディジタル情報を、上記記録媒体へ記録するための記録手段を有し、
    上記入力されたディジタル情報に付されたコピー制御情報が、コピーを制限することを
    示す場合には、
    上記記録媒体に記録する上記ディジタル情報のコピーの数を制限することを特徴とする
    ディジタル情報記録装置。
  24. 入力されたディジタル情報を、記録媒体に記録するためのディジタル情報記録装置にお
    いて、
    上記入力されたディジタル情報を、上記記録媒体へ記録するための記録手段を有し、
    上記入力されたディジタル情報に付されたコピー制御情報が、コピーを制限することを
    示す場合には、
    上記ディジタル情報を記録可能な記録媒体の数を制限することを特徴とするディジタル
    情報記録装置。
  25. 前記コピー制御情報が一世代のみコピーを認可することを示す場合は制限を行うことを
    特徴とする請求項23または24に記載のディジタル情報記録装置。
  26. 複数の記録媒体を装着し、前記入力されたディジタル情報を、上記複数の記録媒体へ記
    録可能とするための複数の記録手段を有することを特徴とする請求項23または24に記
    載のディジタル情報記録装置。
  27. 前記第二のコピー制御情報が再生に際して規定の制限時間を持つ一時記録を許すことを
    示す場合に、制限時間を持つ一時記録が許されていること、あるいは、制限時間を持つ一
    時記録しか許されていないことを表示装置に表示させることを特徴とする請求項1に記載
    のディジタル情報記録装置。
  28. 入力されたディジタル情報を記録媒体に記録再生するためのディジタル情報記録再生装
    置において、
    上記ディジタル情報には、該ディジタル情報を記録媒体に記録することを許すか否かを
    示す第一のコピー制御情報と、該第一のコピー制御情報が記録することを許さないことを
    示す場合にも、再生に際して規定の制限時間を持つ一時記録を許すか否かを示す第二のコ
    ピー制御情報が付加されており、
    上記ディジタル情報に所定の処理を行い記録媒体に記録再生する記録再生回路と、
    上記ディジタル情報に付加されているコピー制御情報あるいは再生されたディジタル情
    報に付加されている制御情報を検出する制御検出回路と、
    該制御検出回路での検出結果に基づき上記記録再生回路の記録再生動作を制御する記録
    制御回路とを備え、
    上記第二のコピー制御情報が、規定の制限時間を持つ一時記録を許すことを示す場合に
    は上記ディジタル情報を記録媒体に記録し、かつ、記録後規定の制限時間を過ぎている場
    合には再生した情報の出力を行わないことを特徴とするディジタル情報記録再生装置。
  29. 入力されたディジタル情報を記録媒体に記録再生するためのディジタル情報記録再生装
    置において、
    上記ディジタル情報には、該ディジタル情報を記録媒体に記録することを許すか否かを
    示す第一のコピー制御情報と、該第一のコピー制御情報が記録することを許さないことを
    示す場合にも、再生に際して規定の制限時間を持つ一時記録を許すか否かを示す第二のコ
    ピー制御情報と、上記制限時間を指定する第三のコピー制御情報が付加されており、
    上記ディジタル情報に所定の処理を行い記録媒体に記録再生する記録再生回路と、
    上記ディジタル情報に付加されているコピー制御情報あるいは再生されたディジタル情
    報に付加されている制御情報を検出する制御検出回路と、
    該制御検出回路での検出結果に基づき上記記録再生回路の記録再生動作を制御する記録
    制御回路とを備え、
    上記第二のコピー制御情報が、規定の制限時間を持つ一時記録を許すことを示す場合に
    は上記ディジタル情報を記録媒体に記録し、かつ、記録後第三のコピー制御情報に規定の
    制限時間を過ぎている場合には再生した情報の出力を行わないことを特徴とするディジタ
    ル情報記録再生装置。
  30. 前記第二のコピー制御情報が、規定の制限時間を持つ一時記録を許すことを示し、記録
    後規定の制限時間を過ぎていない場合には、再生に際して規定の制限時間を持つ一時記録
    を許さない情報を再生した情報に付加して出力することを特徴とする請求項28または請
    求項29に記載のディジタル情報記録再生装置。
  31. 前記ディジタル情報が、記録後規定の制限時間を経過した後、もしくは一時記録したデ
    ィジタル情報の再生を行った際に、前記記録媒体に記録された前記ディジタル情報の少な
    くとも一部を再生不能化することを特徴とする請求項28または請求項29に記載のディ
    ジタル情報記録再生装置。
  32. 前記送信回路は、前記制限時間を指定する第三のコピー制御情報を、前記ディジタル情
    報に付加して送信することを特徴とする請求項10に記載のディジタル情報送信装置。
  33. 入力されたディジタル情報を記録媒体に記録再生するためのディジタル情報記録再生装
    置において、
    上記ディジタル情報には、少なくとも該ディジタル情報を記録媒体に一世代のみ記録す
    ることを許すか否かを示すコピー制御情報が付加されており、
    上記ディジタル情報に所定の処理を行い記録媒体に記録再生する記録再生回路と、
    上記ディジタル情報に付加されているコピー制御情報あるいは再生されたディジタル情
    報に付加されている制御情報を検出する制御検出回路と、
    該制御検出回路での検出結果に基づき上記記録回路の記録再生動作を制御する記録再生
    制御回路とを備え、
    上記ディジタル情報に付加されているコピー制御情報が一世代のみ記録することを許す
    場合には、記録後規定の制限時間の間は、一世代のみ記録することを許すことを示す情報
    を再生した情報に付加して出力することを特徴とするディジタル情報記録再生装置。
JP2009184000A 2001-04-06 2009-08-07 ディジタル情報受信装置、ディジタル情報受信方法、ディジタル情報送受信方法及びディジタル情報送信方法 Expired - Lifetime JP4637254B2 (ja)

Priority Applications (1)

Application Number Priority Date Filing Date Title
JP2009184000A JP4637254B2 (ja) 2001-04-06 2009-08-07 ディジタル情報受信装置、ディジタル情報受信方法、ディジタル情報送受信方法及びディジタル情報送信方法

Applications Claiming Priority (3)

Application Number Priority Date Filing Date Title
JP2001107927 2001-04-06
JP2001205608 2001-07-06
JP2009184000A JP4637254B2 (ja) 2001-04-06 2009-08-07 ディジタル情報受信装置、ディジタル情報受信方法、ディジタル情報送受信方法及びディジタル情報送信方法

Related Parent Applications (1)

Application Number Title Priority Date Filing Date
JP2008105238A Division JP4379528B2 (ja) 2001-04-06 2008-04-15 ディジタル情報受信装置、ディジタル情報受信方法、ディジタル情報送受信方法及びディジタル情報送信方法

Related Child Applications (1)

Application Number Title Priority Date Filing Date
JP2010065427A Division JP4846035B2 (ja) 2001-04-06 2010-03-23 ディジタル情報再生出力装置およびディジタル情報出力方法

Publications (3)

Publication Number Publication Date
JP2010003404A true JP2010003404A (ja) 2010-01-07
JP2010003404A5 JP2010003404A5 (ja) 2010-03-04
JP4637254B2 JP4637254B2 (ja) 2011-02-23

Family

ID=39606776

Family Applications (4)

Application Number Title Priority Date Filing Date
JP2007309630A Expired - Fee Related JP4337927B2 (ja) 2001-04-06 2007-11-30 ディジタル情報受信装置、ディジタル情報受信方法、ディジタル情報送受信方法及びディジタル情報送信方法
JP2008105238A Expired - Lifetime JP4379528B2 (ja) 2001-04-06 2008-04-15 ディジタル情報受信装置、ディジタル情報受信方法、ディジタル情報送受信方法及びディジタル情報送信方法
JP2009184000A Expired - Lifetime JP4637254B2 (ja) 2001-04-06 2009-08-07 ディジタル情報受信装置、ディジタル情報受信方法、ディジタル情報送受信方法及びディジタル情報送信方法
JP2010065427A Expired - Fee Related JP4846035B2 (ja) 2001-04-06 2010-03-23 ディジタル情報再生出力装置およびディジタル情報出力方法

Family Applications Before (2)

Application Number Title Priority Date Filing Date
JP2007309630A Expired - Fee Related JP4337927B2 (ja) 2001-04-06 2007-11-30 ディジタル情報受信装置、ディジタル情報受信方法、ディジタル情報送受信方法及びディジタル情報送信方法
JP2008105238A Expired - Lifetime JP4379528B2 (ja) 2001-04-06 2008-04-15 ディジタル情報受信装置、ディジタル情報受信方法、ディジタル情報送受信方法及びディジタル情報送信方法

Family Applications After (1)

Application Number Title Priority Date Filing Date
JP2010065427A Expired - Fee Related JP4846035B2 (ja) 2001-04-06 2010-03-23 ディジタル情報再生出力装置およびディジタル情報出力方法

Country Status (1)

Country Link
JP (4) JP4337927B2 (ja)

Families Citing this family (1)

* Cited by examiner, † Cited by third party
Publication number Priority date Publication date Assignee Title
JP4337927B2 (ja) * 2001-04-06 2009-09-30 株式会社日立製作所 ディジタル情報受信装置、ディジタル情報受信方法、ディジタル情報送受信方法及びディジタル情報送信方法

Citations (8)

* Cited by examiner, † Cited by third party
Publication number Priority date Publication date Assignee Title
JPH10283270A (ja) * 1997-04-09 1998-10-23 Fujitsu Ltd 再生許可方法、記録方法及び記録媒体
JPH11102572A (ja) * 1997-09-29 1999-04-13 Matsushita Electric Ind Co Ltd 記録装置、再生装置、記録再生装置、データ伝送装置および記録媒体
JPH11275516A (ja) * 1997-12-10 1999-10-08 Hitachi Ltd ディジタル放送信号の受信装置、記録再生装置及び受信・記録再生システム
JP2000082257A (ja) * 1998-06-26 2000-03-21 Matsushita Electric Ind Co Ltd 情報記録再生装置
JP2000149417A (ja) * 1998-11-02 2000-05-30 Matsushita Electric Ind Co Ltd 記録再生装置、プログラム記録媒体及び記録媒体
JP2000187935A (ja) * 1998-07-22 2000-07-04 Matsushita Electric Ind Co Ltd ディジタルデ―タ記録装置及びその方法並びにそのプログラムを記録したコンピュ―タ読み取り可能な記録媒体
JP2001094554A (ja) * 1999-09-20 2001-04-06 Sony Corp 情報送信システム、情報送信装置、情報受信装置、情報送信方法
JP2008146815A (ja) * 2001-04-06 2008-06-26 Hitachi Ltd ディジタル情報受信装置、ディジタル情報受信方法およびディジタル情報送受信方法

Family Cites Families (8)

* Cited by examiner, † Cited by third party
Publication number Priority date Publication date Assignee Title
JP3735967B2 (ja) * 1996-09-20 2006-01-18 ソニー株式会社 記録装置、記録方法
JP3361729B2 (ja) * 1997-08-05 2003-01-07 松下電器産業株式会社 記録装置
JPH11122282A (ja) * 1997-10-15 1999-04-30 Toshiba Corp ネットワーク間接続装置、ネットワークシステム及びデータ管理方法
JPH11219320A (ja) * 1998-02-03 1999-08-10 Toshiba Corp データ記録再生システム
WO1999046933A1 (en) * 1998-03-09 1999-09-16 Matsushita Electric Industrial Co., Ltd. Digital broadcasting receiver
EP0944256A1 (en) * 1998-03-19 1999-09-22 Hitachi Europe Limited Copy protection apparatus and method
JP2001008185A (ja) * 1999-06-21 2001-01-12 Matsushita Electric Ind Co Ltd データ記録出力装置及びプログラム記録媒体
JP3474510B2 (ja) * 2000-02-29 2003-12-08 株式会社東芝 ディジタル放送送信装置、その受信方法および受信装置

Patent Citations (8)

* Cited by examiner, † Cited by third party
Publication number Priority date Publication date Assignee Title
JPH10283270A (ja) * 1997-04-09 1998-10-23 Fujitsu Ltd 再生許可方法、記録方法及び記録媒体
JPH11102572A (ja) * 1997-09-29 1999-04-13 Matsushita Electric Ind Co Ltd 記録装置、再生装置、記録再生装置、データ伝送装置および記録媒体
JPH11275516A (ja) * 1997-12-10 1999-10-08 Hitachi Ltd ディジタル放送信号の受信装置、記録再生装置及び受信・記録再生システム
JP2000082257A (ja) * 1998-06-26 2000-03-21 Matsushita Electric Ind Co Ltd 情報記録再生装置
JP2000187935A (ja) * 1998-07-22 2000-07-04 Matsushita Electric Ind Co Ltd ディジタルデ―タ記録装置及びその方法並びにそのプログラムを記録したコンピュ―タ読み取り可能な記録媒体
JP2000149417A (ja) * 1998-11-02 2000-05-30 Matsushita Electric Ind Co Ltd 記録再生装置、プログラム記録媒体及び記録媒体
JP2001094554A (ja) * 1999-09-20 2001-04-06 Sony Corp 情報送信システム、情報送信装置、情報受信装置、情報送信方法
JP2008146815A (ja) * 2001-04-06 2008-06-26 Hitachi Ltd ディジタル情報受信装置、ディジタル情報受信方法およびディジタル情報送受信方法

Also Published As

Publication number Publication date
JP2010205397A (ja) 2010-09-16
JP2008146815A (ja) 2008-06-26
JP4637254B2 (ja) 2011-02-23
JP4379528B2 (ja) 2009-12-09
JP2008217978A (ja) 2008-09-18
JP4337927B2 (ja) 2009-09-30
JP4846035B2 (ja) 2011-12-28

Similar Documents

Publication Publication Date Title
JP3785983B2 (ja) ディジタル情報記録装置および情報記録再生装置
JP4062890B2 (ja) ディジタル情報記録再生装置
US20080310826A1 (en) Digital Information Recording Apparatus and Outputting Apparatus
JP3937889B2 (ja) ディジタル情報記録再生装置
JP4340694B2 (ja) ディジタル情報送信装置、ディジタル情報送信方法、ディジタル情報受信装置およびディジタル情報受信方法
JP4846035B2 (ja) ディジタル情報再生出力装置およびディジタル情報出力方法
JP4959851B2 (ja) ディジタル情報受信装置およびディジタル情報記録再生方法
JP2005168058A (ja) ディジタル情報記録装置
JP4538414B2 (ja) ディジタル情報記録再生装置、ディジタル情報受信装置およびディジタル情報送受信システム
JP4123290B2 (ja) ディジタル情報記録再生装置およびディジタル情報記録再生方法
JP2007257825A (ja) ディジタル情報受信装置およびディジタル情報受信方法
JP4597231B2 (ja) ディジタル情報記録再生装置、ディジタル情報受信装置、ディジタル情報送受信システム、ディジタル情報受信方法、およびディジタル情報送受信方法
JP2007234216A (ja) ディジタル情報受信装置およびディジタル情報受信方法
JP4254903B2 (ja) ディジタル放送信号受信装置およびディジタル放送信号受信方法
JP4876180B2 (ja) ディジタル情報記録再生装置、ディジタル情報記録再生方法、ディジタル情報送信方法、および、ディジタル情報送受信方法
JP4162033B2 (ja) ディジタル情報記録再生装置
JP5178037B2 (ja) ディジタル情報記録装置およびディジタル情報記録方法ディジタル情報送信装置およびディジタル情報送信方法、ディジタル情報処理装置およびディジタル情報処理方法
JP4919928B2 (ja) ディジタル情報受信装置、および、ディジタル情報出力方法
JP2008257847A (ja) ディジタル放送信号受信方法

Legal Events

Date Code Title Description
A521 Request for written amendment filed

Free format text: JAPANESE INTERMEDIATE CODE: A523

Effective date: 20091015

A521 Request for written amendment filed

Free format text: JAPANESE INTERMEDIATE CODE: A523

Effective date: 20091102

A521 Request for written amendment filed

Free format text: JAPANESE INTERMEDIATE CODE: A821

Effective date: 20091015

A521 Request for written amendment filed

Free format text: JAPANESE INTERMEDIATE CODE: A523

Effective date: 20091102

A871 Explanation of circumstances concerning accelerated examination

Free format text: JAPANESE INTERMEDIATE CODE: A871

Effective date: 20091217

A975 Report on accelerated examination

Free format text: JAPANESE INTERMEDIATE CODE: A971005

Effective date: 20091224

A131 Notification of reasons for refusal

Free format text: JAPANESE INTERMEDIATE CODE: A132

Effective date: 20100119

A521 Request for written amendment filed

Free format text: JAPANESE INTERMEDIATE CODE: A523

Effective date: 20100323

A02 Decision of refusal

Free format text: JAPANESE INTERMEDIATE CODE: A02

Effective date: 20100713

A521 Request for written amendment filed

Free format text: JAPANESE INTERMEDIATE CODE: A523

Effective date: 20101008

A521 Request for written amendment filed

Free format text: JAPANESE INTERMEDIATE CODE: A523

Effective date: 20101008

A911 Transfer to examiner for re-examination before appeal (zenchi)

Free format text: JAPANESE INTERMEDIATE CODE: A911

Effective date: 20101029

TRDD Decision of grant or rejection written
A01 Written decision to grant a patent or to grant a registration (utility model)

Free format text: JAPANESE INTERMEDIATE CODE: A01

Effective date: 20101116

A01 Written decision to grant a patent or to grant a registration (utility model)

Free format text: JAPANESE INTERMEDIATE CODE: A01

A61 First payment of annual fees (during grant procedure)

Free format text: JAPANESE INTERMEDIATE CODE: A61

Effective date: 20101122

FPAY Renewal fee payment (event date is renewal date of database)

Free format text: PAYMENT UNTIL: 20131203

Year of fee payment: 3

R150 Certificate of patent or registration of utility model

Ref document number: 4637254

Country of ref document: JP

Free format text: JAPANESE INTERMEDIATE CODE: R150

Free format text: JAPANESE INTERMEDIATE CODE: R150

S111 Request for change of ownership or part of ownership

Free format text: JAPANESE INTERMEDIATE CODE: R313111

R350 Written notification of registration of transfer

Free format text: JAPANESE INTERMEDIATE CODE: R350

R250 Receipt of annual fees

Free format text: JAPANESE INTERMEDIATE CODE: R250

R250 Receipt of annual fees

Free format text: JAPANESE INTERMEDIATE CODE: R250

R250 Receipt of annual fees

Free format text: JAPANESE INTERMEDIATE CODE: R250

S111 Request for change of ownership or part of ownership

Free format text: JAPANESE INTERMEDIATE CODE: R313111

R350 Written notification of registration of transfer

Free format text: JAPANESE INTERMEDIATE CODE: R350

R250 Receipt of annual fees

Free format text: JAPANESE INTERMEDIATE CODE: R250

R250 Receipt of annual fees

Free format text: JAPANESE INTERMEDIATE CODE: R250

R250 Receipt of annual fees

Free format text: JAPANESE INTERMEDIATE CODE: R250

S111 Request for change of ownership or part of ownership

Free format text: JAPANESE INTERMEDIATE CODE: R313111

R250 Receipt of annual fees

Free format text: JAPANESE INTERMEDIATE CODE: R250

R350 Written notification of registration of transfer

Free format text: JAPANESE INTERMEDIATE CODE: R350

EXPY Cancellation because of completion of term