JP2010000778A - ハンドヘルドプリンタ - Google Patents

ハンドヘルドプリンタ Download PDF

Info

Publication number
JP2010000778A
JP2010000778A JP2009048615A JP2009048615A JP2010000778A JP 2010000778 A JP2010000778 A JP 2010000778A JP 2009048615 A JP2009048615 A JP 2009048615A JP 2009048615 A JP2009048615 A JP 2009048615A JP 2010000778 A JP2010000778 A JP 2010000778A
Authority
JP
Japan
Prior art keywords
label
guide path
discharge port
unit
cutting
Prior art date
Legal status (The legal status is an assumption and is not a legal conclusion. Google has not performed a legal analysis and makes no representation as to the accuracy of the status listed.)
Granted
Application number
JP2009048615A
Other languages
English (en)
Other versions
JP5204007B2 (ja
Inventor
Toshiharu Shimozato
俊治 下里
Kazuaki Sugimoto
一明 杉本
Current Assignee (The listed assignees may be inaccurate. Google has not performed a legal analysis and makes no representation or warranty as to the accuracy of the list.)
Toshiba Tec Corp
Original Assignee
Toshiba Tec Corp
Priority date (The priority date is an assumption and is not a legal conclusion. Google has not performed a legal analysis and makes no representation as to the accuracy of the date listed.)
Filing date
Publication date
Application filed by Toshiba Tec Corp filed Critical Toshiba Tec Corp
Priority to JP2009048615A priority Critical patent/JP5204007B2/ja
Publication of JP2010000778A publication Critical patent/JP2010000778A/ja
Application granted granted Critical
Publication of JP5204007B2 publication Critical patent/JP5204007B2/ja
Expired - Fee Related legal-status Critical Current
Anticipated expiration legal-status Critical

Links

Images

Landscapes

  • Handling Of Sheets (AREA)
  • Handling Of Continuous Sheets Of Paper (AREA)
  • Labeling Devices (AREA)

Abstract

【課題】ラベルの切断作業と切断されたラベルの貼付作業とは動作が異なり連続的に行うことが困難であるので、これらの作業を一連の動作で行えるようにする。
【解決手段】ラベルLLは、案内経路161に沿って搬送されラベル排出口114から排出される。ラベル押え部152は、ハウジング102の先端部の外側に位置し、ラベル排出口114から排出されたラベルLLを被貼付物WKに押え付ける。ラベル押え検出部181は、ラベル押え部152がラベル排出口114から排出されたラベルLLを押えたことを検出して検出結果を出力する。ラベル切断部153は、ハウジング102の先端部の内側に位置し、案内経路161に対して侵入自在であり、案内経路161への侵入過程でラベルに突き当たり切れ目を形成する。また、ラベル押え検出部181の検出結果の出力に応じてラベル切断部153を案内経路161に侵入させるようにした。
【選択図】図9

Description

本発明は、片手で把持可能なハンドヘルドプリンタに関する。
従来、ラベルに情報を印字して発行する携帯型のプリンタがある(特許文献1参照)。このようなプリンタは、例えば各地から集められた荷物を配送先に仕分する配送センタにおいて配送先等の情報が印字されて荷物に貼付されるラベルを発行する用途で使用されている。
また近年、このようなプリンタでは、ライナ(剥離台紙)を回収して処分する必要の無いライナレスラベルがエコロジーの観点から使用されることが多い。
ライナレスラベルは、剥離台紙に単体で貼り付けられたものではないので、発行されたラベルについては、手作業で切断する作業が要求される。そのため、ライナレスラベルが使用されるプリンタのラベル排出口には、例えばティアカット型の刃が設けられている。そして、プリンタの使用者は、ラベル排出口から排出されたライナレスラベルを適当な長さで切断して単体のラベルにし、これを被貼付物に貼り付けている。
特開2002−2058公報
上記のようなプリンタを使用する場合には、ライナレスラベルを切断する作業と、切断されて単体となったラベルを被貼付物に貼りつける作業とが要求されることになる。しかし、このように全く動作の異なる作業を連続的に行うことは非常に煩雑である。
本発明の目的は、ライナレスラベルを切断する作業と、切断されて単体となったラベルを被貼付物に貼付する作業とを一連の動作で行えるようにすることである。
本発明のハンドヘルドプリンタは、ハウジングと、ラベルを収納する収納部と、前記ハウジングの先端部に位置しラベルが通過可能なラベル排出口と、前記収納部と前記ラベル排出口とを連絡しラベルを案内する案内経路と、ラベルを前記案内経路に沿って搬送して前記ラベル排出口から排出させる搬送機構と、前記案内経路で印字動作する印字部と、前記ラベル排出口の上面側で前記ハウジングの先端部の外側に位置し、前記ラベル排出口から排出されたラベルを被貼付物に押え付けるラベル押え部と、前記ラベル押え部が前記ラベル排出口から排出されたラベルを押えたことを検出して検出結果を出力するラベル押え検出部と、前記ラベル排出口の上面側で前記ハウジングの先端部の内側に位置し、前記案内経路に対して侵入自在であり、前記案内経路への侵入過程でラベルに突き当たり切れ目を形成するラベル切断部と、前記ラベル押え検出部の検出結果の出力に応じて前記ラベル切断部の駆動源を制御して前記ラベル切断部を前記案内経路に侵入させる制御部と、を備える。
本発明によれば、ライナレスラベルの切断作業と切断されて単体となったラベルの貼付作業とを、把持部を把持した片腕だけの一連の動作で行うことができる。
ハンドヘルドプリンタを示す外観斜視図である。 ハンドヘルドプリンタをハウジングの一部を切り欠いて示す右側面図である。 ライナレスラベルを示す斜視図である。 ラベル排出口の周辺を示す縦断側面図である。 変位体を示す斜視図である。 ラベル切断部を有するソレノイドを模式的に示す正面図である。 ハンドヘルドプリンタの電気的接続を示すブロック図である。 ハンドヘルドプリンタで実行される処理の流れを示すフローチャートである。 ラベルを被貼付物に貼り付ける状態のハンドヘルドプリンタの先端部分を示す縦断側面図である。 ラベルの貼付及び切断に際して実行される処理の流れを示すフローチャートである。 ラベルの貼付及び切断に際して実行される処理の流れの別の一例を示すフローチャートである。 RAMのデータ構成を示す模式図である。 ラベル切断部を示す模式図である。 第2の実施形態のハンドヘルドプリンタを示す縦断側面図である。 第2の実施形態のラベル切断部を示す模式図である。 第3の実施形態のハンドヘルドプリンタを示す縦断側面図である。
[第1の実施形態]
本発明の第1の実施形態について図1ないし図13に基づいて説明する。
図1は、ハンドヘルドプリンタ101を示す外観斜視図である。ハンドヘルドプリンタ101は、上面の一部が前方側(図1中左下側)に向けて低くなるように傾斜した一方向に長いハウジング102を有する。
ハウジング102上面の前方側領域には、把持部104が設けられている。把持部104は、ハウジング102に対して下端が固定された支柱104aと、この支柱104aの上端に接続した扁平な扁平体104bとを有している。支柱104aは、ハウジング102の前方に向けて上端部が僅かに傾いている(図2参照)。また、扁平体104bは、胴部が膨らんだ扁平な円柱形状を有している。このように構成された把持部104はT字型を形成しており、一方の手(右手又は左手)で把持することが可能となっている(図2参照)。
ハウジング102上面の後方端には、一対の面ファスナ105が固定的に取り付けられている。面ファスナ105は、把持部104を手が把持した状態の腕に巻き付けて貼り合わせることが可能な長さを有している。
図2は、ハンドヘルドプリンタ101をハウジング102の一部を切り欠いて示す右側面図である。前述したように、図2に示すように、面ファスナ105によって腕402をハウジング102に対して固定することができる。そして、面ファスナ105によって固定された腕402を手401が把持部104を把持した状態で動かすことにより、ハンドヘルドプリンタ101を容易に移動させることができる。
ハウジング102は、その上面が傾斜しているため、図2に示すように、側方から見て先細り形状を有している。以下、ハウジング102における先細りした端部を「先端部」と呼ぶことがある。つまり、ハンドヘルドプリンタ101を上面から見た場合、ハウジング102における先端部は、把持部104を把持する手401を通る腕402の延長線上に位置付けられている。また、ハウジング102の下面についても、先端部で次第に上昇する形状を有しており、この部分に、ハウジング102を貫通するラベル排出口114が開口形成されている。
ハウジング102は、ハウジング102の下方部分であってラベル排出口114等が形成された下ユニット102aと、ハウジング102の上方部分であって把持部104等が設けられた上ユニット102bとによって構成されている。上ユニット102bは、下ユニット102aの後方側(図2中右側)に設けられた軸(図示せず)を回動支点として、下ユニット102aに対して回動開閉自在となっている。また、ハウジング102の前面には、下ユニット102aと上ユニット102bとを閉状態でロックするツメ部106が設けられている。
そして、ハウジング102の内部には、ロール状のライナレスラベルLLを収納する収納部109が設けられている。
図3は、ライナレスラベルLLを示す斜視図である。剥離台紙を不要としたライナレスラベルLLには、一定間隔でミシン目LLaが形成されており、ミシン目LLa同士で区切られた部分が単体のラベルLBとなる。各々のラベルLBは、粘着剤が塗布された粘着面LBaと、熱が印加されて発色する印字面LBbとを有している。印字面LBbの表面には離型剤が塗布されている。
また、粘着面LBaには、ライナレスラベルLLの幅全域に亘る黒色のラインLLbが予め印刷されている。ラインLLbは、各々のラベルLBにおいて、一つ先端側の別のラベルLBとの区切りであるミシン目LLaに隣接した位置にこのミシン目LLaに沿って印刷されている。
このようなライナレスラベルLLは、粘着面LBaを内側にしてロール状に巻回されており、このロール状態で収納部109に収納される。
図2の説明に戻る。収納部109は、下ユニット102aと上ユニット102bとによって形成されている。収納部109に収納されたロール状のライナレスラベルLLは、底面が支持されており、一端を引き出すことにより回転自在となっている。
また、図2に示すように、ハウジング102の内部には、収納部109から引き出されたライナレスラベルLLをラベル排出口114に案内する案内経路161が形成されている。
案内経路161の途中には、一対の光透過センサ125が案内経路161を介して対向配置されている。光透過センサ125は、下ユニット102aと上ユニット102bとに埋設されている。光透過センサ125の検出出力はCPU117(図7参照)に入力されている。
ライナレスラベルLLの搬送中にこのライナレスラベルLLに印刷された黒色のラインLLbが光透過センサ125の間を通過した場合、光透過センサ125の光透過は遮断される。その一方で、ラインLLbの印刷部分以外が光透過センサ125の間を通過中は、光透過センサ125の光透過は遮断されない。そして、光透過センサ125からCPU117に入力される検出出力は、光遮断によって「高」から「低」に変化し、光遮断が解除されて光透過状態となると、再び「低」から「高」に復帰する。
ところで、ライナレスラベルLLのミシン目LLaは、黒色のラインLLbに隣接させて形成されている(図3参照)。そこで、第1の実施形態では、ライナレスラベルLLに印刷されたラインLLbの通過による光透過センサ125の光遮断をもって、光透過センサ125によるミシン目LLa通過の検出としている。そして、CPU117は、光遮断による光透過センサ125の検出出力の変化によって、ミシン目LLaの通過を判定する(図8参照)。
また、図2に示すように、ハウジング102の前面側には、回転駆動される搬送機構としてのプラテン112と印字部としてのサーマルヘッド113とが対向配置されている。プラテン112は、ハウジング102に内蔵されたステッピングモータ110(図7参照)の回転力がプラテン軸112aに伝達されることにより回転する。また、サーマルヘッド113は、ライン状に配置された発熱体(図示せず)をプラテン112に当接させている。
プラテン112のプラテン軸112aは、下ユニット102aによって回動自在に支持されている。また、サーマルヘッド113は、上ユニット102bに取り付けられている。上ユニット102bを下ユニット102aに対して開くことにより、サーマルヘッド113は、プラテン112から離反する。
上ユニット102bを開いた状態で、収納部109にロール状のライナレスラベルLLを収納し、収納したライナレスラベルLLを引出し、引き出したライナレスラベルLLをプラテン112上に載せる。そして、再び上ユニット102bを閉じてツメ部106によりロックさせることで、ライナレスラベルLLは、プラテン112とサーマルヘッド113とによって挟持される。
プラテン112とサーマルヘッド113とに狭持されたライナレスラベルLLは、回転駆動されるプラテン112によってハウジング102の先端側に向けて搬送される。そしてこの搬送過程でサーマルヘッド113の発熱体が発熱駆動されることにより、印字面LBbに印字がなされる。
ところで、下ユニット102aの先端に開口形成されたラベル排出口114は、ライナレスラベルLLよりも広い幅を有している。プラテン112によって搬送されるライナレスラベルLLは、ラベル排出口114に案内されて、このラベル排出口114を通過してハウジング102の外部に排出される。
なお、ラベル排出口114から排出されたライナレスラベルLLは、後述するようにして切断されて単体のラベルLBとなる。そこで、以下の説明では、ラベル排出口114から排出された状態のライナレスラベルLLについては、未だ切断されておらず収納部109に収納されたロール状のライナレスラベルLLと連続したものであっても、単に「ラベルLB」と呼ぶことがある。
そして、ラベル排出口114には、ラベル押え部152を有する変位体151が設けられ、さらに、ラベル切断部153を有するソレノイド171及び圧力センサ181が設けられている(いずれも図4等参照)。次に、これらについて図4ないし図6に基づいて説明する。
図4は、ラベル排出口114の周辺を示す縦断側面図である。図5は、変位体151を示す斜視図である。図6は、ラベル切断部153を有するソレノイド171を模式的に示す正面図である。
図4に示すように、変位体151は、搬送されるライナレスラベルLLの印字面LBb側の領域に配置されている。このとき、変位体151は、プラテン112の回動支点であるプラテン軸112aと平行な軸である回動軸155を支点にして回動自在に設けられている。
図5に示すように、変位体151は、丸棒状のフレーム151aを主体に構成されている。フレーム151aは、長方形の枠体が屈折成形されたような形状を有している。つまり、フレーム151aを側方から見ると、図4に示すように、中央部分で山折にされている。このようなフレーム151aにおける直線的な一辺側をラベル押え部152と呼ぶ。ラベル押え部152は、ライナレスラベルLLの幅方向よりもやや狭い幅長を有している。
そして、図4に示すように、ラベル押え部152は、ラベル排出口114から排出されるラベルLBの印字面LBb側に配置されている。
また、フレーム151aには、ラベル押え部152と反対側の辺部分とフレーム151aの両側部分の一部とを覆うフレームカバー154が固定的に取り付けられている。フレームカバー154の両側面には、変位体151の回動支点となる回動軸155が突出形成されている。回動軸155は、トーションスプリング156が嵌め込まれた状態で(図5参照)、下ユニット102aによって回動自在に保持される。このとき、トーションスプリング156の一端は、フレームカバー154に形成されている保持部154aの孔に差し込まれて位置保持されている。一方で、トーションスプリング156の他端は、詳細は図示しないが、回動軸155が下ユニット102aに保持された状態で、下ユニット102aに形成されている図示しない保持部の孔に差し込まれて位置保持されている。こうして、トーションスプリング156の両端がフレーム151aと下ユニット102aとに対して固定されているため、回動軸155が保持された状態の変位体151は、回動軸155の軸回り方向へ自由に移動することなく、位置保持されている。なお、トーションスプリング156は、図4、図9、図14、図16では図示を省略している。
ここで、変位体151に対してラベル押え部152を持ち上げるように外力を付与すると、変位体151は回動軸155を支点に変位する。このとき、トーションスプリング156には反発力が蓄積される。そして、変位体151に対する外力の付与を解除すると、反発力を蓄積していたトーションスプリング156が復元するため、変位体151は回動軸155を支点に変位して、位置復帰する。
また、図4に示すように、ラベル排出口114の上縁部分には、圧力センサ181が取り付けられている。圧力センサ181は、内部の感圧素子によって空気圧の変化を電気信号に変換するものである。
ここで、変位体151に外力を付与してラベル押え部152を持ち上げ続けると、フレームカバー154の上面がこの圧力センサ181に当接し、変位体151の回動は規制される。このようなフレームカバー154の当接によって、圧力センサ181の空気圧は予め設定された所定の圧力値を超える。このとき、圧力センサ181は、電気信号をCPU117(図7参照)に出力する。
さらに、図4に示すように、ハウジング102の内部であってサーマルヘッド113よりも案内経路161の下流側には、この案内経路161の上面側に位置させて、ソレノイド171が設けられている。ソレノイド171は、その可動軸171aを案内経路161に対して伸縮させる向きに配置されている。
ソレノイド171の可動軸171aの先端には、図6に示すように、中央部分が案内経路161に向けて尖った形状の部材であるラベル切断部153が固定的に設けられている。つまり、ラベル切断部153は、中央に位置する頂点部153aと、この頂点部153aに接続する一対の斜めの辺部153bとを有している。
ラベル切断部153は、ソレノイド171の可動軸171aが伸長することにより、案内経路161に上面側から侵入する。このとき、頂点部153aを含むラベル切断部153の先端部分は、案内経路161を案内されるライナレスラベルLLに突き当たる。そして、ソレノイド171の可動軸171aが退縮すると、ラベル切断部153は案内経路161から退避して、ラベル切断部153による案内経路161の侵入は解消される。
次に、ハンドヘルドプリンタ101の電気的接続について説明する。
図7は、ハンドヘルドプリンタ101の電気的接続を示すブロック図である。ハンドヘルドプリンタ101には、各種演算処理を実行して各部を集中的に制御する制御部としてのCPU117が設けられ、このCPU117には固定データを固定的に格納するROM119と、可変データを書換え自在に格納するRAM120とがシステムバス121を介して接続されている。ROM119には制御プログラムが格納され、CPU117は、ROM119に格納された制御プログラムに従い、RAM120をワークエリアとして利用しつつ各種の処理を実行する。
また、ハンドヘルドプリンタ101には、CPU117によって駆動制御される各部として、プラテン112を回転駆動するためのステッピングモータ110を駆動制御するためのモータドライバ122と、サーマルヘッド113が有する発熱体(図示せず)を発熱駆動してサーマルヘッド113に印字動作をさせるヘッドコントローラ140、ソレノイド171を駆動して可動軸171aを変位させるためのソレノイドコントローラ172とが設けられている。モータドライバ122、ヘッドコントローラ140、及び、ソレノイドコントローラ172は、システムバス121を介してCPU117に接続されている。
さらに、CPU117には、通信インターフェース129及び画像メモリ130も、システムバス121を介して接続されている。ハンドヘルドプリンタ101では、上位装置から転送される印字データが通信インターフェース129を介して受信される。そして、ハンドヘルドプリンタ101のCPU117は、この印字データをドットパターンからなる画像データに変換して画像メモリ130に展開する。
CPU117は、画像メモリ130に展開された画像データから1ライン毎のデータをヘッドコントローラ140に出力し、ヘッドコントローラ140は、ドットパターンの有るドットに対応する発熱体(図示せず)を発熱駆動する。こうして、サーマルヘッド113による印字動作が実行される。
さらに、ハウジング102には、このような印字動作を開始させるための操作部141が設けられており、この操作部141もシステムバス121を介してCPU117に接続されている。操作部141での所定の操作によって、CPU117には印字開始指示が入力される。
また、ハンドヘルドプリンタ101には、ライナレスラベルLLの粘着面LBaに印刷されたラインLLbを検出するための光透過センサ125と、フレームカバー154の当接を検出するための圧力センサ181とがポート128を介してシステムバス121に接続されている。そして、光透過センサ125及び圧力センサ181の検出出力はCPU117に入力される。
このような構成において、サーマルヘッド113によってラベルLBの印字面LBbに印字がなされてラベル排出口114から排出される際にハンドヘルドプリンタ101で実行される処理について説明する。
図8は、ハンドヘルドプリンタ101で実行される処理の流れを示すフローチャートである。ハンドヘルドプリンタ101のCPU117は、印字開始指示の入力に待機している(ステップS101)。そして、操作部141での操作によって印字開始指示がCPU117に入力されたならば(ステップS101のY)、CPU117は、ステッピングモータ110を回転駆動して、プラテン112にライナレスラベルLLの搬送を開始させると共に(ステップS102)、ヘッドコントローラ140を制御してサーマルヘッド113に印字動作を開始させる(ステップS103)。なお、画像メモリ130に展開された画像データから全ラインのデータが出力されて、印字動作は終了する。
そして、搬送中のライナレスラベルLLに印刷されたラインLLbが光透過センサ125の間に位置付けられることで、光透過センサ125からCPU117に入力される検出出力が「低」に変化した場合、CPU117は、ミシン目LLaの通過を判定し(ステップS104のY)、所定時間経過後に、ステッピングモータ110の回転駆動を停止して、プラテン112による搬送を停止させる(ステップS105)。
第1の実施形態では、この搬送停止(ステップS105)は、搬送されるライナレスラベルLLのミシン目LLaがラベル切断部153の変位軌跡上の位置(ミシン目位置)に位置付けられるタイミングでCPU117によって実行される。
また、この停止時においては、ステッピングモータ110の励磁相に励磁電流(駆動電流)を流し続けることによって、ステッピングモータ110の回転位置の位置保持を実行する制御がCPU117によってなされている。そして、ステッピングモータ110の回転位置が位置保持されていることにより、プラテン112もその回転が規制されている。このとき、プラテン112とサーマルヘッド113とによって挟持されているライナレスラベルLLは、その搬送がロックされ、外力が付与されてもラベル排出口114から引き出されない。このようなプラテン112とサーマルヘッド113とによって、ライナレスラベルLLを引き出し不可にロックするロック機構が実現されている。
さらに、ステップS105で搬送が停止された状態では、ミシン目LLaによって区切られるラベルLBは、その一部がラベル排出口114からハウジング102の外部に露出して、ラベル押え部152の下方領域に位置付けられる。
次に、ラベル排出口114から一部が露出したラベルLBを被貼付物WK(図9参照)に貼り付ける場合について説明する。ここでは、被貼付物WKの上面にラベルLBを貼り付ける場合について説明する。
図9は、ラベルLBを被貼付物WKに貼り付ける状態のハンドヘルドプリンタ101の先端部分を示す縦断側面図である。このとき、ハンドヘルドプリンタ101の使用者は、手401で把持部104を把持しており、その腕402は面ファスナ105によってハウジング102に対して固定されている。
まず、手401で把持部104を把持したまま腕402を移動することによって、ハンドヘルドプリンタ101をラベル排出口114が下向きとなる姿勢にする。そして、この姿勢のままハンドヘルドプリンタ101を被貼付物WKに近接させる。こうして、図9(a)に示すように、ラベル排出口114から排出されているラベルLBの粘着面LBaの先端を、被貼付物WKの表面に接触させる。このとき、ラベル押え部152は、被貼付物WKに接触した粘着面LBaとは反対側の印字面LBbに接触する。
次に、ラベル押え部152が印字面LBbに接触した状態から、手401で把持部104を把持したまま腕402を被貼付物WKに向けて移動させることによってハンドヘルドプリンタ101に外力を作用させ、このハンドヘルドプリンタ101を被貼付物WKに対して押し付ける。すると、ラベル押え部152が印字面LBbを押え付けるので、粘着面LBaが被貼付物WKに対して、より密着する。
このような押し付けによって、ラベル押え部152を含む変位体151は、被貼付物WKから押圧力を受け、この押圧力によって回動軸155を支点にして、図9(b)に示すように、ラベル押え部152が持ち上がるように回動変位する。また、この回動変位によって、トーションスプリング156は、反発力を蓄積する。
そして、このような変位体151の変位によって、図9(b)に示すように、フレームカバー154が圧力センサ181に当接する。つまり、第1の実施形態では、フレームカバー154の圧力センサ181への当接をもって、圧力センサ181によるラベル押え部152がラベルLBを押えたことの検出としている。したがって、圧力センサ181は、ラベル押え検出部として機能する。
このとき、前述したように、圧力センサ181から電気信号が出力されてCPU117に入力される。これにより、CPU117はラベル押え部152がラベルLBを押えたことを判定する。すなわち、ラベル押え検出部である圧力センサ181は、ラベル押え部152がラベルLBを押えたことを検出すると、この検出結果を電気信号として出力する。
図10は、ラベルLBの貼付及び切断に際して実行される処理の流れを示すフローチャートである。ハンドヘルドプリンタ101のCPU117は、圧力センサ181からの検出結果の出力によって、ラベル押え部152がラベルLBを押えたことを判定したならば(ステップS201のY)、次に、サーマルヘッド113の駆動による印字動作の終了から所定時間内であるか否かを判定する(ステップS202)。このとき、印字動作終了から所定時間を経過している場合には(ステップS202のN)、そのまま処理を終了する。
しかし、その一方で、印字動作終了から所定時間内である場合には(ステップS202のY)、CPU117は、ソレノイドコントローラ172を介してソレノイド171を駆動して、可動軸171aを変位させる。つまり、退縮状態の可動軸171aを一度伸長状態にさせた後に再び退縮状態に復帰させる(ステップS203)。
図9の説明に戻る。ここで、ソレノイド171の可動軸171aが変位して伸長状態となった際には、可動軸171aの先端に設けられているラベル切断部153は、図9(b)に示すように、案内経路161に侵入する。このとき、ライナレスラベルLLのミシン目LLaは、ラベル切断部153の変位軌跡上に位置している(図8のフローチャートのステップS105参照)。
そのため、ラベル切断部153が案内経路161に侵入することによって、ミシン目LLaに対して、まず、ラベル切断部153の頂点部153aが上面から突き当たる。これにより、ミシン目LLaの中央部分には頂点部153aの形状(図6参照)に基づく点状の切れ目が形成される。そして、ラベル切断部153が案内経路161をさらに侵入するに伴って、頂点部153aに接続する斜めの辺部153bが次第にこの切れ目をミシン目LLaに沿って拡張していく。このようにして、ミシン目LLaには、中央部分から両側に広がる切れ目が形成される。
ここで、第1の実施形態では、印字動作終了から所定時間を経過した後にフレームカバー154が圧力センサ181に当接した場合には、ソレノイド171は駆動されず、ラベル切断部153は変位しない(図10のフローチャートのステップS202参照)。
したがって、ラベル切断部153をライナレスラベルLLに突き当たるべきでない場合(つまり、ラベル排出口114から排出されたラベルLBの切断を行う場合以外の場合)に、誤ってラベル押え部152を持ち上げて、フレームカバー154を圧力センサ181に当接させてしまったとしても、ソレノイド171は駆動されず、ラベル切断部153が案内経路161に侵入してライナレスラベルLLに突き当たることが防止される。
次に、ミシン目LLaに切れ目が形成された状態から、把持部104を把持したまま腕402を移動させることによって、図9(c)に示すように、ハンドヘルドプリンタ101を被貼付物WKの表面に沿って手前側(図9中右側)に引くように移動させる。
このとき、ラベル排出口114から排出されたラベルLBの先端側については、その粘着面LBaが被貼付物WKの表面に接着している。つまり、位置固定されている。また、このラベルLBを含むライナレスラベルLLは、サーマルヘッド113と回転停止したプラテン112とによって、引き出し不可にロックされている。
そのため、ハンドヘルドプリンタ101を被貼付物WKの表面に沿って引く方向に移動することによって、ラベル排出口114から排出されたラベルLBを含むライナレスラベルLLは、両端側から引っ張られることになる。そして、このライナレスラベルLLは、ミシン目LLaに切れ目が形成されているため、ハンドヘルドプリンタ101の移動過程で両端側からの引っ張りに耐え切れなくなり、粘着面LBaが被貼付物WKに接着したラベルLBを残して切断される。こうして、ラベル排出口114から排出されたラベルLBが切断される。
ラベルLBが切断された後、引き続きハンドヘルドプリンタ101を被貼付物WKに対して押え付けながら手前に引くように移動させる。これにより、ラベル押え部152が印字面LBbを滑るようにしてラベルLBを被貼付物WKに対して押し付けることになるため、粘着面LBaが被貼付物WKに対して確実に貼り付く。
ラベルLBを被貼付物WKに貼り付けた後は、ハンドヘルドプリンタ101をこの被貼付物WKから離反させて、ラベル押え部152によるラベルLBの押し付けを解除する。すると、反発力を蓄積していたトーションスプリング156が復元するため、変位体151は回動軸155を支点に回動変位して位置復帰する。
次に、ラベルLBの貼付及び切断に際して実行される処理であって、図10に基づいて説明した処理とは異なる処理について図11及び図12に基づいて説明する。
図11は、ラベルLBの貼付及び切断に際して実行される処理の流れの別の一例を示すフローチャートである。この場合、まず、ハンドヘルドプリンタ101のCPU117は、サーマルヘッド113の駆動による印字動作の終了を判定したならば(ステップS301のY)、RAM120の印字フラグエリアFLa(図12参照)に「1」を記憶させる(ステップS302)。
図12は、RAM120のデータ構成を示す模式図である。RAM120には、前述した印字フラグエリアFLaの他に、カットフラグエリアFLbが形成されている。
印字フラグエリアFLaには、印字フラグとして「0」又は「1」が記憶される。印字フラグ=「0」は、画像メモリ130に展開された画像データに基づく印字動作が未だ終了していないことを示し、また、印字フラグ=「1」は、その印字動作が終了したことを示す。
カットフラグエリアFLbには、カットフラグとして「0」又は「1」が記憶される。カットフラグ=「0」は、ソレノイド171の駆動がなされていないことを示し、また、カットフラグ=「1」は、ソレノイド171の駆動がなされたことを示す。
印字フラグエリアFLaとカットフラグエリアFLbとには、それぞれ、印字フラグ、カットフラグとして、デフォルト設定で「0」が記憶されている。
図11の説明に戻る。印字フラグエリアFLaに「1」を記憶させた後(ステップS302)、圧力センサ181からの検出結果の出力によって、ラベル押え部152がラベルLBを押えたことを判定したならば(ステップS303のY)、印字フラグエリアFLaとカットフラグエリアFLbとを参照して、印字フラグ=「1」及びカットフラグ=「0」であるか否かを判定する(ステップS304)。
このとき、ステップS304で、印字フラグ=「1」及びカットフラグ=「0」であると判定した場合のみ(ステップS304のY)、CPU117は、ソレノイドコントローラ172を介してソレノイド171を駆動して、可動軸171aを変位させる(ステップS305)。つまり、退縮状態の可動軸171aを一度伸長状態にさせた後に再び退縮状態に復帰させる。そして、CPU117は、「0」が記憶されていたカットフラグエリアFLbに、カットフラグとして「1」を記憶させる(ステップS306)。
一方、ステップS304で、印字フラグ=「1」及びカットフラグ=「0」であると判定しなかった場合には(ステップS304のN)、ソレノイド171の駆動(ステップS305)を実行せずに処理を終える。
そして、新たな印字動作の開始(図8のフローチャートのS103)に応じて、ハンドヘルドプリンタ101のCPU117は、印字フラグエリアFLaとカットフラグエリアFLbとをゼロクリアするようにする。
これによれば、例えば、印字動作終了前(印字フラグ=「0」)に、誤ってラベル押え部152を変位させて圧力センサ181にフレームカバー154が当接した場合であっても、このとき、印字フラグ=「0」及びカットフラグ=「0」であるため(ステップS304のN)、ソレノイド171は駆動されず、印字が終了していないライナレスラベルLLにラベル切断部153が突き当たることはない。
また、ラベルLBの貼付及び切断が終了した後であって次の印字が開始される前には、印字フラグ=「1」及びカットフラグ=「1」となっているため、この場合(例えばハンドヘルドプリンタ101の未使用時)にも、誤ってラベル押え部152を変位させたとしても、ソレノイド171が駆動されてラベル切断部153がライナレスラベルLLに突き当たってしまうことがない。
以上説明したように第1の実施形態によれば、ラベル排出口114から排出されたラベルLBを切断する際に、ラベルLBを被貼付物WKに貼り付ける動作と全く異なる動作、つまり、把持部104を持つ手401とは別の手でラベルLBを切断するような動作は必要とされない。また、ラベルLBを切断する際に、把持部104を把持する手401をねじったり、腕402を左右方向に移動させたりするような無理な動作も必要とされない。
第1の実施形態では、ラベル排出口114から排出されたラベルLBを切断して被貼付物WKに貼り付けるためには、ラベル押え部152をラベルLBに押し付け、その後、被貼付物WKの表面に沿ってハンドヘルドプリンタ101を手前側に引くという一連の動作のみが要求される。
つまり、第1の実施形態によれば、ライナレスラベルLLを切断する作業と、切断されて単体となったラベルLBを被貼付物WKに貼りつける作業とを一連の動作で行うことができる。
ラベル切断部153の形状は図6に基づいて説明した形状に限られない。例えば、図13に示すように、ラベル切断部153は、案内経路161に対して中央部分が窪み、両側端に頂点部153aを有する形状でも良い。ラベル切断部153は、頂点部153aから中央部分に向けて辺部153bを有する。ミシン目LLaに対して、まず、頂点部153aが上面から突き当たる。これにより、ミシン目LLaの両端部分には頂点部153aの形状に基づく点状の切れ目が形成される。ラベル切断部153が案内経路161にさらに侵入するに伴って、頂点部153aに接続する斜めの辺部153bが次第に切れ目をミシン目LLaに沿って拡張する。このようにして、ミシン目LLaには、両端部分から中央に至る切れ目が形成される。
[第2の実施形態]
次に、本発明の第2の実施形態について図14及び図15に基づいて説明する。第1の実施形態で示した部分と同一の部分について同一の符号で示し、説明も省略する。また、第2の実施形態のハンドヘルドプリンタ101では、図8、図10、図11に基づいて説明した処理と同様の処理が実行される。
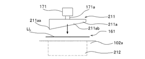
図14は、第2の実施形態のハンドヘルドプリンタ101を示す縦断側面図である。図15は、第2の実施形態のラベル切断部211を示す模式図である。第2の実施形態のラベル切断部211は、刃211aを備えている。刃211aは、図14に示すように、側方から見て先端が鋭角に尖った鋭利な刃であり、また図15に示すように、案内経路161に向けて尖った形状を有している。つまり、ラベル切断部211に設けられた刃211aは、案内経路161の片側に寄せた頂点部211aaと、この頂点部211aaに接続した斜めの刃部分である辺部211abとを有している。
また、図14に示すように、第2の実施形態では、刃211aの先端と案内経路161を介して対面する位置には、ソレノイド171の可動軸171aが伸長した状態で刃211aを収納可能な形状を有する収納溝212が設けられている。収納溝212は、下ユニット102aに形成されている。
そして、ラベル排出口114から排出されたラベルLBを被貼付物WKに貼り付ける際には、第1の実施形態(図9参照)と同様にする。つまり、ラベル押え部152が印字面LBbに接触した状態から、ハンドヘルドプリンタ101を被貼付物WKに対して押し付ける。すると、変位体151は、被貼付物WKから押圧力を受けて変位して、フレームカバー154が圧力センサ181に当接する。これにより、ソレノイド171が駆動されて(図10のフローチャートのステップS203、又は、図11のフローチャートのステップS305参照)、可動軸171aは伸長状態となり、ラベル切断部211が案内経路161に侵入して刃211aが収納溝212に入り込む。
第2の実施形態では、刃211aが収納溝212に入り込む過程で、まず、刃211aの頂点部211aaがライナレスラベルLLに突き刺さって切れ目を形成する。そして、刃211aの収納溝212への入り込みが進行するに従って、斜めの辺部211abがライナレスラベルLLを幅方向に裁断して切れ目を拡張する。ここで、刃211aは、ライナレスラベルLLの幅よりも短いため、ライナレスラベルLLの一端又は両端は、切れ目が形成されない部分となる。
そして、ハンドヘルドプリンタ101を被貼付物WKの表面に沿って手前側に引くように移動させると、ラベルLBは形成された切れ目から完全に切断される。
その後、さらに、ハンドヘルドプリンタ101を被貼付物WKに対して押え付けながら手前に引くことにより、ラベル押え部152が印字面LBbを滑るようにしてラベルLBを被貼付物WKに対して押し付けるので、粘着面LBaが被貼付物WKに対して確実に貼り付くことになる。
第2の実施形態では、刃211aがライナレスラベルLLを強制的に突き破って切れ目を形成するため、ライナレスラベルLLのミシン目LLaが形成されていない部分やミシン目LLaの無いライナレスラベルLLについても切れ目を形成することができる。
以上説明したように第2の実施形態でも、ラベル排出口114から排出されたラベルLBを切断する際に、ラベルLBの被貼付物WKに貼り付ける動作と全く異なる動作や無理な動作は必要とされない。そして、第2の実施形態では、ラベル排出口114から排出されたラベルLBを切断して被貼付物WKに貼り付けるためには、ラベル押え部152をラベルLBに押し付け、その後、被貼付物WKの表面に沿ってハンドヘルドプリンタ101を手前側に引くという一連の動作のみが要求される。つまり、第2の実施形態によっても、ライナレスラベルLLを切断する作業と、切断されて単体となったラベルLBを被貼付物WKに貼りつける作業とを一連の動作で行うことができる。
[第3の実施形態]
次に、本発明の第3の実施形態について図16に基づいて説明する。他の実施形態で示した部分と同一の部分について同一の符号で示し、説明も省略する。また、第3の実施形態のハンドヘルドプリンタ101では、図8、図10、図11に基づいて説明した処理と同様の処理が実行される。
図16は、第3の実施形態のハンドヘルドプリンタ101を示す縦断側面図である。第3の実施形態のラベル切断部311は、側方から見て先端が鋭角に尖った刃311aを有する。刃311aは、ライナレスラベルLLの幅方向に沿って設けられており、案内経路161に沿って搬送されるライナレスラベルLLに対して平行な辺状に形成されている。
そして、第3の実施形態では、図16に示すように、刃311aの先端と対面する位置の下ユニット102aには、案内経路161を介して、刃311aの先端形状に合致する形状、つまり、案内経路161に沿って搬送されるライナレスラベルLLに対して平行な当接面312が形成されている。
第3の実施形態でも、ラベル排出口114から排出されたラベルLBを被貼付物WKに貼り付ける際には、第1の実施形態(図9参照)と同様にする。つまり、ラベル押え部152がラベル排出口114から排出されたラベルLBの印字面LBbに接触した状態から、ハンドヘルドプリンタ101を被貼付物WKに対して押し付ける。すると、変位体151は被貼付物WKから押圧力を受けて変位して、フレームカバー154が圧力センサ181に当接する。これにより、ソレノイド171が駆動されて(図10のフローチャートのステップS203、又は、図11のフローチャートのステップS305参照)、可動軸171aは伸長状態となり、ラベル切断部311が案内経路161に侵入して刃311aが当接面312に当接する。
そのため、第3の実施形態では、ラベル切断部311が案内経路161に侵入することにより、鋭利な刃311aが案内経路161中のライナレスラベルLLを当接面312に押し付ける。これにより、ライナレスラベルLLは刃311aに沿って裁断されて、幅方向に切れ目が形成される。ここで、刃311aは、ライナレスラベルLLの幅よりも短いため、ライナレスラベルLLの一端又は両端は、切れ目が形成されない部分となる。
そして、ハンドヘルドプリンタ101を被貼付物WKの上面に沿って手前側に引くように移動させると、ラベルLBは形成された切れ目から完全に切断される。その後、さらに、ハンドヘルドプリンタ101を手前に引くことで、粘着面LBaが被貼付物WKに対して確実に貼り付くことになる。このように、第3の実施形態でも、ミシン目LLaの無いライナレスラベルLLに切れ目を形成することができる。
以上説明したように第3の実施形態でも、ラベル排出口114から排出されたラベルLBを切断する際に、ラベルLBの被貼付物WKに貼り付ける動作と全く異なる動作や無理な動作は必要とされない。そして、第3の実施形態では、ラベル排出口114から排出されたラベルLBを切断して被貼付物WKに貼り付けるためには、ラベル押え部152をラベルLBに押し付け、その後、被貼付物WKの表面に沿ってハンドヘルドプリンタ101を手前側に引くという一連の動作のみが要求される。つまり、第3の実施形態によっても、ライナレスラベルLLを切断する作業と、切断されて単体となったラベルLBを被貼付物WKに貼りつける作業とを一連の動作で行うことができる。
101…ハンドヘルドプリンタ
102…ハウジング
104…把持部
109…収納部
110…ステッピングモータ(搬送機構の駆動源)
112…プラテン(搬送機構)
113…サーマルヘッド(印字部)
114…ラベル排出口
117…CPU(制御部)
130…画像メモリ
152…ラベル押え部
153…ラベル切断部
153a…頂点部
153b…辺部
161…案内経路
171…ソレノイド(ラベル切断部の駆動源)
181…圧力センサ(ラベル押え検出部)
211…ラベル切断部
211a…刃
211aa…頂点部
211ab…辺部
311…ラベル切断部
311a…刃
312…当接面
FLa…印字フラグエリア(記憶領域)
FLb…カットフラグエリア(記憶領域)
LBa…粘着面
LBb…印字面
LL…ライナレスラベル
LLa…ミシン目

Claims (7)

  1. ハウジングと、
    ラベルを収納する収納部と、
    前記ハウジングの先端部に位置しラベルが通過可能なラベル排出口と、
    前記収納部と前記ラベル排出口とを連絡しラベルを案内する案内経路と、
    ラベルを前記案内経路に沿って搬送して前記ラベル排出口から排出させる搬送機構と、
    前記案内経路で印字動作する印字部と、
    前記ラベル排出口の上面側で前記ハウジングの先端部の外側に位置し、前記ラベル排出口から排出されたラベルを被貼付物に押え付けるラベル押え部と、
    前記ラベル押え部が前記ラベル排出口から排出されたラベルを押えたことを検出して検出結果を出力するラベル押え検出部と、
    前記ラベル排出口の上面側で前記ハウジングの先端部の内側に位置し、前記案内経路に対して侵入自在であり、前記案内経路への侵入過程でラベルに突き当たり切れ目を形成するラベル切断部と、
    前記ラベル押え検出部の検出結果の出力に応じて前記ラベル切断部の駆動源を制御して前記ラベル切断部を前記案内経路に侵入させる制御部と、
    を備えるハンドヘルドプリンタ。
  2. 前記収納部は、ミシン目を有するライナレスラベルを収納し、
    前記ラベル切断部は、前記案内経路に向けて尖った形状を有し、前記案内経路の前記印字部よりも下流側のミシン目位置に対して侵入自在であり、前記案内経路への侵入過程で頂点部が前記ミシン目位置に位置するライナレスラベルのミシン目に突き当たり切れ目を形成した後に頂点部に接続する斜めの辺部がミシン目に突き当たって切れ目を拡張し、
    前記制御部は、前記搬送機構の駆動源を制御して前記ラベル排出口から排出されるライナレスラベルのミシン目を前記ミシン目位置に位置付けさせる、
    請求項1記載のハンドヘルドプリンタ。
  3. 前記ラベル切断部は、前記案内経路に向けて尖った形状の刃を有し、前記案内経路への侵入過程で前記刃の頂点部が前記案内経路中のラベルに突き刺さり切れ目を形成した後に頂点部に接続する前記刃の斜めの辺部がラベルを裁断して切れ目を拡張する、
    請求項1記載のハンドヘルドプリンタ。
  4. 前記案内経路の前記印字部よりも下流側で前記案内経路の下面側に位置する当接面を備え、
    前記ラベル切断部は、前記当接面に合致する形状の刃を有し、前記案内経路への侵入過程で前記刃が前記案内経路中のラベルを前記当接面に押圧して切れ目を形成する、
    請求項1記載のハンドヘルドプリンタ。
  5. 前記制御部は、画像メモリに展開された画像データに基づき前記印字部を駆動して印字動作を実行させ、前記印字部による印字動作終了から規定時間内である場合のみ、前記ラベル押え検出部の検出結果の出力に応じて前記ラベル切断部の駆動源を制御して前記ラベル切断部を前記案内経路に侵入させる、
    請求項1ないし4のいずれか一記載のハンドヘルドプリンタ。
  6. 前記制御部は、画像メモリに展開された画像データに基づき前記印字部を駆動して印字動作を実行させ、前記印字部による印字動作終了に応じて印字動作終了の旨を記憶領域に記憶させ、前記ラベル切断部の駆動源の制御による前記ラベル切断部の前記案内経路の侵入に応じて侵入の旨を前記記憶領域に記憶させ、前記記憶領域が前記印字動作終了の旨を記憶し前記記憶領域が前記侵入の旨を記憶していない場合のみ、前記ラベル押え部の検出結果の出力に応じて前記ラベル切断部の駆動源を制御して前記ラベル切断部を前記案内経路に侵入させる、
    請求項1ないし4のいずれか一記載のハンドヘルドプリンタ。
  7. 前記ラベル排出口から排出されるラベルを前記ラベル排出口から引き出し不可にロックするロック機構を備える、
    請求項1ないし6のいずれか一記載のハンドヘルドプリンタ。
JP2009048615A 2008-05-20 2009-03-02 ハンドヘルドプリンタ Expired - Fee Related JP5204007B2 (ja)

Priority Applications (1)

Application Number Priority Date Filing Date Title
JP2009048615A JP5204007B2 (ja) 2008-05-20 2009-03-02 ハンドヘルドプリンタ

Applications Claiming Priority (3)

Application Number Priority Date Filing Date Title
JP2008131546 2008-05-20
JP2008131546 2008-05-20
JP2009048615A JP5204007B2 (ja) 2008-05-20 2009-03-02 ハンドヘルドプリンタ

Publications (2)

Publication Number Publication Date
JP2010000778A true JP2010000778A (ja) 2010-01-07
JP5204007B2 JP5204007B2 (ja) 2013-06-05

Family

ID=41582877

Family Applications (1)

Application Number Title Priority Date Filing Date
JP2009048615A Expired - Fee Related JP5204007B2 (ja) 2008-05-20 2009-03-02 ハンドヘルドプリンタ

Country Status (1)

Country Link
JP (1) JP5204007B2 (ja)

Cited By (3)

* Cited by examiner, † Cited by third party
Publication number Priority date Publication date Assignee Title
JP2011201562A (ja) * 2010-03-25 2011-10-13 Toshiba Tec Corp ラベラー及びラベル貼付方法
JP2015009401A (ja) * 2013-06-27 2015-01-19 セイコーエプソン株式会社 媒体処理装置、及び媒体処理装置の制御方法
US9746875B2 (en) 2012-11-26 2017-08-29 Seiko Epson Corporation Ticket production device and ticket production method

Citations (5)

* Cited by examiner, † Cited by third party
Publication number Priority date Publication date Assignee Title
JPS4524282Y1 (ja) * 1967-04-06 1970-09-24
JPS54139687U (ja) * 1978-03-16 1979-09-28
JPH092441A (ja) * 1995-06-16 1997-01-07 Teraoka Seiko Co Ltd ラベルプリンタ
JPH11189229A (ja) * 1997-12-25 1999-07-13 Sato:Kk 台紙なしラベルの貼付装置
JP2003285968A (ja) * 2002-03-29 2003-10-07 Sato Corp 台紙なしラベルおよびその切取り装置

Patent Citations (5)

* Cited by examiner, † Cited by third party
Publication number Priority date Publication date Assignee Title
JPS4524282Y1 (ja) * 1967-04-06 1970-09-24
JPS54139687U (ja) * 1978-03-16 1979-09-28
JPH092441A (ja) * 1995-06-16 1997-01-07 Teraoka Seiko Co Ltd ラベルプリンタ
JPH11189229A (ja) * 1997-12-25 1999-07-13 Sato:Kk 台紙なしラベルの貼付装置
JP2003285968A (ja) * 2002-03-29 2003-10-07 Sato Corp 台紙なしラベルおよびその切取り装置

Cited By (3)

* Cited by examiner, † Cited by third party
Publication number Priority date Publication date Assignee Title
JP2011201562A (ja) * 2010-03-25 2011-10-13 Toshiba Tec Corp ラベラー及びラベル貼付方法
US9746875B2 (en) 2012-11-26 2017-08-29 Seiko Epson Corporation Ticket production device and ticket production method
JP2015009401A (ja) * 2013-06-27 2015-01-19 セイコーエプソン株式会社 媒体処理装置、及び媒体処理装置の制御方法

Also Published As

Publication number Publication date
JP5204007B2 (ja) 2013-06-05

Similar Documents

Publication Publication Date Title
JP5256893B2 (ja) 記録装置、記録装置の制御方法及び制御プログラム
CN113858823B (zh) 印刷装置、控制方法及记录介质
JP5204007B2 (ja) ハンドヘルドプリンタ
JP2013111965A (ja) プリンタのカッタ機構及びカッタ機構付きプリンタ
JP4251014B2 (ja) プリンタ及びプリンタの制御方法
JP4594697B2 (ja) ラベル用紙のラベル剥離方法およびラベルプリンタ
JP5350837B2 (ja) ハンドヘルドプリンタ
JP2008238745A (ja) 印字装置
JP4424551B2 (ja) ラベルプリンタ
JP4787772B2 (ja) 熱活性化装置、プリンタ、熱活性化方法、および粘着ラベルの製造方法
JP2009107305A (ja) プリンタおよびプリンタの剥離方法
US20090288776A1 (en) Hand-held printer
JP2005213026A (ja) ラベルプリンタ及びラベル剥離方法
JP2009220543A (ja) プリンタ及び印字方法
JP6892675B2 (ja) ラベルプリンタ、ラベル貼付装置
JP5533694B2 (ja) テープ処理装置
JP2009234021A (ja) ラベルプリンタのラベル搬送方法およびラベルプリンタ
JP2007153595A (ja) ラベル剥離機構およびラベルプリンタ
JP2006289887A (ja) プリンタの記録紙ローディング方法
JP2010194971A (ja) ハンドヘルドプリンタ
JP2003260831A (ja) プリンタ、プリンタの制御方法、プリンタの制御方法をコンピュータに実行させるためのプログラム、このプログラムを記録したコンピュータ読み取り可能な記録媒体
JP4893511B2 (ja) テープ印刷装置
JP2005219342A (ja) ラベルプリンタ
JP4720604B2 (ja) 印字装置
JP6092050B2 (ja) ラベルプリンターのラベル検出装置およびラベル検出方法

Legal Events

Date Code Title Description
RD02 Notification of acceptance of power of attorney

Free format text: JAPANESE INTERMEDIATE CODE: A7422

Effective date: 20091030

RD04 Notification of resignation of power of attorney

Free format text: JAPANESE INTERMEDIATE CODE: A7424

Effective date: 20100202

RD04 Notification of resignation of power of attorney

Free format text: JAPANESE INTERMEDIATE CODE: A7424

Effective date: 20100121

A621 Written request for application examination

Free format text: JAPANESE INTERMEDIATE CODE: A621

Effective date: 20110819

A977 Report on retrieval

Free format text: JAPANESE INTERMEDIATE CODE: A971007

Effective date: 20130115

TRDD Decision of grant or rejection written
A01 Written decision to grant a patent or to grant a registration (utility model)

Free format text: JAPANESE INTERMEDIATE CODE: A01

Effective date: 20130122

A61 First payment of annual fees (during grant procedure)

Free format text: JAPANESE INTERMEDIATE CODE: A61

Effective date: 20130214

R150 Certificate of patent or registration of utility model

Ref document number: 5204007

Country of ref document: JP

Free format text: JAPANESE INTERMEDIATE CODE: R150

Free format text: JAPANESE INTERMEDIATE CODE: R150

FPAY Renewal fee payment (event date is renewal date of database)

Free format text: PAYMENT UNTIL: 20160222

Year of fee payment: 3

LAPS Cancellation because of no payment of annual fees