JP2009277686A - 絶縁膜の成膜方法および絶縁膜 - Google Patents
絶縁膜の成膜方法および絶縁膜 Download PDFInfo
- Publication number
- JP2009277686A JP2009277686A JP2008124604A JP2008124604A JP2009277686A JP 2009277686 A JP2009277686 A JP 2009277686A JP 2008124604 A JP2008124604 A JP 2008124604A JP 2008124604 A JP2008124604 A JP 2008124604A JP 2009277686 A JP2009277686 A JP 2009277686A
- Authority
- JP
- Japan
- Prior art keywords
- insulating film
- dielectric constant
- forming
- film
- air atmosphere
- Prior art date
- Legal status (The legal status is an assumption and is not a legal conclusion. Google has not performed a legal analysis and makes no representation as to the accuracy of the status listed.)
- Pending
Links
Images
Landscapes
- Chemical Vapour Deposition (AREA)
- Internal Circuitry In Semiconductor Integrated Circuit Devices (AREA)
- Formation Of Insulating Films (AREA)
Abstract
【課題】高い機械的強度、高い空気雰囲気中での安定性、高い熱的安定性を有しかつ低い比誘電率を有した絶縁膜を得る。
【解決手段】ジシクロペンチルジメトキシシラン、ジシクロヘキシルジメトキシシランなどのシリコン化合物からなるプラズマCVD用絶縁膜材料を用い、プラズマCVD法により絶縁膜を成膜する際、酸素などの酸化剤を同伴させるとともに、成膜温度を200℃〜300℃とし、ついで絶縁膜に200nm以上の波長の紫外線を照射して絶縁膜とする。
【選択図】なし
【解決手段】ジシクロペンチルジメトキシシラン、ジシクロヘキシルジメトキシシランなどのシリコン化合物からなるプラズマCVD用絶縁膜材料を用い、プラズマCVD法により絶縁膜を成膜する際、酸素などの酸化剤を同伴させるとともに、成膜温度を200℃〜300℃とし、ついで絶縁膜に200nm以上の波長の紫外線を照射して絶縁膜とする。
【選択図】なし
Description
この発明は、半導体装置の層間絶縁膜などに有用な絶縁膜を成膜する際に用いられる絶縁膜およびこれの成膜方法に関し、低誘電率で、かつ高機械的強度および高安定性を有する絶縁膜が得られるようにしたものである。
半導体装置の高集積化に伴い、配線層が微細化されつつある。しかし、微細な配線層では、配線層における信号遅延の影響が大きくなり、信号伝送速度の高速化を妨げている。 この信号遅延は、配線層の抵抗と配線層間容量に比例するため、高速化を実現するためには、配線層の低抵抗化と配線層間容量の低減が必須である。
このため、最近では配線層を構成する材料として、従来のアルミニウムから抵抗率の低い銅が用いられ、さらに配線層間容量を減らすために比誘電率の低い層間絶縁膜が用いられている。
例えば、SiO2膜が4.1、SiOF膜が3.7の比誘電率を有するが、さらに比誘電率の低いSiOCH膜や有機膜を用いるようになっている。
例えば、SiO2膜が4.1、SiOF膜が3.7の比誘電率を有するが、さらに比誘電率の低いSiOCH膜や有機膜を用いるようになっている。
このように層間絶縁膜の比誘電率は次第に小さくなっており、次世代用途のための比誘電率が2.4以下である低誘電率層間絶縁膜の研究開発がすすめられ、現在では、比誘電率が2.0を下回る層間絶縁膜が報告されている。
また、多層配線構造を形成する過程では、絶縁膜に対して、エッチング工程、洗浄工程、研磨工程といった処理が施される。これら処理に際し、絶縁膜が損傷することを防ぐため、絶縁膜は機械的強度が高いことが求められる(例えば、特許文献1参照)。
WO2006/075578号公報
しかしながら、前記先行発明において開示された絶縁膜の比誘電率は2.6と高く、かつ、比低誘電率化に伴い、絶縁膜の形成中において絶縁膜の剥離や絶縁膜の性質が変化して、製品化できない問題があった。
例えば、前記多層配線構造を形成する過程において、工程待ちとしてウェーハに形成された絶縁膜を空気雰囲気中で約2週間ほど放置する場合がある。このとき、絶縁膜が成膜時においては低い比誘電率であっても、空気雰囲気中で放置している間に、比誘電率が高くなってしまうことがあった。
また、前記多層配線構造を形成する過程には加熱工程があり、絶縁膜が加熱されることにより、比誘電率が変化してしまうこともあった。
そこで、本発明は、高い機械的強度、空気雰囲気中での高い安定性、高い熱的安定性を有しかつ低い比誘電率を有した絶縁膜を得ることを目的とする。
かかる課題を解決するため、
請求項1にかかる発明は、下記化学式(1)で示されるプラズマCVD用絶縁膜材料を用い、プラズマCVD法により、絶縁膜を成膜する成膜方法であって、
成膜の際、酸化剤を同伴させるとともに、成膜温度を200℃〜300℃とし、ついで絶縁膜に200nm以上の波長の紫外線を照射する絶縁膜の成膜方法。
化学式(1)において、
R1およびR2は、CH3、C2H5、n−C3H7、iso−C3H7、n−C4H9、iso−C4H9、tert−C4H9のいずれかであり、R1およびR2とは、一分子中において同一でも互いに相違であっても良い。
R3およびR4は、
c−C4X7、c−C5X9、c−C6X11、
c−C4X5、c−C5X7、c−C6X9、
c−C5X5、c−C6X7、
c−C6X5
のいずれかであり、R3およびR4とは、一分子中において同一でも互いに相違であっても良い。
前記R3、R4において、
Xは、H、CH3、C2H5、n−C3H7、iso−C3H7、n−C4H9、iso−C4H9、tert−C4H9のいずれかである。
請求項1にかかる発明は、下記化学式(1)で示されるプラズマCVD用絶縁膜材料を用い、プラズマCVD法により、絶縁膜を成膜する成膜方法であって、
成膜の際、酸化剤を同伴させるとともに、成膜温度を200℃〜300℃とし、ついで絶縁膜に200nm以上の波長の紫外線を照射する絶縁膜の成膜方法。
R1およびR2は、CH3、C2H5、n−C3H7、iso−C3H7、n−C4H9、iso−C4H9、tert−C4H9のいずれかであり、R1およびR2とは、一分子中において同一でも互いに相違であっても良い。
R3およびR4は、
c−C4X7、c−C5X9、c−C6X11、
c−C4X5、c−C5X7、c−C6X9、
c−C5X5、c−C6X7、
c−C6X5
のいずれかであり、R3およびR4とは、一分子中において同一でも互いに相違であっても良い。
前記R3、R4において、
Xは、H、CH3、C2H5、n−C3H7、iso−C3H7、n−C4H9、iso−C4H9、tert−C4H9のいずれかである。
請求項2にかかる発明は、プラズマCVD用絶縁膜材料が、ジシクロペンチルジメトキシシランまたはジシクロヘキシルジメトキシシランである請求項1に記載の絶縁膜の成膜方法である。
請求項3にかかる発明は、酸化剤が酸素である請求項1または2記載の絶縁膜の成膜方法である。
請求項4にかかる発明は、紫外線の照射時間が6分以内である請求項1ないし3のいずれかに記載の絶縁膜の成膜方法である。
請求項3にかかる発明は、酸化剤が酸素である請求項1または2記載の絶縁膜の成膜方法である。
請求項4にかかる発明は、紫外線の照射時間が6分以内である請求項1ないし3のいずれかに記載の絶縁膜の成膜方法である。
請求項5にかかる発明は、請求項1ないし4のいずれかに記載の成膜方法により得られた絶縁膜である。
請求項6にかかる発明は、空気雰囲気下において比誘電率の変化の割合(Δk)が2%/14日以下である請求項5記載の絶縁膜である。
請求項7にかかる発明は、比誘電率が2.4以下である請求項5または6記載の絶縁膜である。
請求項6にかかる発明は、空気雰囲気下において比誘電率の変化の割合(Δk)が2%/14日以下である請求項5記載の絶縁膜である。
請求項7にかかる発明は、比誘電率が2.4以下である請求項5または6記載の絶縁膜である。
本発明によれば、前記化学式(1)で示されるケイ素化合物を絶縁膜材料としてプラズマCVD法により成膜し、さらに紫外線照射処理して得られた絶縁膜は、その誘電率が低く、しかも機械的強度、空気雰囲気中の安定性、熱的安定性が高いものとなる。
以下、本発明を詳しく説明する。
本発明の絶縁膜の成膜方法に用いられるプラズマCVD用絶縁膜材料は、前記化学式(1)で表されるケイ素化合物であり、これらのケイ素化合物は、すべて公知化合物であって、公知合成方法により得ることができる。
この化学式(1)で示される化合物を機械的強度が高くかつ高安定性を有する絶縁膜を形成する材料として使用することは、従来知られていない。
本発明の絶縁膜の成膜方法に用いられるプラズマCVD用絶縁膜材料は、前記化学式(1)で表されるケイ素化合物であり、これらのケイ素化合物は、すべて公知化合物であって、公知合成方法により得ることができる。
この化学式(1)で示される化合物を機械的強度が高くかつ高安定性を有する絶縁膜を形成する材料として使用することは、従来知られていない。
化学式(1)で示される化合物を構成するR1、R2、R3、R4の組み合わせに制限はない。また、R1およびR2の炭素の数に上限はないが、分子量が大きくなり過ぎると化合物の蒸気圧が低下してガスとして使用できなくなるため、C4までが好ましい。R3およびR4は、環状炭化水素の安定性を考慮するとC4〜C6の範囲が好ましい。Xは水素が好ましい。
化学式(1)で示される化合物の具体的なものとしては、ジシクロペンチルジメトキシシラン、ジシクロヘキシルジメトキシシランが好ましい化合物である。
これ以外に用いられるケイ素化合物の例としては、ジシクロブチルジメトキシシラン、ジシクロブチルジエトキシシシラン、ジシクロブチルジプロポキシシラン、ジシクロブチルジイソプロポキシシラン、ジシクロブチルジブトキシシラン、ジシクロブチルジイソブトキシシラン、ジシクロブチルジターシャルブトキシシラン、ジシクロペンチルジエトキシシシラン、ジシクロペンチルジプロポキシシラン、ジシクロペンチルジイソプロポキシシラン、ジシクロペンチルジブトキシシラン、ジシクロペンチルジイソブトキシシラン、ジシクロペンチルジターシャルブトキシシラン、ジシクロヘキシルジエトキシシシラン、ジシクロヘキシルジプロポキシシラン、ジシクロヘキシルジイソプロポキシシラン、ジシクロヘキシルジブトキシシラン、ジシクロヘキシルジイソブトキシシラン、ジシクロヘキシルジターシャルブトキシシラン、ジシクロブテニルジメトキシシラン、ジシクロブテニルジエトキシシシラン、ジシクロブテニルジプロポキシシラン、ジシクロブテニルジイソプロポキシシラン、ジシクロブテニルジブトキシシラン、ジブテニルブチルジイソブトキシシラン、ジシクロブテニルジターシャルブトキシシラン、ジ−1−シクロペンテニルジメトキシシラン、ジ−1−シクロペンテニルジエトキシシシラン、ジ−1−シクロペンテニルジプロポキシシラン、ジ−1−シクロペンテニルジイソプロポキシシラン、ジ−1−シクロペンテニルジブトキシシラン、ジ−1−シクロペンテニルジイソブトキシシラン、ジ−1−シクロペンテニルジターシャルブトキシシラン、ジ−2−シクロペンテニルジメトキシシラン、ジ−2−シクロペンテニルジエトキシシシラン、ジ−2−シクロペンテニルジプロポキシシラン、ジ−2−シクロペンテニルジイソプロポキシシラン、ジ−2−シクロペンテニルジブトキシシラン、ジ−2−シクロペンテニルジイソブトキシシラン、ジ−2−シクロペンテニルジターシャルブトキシシラン、ジ−3−シクロペンテニルジメトキシシラン、ジ−3−シクロペンテニルジエトキシシシラン、ジ−3−シクロペンテニルジプロポキシシラン、ジ−3−シクロペンテニルジイソプロポキシシラン、ジ−3−シクロペンテニルジブトキシシラン、ジ−3−シクロペンテニルジイソブトキシシラン、ジ−3−シクロペンテニルジターシャルブトキシシラン、ジ−1−シクロヘキセニルジメトキシシラン、ジ−1−シクロヘキセニルジエトキシシシラン、ジ−1−シクロヘキセニルジプロポキシシラン、ジ−1−シクロヘキセニルジイソプロポキシシラン、ジ−1−シクロヘキセニルジブトキシシラン、ジ−1−シクロヘキセニルジイソブトキシシラン、ジ−1−シクロヘキセニルジターシャルブトキシシラン、ジ−2−シクロヘキセニルジメトキシシラン、ジ−2−シクロヘキセニルジエトキシシシラン、ジ−2−シクロヘキセニルジプロポキシシラン、ジ−2−シクロヘキセニルジイソプロポキシシラン、ジ−2−シクロヘキセニルジブトキシシラン、ジ−2−シクロヘキセニルジイソブトキシシラン、ジ−2−シクロヘキセニルジターシャルブトキシシラン、ジ−3−シクロヘキセニルジメトキシシラン、ジ−3−シクロヘキセニルジエトキシシシラン、ジ−3−シクロヘキセニルジプロポキシシラン、ジ−3−シクロヘキセニルジイソプロポキシシラン、ジ−3−シクロヘキセニルジブトキシシラン、ジ−3−シクロヘキセニルジイソブトキシシラン、ジ−3−シクロヘキセニルジターシャルブトキシシラン、ジ−2,4−シクロペンテジエニルジメトキシシラン、ジ−2,4−シクロペンテジエニルジエトキシシシラン、ジ−2,4−シクロペンテジエニルジプロポキシシラン、ジ−2,4−シクロペンテジエニルジイソプロポキシシラン、ジ−2,4−シクロペンテジエニルジブトキシシラン、ジ−2,4−シクロペンテジエニルジイソブトキシシラン、ジ−2,4−シクロペンテジエニルジターシャルブトキシシラン、ジ−1,3−シクロペンテジエニルジメトキシシラン、ジ−1,3−シクロペンテジエニルジエトキシシシラン、ジ−1,3−シクロペンテジエニルジプロポキシシラン、ジ−1,3−シクロペンテジエニルジイソプロポキシシラン、ジ−1,3−シクロペンテジエニルジブトキシシラン、ジ−1,3−シクロペンテジエニルジイソブトキシシラン、ジ−1,3−シクロペンテジエニルジターシャルブトキシシラン、ジ−1,3−シクロヘキサジエニルジメトキシシラン、ジ−1,3−シクロヘキサジエニルシジエトキシシシラン、ジ−1,3−シクロヘキサジエニルジプロポキシシラン、ジ−1,3−シクロヘキサジエニルジイソプロポキシシラン、ジ−1,3−シクロヘキサジエニルジブトキシシラン、ジ−1,3−シクロヘキサジエニルジイソブトキシシラン、ジ−1,3−シクロヘキサジエニルジターシャルブトキシシランなどがあげられる。
これ以外に用いられるケイ素化合物の例としては、ジシクロブチルジメトキシシラン、ジシクロブチルジエトキシシシラン、ジシクロブチルジプロポキシシラン、ジシクロブチルジイソプロポキシシラン、ジシクロブチルジブトキシシラン、ジシクロブチルジイソブトキシシラン、ジシクロブチルジターシャルブトキシシラン、ジシクロペンチルジエトキシシシラン、ジシクロペンチルジプロポキシシラン、ジシクロペンチルジイソプロポキシシラン、ジシクロペンチルジブトキシシラン、ジシクロペンチルジイソブトキシシラン、ジシクロペンチルジターシャルブトキシシラン、ジシクロヘキシルジエトキシシシラン、ジシクロヘキシルジプロポキシシラン、ジシクロヘキシルジイソプロポキシシラン、ジシクロヘキシルジブトキシシラン、ジシクロヘキシルジイソブトキシシラン、ジシクロヘキシルジターシャルブトキシシラン、ジシクロブテニルジメトキシシラン、ジシクロブテニルジエトキシシシラン、ジシクロブテニルジプロポキシシラン、ジシクロブテニルジイソプロポキシシラン、ジシクロブテニルジブトキシシラン、ジブテニルブチルジイソブトキシシラン、ジシクロブテニルジターシャルブトキシシラン、ジ−1−シクロペンテニルジメトキシシラン、ジ−1−シクロペンテニルジエトキシシシラン、ジ−1−シクロペンテニルジプロポキシシラン、ジ−1−シクロペンテニルジイソプロポキシシラン、ジ−1−シクロペンテニルジブトキシシラン、ジ−1−シクロペンテニルジイソブトキシシラン、ジ−1−シクロペンテニルジターシャルブトキシシラン、ジ−2−シクロペンテニルジメトキシシラン、ジ−2−シクロペンテニルジエトキシシシラン、ジ−2−シクロペンテニルジプロポキシシラン、ジ−2−シクロペンテニルジイソプロポキシシラン、ジ−2−シクロペンテニルジブトキシシラン、ジ−2−シクロペンテニルジイソブトキシシラン、ジ−2−シクロペンテニルジターシャルブトキシシラン、ジ−3−シクロペンテニルジメトキシシラン、ジ−3−シクロペンテニルジエトキシシシラン、ジ−3−シクロペンテニルジプロポキシシラン、ジ−3−シクロペンテニルジイソプロポキシシラン、ジ−3−シクロペンテニルジブトキシシラン、ジ−3−シクロペンテニルジイソブトキシシラン、ジ−3−シクロペンテニルジターシャルブトキシシラン、ジ−1−シクロヘキセニルジメトキシシラン、ジ−1−シクロヘキセニルジエトキシシシラン、ジ−1−シクロヘキセニルジプロポキシシラン、ジ−1−シクロヘキセニルジイソプロポキシシラン、ジ−1−シクロヘキセニルジブトキシシラン、ジ−1−シクロヘキセニルジイソブトキシシラン、ジ−1−シクロヘキセニルジターシャルブトキシシラン、ジ−2−シクロヘキセニルジメトキシシラン、ジ−2−シクロヘキセニルジエトキシシシラン、ジ−2−シクロヘキセニルジプロポキシシラン、ジ−2−シクロヘキセニルジイソプロポキシシラン、ジ−2−シクロヘキセニルジブトキシシラン、ジ−2−シクロヘキセニルジイソブトキシシラン、ジ−2−シクロヘキセニルジターシャルブトキシシラン、ジ−3−シクロヘキセニルジメトキシシラン、ジ−3−シクロヘキセニルジエトキシシシラン、ジ−3−シクロヘキセニルジプロポキシシラン、ジ−3−シクロヘキセニルジイソプロポキシシラン、ジ−3−シクロヘキセニルジブトキシシラン、ジ−3−シクロヘキセニルジイソブトキシシラン、ジ−3−シクロヘキセニルジターシャルブトキシシラン、ジ−2,4−シクロペンテジエニルジメトキシシラン、ジ−2,4−シクロペンテジエニルジエトキシシシラン、ジ−2,4−シクロペンテジエニルジプロポキシシラン、ジ−2,4−シクロペンテジエニルジイソプロポキシシラン、ジ−2,4−シクロペンテジエニルジブトキシシラン、ジ−2,4−シクロペンテジエニルジイソブトキシシラン、ジ−2,4−シクロペンテジエニルジターシャルブトキシシラン、ジ−1,3−シクロペンテジエニルジメトキシシラン、ジ−1,3−シクロペンテジエニルジエトキシシシラン、ジ−1,3−シクロペンテジエニルジプロポキシシラン、ジ−1,3−シクロペンテジエニルジイソプロポキシシラン、ジ−1,3−シクロペンテジエニルジブトキシシラン、ジ−1,3−シクロペンテジエニルジイソブトキシシラン、ジ−1,3−シクロペンテジエニルジターシャルブトキシシラン、ジ−1,3−シクロヘキサジエニルジメトキシシラン、ジ−1,3−シクロヘキサジエニルシジエトキシシシラン、ジ−1,3−シクロヘキサジエニルジプロポキシシラン、ジ−1,3−シクロヘキサジエニルジイソプロポキシシラン、ジ−1,3−シクロヘキサジエニルジブトキシシラン、ジ−1,3−シクロヘキサジエニルジイソブトキシシラン、ジ−1,3−シクロヘキサジエニルジターシャルブトキシシランなどがあげられる。
次に、本発明の成膜方法について説明する。
本発明の成膜方法は、基本的には、上述の化学式(1)に示される絶縁膜材料を用いプラズマCVD法により成膜を行い、ついで紫外線照射処理を行うものである。
この場合、化学式(1)で示されるケイ素化合物の1種または2種以上を混合して使用することができる。
本発明の成膜方法は、基本的には、上述の化学式(1)に示される絶縁膜材料を用いプラズマCVD法により成膜を行い、ついで紫外線照射処理を行うものである。
この場合、化学式(1)で示されるケイ素化合物の1種または2種以上を混合して使用することができる。
1種以上の絶縁膜材料を混合して使用する場合の混合比率は特に限定されず、得られる絶縁膜の比誘電率、機械的強度、空気雰囲気中での安定性、熱的安定性などを勘案して決定することができる。
また、成膜の際に、前記化学式(1)で示されるケイ素化合物からなる絶縁膜材料に酸化剤を添加し、好ましくはさらにキャリアガスを添加して成膜する。
したがって、成膜装置のチャンバー内に送り込まれ成膜に供される成膜用ガスは、絶縁膜材料からなるガスの他に、酸化剤、キャリアガスが混合された混合ガスとなることがある。
また、成膜の際に、前記化学式(1)で示されるケイ素化合物からなる絶縁膜材料に酸化剤を添加し、好ましくはさらにキャリアガスを添加して成膜する。
したがって、成膜装置のチャンバー内に送り込まれ成膜に供される成膜用ガスは、絶縁膜材料からなるガスの他に、酸化剤、キャリアガスが混合された混合ガスとなることがある。
このキャリアガスには、例えばヘリウム、アルゴン、クリプトン、キセノンなどの希ガスの他に、窒素、水素、メタン、エタンなど炭化水素などが挙げられるが、特に限定されるものではない。キャリアガスには、2種以上を混合して使用することができ、絶縁膜材料を含めその混合割合に特に限定はない。
酸化剤としては、プラズマ雰囲気中で酸化能力を発揮する化合物が用いられ、具体的には、酸素(O2)、亜酸化窒素(N2O)、水(H2O)、二酸化炭素(CO2)、オゾン(O3)などが挙げられる。なかでも、酸素は好適な効果を示すが、これに限定されるものではない。
成膜の際に酸化剤を共存させることは、得られる絶縁膜の空気雰囲気中での保存安定性を大きく改善することに寄与し、酸化剤が共存しないと、形成された絶縁膜が空気雰囲気中の酸素または水分によって徐々に酸化されて絶縁膜の比誘電率を上昇させてしまう。これは、絶縁膜中のSi−Hが酸化して比誘電率の上昇に大きく影響するSi−OHを生成するためである。
酸化剤の供給量は、体積比で上記絶縁膜材料に対して、5〜25%とされ、5%未満では空気雰囲気中での保存安定性改善効果が得られず、25%を越えると紫外線照射による改質効果が発現しにくくなり、比誘電率が低下しない。
絶縁膜材料およびキャリアガスが常温で気体状であればそのまま用いられ、液体状のものであればヘリウムなどの不活性ガスを用いたバブリングによる気化、気化器による気化、または加熱による気化によってガス化して用いられる。
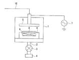
プラズマCVD法としては、周知のものが用いられ、例えば、図1に示すような平行平板型のプラズマ成膜装置などを使用して成膜することができる。
図1に示したプラズマ成膜装置は、減圧可能なチャンバー1を備え、このチャンバー1は、排気管2、開閉弁3を介して排気ポンプ4に接続されている。また、チャンバー1には、図示しない圧力計が備えられ、チャンバー1内の圧力が測定できるようになっている。チャンバー1内には、相対向する一対の平板状の上部電極5と下部電極6とが設けられている。上部電極5は、高周波電源7に接続され、上部電極5に高周波電流が印加されるようになっている。
図1に示したプラズマ成膜装置は、減圧可能なチャンバー1を備え、このチャンバー1は、排気管2、開閉弁3を介して排気ポンプ4に接続されている。また、チャンバー1には、図示しない圧力計が備えられ、チャンバー1内の圧力が測定できるようになっている。チャンバー1内には、相対向する一対の平板状の上部電極5と下部電極6とが設けられている。上部電極5は、高周波電源7に接続され、上部電極5に高周波電流が印加されるようになっている。
下部電極6は、基板8を載置する載置台を兼ねており、その内部にはヒーター9が内蔵され、基板8を加熱できるようになっている。
また、上部電極5には、ガス供給配管10が接続されている。このガス供給配管10には、図示しない成膜用ガス供給源が接続され、この成膜用ガス供給装置からの成膜用のガスが供給され、このガスは上部電極5内に形成された複数の貫通孔を通って、下部電極6に向けて拡散しつつ流れ出るようになっている。
また、上部電極5には、ガス供給配管10が接続されている。このガス供給配管10には、図示しない成膜用ガス供給源が接続され、この成膜用ガス供給装置からの成膜用のガスが供給され、このガスは上部電極5内に形成された複数の貫通孔を通って、下部電極6に向けて拡散しつつ流れ出るようになっている。
また、上記成膜用ガス供給源には、上述の絶縁膜材料を気化する気化装置と、その流量を調整する流量調整弁を備えるとともに、酸化剤およびキャリアガスを供給する供給装置がそれぞれ設けられており、これらのガスもガス供給配管10を流れて、上部電極5からチャンバー1内に流れ出るようになっている。
プラズマ成膜装置のチャンバー1内の下部電極6上に基板8を置き、成膜用ガス供給源から上記成膜用ガスをチャンバー1内に送り込む。高周波電源7から高周波電流を上部電極5に印加して、チャンバー1内にプラズマを発生させる。これにより、基板8上に上記成膜用ガスから気相化学反応により生成した絶縁膜が形成される。
基板8には、主にシリコンウェーハからなるものが用いられるが、このシリコンウェーハ上にはあらかじめ形成された他の絶縁膜、導電膜、配線構造などが存在していてもよい。
基板8には、主にシリコンウェーハからなるものが用いられるが、このシリコンウェーハ上にはあらかじめ形成された他の絶縁膜、導電膜、配線構造などが存在していてもよい。
プラズマCVD法としては、平行平板型の他に、ICPプラズマ、ECRプラズマ、マグネトロンプラズマ、高周波プラズマ、マイクロ波プラズマ、容量結合プラズマ、誘導結合プラズマなどを用いることが可能であり、平行平板型装置の下部電極にも高周波を導入する2周波励起プラズマを使用することもできる。
このプラズマ成膜装置における成膜条件は、以下の範囲が好適である。
絶縁膜材料流量 :25〜100cc/分 (2種以上の場合は合計量である)
キャリアガス流量 :0〜1000cc/分
酸化剤ガス流量 :1.25〜25cc/分
圧力 :1〜35Torr
RFパワー :100〜600W
基板温度 :200〜300℃
反応時間 :1秒〜1800秒
成膜厚さ :100nm〜300nm
絶縁膜材料流量 :25〜100cc/分 (2種以上の場合は合計量である)
キャリアガス流量 :0〜1000cc/分
酸化剤ガス流量 :1.25〜25cc/分
圧力 :1〜35Torr
RFパワー :100〜600W
基板温度 :200〜300℃
反応時間 :1秒〜1800秒
成膜厚さ :100nm〜300nm
上記成膜条件において、重要な点は、基板温度である。従来の成膜方法では、通常基板温度は350℃程度とされるが、本発明では基板の温度を200〜300℃の範囲とする。絶縁膜の比誘電率を低くするには、200℃程度がよく、機械的強度を高くするには300℃程度がよく、目的の物性に合わせて適宜選択することができる。
誘電率、強度、安定性の三者のバランスを重視した絶縁膜を形成する場合は250℃前後が好ましい。
誘電率、強度、安定性の三者のバランスを重視した絶縁膜を形成する場合は250℃前後が好ましい。
また、酸化剤を同伴させずに成膜を行った場合、成膜後に不活性ガスと酸化剤との混合ガスをプラズマ成膜装置に流通させつつ、基板を加熱して絶縁膜の熱処理を行ってもよい。不活性ガスには例えば窒素が使用され、基板温度は例えば200〜300℃の範囲とされる。
プラズマCVD法により成膜された絶縁膜は、ついで紫外線(UV)照射により後処理される。紫外線照射することで、絶縁膜中に存在する炭化水素を除去して、比誘電率を低くすることができる。例えば、除去される炭化水素としては、CxHy(x=1〜6、y=3〜11)がある。
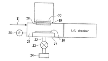
紫外線照射法としては、周知のものが用いられ、例えば、図2に示すような紫外線照射装置などを使用する。
紫外線照射法としては、周知のものが用いられ、例えば、図2に示すような紫外線照射装置などを使用する。
図2に示した紫外線照射装置は、減圧可能なチャンバー21を備え、このチャンバー21は、排気管22、開閉弁23を介して排気ポンプ24に接続されている。また、チャンバー21には、圧力計25が備えられ、チャンバー21内の圧力が測定できるようになっている。さらに、チャンバー21内には、基板26を載置する載置台27に対向して、石英板28とシャッター29が設けられ、シャッター29の裏面には紫外線ランプ30が設けられている。
基板26を載置する載置台27の内部には、図示しないヒーターが内蔵され、基板26を加熱できるようになっている。
また、チャンバー21にはガス供給配管31が接続されており、このガス供給配管31には、図示しない不活性ガス供給源が接続され、チャンバー21内を不活性雰囲気に保つことができる。不活性ガスには例えば窒素が使用される。
また、チャンバー21にはガス供給配管31が接続されており、このガス供給配管31には、図示しない不活性ガス供給源が接続され、チャンバー21内を不活性雰囲気に保つことができる。不活性ガスには例えば窒素が使用される。
紫外線照射装置のチャンバー21内の載置台27上に基板26を載置して、載置台27に備えられたヒーターにより基板26を加熱しつつ、不活性ガス供給源から不活性ガスをチャンバー21内に流通させながら、紫外線照射を行う。これにより、基板26上にある絶縁膜が紫外線照射処理される。
この紫外線照射装置における紫外線照射条件は、以下の範囲が好適であるがこの限りではない。
不活性ガス流量 :0〜5slm
圧力 :10Torr以下
基板温度 :450℃以下、好ましくは350〜450℃
紫外線強度 :430mW/cm2程度
紫外線波長 :200nm以上、好ましくは350〜400nm
紫外線照射時間 :3〜6分
基板と紫外線ランプの距離:50〜150mm、好ましくは108mm
不活性ガス流量 :0〜5slm
圧力 :10Torr以下
基板温度 :450℃以下、好ましくは350〜450℃
紫外線強度 :430mW/cm2程度
紫外線波長 :200nm以上、好ましくは350〜400nm
紫外線照射時間 :3〜6分
基板と紫外線ランプの距離:50〜150mm、好ましくは108mm
紫外線照射条件のなかで、紫外線の波長が重要な要素となる。この発明における紫外線照射処理は、絶縁膜の劣化を伴うことなく、実施する必要があり、短波長の高エネルギーの紫外線は用いることができず、比較的低エネルギーの200nm以上の波長の紫外線が用いられ、350〜400nmの波長が好ましい。200nm未満の波長の紫外線では、絶縁膜の劣化が生じる。
また、紫外線照射時間が短すぎると紫外線照射による効果が充分に絶縁膜内に行き渡らず、長すぎると絶縁膜の劣化が生じる。絶縁膜の膜厚が増すにつれて必要な照射時間も増加するが、最大でも6分を越えないことが好ましい。
他に、紫外線照射条件のなかでは、基板温度が熱的安定性に影響する。基板温度が低いと熱的安定性が低くなり、多層配線構造を形成する加熱工程で絶縁膜の劣化が生じる。
一方、基板温度が高いと熱的安定性が高くなるが、基板温度が高すぎると多層配線構造の熱的に弱い構造部分を劣化させてしまう恐れがあるため、350〜450℃の基板温度が好ましい。
一方、基板温度が高いと熱的安定性が高くなるが、基板温度が高すぎると多層配線構造の熱的に弱い構造部分を劣化させてしまう恐れがあるため、350〜450℃の基板温度が好ましい。
次に、本発明の絶縁膜について、説明する。
本発明の絶縁膜は、上述のプラズマCVD用絶縁膜材料と酸化剤またはこれとキャリアガスとを用い、プラズマ成膜装置によってプラズマCVD反応により成膜された後、紫外線照射処理されたもので、その比誘電率が低くで、機械的強度が高く、空気雰囲気中での安定性および熱的安定性が高いものである。
本発明の絶縁膜は、上述のプラズマCVD用絶縁膜材料と酸化剤またはこれとキャリアガスとを用い、プラズマ成膜装置によってプラズマCVD反応により成膜された後、紫外線照射処理されたもので、その比誘電率が低くで、機械的強度が高く、空気雰囲気中での安定性および熱的安定性が高いものである。
すなわち、得られた絶縁膜の比誘電率は少なくとも2.4以下で2.3程度のものとなり、大気圧下で空気雰囲気中に14日間放置した後の比誘電率の変化率(Δk)が2%以下、好ましくは1%以下であるものである。
この絶縁膜は、ケイ素と水素と炭素と酸素から構成されている。
この絶縁膜は、ケイ素と水素と炭素と酸素から構成されている。
本発明の絶縁膜形成方法により得られた絶縁膜が、優れた機械的強度を有し、かつ空気雰囲気中での安定性および熱的安定性が高く、低比誘電率を有する理由は、以下のように推測される。
プラズマ成膜装置によってプラズマCVD反応により形成された絶縁膜は、CxHy、水素終端されたSi−H、架橋されたSi−Oで構成されている。Si−Hは比誘電率に対する寄与が大きく、Si−Oは絶縁膜を形成するための主骨格の役割がある。
プラズマ成膜装置によってプラズマCVD反応により形成された絶縁膜は、CxHy、水素終端されたSi−H、架橋されたSi−Oで構成されている。Si−Hは比誘電率に対する寄与が大きく、Si−Oは絶縁膜を形成するための主骨格の役割がある。
絶縁膜を構成するCxHyの量は、プラズマ成膜装置に設けられた基板8の温度に依存する。できる限りCxHyを適量導入するには、該基板温度は200〜300℃の範囲とされる。
比誘電率を低くするためには、絶縁膜構造中の空孔を増加させること、絶縁膜を構成するSi−Hを減少させることに関与する。
比誘電率を低くするためには、絶縁膜構造中の空孔を増加させること、絶縁膜を構成するSi−Hを減少させることに関与する。
絶縁膜構造中の空孔を増加させるには、紫外線照射により絶縁膜を構成するCxHyを除去する。つまり、プラズマ成膜装置によって成膜された絶縁膜中にCxHyの量が多ければ、紫外線照射により絶縁膜構造中の空孔を増加させることができる。CxHyの量はプラズマ成膜装置の成膜温度すなわち基板温度に依存し、基板温度が低いと成膜後の絶縁膜中のCxHy量は多くなる。
絶縁膜を構成するCxHyの除去量は、紫外線強度、紫外線波長および基板温度に依存する。紫外線強度は紫外線照射装置に設けられた前記基板温度に影響を与えるため、使用する紫外線照射装置によって管理する。紫外線波長は、短波長(高エネルギー)の紫外線光より長波長(低エネルギー)の紫外線光のほうが好ましい。紫外線照射時間が長い場合は、絶縁膜が収縮するとともに絶縁膜中の空孔が収縮するため、比誘電率が高くなる。
なお、紫外線照射装置に設けられたチャンバー21内に水分等が存在すると、該絶縁膜を構成する炭化水素が絶縁膜から除去されるとともに、該水分等が該絶縁膜に吸着して、比誘電率を上昇させるため、不活性ガスをチャンバーに流通させる。
絶縁膜を構成するSi−Hを減少させるには、絶縁膜材料に酸化剤ガスを同伴させてプラズマCVD法により成膜する。前記絶縁膜を構成するSi−Hと反応して、Si−Oを形成するとともにSi−Hが減少する。同伴させる酸化剤ガスの量が多すぎると、Si−Oが過剰に形成されるとともに絶縁膜の密度が高くなるため、比誘電率が低下しない。
機械的強度を高くするには、絶縁膜を構成するSi−O量を増加させればよい。Si−Oはプラズマ成膜装置の成膜温度すなわち基板温度に依存し、基板温度が高いと形成される絶縁膜中のSi−O量は多くなる。また、絶縁膜材料に酸化剤ガスを同伴させ、Si−HをSi−Oに変化させることでSi−O量を増加させることができる。しかし、Si−Oが過剰に形成されると絶縁膜の密度が高くなり、機械的強度は高くなるが、比誘電率が低下しない。
絶縁膜の空孔率を増加させると、絶縁膜の空気に触れる部分が増加するとともに、絶縁膜構造内で主に絶縁膜中のSi−Hが徐々に空気雰囲気中の酸素または水分と反応して誘電率が経時的に高くなる。
空気雰囲気中での保存安定性を高くするには、絶縁膜中のSi−Hを減少させることで可能であり、Si−Hを減少させるには、酸化剤を同伴した条件で成膜を行うことで達成できる。絶縁膜中にSi−Hが存在すると、これが空気雰囲気中の酸素または水分と反応してSi−OHに変化して、比誘電率が高くなって、保存安定性が悪くなる。
また、紫外線照射により絶縁膜の熱的安定性が向上する。すなわち、プラズマCVD法によって成膜されたままの絶縁膜中には、不安定なCxHyが多量に存在すると考えられ、紫外線照射によって、不安定なCxHy結合を除去できる。このように、熱的安定性を損ねる恐れのある不安定なCxHyが取り除かれることで、熱的安定性が向上するものと推定される。
以上より、本発明にかかる絶縁膜が、低比誘電率を有し、かつ高い機械的強度、高い空気雰囲気中の安定性、高い熱的安定性を有する絶縁膜となるものと考えられる。
以上より、本発明にかかる絶縁膜が、低比誘電率を有し、かつ高い機械的強度、高い空気雰囲気中の安定性、高い熱的安定性を有する絶縁膜となるものと考えられる。
以下、本発明を実施例および比較例によりさらに詳細に説明する。
ただし、本発明は以下の実施例によって何ら限定されるものではない。
ただし、本発明は以下の実施例によって何ら限定されるものではない。
(実施例1)
絶縁膜を形成するにあたっては、平行平板型の容量結合プラズマCVD装置を使用し、
あらかじめ250℃程度に加熱したサセプター上に、8インチ(直径200mm)または
12インチ(直径300mm)のシリコンウェーハを搬送し、絶縁膜材料ガスとしてジシクロペンチルジメトキシシランを30cc/minの体積流量で、キャリアガスとしてヘリウムを600cc/min、酸素ガスを4cc/minを同伴して流通させ、プラズマ発生用高周波電源装置の出力を300Wに設定して絶縁膜を形成した。このときの前記プラズマCVD装置のチャンバー内圧力は35Torrであった。
絶縁膜を形成するにあたっては、平行平板型の容量結合プラズマCVD装置を使用し、
あらかじめ250℃程度に加熱したサセプター上に、8インチ(直径200mm)または
12インチ(直径300mm)のシリコンウェーハを搬送し、絶縁膜材料ガスとしてジシクロペンチルジメトキシシランを30cc/minの体積流量で、キャリアガスとしてヘリウムを600cc/min、酸素ガスを4cc/minを同伴して流通させ、プラズマ発生用高周波電源装置の出力を300Wに設定して絶縁膜を形成した。このときの前記プラズマCVD装置のチャンバー内圧力は35Torrであった。
プラズマ成膜装置によってプラズマCVD反応により成膜された絶縁膜を改質するにあたっては、紫外線照射装置を使用し、あらかじめ400℃程度に加熱した載置台上に、8インチ(直径200mm)または12インチ(直径300mm)のシリコンウェーハを搬送し、窒素ガスを2000cc/minの体積流量で流通させ、紫外線波長350nm程度、紫外線強度430mW/cm2程度、ウェーハと紫外線ランプの距離を108mm、紫外線照射時間を5分程度に設定して、絶縁膜を改質した。このときの前記紫外線照射装置のチャンバー内圧力は5Torrであった。
得られた絶縁膜の比誘電率を測定するために、前記シリコンウェーハをSSM社製CV測定装置495上に搬送し、水銀電極を用いて絶縁膜の比誘電率を測定した。測定結果を表1に示す。
得られた絶縁膜の機械的強度を測定するために、MTS社製Nano Indenter DCMを使用した。該絶縁膜のヤング率を機械的強度とした。該測定装置に設けられた圧子の押し込み深さは、該絶縁膜の厚さの10%程度とした。測定結果を表1に示す。
得られた絶縁膜の熱的安定性を評価する方法として、該絶縁膜を400℃で10分間加熱した後、比誘電率を測定した。加熱と測定を3回繰り返すことで、該絶縁膜が多層配線構造を形成する過程で加熱される様態を再現している。評価結果を表1に示す。
得られた絶縁膜の空気雰囲気中での安定性を評価する方法として、該絶縁膜を空気雰囲気中に放置して、比誘電率の経時変化を測定した。この評価方法は、多層配線構造を形成する過程における、該絶縁膜の空気雰囲気中での放置を再現している。例えば、放置期間は2週間程度である。評価結果を表1に示す。
(実施例2)
絶縁膜を形成するにあたって使用する装置および方法は実施例1とほぼ同じであるが、
絶縁膜材料ガスとしてジシクロヘキシルジメトキシシランを30cc/minの体積流量で、キャリアガスとしてヘリウムを600cc/min、酸素ガスを4cc/min同伴して流通させ、プラズマ発生用高周波電源装置の出力を300Wに設定して絶縁膜を形成した。このときの前記プラズマCVD装置のチャンバー内圧力は35Torrであった。
絶縁膜を形成するにあたって使用する装置および方法は実施例1とほぼ同じであるが、
絶縁膜材料ガスとしてジシクロヘキシルジメトキシシランを30cc/minの体積流量で、キャリアガスとしてヘリウムを600cc/min、酸素ガスを4cc/min同伴して流通させ、プラズマ発生用高周波電源装置の出力を300Wに設定して絶縁膜を形成した。このときの前記プラズマCVD装置のチャンバー内圧力は35Torrであった。
また、成膜後の絶縁膜を紫外線照射処理するにあたって使用した装置および方法は実施例1と同じである。
得られた絶縁膜の比誘電率、機械的強度、熱的安定性、空気雰囲気での安定性を実施例1と同様にして評価した。比誘電率、機械的強度、熱的安定性、空気雰囲気での安定性の測定結果を表1に示す。
(比較例1)
絶縁膜を形成するにあたって使用する装置および方法は実施例1とほぼ同じであるが、
サセプターをあらかじめ275℃程度に加熱して、絶縁膜材料ガスとしてジシクロペンチルジメトキシシランを30cc/minの体積流量で、キャリアガスとしてヘリウムを600cc/minを同伴して流通させ、プラズマ発生用高周波電源装置の出力を300Wに設定して絶縁膜を形成した。このときの前記プラズマCVD装置のチャンバー内圧力は35Torrであった。
この例では、酸化剤を同伴していない。
絶縁膜を形成するにあたって使用する装置および方法は実施例1とほぼ同じであるが、
サセプターをあらかじめ275℃程度に加熱して、絶縁膜材料ガスとしてジシクロペンチルジメトキシシランを30cc/minの体積流量で、キャリアガスとしてヘリウムを600cc/minを同伴して流通させ、プラズマ発生用高周波電源装置の出力を300Wに設定して絶縁膜を形成した。このときの前記プラズマCVD装置のチャンバー内圧力は35Torrであった。
この例では、酸化剤を同伴していない。
また、成膜後の絶縁膜を紫外線照射処理するにあたって使用した装置および方法は実施例1と同じである。
得られた絶縁膜の比誘電率、機械的強度、熱的安定性、空気雰囲気での安定性を実施例1と同様にして評価した。比誘電率、機械的強度、熱的安定性、空気雰囲気での安定性の測定結果を表1に示す。
(比較例2)
絶縁膜を形成するにあたって使用する装置および方法は実施例1とほぼ同じであるが、
サセプターをあらかじめ275℃程度に加熱して、絶縁膜材料ガスとしてジシクロペンチルジメトキシシランを30cc/minの体積流量で、キャリアガスとしてヘリウムを600cc/min、酸素ガスを4cc/min同伴して流通させ、プラズマ発生用高周波電源装置の出力を300Wに設定して絶縁膜を形成した。このときの前記プラズマCVD装置のチャンバー内圧力は35Torrであった。
絶縁膜を形成するにあたって使用する装置および方法は実施例1とほぼ同じであるが、
サセプターをあらかじめ275℃程度に加熱して、絶縁膜材料ガスとしてジシクロペンチルジメトキシシランを30cc/minの体積流量で、キャリアガスとしてヘリウムを600cc/min、酸素ガスを4cc/min同伴して流通させ、プラズマ発生用高周波電源装置の出力を300Wに設定して絶縁膜を形成した。このときの前記プラズマCVD装置のチャンバー内圧力は35Torrであった。
成膜された絶縁膜には、紫外線照射処理を施していない。
得られた絶縁膜の比誘電率、機械的強度を実施例1と同様にして評価した。比誘電率、機械的強度の測定結果を表1に示す。
(比較例3)
絶縁膜を形成するにあたって使用する装置および方法は実施例1とほぼ同じであるが、
サセプターをあらかじめ275℃程度に加熱して、絶縁膜材料ガスとしてジシクロペンチルジメトキシシランを30cc/minの体積流量で、キャリアガスとしてヘリウムを600cc/min、酸素ガスを4cc/min同伴して流通させ、プラズマ発生用高周波電源装置の出力を300Wに設定して絶縁膜を形成した。このときの前記プラズマCVD装置のチャンバー内圧力は35Torrであった。
絶縁膜を形成するにあたって使用する装置および方法は実施例1とほぼ同じであるが、
サセプターをあらかじめ275℃程度に加熱して、絶縁膜材料ガスとしてジシクロペンチルジメトキシシランを30cc/minの体積流量で、キャリアガスとしてヘリウムを600cc/min、酸素ガスを4cc/min同伴して流通させ、プラズマ発生用高周波電源装置の出力を300Wに設定して絶縁膜を形成した。このときの前記プラズマCVD装置のチャンバー内圧力は35Torrであった。
また、成膜後の絶縁膜を紫外線照射処理するにあったって使用する装置および方法は実施例1とほぼ同じであるが、紫外線波長172nm程度、紫外線強度20mW/cm2程度に設定して絶縁膜を改質させた。
得られた絶縁膜の比誘電率、機械的強度、空気雰囲気での安定性を実施例1と同様にして評価した。比誘電率、機械的強度、空気雰囲気での安定性の測定結果を表1に示す。
(比較例4)
絶縁膜を形成するにあたって使用する装置および方法は実施例1とほぼ同じであるが、
サセプターをあらかじめ275℃程度に加熱して、絶縁膜材料ガスとしてジシクロペンチルジメトキシシランを30cc/minの体積流量で、キャリアガスとしてヘリウムを600cc/min、酸素ガスを4cc/min同伴して流通させ、プラズマ発生用高周波電源装置の出力を300Wに設定して絶縁膜を形成した。このときの前記プラズマCVD装置のチャンバー内圧力は35Torrであった。
絶縁膜を形成するにあたって使用する装置および方法は実施例1とほぼ同じであるが、
サセプターをあらかじめ275℃程度に加熱して、絶縁膜材料ガスとしてジシクロペンチルジメトキシシランを30cc/minの体積流量で、キャリアガスとしてヘリウムを600cc/min、酸素ガスを4cc/min同伴して流通させ、プラズマ発生用高周波電源装置の出力を300Wに設定して絶縁膜を形成した。このときの前記プラズマCVD装置のチャンバー内圧力は35Torrであった。
成膜後の絶縁膜を紫外線照射処理するにあたって使用する装置および方法は実施例1と同じである。
得られた絶縁膜の比誘電率、機械的強度、空気雰囲気での安定性を実施例1と同様にして評価した。比誘電率、機械的強度、空気雰囲気での安定性の測定結果を表1に示す。
表1に示した結果から、実施例1で得られた絶縁膜は比誘電率が2.37、ヤング率が8.0GPa、2週間程度空気雰囲気中に放置した場合の比誘電率の上昇率が1%未満、比誘電率の加熱による変化なしであった。
実施例2で得られた絶縁膜は比誘電率が2.30、ヤング率が7.0GPa、2週間程度空気雰囲気中に放置した場合の比誘電率の上昇率が1%未満、比誘電率の加熱による変化なしであることがわかった。
実施例2で得られた絶縁膜は比誘電率が2.30、ヤング率が7.0GPa、2週間程度空気雰囲気中に放置した場合の比誘電率の上昇率が1%未満、比誘電率の加熱による変化なしであることがわかった。
表1に示した結果から、比較例1で得られた絶縁膜は比誘電率が2.47、ヤング率が8.9GPa、2週間程度空気雰囲気中に放置した場合の比誘電率の上昇率が3%程度であることがわかった。
比較例1より、空気雰囲気中に放置すると比誘電率が大きくなることがわかった。したがって、多層配線構造を形成する過程において、絶縁膜を空気雰囲気中で放置すれば、配線層間容量を減らすことができないことがわかった。
表1に示した結果から、比較例2で形成され改質された絶縁膜は比誘電率が2.70、ヤング率が5.0GPaであることがわかった。比較例2より、紫外線照射による絶縁膜の改質を行わなければ、比誘電率が小さくならないことがわかった。また、熱的安定性も確保できないことがわかった。
表1に示した結果および図3で示したグラフから、比較例3で形成され改質された絶縁膜は比誘電率が2.60、ヤング率が9.2GPa、2週間程度空気雰囲気中に放置した場合の比誘電率の上昇率が10%程度、比誘電率の加熱による変化なしであることがわかった。
比較例3より、短波長紫外線の照射による絶縁膜の改質を行っても、該絶縁膜の空気雰囲気中での安定性が低いことがわかった。
表1に示した結果から、比較例4で形成され改質された絶縁膜は比誘電率が2.50、ヤング率が9.2GPa、2週間程度空気雰囲気中に放置した場合の比誘電率の上昇率が1%未満であることがわかった。
比較例4より、プラズマ成膜装置で絶縁膜を形成する際の成膜温度が高かったために、得られた絶縁膜の比誘電率が比較的大きくなることがわかった。
このように、前記化学式(1)で示されるケイ素化合物からなる絶縁膜材料を用いてプ
ラズマCVD法によって絶縁膜を適切な成膜温度で成膜して、適切な紫外線照射により該絶縁膜を改質することで、機械的強度、空気雰囲気中の安定性、熱的安定性が高くかつ比誘電率が低い絶縁膜を形成するができる。
ラズマCVD法によって絶縁膜を適切な成膜温度で成膜して、適切な紫外線照射により該絶縁膜を改質することで、機械的強度、空気雰囲気中の安定性、熱的安定性が高くかつ比誘電率が低い絶縁膜を形成するができる。
本発明は、次世代に求められる高集積化されたLSI配線を使用する半導体装置に適用することができる。
1・・チャンバー、2・・排気管、3・・開閉弁、4・・排気ポンプ、5・・上部電極、6・・下部電極、7・・高周波電源、8・・基板、9・・ヒータ、10・・ガス供給配管、21・・チャンバー、22・・排気管、23・・開閉弁、24・・排気ポンプ、25・・圧力計、26・・基板(ウェーハ)、27・・載置台(サセプタ)、28・・石英板、29・・シャッター、30・・紫外線ランプ、31・・ガス供給配管
Claims (7)
- 下記化学式(1)で示されるプラズマCVD用絶縁膜材料を用い、プラズマCVD法により、絶縁膜を成膜する成膜方法であって、
成膜の際、酸化剤を同伴させるとともに、成膜温度を200℃〜300℃とし、ついで絶縁膜に200nm以上の波長の紫外線を照射する絶縁膜の成膜方法。
化学式(1)において、
R1およびR2は、CH3、C2H5、n−C3H7、iso−C3H7、n−C4H9、iso−C4H9、tert−C4H9のいずれかであり、R1およびR2とは、一分子中において同一でも互いに相違であっても良い。
R3およびR4は、
c−C4X7、c−C5X9、c−C6X11、
c−C4X5、c−C5X7、c−C6X9、
c−C5X5、c−C6X7、
c−C6X5
のいずれかであり、R3およびR4とは、一分子中において同一でも互いに相違であっても良い。
前記R3、R4において、
Xは、H、CH3、C2H5、n−C3H7、iso−C3H7、n−C4H9、iso−C4H9、tert−C4H9のいずれかである。 - プラズマCVD用絶縁膜材料が、ジシクロペンチルジメトキシシランまたはジシクロヘキシルジメトキシシランである請求項1に記載の絶縁膜の成膜方法。
- 酸化剤が酸素である請求項1または2記載の絶縁膜の成膜方法。
- 紫外線の照射時間が6分以内である請求項1ないし3のいずれかに記載の絶縁膜の成膜方法。
- 請求項1ないし4のいずれかに記載の成膜方法により得られた絶縁膜。
- 空気雰囲気下において比誘電率の変化の割合(Δk)が2%/14日以下である請求項5記載の絶縁膜。
- 比誘電率が2.4以下である請求項5または6記載の絶縁膜。
Priority Applications (1)
| Application Number | Priority Date | Filing Date | Title |
|---|---|---|---|
| JP2008124604A JP2009277686A (ja) | 2008-05-12 | 2008-05-12 | 絶縁膜の成膜方法および絶縁膜 |
Applications Claiming Priority (1)
| Application Number | Priority Date | Filing Date | Title |
|---|---|---|---|
| JP2008124604A JP2009277686A (ja) | 2008-05-12 | 2008-05-12 | 絶縁膜の成膜方法および絶縁膜 |
Publications (1)
| Publication Number | Publication Date |
|---|---|
| JP2009277686A true JP2009277686A (ja) | 2009-11-26 |
Family
ID=41442885
Family Applications (1)
| Application Number | Title | Priority Date | Filing Date |
|---|---|---|---|
| JP2008124604A Pending JP2009277686A (ja) | 2008-05-12 | 2008-05-12 | 絶縁膜の成膜方法および絶縁膜 |
Country Status (1)
| Country | Link |
|---|---|
| JP (1) | JP2009277686A (ja) |
Citations (7)
| Publication number | Priority date | Publication date | Assignee | Title |
|---|---|---|---|---|
| JPH0848543A (ja) * | 1994-04-19 | 1996-02-20 | Boc Group Inc:The | 種々の基板上への防曇及び耐引掻性コーティングのプラズマ強化化学蒸着法 |
| JPH08321499A (ja) * | 1995-03-20 | 1996-12-03 | Fujitsu Ltd | 硅素化合物膜およびその形成方法 |
| JP2002526219A (ja) * | 1998-09-21 | 2002-08-20 | ザ、プロクター、エンド、ギャンブル、カンパニー | 耐久的に湿潤性である液体透過性ウェブ |
| JP2004274052A (ja) * | 2003-03-04 | 2004-09-30 | Air Products & Chemicals Inc | Uv照射による高密度及び多孔質有機ケイ酸塩材料の機械的強化 |
| JP2005051192A (ja) * | 2002-11-28 | 2005-02-24 | Tosoh Corp | 有機シラン、有機シロキサン化合物を含んでなる絶縁膜用材料、その製造方法および半導体デバイス |
| WO2006075578A1 (ja) * | 2005-01-12 | 2006-07-20 | Tri Chemical Laboratories Inc. | 膜形成材料および膜形成方法 |
| JP2007523484A (ja) * | 2004-02-19 | 2007-08-16 | デグサ ゲーエムベーハー | チップス上にSiO2含有絶縁層を形成させるためのシリコーン化合物 |
-
2008
- 2008-05-12 JP JP2008124604A patent/JP2009277686A/ja active Pending
Patent Citations (7)
| Publication number | Priority date | Publication date | Assignee | Title |
|---|---|---|---|---|
| JPH0848543A (ja) * | 1994-04-19 | 1996-02-20 | Boc Group Inc:The | 種々の基板上への防曇及び耐引掻性コーティングのプラズマ強化化学蒸着法 |
| JPH08321499A (ja) * | 1995-03-20 | 1996-12-03 | Fujitsu Ltd | 硅素化合物膜およびその形成方法 |
| JP2002526219A (ja) * | 1998-09-21 | 2002-08-20 | ザ、プロクター、エンド、ギャンブル、カンパニー | 耐久的に湿潤性である液体透過性ウェブ |
| JP2005051192A (ja) * | 2002-11-28 | 2005-02-24 | Tosoh Corp | 有機シラン、有機シロキサン化合物を含んでなる絶縁膜用材料、その製造方法および半導体デバイス |
| JP2004274052A (ja) * | 2003-03-04 | 2004-09-30 | Air Products & Chemicals Inc | Uv照射による高密度及び多孔質有機ケイ酸塩材料の機械的強化 |
| JP2007523484A (ja) * | 2004-02-19 | 2007-08-16 | デグサ ゲーエムベーハー | チップス上にSiO2含有絶縁層を形成させるためのシリコーン化合物 |
| WO2006075578A1 (ja) * | 2005-01-12 | 2006-07-20 | Tri Chemical Laboratories Inc. | 膜形成材料および膜形成方法 |
Similar Documents
| Publication | Publication Date | Title |
|---|---|---|
| JP5268130B2 (ja) | 酸素含有炭化ケイ素膜を形成するための方法 | |
| JP6959334B2 (ja) | 高密度osg膜用シリル架橋アルキル化合物の使用 | |
| TWI397606B (zh) | 生孔劑、生孔性前驅物及使用其提供具有低介電常數之多孔性有機矽石玻璃膜的方法 | |
| JP5614589B2 (ja) | 絶縁膜材料を用いた成膜方法および絶縁膜 | |
| CN101109074B (zh) | 在硅和有机前驱物的pecvd工艺中减少气相反应以沉积无缺陷起始层方法 | |
| CN105177524B (zh) | 烷基-烷氧基硅杂环化合物和利用该化合物沉积薄膜的方法 | |
| JP5312588B2 (ja) | プラズマ促進化学蒸着で高い機械的諸特性を有する超低k膜を作製するための新規なケイ素前駆体 | |
| JP4344841B2 (ja) | 低誘電率絶縁膜の形成方法 | |
| CN103276370A (zh) | 多孔低介电常数组合物、其制备方法及其使用方法 | |
| CN102770580A (zh) | 藉由等离子体增强化学气相沉积使用含有具有机官能基的硅的杂化前驱物所形成的超低介电材料 | |
| JP2004320005A (ja) | 有機シリカ多孔性膜製造のための化学気相成長方法 | |
| JP2004193622A (ja) | 多孔誘電体材料のcvd法 | |
| TWI690614B (zh) | 矽環化合物及使用其沉積含矽膜的方法 | |
| TWI729417B (zh) | 矽化合物及使用其沉積膜的方法 | |
| KR20180092309A (ko) | 우수한 집적 속성을 제공하는 낮은 k 전구체 | |
| JP2011014925A (ja) | ポロゲン、ポロゲン化された前駆体及び低誘電率をもつ多孔質有機シリカガラス膜を得るためにそれらを使用する方法 | |
| CN101316945B (zh) | 低介电常数薄膜的灰化/湿法蚀刻损伤的抵抗性以及整体稳定性的改进方法 | |
| TWI894160B (zh) | 一種用於製造介電膜之化學氣相沉積方法 | |
| TWI822044B (zh) | 用於氣相沉積一介電膜的組合物及用於沉積一有機矽膜的方法 | |
| US7488693B2 (en) | Method for producing silicon oxide film | |
| KR100926722B1 (ko) | 반도체 기판상의 실록산 중합체막 및 그 제조방법 | |
| JP2009277686A (ja) | 絶縁膜の成膜方法および絶縁膜 | |
| TWI762761B (zh) | 用於密osg膜的有機取代的硬化添料化合物與矽構造形成劑 | |
| JP3197008B2 (ja) | 半導体基板上のシリコン重合体絶縁膜及びその膜を形成する方法 | |
| CN1782124B (zh) | 多孔低介电常数组合物、其制备方法及其使用方法 |
Legal Events
| Date | Code | Title | Description |
|---|---|---|---|
| A621 | Written request for application examination |
Effective date: 20110405 Free format text: JAPANESE INTERMEDIATE CODE: A621 |
|
| A977 | Report on retrieval |
Effective date: 20110831 Free format text: JAPANESE INTERMEDIATE CODE: A971007 |
|
| A131 | Notification of reasons for refusal |
Free format text: JAPANESE INTERMEDIATE CODE: A131 Effective date: 20121204 |
|
| A02 | Decision of refusal |
Effective date: 20130604 Free format text: JAPANESE INTERMEDIATE CODE: A02 |
