JP2009013616A - 大スパン構造建築物 - Google Patents
大スパン構造建築物 Download PDFInfo
- Publication number
- JP2009013616A JP2009013616A JP2007174641A JP2007174641A JP2009013616A JP 2009013616 A JP2009013616 A JP 2009013616A JP 2007174641 A JP2007174641 A JP 2007174641A JP 2007174641 A JP2007174641 A JP 2007174641A JP 2009013616 A JP2009013616 A JP 2009013616A
- Authority
- JP
- Japan
- Prior art keywords
- building
- foundation
- pile
- lattice
- span structure
- Prior art date
- Legal status (The legal status is an assumption and is not a legal conclusion. Google has not performed a legal analysis and makes no representation as to the accuracy of the status listed.)
- Pending
Links
- 229910000831 Steel Inorganic materials 0.000 claims abstract description 53
- 239000010959 steel Substances 0.000 claims abstract description 53
- 239000002131 composite material Substances 0.000 claims abstract description 12
- 239000000463 material Substances 0.000 claims description 41
- 238000003466 welding Methods 0.000 claims description 16
- 239000004570 mortar (masonry) Substances 0.000 claims description 6
- 229920005989 resin Polymers 0.000 claims description 6
- 239000011347 resin Substances 0.000 claims description 6
- 238000010276 construction Methods 0.000 abstract description 35
- 238000000034 method Methods 0.000 description 6
- 238000010586 diagram Methods 0.000 description 5
- 238000002955 isolation Methods 0.000 description 5
- 230000003014 reinforcing effect Effects 0.000 description 5
- 238000005516 engineering process Methods 0.000 description 3
- 239000002689 soil Substances 0.000 description 3
- 230000015572 biosynthetic process Effects 0.000 description 2
- 230000004048 modification Effects 0.000 description 2
- 238000012986 modification Methods 0.000 description 2
- 239000012779 reinforcing material Substances 0.000 description 2
- 229920002748 Basalt fiber Polymers 0.000 description 1
- 229920000049 Carbon (fiber) Polymers 0.000 description 1
- 238000009412 basement excavation Methods 0.000 description 1
- 238000005452 bending Methods 0.000 description 1
- 239000004917 carbon fiber Substances 0.000 description 1
- 230000007423 decrease Effects 0.000 description 1
- 230000000694 effects Effects 0.000 description 1
- 238000009415 formwork Methods 0.000 description 1
- 239000007769 metal material Substances 0.000 description 1
- VNWKTOKETHGBQD-UHFFFAOYSA-N methane Chemical compound C VNWKTOKETHGBQD-UHFFFAOYSA-N 0.000 description 1
- 239000007787 solid Substances 0.000 description 1
- 229920003002 synthetic resin Polymers 0.000 description 1
- 239000000057 synthetic resin Substances 0.000 description 1
Images
Landscapes
- Rod-Shaped Construction Members (AREA)
Abstract
【課題】従来の建築物に比べて大スパンの梁間寸法による施工が可能であり、建築物の内部に広い空間を確保することができるとともに、施工期間や施工コストを削減することができる大スパン構造建築物を提供すること。
【解決手段】複数の基礎1の上部に夫々柱2が立設され、該柱間に梁3が架設されてなる建築物であって、前記梁がH型鋼4の上下フランジ間を波形状のラチス5で接続した合成梁からなることを特徴とする大スパン構造建築物とする。
【選択図】図2
【解決手段】複数の基礎1の上部に夫々柱2が立設され、該柱間に梁3が架設されてなる建築物であって、前記梁がH型鋼4の上下フランジ間を波形状のラチス5で接続した合成梁からなることを特徴とする大スパン構造建築物とする。
【選択図】図2
Description
本発明は、従来の建築物に比べて大スパンの梁間寸法による施工を可能とした大スパン構造建築物に関する。
図17は従来の中高層建築物の一般的な構造を示す図であり、左下図は基礎部分の平面図、上図はA−A’断面図、右図はB−B’断面図である。
図17に示すように、従来の中高層建築物は、建築物の周囲及び内部の領域に所定間隔で基礎(30)や地中梁(31)が設けられ、基礎(30)の上部には夫々柱(32)が立設され、柱(32)同士の間がH形鋼からなる梁(33)により接合されている構造を有するものが一般的であった。
しかしながら、このような従来の建築物では、梁の強度の関係から梁間のスパンをあまり大きくとることはできない。そのため、建築物の内部領域(34)にも多数の柱(32)が存在することとなり、建築物の内部に遮るものが無い広い空間を確保することは困難であった。
また、建築物の内部領域に基礎(30)や地中梁(31)を設けるための工事、例えば掘削工事、地業、型枠工事、鉄筋工事、コンクリート工事等が必要であり、その分だけ施工期間や施工コストが嵩んでいた。
図17に示すように、従来の中高層建築物は、建築物の周囲及び内部の領域に所定間隔で基礎(30)や地中梁(31)が設けられ、基礎(30)の上部には夫々柱(32)が立設され、柱(32)同士の間がH形鋼からなる梁(33)により接合されている構造を有するものが一般的であった。
しかしながら、このような従来の建築物では、梁の強度の関係から梁間のスパンをあまり大きくとることはできない。そのため、建築物の内部領域(34)にも多数の柱(32)が存在することとなり、建築物の内部に遮るものが無い広い空間を確保することは困難であった。
また、建築物の内部領域に基礎(30)や地中梁(31)を設けるための工事、例えば掘削工事、地業、型枠工事、鉄筋工事、コンクリート工事等が必要であり、その分だけ施工期間や施工コストが嵩んでいた。
一方、本願出願人は、下記特許文献1において、大スパンの梁間寸法での施工を可能とする技術を開示している。
この開示技術は、軸方向に補強材を内在したコンクリート梁を使用したものであって、補強材として、炭素繊維又は玄武岩繊維を合成樹脂で固めた軸材を三次元立体トラス構造に組み合わせた構造材を使用している。
この開示技術は、軸方向に補強材を内在したコンクリート梁を使用したものであって、補強材として、炭素繊維又は玄武岩繊維を合成樹脂で固めた軸材を三次元立体トラス構造に組み合わせた構造材を使用している。
この開示技術は、梁の強度が向上するため、大スパンの梁間寸法での施工が可能となる点で優れたものであったが、梁として特殊な構造材を内在させた梁を使用するため、材料コストが高くなるとともに施工性が低下するという問題があった。
また、この開示技術は、既存の店舗の上部に構造物を構築する技術であるため、低層階においては従来の建築物と同様に建築物の内部領域には多数の柱がそのまま存在しており、建築物の内部に遮るものが無い広い空間を確保することはできなかった。
更に、従来の建築物と同様に建築物の内部領域には基礎や地中梁が設けられているため、建築物全体として施工期間や施工コストを削減することはできなかった。
また、この開示技術は、既存の店舗の上部に構造物を構築する技術であるため、低層階においては従来の建築物と同様に建築物の内部領域には多数の柱がそのまま存在しており、建築物の内部に遮るものが無い広い空間を確保することはできなかった。
更に、従来の建築物と同様に建築物の内部領域には基礎や地中梁が設けられているため、建築物全体として施工期間や施工コストを削減することはできなかった。
本発明は上記したような従来技術の問題点を解決すべくなされたものであって、従来の建築物に比べて大スパンの梁間寸法による施工が可能であり、建築物の内部に広い空間を確保することができるとともに、施工期間や施工コストを削減することができる大スパン構造建築物を提供するものである。
請求項1に係る発明は、複数の基礎の上部に夫々柱が立設され、該柱間に梁が架設されてなる建築物であって、前記梁がH型鋼の上下フランジ間を波形状のラチスで接続した合成梁からなることを特徴とする大スパン構造建築物に関する。
請求項2に係る発明は、前記基礎は建築物の外周に沿う部分にのみ設置され、建築物の中央部においては基礎、地中梁、柱が設けられていないことを特徴とする請求項1記載の大スパン構造建築物に関する。
請求項3に係る発明は、前記合成梁は、H型鋼のフランジとラチスとが溶接されて構成されており、前記ラチスを構成するラチス材は、隣り合うラチス材の先端面同士が略平行になるように且つ隙間を有するように配置されており、前記溶接が、各ラチス材の端部において、該ラチス材と前記フランジとの対向面同士の隙間及び前記先端面同士の間の隙間を埋めるようになされていることを特徴とする請求項1又は2記載の大スパン構造建築物に関する。
請求項4に係る発明は、前記複数の基礎は地中梁により接続されていることを特徴とする請求項1乃至3いずれかに記載の大スパン構造建築物に関する。
請求項5に係る発明は、前記基礎が地中に打ち込まれた杭からなり、前記柱の下端部にベースプレートが接合され、該ベースプレートが中間プレートを介して前記杭の杭頭に接合された杭頭プレートと接合されていることを特徴とする請求項1乃至3いずれかに記載の大スパン構造建築物に関する。
請求項6に係る発明は、前記基礎が地中に打ち込まれた杭からなり、該杭の断面よりも大きな中空断面を有する管状カバーがその下方部を該杭の上端部に被せて立設され、前記管状カバーの上方部に前記柱の下端部が配置されるとともに、該管状カバーの内部にコンクリート又は高強度樹脂モルタルが充填されていることを特徴とする請求項1乃至3いずれかに記載の大スパン構造建築物に関する。
請求項1に係る発明によれば、梁がH型鋼の上下フランジ間を波形状のラチスで接続した合成梁からなることにより、梁の強度が高くなって建築物の構造耐力が大幅に向上し、大スパンの梁間寸法での施工が可能となる。そのため、建築物の中央部(内部領域)における基礎や柱の数を少なくすることができ、建築物の内部に広い空間を確保することが可能となる。また、建築物の中央部に基礎や地中梁を設けるための工事を減らすことができ、施工期間や施工コストを削減することが可能となる。更に、既存のH型鋼を利用した簡易な構造の梁を使用するため、材料コストを抑えることができ施工性が低下することもない。また、梁の強度が大きく向上するため、通常のビルドH型鋼に比べて梁成を小さくできる。
請求項2に係る発明によれば、基礎は建築物の外周に沿う部分にのみ設置され、建築物の中央部においては基礎、地中梁、柱が設けられていないため、建築物の内部に遮るものが無い広い空間を確保することが可能となる。また、建築物の中央部に基礎や地中梁を設けるための工事が不要となるため、施工期間や施工コストを大幅に削減することが可能となる。
請求項3に係る発明によれば、合成梁がH型鋼のフランジとラチスとが溶接されて構成されており、ラチスを構成するラチス材が隣り合うラチス材の端面同士が略平行になるように且つ隙間を有するように配置されており、溶接が、各ラチス材の端部において、該ラチス材とフランジとの対向面同士の隙間及び端面同士の間の隙間を埋めるようになされていることにより、H形鋼とラチスとの接合強度を大幅に高めることができ、合成梁の強度を大きく向上させることが可能となる。
請求項4に係る発明によれば、複数の基礎が地中梁により接続されていることにより、柱脚の回転が拘束されると同時に、水平力、地盤反力及び不同沈下による応力への抵抗力が向上し、基礎の数を削減しながらも高い耐震性を備えた建築物を得ることができる。
請求項5に係る発明によれば、基礎が地中に打ち込まれた杭からなり、柱の下端部にベースプレートが接合され、該ベースプレートが中間プレートを介して杭の杭頭に接合された杭頭プレートと接合されていることにより、地中梁を設けることなく少ない基礎の数で不同沈下が起こりにくく高い耐震性を備えた建築物を得ることができる。また、柱が地中梁やフーチング等のコンクリート構造物を介することなく杭と接続されることにより、施工期間を短縮することが可能となる。
請求項6に係る発明によれば、基礎が地中に打ち込まれた杭からなり、該杭の断面よりも大きな中空断面を有する管状カバーがその下方部を該杭の上端部に被せて立設され、管状カバーの上方部に柱の下端部が配置されるとともに、該管状カバーの内部にコンクリート又は高強度樹脂モルタルが充填されていることにより、建築物の耐震強度を高めることができる。また、コンクリート基礎の設置が不要となるので、工期の短縮や残土量の削減を実現することもできる。
以下、本発明に係る大スパン構造建築物の好適な実施形態について、図面を参照しながら説明する。
図1は本発明に係る大スパン構造建築物を示す図であって、左下図は基礎部分を示す平面図、上図はA−A’断面図、右図はB−B’断面図である。
図1は本発明に係る大スパン構造建築物を示す図であって、左下図は基礎部分を示す平面図、上図はA−A’断面図、右図はB−B’断面図である。
本発明に係る大スパン構造建築物は、地面上に複数の基礎(1)が設けられており、これら複数の基礎(1)の上部には夫々柱(2)が立設され、柱(2)同士の間を繋ぐように梁(3)が架設されている。また、この実施形態においては、基礎(1)同士が地中梁(9)により接続されている。
尚、図示していないが、通常の建築物と同様に、梁(3)の上部には床や天井が設けられ、柱(2)の側方には壁が設けられる。
尚、図示していないが、通常の建築物と同様に、梁(3)の上部には床や天井が設けられ、柱(2)の側方には壁が設けられる。
図1に示した本発明に係る大スパン構造建築物は、基礎(1)は建築物の外周に沿う部分にのみ設置されており、それ以外の部分、即ち建築物の中央部においては基礎が設けられておらず、地中梁や柱も設けられていない。
そのため、本発明に係る大スパン構造建築物では、建築物の外周に沿う部分以外の部分において、基礎と基礎、柱と柱の間隔が通常の建築物に比べて広くなっており、その結果、梁(3)が通常の建築物に比べて大きいスパンで架設されている。
そのため、本発明に係る大スパン構造建築物では、建築物の外周に沿う部分以外の部分において、基礎と基礎、柱と柱の間隔が通常の建築物に比べて広くなっており、その結果、梁(3)が通常の建築物に比べて大きいスパンで架設されている。
図2は本発明に係る大スパン構造建築物において用いられる梁を示す図である。
本発明において用いられる梁(3)は、H型鋼(4)とラチス(5)とを組み合わせた構造を有しており、具体的には、H型鋼(4)の左右の側面において上フランジと下フランジとの間を波形状のラチス(5)で接続した構造をもつ合成梁からなる。
本発明において用いられる梁(3)は、H型鋼(4)とラチス(5)とを組み合わせた構造を有しており、具体的には、H型鋼(4)の左右の側面において上フランジと下フランジとの間を波形状のラチス(5)で接続した構造をもつ合成梁からなる。
ラチス(5)は、H型鋼(4)に対して溶接可能な金属材料、好ましくはH型鋼(4)と同じ鋼材料からなり、H型鋼(4)に対して溶接一体化されている。
図3はH型鋼(4)とラチス(5)との溶接方法を示す図であり、図2の円内部分の拡大図である。
図示の如く、ラチス(5)を構成する個々のラチス材(6)は、H型鋼(4)のフランジ面に対して45度の角度で延びており、各ラチス材(6)の先端面はH型鋼(4)のフランジ面に対して90度の角度をなしている。そして、隣り合うラチス材は、その端面同士が略平行になるように且つ隙間(7)を有するように配置されている。
図3はH型鋼(4)とラチス(5)との溶接方法を示す図であり、図2の円内部分の拡大図である。
図示の如く、ラチス(5)を構成する個々のラチス材(6)は、H型鋼(4)のフランジ面に対して45度の角度で延びており、各ラチス材(6)の先端面はH型鋼(4)のフランジ面に対して90度の角度をなしている。そして、隣り合うラチス材は、その端面同士が略平行になるように且つ隙間(7)を有するように配置されている。
H型鋼(4)の上下フランジとラチス材(6)との溶接は、各ラチス材の端部において、該ラチス材(6)とH型鋼(4)のフランジ(4a)との対向面同士の隙間(8)及び前記端面同士の間の隙間(7)を埋めるようになされている。
このように、H型鋼(4)のフランジとラチス材(6)とが、ラチス材(6)の2面(先端面とH型鋼のフランジとの対向面)において溶接されているため、通常の開先溶接や隅肉溶接のように1面のみで接合した場合に比べて接合強度を大幅に向上させることが可能となる。
このように、H型鋼(4)のフランジとラチス材(6)とが、ラチス材(6)の2面(先端面とH型鋼のフランジとの対向面)において溶接されているため、通常の開先溶接や隅肉溶接のように1面のみで接合した場合に比べて接合強度を大幅に向上させることが可能となる。
以上説明したように、本発明において用いられる梁(3)は、H型鋼(4)の上下フランジ間を波形状のラチス(5)で接続した合成梁からなるものであって、H型鋼(4)の上下フランジ間が三角形の組み合わせからなるトラス構造により連結された構造を有するものである。
そのため、H型鋼のみからなる一般的な梁に比べて非常に高い強度を有するものとなり、構造耐力が大幅に向上することから、梁間寸法を従来に比べて大スパンに設定することが可能となる。
そのため、H型鋼のみからなる一般的な梁に比べて非常に高い強度を有するものとなり、構造耐力が大幅に向上することから、梁間寸法を従来に比べて大スパンに設定することが可能となる。
これによって、図1に示す如く、基礎(1)を建築物の外周に沿う部分にのみ設置し、建築物の中央部においては基礎、地中梁、柱を設けない構造を採用することができ、建築物の内部に遮るものが無い広い空間を確保することが可能となる。また、建築物の中央部に基礎や地中梁を設けるための工事を減らすことができ、施工期間や施工コストを削減することも可能となる。
更に、既存のH型鋼を利用した簡易な構造の梁を使用し、特殊な材料を使用しないため、従来に比べて、構造耐力を大幅に向上させつつ材料コストを抑えることができ、施工性が低下することもない。
また、梁の強度が大きく向上するため、通常のビルドH型鋼に比べて梁成を小さくできるという利点もある。
更に、既存のH型鋼を利用した簡易な構造の梁を使用し、特殊な材料を使用しないため、従来に比べて、構造耐力を大幅に向上させつつ材料コストを抑えることができ、施工性が低下することもない。
また、梁の強度が大きく向上するため、通常のビルドH型鋼に比べて梁成を小さくできるという利点もある。
尚、本発明においては、建築物の大きさや形状によっては、基礎(1)を建築物の外周に沿う部分以外の一部分にも設置し、建築物の中央部の一部分にも基礎と柱、必要に応じて地中梁を設ける構造を採用することができる。この場合においても、梁(3)を大スパンとすることができるため、中央部に設ける基礎、地中梁、柱の数を従来に比べて大幅に削減することが可能となる。これにより、広い内部空間の確保、施工期間や施工コストの削減といった効果を得ることができる。
図4は本発明に係る大スパン構造建築物における基礎の配置の変更例である。
図4(a)は図1の例と同様に基礎(1)を建築物の外周に沿って(外周を囲うように)配置するとともに各基礎を独立させた例である。図4(b)は基礎(1)を建築物の外周に沿う二辺のみに平行に配置するとともに全ての基礎を地中梁(9)により接続した例である。図4(c)は基礎(1)を建築物の外周に沿う二辺のみに平行に配置するとともに各基礎を独立させた例である。尚、基礎の配置以外の構成は図1〜図3と同様である。
これらのうち、どの配置を使用するかは、地盤の状況、構造計算により決定する。
図4(a)は図1の例と同様に基礎(1)を建築物の外周に沿って(外周を囲うように)配置するとともに各基礎を独立させた例である。図4(b)は基礎(1)を建築物の外周に沿う二辺のみに平行に配置するとともに全ての基礎を地中梁(9)により接続した例である。図4(c)は基礎(1)を建築物の外周に沿う二辺のみに平行に配置するとともに各基礎を独立させた例である。尚、基礎の配置以外の構成は図1〜図3と同様である。
これらのうち、どの配置を使用するかは、地盤の状況、構造計算により決定する。
以下、各基礎を独立させた場合(図4(a)(c)の場合)における基礎構造について説明する。
図5及び図6は各基礎を独立させた場合における基礎構造の第一実施形態を示す図であって、図5は分解斜視図、図6(a)は平面図、(b)は正面図、(c)は底面図、(d)は側面図である。
この基礎構造は、鋼管柱等からなる建築物の柱(2)を、フーチング、地中梁、基礎スラブ等のコンクリート構造体を介することなく、地盤の支持層に達する深さまで打ち込まれた鋼管杭等の杭(10)からなる基礎(1)と接続してなるものである。
図5及び図6は各基礎を独立させた場合における基礎構造の第一実施形態を示す図であって、図5は分解斜視図、図6(a)は平面図、(b)は正面図、(c)は底面図、(d)は側面図である。
この基礎構造は、鋼管柱等からなる建築物の柱(2)を、フーチング、地中梁、基礎スラブ等のコンクリート構造体を介することなく、地盤の支持層に達する深さまで打ち込まれた鋼管杭等の杭(10)からなる基礎(1)と接続してなるものである。
柱(2)の下端部には、該下端面よりも一回り大きい外形を有する鋼板等からなるベースプレート(17)が溶接等の固着手段を用いて接合されている。
杭(10)の杭頭には、該杭頭面により一回り大きい外形を有する鋼板等からなる杭頭プレート(11)が溶接等の固着手段を用いて接合されている。
ベースプレート(17)は、中間プレート(12)を介して杭頭プレート(11)と接合されている。
杭(10)の杭頭には、該杭頭面により一回り大きい外形を有する鋼板等からなる杭頭プレート(11)が溶接等の固着手段を用いて接合されている。
ベースプレート(17)は、中間プレート(12)を介して杭頭プレート(11)と接合されている。
ベースプレート(17)と中間プレート(12)は、ベースプレート(17)の下面を中間プレート(12)の上面に密接させた状態で、ベースプレート(17)の上面から柱(2)の周囲に沿って複数本のアンカーボルト(18)(図6参照、図5では省略)を下方に打ち込んで中間プレート(12)を挿通させることにより固定されている。
杭頭プレート(11)と中間プレート(12)は、杭頭プレート(11)の上面を中間プレート(12)の下面に密接させた状態で、両者を溶接することにより固定されている。これにより、ベースプレート(17)と杭頭プレート(11)とは、中間プレート(12)を介して接合されている。
杭頭プレート(11)と中間プレート(12)は、杭頭プレート(11)の上面を中間プレート(12)の下面に密接させた状態で、両者を溶接することにより固定されている。これにより、ベースプレート(17)と杭頭プレート(11)とは、中間プレート(12)を介して接合されている。
中間プレート(12)は、H型鋼等からなる同じ長さの複数本の鋼材(13)からなり、これら複数本の鋼材を断面I字状となる向きで互いに平行に並べ、並べられた鋼材を接合することでプレート状とされたものである。
複数本の鋼材(13)を接合する方法としては、単に鋼材間を溶接するのみでもよいが、更に図示するように、表面に鋼材(13)の長さ方向と直角方向に補強プレート(14)を配置し、この補強プレート(14)を複数本の鋼材(13)夫々と溶接する方法を用いると、高い接合強度を得ることができるため好ましい。
このようにして得られた中間プレート(12)の幅方向(鋼材(13)の幅方向)の両辺には、幅方向端部の強度を補強するために、鋼板等からなる複数本の補強リブ(15)が縦方向に設けられる。
複数本の鋼材(13)を接合する方法としては、単に鋼材間を溶接するのみでもよいが、更に図示するように、表面に鋼材(13)の長さ方向と直角方向に補強プレート(14)を配置し、この補強プレート(14)を複数本の鋼材(13)夫々と溶接する方法を用いると、高い接合強度を得ることができるため好ましい。
このようにして得られた中間プレート(12)の幅方向(鋼材(13)の幅方向)の両辺には、幅方向端部の強度を補強するために、鋼板等からなる複数本の補強リブ(15)が縦方向に設けられる。
中間プレート(12)の大きさや形状は、柱や杭の太さ並びに杭の本数に応じて適宜設定することができ、鋼材(13)の本数や長さを変えることで、所要面積の中間プレートを現場にて容易に得ることができる。
但し、本発明において用いられる中間プレート(12)の形態はこれに限定されず、例えば1枚板のプレートを用いてもよいが、図示のような中間プレート(12)は1枚板のプレートに比べて高い剛性や曲げ強度を有するため好適に用いられる。
但し、本発明において用いられる中間プレート(12)の形態はこれに限定されず、例えば1枚板のプレートを用いてもよいが、図示のような中間プレート(12)は1枚板のプレートに比べて高い剛性や曲げ強度を有するため好適に用いられる。
図7は第一実施形態の基礎構造の変形例を示す図であって、(a)〜(d)図において上方に底面図、下方に正面図が夫々示されている。
(a)図は1本の柱(2)に対して1本の杭(10)を接続したもの、(b)図は1本の柱(2)に対して2本の杭(10)を接続したもの、(c)図は1本の柱(2)に対して3本の杭(10)を接続したもの、(d)図は1本の柱(2)に対して4本の杭(10)を接続したもの、である。
このように、本発明に係る基礎構造においては、1本の柱(2)に対して1本又は複数本の杭(10)を接続することができ、1本の柱に接続される杭の本数は、地盤の強度が弱い場合や支えられる建築物の重量が大きい場合等には増やされる。
(a)図は1本の柱(2)に対して1本の杭(10)を接続したもの、(b)図は1本の柱(2)に対して2本の杭(10)を接続したもの、(c)図は1本の柱(2)に対して3本の杭(10)を接続したもの、(d)図は1本の柱(2)に対して4本の杭(10)を接続したもの、である。
このように、本発明に係る基礎構造においては、1本の柱(2)に対して1本又は複数本の杭(10)を接続することができ、1本の柱に接続される杭の本数は、地盤の強度が弱い場合や支えられる建築物の重量が大きい場合等には増やされる。
本発明に係る基礎構造において、当該基礎構造によって支持される建築物が中高層建築物である場合には、図7に示すように、ベースプレート(17)と中間プレート(12)の間に免震機構(16)を介在させることが好ましい。
免震機構(16)としては、免震ゴムや免震ダンパー等の建築物において用いられている公知の免震機構を利用することができる。
免震機構(16)としては、免震ゴムや免震ダンパー等の建築物において用いられている公知の免震機構を利用することができる。
上記構成からなる基礎構造は、以下の工程により得ることができる。
先ず、杭(2)を地盤の支持層に達する深さまで打設して、設計位置の高さで杭頭部を水平に調整した後、杭頭に杭頭プレート(11)を溶接等により接合し、次いで、複数本の鋼材(13)を組み合わせて得られた中間プレート(12)を杭頭プレート(11)の上部に設置し、補強プレート(14)を上面に溶接して中間プレート(12)を補強する。
そして、中間プレート(12)の上面に、柱(2)の下端部に対して一体に固定されたベースプレート(17)をアンカーボルト等により固定することにより、杭(10)の上部に柱(2)が一体に接合された基礎構造が得られる。
先ず、杭(2)を地盤の支持層に達する深さまで打設して、設計位置の高さで杭頭部を水平に調整した後、杭頭に杭頭プレート(11)を溶接等により接合し、次いで、複数本の鋼材(13)を組み合わせて得られた中間プレート(12)を杭頭プレート(11)の上部に設置し、補強プレート(14)を上面に溶接して中間プレート(12)を補強する。
そして、中間プレート(12)の上面に、柱(2)の下端部に対して一体に固定されたベースプレート(17)をアンカーボルト等により固定することにより、杭(10)の上部に柱(2)が一体に接合された基礎構造が得られる。
このようにして得られる基礎構造は、柱(2)を地盤に支持層まで打ち込んだ杭(10)からなる基礎(1)と接続した構造であるため、基礎(1)上に増築される建築物の不同沈下を防いで充分な耐震性を付与することができる。
そのため、新たな基礎同士を連結するための地中梁が不要となり、またフーチング、地中梁、基礎スラブ等のコンクリート構造体を介することなく柱と杭とを接続するので、従来の杭基礎を用いる場合に比べて施工期間を大幅に短縮することができる。
そのため、新たな基礎同士を連結するための地中梁が不要となり、またフーチング、地中梁、基礎スラブ等のコンクリート構造体を介することなく柱と杭とを接続するので、従来の杭基礎を用いる場合に比べて施工期間を大幅に短縮することができる。
図8は、各基礎を独立させた場合における基礎構造の第二実施形態である。
第二実施形態の基礎構造は、基礎(1)が地中に打ち込まれた杭(20)からなり、杭(20)の断面よりも大きな中空断面を有する管状カバー(21)がその下方部を杭(20)の上端部に被せて立設されている。そして、管状カバー(21)の上方部に柱(2)の下端部が配置されるとともに、管状カバー(21)の内部にコンクリート又は高強度樹脂モルタル(22)が充填されている。
第二実施形態の基礎構造は、基礎(1)が地中に打ち込まれた杭(20)からなり、杭(20)の断面よりも大きな中空断面を有する管状カバー(21)がその下方部を杭(20)の上端部に被せて立設されている。そして、管状カバー(21)の上方部に柱(2)の下端部が配置されるとともに、管状カバー(21)の内部にコンクリート又は高強度樹脂モルタル(22)が充填されている。
以下、第二実施形態の基礎構造の構築方法について説明する。
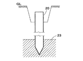
先ず、図9に示すように、杭(20)を地中の支持層(23)に達する深さまで打ち込む。この杭(20)は鋼管杭が好適に用いられるが、場所打ち杭を用いることも可能である。
杭(20)が鋼管杭である場合には、図10に示すように、打設された杭(20)の内部にコンクリート(22)を充填する。
先ず、図9に示すように、杭(20)を地中の支持層(23)に達する深さまで打ち込む。この杭(20)は鋼管杭が好適に用いられるが、場所打ち杭を用いることも可能である。
杭(20)が鋼管杭である場合には、図10に示すように、打設された杭(20)の内部にコンクリート(22)を充填する。
それから、図11に示すように、杭(20)の断面よりも大きな中空断面を有する管状カバー(21)を杭(20)の上端部に被せるように立設する。このとき、図示の如く、杭(20)の上端部周囲の土を予め除去しておき、この除去部分に管状カバー(21)を入れて立設させるようにするとよい。
管状カバー(21)としては、杭(20)よりも大きい肉厚(例えば3〜5倍程度)を有する四角鋼管が好適に用いられる。
杭(20)の上端部は地面よりもやや下方位置となるようにし、管状カバー(21)は杭(20)の上端部から所定深さ(例えば杭の外径の1〜3倍程度)まで達するように地中に打ち込み、その後で管状カバー(21)の周囲に土を埋め戻す(図12参照)。このとき、管状カバー(21)の上端部は地面からやや露出するようにするとよい。
管状カバー(21)としては、杭(20)よりも大きい肉厚(例えば3〜5倍程度)を有する四角鋼管が好適に用いられる。
杭(20)の上端部は地面よりもやや下方位置となるようにし、管状カバー(21)は杭(20)の上端部から所定深さ(例えば杭の外径の1〜3倍程度)まで達するように地中に打ち込み、その後で管状カバー(21)の周囲に土を埋め戻す(図12参照)。このとき、管状カバー(21)の上端部は地面からやや露出するようにするとよい。
次いで、図13に示すように、管状カバー(21)の内部にベースパック等のアンカー(24)を設置し、管状カバー(21)内にコンクリート(22)を打設してアンカー(24)を管状カバー(21)内に固定する。このとき、アンカー(24)の上端部は管状カバー(21)の上端面よりも下方位置となるようにし、コンクリート(22)の上面はアンカー(24)の上端部よりも下方位置となるようにするとよい。
そして、アンカー(24)の上部に、スタッドジベル(25)とベースプレート(26)とが設けられた柱(2)を建てて(図14参照)、アンカー(24)と柱(2)の下端部に設けられたベースプレート(26)とをボルト止めにより固定した後、管状カバー(21)内の上端部に更に別の管状カバー(21)を設置して柱(2)の下方部周囲を覆い、上部と下部の管状カバー(21)を溶接又は補強プレートにより接合一体化する(図15参照)。
そして、上部の管状カバー(21)からコンクリート又は高強度樹脂モルタル(22)を管状カバー内全体に充填することにより、杭(20)と柱(2)が強固に一体化固定される(図8参照)。
そして、上部の管状カバー(21)からコンクリート又は高強度樹脂モルタル(22)を管状カバー内全体に充填することにより、杭(20)と柱(2)が強固に一体化固定される(図8参照)。
第二実施形態の基礎構造は、柱(2)が支持層まで打ち込まれた杭(20)と一体化されて立設されるので、高強度の合成梁(3)を用いることと相俟って、増築建物全体の耐震性を向上させることができる。
尚、第二実施形態の基礎構造において、構造計算上、基礎梁を入れた方がよい場合には、鉄骨又は鉄骨コンクリートからなる基礎梁を設けることができる。
図16は基礎梁(27)を設けた状態を示す図であって、図示の如く、角形管状カバー(21)の側面に基礎梁(27)が固定され、これにより隣り合う角形管状カバー(21)同士、即ち隣り合う柱(2)同士が基礎梁(27)により接続される。尚、この基礎梁(27)は、実線で示すように地上に設けてもよいし、破線で示すように地中梁としてもよい。
図16は基礎梁(27)を設けた状態を示す図であって、図示の如く、角形管状カバー(21)の側面に基礎梁(27)が固定され、これにより隣り合う角形管状カバー(21)同士、即ち隣り合う柱(2)同士が基礎梁(27)により接続される。尚、この基礎梁(27)は、実線で示すように地上に設けてもよいし、破線で示すように地中梁としてもよい。
本発明では、梁(3)としてH型鋼の上下フランジ間を波形状のラチスで接続した合成梁を用いることに加えて、建築物の外周に沿う部分に設置された基礎(1)の構造として、上記した第一及び第二実施形態の基礎構造を用いることにより、建築物の中央部において基礎、地中梁、柱が設けられていない構造を採用した場合においても、高い耐震性を有する建築物を得ることができる。
本発明は、広い内部空間を有する建築物を構築するために好適に利用することができる。
1 基礎
2 柱
3 梁
4 H型鋼
4a フランジ
5 ラチス
6 ラチス材
7 隣り合うラチス材の端面同士の隙間
8 ラチス材とH型鋼のフランジとの対向面同士の隙間
9 地中梁
10 杭
11 杭頭プレート
12 中間プレート
17 ベースプレート
20 杭
21 管状カバー
22 コンクリート又は高強度樹脂モルタル
2 柱
3 梁
4 H型鋼
4a フランジ
5 ラチス
6 ラチス材
7 隣り合うラチス材の端面同士の隙間
8 ラチス材とH型鋼のフランジとの対向面同士の隙間
9 地中梁
10 杭
11 杭頭プレート
12 中間プレート
17 ベースプレート
20 杭
21 管状カバー
22 コンクリート又は高強度樹脂モルタル
Claims (6)
- 複数の基礎の上部に夫々柱が立設され、該柱間に梁が架設されてなる建築物であって、前記梁がH型鋼の上下フランジ間を波形状のラチスで接続した合成梁からなることを特徴とする大スパン構造建築物。
- 前記基礎は建築物の外周に沿う部分にのみ設置され、建築物の中央部においては基礎、地中梁、柱が設けられていないことを特徴とする請求項1記載の大スパン構造建築物。
- 前記合成梁は、H型鋼のフランジとラチスとが溶接されて構成されており、
前記ラチスを構成するラチス材は、隣り合うラチス材の先端面同士が略平行になるように且つ隙間を有するように配置されており、
前記溶接が、各ラチス材の端部において、該ラチス材と前記フランジとの対向面同士の隙間及び前記先端面同士の間の隙間を埋めるようになされていることを特徴とする請求項1又は2記載の大スパン構造建築物。 - 前記複数の基礎は地中梁により接続されていることを特徴とする請求項1乃至3いずれかに記載の大スパン構造建築物。
- 前記基礎が地中に打ち込まれた杭からなり、
前記柱の下端部にベースプレートが接合され、該ベースプレートが中間プレートを介して前記杭の杭頭に接合された杭頭プレートと接合されていることを特徴とする請求項1乃至3いずれかに記載の大スパン構造建築物。 - 前記基礎が地中に打ち込まれた杭からなり、
該杭の断面よりも大きな中空断面を有する管状カバーがその下方部を該杭の上端部に被せて立設され、前記管状カバーの上方部に前記柱の下端部が配置されるとともに、該管状カバーの内部にコンクリート又は高強度樹脂モルタルが充填されていることを特徴とする請求項1乃至3いずれかに記載の大スパン構造建築物。
Priority Applications (1)
| Application Number | Priority Date | Filing Date | Title |
|---|---|---|---|
| JP2007174641A JP2009013616A (ja) | 2007-07-02 | 2007-07-02 | 大スパン構造建築物 |
Applications Claiming Priority (1)
| Application Number | Priority Date | Filing Date | Title |
|---|---|---|---|
| JP2007174641A JP2009013616A (ja) | 2007-07-02 | 2007-07-02 | 大スパン構造建築物 |
Publications (1)
| Publication Number | Publication Date |
|---|---|
| JP2009013616A true JP2009013616A (ja) | 2009-01-22 |
Family
ID=40354845
Family Applications (1)
| Application Number | Title | Priority Date | Filing Date |
|---|---|---|---|
| JP2007174641A Pending JP2009013616A (ja) | 2007-07-02 | 2007-07-02 | 大スパン構造建築物 |
Country Status (1)
| Country | Link |
|---|---|
| JP (1) | JP2009013616A (ja) |
Cited By (4)
| Publication number | Priority date | Publication date | Assignee | Title |
|---|---|---|---|---|
| KR101134460B1 (ko) * | 2011-07-11 | 2012-04-13 | (주)엠씨에스에스티기술사사무소 | 래티스 철근을 이용한 강재빔 및 그 시공방법 |
| KR101268135B1 (ko) * | 2012-12-21 | 2013-05-29 | 에이인더티앤에스주식회사 | 하이브리드 보강 에이치빔 |
| KR101997850B1 (ko) * | 2018-07-17 | 2019-07-09 | (주)성지엔지니어링 | 지주 강도가 보강된 가설 펜스 |
| JP7307418B1 (ja) | 2022-04-15 | 2023-07-12 | 穰二 林 | H形鋼 |
-
2007
- 2007-07-02 JP JP2007174641A patent/JP2009013616A/ja active Pending
Cited By (5)
| Publication number | Priority date | Publication date | Assignee | Title |
|---|---|---|---|---|
| KR101134460B1 (ko) * | 2011-07-11 | 2012-04-13 | (주)엠씨에스에스티기술사사무소 | 래티스 철근을 이용한 강재빔 및 그 시공방법 |
| KR101268135B1 (ko) * | 2012-12-21 | 2013-05-29 | 에이인더티앤에스주식회사 | 하이브리드 보강 에이치빔 |
| KR101997850B1 (ko) * | 2018-07-17 | 2019-07-09 | (주)성지엔지니어링 | 지주 강도가 보강된 가설 펜스 |
| JP7307418B1 (ja) | 2022-04-15 | 2023-07-12 | 穰二 林 | H形鋼 |
| JP2023157700A (ja) * | 2022-04-15 | 2023-10-26 | 穰二 林 | H形鋼 |
Similar Documents
| Publication | Publication Date | Title |
|---|---|---|
| JP6260906B2 (ja) | 鉄骨構造物杭柱地中梁接合部一体化工法 | |
| JP2009249851A (ja) | 既存建物の耐震補強工法 | |
| JP2013256793A (ja) | 地下構造の施工方法及び地下構造 | |
| KR20180109766A (ko) | 단부모멘트 및 휨 저항력이 보강된 보와 기둥의 이-지(ez) 결합구조 | |
| JP5007108B2 (ja) | 鉄骨構造物を製作する方法 | |
| KR101006411B1 (ko) | Cft 기둥을 이용한 철골조 역타설 시스템 및 방법 | |
| JP3899354B2 (ja) | 免震建物 | |
| JP4812324B2 (ja) | 擁壁及びその施工方法 | |
| JP2009013616A (ja) | 大スパン構造建築物 | |
| JP2009030319A (ja) | 大スパン構造建築物 | |
| JP7449685B2 (ja) | プレキャストコンクリート耐震壁の接合構造 | |
| JP5456627B2 (ja) | 杭と鉄骨柱との接合構造および接合方法 | |
| JP5607384B2 (ja) | 柱梁接合箇所の施工方法 | |
| JP6143068B2 (ja) | 建物の地下構造 | |
| KR101521946B1 (ko) | 철골철근 콘크리트 구조(src)의 확장된 주두부 구조 | |
| JP4550534B2 (ja) | 建築物の基礎構造 | |
| JP6704801B2 (ja) | 既存の地下外壁を有する建替え建物 | |
| JP7155488B2 (ja) | 構造物耐震補強構造 | |
| JP2013053518A (ja) | 既存建物の耐震補強工法 | |
| JP2009019362A (ja) | 杭と柱の接合構造 | |
| JP6869825B2 (ja) | 橋脚基礎構造 | |
| JP2008038420A (ja) | 人工地盤を有する免震構造物 | |
| JP4449595B2 (ja) | 柱梁接合構造、柱梁接合構造の構築方法、地下構造物の建設方法、および建物 | |
| JP6877612B2 (ja) | 既存の地下外壁を有する建替え建物 | |
| JP2006316495A (ja) | 橋脚基礎構造とその施工方法 |