JP2008077458A - 記憶データ処理装置、記憶装置、記憶データ処理プログラム - Google Patents
記憶データ処理装置、記憶装置、記憶データ処理プログラム Download PDFInfo
- Publication number
- JP2008077458A JP2008077458A JP2006256752A JP2006256752A JP2008077458A JP 2008077458 A JP2008077458 A JP 2008077458A JP 2006256752 A JP2006256752 A JP 2006256752A JP 2006256752 A JP2006256752 A JP 2006256752A JP 2008077458 A JP2008077458 A JP 2008077458A
- Authority
- JP
- Japan
- Prior art keywords
- data
- block
- calculation
- management information
- sector
- Prior art date
- Legal status (The legal status is an assumption and is not a legal conclusion. Google has not performed a legal analysis and makes no representation as to the accuracy of the status listed.)
- Pending
Links
Images
Classifications
-
- G—PHYSICS
- G06—COMPUTING OR CALCULATING; COUNTING
- G06F—ELECTRIC DIGITAL DATA PROCESSING
- G06F11/00—Error detection; Error correction; Monitoring
- G06F11/07—Responding to the occurrence of a fault, e.g. fault tolerance
- G06F11/08—Error detection or correction by redundancy in data representation, e.g. by using checking codes
- G06F11/10—Adding special bits or symbols to the coded information, e.g. parity check, casting out 9's or 11's
- G06F11/1076—Parity data used in redundant arrays of independent storages, e.g. in RAID systems
-
- G—PHYSICS
- G11—INFORMATION STORAGE
- G11B—INFORMATION STORAGE BASED ON RELATIVE MOVEMENT BETWEEN RECORD CARRIER AND TRANSDUCER
- G11B20/00—Signal processing not specific to the method of recording or reproducing; Circuits therefor
- G11B20/10—Digital recording or reproducing
- G11B20/18—Error detection or correction; Testing, e.g. of drop-outs
- G11B20/1833—Error detection or correction; Testing, e.g. of drop-outs by adding special lists or symbols to the coded information
-
- G—PHYSICS
- G06—COMPUTING OR CALCULATING; COUNTING
- G06F—ELECTRIC DIGITAL DATA PROCESSING
- G06F2211/00—Indexing scheme relating to details of data-processing equipment not covered by groups G06F3/00 - G06F13/00
- G06F2211/10—Indexing scheme relating to G06F11/10
- G06F2211/1002—Indexing scheme relating to G06F11/1076
- G06F2211/1092—Single disk raid, i.e. RAID with parity on a single disk
-
- G—PHYSICS
- G11—INFORMATION STORAGE
- G11B—INFORMATION STORAGE BASED ON RELATIVE MOVEMENT BETWEEN RECORD CARRIER AND TRANSDUCER
- G11B2220/00—Record carriers by type
- G11B2220/20—Disc-shaped record carriers
- G11B2220/25—Disc-shaped record carriers characterised in that the disc is based on a specific recording technology
- G11B2220/2508—Magnetic discs
- G11B2220/2516—Hard disks
Landscapes
- Engineering & Computer Science (AREA)
- Theoretical Computer Science (AREA)
- Signal Processing (AREA)
- Quality & Reliability (AREA)
- Physics & Mathematics (AREA)
- General Engineering & Computer Science (AREA)
- General Physics & Mathematics (AREA)
- Signal Processing For Digital Recording And Reproducing (AREA)
Abstract
【課題】上位装置への応答時間の増加を抑えつつ、エラーリカバリ能力を向上させる記憶装置、記憶データ処理装置、記憶データ処理プログラムを提供する。
【解決手段】記憶媒体において第2ブロック毎に、第2ブロックに対応する第3ブロックが有効か無効かの情報を含む管理情報を記憶する管理情報記憶部と、管理情報記憶部に記憶された管理情報において、更新対象として指定された第2ブロックに対応する第3ブロックが無効である場合、更新対象中の全ての第1ブロックのデータについてビット位置毎の演算を行い、演算の結果を演算データとして出力する演算部と、演算部により出力された演算データを、更新対象に対応付けられた第3ブロックへ書き込み、管理情報記憶部に記憶された管理情報において第3ブロックを有効とする書き込み部とを備えた。
【選択図】図1
【解決手段】記憶媒体において第2ブロック毎に、第2ブロックに対応する第3ブロックが有効か無効かの情報を含む管理情報を記憶する管理情報記憶部と、管理情報記憶部に記憶された管理情報において、更新対象として指定された第2ブロックに対応する第3ブロックが無効である場合、更新対象中の全ての第1ブロックのデータについてビット位置毎の演算を行い、演算の結果を演算データとして出力する演算部と、演算部により出力された演算データを、更新対象に対応付けられた第3ブロックへ書き込み、管理情報記憶部に記憶された管理情報において第3ブロックを有効とする書き込み部とを備えた。
【選択図】図1
Description
本発明は、読み出しエラーのリカバリを行う記憶装置、それに用いられる記憶データ処理装置、記憶データ処理プログラムに関するものである。
近年、ハードディスク装置(HDD:Hard Disk Drive)の記録容量は増加の傾向にあり、一つのハードディスク装置で200GB以上の容量を保有するようになってきている。これに伴い、一つのセクタが読み出しエラーとなった場合の被害は大きくなっている。特にハードディスク装置内のデータ管理に関するディレクトリ情報が記録されている箇所に該当するセクタが一つ読み出しエラーとなった場合などにおいては、被害を受けるデータが更に膨大になる。また、この深刻度は容量が増すほど増える。
従来、このようなハードディスク装置固有の障害を避ける手段として、ハードディスク装置をアレイとして構築するシステムが用意されている。このシステムにおいては、読み出しエラーになったドライブが存在しても、冗長度を高めるために配置されている他のハードディスク装置のデータを使ってリカバリする。ハードディスク装置単体でのエラーへの耐久性を高める方法としては、ECC(Error Correcting Code)をセクタ内の情報に付加する方式がとられている。ここで、ディスク媒体上の各セクタは、SB(syncbyte)、DATA、ECCで構成されている。
ここで、或るセクタで読み出しエラーが発生した場合を想定する。このとき、ハードディスク装置内のデータバッファには、読み出しを開始した時点のセクタのデータから読み出しエラーが起きたセクタの手前のセクタまでのデータが保持されている。そして、読み出しエラーが起きたセクタのデータ読み出しがリトライでも成功しない場合、ハードディスク装置は、有効なデータをデータバッファに取り込めないために上位装置におくることができず、最終的にデータのリカバリ処理に失敗すると、上位装置に対して読み出しエラーを通知し、終了していた。
なお、本発明の関連ある従来技術として、トラックサイズ分のバッファを用意し、トラック単位でのデータチェック処理を行うファイル制御装置がある(例えば、特許文献1参照)。また、セクタ毎にLDC(Long Distance Code)のパリティを付加し、所定のセクタ数毎にパリティセクタデータを付加し、所定のセクタ毎にパリティセクタデータを算出し、再生時にLDCのパリティによる訂正が不能となった場合にパリティセクタデータを用いて訂正を行うデータ記録方法がある(例えば、特許文献2参照)。
特開平5−35416号公報
特開平8−124318号公報
ECCによる訂正能力そのものは緩やかに向上してきてはいるが、新しいデータ訂正方式などは採用されておらず、近年は同じ技術が用いられ続けている。しかしながら、ハードディスク装置単体の記録容量が増加する傾向にある中で、従来のECCによるデータ訂正能力では、相対的にデータ喪失の危険が増してきていると言える。
また、上述したように従来のハードディスク装置において、ECCで訂正できない場合に、エラーを上位装置に対して通知し、終了する、という仕組みはディスク装置の誕生以来ほとんど変わってない。
また、特許文献1のような技術は、書き込み処理を行うたびにトラック分のデータを読み出さなければならず、コマンドの処理時間が約2倍に増加し、性能が低下するため、現実的に使用することは困難である。また、特許文献2のような技術は、上位装置から書き込みデータを受領したときに冗長データを用意しなければならず、性能が低下するため、現実的に使用することは困難である。
本発明は上述した問題点を解決するためになされたものであり、エラーリカバリ能力を向上させる記憶装置、それに用いられる記憶データ処理装置、記憶データ処理プログラムを提供することを目的とする。
上述した課題を解決するため、本発明は、所定のデータ長の第1ブロックを単位としてデータが配置され、且つ複数の前記第1ブロックで構成される第2ブロックを単位として前記第1ブロックが配置され、且つ前記第2ブロックに対応して前記第1ブロック長を持つ第3ブロックが配置される記憶媒体に対して少なくとも書き込み処理を行う記憶装置に用いられる記憶データ処理装置において、前記第2ブロック毎に、該第2ブロックに対応する第3ブロックが有効か無効かの情報を含む管理情報を記憶する管理情報記憶部と、前記管理情報記憶部に記憶された管理情報において、更新対象として指定された第2ブロックに対応する第3ブロックが無効である場合、前記更新対象中の全ての第1ブロックのデータについてビット位置毎の演算を行い、該演算の結果を演算データとして出力する演算部と、前記演算部により出力された演算データを、前記更新対象に対応付けられた第3ブロックへ書き込み、前記管理情報記憶部に記憶された管理情報において該第3ブロックを有効とする書き込み部とを備えたものである。
また、本発明に係る記憶データ処理装置において、前記演算部は、前記演算データを初期化し、前記更新対象中の各々の第1ブロックのデータを順次、前記演算の入力データとし、該入力データと前記演算データについてビット位置毎の演算を行い、該演算の結果を新たな演算データとして記憶し、該演算と該記憶を全ての前記入力データについて繰り返し、前記演算データを出力することを特徴とする。
また、本発明に係る記憶データ処理装置において、更に、読み出し対象として指定された第1ブロックからデータを読み出し、該データの読み出しに失敗した場合、前記読み出しに失敗した第1ブロックをエラーブロックとし、前記管理情報記憶部に記憶された管理情報において前記読み出し対象を含む第2ブロックに対応する第3ブロックが有効である場合、該第2ブロック中の該エラーブロック以外の全ての第1ブロックのデータである正常データを読み出し、該第2ブロックに対応する第3ブロックのデータである冗長データを読み出す読み出し部を備え、前記演算部は更に、前記正常データと前記冗長データについてビット位置毎の演算を行い、該演算の結果を前記エラーブロックのデータとして出力することを特徴とする。
また、本発明に係る記憶データ処理装置において、前記演算部は、前記演算データを初期化し、各々の前記正常データと前記冗長データを順次、前記演算の入力データとし、該入力データと前記演算データについてビット位置毎の演算を行い、該演算の結果を新たな演算データとして記憶し、該演算と該記憶を全ての前記入力データについて繰り返し、前記演算データを出力することを特徴とする。
また、本発明に係る記憶データ処理装置において、前記書き込み部は、外部装置からのデータ書き込み指示を受けた場合、前記データ書き込み命令によるデータ書き込み対象を含む第2ブロックに対応する第3ブロックについて、前記管理情報記憶部に記憶された管理情報において該第3ブロックを有効とすることを特徴とする。
また、本発明に係る記憶データ処理装置において、前記演算部は、外部装置からのデータ読み出し指示またはデータ書き込み指示による処理を行っていないときに、前記管理情報記憶部に記憶された管理情報において無効である第3ブロックに対応する第2ブロックについて前記演算を行うことを特徴とする。
また、本発明に係る記憶データ処理装置において、前記管理情報記憶部は、不揮発性メモリであることを特徴とする。
また、本発明に係る記憶データ処理装置において、前記管理情報記憶部は、外部装置からライトキャッシュデータを前記記憶媒体上に書き込む指示、またはヘッドを退避させる指示を受領した場合、前記管理情報を前記記憶媒体に書き込むことを特徴とする。
また、本発明に係る記憶データ処理装置において、前記管理情報は、前記第2ブロック毎に、該第2ブロックに含まれる複数の第1ブロックの指定を含むことを特徴とする。
また、本発明に係る記憶データ処理装置において、前記管理情報は、前記第2ブロック毎に、該第2ブロックに含まれる複数の第1ブロックの指定を含み、前記書き込み部は、前記管理情報に基づいて前記第2ブロックを前記記憶媒体に配置することを特徴とする。
また、本発明に係る記憶データ処理装置において、前記管理情報記憶部は、外部装置から各々の第2ブロックへのアクセス頻度に基づいて第2ブロックに含まれる複数の第1ブロックの数を決定し、前記管理情報に含めることを特徴とする。
また、本発明に係る記憶データ処理装置において、前記演算部による演算は、順次演算を行う順序を変えても演算結果が変わらない演算であることを特徴とする。
また、本発明に係る記憶データ処理装置において、前記演算部による演算は、排他的論理和であることを特徴とする。
また、本発明に係る記憶データ処理装置において、前記第1ブロックは、少なくとも1つのセクタであり、前記第3ブロックは、前記第1ブロック長を持ち、前記演算データは、前記第1ブロック長を持つことを特徴とする。
また、本発明は、記憶装置における記憶データ処理をコンピュータに実行させる記憶データ処理プログラムにおいて、所定のデータ長の第1ブロックを単位としてデータが配置され、且つ複数の前記第1ブロックで構成される第2ブロックを単位として前記第1ブロックが配置され、且つ前記第2ブロックに対応して前記第1ブロック長を持つ第3ブロックが配置される記憶媒体について、前記第2ブロック毎に、該第2ブロックに対応する第3ブロックが有効か無効かの情報を含む管理情報を記憶する管理情報記憶ステップと、前記管理情報記憶ステップにより記憶された管理情報において、更新対象として指定された第2ブロックに対応する第3ブロックが無効である場合、前記更新対象中の全ての第1ブロックのデータについてビット位置毎の演算を行い、該演算の結果を演算データとして出力する演算ステップと、前記演算ステップにより出力された演算データを、前記更新対象に対応付けられた第3ブロックへ書き込み、前記管理情報記憶ステップにより記憶された管理情報において該第3ブロックを有効とする書き込みステップとをコンピュータに実行させるものである。
また、本発明は、所定のデータ長の第1ブロックを単位としてデータが配置され、且つ複数の前記第1ブロックで構成される第2ブロックを単位として前記第1ブロックが配置され、且つ前記第2ブロックに対応して前記第1ブロック長を持つ第3ブロックが配置される記憶媒体に対して少なくとも書き込み処理を行う記憶装置において、前記第2ブロック毎に、該第2ブロックに対応する第3ブロックが有効か無効かの情報を含む管理情報を記憶する管理情報記憶部と、前記管理情報記憶部に記憶された管理情報において、更新対象として指定された第2ブロックに対応する第3ブロックが無効である場合、前記更新対象中の全ての第1ブロックのデータについてビット位置毎の演算を行い、該演算の結果を演算データとして出力する演算部と、前記演算部により出力された演算データを、前記更新対象に対応付けられた第3ブロックへ書き込み、前記管理情報記憶部に記憶された管理情報において該第3ブロックを有効とする書き込み部とを備えたものである。
本発明によれば、エラーリカバリ能力を向上させて、高密度記録化に伴うデータ記憶の信頼性が高い記憶装置、それに用いられる記憶データ処理装置、記憶データ処理プログラムを提供することができる。
以下、本発明の実施の形態について図面を参照しつつ説明する。
実施の形態1.
本実施の形態においては、本発明の記憶データ処理装置及び記憶装置をハードディスク装置に適用した例について説明する。
本実施の形態においては、本発明の記憶データ処理装置及び記憶装置をハードディスク装置に適用した例について説明する。
まず、本実施の形態に係るハードディスク装置の構成について説明する。
図1は、本実施の形態に係るハードディスク装置の構成の一例を示すブロック図である。
次に、従来のハードディスク装置について説明する。このハードディスク装置は、外部と接続するためのホストIF(Interface)を制御するホストIF制御部2、データバッファ制御部3、データバッファ4、フォーマット制御部5、リードチャネル6、ヘッドIC(Integrated Circuit)7、ハードディスク装置の制御用のMPU(Micro Processing Unit)8、制御用のデータおよび制御用プログラムを格納するメモリ9、制御用プログラムを格納する不揮発性メモリ(FROM)10、スピンドルモータ(SPM)やヴォイスコイルモータ(VCM)の動作を制御するサーボ制御部11、ヘッドアクチュエータを実際に動かすVCM12、ディスクを回転させるSPM13、Read/Write用のヘッド14、ディスク媒体15、内部のコモンバス16、冗長演算部21を備える。
また、ハードディスク装置は、ホストIF制御部2に接続されるホストIFを介して、PC(Personal Computer)等の上位装置(外部装置)に接続される。ホストIF制御部2、データバッファ制御部3、データバッファ4、フォーマット制御部5、リードチャネル6、ヘッドIC7、MPU8、メモリ9、不揮発性メモリ10、サーボ制御部11は、コモンバス16により接続されている。
ハードディスク装置から上位装置へのデータの読み出しにおいて、上位装置からの読み出し命令に従って、データはディスク媒体15から読み出され、ヘッド14、およびヘッドIC7を経由してリードチャネル6に送られる。さらに、そのデータは、フォーマット制御部5を経由してECC計算が行われ、エラーの起きなかったデータだけが、データバッファ制御部3を経由してデータバッファ4にいったん保持される。そして、再びデータバッファ制御部3およびホストIF制御部2を経由して上位装置に送られる。
また、上位装置からハードディスク装置へのデータの書き込みにおいて、上位装置から書き込み命令として送られたデータは、ホストIF制御部2を経由し、データバッファ制御部3を経由して、いったんデータバッファ4に取り込まれる。さらに、そのデータは、書き込みを実施するのに適当なタイミングで、再びデータバッファ制御部3を経由し、フォーマット制御部5、リードチャネル6、ヘッドIC7を経由してディスク媒体15に書き込まれる。
図2は、本実施の形態に係る冗長演算部の構成の一例を示すブロック図である。冗長演算部21は、演算結果メモリ31、XOR(Exclusive OR:排他的論理和)演算部32を備える。演算結果メモリ31は、セクタサイズの容量を持ち、1セクタ分の演算結果データ(演算データ)を保持する。外部からの1セクタ分の入力データと演算結果メモリ31に保持された1セクタ分の演算結果データは、XOR演算部32によりビット位置毎のXOR演算が行われる。この演算結果は、新たな演算結果データとして演算結果メモリ31に保持される。また、MPU8は、演算結果メモリ31に保持された演算結果データを、コモンバス16を介して読み出し、冗長セクタデータとすることができる。
次に、ディスク媒体15上のユーザ領域におけるセクタ配置について説明する。
図3は、本実施の形態に係るディスク媒体上のユーザ領域におけるセクタ配置の一例を示す配置図である。この図は、通常のユーザデータが書き込まれる通常セクタと冗長セクタデータが書き込まれる冗長セクタの配置を示す。また、この図における1つの要素は、1つのセクタを表す。また、この図は、区分を区分番号で表し、通常セクタをLBA(Logical Block Address)で表し、冗長セクタを対応する区分番号で表す。ここでは、連続するm個のLBAを持つ通常セクタが1つの区分とされ、この図において1つの区分は1つの行で表されている。また、ユーザ領域全体は、n個の区分に分けられている。また、区分毎に、その区分のユーザデータに基づく冗長セクタデータを書き込むための1つの冗長セクタが挿入される。つまり、j番目の区分LBA(ji)〜LBA((j+1)i−1)を持つユーザデータに対して1つの冗長セクタデータ(j)が生成され、挿入される(i=0,1,…m−1)(j=0,1,…n−1)。
次に、本実施の形態に係るハードディスク装置の動作について説明する。
まず、ディスク媒体15に書き込まれているユーザデータから冗長セクタデータを生成し、冗長セクタデータの書き込みを行う冗長セクタデータ更新処理について説明する。
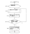
冗長セクタデータ更新処理は、上位装置からの更新指示を受けた場合、または、上位装置からのアクセスがない期間(MPU8の空き時間)が閾値を超えた場合に実行される。図4は、本実施の形態に係る冗長セクタデータ更新処理の動作の一例を示すフローチャートである。まず、MPU8は、ユーザ領域の全てを更新範囲として設定する(S12)。次に、MPU8は、更新範囲において区分毎に冗長セクタデータ生成処理を行い(S13)、生成した1つの冗長セクタデータをディスク媒体15に書き込む単一冗長セクタデータ書き込み処理を行う(S14)。次に、MPU8は、更新範囲の全ての区分の冗長セクタデータを更新したか否かの判断を行い、全てを更新していない場合(S17,N)、処理S13へ戻り、全てを更新した場合(S17,Y)、このフローは終了する。
次に、処理S13の冗長セクタデータ生成処理について説明する。
冗長セクタデータ生成処理は、対象の区分のユーザデータを読み出し、冗長演算部21によりユーザデータから冗長セクタデータを生成する処理である。図5は、本実施の形態に係る冗長セクタデータ生成処理の動作の一例を示すフローチャートである。まず、MPU8は、対象の区分の先頭LBA及び最終LBA、処理対象セクタ数、セクタ配置をフォーマット制御部5に設定する(S21)。セクタ配置は、冗長セクタデータの生成に用いる通常セクタの配置を示し、読み出す通常セクタの順序を指定するものである。ここでは、上述したように対象の区分内の通常セクタは連続して配置されており、MPU8は、連続する通常セクタを読み出すようにセクタ配置を指定する。次に、MPU8は、冗長演算部21の演算結果メモリ31を初期化(0クリア)する(S22)。次に、MPU8は、フォーマット制御部5を起動し、対象のユーザデータを読み出させ、冗長演算部21へ入力させる(S23)。次に、MPU8は、動作が終了したか否かの判断を行い、動作が終了していない場合(S24,N)、処理S24へ戻り、動作が終了した場合(S24,Y)、このフローは終了する。
次に、冗長セクタデータ生成処理中の冗長演算部21の動作について説明する。まず、演算結果メモリ31における1セクタ分のデータは全て0に初期化されるため、最初のユーザデータである入力データは、そのまま演算結果データとして演算結果メモリ31に保持される。その後のユーザデータと演算結果データは、ビット位置毎にXOR演算され、演算結果データとして演算結果メモリ31に上書きされていく。冗長セクタデータ生成処理が終了した時点で、演算結果メモリ31に保持された演算結果データが、冗長セクタデータとなる。
また、最終LBAを含む区分である最終区分は、他の区分より通常セクタの数が少ない場合があるが、冗長セクタデータ生成処理において、区分内の全てのユーザデータが入力データとして入力されれば通常セクタの数に関わらず、冗長セクタデータを得ることができる。
次に、単一冗長セクタデータ書き込み処理について説明する。
図6は、本実施の形態に係る単一冗長セクタデータ書き込み処理の動作の一例を示すフローチャートである。まず、MPU8は、演算結果メモリ31に保持された冗長セクタデータをデータバッファ4へコピーする(S31)。次に、MPU8は、通常のデータバッファ4内のユーザデータをディスク媒体15に書き込む処理と同様、データバッファ4内の冗長セクタデータをディスク媒体15に書き込み(S32)、このフローは終了する。
従来のユーザデータの書き込みと同様にして、データバッファ4からディスク媒体15へ書き込む経路を、冗長セクタデータの書き込みに利用することにより、従来のハードディスク装置に本発明を適用することによるハードウェア規模の増加を少なくすることができる。また、第2冗長セクタデータ更新処理においても、全ての冗長セクタデータを一旦データバッファ4にコピーすることにより、全ての冗長セクタデータを連続して書き込むことができる。
上述したように、冗長セクタデータの更新は、上位装置からのコマンド(書き込みや読み出しなど)の受領をしていないタイミングで行うことが望ましい。ハードディスク装置において読み出し不可能なエラーセクタが発生するケースは稀であるため、上位装置からのコマンド受領タイミングまたはその直後などに冗長セクタデータの更新を行う必要性は無い。冗長セクタデータの更新の頻度が高いと、処理のオーバヘッドが増加することにより、ハードディスク装置の性能が低下してしまうためである。
次に、ユーザデータ読み出し処理、ディスク媒体走査処理について説明する。
MPU8が上位装置から読み出し命令を受け、対象となる通常セクタの全てが正常に読み出された場合、冗長セクタデータに関する処理は必要とされず、対象のユーザデータを上位装置に送るだけでよい。一方、ユーザデータ読み出し処理において、リカバリできないセクタであるエラーセクタがあった場合、エラーセクタに書き込まれているデータであるエラーセクタデータを復元するエラーセクタデータ復元処理を行う。
また、MPU8が上位装置からディスク媒体走査命令を受けた場合、MPU8は、ディスク媒体15上のユーザ領域における全てのセクタをユーザデータ読み出し処理と同様にして読み出し、エラーセクタの検出を行うディスク媒体走査処理を行う。このディスク媒体走査処理により、エラーセクタがあった場合、ユーザデータ読み出し処理と同様、エラーセクタデータ復元処理を行う。
また、所定の期間毎に、MPU8は、ディスク媒体15上のユーザ領域における全てのセクタをユーザデータ読み出し処理と同様にして読み出すディスク媒体走査処理を行う。このディスク媒体走査処理により、エラーセクタがあった場合、ユーザデータ読み出し処理と同様、エラーセクタデータ復元処理を行う。
次に、エラーセクタデータ復元処理について説明する。
図7は、本実施の形態に係るエラーセクタデータ復元処理の動作の一例を示すフローチャートである。まず、MPU8は、演算結果メモリ31を初期化し(S44)、上述したセクタ配置に従って、ディスク媒体15からエラーセクタが所属する区分内の通常セクタを読み出し、読み出し可能な(エラーセクタデータ以外の)ユーザデータを冗長演算部21へ入力する(S45)。次に、MPU8は、その区分に対応する冗長セクタデータをディスク媒体15から読み出し、冗長演算部21へ入力する(S46)。このとき、冗長演算部21の動作により、演算結果メモリ31における演算結果データは、エラーセクタのデータが復元されたものである復元データとなる。次に、MPU8は、演算結果メモリ31から復元データを読み出し、上位装置に送る(S47)。次に、MPU8は、エラーセクタの代わりに他の空きセクタを割り当てる交代(リアサイン)処理を行い(S48)、このフローは終了する。
上述したように、対象とする区分内のエラーセクタデータ以外のユーザデータと冗長セクタデータとに対してXOR演算を行うことにより、エラーセクタデータを復元することができる。また、XOR演算部32は、入力データであるセクタの順序を変えても演算結果データが変わらないことから、ある区分について全ての通常セクタのユーザデータをいかなるセクタ順で入力しても、最終的な演算結果データとして冗長セクタデータを得ることができ、エラーセクタが存在数する区分についてエラーセクタデータ以外のユーザデータと冗長セクタデータとをいかなるセクタ順で入力しても、最終的な演算結果データとしてエラーセクタデータを得ることができる。また、最後の区分のように他の区分よりも通常セクタの数が少ない区分であっても、全ての通常セクタのユーザデータを用いることにより他の区分と同様に冗長セクタデータ生成処理とエラーセクタデータ復元処理を行うことができる。
なお、本実施の形態においては、冗長セクタデータ生成処理とエラーセクタデータ復元処理のためにXOR演算部32を用いたが、入力データとする複数のセクタの順番を変えても演算結果が変わらない演算であれば、他の演算を用いても良い。また、本実施の形態においては、入力データと演算結果データをセクタ単位としたが、バイト単位、ワード単位など、他のデータ長を単位としても良い。
本実施の形態によれば、読み出しエラーが発生した場合であっても、エラーセクタのデータを復元することができるため、ディスク装置の信頼性が飛躍的に高まる。また、上位装置からの指示または空き時間に従って、冗長データセクタの更新を行うことにより、上位装置への応答時間の増加を抑えることができる。
実施の形態2.
本実施の形態においては、複数の冗長セクタデータをまとめて書き込むハードディスク装置について説明する。
本実施の形態においては、複数の冗長セクタデータをまとめて書き込むハードディスク装置について説明する。
本実施の形態に係るハードディスク装置の構成は、実施の形態1と同様である。
次に、ディスク媒体15上のユーザ領域におけるセクタ配置について説明する。
図8は、本実施の形態に係るディスク媒体上のユーザ領域のセクタ配置の一例を示す配置図である。この場合、実施の形態1に示した全ての通常セクタの後に、全ての冗長セクタが連続して配置される。
次に、本実施の形態に係るハードディスク装置の動作について説明する。
実施の形態1と比較すると、本実施の形態には冗長セクタデータ更新処理が異なる。図9は、本実施の形態に係る冗長セクタデータ更新処理の動作の一例を示すフローチャートである。この図において、図4と同一符号は図4に示された対象と同一又は相当物を示しており、ここでの説明を省略する。処理S13の後、MPU8は、生成されたそれぞれの冗長セクタデータが重ならないように、演算結果メモリ31に保持された冗長セクタデータを一旦データバッファ4に格納する(S15)。次に、MPU8は、更新範囲の全ての冗長セクタデータをデータバッファ4上に格納したか否かの判断を行う(S18)。生成していない場合(S18,N)、処理S13へ戻り、生成した場合(S18,Y)、MPU8は、データバッファ4上の全ての冗長セクタデータを一括してディスク媒体15へ書き込み(S19)、このフローは終了する。
本実施の形態によれば、複数の冗長セクタデータを連続して書き込むことができるため、冗長セクタデータの書き込み時間を短縮することができる。
実施の形態3.
本実施の形態においては、1つの区分にエラーセクタが2セクタ連続した場合であってもエラーセクタのデータを復元することができるハードディスク装置について説明する。
本実施の形態においては、1つの区分にエラーセクタが2セクタ連続した場合であってもエラーセクタのデータを復元することができるハードディスク装置について説明する。
本実施の形態に係るハードディスク装置の構成は、実施の形態1と同様である。
次に、ディスク媒体15上のユーザ領域におけるセクタ配置について説明する。
図10は、本実施の形態に係るディスク媒体上のユーザ領域におけるセクタ配置の一例を示す配置図である。この図は、通常セクタと冗長セクタの配置を示す。また、この図は、区分を区分番号で表し、通常セクタをそのセクタに割り当てられたLBAで表し、冗長セクタを対応する区分番号で表す。ここでは、連続する2m個のLBAを持つユーザデータが2つの区分に交互に配置され、区分毎に1つの冗長セクタが挿入される。
例えば、連続するm個のLBA(0)〜LBA(m−1)を持つ通常セクタのうち偶数のLBA(0),LBA(2),…LBA(m−2)を持つm個の通常セクタと、次に連続するm個のLBA(m)〜LBA(2m−1)を持つ通常セクタのうち奇数のLBA(m+1),LBA(m+3),…LBA(2m−1)を交互に配置し、1行目として示した区分0とし、この区分0内のm個の通常セクタから得られる冗長セクタ0をこの区分の後に挿入する。同様に、LBA(m)〜LBA(2m−1)を持つ通常セクタのうち偶数のLBA(m),LBA(m+2),…LBA(2m−2)を持つm個の通常セクタと、LBA(0)〜LBA(m−1)を持つ通常セクタのうち奇数のLBA(1),LBA(3),…LBA(m−1)を交互に配置し、2行目として示した区分1とし、この区分1内のm個の通常セクタから得られる冗長セクタ1を挿入する。
つまり、1行目の区分0には、通常セクタLBA(0),LBA(m+1),LBA(2,LBA(m+3),…LBA(m−2),LBA(2m−1)と冗長セクタ0が配置され、2行目の区分1には、通常セクタLBA(m),LBA(1),LBA(m+2),LBA(3),…LBA(2m−2),LBA(m−1)と冗長セクタ1が配置される。
次に、本実施の形態に係るハードディスク装置の動作について説明する。
冗長セクタデータ更新処理は、実施の形態1と同様である。
実施の形態1と比較すると、処理S22におけるセクタ配置の指定が異なる。ここで、MPU8は、セクタ配置として、上述したように2つの区分に交互に配置された通常セクタの順序を指定する。
このセクタ配置を用いることにより、実施の形態1と同様の冗長セクタデータ生成処理やエラーセクタデータ復元処理を行うことができ、必要な通常セクタが読み出される。
本実施の形態によれば、エラーセクタが2セクタ連続する場合であっても、2つの区分に1つずつエラーセクタが存在することになり、区分毎にエラーセクタデータ復元処理を行うことにより、2セクタ連続するエラーセクタを復元することができる。
実施の形態4.
本実施の形態においては、1つの区分にエラーセクタが2セクタ連続した場合であってもエラーセクタのデータを復元することができ、かつ処理時間を短縮することができるハードディスク装置について説明する。
本実施の形態においては、1つの区分にエラーセクタが2セクタ連続した場合であってもエラーセクタのデータを復元することができ、かつ処理時間を短縮することができるハードディスク装置について説明する。
本実施の形態に係るハードディスク装置の構成は、実施の形態1と同様であるが、冗長演算部21において、演算結果メモリ31は、2セクタ分の容量を持ち、XOR演算部32は、外部からの2セクタ分の入力データと演算結果メモリ31に保持された2セクタ分の演算結果データに対して、ビット位置毎のXOR演算を行う。
次に、ディスク媒体15上のユーザ領域におけるセクタ配置について説明する。
本実施の形態におけるセクタ配置は、実施の形態3と同様である。例えば、図11に示すように、1行目の区分0には、LBA(0),LBA(m+1),LBA(2),LBA(m+3),…LBA(m−2),LBA(2m−1)と冗長セクタデータ0が配置され、2行目の区分1には、LBA(m),LBA(1),LBA(m+2),LBA(3),…LBA(2m−2),LBA(m−1)と冗長セクタデータ1が配置される。
本実施の形態に係る冗長セクタデータ生成処理及びエラーセクタデータ復元処理において、MPU8は、セクタ配置に従って、2セクタずつ読み出し、冗長演算部21は、2セクタずつのXOR演算を行う。この例においては、LBA(0),LBA(1)の2セクタが一度に読み出され、冗長演算部21の入力データとなる。その後、LBA(2),LBA(3)の2セクタ,…LBA(m−2),LBA(m−1)の2セクタがそれぞれ読み出され、冗長演算部21の入力データとなる。最終的に演算結果データ31には、2セクタ分の冗長セクタデータまたはエラーセクタデータが出来上がる。
本実施の形態によれば、エラーセクタが2セクタ連続する場合であっても、2つの区分に1つずつエラーセクタが存在することになり、区分毎にエラーセクタデータ復元処理を行うことにより、2セクタ連続するエラーセクタを復元することができる。更に、2セクタ分の演算結果メモリ31と2セクタ分のXOR演算部32を用いることにより、冗長セクタデータ生成処理及びエラーセクタデータ復元処理に要する時間は、実施の形態3と比較しておよそ1/2に短縮することができる。
なお、本実施の形態において、演算結果メモリ31とXOR演算部32のデータ長を2セクタ分としたが、他のデータ長としても良い。また、本実施の形態においては、連続するLBAを持つ通常セクタを2つの区分に交互に配置するとしたが、連続するLBAを持つ通常セクタを複数の区分に所定の規則で配置しても良い。
実施の形態5.
本実施の形態においては、データバッファやMPUの負荷を軽減するハードディスク装置について説明する。
本実施の形態においては、データバッファやMPUの負荷を軽減するハードディスク装置について説明する。
まず、本実施の形態に係るハードディスク装置の構成について説明する。
図11は、本実施の形態に係るハードディスク装置の構成の一例を示すブロック図である。この図において、図1と同一符号は図1に示された対象と同一又は相当物を示しており、ここでの説明を省略する。この図は、図1と比較すると、新たに冗長演算部21からフォーマット制御部5への経路を備える。
次に、本実施の形態に係るハードディスク装置の動作について説明する。
冗長セクタデータ更新処理は、実施の形態1と同様であるが、単一セクタデータ書き込み処理が異なる。その他の動作は、実施の形態1と同様である。
図12は、本実施の形態に係る単一冗長セクタデータ書き込み処理の動作の一例を示すフローチャートである。まず、MPU8は、冗長演算部21から直接ディスク媒体15へ演算結果メモリ31のデータを書き込めるように、フォーマット制御部5に対してデータの経路の設定を行う(S33)。次に、MPU8は、データバッファ4内のユーザデータをディスク媒体15に書き込む手順と同様にして、演算結果メモリ31内の冗長セクタデータをディスク媒体15に書き込み(S34)、このフローは終了する。
実施の形態1と比較すると、冗長演算部21における演算結果メモリ31に保持された冗長セクタデータが、フォーマット制御部5を介して直接ディスク媒体15に書き込まれることにより、データバッファ4やMPU8(ファームウェア)の負荷を削減することができる。
実施の形態6.
本実施の形態においては、ユーザ領域の一部の範囲に冗長セクタを付加するハードディスク装置について説明する。
本実施の形態においては、ユーザ領域の一部の範囲に冗長セクタを付加するハードディスク装置について説明する。
ここで、ユーザ領域のうち冗長セクタを付加する通常セクタの集合を復元対象範囲とし、この復元対象範囲内の通常セクタが区分に分けられる。従って、復元対象範囲の通常セクタにエラーセクタがあった場合のみ、エラーセクタデータ復元処理が行われる。
まず、本実施の形態に係るハードディスク装置の構成は、実施の形態1と同様である。
次に、本実施の形態に係るハードディスク装置の動作について説明する。
まず、復元対象範囲が設定されている場合の電源投入時の処理である復元対象範囲識別処理について説明する。
図13は、本実施の形態に係る復元対象範囲識別処理の動作の一例を示すフローチャートである。まず、MPU8は、SPM13の起動を行う(S81)。次に、MPU8は、システム領域からハードディスク装置制御に必要な制御情報を読み出し(S82)、読み出した制御情報に基づいてハードディスク装置の設定を行う(S83)。次に、MPU8は、システム領域から復元対象範囲の先頭LBA及び最終LBAを読み出し(S84)、読み出した情報に基づいて復元対象範囲の設定を行い(S85)、このフローは終了する。
上述した復元対象範囲の設定により、冗長セクタデータ更新処理における更新範囲は、復元対象範囲に設定される。その他の動作は、実施の形態1と同様である。
本実施の形態によれば、復元の必要な通常セクタに対してだけ冗長セクタを付加することにより、ハードディスク装置内のメモリ9やディスク媒体15上のシステム領域などのリソースの消費を抑えることができる。
実施の形態7.
本実施の形態においては、区分毎にそのサイズを変えることができるハードディスク装置について説明する。
本実施の形態においては、区分毎にそのサイズを変えることができるハードディスク装置について説明する。
上述した実施の形態において、区分のサイズである区分サイズは、一定であるとしたが、本実施の形態においては、例えば、アクセス頻度の高い領域は、区分サイズを小さくし、アクセス頻度の低い領域は、区分サイズを大きくするなど、区分サイズを設定することができる。
まず、本実施の形態に係るハードディスク装置の構成は、実施の形態1と同様である。
次に、本実施の形態に係るハードディスク装置の動作について説明する。
次に、復元対象範囲が設定されている場合の電源投入時の処理である復元対象範囲識別処理について説明する。
まず、区分サイズが設定されている場合の電源投入時処理である区分サイズ識別処理について説明する。図14は、本実施の形態に係る区分サイズ識別処理の動作の一例を示すフローチャートである。まず、処理S81,S82,S83は、実施の形態6と同様である。次に、MPU8は、システム領域から区分サイズを含む区分情報を読み出し(S86)、読み出した情報に基づいて各区分の区分サイズなどの設定を行い(S87)、このフローは終了する。
ここで、ディスク媒体15上のシステム領域に保存される区分情報について説明する。図15は、本実施の形態に係る区分情報の一例を示す表である。区分情報は、区分毎に、区分開始LBA、冗長セクタデータの有無、区分サイズを持つ。この例の場合、LBA(0x00000000)〜LBA(0x0000ffff)の領域は、区分サイズが0x0800セクタずつとなる区分に割り当てられ、各区分には冗長セクタが割り当てられる。また、LBA(0x00010000)〜LBA(0x0001ffff)の領域は、区分サイズが0x10000セクタずつとなる区分に割り当てられ、各区分には冗長セクタが割り当てられる。また、LBA(0x00020000)〜最終セクタの領域は、区分や冗長セクタが割り当てられない。
上述した復元対象範囲の設定により、冗長セクタデータ更新処理における更新範囲は、冗長セクタデータがある領域に設定される。その他の動作は、実施の形態1と同様である。
このような区分情報をシステム領域に保持しておくことにより、ハードディスク装置の用途毎、あるいはハードディスク装置のユーザ毎に区分や冗長セクタの割り当てを変更することができる。また、更新の多いユーザ領域、即ちエラーセクタの発生する確率の高い領域の冗長セクタデータの割合を多くすることにより、ハードディスク装置のリソースを効率的に使用することができるとともに、データを復元できる可能性が大幅に増大し、ハードディスク装置の信頼性を大幅に高めることができる。
実施の形態8.
本実施の形態においては、各冗長セクタデータが有効か否かの情報を持つハードディスク装置について説明する。
本実施の形態においては、各冗長セクタデータが有効か否かの情報を持つハードディスク装置について説明する。
本実施の形態に係るハードディスク装置の構成は、実施の形態1と同様である。
次に、各冗長セクタデータが有効であるか無効であるかを示す冗長セクタデータテーブルについて説明する。
冗長セクタデータテーブルは、MPU8により生成され、不揮発性メモリ10に格納される。図16は、本実施の形態に係る冗長セクタデータテーブルのデータ構造の一例を示す表である。冗長セクタデータテーブルは、冗長セクタデータ毎に、対応する冗長セクタデータ番号(区分番号)と、その冗長セクタデータが有効であるか無効であるかを示す有効フラグとを持つ。MPU8は、冗長セクタデータの更新時に、この冗長セクタデータテーブルを参照することにより、無効な冗長セクタデータのみを更新することができ、効率的に冗長セクタデータの更新を行うことができる。
この冗長セクタデータテーブルの更新は、上位装置からのコマンドを受領していないタイミングで行うことが望ましい。
次に、本実施の形態に係るハードディスク装置の動作について説明する。
冗長セクタデータ更新処理は、実施の形態1と同様であるが、処理S12の代わりに、冗長セクタデータテーブルから有効フラグが無効を示す区分を検索し、検索された区分を更新範囲として設定する。その他の処理は、実施の形態1と同様である。
次に、上位装置からコマンドを受領する場合の処理であるコマンド受領処理について説明する。
図17は、本実施の形態に係るコマンド受領処理の動作の一例を示すフローチャートである。まず、MPU8は、上位装置からのコマンドを受領したか否かの判断を行い、受領していなければ(S51,N)、処理S51へ戻り、受領していれば(S51,Y)、次の処理へ移行する。次に、MPU8は、コマンドがデータの書き込みであるか否かの判断を行い、書き込みでなければ(S52,N)、処理S54へ移行し、書き込みであれば(S52,Y)、次の処理へ移行する。次に、MPU8は、フラグクリア処理を行う(S53)。次に、MPU8は、コマンドに従う通常の処理であるコマンド処理を行い(S54)。このフローは終了する。
次に、有効フラグをクリア(無効に)するフラグクリア処理について説明する。
図18は、本実施の形態に係るフラグクリア処理の動作の一例を示すフローチャートである。まず、MPU8は、受領したLBAと書き込みサイズから書き込みの対象の区分である書き込み対象区分を特定する(S62)。例えば、全ての区分のサイズが一定である場合、MPU8は、(受領LBA÷区分サイズ)を書き込み対象区分の開始区分とし、((受領LBA+書き込みサイズ)÷区分サイズ)を書き込み対象区分の終了区分とする。区分サイズが一定でない場合、区分サイズで場合分けを行う。次に、MPU8は、書き込み対象区分に対応する有効フラグをクリアし(S63)、このフローは終了する。
もし、データの書き込みの後にフラグクリア処理を行うとすると、書き込みとフラグクリア処理の間に不測の事態が発生して有効フラグが残ったままになった場合、誤ったエラーセクタデータ復元処理が行われる。そのため、本実施の形態において、フラグクリア処理は、データの書き込みの前に行われる。
次に、有効フラグをセット(有効に)するフラグセット処理について説明する。
MPU8は、単一冗長セクタデータ書き込み処理の後に、フラグセット処理を行う。ここで、MPU8は、冗長セクタデータテーブルにおいて、単一冗長セクタデータ書き込み処理により書き込まれた冗長セクタデータに対応する有効フラグをセットする。
もし、単一冗長セクタデータ書き込み処理の前にフラグセット処理を行うとすると、冗長セクタデータが書き込まれていない状態で有効フラグだけセットされた場合、誤ったエラーセクタデータ復元処理が行われる。
次に、本実施の形態に係るエラーセクタデータ復元処理について説明する。
図19は、本実施の形態に係るエラーセクタデータ復元処理の動作の一例を示すフローチャートである。まず、MPU8は、検出したエラーセクタのLBAからエラーセクタが属する区分を特定し、冗長セクタデータテーブルを参照してその区分に対応する有効フラグを取得する(S41)。次に、MPU8は、取得した有効フラグが有効を示すか否かの判断を行い、無効を示す場合(S42,N)、このフローは終了し、有効を示す場合(S42,Y)、次の処理へ移行する。その後の処理S44,S45,S46,S47,S48は、実施の形態1のエラーセクタデータ復元処理と同様である。
ハードディスク装置の電源が切られた後、冗長セクタデータテーブルが保持されていないと、次回の電源投入直後にエラーセクタが検出された場合にエラーセクタデータ復元処理を行うことができない。そこで、本実施の形態においては、冗長セクタデータテーブルは、不揮発性メモリ10に保存されるとした。
なお、ハードディスク装置が上位装置からFlush Cacheコマンドやヘッドを退避させるコマンドを受領したタイミングで、冗長セクタデータテーブルが更新され、ディスク媒体15に書き込まれるようにしても良い。ハードディスク装置は、一般的にライトキャッシュ機能を使用しているため、電源が切られる前、データバッファ4(キャッシュ)に保持されている上位装置からの書き込みデータがディスク媒体15に書き込まれる。Flush Cacheコマンドは、この書き込みを強制的に行わせるものであり、ハードディスク装置の電源OFFの前に上位装置から発行される。従って、このタイミングを利用して、MPU8は、冗長セクタデータテーブルの更新とディスク媒体15への書き込みを行う。
本実施の形態によれば、更新の必要な冗長セクタデータのみを更新することができるため、冗長セクタデータの更新の負荷を低減することができる。従って、ハードディスク装置の性能低下を抑えつつ、迅速に冗長セクタデータを更新することができる。また、エラーセクタが検出された場合に、エラーセクタに対応する冗長セクタデータが生成されている確率を高めることができる。
ここで、全ての区分サイズを小さくすると、エラーセクタに対する冗長セクタデータが有効である可能性が高くなるが、ハードディスク装置内部のメモリ9やディスク媒体15上のシステム領域などのリソースの消費が増大する。そこで、実施の形態7のように、区分毎に区分サイズを変えることにより、リソースの消費を抑えつつ、ハードディスク装置の信頼性を高めることができる。
実施の形態9.
本実施の形態においては、区分情報を動的に変更するハードディスク装置について説明する。
本実施の形態においては、区分情報を動的に変更するハードディスク装置について説明する。
本実施の形態に係るハードディスク装置の構成は、実施の形態1と同様である。
次に、本実施の形態に係るハードディスク装置の動作について説明する。
冗長セクタデータ更新処理、冗長セクタデータ生成処理、単一冗長セクタデータ書き込み処理、ユーザデータ読み出し処理、ディスク媒体走査処理は、実施の形態1と同様である。また、実施の形態8と同様、冗長セクタデータテーブルが不揮発性メモリ10に格納される。また、実施の形態2と同様、セクタ配置は、全ての通常セクタが連続して配置された後に、全ての冗長セクタが連続して配置される。また、実施の形態7と同様、ディスク媒体15上のシステム領域に区分情報が保存される。
次に、区分情報を動的に変更する区分情報変更処理について説明する。
図20は、本実施の形態に係る区分情報変更処理の動作の一例を示すフローチャートである。まず、MPU8は、上位装置から書き込みコマンドを受領したか否かの判断を行い、受領していない場合(S91,N)、処理S91へ戻り、受領した場合(S91,Y)、次の処理へ移行する。次に、MPU8は、書き込み範囲の最終LBAを計算する(S92)。次に、MPU8は、今までに書き込みが無かった領域への書き込みか否かの判断を行い、書き込みが無かった領域への書き込みで無い場合(S93,N)、このフローは終了し、書き込みが無かった領域への書き込みである場合(S93,Y)、次の処理へ移行する。
次に、MPU8は、書き込み範囲の最終LBAを書き込み最大LBAとして記憶する(S94)。次に、MPU8は、所定の時間間隔が経過したか否かの判断を行い、経過していない場合(S95,N)、このフローは終了し、経過した場合(S95,Y)、次の処理へ移行する。次に、MPU8は、書き込み最大LBAが冗長セクタを割り当てている区分よりも大きいか否かの判断を行い、大きくない場合(S96,N)、このフローは終了し、大きい場合(S96,Y)、次の処理へ移行する。次に、MPU8は、書き込み最大LBAを含む区分まで、冗長セクタを割り当てて使用するように区分情報の変更を行う(S97)。次に、MPU8は、冗長セクタ有効テーブルの初期化を行い、全ての冗長セクタデータを一旦無効にし(S98)、このフローは終了する。
ハードディスク装置において使用開始からディスク容量の全体を使用するようになるまでの期間は長い。もし、使用開始時に全ての区分情報が設定されるとすると、未使用のユーザ領域に対応した冗長セクタの領域は、しばらく使用されない。本実施の形態によれば、動的に区分情報を変更することにより、未使用の冗長セクタの領域を減らすことができる。例えば、ユーザ領域全体に亘って0x10000セクタ毎に区分が構成されている場合、ユーザ領域の半分未満の領域だけが使用されている状態では区分サイズを0x08000にすることにより、冗長セクタの領域を有効に利用することができる。
なお、第1ブロックは、実施の形態における通常セクタに対応する。また、第2ブロックは、実施の形態における区分に対応する。また、第3ブロックは、実施の形態における冗長セクタに対応する。また、記憶媒体は、実施の形態におけるディスク媒体に対応する。また、更新対象は、実施の形態における更新範囲に対応する。また、演算データは、実施の形態における演算結果データに対応する。また、演算部は、実施の形態における冗長演算部に対応する。また、書き込み部及び読み出し部は、実施の形態におけるMPU、データバッファ、バッファ制御部、フォーマット制御部に対応する。また、演算ステップは、実施の形態における処理S13に対応する。また、書き込みステップは、実施の形態における処理S14または処理S19に対応する。
また、管理情報記憶部は、実施の形態における冗長セクタデータテーブルに対応する。また、管理情報記憶ステップは、実施の形態におけるフラグセット処理及びフラグクリア処理に対応する。また、読み出しステップは、実施の形態におけるエラーセクタデータ復元処理に対応する。
また、本実施の形態に係るMPU8及び冗長演算部21は、記憶装置に容易に適用することができ、記憶装置の性能をより高めることができる。ここで、記憶装置には、例えば磁気ディスク装置、光ディスク装置、光磁気ディスク装置等が含まれ得る。
(付記1) 所定のデータ長の第1ブロックを単位としてデータが配置され、且つ複数の前記第1ブロックで構成される第2ブロックを単位として前記第1ブロックが配置され、且つ前記第2ブロックに対応して前記第1ブロック長を持つ第3ブロックが配置される記憶媒体に対して少なくとも書き込み処理を行う記憶装置に用いられる記憶データ処理装置において、
前記第2ブロック毎に、該第2ブロックに対応する第3ブロックが有効か無効かの情報を含む管理情報を記憶する管理情報記憶部と、
前記管理情報記憶部に記憶された管理情報において、更新対象として指定された第2ブロックに対応する第3ブロックが無効である場合、前記更新対象中の全ての第1ブロックのデータについてビット位置毎の演算を行い、該演算の結果を演算データとして出力する演算部と、
前記演算部により出力された演算データを、前記更新対象に対応付けられた第3ブロックへ書き込み、前記管理情報記憶部に記憶された管理情報において該第3ブロックを有効とする書き込み部と
を備える記憶データ処理装置。
(付記2) 付記1に記載の記憶データ処理装置において、
前記演算部は、前記演算データを初期化し、前記更新対象中の各々の第1ブロックのデータを順次、前記演算の入力データとし、該入力データと前記演算データについてビット位置毎の演算を行い、該演算の結果を新たな演算データとして記憶し、該演算と該記憶を全ての前記入力データについて繰り返し、前記演算データを出力することを特徴とする記憶データ処理装置。
(付記3) 付記1または付記2に記載の記憶データ処理装置において、
更に、読み出し対象として指定された第1ブロックからデータを読み出し、該データの読み出しに失敗した場合、前記読み出しに失敗した第1ブロックをエラーブロックとし、前記管理情報記憶部に記憶された管理情報において前記読み出し対象を含む第2ブロックに対応する第3ブロックが有効である場合、該第2ブロック中の該エラーブロック以外の全ての第1ブロックのデータである正常データを読み出し、該第2ブロックに対応する第3ブロックのデータである冗長データを読み出す読み出し部を備え、
前記演算部は更に、前記正常データと前記冗長データについてビット位置毎の演算を行い、該演算の結果を前記エラーブロックのデータとして出力することを特徴とする記憶データ処理装置。
(付記4) 付記3に記載の記憶データ処理装置において、
前記演算部は、前記演算データを初期化し、各々の前記正常データと前記冗長データを順次、前記演算の入力データとし、該入力データと前記演算データについてビット位置毎の演算を行い、該演算の結果を新たな演算データとして記憶し、該演算と該記憶を全ての前記入力データについて繰り返し、前記演算データを出力することを特徴とする記憶データ処理装置。
(付記5) 付記1乃至付記4のいずれかに記載の記憶データ処理装置において、
前記書き込み部は、外部装置からのデータ書き込み指示を受けた場合、前記データ書き込み命令によるデータ書き込み対象を含む第2ブロックに対応する第3ブロックについて、前記管理情報記憶部に記憶された管理情報において該第3ブロックを有効とすることを特徴とする記憶データ処理装置。
(付記6) 付記1乃至付記5のいずれかに記載の記憶データ処理装置において、
前記演算部は、外部装置からのデータ読み出し指示またはデータ書き込み指示による処理を行っていないときに、前記管理情報記憶部に記憶された管理情報において無効である第3ブロックに対応する第2ブロックについて前記演算を行うことを特徴とする記憶データ処理装置。
(付記7) 付記1乃至付記6のいずれかに記載の記憶データ処理装置において、
前記管理情報記憶部は、不揮発性メモリであることを特徴とする記憶データ処理装置。
(付記8) 付記1乃至付記6のいずれかに記載の記憶データ処理装置において、
前記管理情報記憶部は、外部装置からライトキャッシュデータを前記記憶媒体上に書き込む指示、またはヘッドを退避させる指示を受領した場合、前記管理情報を前記記憶媒体に書き込むことを特徴とする記憶データ処理装置。
(付記9) 付記1乃至付記8のいずれかに記載の記憶データ処理装置において、
前記管理情報は、前記第2ブロック毎に、該第2ブロックに含まれる複数の第1ブロックの指定を含むことを特徴とする記憶データ処理装置。
(付記10) 付記1乃至付記9のいずれかに記載の記憶データ処理装置において、
前記管理情報は、前記第2ブロック毎に、該第2ブロックに含まれる複数の第1ブロックの指定を含み、
前記書き込み部は、前記管理情報に基づいて前記第2ブロックを前記記憶媒体に配置することを特徴とする記憶データ処理装置。
(付記11) 付記10に記載の記憶データ処理装置において、
前記管理情報記憶部は、外部装置から各々の第2ブロックへのアクセス頻度に基づいて第2ブロックに含まれる複数の第1ブロックの数を決定し、前記管理情報に含めることを特徴とする記憶データ処理装置。
(付記12) 付記1乃至付記11のいずれかに記載の記憶データ処理装置において、
前記演算部による演算は、順次演算を行う順序を変えても演算結果が変わらない演算であることを特徴とする記憶データ処理装置。
(付記13) 付記12に記載の記憶データ処理装置において、
前記演算部による演算は、排他的論理和であることを特徴とする記憶データ処理装置。
(付記14) 付記1乃至付記13のいずれかに記載の記憶データ処理装置において、
前記第1ブロックは、少なくとも1つのセクタであり、前記第3ブロックは、前記第1ブロック長を持ち、前記演算データは、前記第1ブロック長を持つことを特徴とする記憶データ処理装置。
(付記15) 記憶装置における記憶データ処理をコンピュータに実行させる記憶データ処理プログラムにおいて、
所定のデータ長の第1ブロックを単位としてデータが配置され、且つ複数の前記第1ブロックで構成される第2ブロックを単位として前記第1ブロックが配置され、且つ前記第2ブロックに対応して前記第1ブロック長を持つ第3ブロックが配置される記憶媒体について、前記第2ブロック毎に、該第2ブロックに対応する第3ブロックが有効か無効かの情報を含む管理情報を記憶する管理情報記憶ステップと、
前記管理情報記憶ステップにより記憶された管理情報において、更新対象として指定された第2ブロックに対応する第3ブロックが無効である場合、前記更新対象中の全ての第1ブロックのデータについてビット位置毎の演算を行い、該演算の結果を演算データとして出力する演算ステップと、
前記演算ステップにより出力された演算データを、前記更新対象に対応付けられた第3ブロックへ書き込み、前記管理情報記憶ステップにより記憶された管理情報において該第3ブロックを有効とする書き込みステップと
をコンピュータに実行させる記憶データ処理プログラム。
(付記16) 所定のデータ長の第1ブロックを単位としてデータが配置され、且つ複数の前記第1ブロックで構成される第2ブロックを単位として前記第1ブロックが配置され、且つ前記第2ブロックに対応して前記第1ブロック長を持つ第3ブロックが配置される記憶媒体に対して少なくとも書き込み処理を行う記憶装置において、
前記第2ブロック毎に、該第2ブロックに対応する第3ブロックが有効か無効かの情報を含む管理情報を記憶する管理情報記憶部と、
前記管理情報記憶部に記憶された管理情報において、更新対象として指定された第2ブロックに対応する第3ブロックが無効である場合、前記更新対象中の全ての第1ブロックのデータについてビット位置毎の演算を行い、該演算の結果を演算データとして出力する演算部と、
前記演算部により出力された演算データを、前記更新対象に対応付けられた第3ブロックへ書き込み、前記管理情報記憶部に記憶された管理情報において該第3ブロックを有効とする書き込み部と
を備える記憶装置。
(付記17) 付記16に記載の記憶装置において、
前記演算部は、前記演算データを初期化し、前記更新対象中の各々の第1ブロックのデータを順次、前記演算の入力データとし、該入力データと前記演算データについてビット位置毎の演算を行い、該演算の結果を新たな演算データとして記憶し、該演算と該記憶を全ての前記入力データについて繰り返し、前記演算データを出力することを特徴とする記憶装置。
(付記18) 付記16または付記17に記載の記憶装置において、
更に、読み出し対象として指定された第1ブロックからデータを読み出し、該データの読み出しに失敗した場合、前記読み出しに失敗した第1ブロックをエラーブロックとし、前記管理情報記憶部に記憶された管理情報において前記読み出し対象を含む第2ブロックに対応する第3ブロックが有効である場合、該第2ブロック中の該エラーブロック以外の全ての第1ブロックのデータである正常データを読み出し、該第2ブロックに対応する第3ブロックのデータである冗長データを読み出す読み出し部を備え、
前記演算部は更に、前記正常データと前記冗長データについてビット位置毎の演算を行い、該演算の結果を前記エラーブロックのデータとして出力することを特徴とする記憶装置。
(付記19) 付記18に記載の記憶装置において、
前記演算部は、前記演算データを初期化し、各々の前記正常データと前記冗長データを順次、前記演算の入力データとし、該入力データと前記演算データについてビット位置毎の演算を行い、該演算の結果を新たな演算データとして記憶し、該演算と該記憶を全ての前記入力データについて繰り返し、前記演算データを出力することを特徴とする記憶装置。
(付記20) 付記16乃至付記19のいずれかに記載の記憶装置において、
前記書き込み部は、外部装置からのデータ書き込み指示を受けた場合、前記データ書き込み命令によるデータ書き込み対象を含む第2ブロックに対応する第3ブロックについて、前記管理情報記憶部に記憶された管理情報において該第3ブロックを有効とすることを特徴とする記憶装置。
前記第2ブロック毎に、該第2ブロックに対応する第3ブロックが有効か無効かの情報を含む管理情報を記憶する管理情報記憶部と、
前記管理情報記憶部に記憶された管理情報において、更新対象として指定された第2ブロックに対応する第3ブロックが無効である場合、前記更新対象中の全ての第1ブロックのデータについてビット位置毎の演算を行い、該演算の結果を演算データとして出力する演算部と、
前記演算部により出力された演算データを、前記更新対象に対応付けられた第3ブロックへ書き込み、前記管理情報記憶部に記憶された管理情報において該第3ブロックを有効とする書き込み部と
を備える記憶データ処理装置。
(付記2) 付記1に記載の記憶データ処理装置において、
前記演算部は、前記演算データを初期化し、前記更新対象中の各々の第1ブロックのデータを順次、前記演算の入力データとし、該入力データと前記演算データについてビット位置毎の演算を行い、該演算の結果を新たな演算データとして記憶し、該演算と該記憶を全ての前記入力データについて繰り返し、前記演算データを出力することを特徴とする記憶データ処理装置。
(付記3) 付記1または付記2に記載の記憶データ処理装置において、
更に、読み出し対象として指定された第1ブロックからデータを読み出し、該データの読み出しに失敗した場合、前記読み出しに失敗した第1ブロックをエラーブロックとし、前記管理情報記憶部に記憶された管理情報において前記読み出し対象を含む第2ブロックに対応する第3ブロックが有効である場合、該第2ブロック中の該エラーブロック以外の全ての第1ブロックのデータである正常データを読み出し、該第2ブロックに対応する第3ブロックのデータである冗長データを読み出す読み出し部を備え、
前記演算部は更に、前記正常データと前記冗長データについてビット位置毎の演算を行い、該演算の結果を前記エラーブロックのデータとして出力することを特徴とする記憶データ処理装置。
(付記4) 付記3に記載の記憶データ処理装置において、
前記演算部は、前記演算データを初期化し、各々の前記正常データと前記冗長データを順次、前記演算の入力データとし、該入力データと前記演算データについてビット位置毎の演算を行い、該演算の結果を新たな演算データとして記憶し、該演算と該記憶を全ての前記入力データについて繰り返し、前記演算データを出力することを特徴とする記憶データ処理装置。
(付記5) 付記1乃至付記4のいずれかに記載の記憶データ処理装置において、
前記書き込み部は、外部装置からのデータ書き込み指示を受けた場合、前記データ書き込み命令によるデータ書き込み対象を含む第2ブロックに対応する第3ブロックについて、前記管理情報記憶部に記憶された管理情報において該第3ブロックを有効とすることを特徴とする記憶データ処理装置。
(付記6) 付記1乃至付記5のいずれかに記載の記憶データ処理装置において、
前記演算部は、外部装置からのデータ読み出し指示またはデータ書き込み指示による処理を行っていないときに、前記管理情報記憶部に記憶された管理情報において無効である第3ブロックに対応する第2ブロックについて前記演算を行うことを特徴とする記憶データ処理装置。
(付記7) 付記1乃至付記6のいずれかに記載の記憶データ処理装置において、
前記管理情報記憶部は、不揮発性メモリであることを特徴とする記憶データ処理装置。
(付記8) 付記1乃至付記6のいずれかに記載の記憶データ処理装置において、
前記管理情報記憶部は、外部装置からライトキャッシュデータを前記記憶媒体上に書き込む指示、またはヘッドを退避させる指示を受領した場合、前記管理情報を前記記憶媒体に書き込むことを特徴とする記憶データ処理装置。
(付記9) 付記1乃至付記8のいずれかに記載の記憶データ処理装置において、
前記管理情報は、前記第2ブロック毎に、該第2ブロックに含まれる複数の第1ブロックの指定を含むことを特徴とする記憶データ処理装置。
(付記10) 付記1乃至付記9のいずれかに記載の記憶データ処理装置において、
前記管理情報は、前記第2ブロック毎に、該第2ブロックに含まれる複数の第1ブロックの指定を含み、
前記書き込み部は、前記管理情報に基づいて前記第2ブロックを前記記憶媒体に配置することを特徴とする記憶データ処理装置。
(付記11) 付記10に記載の記憶データ処理装置において、
前記管理情報記憶部は、外部装置から各々の第2ブロックへのアクセス頻度に基づいて第2ブロックに含まれる複数の第1ブロックの数を決定し、前記管理情報に含めることを特徴とする記憶データ処理装置。
(付記12) 付記1乃至付記11のいずれかに記載の記憶データ処理装置において、
前記演算部による演算は、順次演算を行う順序を変えても演算結果が変わらない演算であることを特徴とする記憶データ処理装置。
(付記13) 付記12に記載の記憶データ処理装置において、
前記演算部による演算は、排他的論理和であることを特徴とする記憶データ処理装置。
(付記14) 付記1乃至付記13のいずれかに記載の記憶データ処理装置において、
前記第1ブロックは、少なくとも1つのセクタであり、前記第3ブロックは、前記第1ブロック長を持ち、前記演算データは、前記第1ブロック長を持つことを特徴とする記憶データ処理装置。
(付記15) 記憶装置における記憶データ処理をコンピュータに実行させる記憶データ処理プログラムにおいて、
所定のデータ長の第1ブロックを単位としてデータが配置され、且つ複数の前記第1ブロックで構成される第2ブロックを単位として前記第1ブロックが配置され、且つ前記第2ブロックに対応して前記第1ブロック長を持つ第3ブロックが配置される記憶媒体について、前記第2ブロック毎に、該第2ブロックに対応する第3ブロックが有効か無効かの情報を含む管理情報を記憶する管理情報記憶ステップと、
前記管理情報記憶ステップにより記憶された管理情報において、更新対象として指定された第2ブロックに対応する第3ブロックが無効である場合、前記更新対象中の全ての第1ブロックのデータについてビット位置毎の演算を行い、該演算の結果を演算データとして出力する演算ステップと、
前記演算ステップにより出力された演算データを、前記更新対象に対応付けられた第3ブロックへ書き込み、前記管理情報記憶ステップにより記憶された管理情報において該第3ブロックを有効とする書き込みステップと
をコンピュータに実行させる記憶データ処理プログラム。
(付記16) 所定のデータ長の第1ブロックを単位としてデータが配置され、且つ複数の前記第1ブロックで構成される第2ブロックを単位として前記第1ブロックが配置され、且つ前記第2ブロックに対応して前記第1ブロック長を持つ第3ブロックが配置される記憶媒体に対して少なくとも書き込み処理を行う記憶装置において、
前記第2ブロック毎に、該第2ブロックに対応する第3ブロックが有効か無効かの情報を含む管理情報を記憶する管理情報記憶部と、
前記管理情報記憶部に記憶された管理情報において、更新対象として指定された第2ブロックに対応する第3ブロックが無効である場合、前記更新対象中の全ての第1ブロックのデータについてビット位置毎の演算を行い、該演算の結果を演算データとして出力する演算部と、
前記演算部により出力された演算データを、前記更新対象に対応付けられた第3ブロックへ書き込み、前記管理情報記憶部に記憶された管理情報において該第3ブロックを有効とする書き込み部と
を備える記憶装置。
(付記17) 付記16に記載の記憶装置において、
前記演算部は、前記演算データを初期化し、前記更新対象中の各々の第1ブロックのデータを順次、前記演算の入力データとし、該入力データと前記演算データについてビット位置毎の演算を行い、該演算の結果を新たな演算データとして記憶し、該演算と該記憶を全ての前記入力データについて繰り返し、前記演算データを出力することを特徴とする記憶装置。
(付記18) 付記16または付記17に記載の記憶装置において、
更に、読み出し対象として指定された第1ブロックからデータを読み出し、該データの読み出しに失敗した場合、前記読み出しに失敗した第1ブロックをエラーブロックとし、前記管理情報記憶部に記憶された管理情報において前記読み出し対象を含む第2ブロックに対応する第3ブロックが有効である場合、該第2ブロック中の該エラーブロック以外の全ての第1ブロックのデータである正常データを読み出し、該第2ブロックに対応する第3ブロックのデータである冗長データを読み出す読み出し部を備え、
前記演算部は更に、前記正常データと前記冗長データについてビット位置毎の演算を行い、該演算の結果を前記エラーブロックのデータとして出力することを特徴とする記憶装置。
(付記19) 付記18に記載の記憶装置において、
前記演算部は、前記演算データを初期化し、各々の前記正常データと前記冗長データを順次、前記演算の入力データとし、該入力データと前記演算データについてビット位置毎の演算を行い、該演算の結果を新たな演算データとして記憶し、該演算と該記憶を全ての前記入力データについて繰り返し、前記演算データを出力することを特徴とする記憶装置。
(付記20) 付記16乃至付記19のいずれかに記載の記憶装置において、
前記書き込み部は、外部装置からのデータ書き込み指示を受けた場合、前記データ書き込み命令によるデータ書き込み対象を含む第2ブロックに対応する第3ブロックについて、前記管理情報記憶部に記憶された管理情報において該第3ブロックを有効とすることを特徴とする記憶装置。
2 ホストIF制御部、3 データバッファ制御部、4 データバッファ、5 フォーマット制御部、6 リードチャネル、7 ヘッドIC、8 MPU、9 メモリ、10 不揮発性メモリ、11 サーボ制御部、12 VCM、13 SPM、14 ヘッド、15 ディスク媒体、16 コモンバス、21 冗長演算部、31 演算結果メモリ、32 XOR演算部。
Claims (6)
- 所定のデータ長の第1ブロックを単位としてデータが配置され、且つ複数の前記第1ブロックで構成される第2ブロックを単位として前記第1ブロックが配置され、且つ前記第2ブロックに対応して前記第1ブロック長を持つ第3ブロックが配置される記憶媒体に対して少なくとも書き込み処理を行う記憶装置に用いられる記憶データ処理装置において、
前記第2ブロック毎に、該第2ブロックに対応する第3ブロックが有効か無効かの情報を含む管理情報を記憶する管理情報記憶部と、
前記管理情報記憶部に記憶された管理情報において、更新対象として指定された第2ブロックに対応する第3ブロックが無効である場合、前記更新対象中の全ての第1ブロックのデータについてビット位置毎の演算を行い、該演算の結果を演算データとして出力する演算部と、
前記演算部により出力された演算データを、前記更新対象に対応付けられた第3ブロックへ書き込み、前記管理情報記憶部に記憶された管理情報において該第3ブロックを有効とする書き込み部と
を備える記憶データ処理装置。 - 請求項1に記載の記憶データ処理装置において、
前記演算部は、前記演算データを初期化し、前記更新対象中の各々の第1ブロックのデータを順次、前記演算の入力データとし、該入力データと前記演算データについてビット位置毎の演算を行い、該演算の結果を新たな演算データとして記憶し、該演算と該記憶を全ての前記入力データについて繰り返し、前記演算データを出力することを特徴とする記憶データ処理装置。 - 請求項1または請求項2に記載の記憶データ処理装置において、
更に、読み出し対象として指定された第1ブロックからデータを読み出し、該データの読み出しに失敗した場合、前記読み出しに失敗した第1ブロックをエラーブロックとし、前記管理情報記憶部に記憶された管理情報において前記読み出し対象を含む第2ブロックに対応する第3ブロックが有効である場合、該第2ブロック中の該エラーブロック以外の全ての第1ブロックのデータである正常データを読み出し、該第2ブロックに対応する第3ブロックのデータである冗長データを読み出す読み出し部を備え、
前記演算部は更に、前記正常データと前記冗長データについてビット位置毎の演算を行い、該演算の結果を前記エラーブロックのデータとして出力することを特徴とする記憶データ処理装置。 - 請求項3に記載の記憶データ処理装置において、
前記演算部は、前記演算データを初期化し、各々の前記正常データと前記冗長データを順次、前記演算の入力データとし、該入力データと前記演算データについてビット位置毎の演算を行い、該演算の結果を新たな演算データとして記憶し、該演算と該記憶を全ての前記入力データについて繰り返し、前記演算データを出力することを特徴とする記憶データ処理装置。 - 記憶装置における記憶データ処理をコンピュータに実行させる記憶データ処理プログラムにおいて、
所定のデータ長の第1ブロックを単位としてデータが配置され、且つ複数の前記第1ブロックで構成される第2ブロックを単位として前記第1ブロックが配置され、且つ前記第2ブロックに対応して前記第1ブロック長を持つ第3ブロックが配置される記憶媒体について、前記第2ブロック毎に、該第2ブロックに対応する第3ブロックが有効か無効かの情報を含む管理情報を記憶する管理情報記憶ステップと、
前記管理情報記憶ステップにより記憶された管理情報において、更新対象として指定された第2ブロックに対応する第3ブロックが無効である場合、前記更新対象中の全ての第1ブロックのデータについてビット位置毎の演算を行い、該演算の結果を演算データとして出力する演算ステップと、
前記演算ステップにより出力された演算データを、前記更新対象に対応付けられた第3ブロックへ書き込み、前記管理情報記憶ステップにより記憶された管理情報において該第3ブロックを有効とする書き込みステップと
をコンピュータに実行させる記憶データ処理プログラム。 - 所定のデータ長の第1ブロックを単位としてデータが配置され、且つ複数の前記第1ブロックで構成される第2ブロックを単位として前記第1ブロックが配置され、且つ前記第2ブロックに対応して前記第1ブロック長を持つ第3ブロックが配置される記憶媒体に対して少なくとも書き込み処理を行う記憶装置において、
前記第2ブロック毎に、該第2ブロックに対応する第3ブロックが有効か無効かの情報を含む管理情報を記憶する管理情報記憶部と、
前記管理情報記憶部に記憶された管理情報において、更新対象として指定された第2ブロックに対応する第3ブロックが無効である場合、前記更新対象中の全ての第1ブロックのデータについてビット位置毎の演算を行い、該演算の結果を演算データとして出力する演算部と、
前記演算部により出力された演算データを、前記更新対象に対応付けられた第3ブロックへ書き込み、前記管理情報記憶部に記憶された管理情報において該第3ブロックを有効とする書き込み部と
を備える記憶装置。
Priority Applications (2)
| Application Number | Priority Date | Filing Date | Title |
|---|---|---|---|
| JP2006256752A JP2008077458A (ja) | 2006-09-22 | 2006-09-22 | 記憶データ処理装置、記憶装置、記憶データ処理プログラム |
| US11/650,724 US7627725B2 (en) | 2006-09-22 | 2007-01-08 | Stored data processing apparatus, storage apparatus, and stored data processing program |
Applications Claiming Priority (1)
| Application Number | Priority Date | Filing Date | Title |
|---|---|---|---|
| JP2006256752A JP2008077458A (ja) | 2006-09-22 | 2006-09-22 | 記憶データ処理装置、記憶装置、記憶データ処理プログラム |
Publications (1)
| Publication Number | Publication Date |
|---|---|
| JP2008077458A true JP2008077458A (ja) | 2008-04-03 |
Family
ID=39226396
Family Applications (1)
| Application Number | Title | Priority Date | Filing Date |
|---|---|---|---|
| JP2006256752A Pending JP2008077458A (ja) | 2006-09-22 | 2006-09-22 | 記憶データ処理装置、記憶装置、記憶データ処理プログラム |
Country Status (2)
| Country | Link |
|---|---|
| US (1) | US7627725B2 (ja) |
| JP (1) | JP2008077458A (ja) |
Cited By (2)
| Publication number | Priority date | Publication date | Assignee | Title |
|---|---|---|---|---|
| JP2010146625A (ja) * | 2008-12-17 | 2010-07-01 | Toshiba Storage Device Corp | 記憶装置および記憶装置制御方法 |
| JP2010267333A (ja) * | 2009-05-15 | 2010-11-25 | Nippon Hoso Kyokai <Nhk> | パリティ機能付きハードディスク装置 |
Families Citing this family (6)
| Publication number | Priority date | Publication date | Assignee | Title |
|---|---|---|---|---|
| GB2446183B (en) * | 2007-01-31 | 2011-07-20 | Hewlett Packard Development Co | Method and apparatus for controlling motion of storage media |
| JP5381519B2 (ja) * | 2009-09-01 | 2014-01-08 | 富士通株式会社 | ディスクへの書き込み位置の誤算出を検出するストレージ制御装置、ストレージシステム、及びアクセス方法。 |
| CN104765658B (zh) * | 2015-04-30 | 2017-10-13 | 四川效率源信息安全技术股份有限公司 | 西数硬盘物理问题导致参数识别错误的数据恢复方法 |
| JP6845021B2 (ja) * | 2017-01-12 | 2021-03-17 | 株式会社東芝 | 電子装置、icカードおよび情報処理システム |
| JP2023142223A (ja) | 2022-03-24 | 2023-10-05 | 株式会社東芝 | 磁気ディスク装置 |
| JP2024137183A (ja) | 2023-03-24 | 2024-10-07 | 株式会社東芝 | 磁気ディスク装置及びパリティ管理方法 |
Citations (7)
| Publication number | Priority date | Publication date | Assignee | Title |
|---|---|---|---|---|
| JPH0535416A (ja) * | 1991-07-26 | 1993-02-12 | Nec Corp | フアイル制御装置 |
| JPH07141123A (ja) * | 1993-09-27 | 1995-06-02 | Hitachi Ltd | アレイ型ディスクシステムおよびアレイ型ディスクシステムの制御方法 |
| JPH08124318A (ja) * | 1994-10-24 | 1996-05-17 | Sony Corp | データ記録方法及びその装置、データ再生方法及びその装置、データ記録再生方法並びに記録媒体 |
| JPH09330180A (ja) * | 1996-06-10 | 1997-12-22 | Hitachi Ltd | コンピュータシステムのディスクアレイ装置 |
| JP2000207134A (ja) * | 1999-01-08 | 2000-07-28 | Nec Corp | ディスクアレイ装置及び制御方法 |
| JP2002312130A (ja) * | 2001-03-14 | 2002-10-25 | Hewlett Packard Co <Hp> | 改良されたストライプベースの処理方法 |
| JP2003167689A (ja) * | 2001-11-30 | 2003-06-13 | Toshiba Corp | ディスクアレイ装置及び同装置におけるパリティ処理方法 |
Family Cites Families (5)
| Publication number | Priority date | Publication date | Assignee | Title |
|---|---|---|---|---|
| JPH06332623A (ja) | 1993-05-24 | 1994-12-02 | Mitsubishi Electric Corp | アレイ型記録装置及び記録装置 |
| JPH1186465A (ja) | 1997-09-01 | 1999-03-30 | Victor Co Of Japan Ltd | 信号処理装置 |
| JP3272308B2 (ja) | 1998-09-25 | 2002-04-08 | インターナショナル・ビジネス・マシーンズ・コーポレーション | 誤り訂正システム、誤り訂正方法および誤り訂正機能を有するデータ記憶システム |
| JP2003346432A (ja) | 2002-05-22 | 2003-12-05 | Internatl Business Mach Corp <Ibm> | データ記憶装置およびデータ処理方法 |
| JP2006277395A (ja) * | 2005-03-29 | 2006-10-12 | Matsushita Electric Ind Co Ltd | 情報処理装置及び情報処理方法 |
-
2006
- 2006-09-22 JP JP2006256752A patent/JP2008077458A/ja active Pending
-
2007
- 2007-01-08 US US11/650,724 patent/US7627725B2/en not_active Expired - Fee Related
Patent Citations (7)
| Publication number | Priority date | Publication date | Assignee | Title |
|---|---|---|---|---|
| JPH0535416A (ja) * | 1991-07-26 | 1993-02-12 | Nec Corp | フアイル制御装置 |
| JPH07141123A (ja) * | 1993-09-27 | 1995-06-02 | Hitachi Ltd | アレイ型ディスクシステムおよびアレイ型ディスクシステムの制御方法 |
| JPH08124318A (ja) * | 1994-10-24 | 1996-05-17 | Sony Corp | データ記録方法及びその装置、データ再生方法及びその装置、データ記録再生方法並びに記録媒体 |
| JPH09330180A (ja) * | 1996-06-10 | 1997-12-22 | Hitachi Ltd | コンピュータシステムのディスクアレイ装置 |
| JP2000207134A (ja) * | 1999-01-08 | 2000-07-28 | Nec Corp | ディスクアレイ装置及び制御方法 |
| JP2002312130A (ja) * | 2001-03-14 | 2002-10-25 | Hewlett Packard Co <Hp> | 改良されたストライプベースの処理方法 |
| JP2003167689A (ja) * | 2001-11-30 | 2003-06-13 | Toshiba Corp | ディスクアレイ装置及び同装置におけるパリティ処理方法 |
Cited By (2)
| Publication number | Priority date | Publication date | Assignee | Title |
|---|---|---|---|---|
| JP2010146625A (ja) * | 2008-12-17 | 2010-07-01 | Toshiba Storage Device Corp | 記憶装置および記憶装置制御方法 |
| JP2010267333A (ja) * | 2009-05-15 | 2010-11-25 | Nippon Hoso Kyokai <Nhk> | パリティ機能付きハードディスク装置 |
Also Published As
| Publication number | Publication date |
|---|---|
| US20080077753A1 (en) | 2008-03-27 |
| US7627725B2 (en) | 2009-12-01 |
Similar Documents
| Publication | Publication Date | Title |
|---|---|---|
| US7702954B2 (en) | Data storage apparatus having error recovery capability | |
| JP4897524B2 (ja) | ストレージシステム及びストレージシステムのライト性能低下防止方法 | |
| US6687850B1 (en) | Disk drive for storing sector-reconstruction sectors and for storing a sector-reconstruction status in sectors distributed around a disk | |
| JP4886877B2 (ja) | 記録媒体制御装置、及びその方法 | |
| TW201719416A (zh) | 資料儲存裝置及其資料維護方法 | |
| US7627725B2 (en) | Stored data processing apparatus, storage apparatus, and stored data processing program | |
| JP2008204041A (ja) | ストレージ装置及びデータ配置制御方法 | |
| WO2009118917A1 (ja) | フラッシュメモリを用いた記憶装置 | |
| JP4922433B2 (ja) | 磁気ディスク装置及びデータブロックの書き換え方法 | |
| CN114691433A (zh) | 一种固态硬盘的控制方法和装置 | |
| JPWO2009004674A1 (ja) | 記憶装置、ディスク装置、書込み判定方法、制御装置 | |
| CN102473141B (zh) | 非易失性存储装置以及存储控制器 | |
| US20080091971A1 (en) | Stored data processing apparatus, storage apparatus, and stored data processing program | |
| US20110047409A1 (en) | Storage device supporting auto backup function | |
| US20100058145A1 (en) | Storage device and method of controlling storage device | |
| US7487388B2 (en) | Method of recovering reallocation sectors in data storage system and disc drive using the same | |
| US20100064198A1 (en) | Stored data processing apparatus, storage apparatus, medium storing stored data processing program, and stored data processing method | |
| JP4460596B2 (ja) | ディスク管理方法、ディスク管理装置およびストレージシステム | |
| US20110205654A1 (en) | Control apparatus, nonvolatile storage apparatus and data initialization method | |
| US20200286577A1 (en) | Storage area retirement in a storage device | |
| CN110310674B (zh) | 盘装置以及数据管理方法 | |
| JP4710274B2 (ja) | メモリ装置、メモリ装置の制御方法およびデータ処理システム | |
| JP7572520B1 (ja) | ストレージ装置、ストレージ制御方法、及びプログラム | |
| US20070174739A1 (en) | Disk device, method of writing data in disk device, and computer product | |
| KR20140101626A (ko) | 솔리드 스테이트 드라이브의 데이터 처리 방법 |
Legal Events
| Date | Code | Title | Description |
|---|---|---|---|
| A621 | Written request for application examination |
Free format text: JAPANESE INTERMEDIATE CODE: A621 Effective date: 20090605 |
|
| A711 | Notification of change in applicant |
Free format text: JAPANESE INTERMEDIATE CODE: A712 Effective date: 20091022 |
|
| A131 | Notification of reasons for refusal |
Free format text: JAPANESE INTERMEDIATE CODE: A131 Effective date: 20110628 |
|
| A02 | Decision of refusal |
Free format text: JAPANESE INTERMEDIATE CODE: A02 Effective date: 20111025 |