JP2007294606A - パネルのエッチング製作プロセスの方法及びその装置 - Google Patents
パネルのエッチング製作プロセスの方法及びその装置 Download PDFInfo
- Publication number
- JP2007294606A JP2007294606A JP2006119544A JP2006119544A JP2007294606A JP 2007294606 A JP2007294606 A JP 2007294606A JP 2006119544 A JP2006119544 A JP 2006119544A JP 2006119544 A JP2006119544 A JP 2006119544A JP 2007294606 A JP2007294606 A JP 2007294606A
- Authority
- JP
- Japan
- Prior art keywords
- panel
- etching
- tank
- spray
- manufacturing process
- Prior art date
- Legal status (The legal status is an assumption and is not a legal conclusion. Google has not performed a legal analysis and makes no representation as to the accuracy of the status listed.)
- Pending
Links
- 238000005530 etching Methods 0.000 title claims abstract description 134
- 238000000034 method Methods 0.000 title claims abstract description 45
- 238000004519 manufacturing process Methods 0.000 title claims abstract description 35
- 239000007921 spray Substances 0.000 claims abstract description 45
- 238000005507 spraying Methods 0.000 claims abstract description 9
- 239000007788 liquid Substances 0.000 claims abstract description 8
- 238000006243 chemical reaction Methods 0.000 claims description 7
- 239000000463 material Substances 0.000 claims description 6
- 238000001914 filtration Methods 0.000 claims description 4
- 239000002904 solvent Substances 0.000 claims description 4
- 230000001737 promoting effect Effects 0.000 claims description 2
- 238000000746 purification Methods 0.000 claims description 2
- 239000000243 solution Substances 0.000 description 32
- 239000011521 glass Substances 0.000 description 8
- KRHYYFGTRYWZRS-UHFFFAOYSA-N Fluorane Chemical compound F KRHYYFGTRYWZRS-UHFFFAOYSA-N 0.000 description 6
- 230000007246 mechanism Effects 0.000 description 5
- 239000000758 substrate Substances 0.000 description 4
- 238000002347 injection Methods 0.000 description 3
- 239000007924 injection Substances 0.000 description 3
- 239000010409 thin film Substances 0.000 description 3
- 239000000428 dust Substances 0.000 description 2
- 230000003028 elevating effect Effects 0.000 description 2
- 239000004973 liquid crystal related substance Substances 0.000 description 2
- QPJSUIGXIBEQAC-UHFFFAOYSA-N n-(2,4-dichloro-5-propan-2-yloxyphenyl)acetamide Chemical compound CC(C)OC1=CC(NC(C)=O)=C(Cl)C=C1Cl QPJSUIGXIBEQAC-UHFFFAOYSA-N 0.000 description 2
- 238000000889 atomisation Methods 0.000 description 1
- 238000005516 engineering process Methods 0.000 description 1
- 239000003595 mist Substances 0.000 description 1
- 230000003746 surface roughness Effects 0.000 description 1
- 239000002699 waste material Substances 0.000 description 1
- 238000001039 wet etching Methods 0.000 description 1
Images
Landscapes
- ing And Chemical Polishing (AREA)
- Weting (AREA)
Abstract
【課題】パネルのエッチング製作プロセスの方法及びその装置の提供。
【解決手段】パネルのエッチング製作プロセスの方法及びその装置であり、それはパネルが垂直直立を呈する状態で、密封された作業タンク中に設置される。次にそのパネル上に、らせん状を呈してスプレーするエッチング液スプレーを使用してエッチングを行う。エッチング液が霧化することで、らせん状のスプレー気流となることにより、エッチング液をエッチングしたい表面全体へ均一にスプレー散布することができる。そのためエッチングの均一化を促進し、且つ連続的にエッチング表面へ新鮮なエッチング液がスプレーされるのを利用し、エッチング速度を増進するものである。
【選択図】図1
【解決手段】パネルのエッチング製作プロセスの方法及びその装置であり、それはパネルが垂直直立を呈する状態で、密封された作業タンク中に設置される。次にそのパネル上に、らせん状を呈してスプレーするエッチング液スプレーを使用してエッチングを行う。エッチング液が霧化することで、らせん状のスプレー気流となることにより、エッチング液をエッチングしたい表面全体へ均一にスプレー散布することができる。そのためエッチングの均一化を促進し、且つ連続的にエッチング表面へ新鮮なエッチング液がスプレーされるのを利用し、エッチング速度を増進するものである。
【選択図】図1
Description
本発明はパネルのエッチング製作プロセスの方法及びその装置に関するもので、特にエッチング製作プロセス中、エッチングの均一程度を改善し、またエッチングの効率を増進する方法及び装置を指す。
湿式エッチング技術は薄膜と特定の溶液間で進行する化学反応を利用して、基底上の薄膜を除去することで、基底上に必要な図案を形成したり、その基底の薄型化プロセスの完成を簡便にするものである。この技術的長所は製作プロセスが単純、設備が簡単、コストが低廉で加工効率が速いことであるが。知られているように、エッチングは化学反応を利用して薄膜の除去、或いは薄型化プロセスを行い、化学反応自身には方向性がない。そのため、この種の等方性エッチングの特徴は、局部位置でのエッチングを正確にコントロールすることが比較的難しいという結果をもたらす。このほか、この種のエッチング方式はエッチング液自身の粘度の影響を受け、表面全体を均一にエッチングするのが難しく、一部区域のエッチングが不完全となり、その他の区域はアンダーカッティング(undercutting)現象をもたらし、製品の良品率に極めて大きく影響する。そして製品パーツのサイズが小さくなるにつれ、加工精度がより高くなり、エッチング加工の均一程度もまたより重要となる。
この外、近年来、消費性電子製品が益々軽薄短小になる趨勢の下、この種の製品の基本パーツ-表示パネルも必ず軽薄の要件に適合することが要求される。一般の表示パネルの軽薄化は主にそのガラス基板に対して施工される薄型化プロセスで目的を達成する。周知の薄型化プロセスの技術中、最もよく採用されるのがエッチング方式で、これは主にエッチングの薄型化プロセスが、通常優れた加工効率を有し、且つ製作プロセス中、応力による薄いガラス板の破損が起こりにくいことを考慮しているからである。しかし、前記のように、エッチング加工過程の欠点も、多くの不良結果を派生させる。例えば、エッチングの不均一はガラス板本体の各部の厚みの不均一を招き(特にやや大きい面積のガラス基材に適用される時)、ガラス板本体の機械強度が激減し、損傷しやすくなり、そしてエッチングの不均一はまた表面にザラつき状態を起して、液晶表示部品の影像品質に影響を与える。
本発明は主に改良されたパネルのエッチング製作プロセスの方法及びその装置を提供することで、パネル上に必要な図案を形成するのに用いられ、及び/或いはパネルの薄型化プロセスに用いられる。それはパネルを垂直直立を呈する状態で、密封された作業タンク中に設置する。並びに、らせん状を呈してスプレーするエッチング液スプレーを提供してそのパネルにエッチングを行い、エッチング液が霧化し、らせん状のスプレー気流となることで、エッチング液をエッチングしたい表面全体に均一にスプレー散布することができる。そのためエッチングの均一化を促進し、且つ連続的にエッチング表面へ新鮮なエッチング液がスプレーされるのを利用し、エッチング速度を増進する。
本発明に基づき提供されるパネルのエッチング製作プロセスの方法は、そのエッチング製作プロセスのステップについては、最初にエッチング加工したいパネルを挟み装置上に取り付け固定する。当該挟み装置はそのパネルの板体を垂直直立を呈する状態で、密封された作業タンク中に設置する。そのパネルへらせん状を呈するエッチング液スプレーを使用してエッチングを行う。そしてエッチング加工完成後、その挟み装置をその作業タンクから出し、加工が完成したパネルを取り出す。
又、そのパネル表面に特定の図形を形成する目的がある場合、前記のエッチング製作プロセス前に、まずそのパネルに対しストリッピングプロセスを行い、その表面にエッチング図案を設定することができる。
又本発明に基づくパネルのエッチング製作プロセス装置は少なくとも、密閉可能な作業タンクと、エッチングしたいパネルを取り付けることができる挟み装置、及びエッチング液供給ユニットを包括する。その中で、その作業タンクはタンク本体及びタンク蓋で構成され、そのタンク蓋は自由に昇降移動でき、そのタンク本体に蓋が組み合わさって密閉タンクとなる。そしてその挟み装置は垂直直立状態で前記のタンク蓋の下方とピボットで接続され、それは一枚或いは二枚以上が互いに平行で、並んで設置されたパネルを挟んで固定することができる。又そのエッチング液供給装置は、エッチング液収容ユニットと若干のスプレーユニットを有する。その収容ユニットはエッチング液、例えばフッ化水素酸(HF)希釈溶液を提供することができ、それらスプレーユニットに供給し、またその作業タンクの底に残留するエッチング液を受け入れることができる。それらスプレーユニットはその作業タンク内に設置され、且つ各々がそれらパネルのエッチング面に面し、そのスプレーユニット上に設けられた複数の旋回ノズルで、エッチング液をらせん状にそのパネルへスプレーする。その挟み装置を利用して、エッチングしたいパネルを固定し、次にそのタンク蓋と共に下降移動し、その作業タンクを密封すると同時に、そのパネルをほぼ垂直直立を呈する状態で作業タンク中に設置する。さらにそれらスプレーユニットによりエッチング液をそのパネルにらせん状にスプレー噴出させてエッチングを行う。エッチング加工が完成すると、それらスプレーユニットはスプレー運転を停止し、またそのタンク蓋と共にその挟み装置を上昇移動させ、その作業タンクのタンク本体から出し、その挟み装置上に取り付けられたパネルを交換しやすくする。つまり、その装置はエッチング加工進行中、エッチング液の霧化によりらせん状のスプレー気流となったエッチング液をパネルのエッチングしたい表面全体へ均一にスプレー散布し、エッチング面各部のエッチング加プロセス度の均一化を確保する。それにより正確な図形、精密なサイズ、及び優れた表面粗さと平坦度を有するパネルを製作し、また連続的にエッチング表面へ新鮮なエッチング液をスプレーするのを利用して、エッチング残渣及び廃液を迅速にその表面から分離し、エッチング速度を増進することができる。
前記の挟み装置の固定ユニットは、一枚或いは一枚以上のパネルを垂直に挟んで固定することができる。さらに進めて、同一時間内に多数のパネルのエッチング製作プロセスを行う場合、その挟み装置はさらに複数組の互いに平行を呈し、並んで設置される固定ユニットを包括することができる。
この外、そのエッチング液供給ユニットは、オプションで循環フィルターを包括することもでき、それはその作業タンク中から回収したエッチング液のろ過浄化処理を行い、エッチング液中に混在するエッチング残渣とチリをこし取り浄化することができる。
請求項1の発明は、パネル上に必要な図案を形成するのに用いられ、及び/或いはパネルの薄型化プロセスに用いられる一種のパネルのエッチング製作プロセスの方法であり、それはエッチング溶剤とパネル間で進行する化学反応を利用し、パネル上から除去したい材料を取り除き、エッチング製作プロセスには以下のステップを包括し、
エッチング加工したいパネルを挟み装置上に取り付け固定し、
その挟み装置はそのパネルの板体を垂直直立を呈する状態で密封された作業タンク中に設置し、
そのパネルへらせん状を呈してスプレーするエッチング液スプレーを提供してエッチングを行い、及び、
エッチング加工完成後、その挟み装置をその作業タンクから出し、加工が完成したパネルを取り出すことを特徴とするパネルのエッチング製作プロセスの方法としている。
請求項2の発明は、パネル上に必要な図案を形成するのに用いられ、及び/或いはパネルの薄型化プロセスに用いられる一種のパネルのエッチング製作プロセス装置であり、それはエッチング溶剤とパネル間で進行する化学反応を利用して、パネル上の材料を除去し、そのエッチング製作プロセス装置は少なくとも下記のものを包括し、
タンク本体及びタンク蓋から構成される作業タンクであり、そのタンク蓋は自由に昇降移動することができ、そのタンク本体に蓋を組み合わせると密閉タンクとなり、
垂直直立状態で前記のタンク蓋の下方とピボットで接続される挟み装置であり、それは少なくとも一つの固定ユニットを有し、一枚或いは二枚以上の互いに平行で並んで設置されるパネルを挟んで固定する事ができ、及び
エッチング液収容ユニット及び若干のスプレーユニットを有するエッチング液供給装置であり、その収容ユニットはエッチング液をそのスプレーユニットへ提供し、またその作業タンクの底に残留するエッチング液を受け入れることができ、そして、それらスプレーユニットはその作業タンク内に設置され、且つ各々がそれらパネルのエッチング面に面し、そのスプレーユニット上には複数個の旋回ノズルが設けられ、エッチング液をそのパネルへらせん状にスプレー噴出し、その挟み装置を利用して、エッチングしたいパネルを固定し、そのタンク蓋と共に下降移動してその作業タンクを密封すると同時に、そのパネルをほぼ垂直直立を呈する状態で作業タンク中に設置し、さらにそれらスプレーユニットはそのパネルへエッチング液をらせん状にスプレー噴出してエッチングを行い、エッチング液の霧化によりらせん状のスプレー気流となり、エッチング液をエッチングしたい表面全体に均一にスプレー散布し、それにより、エッチングの均一程度を促進すると共に、エッチング加工の効率が高まることを特徴とするパネルのエッチング製作プロセス装置としている。
請求項3の発明は、当該挟み装置はさらに複数組の互いに平行を呈し、並んで設置された固定ユニットを包括することができることを特徴とする請求項2記載のパネルのエッチング製作プロセス装置としている。
請求項4の発明は、当該固定ユニットは長方形のフレームとし、そのフレームの一つの枠の縁上には少なくとも一組の固定チャックが設けられ、また別の対応する枠の縁上には少なくとも一組の可動チャックが設けられていることを特徴とする請求項2或いは請求項3記載のパネルのエッチング製作プロセス装置としている。
請求項5の発明は、前記の固定チャックと可動チャックの端部には全てV形凹溝が設けられていることを特徴とする請求項4記載のパネルのエッチング製作プロセス装置としている。
請求項6の発明は、当該エッチング液供給ユニットは、さらに循環フィルターを包括し、その作業タンク中から回収したエッチング液に対し、ろ過浄化処理を行うことができることを特徴とする請求項2記載のパネルのエッチング製作プロセス装置としている。
エッチング加工したいパネルを挟み装置上に取り付け固定し、
その挟み装置はそのパネルの板体を垂直直立を呈する状態で密封された作業タンク中に設置し、
そのパネルへらせん状を呈してスプレーするエッチング液スプレーを提供してエッチングを行い、及び、
エッチング加工完成後、その挟み装置をその作業タンクから出し、加工が完成したパネルを取り出すことを特徴とするパネルのエッチング製作プロセスの方法としている。
請求項2の発明は、パネル上に必要な図案を形成するのに用いられ、及び/或いはパネルの薄型化プロセスに用いられる一種のパネルのエッチング製作プロセス装置であり、それはエッチング溶剤とパネル間で進行する化学反応を利用して、パネル上の材料を除去し、そのエッチング製作プロセス装置は少なくとも下記のものを包括し、
タンク本体及びタンク蓋から構成される作業タンクであり、そのタンク蓋は自由に昇降移動することができ、そのタンク本体に蓋を組み合わせると密閉タンクとなり、
垂直直立状態で前記のタンク蓋の下方とピボットで接続される挟み装置であり、それは少なくとも一つの固定ユニットを有し、一枚或いは二枚以上の互いに平行で並んで設置されるパネルを挟んで固定する事ができ、及び
エッチング液収容ユニット及び若干のスプレーユニットを有するエッチング液供給装置であり、その収容ユニットはエッチング液をそのスプレーユニットへ提供し、またその作業タンクの底に残留するエッチング液を受け入れることができ、そして、それらスプレーユニットはその作業タンク内に設置され、且つ各々がそれらパネルのエッチング面に面し、そのスプレーユニット上には複数個の旋回ノズルが設けられ、エッチング液をそのパネルへらせん状にスプレー噴出し、その挟み装置を利用して、エッチングしたいパネルを固定し、そのタンク蓋と共に下降移動してその作業タンクを密封すると同時に、そのパネルをほぼ垂直直立を呈する状態で作業タンク中に設置し、さらにそれらスプレーユニットはそのパネルへエッチング液をらせん状にスプレー噴出してエッチングを行い、エッチング液の霧化によりらせん状のスプレー気流となり、エッチング液をエッチングしたい表面全体に均一にスプレー散布し、それにより、エッチングの均一程度を促進すると共に、エッチング加工の効率が高まることを特徴とするパネルのエッチング製作プロセス装置としている。
請求項3の発明は、当該挟み装置はさらに複数組の互いに平行を呈し、並んで設置された固定ユニットを包括することができることを特徴とする請求項2記載のパネルのエッチング製作プロセス装置としている。
請求項4の発明は、当該固定ユニットは長方形のフレームとし、そのフレームの一つの枠の縁上には少なくとも一組の固定チャックが設けられ、また別の対応する枠の縁上には少なくとも一組の可動チャックが設けられていることを特徴とする請求項2或いは請求項3記載のパネルのエッチング製作プロセス装置としている。
請求項5の発明は、前記の固定チャックと可動チャックの端部には全てV形凹溝が設けられていることを特徴とする請求項4記載のパネルのエッチング製作プロセス装置としている。
請求項6の発明は、当該エッチング液供給ユニットは、さらに循環フィルターを包括し、その作業タンク中から回収したエッチング液に対し、ろ過浄化処理を行うことができることを特徴とする請求項2記載のパネルのエッチング製作プロセス装置としている。
本発明は主に改良されたパネルのエッチング製作プロセスの方法及びその装置を提供することで、パネル上に必要な図案を形成するのに用いられ、及び/或いはパネルの薄型化プロセスに用いられる。それはパネルを垂直直立を呈する状態で、密封された作業タンク中に設置する。並びに、らせん状を呈してスプレーするエッチング液スプレーを提供してそのパネルにエッチングを行い、エッチング液が霧化し、らせん状のスプレー気流となることで、エッチング液をエッチングしたい表面全体に均一にスプレー散布することができる。そのためエッチングの均一化を促進し、且つ連続的にエッチング表面へ新鮮なエッチング液がスプレーされるのを利用し、エッチング速度を増進する。
以下に列挙する好ましい実施例は、液晶表示パネルのガラス基板に対する薄型化プロセスである。後に添付する各図に示すように、機械上に一組の作業タンク1が固定され、その作業タンクはタンク本体12及びタンク蓋13を包括する。そのタンク蓋上方に一組の昇降機構14がピボットで接続され、その昇降機構により、そのタンク蓋13はタンク本体12上方を昇降移動することができる。並びにそのタンク蓋13がそのタンク本体12に組み合わさって密閉タンクとなる。
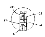
挟み装置2はエッチング加工したいパネル5を挟んで固定するのに用い、前記のタンク蓋13の下方にピボットで設置されているため、そのタンク蓋13がタンク本体12に合わさると、その挟み装置2とその挟んだパネル5を、ほぼ垂直直立を呈する状態でその密閉作業タンク1中に設置することができる。そして図3、図4に示すように、その挟み装置2の固定ユニット2aはほぼ長方形を呈するフレームで、その下方枠の縁21に若干個の固定チャック22を設け、そして上方枠の縁23には若干個の可動チャック24が設けられている。且つそれら可動チャックは長さが調整できるシャフト241、例えばスクリュー或いはスプリングレバーを設置し、その可動チャック24の上下ホールド位置の調整に用いる。これによりパネル5をその長方形フレームの固定チャックと可動チャックの間に挟んで固定することができる。このほか、前記の固定チャック22と可動チャック24の端部には全てV形凹溝25を設け、その凹溝をそのパネル5の縁にスリーブ接続することで、挟まれたパネルを自動的に正位置に導くことができると同時に、挟んだ後の堅固性が増加する。
又添付図中に表示するように、本エッチング装置が設置する一組のエッチング液供給装置3は、エッチング液収容ユニット31及び少なくとも一対のスプレーユニット32を包括する。その中で、そのエッチング液収容ユニット31はエッチング製作プロセス中に必要なエッチング溶液の供給及び保存に用い、当該エッチング溶液、例えば本実施例中のガラス材質基板に対するエッチング製作プロセスを例にとると、フッ化水素酸(HF)を採用し、濃度を5%以上とする。また、そのエッチング液収容ユニット31は排出導管314を設置し、エッチング液をそれらのスプレーユニット32へ提供し、且つそれはまた、前記の作業タンク1底部と連通する注入導管312を有し、エッチング製作プロセス中に作業タンク底部に残留するエッチング液を受け入れることができる。その注入導管312はまた、ろ過浄化器313と連結させて、その作業タンク底から流入するエッチング液をろ過し浄化処理し、エッチング液中に混在するエッチング残渣とチリをこし取ることが望ましい。そしてそれらスプレーユニット32は、その作業タンク1内に設置され、また各々がそれらパネル5のエッチングしたい表面に面するようにする。又、それらスプレーユニット32上には全て、複数個の自動旋回する霧化ノズル321を設け、エッチング液をそのパネル上へらせん状のミストにして噴出しエッチングを行うことができる。
前記パーツで構成されるエッチング装置を運転する時、その挟み装置2は、まずエッチングしたいパネル5をその固定ユニット2a上に挟んで固定する。次にその昇降機構14が、そのタンク蓋13をその挟み装置2と共に下降移動することで、そのタンク蓋13でそのタンク本体12を密封し、同時に、その挟み装置2及びその挟んだパネル5をほぼ垂直直立を呈する状態で、その密閉作業タンク1中に設置する。さらにそれらスプレーユニット32がエッチング液をそのパネル上へスプレーしてエッチングを行い、エッチング液を霧化してらせん状のスプレー気流とすることで、エッチング液をエッチング面全体に均一にスプレー散布することができる。それによりエッチングの均一化を促進し、並びに連続してエッチング表面へ新鮮なエッチング液をスプレーすることを利用して、エッチング速度を増進する。続いてエッチング加工完成後、それらスプレーユニット32はスプレー運転を停止し、その昇降機構14はそのタンク蓋13をその挟み装置2と共に上昇移動させて、その挟み装置2をその作業タンクのタンク本体12から出し、その挟み装置上でのパネルの取り付け交換をしやすくする。
1 作業タンク
2 挟み装置
2a 固定ユニット
3 エッチング液供給装置
5 パネル
12 タンク本体
13 タンク蓋
14 昇降機構
21 下方枠の縁
22 固定チャック
23 上方枠の縁
24 可動チャック
25 V形凹溝
31 エッチング液収容ユニット
32 スプレーユニット
241 シャフト
312 注入導管
313 ろ過浄化器
314 排出導管
321 霧化ノズル
2 挟み装置
2a 固定ユニット
3 エッチング液供給装置
5 パネル
12 タンク本体
13 タンク蓋
14 昇降機構
21 下方枠の縁
22 固定チャック
23 上方枠の縁
24 可動チャック
25 V形凹溝
31 エッチング液収容ユニット
32 スプレーユニット
241 シャフト
312 注入導管
313 ろ過浄化器
314 排出導管
321 霧化ノズル
Claims (6)
- パネル上に必要な図案を形成するのに用いられ、及び/或いはパネルの薄型化プロセスに用いられる一種のパネルのエッチング製作プロセスの方法であり、それはエッチング溶剤とパネル間で進行する化学反応を利用し、パネル上から除去したい材料を取り除き、エッチング製作プロセスには以下のステップを包括し、
エッチング加工したいパネルを挟み装置上に取り付け固定し、
その挟み装置はそのパネルの板体を垂直直立を呈する状態で密封された作業タンク中に設置し、
そのパネルへらせん状を呈してスプレーするエッチング液スプレーを提供してエッチングを行い、及び、
エッチング加工完成後、その挟み装置をその作業タンクから出し、加工が完成したパネルを取り出すことを特徴とするパネルのエッチング製作プロセスの方法。 - パネル上に必要な図案を形成するのに用いられ、及び/或いはパネルの薄型化プロセスに用いられる一種のパネルのエッチング製作プロセス装置であり、それはエッチング溶剤とパネル間で進行する化学反応を利用して、パネル上の材料を除去し、そのエッチング製作プロセス装置は少なくとも下記のものを包括し、
タンク本体及びタンク蓋から構成される作業タンクであり、そのタンク蓋は自由に昇降移動することができ、そのタンク本体に蓋を組み合わせると密閉タンクとなり、
垂直直立状態で前記のタンク蓋の下方とピボットで接続される挟み装置であり、それは少なくとも一つの固定ユニットを有し、一枚或いは二枚以上の互いに平行で並んで設置されるパネルを挟んで固定する事ができ、及び
エッチング液収容ユニット及び若干のスプレーユニットを有するエッチング液供給装置であり、その収容ユニットはエッチング液をそのスプレーユニットへ提供し、またその作業タンクの底に残留するエッチング液を受け入れることができ、そして、それらスプレーユニットはその作業タンク内に設置され、且つ各々がそれらパネルのエッチング面に面し、そのスプレーユニット上には複数個の旋回ノズルが設けられ、エッチング液をそのパネルへらせん状にスプレー噴出し、その挟み装置を利用して、エッチングしたいパネルを固定し、そのタンク蓋と共に下降移動してその作業タンクを密封すると同時に、そのパネルをほぼ垂直直立を呈する状態で作業タンク中に設置し、さらにそれらスプレーユニットはそのパネルへエッチング液をらせん状にスプレー噴出してエッチングを行い、エッチング液の霧化によりらせん状のスプレー気流となり、エッチング液をエッチングしたい表面全体に均一にスプレー散布し、それにより、エッチングの均一程度を促進すると共に、エッチング加工の効率が高まることを特徴とするパネルのエッチング製作プロセス装置。 - 当該挟み装置はさらに複数組の互いに平行を呈し、並んで設置された固定ユニットを包括することができることを特徴とする請求項2記載のパネルのエッチング製作プロセス装置。
- 当該固定ユニットは長方形のフレームとし、そのフレームの一つの枠の縁上には少なくとも一組の固定チャックが設けられ、また別の対応する枠の縁上には少なくとも一組の可動チャックが設けられていることを特徴とする請求項2或いは請求項3記載のパネルのエッチング製作プロセス装置。
- 前記の固定チャックと可動チャックの端部には全てV形凹溝が設けられていることを特徴とする請求項4記載のパネルのエッチング製作プロセス装置。
- 当該エッチング液供給ユニットは、さらに循環フィルターを包括し、その作業タンク中から回収したエッチング液に対し、ろ過浄化処理を行うことができることを特徴とする請求項2記載のパネルのエッチング製作プロセス装置。
Priority Applications (1)
| Application Number | Priority Date | Filing Date | Title |
|---|---|---|---|
| JP2006119544A JP2007294606A (ja) | 2006-04-24 | 2006-04-24 | パネルのエッチング製作プロセスの方法及びその装置 |
Applications Claiming Priority (1)
| Application Number | Priority Date | Filing Date | Title |
|---|---|---|---|
| JP2006119544A JP2007294606A (ja) | 2006-04-24 | 2006-04-24 | パネルのエッチング製作プロセスの方法及びその装置 |
Publications (1)
| Publication Number | Publication Date |
|---|---|
| JP2007294606A true JP2007294606A (ja) | 2007-11-08 |
Family
ID=38764942
Family Applications (1)
| Application Number | Title | Priority Date | Filing Date |
|---|---|---|---|
| JP2006119544A Pending JP2007294606A (ja) | 2006-04-24 | 2006-04-24 | パネルのエッチング製作プロセスの方法及びその装置 |
Country Status (1)
| Country | Link |
|---|---|
| JP (1) | JP2007294606A (ja) |
Cited By (11)
| Publication number | Priority date | Publication date | Assignee | Title |
|---|---|---|---|---|
| KR100946215B1 (ko) | 2009-08-17 | 2010-03-08 | 주식회사 지디 | 글라스 식각용 분사 노즐 시스템 |
| CN104779188A (zh) * | 2015-05-04 | 2015-07-15 | 武汉华星光电技术有限公司 | 一种蚀刻装置 |
| CN106992135A (zh) * | 2017-03-30 | 2017-07-28 | 深圳市芯思杰联邦国际科技发展有限公司 | 湿法腐蚀装置、湿法腐蚀方法和晶圆芯片 |
| CN109348622A (zh) * | 2018-10-08 | 2019-02-15 | 刘宾 | 一种基于led灯板可升降的蚀刻装置 |
| CN109371398A (zh) * | 2018-11-27 | 2019-02-22 | 胡旭燕 | 一种具有双面雕刻结构的可调节智能雕刻蚀刻设备 |
| CN112687590A (zh) * | 2021-01-08 | 2021-04-20 | 开化晶芯电子有限公司 | 一种半导体硅片加工用蚀刻装置 |
| CN114828431A (zh) * | 2022-06-17 | 2022-07-29 | 罗钟鹏 | 一种陶瓷基线路板的超厚铜线正凹蚀用蚀刻装置 |
| CN115023045A (zh) * | 2022-05-18 | 2022-09-06 | 江西固得宝电子有限公司 | 一种利于防止线路板蚀刻过度的双面线路板蚀刻装置 |
| CN116243665A (zh) * | 2023-01-12 | 2023-06-09 | 苏州瑞资特智能科技有限公司 | 一种用于utg玻璃减薄工艺的反应控制系统及方法 |
| CN118053795A (zh) * | 2024-04-16 | 2024-05-17 | 香港科技大学(广州) | 一种科研型湿法刻蚀全自动化系统及机台 |
| CN119943711A (zh) * | 2024-12-25 | 2025-05-06 | 启东新微智造科技有限公司 | 一种集成光电子器件制造的蚀刻机构 |
-
2006
- 2006-04-24 JP JP2006119544A patent/JP2007294606A/ja active Pending
Cited By (16)
| Publication number | Priority date | Publication date | Assignee | Title |
|---|---|---|---|---|
| KR100946215B1 (ko) | 2009-08-17 | 2010-03-08 | 주식회사 지디 | 글라스 식각용 분사 노즐 시스템 |
| CN104779188A (zh) * | 2015-05-04 | 2015-07-15 | 武汉华星光电技术有限公司 | 一种蚀刻装置 |
| CN106992135A (zh) * | 2017-03-30 | 2017-07-28 | 深圳市芯思杰联邦国际科技发展有限公司 | 湿法腐蚀装置、湿法腐蚀方法和晶圆芯片 |
| CN109348622A (zh) * | 2018-10-08 | 2019-02-15 | 刘宾 | 一种基于led灯板可升降的蚀刻装置 |
| CN109348622B (zh) * | 2018-10-08 | 2020-06-23 | 安徽迪思自动化设备有限公司 | 一种基于led灯板可升降的蚀刻装置 |
| CN109371398A (zh) * | 2018-11-27 | 2019-02-22 | 胡旭燕 | 一种具有双面雕刻结构的可调节智能雕刻蚀刻设备 |
| CN112687590A (zh) * | 2021-01-08 | 2021-04-20 | 开化晶芯电子有限公司 | 一种半导体硅片加工用蚀刻装置 |
| CN112687590B (zh) * | 2021-01-08 | 2024-12-03 | 开化晶芯电子有限公司 | 一种半导体硅片加工用蚀刻装置 |
| CN115023045A (zh) * | 2022-05-18 | 2022-09-06 | 江西固得宝电子有限公司 | 一种利于防止线路板蚀刻过度的双面线路板蚀刻装置 |
| CN115023045B (zh) * | 2022-05-18 | 2024-04-12 | 江西固得宝电子有限公司 | 一种利于防止线路板蚀刻过度的双面线路板蚀刻装置 |
| CN114828431B (zh) * | 2022-06-17 | 2023-09-08 | 深圳市威洋权科技有限公司 | 一种陶瓷基线路板的超厚铜线正凹蚀用蚀刻装置 |
| CN114828431A (zh) * | 2022-06-17 | 2022-07-29 | 罗钟鹏 | 一种陶瓷基线路板的超厚铜线正凹蚀用蚀刻装置 |
| CN116243665A (zh) * | 2023-01-12 | 2023-06-09 | 苏州瑞资特智能科技有限公司 | 一种用于utg玻璃减薄工艺的反应控制系统及方法 |
| CN118053795A (zh) * | 2024-04-16 | 2024-05-17 | 香港科技大学(广州) | 一种科研型湿法刻蚀全自动化系统及机台 |
| US12482676B2 (en) | 2024-04-16 | 2025-11-25 | The Hong Kong University of Science and Technology (Guangzhou) | Research wet etching fully automatic system and machine |
| CN119943711A (zh) * | 2024-12-25 | 2025-05-06 | 启东新微智造科技有限公司 | 一种集成光电子器件制造的蚀刻机构 |
Similar Documents
| Publication | Publication Date | Title |
|---|---|---|
| JP4071220B2 (ja) | ガラス基板の製造方法 | |
| JP2007294606A (ja) | パネルのエッチング製作プロセスの方法及びその装置 | |
| KR20130117632A (ko) | 디스플레이용 글래스 기판의 제조 방법, 글래스 기판 및 디스플레이용 패널 | |
| US20170316961A1 (en) | Substrate liquid processing method, substrate liquid processing apparatus, and computer-readable storage medium that stores substrate liquid processing program | |
| CN101614960B (zh) | 具备喷嘴唇口清洗装置的狭缝式涂敷装置 | |
| JP2016207882A (ja) | ウエットエッチング装置、ウエットエッチング方法、およびこれらを用いた半導体装置の製造方法 | |
| CN105983546A (zh) | 晶圆清洗方法 | |
| CN100432772C (zh) | 平板显示器用玻璃基板及其制造方法 | |
| CN101051604A (zh) | 面板蚀刻制程的方法及其装置 | |
| JP3665323B2 (ja) | フラットパネルディスプレイ用ガラス基板及びその製造方法 | |
| JP4723398B2 (ja) | スピン洗浄装置 | |
| JP2002170815A (ja) | 表面処理装置及び表面処理方法 | |
| CN105204180A (zh) | 复眼镜片的制造方法及装置 | |
| JP2007294596A (ja) | パネルのエッチング製作プロセスの方法及びその装置 | |
| CN116755302A (zh) | 浸入式直边边胶去除装置 | |
| KR101000299B1 (ko) | 기판 코팅 장치 | |
| JP2014069126A (ja) | 基板処理装置 | |
| KR20020063201A (ko) | 전자장치의 제조방법 | |
| US7367725B2 (en) | Method for removing developing solution | |
| KR101752782B1 (ko) | 하부전극의 코팅층 제거용 세정액 및 이를 이용한 하부전극의 코팅층 제거방법 | |
| CN101256366B (zh) | 光刻胶剥离组合物和使用其剥离光刻胶膜的方法 | |
| TW202134196A (zh) | 玻璃加工設備與方法 | |
| CN102778821B (zh) | 一种Array板光刻胶的剥离方法 | |
| JP2010086979A (ja) | ウェハベベル処理装置及びそれを用いたウェハ処理方法 | |
| KR20230081120A (ko) | 기판 처리 장치 및 방법 |