JP2007282933A - 後始末不要な縁部を有する衣類の仕上げ方法並びに装置 - Google Patents

後始末不要な縁部を有する衣類の仕上げ方法並びに装置 Download PDF

Info

Publication number
JP2007282933A
JP2007282933A JP2006115123A JP2006115123A JP2007282933A JP 2007282933 A JP2007282933 A JP 2007282933A JP 2006115123 A JP2006115123 A JP 2006115123A JP 2006115123 A JP2006115123 A JP 2006115123A JP 2007282933 A JP2007282933 A JP 2007282933A
Authority
JP
Japan
Prior art keywords
finishing
fabric
pressing
hem
mold
Prior art date
Legal status (The legal status is an assumption and is not a legal conclusion. Google has not performed a legal analysis and makes no representation as to the accuracy of the status listed.)
Granted
Application number
JP2006115123A
Other languages
English (en)
Other versions
JP4895665B2 (ja
Inventor
Miya Yui
美也 由井
Akihiro Sato
彰洋 佐藤
Current Assignee (The listed assignees may be inaccurate. Google has not performed a legal analysis and makes no representation or warranty as to the accuracy of the list.)
Gunze Ltd
Original Assignee
Gunze Ltd
Priority date (The priority date is an assumption and is not a legal conclusion. Google has not performed a legal analysis and makes no representation as to the accuracy of the date listed.)
Filing date
Publication date
Application filed by Gunze Ltd filed Critical Gunze Ltd
Priority to JP2006115123A priority Critical patent/JP4895665B2/ja
Publication of JP2007282933A publication Critical patent/JP2007282933A/ja
Application granted granted Critical
Publication of JP4895665B2 publication Critical patent/JP4895665B2/ja
Expired - Fee Related legal-status Critical Current
Anticipated expiration legal-status Critical

Links

Images

Landscapes

  • Treatment Of Fiber Materials (AREA)

Abstract


【課題】後始末不要な縁部を有する衣類を仕上げ用型枠に被せて熱セットするようにした衣類の仕上げ方法並びに装置に関する。
【解決手段】仕上げ用型枠に裾部係止用弾性体を設け、且つ筒状生地を被覆し、更に身頃用生地を被せて裾部側被覆用筒状生地を身頃用生地の裾部上に被せ、一方、押圧用型枠を仕上げ用型枠の表裏面側に夫々回動自在に設けて仕上げ用型枠の表裏面を押圧可能とすると共に、押圧用型枠に押圧用弾性体を設け、前記裾部側被覆用筒状生地を押圧することにより、身頃用生地を緊張下の状態で熱セット可能としたものである。
【選択図】図3

Description

本発明は、後始末不要な縁部を有する筒状の身頃用生地を適宜の仕上げ用型枠に被せて熱セットする際、裾部の生地歪みや皺などの発生を未然に防止するようにした衣類の仕上げ方法並びに装置に関する。
従来、後始末不要な縁部を有する筒状の身頃用生地(成形筒状編生地)90を適宜の仕上げ用型枠を用いて熱セットする際、身頃用生地90がフリーの状態で熱セットされるために、生地が熱収縮現象を生じ、図2の如く、特に直線状の裾部91の生地端縁92が、凹凸状に変形して生地歪みが発生し、しかも裾部91の締め付け感がなくなる恐れがあった。また仕上げ用型枠が、アルミニュウムの金属板で形成されているために、高温に曝された金属板に身頃用生地90が、直接接触すると、後始末不要な縁部、即ち身頃用生地90に編み込まれているポリウレタンなどの伸縮性に富んだ弾性糸が、熱により変質して生地の品質劣化を招き、裾部91の伸縮性が低下する欠点があった。
尚、上記後始末不要な身頃用生地の製造法は、従来周知の方法で行なわれるもので、具体的には、先ず筒状成形丸編機により筒状生地を編成する際、例えばポリエステル系繊維などの合成繊維とポリウレタン系弾性繊維などの熱融着性糸条を適宜に交編若しくは引揃えて編成し、適宜の精練、染色加工などを施した後、更に湿熱または乾熱による熱処理を介して該熱融着性糸を該熱融着糸以外の糸に溶着させ、長尺の筒状成形編地全体に解れ止め加工を施すのである。更に長尺の筒状成形編生地を適宜の長さ毎に裁断することにより、身頃用の生地が得られ、同身頃用生地をどの位置においても、或いはどの部位で裁断しても編糸が解れることがないので、格別の解れ防止策を講じる必要がなく、衣服の製造を容易に行うことができるようにしてある。尚、上記身頃用生地の上辺部を適宜裁断して衿部や袖付部を形成して、肌着などの適宜の衣服を製造することができるのである。
特開平 06−105995 号公報 特開平 06−292793 号公報
解決しようとする問題点は、前記の如く、後始末不要な縁部を有する身頃用生地を仕上げ用型枠に被せて熱セットする際、身頃生地がフリーの状態におかれ、且つ熱セット時に身頃用生地には束縛ないしは緊張感が付与されないために、身頃用生地が加熱室内で自由に熱収縮現象を生じ、特に直線状の裾部側端縁においては、大きな生地歪みを招き、生地の伸縮性低下や品質低下を招く欠点がある。また仕上げ用型枠が、アルミニュウム等の金属板で形成されているので、熱セット時に身頃用生地が、高温の金属板に直接接触するために、ポリウレタン系弾性繊維などの熱融着性糸条が、劣化若しくは脆化して強伸度が低下し、且つ裾部側端縁が、伸び切りの状態になってフィット性が低下し、衣服類としての機能性低下を招き、品質の改善が十分になされていない点にある。
本発明では、仕上げ用型枠の下方部位に裾部係止用弾性体を設け、且つ同型枠全体に筒状生地を被覆して同生地上に身頃用生地を被せると共に、身頃用生地の裾部を前記裾部係止用弾性体の位置で係止し、更に裾部側被覆用筒状生地を身頃用生地の裾部上に被せ、一方、押圧用型枠を仕上げ用型枠の表裏面側に夫々回動、押圧自在に設けて仕上げ用型枠の表裏面を押圧可能とすると共に、同押圧用型枠の下方部位に押圧用弾性体を設け、同押圧用弾性体を介して裾部側被覆用筒状生地を押圧するようにしたことにより、身頃用生地を束縛ないしは緊張下の状態で熱セットすることができ、従って裾部側端縁に従来のような皺や生地歪みを生じることがなくなるのである。また仕上げ用型枠に筒状生地を被覆したことにより、身頃用生地に編込んである熱融着性糸が、型枠の高温により、劣化若しくは脆化することがなく、伸縮性などに優れた衣服を得ることができるものである。
本発明では、仕上げ用型枠の下方部位に裾部係止用弾性体を設け、且つ同型枠全体に筒状生地を被覆して同生地上に身頃用生地を被せると共に、裾部の端縁部を前記裾部係止用弾性体の位置で係止し、更に裾部側被覆用筒状生地を身頃用生地の裾部上に被せ、一方、押圧用型枠を仕上げ用型枠の表裏面側に夫々回動、押圧自在に設けて仕上げ用型枠の表裏面側を押圧可能にすると共に、同押圧用型枠の下方部位に押圧用弾性体を設け、同押圧用弾性体を介して裾部側被覆用筒状生地を押圧することにより、身頃用生地の裾部側を束縛ないしは緊張下の状態で熱セットすることができ、また仕上げ用型枠に係止用筒状生地を被覆したことにより、身頃用生地が同型枠側に直接接触することがないので、融着性糸が、型枠の高温により、劣化若しくは脆化することがなくなり、品質の向上が図られるのである。
本発明は、身頃用生地を緊張下で、且つ安定化した状態で熱セットすることにより、裾部側端縁に従来のような皺や生地歪みを生じることがなくなり、また仕上げ用型枠に筒状生地を被覆したことにより、高温の型枠に身頃用生地が直接接触することがなくなり、従って、熱融着性糸が劣化若しくは脆化することがなく、伸縮性など品質に優れた身頃用生地を得ることができるのである。
本発明は、後始末不要な身頃用生地を適宜の仕上げ用型枠を用いて仕上げ加工し、皺が発生せず、伸縮性など品質の優れた身頃用生地が得られるようにしたもので、以下図例に基づいて説明する。
図3において、13は移動用フレームで、適宜の楕円状に設けた図示略のレール上を走行可能とし、且つ従来周知のチェンや伝動歯車などを介して移動、走行自在に設けてあり、14,15,16は、夫々同フレーム13に固定した支軸で、同支軸14には支持片17を回動自在に設けると共に、同支持片17に仕上げ用型枠18を固定してあり、19は支軸14に回動自在に設けた回動片で、同片に仕上げ用型枠18を固定してあり、且つ同型枠18自体は、常にフリーの状態で、回動自在となっている。
20,21は夫々支軸15,16に回動自在に設けた回動片で、同回動片20,21に夫々押圧用型枠22、22を固定してあり、24、24は夫々押圧用型枠22、22の下端部に固定した支持片である。28、29は夫々前記移動用フレーム13上に固定した固定片で、同固定片28、29間にスライド軸30を摺動自在に設けてある。32は同スライド軸30に固定した固定子で、同固定子32の左右側には、ロッド33、33を回動自在に連結してあり、更に同ロッド33、33を夫々押圧用型枠22、22の下方端部に固定した支持片24、24側に夫々回動自在に連結してある。36は引張り用バネで固定片28と固定子32間に連結、固定してあり、38は従来周知の固定カムで、引張り用バネ36を介してスライド軸30の先端部を固定カム38側に接圧するようにしてあり、且つスライド軸30の前後動により、ロッド33、33を介して押圧用型枠22、22を図4の如く、夫々位置X−Y、X−Y間で開閉回動自在となるようにしてあり、更に押圧用型枠22、22の中間に位置する仕上げ用型枠18は、同押圧用型枠22、22により、表裏面から押圧されるようにしてある。
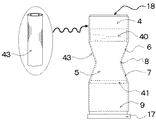
図5において、仕上げ用型枠18は、アルミニウムなどの金属性板で形成されており、4は同型枠18の上側部位、5は胴側部位で、6、7は夫々凹状側辺部,8は凹状側辺部6,7間における垂線部位、9は裾側部位である。尚、仕上げ用型枠18の形状寸法として、実施例では、型枠18の全長Fが980mm、厚みが3mm、上側部位4及び裾側部位9の幅Pが夫々370mm、上側部位4の側辺の長さNが270mm、胴側部位5の凹状側辺部6,7における夫々の側辺の垂線の長さM、Mは190mm、凹状側辺部6,7間における側辺の長さLは20mm、側辺部8−8間の巾Qは230mm、裾側部位における側辺の長さJが310mmとなっている。
図6、図11において、仕上げ用型枠18の表裏面側において、上側部位4並びに胴側部位5の夫々の下方部位に、凸状の上辺部係止用弾性体40及び裾部係止用弾性体41を夫々接着、固定してあり、身頃用生地60の上辺部61並びに裾部62を夫々同弾性体40、41側に確実に係止して身頃用生地60の緊張、安定化を図り、仕上げセット時の生地の熱収縮による皺や生地歪みの発生を未然に防止するもので、特に身頃用生地60の上辺部61や裾部62の端縁部の生地歪みなどを防止するようにしてある。尚、前記弾性体40、41の素材の実施例としては、例えばダブルラッセル編機により、ポリエステル系繊維などの合成繊維を適宜用いて編成した従来周知の三層構造による多層生地を複数枚重合し、且つ接着剤などを介して加熱圧着して得られた立体的な多層複合生地42が好ましく、また多層複合生地42の圧縮率の実施例として、例えば150g/cm2荷重時の圧縮率が、15〜25%の範囲が、上辺部及び裾部係止用弾性体40、41用として好適な範囲である。
また仕上げ用型枠18の表裏面側において、図6、図11の如く、上側部位4における下半分側の位置に凸状の上辺部係止用弾性体40を接着、固定してあり、且つ同弾性体40の形状の実施例としては、厚さが10mm、幅が型枠18の幅よりも若干狭くて320mm、縦方向の長さが40mm以上のものを用いるようにしている。更に仕上げ用型枠18の胴側部位5において下方側位置、即ち凹状側辺部7、7の裾部係止用弾性体41を接着、固定したもので、また同弾性体41の形状としては、厚さが10mm、生地幅が型枠18の幅よりも若干狭くて320mm、縦方向の長さが20mmのものを用いるようにしている。
図7において、凸状の上辺部並びに裾部係止用弾性体40、41を夫々表裏面側に接着、固定してある仕上げ用型枠18に筒状生地43を全面に被覆するようにしたもので、同筒状生地43の素材としては、筒状の織物地や編物地が好ましく、特に綿糸100%による筒状メリヤス生地のように高温に対して耐久性があり、且つ生地表面が耐摩擦性に優れ、毛羽立っている素材が好ましいのである。また図8において、筒状の身頃用生地60を仕上げ用型枠18に被せ、且つ筒状生地43表面に重合、被覆する際、重合された身頃用生地60と毛羽だった筒状生地43の両者が完全に密着して固定化、安定化され、仕上げセット時に身頃用生地60の上辺部61や裾部62の端縁部63における皺発生や生地歪みが完全に防止できるのである。
また前記の如く、身頃用生地60の上辺部61側と裾部62側が、夫々凸状の上辺部及び裾部係止用弾性体40、41の位置で確実に係止されるようにしたことにより、身頃用生地60の緊張、安定化が図られ、更に身頃生地60と筒状生地43の両者が完全に密着して固定化、安定化されるので、仕上げセット時の身頃用生地60の上辺部61や裾部62の端縁部63における皺発生や生地歪みなどの発生が、未然に防止されるのである。尚、身頃用生地60を製品化する際に、同上辺部61を適当に裁断して襟部や袖部を構成し、適宜の衣服を製造する場合もあり、上辺部61の裁断方法は、製品化の目的によって異なるのである。
図10において、押圧用型枠22は、アルミニウム製などの金属板により構成されており、且つ同枠22の形状及び寸法は、前記仕上げ用型枠18と同様の構造で構成されており、更に前記仕上げ用型枠18の表裏面側を左右の押圧用型枠22、22で押圧するようにしている。50、51は、夫々押圧用型枠22の上方部位並びに下方部位を示したもので、同上方部位50における上方側位置52並びに下方部位51における上方側位置53の夫々の部位において、固着片55、55を夫々固定してある。尚、同固着片55、55は、その両端縁部を内側に折り曲げた状態に形成してあり、且つ同片55、55の上面側には、前記の弾性体40、41と同様の素材で形成した押圧用弾性体57、57を夫々接着、固定するようにしてある。また固着片55の構成として、実施例では、厚さ3mmのアルミニウムなどの金属板を両端部で折り曲げて、幅が370mm、長さが40mm、高さが25mmからなる折曲げ片で形成するようにしてある。
また図9、図11において、身頃用生地60の表面に更に筒状の上部側被覆用筒状生地45を被覆、重合するにあたり、筒状生地43の上方端縁部近辺から上辺部係止用弾性体40の下方端縁部付近の部位にかけて、上部側被覆用筒状生地45を被覆するようにしてある。即ち身頃用生地60の上方端縁部付近に同被覆用筒状生地45を被覆し、身頃用生地60の上辺部61の生地ズレや汚れなどを防止するようにしたものである。更に裾部側被覆用筒状生地46を身頃用生地60の裾部62側に被覆、重合するにあたり、身頃用生地60の裾部62の部位から筒状生地43の下方位置にかけて、裾部側被覆用筒状生地46を被覆し、身頃用生地60の裾部62の生地ズレや汚れなどを防止するようにしたものである。更に身頃用生地60の連続的な生地仕上げを行う手段としては、例えば図12の如き蒸気セット仕上げ装置80の概略装置において、移動用フレーム13を適宜に走行或いは停止させながら、生地仕上げを行うのである。尚、図12において、Aは身頃用生地60の脱着作業区域で、Bは蒸気セット室、Cは乾燥室で、身頃用生地60の脱着作業から蒸気セット及び乾燥を連続的に行うようにしたものである。
次いで身頃用生地60を仕上げ用型枠18に被せて生地仕上げをする手段について述べると、先ず図8、図11の如く、表裏面に上辺部並びに裾部係止用弾性体40、41を夫々有する仕上げ用型枠18全体に綿糸などの適宜の繊維で編成した筒状編地による筒状生地43を被覆した状態で、身頃用生地60を仕上げ用型枠18に被せるもので、具体的には、身頃用生地60の上方端縁部61を上辺部係止用弾性体40の部位に位置させると共に、身頃用生地60の裾部端縁部63を裾部係止用弾性体41の部位に位置させるのである。
次いで図9、図11の如く、身頃用生地60の上辺部61及び裾部63側に更に上部側及び裾部側被覆用筒状生地45、46を夫々被覆、重合するにあたり、筒状生地43の上方端縁部付近から上辺部係止用弾性体40の下方端縁部の位置にかけて、上部側被覆用筒状生地45を身頃用生地60の上辺部61近辺に被覆するのである。更に裾部側被覆用筒状生地46を裾部係止用弾性体41の上方位置、即ち身頃用生地60の裾部62近辺の部位から筒状生地43の下方端縁部の位置にかけて被覆するもので、このようにして身頃用生地60の裾部62近辺を同被覆用筒状生地46により被覆するのである。
次いで図4、図11及び図12の如く、脱着作業区域Aにおいて、仕上げ用型枠18の表裏面側で、押圧用型枠22,22を押圧する、即ち、図4の如く、押圧用型枠22,22を夫々位置Yから位置Xの部位まで回動させ、同枠22、22を夫々仕上げ用型枠18の表裏面側に圧着して身頃用生地60を圧着保持するのである。即ち押圧用型枠22に設けた上方位置にある押圧用弾性体57を上辺部係止用弾性体40の部位よりも上方位置で、即ち身頃用生地60の上辺部61よりも上方の位置で上辺部被覆用筒状生地45を圧着保持するのである。更に押圧用型枠22に設けた下方位置にある押圧用弾性体57を裾部係止用弾性体41の部位よりも下方の位置で、即ち身頃用生地60の裾部62よりも下方の位置で裾部側被覆用筒状生地46を圧着保持するもので、このようにして上辺部並びに裾部側被覆用筒状生地45、46を圧着保持することにより、熱セット仕上げ時に、同被覆用筒状生地45、46を介して身頃用生地60が確実に圧着保持されて熱セットされるのである。尚、身頃用生地60の上辺部61及び裾部62は、夫々前記被覆用筒状生地45、46により、完全に被覆されるので、汚れや皺などの発生が防止されるのである。
次いで移動用フレーム13を公知の手段で移送しながら、仕上げ用型枠18及び押圧用型枠22,22間で圧着、保持された身頃用生地60を蒸気セット室Bの位置まで搬送して蒸気セットを行い、次いで乾燥室Cにおいて、身頃用生地60の乾燥を行い、更に脱着作業区域Aに達すると、押圧用型枠22,22を夫々元の位置Xから位置Yの部位まで回動され、同型枠22、22が、夫々仕上げ用型枠18から離反するのである。
即ち、脱着作業がし易いように同型枠22、22を押し拡げ、この状態で、仕上げ用型枠18に装着され、熱セット仕上げされた身頃用生地60を同型枠18から取り外すのである。次いで熱セット用の新たな身頃用生地60を仕上げ用型枠18に装着し、次いで押圧用型枠22,22を位置Yから元の位置Xの部位まで回動させて、仕上げ用型枠18の表裏面側に押圧用型枠22,22を押圧し、この状態で移動用フレーム13を公知の手段で移送し、前記の如く、蒸気セット室B、乾燥室Cの各工程で連続的に生地仕上げ処理が施されるのである。また蒸気セットによる生地仕上げを行うにあたり、蒸気セット温度としては115〜125℃の範囲が好ましく、また蒸気セット時間は30〜90秒の範囲が好ましいのである。
尚、押圧用型枠22に設けた下方部の押圧用弾性体57を裾部係止用弾性体41の部位と同じ部位に位置させる、即ち身頃用生地60の裾部62近辺に前記押圧用弾性体57を位置させ、同弾性体57を介して裾部側被覆用筒状生地46及び身頃用生地60の裾部62を押圧するようにしてもよいのである。従って身頃用生地60の裾部62を圧着保持することにより、同裾部62の汚れや皺などの発生を防止できるのである。
身頃用生地60の上辺部61及び裾部62付近を上部側及び裾部側被覆用筒状生地45、46介して夫々被覆するようにしてあるが、上部側及び裾部側被覆用筒状生地45、46の分割された2枚の生地の代わりに1枚生地で構成するようにしてもよいのである。
本発明による身頃用生地の概略斜視図である。 従来例による身頃用生地の概略斜視図である。 本発明における生地仕上げ装置全体の概略斜視図である。 本発明の生地仕上げ装置における仕上げ用型枠及び押圧用型枠の回動時における相対的な位置関係を示した概略平面図である。 本発明の仕上げ用型枠の概略平面図である。 本発明による仕上げ用型枠の表裏面側に夫々上辺部並びに裾部係止用弾性体を固定した状態の概略平面図である。 本発明による仕上げ用型枠の表裏面側に上辺部並びに裾部係止用弾性体を固定し、且つ同型枠全体に筒状生地を被せた状態の概略平面図である。 本発明による仕上げ用型枠の表裏面側に上辺部並びに裾部係止用弾性体を固定し、且つ同型枠全体に筒状生地を被せた状態で、同型枠に更に身頃用生地を被せた状態の仕上げ用型枠の概略平面図である。 本発明による仕上げ用型枠の表裏面側に上辺部並びに裾部係止用弾性体を固定し、且つ同型枠全体に筒状生地を被せた状態で、同型枠に身頃用生地を被せ、更に身頃用生地の上辺部及び裾部近辺に上部側及び裾部側被覆用筒状生地を夫々被せた状態の仕上げ用型枠の概略平面図である。 本発明による押圧用型枠の上方部位並びに下方部位に夫々押圧用弾性体を設けた状態の概略平面図である。 本発明による仕上げ用型枠の表裏面側に上辺部並びに裾部係止用弾性体を固定し、且つ同型枠全体に筒状生地を被せた状態で、同型枠に身頃用生地を被せ、更に身頃用生地の上辺部及び裾部近辺に上部側及び裾部側被覆用筒状生地を夫々被せた状態で、仕上げ用型枠の表裏面側に押圧用型枠を押圧するようにした状態の概略断面図である。 本発明による仕上げ用セット装置の作動状態を表示するようにした作動説明用概略平面図である。
符号の説明
18 仕上げ用型枠
22 押圧用型枠
40 上辺部係止用弾性体
41 裾部係止用弾性体
57 押圧用弾性体
43 筒状生地
45 上部側被覆用筒状生地
46 裾部側被覆用筒状生地
60 身頃用生地

Claims (6)

  1. 裾部に後始末不要な端縁部を有する衣類の身頃用生地を仕上げ用型枠に被せて熱セット仕上げをする方法において、仕上げ用型枠はその下方部位に衣類の裾部を係止するための裾部係止用弾性体を設けるとともに全体を筒状生地で被覆して構成され、一方、下方部位に押圧用弾性体を設けた押圧用型枠を前記仕上げ用型枠の表面および裏面側で押圧可能とするよう夫々回動自在に設けた仕上げ手段を用いて、仕上げ用型枠に身頃用生地を被せ、裾部の端縁部を前記裾部係止用弾性体の位置で係止させ、更に裾部側被覆用筒状生地を身頃用生地の裾部上に被せ、前記押圧用弾性体を介して前記被覆用筒状生地側を押圧し、仕上げセットするようにしたことを特徴とする後始末不要な縁部を有する衣類の仕上げ方法。
  2. 裾部に後始末不要な端縁部を有する衣類の身頃用生地を仕上げ用型枠に被せて熱セット仕上げをする装置において、仕上げ用型枠はその下方部位に衣類の裾部を係止するための裾部係止用弾性体を設けるとともに全体を筒状生地で被覆して構成され、一方、下方部位に押圧用弾性体を設けた押圧用型枠を前記仕上げ用型枠の表面および裏面側で押圧可能とするよう夫々回動自在に設けた仕上げ手段を用いて、仕上げ用型枠に身頃用生地を被せ、裾部の端縁部を前記裾部係止用弾性体の位置で係止させ、更に裾部側被覆用筒状生地を身頃用生地の裾部上に被せ、前記押圧用弾性体を介して前記被覆用筒状生地側を押圧し、仕上げセットするように構成したことを特徴とする後始末不要な縁部を有する衣類の仕上げ装置。
  3. 仕上げ用型枠及び押圧用型枠の素材をアルミニュウム板で形成し、更に仕上げ用型枠及び押圧用型枠に夫々設けた凸状の裾部係止用弾性体並びに押圧用弾性体を三層構造などによる立体的な多層複合生地で形成するように構成したことを特徴とする請求項2に記載の後始末不要な縁部を有する衣類の仕上げ装置。
  4. 仕上げ用型枠に被せる筒状生地並びに身頃用生地の裾部側に被覆する裾部側被覆用筒状生地を夫々綿糸による筒状編生地で構成したことを特徴とする請求項2に記載の後始末不要な縁部を有する衣類の仕上げ装置。
  5. 押圧用型枠の下方部位に設けた押圧用弾性体の位置を仕上げ用型枠の下方部位に設けた裾部係止用弾性体の位置よりも更に下方の位置に設けると共に、前記押圧用弾性体を仕上げ用型枠の裾部係止用弾性体よりも下方の位置で裾部側被覆用筒状生地を押圧するように構成したことを特徴とする請求項2に記載の後始末不要な縁部を有する衣類の仕上げ装置。
  6. 押圧用型枠の下方部位に設けた押圧用弾性体を仕上げ用型枠の下方部位に設けた裾部係止用弾性体の位置と同じ位置に相対向して設け、押圧用弾性体を介して裾部側被覆用筒状生地並びに仕上げ用型枠の裾部係止用弾性体を押圧するように構成したことを特徴とする請求項2に記載の後始末不要な縁部を有する衣類の仕上げ装置。
JP2006115123A 2006-04-19 2006-04-19 後始末不要な縁部を有する衣類の仕上げ方法並びに装置 Expired - Fee Related JP4895665B2 (ja)

Priority Applications (1)

Application Number Priority Date Filing Date Title
JP2006115123A JP4895665B2 (ja) 2006-04-19 2006-04-19 後始末不要な縁部を有する衣類の仕上げ方法並びに装置

Applications Claiming Priority (1)

Application Number Priority Date Filing Date Title
JP2006115123A JP4895665B2 (ja) 2006-04-19 2006-04-19 後始末不要な縁部を有する衣類の仕上げ方法並びに装置

Publications (2)

Publication Number Publication Date
JP2007282933A true JP2007282933A (ja) 2007-11-01
JP4895665B2 JP4895665B2 (ja) 2012-03-14

Family

ID=38755230

Family Applications (1)

Application Number Title Priority Date Filing Date
JP2006115123A Expired - Fee Related JP4895665B2 (ja) 2006-04-19 2006-04-19 後始末不要な縁部を有する衣類の仕上げ方法並びに装置

Country Status (1)

Country Link
JP (1) JP4895665B2 (ja)

Citations (4)

* Cited by examiner, † Cited by third party
Publication number Priority date Publication date Assignee Title
JPS63286193A (ja) * 1987-05-19 1988-11-22 富士車輌株式会社 シヤツプレス機
JPH0397947U (ja) * 1990-01-25 1991-10-09
JPH0747196A (ja) * 1993-05-04 1995-02-21 Macpi Spa アイロン装置
JP2000185200A (ja) * 1998-12-22 2000-07-04 Tokyo Sensen Kikai Seisakusho:Kk プレス仕上機

Patent Citations (4)

* Cited by examiner, † Cited by third party
Publication number Priority date Publication date Assignee Title
JPS63286193A (ja) * 1987-05-19 1988-11-22 富士車輌株式会社 シヤツプレス機
JPH0397947U (ja) * 1990-01-25 1991-10-09
JPH0747196A (ja) * 1993-05-04 1995-02-21 Macpi Spa アイロン装置
JP2000185200A (ja) * 1998-12-22 2000-07-04 Tokyo Sensen Kikai Seisakusho:Kk プレス仕上機

Also Published As

Publication number Publication date
JP4895665B2 (ja) 2012-03-14

Similar Documents

Publication Publication Date Title
JP5711862B2 (ja) らせん状に巻いたストリップ材を含む工業用布
RU2015124800A (ru) Техническая ткань и способ сваривания области шва с использованием ультразвуковой сварки
JP4186015B2 (ja) 生地の安定化方法、生地の安定化装置及び生地の製造方法
HK1040889A1 (zh) 在衣服的布料上形成凸凹的方法及衣服
ES2691076T3 (es) Tejido industrial que incluye tiras de material enrolladas en espiral con refuerzo
JP2012218437A (ja) 3次元形状の織物要素およびその製造方法
KR101029327B1 (ko) 원단의 양면에 파일을 갖는 양면 기모원단의 제조방법과 이에 의해 제조한 양면 파일을 갖는 양면 기모원단
JP4895665B2 (ja) 後始末不要な縁部を有する衣類の仕上げ方法並びに装置
JP4355524B2 (ja) 抄紙用フェルト
JP2000345417A (ja) 衣服の布地に凹凸を形成する方法
JP3194799U (ja) 三重構造の布地
FI20190036A1 (fi) Moppiliina ja lattianhoitoväline
TWI428487B (zh) 彈性矽酮橡膠帶及其製造方法
JP2018024956A (ja) 層状編地複合材及びその製造方法並びにその層状編地複合材を用いた身体装着具
CN107205512B (zh) 用于制造组合的纺织产品的方法
KR200337190Y1 (ko) 주름직물 가공원단
JP2005154145A5 (ja)
TWI626346B (zh) 用於生產不織布的皮帶或套子及其形成方法
KR101795314B1 (ko) 친환경 신축성 무봉재 원단의 제조방법
PT1941092E (pt) Correia agulhada com elevada espessura e elasticidade
KR20110033371A (ko) 메리야스원단을 사용한 이불 및 그의 제조방법
JP3845793B2 (ja) 布帛よりの表面熱成形部付布製品形成方法
KR101451773B1 (ko) 라미네이트원단의 주름 성형방법 및 그에 따른 주름원단
JP2006219766A (ja) 連続編成されるニット生地と該生地から製造される単位衣類及びその製造方法
WO2026033346A1 (en) Composite tape for fabric compacting machine and related compacting machine

Legal Events

Date Code Title Description
A621 Written request for application examination

Free format text: JAPANESE INTERMEDIATE CODE: A621

Effective date: 20090401

A977 Report on retrieval

Free format text: JAPANESE INTERMEDIATE CODE: A971007

Effective date: 20110224

A131 Notification of reasons for refusal

Free format text: JAPANESE INTERMEDIATE CODE: A131

Effective date: 20110412

A521 Written amendment

Free format text: JAPANESE INTERMEDIATE CODE: A523

Effective date: 20110607

RD03 Notification of appointment of power of attorney

Free format text: JAPANESE INTERMEDIATE CODE: A7423

Effective date: 20110607

TRDD Decision of grant or rejection written
A01 Written decision to grant a patent or to grant a registration (utility model)

Free format text: JAPANESE INTERMEDIATE CODE: A01

Effective date: 20111220

A01 Written decision to grant a patent or to grant a registration (utility model)

Free format text: JAPANESE INTERMEDIATE CODE: A01

A61 First payment of annual fees (during grant procedure)

Free format text: JAPANESE INTERMEDIATE CODE: A61

Effective date: 20111220

R150 Certificate of patent (=grant) or registration of utility model

Free format text: JAPANESE INTERMEDIATE CODE: R150

FPAY Renewal fee payment (prs date is renewal date of database)

Free format text: PAYMENT UNTIL: 20150106

Year of fee payment: 3

FPAY Renewal fee payment (prs date is renewal date of database)

Free format text: PAYMENT UNTIL: 20150106

Year of fee payment: 3

LAPS Cancellation because of no payment of annual fees