JP2007242592A - 発光装置、発光装置の製造方法、露光装置、及び電子機器 - Google Patents
発光装置、発光装置の製造方法、露光装置、及び電子機器 Download PDFInfo
- Publication number
- JP2007242592A JP2007242592A JP2006309936A JP2006309936A JP2007242592A JP 2007242592 A JP2007242592 A JP 2007242592A JP 2006309936 A JP2006309936 A JP 2006309936A JP 2006309936 A JP2006309936 A JP 2006309936A JP 2007242592 A JP2007242592 A JP 2007242592A
- Authority
- JP
- Japan
- Prior art keywords
- layer
- pixel electrode
- partition
- hole injection
- light emitting
- Prior art date
- Legal status (The legal status is an assumption and is not a legal conclusion. Google has not performed a legal analysis and makes no representation as to the accuracy of the status listed.)
- Withdrawn
Links
- 238000004519 manufacturing process Methods 0.000 title claims abstract description 82
- 238000002347 injection Methods 0.000 claims abstract description 313
- 239000007924 injection Substances 0.000 claims abstract description 313
- 239000000463 material Substances 0.000 claims abstract description 186
- 238000000034 method Methods 0.000 claims abstract description 125
- 239000000758 substrate Substances 0.000 claims abstract description 116
- 239000007788 liquid Substances 0.000 claims abstract description 87
- 230000002093 peripheral effect Effects 0.000 claims abstract description 64
- 239000010410 layer Substances 0.000 claims description 1017
- 238000005192 partition Methods 0.000 claims description 191
- 239000012044 organic layer Substances 0.000 claims description 48
- 230000004888 barrier function Effects 0.000 claims description 43
- 230000015572 biosynthetic process Effects 0.000 claims description 40
- 238000009832 plasma treatment Methods 0.000 claims description 39
- 239000005871 repellent Substances 0.000 claims description 35
- 230000008569 process Effects 0.000 claims description 34
- 230000002940 repellent Effects 0.000 claims description 33
- 239000007789 gas Substances 0.000 claims description 31
- 229910052581 Si3N4 Inorganic materials 0.000 claims description 28
- HQVNEWCFYHHQES-UHFFFAOYSA-N silicon nitride Chemical compound N12[Si]34N5[Si]62N3[Si]51N64 HQVNEWCFYHHQES-UHFFFAOYSA-N 0.000 claims description 28
- 239000012298 atmosphere Substances 0.000 claims description 17
- OKTJSMMVPCPJKN-UHFFFAOYSA-N Carbon Chemical compound [C] OKTJSMMVPCPJKN-UHFFFAOYSA-N 0.000 claims description 16
- 239000011368 organic material Substances 0.000 claims description 16
- 229910052799 carbon Inorganic materials 0.000 claims description 14
- 150000001875 compounds Chemical class 0.000 claims description 14
- QVGXLLKOCUKJST-UHFFFAOYSA-N atomic oxygen Chemical compound [O] QVGXLLKOCUKJST-UHFFFAOYSA-N 0.000 claims description 13
- 239000001301 oxygen Substances 0.000 claims description 13
- 229910052760 oxygen Inorganic materials 0.000 claims description 13
- 238000000638 solvent extraction Methods 0.000 claims description 8
- BLRPTPMANUNPDV-UHFFFAOYSA-N Silane Chemical compound [SiH4] BLRPTPMANUNPDV-UHFFFAOYSA-N 0.000 claims description 7
- 229910000077 silane Inorganic materials 0.000 claims description 7
- VYPSYNLAJGMNEJ-UHFFFAOYSA-N Silicium dioxide Chemical compound O=[Si]=O VYPSYNLAJGMNEJ-UHFFFAOYSA-N 0.000 claims description 6
- GWEVSGVZZGPLCZ-UHFFFAOYSA-N Titan oxide Chemical compound O=[Ti]=O GWEVSGVZZGPLCZ-UHFFFAOYSA-N 0.000 claims description 6
- 238000010168 coupling process Methods 0.000 claims description 6
- 229910052814 silicon oxide Inorganic materials 0.000 claims description 6
- 230000008878 coupling Effects 0.000 claims description 5
- 238000005859 coupling reaction Methods 0.000 claims description 5
- 238000010030 laminating Methods 0.000 claims description 5
- 239000007791 liquid phase Substances 0.000 claims description 5
- OGIDPMRJRNCKJF-UHFFFAOYSA-N titanium oxide Inorganic materials [Ti]=O OGIDPMRJRNCKJF-UHFFFAOYSA-N 0.000 claims description 5
- 239000010408 film Substances 0.000 description 62
- 239000002346 layers by function Substances 0.000 description 44
- 238000007789 sealing Methods 0.000 description 42
- 238000001035 drying Methods 0.000 description 37
- 239000011347 resin Substances 0.000 description 36
- 229920005989 resin Polymers 0.000 description 36
- 239000010409 thin film Substances 0.000 description 31
- 239000002904 solvent Substances 0.000 description 28
- 239000011575 calcium Substances 0.000 description 19
- 239000000976 ink Substances 0.000 description 19
- 238000000206 photolithography Methods 0.000 description 19
- 239000006087 Silane Coupling Agent Substances 0.000 description 18
- 229910004298 SiO 2 Inorganic materials 0.000 description 17
- 238000004528 spin coating Methods 0.000 description 15
- 229920001609 Poly(3,4-ethylenedioxythiophene) Polymers 0.000 description 14
- 229920002098 polyfluorene Polymers 0.000 description 13
- IJGRMHOSHXDMSA-UHFFFAOYSA-N Atomic nitrogen Chemical compound N#N IJGRMHOSHXDMSA-UHFFFAOYSA-N 0.000 description 12
- 239000003990 capacitor Substances 0.000 description 12
- 229920000172 poly(styrenesulfonic acid) Polymers 0.000 description 12
- 229940005642 polystyrene sulfonic acid Drugs 0.000 description 12
- 239000000243 solution Substances 0.000 description 11
- 238000005530 etching Methods 0.000 description 10
- 239000011521 glass Substances 0.000 description 10
- 229910010413 TiO 2 Inorganic materials 0.000 description 9
- 238000000576 coating method Methods 0.000 description 9
- MTHSVFCYNBDYFN-UHFFFAOYSA-N diethylene glycol Chemical compound OCCOCCO MTHSVFCYNBDYFN-UHFFFAOYSA-N 0.000 description 9
- 230000005525 hole transport Effects 0.000 description 9
- PQXKHYXIUOZZFA-UHFFFAOYSA-M lithium fluoride Chemical compound [Li+].[F-] PQXKHYXIUOZZFA-UHFFFAOYSA-M 0.000 description 9
- 229920000642 polymer Polymers 0.000 description 9
- -1 polyparaphenylene vinylene Polymers 0.000 description 9
- 238000007740 vapor deposition Methods 0.000 description 8
- 229920000265 Polyparaphenylene Polymers 0.000 description 7
- 229910010272 inorganic material Inorganic materials 0.000 description 7
- 239000011147 inorganic material Substances 0.000 description 7
- 239000000203 mixture Substances 0.000 description 7
- 229920003227 poly(N-vinyl carbazole) Polymers 0.000 description 7
- 229920001721 polyimide Polymers 0.000 description 7
- 229920000123 polythiophene Polymers 0.000 description 7
- TXEYQDLBPFQVAA-UHFFFAOYSA-N tetrafluoromethane Chemical compound FC(F)(F)F TXEYQDLBPFQVAA-UHFFFAOYSA-N 0.000 description 7
- XKRFYHLGVUSROY-UHFFFAOYSA-N Argon Chemical compound [Ar] XKRFYHLGVUSROY-UHFFFAOYSA-N 0.000 description 6
- UHOVQNZJYSORNB-UHFFFAOYSA-N Benzene Chemical compound C1=CC=CC=C1 UHOVQNZJYSORNB-UHFFFAOYSA-N 0.000 description 6
- 239000004642 Polyimide Substances 0.000 description 6
- 238000001994 activation Methods 0.000 description 6
- 239000011248 coating agent Substances 0.000 description 6
- 238000000151 deposition Methods 0.000 description 6
- 238000007689 inspection Methods 0.000 description 6
- 239000011229 interlayer Substances 0.000 description 6
- 239000011159 matrix material Substances 0.000 description 6
- 229910052757 nitrogen Inorganic materials 0.000 description 6
- 239000011241 protective layer Substances 0.000 description 6
- LIVNPJMFVYWSIS-UHFFFAOYSA-N silicon monoxide Chemical compound [Si-]#[O+] LIVNPJMFVYWSIS-UHFFFAOYSA-N 0.000 description 6
- 238000004544 sputter deposition Methods 0.000 description 6
- 229920001187 thermosetting polymer Polymers 0.000 description 6
- NIXOWILDQLNWCW-UHFFFAOYSA-N acrylic acid group Chemical group C(C=C)(=O)O NIXOWILDQLNWCW-UHFFFAOYSA-N 0.000 description 5
- 239000002585 base Substances 0.000 description 5
- 230000008021 deposition Effects 0.000 description 5
- 238000001556 precipitation Methods 0.000 description 5
- 239000002356 single layer Substances 0.000 description 5
- YUYCVXFAYWRXLS-UHFFFAOYSA-N trimethoxysilane Chemical compound CO[SiH](OC)OC YUYCVXFAYWRXLS-UHFFFAOYSA-N 0.000 description 5
- 239000002699 waste material Substances 0.000 description 5
- FYGHSUNMUKGBRK-UHFFFAOYSA-N 1,2,3-trimethylbenzene Chemical compound CC1=CC=CC(C)=C1C FYGHSUNMUKGBRK-UHFFFAOYSA-N 0.000 description 4
- 150000004945 aromatic hydrocarbons Chemical class 0.000 description 4
- 239000000470 constituent Substances 0.000 description 4
- 230000006866 deterioration Effects 0.000 description 4
- 239000000284 extract Substances 0.000 description 4
- 238000002156 mixing Methods 0.000 description 4
- OYPRJOBELJOOCE-UHFFFAOYSA-N Calcium Chemical compound [Ca] OYPRJOBELJOOCE-UHFFFAOYSA-N 0.000 description 3
- 229920000144 PEDOT:PSS Polymers 0.000 description 3
- YXFVVABEGXRONW-UHFFFAOYSA-N Toluene Chemical compound CC1=CC=CC=C1 YXFVVABEGXRONW-UHFFFAOYSA-N 0.000 description 3
- 229910052782 aluminium Inorganic materials 0.000 description 3
- XAGFODPZIPBFFR-UHFFFAOYSA-N aluminium Chemical compound [Al] XAGFODPZIPBFFR-UHFFFAOYSA-N 0.000 description 3
- 238000000137 annealing Methods 0.000 description 3
- 230000003064 anti-oxidating effect Effects 0.000 description 3
- 229910052786 argon Inorganic materials 0.000 description 3
- 229910052791 calcium Inorganic materials 0.000 description 3
- 230000007547 defect Effects 0.000 description 3
- 239000006185 dispersion Substances 0.000 description 3
- NBVXSUQYWXRMNV-UHFFFAOYSA-N fluoromethane Chemical compound FC NBVXSUQYWXRMNV-UHFFFAOYSA-N 0.000 description 3
- 125000000524 functional group Chemical group 0.000 description 3
- 238000010438 heat treatment Methods 0.000 description 3
- 239000001307 helium Substances 0.000 description 3
- 229910052734 helium Inorganic materials 0.000 description 3
- SWQJXJOGLNCZEY-UHFFFAOYSA-N helium atom Chemical compound [He] SWQJXJOGLNCZEY-UHFFFAOYSA-N 0.000 description 3
- 239000011261 inert gas Substances 0.000 description 3
- 229910052751 metal Inorganic materials 0.000 description 3
- 239000002184 metal Substances 0.000 description 3
- 230000003647 oxidation Effects 0.000 description 3
- 238000007254 oxidation reaction Methods 0.000 description 3
- 238000000059 patterning Methods 0.000 description 3
- 229920000548 poly(silane) polymer Polymers 0.000 description 3
- 239000007787 solid Substances 0.000 description 3
- 238000003860 storage Methods 0.000 description 3
- 239000002344 surface layer Substances 0.000 description 3
- ODHXBMXNKOYIBV-UHFFFAOYSA-N triphenylamine Chemical compound C1=CC=CC=C1N(C=1C=CC=CC=1)C1=CC=CC=C1 ODHXBMXNKOYIBV-UHFFFAOYSA-N 0.000 description 3
- XLYOFNOQVPJJNP-UHFFFAOYSA-N water Substances O XLYOFNOQVPJJNP-UHFFFAOYSA-N 0.000 description 3
- IFQVEYUAIINTRX-UHFFFAOYSA-N 2-methoxyethoxybenzene Chemical compound COCCOC1=CC=CC=C1 IFQVEYUAIINTRX-UHFFFAOYSA-N 0.000 description 2
- MYMOFIZGZYHOMD-UHFFFAOYSA-N Dioxygen Chemical compound O=O MYMOFIZGZYHOMD-UHFFFAOYSA-N 0.000 description 2
- CTQNGGLPUBDAKN-UHFFFAOYSA-N O-Xylene Chemical compound CC1=CC=CC=C1C CTQNGGLPUBDAKN-UHFFFAOYSA-N 0.000 description 2
- 125000000217 alkyl group Chemical group 0.000 description 2
- 125000003118 aryl group Chemical group 0.000 description 2
- 238000004140 cleaning Methods 0.000 description 2
- 239000004020 conductor Substances 0.000 description 2
- 239000007822 coupling agent Substances 0.000 description 2
- HHNHBFLGXIUXCM-GFCCVEGCSA-N cyclohexylbenzene Chemical compound [CH]1CCCC[C@@H]1C1=CC=CC=C1 HHNHBFLGXIUXCM-GFCCVEGCSA-N 0.000 description 2
- 238000010586 diagram Methods 0.000 description 2
- 229910001882 dioxygen Inorganic materials 0.000 description 2
- KWKXNDCHNDYVRT-UHFFFAOYSA-N dodecylbenzene Chemical compound CCCCCCCCCCCCC1=CC=CC=C1 KWKXNDCHNDYVRT-UHFFFAOYSA-N 0.000 description 2
- 125000001033 ether group Chemical group 0.000 description 2
- 238000001704 evaporation Methods 0.000 description 2
- 230000001678 irradiating effect Effects 0.000 description 2
- 230000004048 modification Effects 0.000 description 2
- 238000012986 modification Methods 0.000 description 2
- 239000002244 precipitate Substances 0.000 description 2
- 239000000126 substance Substances 0.000 description 2
- 239000008096 xylene Substances 0.000 description 2
- VQGHOUODWALEFC-UHFFFAOYSA-N 2-phenylpyridine Chemical compound C1=CC=CC=C1C1=CC=CC=N1 VQGHOUODWALEFC-UHFFFAOYSA-N 0.000 description 1
- 229920000178 Acrylic resin Polymers 0.000 description 1
- 239000004925 Acrylic resin Substances 0.000 description 1
- YCKRFDGAMUMZLT-UHFFFAOYSA-N Fluorine atom Chemical compound [F] YCKRFDGAMUMZLT-UHFFFAOYSA-N 0.000 description 1
- XUIMIQQOPSSXEZ-UHFFFAOYSA-N Silicon Chemical compound [Si] XUIMIQQOPSSXEZ-UHFFFAOYSA-N 0.000 description 1
- 229910006404 SnO 2 Inorganic materials 0.000 description 1
- 239000004809 Teflon Substances 0.000 description 1
- 229920006362 Teflon® Polymers 0.000 description 1
- 230000001154 acute effect Effects 0.000 description 1
- 239000003513 alkali Substances 0.000 description 1
- 238000005452 bending Methods 0.000 description 1
- 238000005229 chemical vapour deposition Methods 0.000 description 1
- 238000003618 dip coating Methods 0.000 description 1
- 238000007598 dipping method Methods 0.000 description 1
- 230000000694 effects Effects 0.000 description 1
- 238000005401 electroluminescence Methods 0.000 description 1
- 230000008020 evaporation Effects 0.000 description 1
- 238000000605 extraction Methods 0.000 description 1
- 229910052731 fluorine Inorganic materials 0.000 description 1
- 239000011737 fluorine Substances 0.000 description 1
- 238000009413 insulation Methods 0.000 description 1
- 229910052741 iridium Inorganic materials 0.000 description 1
- GKOZUEZYRPOHIO-UHFFFAOYSA-N iridium atom Chemical compound [Ir] GKOZUEZYRPOHIO-UHFFFAOYSA-N 0.000 description 1
- 239000011344 liquid material Substances 0.000 description 1
- 239000012528 membrane Substances 0.000 description 1
- 150000002736 metal compounds Chemical class 0.000 description 1
- 239000007769 metal material Substances 0.000 description 1
- LAQFLZHBVPULPL-UHFFFAOYSA-N methyl(phenyl)silicon Chemical compound C[Si]C1=CC=CC=C1 LAQFLZHBVPULPL-UHFFFAOYSA-N 0.000 description 1
- 239000009719 polyimide resin Substances 0.000 description 1
- 239000002861 polymer material Substances 0.000 description 1
- 229910052710 silicon Inorganic materials 0.000 description 1
- 239000010703 silicon Substances 0.000 description 1
- HBMJWWWQQXIZIP-UHFFFAOYSA-N silicon carbide Chemical compound [Si+]#[C-] HBMJWWWQQXIZIP-UHFFFAOYSA-N 0.000 description 1
- XOLBLPGZBRYERU-UHFFFAOYSA-N tin dioxide Chemical compound O=[Sn]=O XOLBLPGZBRYERU-UHFFFAOYSA-N 0.000 description 1
- 229910001887 tin oxide Inorganic materials 0.000 description 1
- 239000012808 vapor phase Substances 0.000 description 1
Images
Classifications
-
- H—ELECTRICITY
- H05—ELECTRIC TECHNIQUES NOT OTHERWISE PROVIDED FOR
- H05B—ELECTRIC HEATING; ELECTRIC LIGHT SOURCES NOT OTHERWISE PROVIDED FOR; CIRCUIT ARRANGEMENTS FOR ELECTRIC LIGHT SOURCES, IN GENERAL
- H05B33/00—Electroluminescent light sources
- H05B33/12—Light sources with substantially two-dimensional radiating surfaces
- H05B33/22—Light sources with substantially two-dimensional radiating surfaces characterised by the chemical or physical composition or the arrangement of auxiliary dielectric or reflective layers
-
- H—ELECTRICITY
- H10—SEMICONDUCTOR DEVICES; ELECTRIC SOLID-STATE DEVICES NOT OTHERWISE PROVIDED FOR
- H10K—ORGANIC ELECTRIC SOLID-STATE DEVICES
- H10K59/00—Integrated devices, or assemblies of multiple devices, comprising at least one organic light-emitting element covered by group H10K50/00
- H10K59/10—OLED displays
- H10K59/12—Active-matrix OLED [AMOLED] displays
- H10K59/122—Pixel-defining structures or layers, e.g. banks
-
- H—ELECTRICITY
- H05—ELECTRIC TECHNIQUES NOT OTHERWISE PROVIDED FOR
- H05B—ELECTRIC HEATING; ELECTRIC LIGHT SOURCES NOT OTHERWISE PROVIDED FOR; CIRCUIT ARRANGEMENTS FOR ELECTRIC LIGHT SOURCES, IN GENERAL
- H05B33/00—Electroluminescent light sources
- H05B33/10—Apparatus or processes specially adapted to the manufacture of electroluminescent light sources
-
- H—ELECTRICITY
- H05—ELECTRIC TECHNIQUES NOT OTHERWISE PROVIDED FOR
- H05B—ELECTRIC HEATING; ELECTRIC LIGHT SOURCES NOT OTHERWISE PROVIDED FOR; CIRCUIT ARRANGEMENTS FOR ELECTRIC LIGHT SOURCES, IN GENERAL
- H05B33/00—Electroluminescent light sources
- H05B33/12—Light sources with substantially two-dimensional radiating surfaces
- H05B33/20—Light sources with substantially two-dimensional radiating surfaces characterised by the chemical or physical composition or the arrangement of the material in which the electroluminescent material is embedded
-
- H—ELECTRICITY
- H10—SEMICONDUCTOR DEVICES; ELECTRIC SOLID-STATE DEVICES NOT OTHERWISE PROVIDED FOR
- H10K—ORGANIC ELECTRIC SOLID-STATE DEVICES
- H10K50/00—Organic light-emitting devices
- H10K50/10—OLEDs or polymer light-emitting diodes [PLED]
- H10K50/17—Carrier injection layers
-
- H—ELECTRICITY
- H10—SEMICONDUCTOR DEVICES; ELECTRIC SOLID-STATE DEVICES NOT OTHERWISE PROVIDED FOR
- H10K—ORGANIC ELECTRIC SOLID-STATE DEVICES
- H10K71/00—Manufacture or treatment specially adapted for the organic devices covered by this subclass
- H10K71/10—Deposition of organic active material
- H10K71/12—Deposition of organic active material using liquid deposition, e.g. spin coating
- H10K71/13—Deposition of organic active material using liquid deposition, e.g. spin coating using printing techniques, e.g. ink-jet printing or screen printing
- H10K71/135—Deposition of organic active material using liquid deposition, e.g. spin coating using printing techniques, e.g. ink-jet printing or screen printing using ink-jet printing
Landscapes
- Physics & Mathematics (AREA)
- Optics & Photonics (AREA)
- Engineering & Computer Science (AREA)
- Microelectronics & Electronic Packaging (AREA)
- Manufacturing & Machinery (AREA)
- Electroluminescent Light Sources (AREA)
Abstract
【課題】クロストークを防止すると共に、輝度ムラを防止した発光装置、発光装置の製造方法、露光装置、及び電子機器を提供する。
【解決手段】本発明は、基板10上に、画素電極111と、画素電極111に対向する陰極12と、画素電極111と陰極12との間に基板10側から積層される正孔注入層110a及び発光層110bとを備える発光装置100であって、隣接する画素電極111,111間には、画素電極111を区画すると共に、画素電極111の周縁部と平面視で重なるようにして正孔注入層形成材料に対し撥液性を有する絶縁層112aが設けられ、絶縁層112aで区画された画素電極111上には正孔注入層110aが設けられ、正孔注入層110aの上面の高さが、絶縁層112aの周縁部上に設けられた絶縁層112aの上面の高さと略同じである。
【選択図】図3
【解決手段】本発明は、基板10上に、画素電極111と、画素電極111に対向する陰極12と、画素電極111と陰極12との間に基板10側から積層される正孔注入層110a及び発光層110bとを備える発光装置100であって、隣接する画素電極111,111間には、画素電極111を区画すると共に、画素電極111の周縁部と平面視で重なるようにして正孔注入層形成材料に対し撥液性を有する絶縁層112aが設けられ、絶縁層112aで区画された画素電極111上には正孔注入層110aが設けられ、正孔注入層110aの上面の高さが、絶縁層112aの周縁部上に設けられた絶縁層112aの上面の高さと略同じである。
【選択図】図3
Description
本発明は、発光装置、発光装置の製造方法、露光装置、及び電子機器に関する。
電界発光を利用した有機EL装置は、自己発光のため視認性が高く、薄くて軽い、かつ耐衝撃性に優れるなどの優れた特徴を有することから近年広く注目されている。
この有機EL装置は、スイッチング素子である薄膜トランジスタが形成されたガラス基板等の透明基板上に、ITO、酸化スズ(SnO2)等の透明導電材料からなる陽極と、ポリチオフェン誘導体のドーピング体からなる正孔注入層と、ポリフルオレン等の発光物質からなる発光層と、Ca等の低仕事関数を有する金属材料や金属化合物からなる陰極とを順次積層されて構成されている。
この有機EL装置は、スイッチング素子である薄膜トランジスタが形成されたガラス基板等の透明基板上に、ITO、酸化スズ(SnO2)等の透明導電材料からなる陽極と、ポリチオフェン誘導体のドーピング体からなる正孔注入層と、ポリフルオレン等の発光物質からなる発光層と、Ca等の低仕事関数を有する金属材料や金属化合物からなる陰極とを順次積層されて構成されている。
これらの有機薄膜の材料として低分子系の材料を用いる場合には、蒸着法による成膜が一般的である。しかし、蒸着法では大面積に均一に成膜するのが困難であった。また高額な真空装置が必要となり、材料使用効率が極めて低い為、低コスト化を図ることが困難であった。
そこで、有機薄膜の材料として高分子材料を用い、スピンコート法、ディップ法、インクジェット法等の液相法により有機薄膜を形成する方法が広く利用されている。以下、(1)スピンコート法、(2)インクジェット法により有機薄膜(正孔注入層及び発光層)を形成する方法について説明する。
そこで、有機薄膜の材料として高分子材料を用い、スピンコート法、ディップ法、インクジェット法等の液相法により有機薄膜を形成する方法が広く利用されている。以下、(1)スピンコート法、(2)インクジェット法により有機薄膜(正孔注入層及び発光層)を形成する方法について説明する。
(1)スピンコート法
スピンコート法により正孔注入層及び発光層を形成する場合、まず、基板上に複数の画素電極を形成した後、画素電極のそれぞれを区画するようにしてSiO2等の材料からなる無機バンク層を形成する。次に、無機バンク層を含む画素電極上の全面に、スピンコート法により正孔注入層を形成した後、この正孔注入層上に発光層を積層する(特許文献1、2参照)。
スピンコート法により正孔注入層及び発光層を形成する場合、まず、基板上に複数の画素電極を形成した後、画素電極のそれぞれを区画するようにしてSiO2等の材料からなる無機バンク層を形成する。次に、無機バンク層を含む画素電極上の全面に、スピンコート法により正孔注入層を形成した後、この正孔注入層上に発光層を積層する(特許文献1、2参照)。
(2)インクジェット法
インクジェット法により正孔注入層及び発光層を形成する場合、まず、画素電極を区画するようにして、SiO2、TiO2等の無機材料からなる無機物バンク層を形成する。
そして、この無機物バンク層上にアクリル樹脂、ポリイミド樹脂からなる有機物バンク層を形成する。その後、無機物バンク層の側壁面及び画素電極の電極面に親液処理を施し、有機物バンク層の内壁面及び上面に撥液処理を施す。
このように形成された無機物バンク層及び有機物バンク層に区画された領域内に、正孔注入層を形成し、この正孔注入層上に発光層を積層する。(特許文献2〜5参照)。
特開2003−45665号公報
特開2001−18441号公報
特開2003−19826号公報
特許第3328297号公報
特開2003−282244号公報
インクジェット法により正孔注入層及び発光層を形成する場合、まず、画素電極を区画するようにして、SiO2、TiO2等の無機材料からなる無機物バンク層を形成する。
そして、この無機物バンク層上にアクリル樹脂、ポリイミド樹脂からなる有機物バンク層を形成する。その後、無機物バンク層の側壁面及び画素電極の電極面に親液処理を施し、有機物バンク層の内壁面及び上面に撥液処理を施す。
このように形成された無機物バンク層及び有機物バンク層に区画された領域内に、正孔注入層を形成し、この正孔注入層上に発光層を積層する。(特許文献2〜5参照)。
しかしながら、上記(1)スピンコート法、(2)インクジェット法により正孔注入層及び発光層を形成する場合には以下の問題があった。
(1)スピンコート法の場合、正孔注入層の材料にはPEDOT/PSS(H.CStrack社製バイトロンP)のような抵抗の低い材料が用いられている。ここで、上述したように、正孔注入層は基板全面に形成されるため、正孔注入層の正孔は無機バンク層によって区画された発光領域以外の画素隣接間の正孔注入層にも流れてしまい、いわゆるクロストークが発生してしまう。これにより、画素隣接間の無機バンク層上の正孔注入層が電極と同様に機能する場合があり、発光領域以外の領域で発光し、発光形状輪郭ボケといった品質低下を起こす問題があった。
また、スピンコート法により、正孔注入層等を基板上の全面に形成する場合には、実装部や陰極取り出し領域での剥離除去工程が必要であるという問題があった。
また、スピンコート法により、正孔注入層等を基板上の全面に形成する場合には、実装部や陰極取り出し領域での剥離除去工程が必要であるという問題があった。
(2)インクジェット法の場合、有機物バンク層は、フォトリソグラフィー処理による精度を考慮して、無機物バンク層の周縁からある程度の間隔を空けて無機物バンク層上に形成する。従って、無機物バンク層と有機物バンク層との積層部分は段差となる。この無機物バンク層は親液性となっている。そのため、正孔注入層形成材料を無機物バンク層及び有機物バンク層に区画された領域に吐出すると、この段差となる無機物バンク層上にも正孔注入層形成材料が配置される。そして、この正孔注入層上には発光層が形成される。このとき、この段差となる無機物バンク層上に形成される正孔注入層および発光層の膜厚と、各画素領域に形成される正孔注入層および発光層の膜厚とは異なってしまい、バンクで囲まれた領域での発光輝度が異なってしまうという問題があった。
また、正孔注入層上に発光材料を吐出した後には、乾燥処理を行い、発光材料中の溶剤を蒸発させることにより発光層を形成する。しかし、発光材料の乾燥が開始する点(ピニングポイント)は有機物バンク層の側壁面において毎回同じ位置ではなく、乾燥が開始する位置がばらつく傾向がある。この有機物バンク層の側壁面のピニングポイントのばらつきにより、発光層の中央部と周縁部とで膜厚が異なってしまう場合があり均一な膜厚の発光層を形成することができなかった。これにより、画素領域内の中央部と周縁部とで発光輝度が異なると共に、発光寿命が異なってしまうという問題があった。
本発明は、上記課題に鑑みてなされたものであり、その目的は、クロストークを防止すると共に、各画素の機能層の膜厚を均一かつ平坦に形成し、発光輝度及び発光寿命の均一化を図った発光装置、発光装置の製造方法、露光装置、及び電子機器を提供することにある。
本発明は、上記課題を解決するために、基板上に、画素電極と、前記画素電極に対向する陰極と、前記画素電極と前記陰極との間に前記基板側から積層される正孔注入層及び発光層とを備える発光装置であって、隣接する前記画素電極間には、前記画素電極を区画すると共に、前記画素電極の周縁部と平面視で重なるようにして正孔注入層材料に対し撥液性を有する絶縁層が設けられ、前記絶縁層に区画された前記画素電極上には前記正孔注入層が設けられ、前記正孔注入層の上面の高さが、前記絶縁層の周縁部上に設けられる前記絶縁層の上面の高さと略同じであることを特徴とする。
この構成によれば、画素電極の周縁部上に設けられる絶縁層は正孔注入層材料に対して撥液性を有するため、絶縁層上に吐出される正孔注入層形成材料ははじかれ、絶縁層に区画された開口部内に流れ込む。また、正孔注入層の上面の高さと絶縁層の上面の高さとは略同じであり、乾燥後、正孔注入層形成材料が絶縁層上に漏れ出さないように制御されている。これは、正孔注入層形成材料の吐出量等の吐出条件を制御することにより可能である。そのため、正孔注入層は、絶縁層によって区画された開口部内の画素電極上にのみ配置され、開口部外側(隣接する画素間)の絶縁層上に配置されることはない。
従って、各画素電極に設けられた正孔注入層のホールが隣接する画素間に流れる、いわゆるクロストークの発生を抑制することができる。よって、電流が隣接する画素間に滲みることによる発光形状輪郭ボケといった表示品質の低下を防止することができる。
従って、各画素電極に設けられた正孔注入層のホールが隣接する画素間に流れる、いわゆるクロストークの発生を抑制することができる。よって、電流が隣接する画素間に滲みることによる発光形状輪郭ボケといった表示品質の低下を防止することができる。
また本発明の発光装置は、前記絶縁層及び前記正孔注入層上の全面に前記発光層が設けられたことも好ましい。
この構成によれば、絶縁層の上面と正孔注入層の上面とは略同じ高さであるため、絶縁層の上面と正孔注入層の上面は連続した平坦面となる。従って、絶縁層及び正孔注入層上に形成される発光層は膜厚の均一かつ平坦な膜となり、輝度ムラのない、均一な発光を得ることができる。
本発明は、基板上に、画素電極と、前記画素電極に対向する陰極と、前記画素電極と前記陰極との間に前記基板側から積層される正孔注入層及び発光層とを備える発光装置の製造方法であって、隣接する前記画素電極間に、前記画素電極を区画すると共に、前記画素電極の周縁部と平面視で重なるようにして正孔注入層材料に対し撥液性を有する又は撥液処理が施された絶縁層を形成する絶縁層形成工程と、前記絶縁層に区画された前記画素電極上に、前記正孔注入層の上面の高さが前記絶縁層の上面の高さと略同じとなるようにして前記正孔注入層を形成する正孔注入層形成工程と、前記絶縁層及び前記画素電極上の全面に発光層を形成する発光層形成工程と、を有することを特徴とする。
また前記絶縁層形成工程において、前記絶縁層を、窒化ケイ素と炭素とを含む材料を用いて前記絶縁層を形成した後、フッ化系化合物ガスの雰囲気中において前記絶縁層にプラズマ処理を施すことも好ましい。
また前記絶縁層形成工程において、前記絶縁層を酸化ケイ素(SiO2)、窒化ケイ素(SiN)又は酸化チタン(TiO2)により形成した後、前記絶縁層表面にシラン系カップリング処理を施すことも好ましい。
また前記絶縁層形成工程において、前記絶縁層を酸化ケイ素(SiO2)、窒化ケイ素(SiN)又は酸化チタン(TiO2)により形成した後、前記絶縁層表面にシラン系カップリング処理を施すことも好ましい。
この方法によれば、画素電極の周縁部上に設けられる絶縁層は正孔注入層材料に対して撥液性を有するため、絶縁層上に吐出される正孔注入層形成材料ははじかれ、絶縁層に区画された開口部内に流れ込む。また、正孔注入層の上面と絶縁層の上面の高さとを略同じに形成するため、正孔注入層形成材料が絶縁層上に漏れ出さないようになっている。これは、正孔注入層形成材料の吐出量等の吐出条件を制御することにより可能である。そのため、正孔注入層は、絶縁層によって区画された開口部から溢れることがなく、開口部外側の絶縁層上に配置されることはない。
従って、各画素電極に設けられた正孔注入層のホールが隣接する画素間に流れる、いわゆるクロストークの発生を抑制することができる。よって、電流が隣接する画素間に滲みることによる発光形状輪郭ボケといった表示品質の低下を防止することができる。
従って、各画素電極に設けられた正孔注入層のホールが隣接する画素間に流れる、いわゆるクロストークの発生を抑制することができる。よって、電流が隣接する画素間に滲みることによる発光形状輪郭ボケといった表示品質の低下を防止することができる。
また本発明の発光装置の製造方法は、前記正孔注入層形成工程において、前記正孔注入層を液滴吐出法により形成し、前記発光層形成工程において、前記発光層を液相法により形成することも好ましい
本発明では、絶縁層が撥液性を有する又は撥液処理が施されるため、液滴吐出法を採用した場合でも、絶縁層に区画された開口部の外側に正孔注入層形成材料を漏れ出させることなく、選択的に正孔注入層を形成することができる。従って、液滴吐出法によれば、材料の無駄を抑制することができ、低コストかつ高精度に正孔注入層を形成することができる。
また、本発明によれば、絶縁層及び正孔注入層上は連続した平坦面であるため、簡便なスピンコート法により発光層を形成することができる。これにより、膜厚の均一かつ平坦な発光層を容易に形成することができる。
また、本発明によれば、絶縁層及び正孔注入層上は連続した平坦面であるため、簡便なスピンコート法により発光層を形成することができる。これにより、膜厚の均一かつ平坦な発光層を容易に形成することができる。
また本発明の露光装置は、上記発光装置と、回動可能な感光体ドラムとを備え、前記発光装置から出射される光により前記感光体ドラムを露光することを特徴とする。
また本発明の電子機器は、上記発光装置を備えることを特徴とする。
この構成によれば、上述した発光装置を備えるため、輝度ムラのない高品質の露光装置及び電子機器を提供することができる。
また本発明の電子機器は、上記発光装置を備えることを特徴とする。
この構成によれば、上述した発光装置を備えるため、輝度ムラのない高品質の露光装置及び電子機器を提供することができる。
本発明は、上記課題を解決するために、基板上に、画素電極と、前記画素電極に対向する陰極と、前記画素電極と前記陰極との間に前記基板側から積層される正孔注入層及び発光層とを備える発光装置であって、隣接する前記画素電極間に、前記画素電極を区画すると共に、前記画素電極の周縁部と平面視で重なるように設けられた前記正孔注入層に対し撥液性を有する第1隔壁と、前記第1隔壁上に前記画素電極を区画するように設けられた第2隔壁とを備え、前記第1隔壁に区画された前記画素電極上には前記正孔注入層が設けられ、前記正孔注入層の上面の高さが、前記画素電極の周縁部上に設けられた前記第1隔壁の上面の高さと略同じであることを特徴とする。
また本発明の発光装置は、前記発光層が前記第1隔壁及び前記正孔注入層上の全面に設けられたことも好ましい。
この構成によれば、画素電極の周縁部上に設けられる第1隔壁は正孔注入層に対して撥液性を有するため、第1隔壁上に吐出される正孔注入層形成材料ははじかれ、第1隔壁に区画された開口部内に流れ込む。また、正孔注入層の上面の高さと第1隔壁の上面の高さとは略同じであり、正孔注入層形成材料が第1隔壁上に漏れ出さないように制御されている。これは、正孔注入層形成材料の吐出量等の吐出条件を制御することにより可能である。そのため、正孔注入層が、第1隔壁によって区画された開口部から外側に配置されることはない。このように、第1隔壁の上面と正孔注入層の上面とは略同じ高さであるため、均一かつ平坦な正孔注入層及び発光層を形成することができる。さらに、正孔注入層及び発光層の周縁部と中央部とで膜厚を均一にすることができるため、発光寿命ムラのなく、発光寿命の均一化を図ることができる。
本発明は、基板上に、画素電極と、前記画素電極に対向する陰極と、前記画素電極と前記陰極との間に前記基板側から積層される正孔注入層及び発光層とを備える発光装置の製造方法であって、隣接する前記画素電極間に、前記画素電極を区画すると共に、前記画素電極の周縁部と平面視で重なるようにして正孔注入層材料に対し撥液性を有する第1隔壁を形成する第1隔壁形成工程と、前記第1隔壁上に前記画素電極を区画するようにして第2隔壁を形成する第2隔壁形成工程と、前記第1隔壁及び前記第2隔壁に区画された前記画素電極上に、前記正孔注入層の上面の高さが、前記画素電極の周縁部上に設けられた前記第1隔壁の上面の高さと略同じとなるようにして前記正孔注入層を形成する正孔注入層形成工程と、前記第1隔壁及び前記第2隔壁に区画された前記正孔注入層上の全面に発光層を形成する発光層形成工程と、を有することを特徴とする。
また発光装置の製造方法は、前記第1隔壁形成工程において、窒化ケイ素と炭素とを含む材料を用いて前記第1隔壁を形成した後、フッ化系化合物ガスの雰囲気中において前記第1隔壁にプラズマ処理し、前記第1隔壁に撥液処理を施すことも好ましい。
また発光装置の製造方法は、前記第1隔壁形成工程において、前記第1隔壁を酸化ケイ素、窒化ケイ素、又は酸化チタンにより形成した後、前記第2隔壁形成工程後、シラン系カップリング処理を施し、前記第1隔壁表面に撥液処理を施すことも好ましい。
また発光装置の製造方法は、前記第2隔壁形成後、フッ化系化合物ガスの雰囲気中においてプラズマ処理し、前記第2隔壁に撥液処理を施すことも好ましい。
この方法によれば、画素電極の周縁部上に設けられる第1隔壁は正孔注入層材料に対して撥液性を有するため、第1隔壁上に吐出される正孔注入層形成材料ははじかれ、第1隔壁に区画された開口部内に流れ込む。また、正孔注入層の上面の高さと第1隔壁の上面の高さとは略同じであり、正孔注入層形成材料が第1隔壁上に漏れ出さないように制御されている。これは、正孔注入層形成材料の吐出量等の吐出条件を制御することにより可能である。そのため、正孔注入層が、第1隔壁によって区画された開口部から外側に配置されることはない。このように、第1隔壁の上面と正孔注入層の上面とは略同じ高さであるため、均一かつ平坦な正孔注入層及び発光層を形成することができる。さらに、正孔注入層及び発光層の周縁部と中央部とで膜厚を均一にすることができるため、発光寿命ムラのなく、発光寿命の均一化を図ることができる。
また本発明の発光装置の製造方法は、前記正孔注入層形成工程において、前記正孔注入層を液滴吐出法により形成し、前記発光層形成工程において、前記発光層を液滴吐出法により形成することも好ましい。
本発明によれば、液滴吐出法により正孔注入層及び発光層を選択的に形成することができる。従って、材料の無駄を抑制することができ、低コストかつ高精度に正孔注入層及び発光層を形成することができる。
本発明は、上記課題を解決するために、基板上に、画素電極と、前記画素電極に対向する陰極と、前記画素電極と前記陰極との間に前記基板側から積層される正孔注入層及び発光層とを備える発光装置であって、隣接する前記画素電極間に、前記画素電極を区画すると共に、前記画素電極の周縁部と平面視で重なるように設けられた第1隔壁と、
前記第1隔壁上に、前記画素電極を区画するように設けられた第2隔壁とを備え、前記第2隔壁の側面には、撥液性を有する第1領域と、前記第1領域よりも撥液性が相対的に低い第2領域とが設けられたことを特徴とする。
前記第1隔壁上に、前記画素電極を区画するように設けられた第2隔壁とを備え、前記第2隔壁の側面には、撥液性を有する第1領域と、前記第1領域よりも撥液性が相対的に低い第2領域とが設けられたことを特徴とする。
この構成によれば、第2隔壁の側面の第2領域は、第1領域よりも撥液性が相対的に低く、吐出される発光層形成材料が第1領域よりも濡れ易くなっている。そのため、この第2領域は、発光層形成材料の乾燥、析出が開始するピニングポイントとなる。従って、第2隔壁の第2領域の位置を調節することにより、乾燥、析出を開始するピニングポイントを制御(固定)することが可能となる。これにより、発光層形成材料の吐出量等を制御することで、乾燥後の膜厚を制御することができ、より均一かつ平坦な発光層を形成することができる。
ここで、ピニング現象について説明する。
一般に基板上に配置された液滴は周縁部(エッジ)において乾燥の進行が速い。従って、液滴が溶媒を含む場合、この液滴の乾燥過程においては、液滴の周縁部において溶質等の濃度がまず飽和濃度に達し、析出し始める。一方、液滴内部には、液滴周縁部で蒸発により失われた液体を補給するため、液滴中央部から周縁部に向かう液体の流れが生じる。この結果、液滴中央部の溶媒は、その流れに従って周縁部に運ばれ、液滴の乾燥に伴って周縁部からの析出を促進する。このように、液滴に含まれていた溶媒が、基板上に配置された液滴の形状の外周に沿って析出する現象を「ピニング」と呼ぶ。
本発明では、第2隔壁に区画される領域内に吐出される液滴(発光層形成材料)のうち、析出が開始する液滴の外縁と第2隔壁の側面との接触する部分を「ピニングポイント」と呼ぶ。
ここで、ピニング現象について説明する。
一般に基板上に配置された液滴は周縁部(エッジ)において乾燥の進行が速い。従って、液滴が溶媒を含む場合、この液滴の乾燥過程においては、液滴の周縁部において溶質等の濃度がまず飽和濃度に達し、析出し始める。一方、液滴内部には、液滴周縁部で蒸発により失われた液体を補給するため、液滴中央部から周縁部に向かう液体の流れが生じる。この結果、液滴中央部の溶媒は、その流れに従って周縁部に運ばれ、液滴の乾燥に伴って周縁部からの析出を促進する。このように、液滴に含まれていた溶媒が、基板上に配置された液滴の形状の外周に沿って析出する現象を「ピニング」と呼ぶ。
本発明では、第2隔壁に区画される領域内に吐出される液滴(発光層形成材料)のうち、析出が開始する液滴の外縁と第2隔壁の側面との接触する部分を「ピニングポイント」と呼ぶ。
また本発明の発光装置は、前記第2隔壁が、第1有機物層、絶縁層、及び第2有機物層が前記基板側からこの順に積層されて構成され、前記絶縁層の表面が、前記第1有機物層及び前記第2有機物層の表面よりも相対的に撥液性が低いことも好ましい。
この構成によれば、例えばフッ化系化合物を用いたプラズマ処理により、容易に、絶縁層の表面は、第1有機物層及び第2有機物層の表面よりも撥液性が低く、吐出される発光層形成材料が第1有機物層等の表面よりも濡れ易い状態を形成することができる。そのため、この絶縁層の表面がピニングポイントとなる。従って、乾燥を開始する位置を制御(固定)することが可能となり、乾燥後の膜厚を制御することができる。これにより、発光層形成材料の吐出量等を制御することで、目的とする膜厚に制御することができ、平坦な発光層を形成することができる。
また本発明の発光装置は、基板上に、画素電極と、前記画素電極に対向する陰極と、前記画素電極と前記陰極との間に前記基板側から積層される正孔注入層及び発光層とを備える発光装置であって、隣接する前記画素電極間に、前記画素電極を区画すると共に、前記画素電極の周縁部と平面視で重なるように設けられた第1隔壁と、前記第1隔壁上に前記画素電極を区画するように設けられた第2隔壁とを備え、前記第2隔壁の側面の少なくとも一部には屈曲部が設けられたことも好ましい。
また前記第2隔壁が、上隔壁部と、前記上隔壁部の側面よりも外側に突出した側面を有する下隔壁部とからなり、前記突出した下隔壁部の上面と、前記上隔壁の側面との境界に前記屈曲部が設けられたことも好ましい。
この構成によれば、第2隔壁の側面に設けられた屈曲部が発光層形成材料の乾燥、析出が開始するピニングポイントとなる。第2隔壁に区画された領域内に吐出される発光層形成材料は、この屈曲部を基点として乾燥を開始する。従って、屈曲部の位置を調節することで、乾燥を開始するピニングポイントを制御することが可能となる。なお、第2隔壁の側面が平面又は湾曲している場合にはピニングポイントとはならない。
また本発明の発光装置は、前記第1隔壁が正孔注入層材料に対して撥液性を有するものであり、前記正孔注入層の上面の高さが、前記画素電極の周縁部上に設けられた前記第1隔壁の上面の高さと略同じであることも好ましい。
この構成によれば、画素電極の周縁部上に設けられる第1隔壁は正孔注入層材料に対して撥液性を有するため、第1隔壁上に吐出される正孔注入層形成材料ははじかれ、第1隔壁に区画された領域内に流れ込む。また、正孔注入層の上面の高さと第1隔壁の上面の高さとは略同じであり、正孔注入層形成材料が第1隔壁上に漏れ出さないように制御されている。これは、正孔注入層形成材料の吐出量等の吐出条件を制御することにより可能である。そのため、正孔注入層は、第1隔壁によって区画された領域内の画素電極上にのみ配置され、第1隔壁上に配置されることはない。これにより、均一かつ平坦な正孔注入層を形成することができる。また、この正孔注入層上に発光層を形成することができるため、均一かつ平坦な発光層を形成することができる。さらに、正孔注入層及び発光層の膜厚を中央部と周縁部とで均一にすることができ、輝度ムラを防止することができる。
本発明は、基板上に、画素電極と、前記画素電極に対向する陰極と、前記画素電極と前記陰極との間に前記基板側から積層される正孔注入層及び発光層とを備える発光装置の製造方法であって、隣接する前記画素電極間に、前記画素電極を区画すると共に、前記画素電極の周縁部と平面視で重なるようにして第1隔壁を形成する第1隔壁形成工程と、前記第1隔壁上に前記画素電極を区画するようにして第2隔壁を形成する第2隔壁形成工程と、前記第1隔壁及び前記第2隔壁に区画された前記画素電極上に前記正孔注入層を形成する正孔注入層形成工程と、前記第1隔壁及び前記第2隔壁に区画された前記正孔注入層上に前記発光層を形成する発光層形成工程とを有し、前記第2隔壁形成工程において、前記第1隔壁上に第1有機物層、絶縁層、及び第2有機物層を前記基板側から順に積層し、所定形状にパターニングして前記第2隔壁を形成することを特徴とする。
また前記第2隔壁を形成した後、酸素、及びフッ化系化合物ガスのプラズマ処理により、前記絶縁層表面に親水性を、前記第1有機物層及び第2有機物層に撥液性を付与することも好ましい。
また前記第2隔壁を形成した後、酸素、及びフッ化系化合物ガスのプラズマ処理により、前記絶縁層表面に親水性を、前記第1有機物層及び第2有機物層に撥液性を付与することも好ましい。
この方法によれば、第1有機物層と第2有機物層との間に親液性を有する絶縁層が設けられるため、吐出される発光層形成材料が濡れ易くなり、この絶縁層表面がピニングポイントとなる。第2隔壁に区画される領域内に吐出される発光層形成材料は、このピニングポイントを基点として乾燥、析出を開始する。従って、絶縁層の形成する位置を調節することで、乾燥を開始するピニングポイントの位置を制御(固定)することが可能となる。
これにより、発光層形成材料の吐出量等を制御することで、乾燥後の膜厚を制御することができ、より均一かつ平坦な発光層を形成することができる。
これにより、発光層形成材料の吐出量等を制御することで、乾燥後の膜厚を制御することができ、より均一かつ平坦な発光層を形成することができる。
また本発明は、基板上に、画素電極と、前記画素電極に対向する陰極と、前記画素電極と前記陰極との間に前記基板側から積層される正孔注入層及び発光層とを備える発光装置の製造方法であって、隣接する前記画素電極間に、前記画素電極を区画すると共に、前記画素電極の周縁部と平面視で重なるようにして第1隔壁を形成する第1隔壁形成工程と、前記第1隔壁上に前記画素電極を区画するようにして第2隔壁を形成する第2隔壁形成工程と、前記第1隔壁及び前記第2隔壁に区画された前記画素電極上に前記正孔注入層を形成する正孔注入層形成工程と、前記第1隔壁及び前記第2隔壁に区画された前記正孔注入層上に発光層を形成する発光層形成工程とを有し、前記第2隔壁形成工程において、前記第2隔壁の側面の少なくとも一部に屈曲部を形成することを特徴とする。
また前記第2隔壁を有機物で形成した後、酸素、及びフッ化系化合物ガスのプラズマ処理により、前記有機物層に撥液性を付与することも好ましい。
また前記第2隔壁を有機物で形成した後、酸素、及びフッ化系化合物ガスのプラズマ処理により、前記有機物層に撥液性を付与することも好ましい。
この方法によれば、第2隔壁の側面に屈曲部を形成するため、この屈曲部がピニングポイントとなる。第2隔壁に区画された領域内に吐出される発光層形成材料は、この屈曲部を基点として乾燥、析出を開始する。従って、第2隔壁の側面の屈曲部の位置を調節することで、乾燥、析出を開始するピニングポイントを制御することが可能となる。これにより、発光層形成材料の吐出量等を制御することで、乾燥後の膜厚を制御することができ、より均一かつ平坦な発光層を形成することができる。
また本発明の発光装置の製造方法は、前記第1隔壁形成工程において、窒化ケイ素と炭素とを含む材料を用いて前記第1隔壁を形成し、前記第2隔壁形成工程において、前記第2隔壁を形成した後、フッ化系化合物ガスにより前記第1隔壁にプラズマ処理を施して前記第1隔壁に撥液性を付与し、前記正孔注入層形成工程において、前記第1隔壁に区画された前記画素電極上に、前記正孔注入層の上面の高さが、前記画素電極の周縁部上に設けられた前記第1隔壁の上面の高さと略同じとなるようにして前記正孔注入層を形成することも好ましい。
また本発明の発光装置の製造方法は、前記第1隔壁形成工程において、前記第1隔壁を酸化ケイ素又は酸化チタンにより形成し、前記第2隔壁形成工程において、前記第2隔壁を形成しプラズマ処理をした後、前記第1隔壁にシラン系カップリング処理を施して前記第1隔壁に撥液性を付与し、前記正孔注入層形成工程において、前記第1隔壁に区画された前記画素電極上に、前記正孔注入層の上面の高さが、前記画素電極の周縁部上に設けられた前記第1隔壁の上面の高さと略同じとなるようにして前記正孔注入層を形成することも好ましい。
また本発明の発光装置の製造方法は、前記正孔注入層形成工程において、前記正孔注入層を液滴吐出法により形成し、前記発光層形成工程において、前記発光層を液滴吐出法により形成することも好ましい。
本発明によれば、液滴吐出法により正孔注入層及び発光層を選択的に形成することができる。従って、材料の無駄を抑制することができ、低コストかつ高精度に正孔注入層及び発光層を形成することができる。
[第1の実施の形態]
以下、本発明の実施形態について図面を参照して説明する。
なお、以下の各図面において、各層や各部材を図面上で認識可能な程度の大きさとするため、各層や各部材に縮尺は実際のものとは異なるように表している。
また、本実施形態の有機EL装置は、単一の色を発光するモノクロ表示を採用し、発光層110bで発光した光を基板側から取り出すボトムエミッション方式である。
以下、本発明の実施形態について図面を参照して説明する。
なお、以下の各図面において、各層や各部材を図面上で認識可能な程度の大きさとするため、各層や各部材に縮尺は実際のものとは異なるように表している。
また、本実施形態の有機EL装置は、単一の色を発光するモノクロ表示を採用し、発光層110bで発光した光を基板側から取り出すボトムエミッション方式である。
(有機EL装置)
図1は、本実施形態の発光装置である有機EL装置の配線構造の等価回路図を示し、図2(a)は有機EL装置の概略構成を示す平面図であり、(b)は(a)の有機EL装置のA−B線に沿った断面図である。
図1は、本実施形態の発光装置である有機EL装置の配線構造の等価回路図を示し、図2(a)は有機EL装置の概略構成を示す平面図であり、(b)は(a)の有機EL装置のA−B線に沿った断面図である。
図1に示すように、本実施形態の有機EL装置1(発光装置)は、複数の走査線101と、走査線101に対して交差する方向に延びる複数の信号線102と、信号線102に並列に延びる複数の電源線103とがそれぞれ配線された回路構成を有すると共に、走査線101及び信号線102の各交点付近に、画素領域Aが設けられている。
信号線102には、シフトレジスタ、レベルシフタ、ビデオライン及びアナログスイッチ等を備えるデータ側駆動回路104が接続されている。また、走査線101には、シフトレジスタ及びレベルシフタ等を備える走査側駆動回路105が接続されている。更に、画素領域Aの各々には、走査線101を介して走査信号がゲート電極に供給されるスイッチング用の薄膜トランジスタ112と、このスイッチング用の薄膜トランジスタ112を介して信号線102から共有される画素信号を保持する保持容量(cap)と、該保持容量(cap)によって保持された画素信号がゲート電極に供給される駆動用の薄膜トランジスタ123と、この駆動用の薄膜トランジスタ123を介して電源線103に電気的に接続したときに当該電源線103から駆動電流が与えられる画素電極111と、この画素電極111と陰極(対向電極)12との間に挟み込まれた機能層110とが設けられている。先の電極111と陰極12と機能層110により、発光素子例えば有機EL素子が構成されている。
かかる構成によれば、走査線101が駆動されてスイッチング用の薄膜トランジスタ112がオンになると、そのときの信号線102の電位が保持容量capに保持され、該保持容量capに状態に応じて、駆動用の薄膜トランジスタ123のオン・オフ状態が決まる。そして、駆動用の薄膜トランジスタ123のチャネルを介して、電源線103から画素電極111に電流が流れ、更に機能層110を介して陰極12に電流が流れる。機能層110は、これを流れる電流量に応じて発光する。
図2(a)、(b)に示すように、本実施形態の有機EL装置1は、ガラス等からなる透明な基板10と、基板10上にマトリックス状に配置された発光素子が具備された発光素子部11を具備している。なお、発光素子は陽極、機能層、陰極により構成されたものであり、機能層とは、正孔注入層、発光層、電子注入/輸送層等である。基板10は、例えばガラス等の透明基板であり、基板10の中央に位置する表示領域2aと、基板10の周縁に位置して表示領域2aの外側に非表示領域2bとに区画されている。表示領域2aは、マトリックス状に配置された発光素子によって形成される領域であり、有効表示領域とも言う。また、表示領域の外側に非表示領域2bが形成されている。そして、非表示領域2bには、表示領域2aに隣接するダミー表示領域2dが形成されている。また、図2(b)に示すように、発光素子部11と基板10の間には回路素子部14が備えられ、この回路素子部14に前述の走査線、信号線、保持容量、スイッチング用の薄膜トランジスタ、駆動用の薄膜トランジスタ123等が備えられている。また、陰極12は、その一端が基板10上に形成された陰極用配線12aに接続しており、この配線の一端部12bがフレキシブル基板5上の配線5aに接続されている。また、配線5aは、フレキシブル基板5上に備えられた駆動IC6(駆動回路)に接続されている。
また、図2(a)及び図2(b)に示すように、回路素子部14の非表示領域2bには、前述の電源線103(103R、103G、103B)が配置されている。また、図2(a)に記載の表示領域2aの両側には、前述の走査側駆動回路105、105が配置されている。この走査側駆動回路105、105はダミー表示領域2dの下側の回路素子部14内に設けられている。更に回路素子部14内には、走査側駆動回路105、105に接続される駆動回路用制御信号配線105aと駆動回路用電源配線105bとが設けられている。更に図2(a)に記載の表示領域2aの上側(図面において上側、駆動IC6と反対側)には検査回路106が配置されている。この検査回路106により、製造途中や出荷時の有機EL装置の品質、欠陥の検査を行うことができる。
また、図2(b)に示すように、発光素子部11は、複数の画素電極111…上の各々に積層された機能層110と、各画素電極111及び機能層110の間の平面領域に備えられて各機能層110を平面的に区画する無機物バンク層112aとを主体として構成されている。機能層110上には陰極12が配置されている。これら画素電極111、機能層110及び陰極12によって発光素子(例えば有機EL素子)が構成されている。ここで、画素電極111は、例えばITOにより形成されてなり、平面視略矩形にパターニングされて形成されている。この画素電極111の厚さは、例えば50〜200nmの範囲が好ましく、特に150nm程度がよい。隣接する画素電極111…の間に無機物バンク層112a(絶縁層)が備えられている。
また図2(b)に示すように、発光素子部11上には封止部3が備えられている。この封止部3は、陰極12上に塗布された熱硬化樹脂あるいは紫外線硬化樹脂等からなる封止樹脂3aと、封止樹脂3a上に配置された封止基板3bとからなる。なお、封止樹脂3aとしては、硬化時にガス、溶媒等が発生しないものが好ましい。この封止部3は、少なくとも陰極12を覆うように形成されており、陰極12及び発光層110bに対する水又は酸素の侵入を防いで、陰極12及び発光層110bの酸化を防止する。なお、封止基板3bは、封止樹脂3aに接合されて封止樹脂3aを保護するものであり、ガラス板、金属板若しくは樹脂板のいずれかであることが好ましい。また後述するように、カン封止タイプのものも好ましく、凹んだ部分にゲッター材を配置し、ゲッター材により酸素の吸着を行い封止した内部の酸化を防止するようにしてもよい。
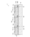
図3は、有機EL装置における発光素子について拡大した図であり、特に表示領域の断面構造を拡大した図を示す。この図3には3つの画素領域Aが図示されている。
この有機EL装置1は、基板10、その上に形成されたTFTなどの回路等を有する回路素子部14、並びに更にこの回路素子部14の上に形成された画素電極(陽極)111、正孔注入層110a及び発光層110bを含む機能層110、及び陰極12、を有する発光素子部11により構成されている。上記画素電極111、正孔注入層110a、発光層110b及び陰極12が有機EL素子を構成している。この有機EL装置1においては、機能層110から基板10側に発した光が、回路素子部14及び基板10を透過して基板10の下側(観測者側)に出射されると共に、機能層110から基板10の反対側に発した光が陰極12により反射されて、回路素子部14及び基板10を透過して基板10の下側(観測者側)に出射されるようになっている。
この有機EL装置1は、基板10、その上に形成されたTFTなどの回路等を有する回路素子部14、並びに更にこの回路素子部14の上に形成された画素電極(陽極)111、正孔注入層110a及び発光層110bを含む機能層110、及び陰極12、を有する発光素子部11により構成されている。上記画素電極111、正孔注入層110a、発光層110b及び陰極12が有機EL素子を構成している。この有機EL装置1においては、機能層110から基板10側に発した光が、回路素子部14及び基板10を透過して基板10の下側(観測者側)に出射されると共に、機能層110から基板10の反対側に発した光が陰極12により反射されて、回路素子部14及び基板10を透過して基板10の下側(観測者側)に出射されるようになっている。
無機物バンク層112aは、図3に示すように、発光領域を制御するものであり、画素電極111を区画するようにして画素電極111,111間に形成されている。また、無機物バンク層112aの一部が画素電極111の周縁部上に乗り上げて形成され、無機物バンク層112aと画素電極111とが平面視で一部重なっている。これにより、画素電極111上には、無機物バンク層112aによって区画された画素開口部112cが設けられ、この画素開口部112cの面積が開口率となる。
ここで、無機物バンク層112aは、SiNに炭素(C)を微量に混合させた材料から形成されている。この無機物バンク層112a表面には酸素プラズマ処理とフッ化炭素系のガスを用いたプラズマ処理の連続処理、或いは上記混合ガスを用いたプラズマ処理が施され、無機物バンク層112a表面が撥液性となっている。
また、無機物バンク層112aを、例えばSiO2、SiN、TiO2等の無機材料を用いて形成することもできる。このとき、無機物バンク層112a表面には、トリメトキシシラン等のシラン系カップリング剤からなる単層膜が形成されており、無機物バンク層112a表面が撥液性となっている。これにより、無機物バンク層112aは、後述する正孔注入層形成材料に対して撥液性を有する一方、発光層形成材料に対しては正孔注入層形成材料と比較して親液性を有することになる。
また、無機物バンク層112aを、例えばSiO2、SiN、TiO2等の無機材料を用いて形成することもできる。このとき、無機物バンク層112a表面には、トリメトキシシラン等のシラン系カップリング剤からなる単層膜が形成されており、無機物バンク層112a表面が撥液性となっている。これにより、無機物バンク層112aは、後述する正孔注入層形成材料に対して撥液性を有する一方、発光層形成材料に対しては正孔注入層形成材料と比較して親液性を有することになる。
この無機物バンク層112aの膜厚は、狙いとする正孔注入層110aの膜厚と同程度にすることが好ましい。例えば、30〜200nmの範囲が好ましく、特に50nm〜100nmがよい。膜厚が薄すぎると絶縁性が確保できなくなり、厚すぎてもクラックがなく絶縁層を形成するのが困難になる。また膜厚が200nmを越えると、正孔注入層110a上に積層する後述の発光層110bの平坦性を確保できなくなるので好ましくない。
機能層110は、図3に示すように、画素電極111上に形成された正孔注入層110aと、正孔注入層110a上に積層された発光層110bとを有している。
正孔注入層110aは、無機物バンク層112aによって区画された画素開口部112c内の画素電極111上に形成されている。本実施形態において無機物バンク層112a表面は撥液性となっている。そのため、正孔注入層110aを液相法により形成する際に、たとえ無機物バンク層112a上に正孔注入層形成材料が吐出されたとしてもはじかれて画素開口部112c内に流れ込み、画素開口部112cの外側には漏れ出さないようになっている。また、正孔注入層110aは、吐出量等の吐出条件を調整することにより、正孔注入層110aの上面の高さが、画素電極111上に乗り上げて形成される無機物バンク層112aの上面の高さと略同じとなるように形成されている。ここで、正孔注入層110a及び無機物バンク層112aの上面の高さは、例えば画素電極111の表面から50nmである。これにより、無機物バンク層112aの上面と正孔注入層110aの上面とで連続する平坦面が形成される。
なお、正孔注入層形成材料としては、例えば、ポリエチレンジオキシチオフェン(PEDOT)等のポリチオフェン誘導体とポリスチレンスルホン酸等の混合物が好適に用いられる。
発光層110bは、図3に示すように、無機物バンク層112a及び正孔注入層110a上の全面に形成されている。この発光層110bの高分子発光層形成材料としては、ポリフルオレン誘導体(PF)、ポリパラフェニレンビニレン誘導体(PPV)、ポリパラフェニレン誘導体(PPP)、ポリビニルカルバゾール(PVK)、ポリチオフェン誘導体、ポリメチルフェニルシラン(PMPS)等のポリシラン系などの高分子有機材料が好適に用いられる。発光層110bの膜厚としては例えば50〜80nmが好ましい。
陰極12は、図3に示すように、発光層110b上の全面に画素電極111に対向して形成されている。この陰極12は、カルシウム(Ca)層とアルミニウム(Al)層とが基板10側からこの順に積層されて構成されている。Al層は、発光層110bから発光された光を基板10側(観察者側)に反射させるもので、Al層の他に、Ag層又はAl層とAg層との積層膜等から構成することも好ましい。また、発光層110bの材料を効率よく発光させるために、発光層110bと陰極12のCa層との間にフッ化リチウム(LiF)層を形成する場合もある。Ca層の膜厚としては、例えば2〜20nmの範囲が好ましく、特に10nm程度がよい。また、Al層の膜厚としては、例えば100〜1000nmの範囲が好ましく、特に200nm程度がよい。更にAl層上にSiO、SiO2、SiN等からなる酸化防止用の保護層を設けても良い。
(有機EL装置の製造方法)
次に、第1の実施形態に係る有機EL装置の製造方法について、主に図4から図7を参照しつつ説明する。
なお、TFT等の製造工程については、公知の方法が用いられるので省略する。
次に、第1の実施形態に係る有機EL装置の製造方法について、主に図4から図7を参照しつつ説明する。
なお、TFT等の製造工程については、公知の方法が用いられるので省略する。
<バンク層形成工程>
まず、ケイ素(Si)、窒素(N)を含む材料に対して炭素(C)を含む材料を微量に混合させた材料を用いて、CVD法により画素電極111を含む第2層間絶縁膜144b上の全面に無機物バンク層となる絶縁層を成膜する。続けて、絶縁層上の全面に感光性レジストを塗布した後、画素電極111上の上記画素開口部112cに対応する位置が開口されたマスクを用いて、感光性レジストをフォトリソグラフィー処理し、感光性レジストを所定形状にパターニングする。そして、このパターニングした感光性レジストをマスクとして絶縁層をエッチング処理する。この処理により、図4に示すように、回路素子部14上に、画素電極111を区画すると共に、一部が画素電極111の周縁部上に乗り上げた無機物バンク層112aを形成する。また、無機物バンク層112aの膜厚は30〜200nmの範囲が好ましく、特に50nmが好ましい。そして、酸素ガスプラズマ処理、テトラフルオロメタンを処理ガスとするプラズマ処理(CF4プラズマ処理)により、無機物バンク層112a表面に撥液処理を施す。なお、フッ素系化合物ガスの雰囲気中に酸素ガスを混合させた処理ガスを用いてプラズマ処理を行っても良い。これにより、無機物バンク層112a表面の撥液性を調整することができる。
まず、ケイ素(Si)、窒素(N)を含む材料に対して炭素(C)を含む材料を微量に混合させた材料を用いて、CVD法により画素電極111を含む第2層間絶縁膜144b上の全面に無機物バンク層となる絶縁層を成膜する。続けて、絶縁層上の全面に感光性レジストを塗布した後、画素電極111上の上記画素開口部112cに対応する位置が開口されたマスクを用いて、感光性レジストをフォトリソグラフィー処理し、感光性レジストを所定形状にパターニングする。そして、このパターニングした感光性レジストをマスクとして絶縁層をエッチング処理する。この処理により、図4に示すように、回路素子部14上に、画素電極111を区画すると共に、一部が画素電極111の周縁部上に乗り上げた無機物バンク層112aを形成する。また、無機物バンク層112aの膜厚は30〜200nmの範囲が好ましく、特に50nmが好ましい。そして、酸素ガスプラズマ処理、テトラフルオロメタンを処理ガスとするプラズマ処理(CF4プラズマ処理)により、無機物バンク層112a表面に撥液処理を施す。なお、フッ素系化合物ガスの雰囲気中に酸素ガスを混合させた処理ガスを用いてプラズマ処理を行っても良い。これにより、無機物バンク層112a表面の撥液性を調整することができる。
<正孔注入層形成工程>
次に、図5に示すように、PEDOT/PSS(PEDOT:PSS=1:6又は1:20)の混合物を含む水分散液にジエチレングリコール等の溶媒を添加した正孔注入層形成材料109aを、無機物バンク層112aに区画された画素開口部112c内にインクジェット装置IJにより吐出する。
ここで、無機物バンク層112a表面には撥液処理が施されており、無機物バンク層112a表面と正孔注入層形成材料109aとの接触角は約80°となっている。従って、無機物バンク層112aの画素開口部112cに吐出される正孔注入層形成材料109aが無機物バンク層112a上面に吐出されたとしても、正孔注入層形成材料109aははじかれ、画素開口部112c内に流れ込む。
次に、図5に示すように、PEDOT/PSS(PEDOT:PSS=1:6又は1:20)の混合物を含む水分散液にジエチレングリコール等の溶媒を添加した正孔注入層形成材料109aを、無機物バンク層112aに区画された画素開口部112c内にインクジェット装置IJにより吐出する。
ここで、無機物バンク層112a表面には撥液処理が施されており、無機物バンク層112a表面と正孔注入層形成材料109aとの接触角は約80°となっている。従って、無機物バンク層112aの画素開口部112cに吐出される正孔注入層形成材料109aが無機物バンク層112a上面に吐出されたとしても、正孔注入層形成材料109aははじかれ、画素開口部112c内に流れ込む。
また本実施形態では、インクジェット装置IJから吐出される正孔注入層形成材料109aの吐出量、及び吐出する正孔注入層形成材料109aの溶媒中に含有させるPEDOT/PSS等の固形分濃度を制御する。これにより、画素電極111の周縁部上に形成された無機物バンク層112aの上面の高さと、吐出した正孔注入層形成材料を乾燥した後の正孔注入層110aの上面との高さとを同じに形成することができる。
<乾燥工程>
次に、図6に示すように、吐出した正孔注入層形成材料に含まれる溶媒を乾燥処理により蒸発させて、無機物バンク層112aに区画された画素開口部112c内の画素電極111上に正孔注入層110aを形成する。詳細には、吐出した正孔注入層形成材料を、真空乾燥した後、大気圧中において200℃の温度で10分間乾燥させる。この乾燥処理によって、図6に示すように、画素電極111の周縁部上に形成される無機物バンク層112aの上面と同じ高さを有する正孔注入層110aを形成することができる。また、無機物バンク層112a表面には撥液処理が施されているため、無機物バンク層112a上には正孔注入層110aが形成されず、無機物バンク層112aの上面と正孔注入層110aの上面とで連続した平坦面が形成される。
次に、図6に示すように、吐出した正孔注入層形成材料に含まれる溶媒を乾燥処理により蒸発させて、無機物バンク層112aに区画された画素開口部112c内の画素電極111上に正孔注入層110aを形成する。詳細には、吐出した正孔注入層形成材料を、真空乾燥した後、大気圧中において200℃の温度で10分間乾燥させる。この乾燥処理によって、図6に示すように、画素電極111の周縁部上に形成される無機物バンク層112aの上面と同じ高さを有する正孔注入層110aを形成することができる。また、無機物バンク層112a表面には撥液処理が施されているため、無機物バンク層112a上には正孔注入層110aが形成されず、無機物バンク層112aの上面と正孔注入層110aの上面とで連続した平坦面が形成される。
<発光層形成工程>
次に、無機物バンク層112a及び正孔注入層110a上の全面に、スピンコート法により発光層形成材料を成膜する。発光層形成材料としては、ポリフルオレン誘導体(PF)、ポリパラフェニレンビニレン誘導体(PPV)、ポリビニルカルバゾール、CBPとIr(ppy)3(イリジウム錯体)との混合物などが用いられ、これらの発光層形成材料をキシレンやトルエンに溶解させたものを塗布溶液として好適に用いることができる。
次に、無機物バンク層112a及び正孔注入層110a上の全面に、スピンコート法により発光層形成材料を成膜する。発光層形成材料としては、ポリフルオレン誘導体(PF)、ポリパラフェニレンビニレン誘導体(PPV)、ポリビニルカルバゾール、CBPとIr(ppy)3(イリジウム錯体)との混合物などが用いられ、これらの発光層形成材料をキシレンやトルエンに溶解させたものを塗布溶液として好適に用いることができる。
ここで、無機物バンク層112a表面は撥液性を有するが、発光層を形成する塗布溶液にはキシレン等の芳香族系材料が含有されているため、発光層形成材料の塗布液は正孔注入層形成材料109aに比べて、無機物バンク層112a表面に対する濡れ性がよくなっている。具体的には、正孔注入層110a表面と発光層形成材料の塗布液との接触角は約30°である。また、無機物バンク層112a表面と発光層形成材料の塗布液との接触角は約40°である。従って、正孔注入層110aの上面及び無機物バンク層112aの上面と、発光層形成材料の塗布液との接触角は略同じとなっている。
従って、スピンコート法により、図7に示すように、無機物バンク層112a及び正孔注入層110a上の全面に発光層110bが形成される。詳細には、スピンコート成膜後、不活性雰囲気中において130℃の温度で60分間アニール処理を施す。これにより、膜厚が例えば80nmの均一かつ平坦な発光層110bを形成することができる。
発光層を形成する塗布法としては、スピンコート法の他に、ディップコート法や、ノズルコート法、ブレードコート法などの方法を用いても良い。
発光層を形成する塗布法としては、スピンコート法の他に、ディップコート法や、ノズルコート法、ブレードコート法などの方法を用いても良い。
<陰極形成工程>
次に、図7に示すように、発光層110b上の全面に、真空加熱蒸着法により、Ca層及びAl層を順番に積層し、これらの積層膜から構成される陰極12を形成する。なお、上述したように、Ca層の下層にLiF層を形成しても良い。また陰極12上に、酸化防止のためにSiO2、SiN等の保護層を形成することも好ましい。
次に、図7に示すように、発光層110b上の全面に、真空加熱蒸着法により、Ca層及びAl層を順番に積層し、これらの積層膜から構成される陰極12を形成する。なお、上述したように、Ca層の下層にLiF層を形成しても良い。また陰極12上に、酸化防止のためにSiO2、SiN等の保護層を形成することも好ましい。
最後に、図2(b)に戻り、熱硬化樹脂又は紫外線硬化樹脂からなる封止樹脂3aを陰極12上の全面に塗布し、封止樹脂3a上に封止基板3bを積層して封止部3を形成する。封止工程は、窒素、アルゴン、ヘリウム等の不活性ガス雰囲気で行うことが好ましい。
このような方法により第1実施形態に係る有機EL装置1を製造することができる。
このような方法により第1実施形態に係る有機EL装置1を製造することができる。
なお、上記実施形態では、正孔輸送層を省略したが、正孔注入層110aと発光層110bとの間に正孔輸送層を形成しても良い。正孔輸送層の材料としては、トリフェニルアミン系ポリマーを用いることができる。これにより、より効率よく正孔を発光層110bに注入することができるので、効率、寿命に優れた特性が得られる。
本実施形態によれば、画素電極111の周縁部上に設けられる無機物バンク層112aは正孔注入層110aに対して撥液性を有するため、無機物バンク層112a上に吐出される正孔注入層110a形成材料ははじかれ、無機物バンク層112aに区画された画素開口部112c内に流れ込む。また、正孔注入層110aの上面の高さと無機物バンク層112aの上面の高さとは略同じであり、正孔注入層110a形成材料が無機物バンク層112a上に漏れ出さないように制御されている。そのため、正孔注入層110aは、無機物バンク層112aによって区画された画素開口部112c内の画素電極111上にのみ形成され、画素開口部112cの外側(隣接する画素間)の無機物バンク層112a上に配置されることはない。
従って、各画素電極111に設けられた正孔注入層110aの正孔が隣接する画素間に流れることに起因するいわゆるクロストークの発生を抑制することができる。よって、電流が隣接する画素間に滲みることによる発光形状輪郭ボケといった表示品質の低下を防止することができる。
従って、各画素電極111に設けられた正孔注入層110aの正孔が隣接する画素間に流れることに起因するいわゆるクロストークの発生を抑制することができる。よって、電流が隣接する画素間に滲みることによる発光形状輪郭ボケといった表示品質の低下を防止することができる。
また本実施形態によれば、無機物バンク層112aの上面と正孔注入層110aの上面とは略同じ高さであるため、無機物バンク層112aの上面と正孔注入層110aの上面は連続した平坦面となる。従って、無機物バンク層112a及び正孔注入層110a上に形成される発光層110bは膜厚の均一かつ平坦な膜となり、輝度ムラのない、均一な発光を得ることができる。
また本実施形態によれば、無機物バンク層112a表面が撥液性を有するため、インクジェット装置を用いた場合でも、無機物バンク層112aに区画された画素開口部112cの外側に正孔注入層110a形成材料を漏れ出させることなく、選択的に正孔注入層110aを形成することができる。従って、インクジェット装置を用いることにより、材料の無駄を抑制することができ、低コストかつ高精度に正孔注入層110aを形成することができる。
さらに本実施形態によれば、無機物バンク層112a及び正孔注入層110aの上面は連続した平坦面であるため、簡便なスピンコート法により発光層110bを形成することができる。これにより、膜厚の均一かつ平坦な発光層110bを容易に形成することができる。
[第2の実施形態]
次に、本発明の第2の実施形態について図8から図10を参照して説明する。
本実施形態と上記第1実施形態とでは、無機物バンク層112aに撥液処理を施す方法が異なる。なお、その他の有機EL装置の基本構成及び製造方法は、上記第1実施形態と同様であり、共通の構成要素には同一の符号を付し、詳細な説明は省略する。
次に、本発明の第2の実施形態について図8から図10を参照して説明する。
本実施形態と上記第1実施形態とでは、無機物バンク層112aに撥液処理を施す方法が異なる。なお、その他の有機EL装置の基本構成及び製造方法は、上記第1実施形態と同様であり、共通の構成要素には同一の符号を付し、詳細な説明は省略する。
図8に示すように、画素電極111を含む無機物バンク層112a上の全面に、トリメトキシシラン等のシラン系カップリング剤114aを気相法或いはディッピング法により形成する。このとき、シラン系カップリング剤の末端の官能基を選択することにより、無機物バンク層112aの表層の濡れ性を制御することができる。
次に、図9に示すように、上記画素開口部112cに対応する平面領域が開口されたマスクを、無機物バンク層112a上に設置する。そして、このマスク60を介して、画素電極111を含む無機物バンク層112a上に形成されたシラン系カップリング剤114aに紫外線を照射する。
この照射により、マスク60を通過した紫外線がシラン系カップリング剤114a上に到達し、図10に示すように、画素開口部112c、詳細には画素電極111上面及び無機物バンク層112aの側面に形成されるシラン系カップリング剤が除去される。そして、無機物バンク層112a上面にはシラン系カップリング剤からなる単層膜114が形成される。このようにして、無機物バンク層112a表面に撥液性を付与する。一方、画素開口部112c内の画素電極111上及び無機物バンク層112aの側面は、シラン系カップリング剤が除去されるため、単層膜114が形成されている無機物バンク層112a上面と比較して親液性の表面となる。
<露光装置>
次に、上記実施形態において説明した有機EL装置1(露光ヘッド)を備える露光装置について説明する。なお、露光ヘッドには、有機EL素子が千鳥状に配列されたものが用いられている。
次に、上記実施形態において説明した有機EL装置1(露光ヘッド)を備える露光装置について説明する。なお、露光ヘッドには、有機EL素子が千鳥状に配列されたものが用いられている。
図11は、露光装置100の概略構成を示す斜視図である。
露光装置は、図11に示すように、露光ヘッド62と、この露光ヘッド62からの光を結像させるレンズアレイ31と、レンズアレイ31を透過した露光ヘッド62からの光によって露光される感光体ドラム9とを備えている。
この露光装置100によれば、上記有機EL装置を露光ヘッド62として備えているため、輝度ムラのない高品質の露光装置100を提供することができる。
露光装置は、図11に示すように、露光ヘッド62と、この露光ヘッド62からの光を結像させるレンズアレイ31と、レンズアレイ31を透過した露光ヘッド62からの光によって露光される感光体ドラム9とを備えている。
この露光装置100によれば、上記有機EL装置を露光ヘッド62として備えているため、輝度ムラのない高品質の露光装置100を提供することができる。
[第3の実施の形態]
以下、本発明の実施形態について図面を参照しつつ説明する。
なお、図12〜図22において、各層や各部材を図面上で認識可能な程度の大きさとするため、各層や各部材に縮尺は実際のものとは異なるように表している。
また、本実施形態の有機EL装置は、発光層で発光した光を基板側から取り出すボトムエミッション方式である。
以下、本発明の実施形態について図面を参照しつつ説明する。
なお、図12〜図22において、各層や各部材を図面上で認識可能な程度の大きさとするため、各層や各部材に縮尺は実際のものとは異なるように表している。
また、本実施形態の有機EL装置は、発光層で発光した光を基板側から取り出すボトムエミッション方式である。
(有機EL装置)
図12(a)は本実施形態の有機EL装置の概略構成を示す平面図であり、図12(b)は(a)の有機EL装置のA−B線に沿った断面図である。
図12(a)は本実施形態の有機EL装置の概略構成を示す平面図であり、図12(b)は(a)の有機EL装置のA−B線に沿った断面図である。
図1に示したように、本実施形態の有機EL装置201(発光装置)は、複数の走査線101と、走査線101に対して交差する方向に延びる複数の信号線102と、信号線102に並列に延びる複数の電源線103とがそれぞれ配線された回路構成を有する。走査線101及び信号線102の各交点付近に、画素領域Aが設けられている。
信号線102には、シフトレジスタ、レベルシフタ、ビデオライン及びアナログスイッチ等を備えるデータ側駆動回路104が接続されている。また、走査線101には、シフトレジスタ及びレベルシフタ等を備える走査側駆動回路105が接続されている。さらに、画素領域Aの各々には、走査線101を介して走査信号がゲート電極に供給されるスイッチング用の薄膜トランジスタ112と、このスイッチング用の薄膜トランジスタ112を介して信号線102から共有される画素信号を保持する保持容量(cap)と、該保持容量(cap)によって保持された画素信号がゲート電極に供給される駆動用の薄膜トランジスタ123と、この駆動用の薄膜トランジスタ123を介して電源線103に電気的に接続したときに当該電源線103から駆動電流が与えられる画素電極111と、この画素電極111と陰極(対向電極)12との間に挟み込まれた機能層110とが設けられている。先の電極111と陰極12と機能層110により、発光素子例えば有機EL素子が構成されている。
かかる構成によれば、走査線101が駆動されてスイッチング用の薄膜トランジスタ112がオンになると、そのときの信号線102の電位が保持容量capに保持され、該保持容量capに状態に応じて、駆動用の薄膜トランジスタ123のオン・オフ状態が決まる。そして、駆動用の薄膜トランジスタ123のチャネルを介して、電源線103から画素電極111に電流が流れ、さらに機能層110を介して陰極12に電流が流れる。機能層110は、これを流れる電流量に応じて発光する。
図12(a)、(b)に示すように、本実施形態の有機EL装置201は、ガラス等からなる透明な基板10と、基板10上にマトリックス状に配置された発光素子が具備された発光素子部11を具備している。なお、発光素子は陽極、機能層、陰極により構成されたものであり、機能層とは、正孔注入層、発光層、電子注入/輸送層等である。基板10は、例えばガラス等の透明基板であり、基板10の中央に位置する表示領域2aと、基板10の周縁に位置して表示領域2aの外側に非表示領域2bとに区画されている。表示領域2aは、マトリックス状に配置された発光素子によって形成される領域であり、有効表示領域とも言う。また、表示領域の外側に非表示領域2bが形成されている。そして、非表示領域2bには、表示領域2aに隣接するダミー表示領域2dが形成されている。また、図12(b)に示すように、発光素子部11と基板10の間には回路素子部14が備えられ、この回路素子部14に前述の走査線、信号線、保持容量、スイッチング用の薄膜トランジスタ、駆動用の薄膜トランジスタ123等が備えられている。また、陰極12は、その一端が基板10上に形成された陰極用配線12aに接続しており、この配線の一端部12bがフレキシブル基板5上の配線5aに接続されている。また、配線5aは、フレキシブル基板5上に備えられた駆動IC6(駆動回路)に接続されている。
また、図12(a)及び図12(b)に示すように、回路素子部14の非表示領域2bには、前述の電源線103(103R、103G、103B)が配置されている。また、図12(a)に記載の表示領域2aの両側には、前述の走査側駆動回路105、105が配置されている。この走査側駆動回路105、105はダミー表示領域2dの下側の回路素子部14内に設けられている。さらに回路素子部14内には、走査側駆動回路105、105に接続される駆動回路用制御信号配線105aと駆動回路用電源配線105bとが設けられている。さらに図12(a)に記載の表示領域2aの上側(図面において上側、駆動IC6と反対側)には検査回路106が配置されている。この検査回路106により、製造途中や出荷時の有機EL装置の品質、欠陥の検査を行うことができる。
また、図12(b)に示すように、発光素子部11は、複数の画素電極111…上の各々に積層された機能層110と、各画素電極111及び機能層110の間の平面領域に備えられて各機能層110を平面的に区画する無機物バンク層18(第1隔壁)とを主体として構成されている。機能層110上には陰極12が配置されている。これら画素電極111、機能層110及び陰極12によって発光素子(例えば有機EL素子)が構成されている。ここで、画素電極111は、例えばITOにより形成されてなり、平面視略矩形にパターニングされて形成されている。この画素電極111の厚さは、例えば50〜200nmの範囲が好ましく、特に150nm程度がよい。隣接する画素電極111…の間に無機物バンク層18(第1隔壁)が備えられている。
また、図12(b)に示すように、発光素子部11上には封止部3が備えられている。この封止部3は、陰極12上に塗布された熱硬化樹脂あるいは紫外線硬化樹脂等からなる封止樹脂3aと、封止樹脂3a上に配置された封止基板3bとからなる。なお、封止樹脂3aとしては、硬化時にガス、溶媒等が発生しないものが好ましい。この封止部3は、少なくとも陰極12を覆うように形成されており、陰極12及び発光層110bに対する水又は酸素の侵入を防いで、陰極12及び発光層110bの酸化を防止する。なお、封止基板3bは、封止樹脂3aに接合されて封止樹脂3aを保護するものであり、ガラス板、金属板若しくは樹脂板のいずれかであることが好ましい。また後述するように、カン封止タイプのものも好ましく、凹んだ部分にゲッター材を配置し、ゲッター材により酸素の吸着を行い封止した内部の酸化を防止するようにしてもよい。
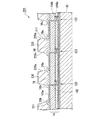
図13は、有機EL装置における発光素子について拡大した図であり、特に表示領域の断面構造を拡大した図を示す。この図13には3つの画素領域Aが図示されている。
有機EL装置201は、基板10、その上に形成されたTFTなどの回路等を有する回路素子部14、並びにさらにこの回路素子部14の上に形成された画素電極(陽極)111、正孔注入層110a及び発光層110bを含む機能層110、及び陰極12、を有する発光素子部11により構成されている。上記画素電極111、正孔注入層110a、発光層110b及び陰極12が有機EL素子を構成している。有機EL装置201においては、機能層110から基板10側に発した光が、回路素子部14及び基板10を透過して基板10の下側(観測者側)に出射されると共に、機能層110から基板10の反対側に発した光が陰極12により反射されて、回路素子部14及び基板10を透過して基板10の下側(観測者側)に出射されるようになっている。
有機EL装置201は、基板10、その上に形成されたTFTなどの回路等を有する回路素子部14、並びにさらにこの回路素子部14の上に形成された画素電極(陽極)111、正孔注入層110a及び発光層110bを含む機能層110、及び陰極12、を有する発光素子部11により構成されている。上記画素電極111、正孔注入層110a、発光層110b及び陰極12が有機EL素子を構成している。有機EL装置201においては、機能層110から基板10側に発した光が、回路素子部14及び基板10を透過して基板10の下側(観測者側)に出射されると共に、機能層110から基板10の反対側に発した光が陰極12により反射されて、回路素子部14及び基板10を透過して基板10の下側(観測者側)に出射されるようになっている。
無機物バンク層18は、発光領域を制御するものであり、図13に示すように、画素電極111を区画するようにして画素電極111,111間に形成されている。また、無機物バンク層18の一部が画素電極111の周縁部上に乗り上げて形成され、無機物バンク層18と画素電極111とが平面視で一部重なっている。画素電極111上には、無機物バンク層18によって区画された画素開口部18cが設けられ、この画素開口部18cの面積が開口率となっている。なお、無機物バンク層18の膜厚は、例えば30〜200nmの範囲が好ましく、特に50〜100nmが好ましい。
ここで、無機物バンク層18は、SiNに炭素(C)を微量に混合させた材料からなる。この無機物バンク層18表面にはプラズマ処理が施され、無機物バンク層18表面が撥液性となっている。
また、無機物バンク層18を、例えばSiO2、TiO2、SiN等の無機材料を用いて構成することもできる。このとき、無機物バンク層18表面には、トリメトキシシラン等のシラン系カップリング剤からなる単層膜が形成されており、無機物バンク層18表面が撥液性となっている。
このように、無機物バンク層18は、後述する正孔注入層形成材料に対して撥液性を有する一方、発光層形成材料に対しては正孔注入層形成材料と比較して親液性を有する。
また、無機物バンク層18を、例えばSiO2、TiO2、SiN等の無機材料を用いて構成することもできる。このとき、無機物バンク層18表面には、トリメトキシシラン等のシラン系カップリング剤からなる単層膜が形成されており、無機物バンク層18表面が撥液性となっている。
このように、無機物バンク層18は、後述する正孔注入層形成材料に対して撥液性を有する一方、発光層形成材料に対しては正孔注入層形成材料と比較して親液性を有する。
無機物バンク層18上には、図13に示すように、有機物バンク層220(第2隔壁)が形成されている。有機物バンク層220は、フォトリソグラフィー法の精度を考慮して、無機物バンク層18の周縁よりも内側に間隔を空けて形成されている。これにより、無機物バンク層の周縁部には有機物バンク層220の側面220aから突出した突出部18bが設けられる。有機物バンク層220の断面形状は、基板10面に対して鋭角に傾斜する傾斜面が設けられた台形状となっている。また、有機物バンク層220の側面220aは撥液処理されている。
機能層110は、図13に示すように、画素電極111上に形成された正孔注入層110aと、正孔注入層110a上に積層された発光層110bとを有している。
正孔注入層110aは、無機物バンク層18によって区画された画素開口部18c内の画素電極111上に形成されている。本実施形態において無機物バンク層18表面は撥液処理されている。そのため、正孔注入層110aを液相法により形成する際に、たとえ無機物バンク層18上に正孔注入層形成材料が吐出されたとしてもはじかれて無機物バンク層18内に流れ込み、画素開口部18cから漏れ出さないようになっている。また、正孔注入層110aの上面の高さは、吐出量等の吐出条件を調整することにより、画素電極111上に乗り上げた無機物バンク層18(突出部18b)の上面の高さと略同じとなるように形成されている。これにより、無機物バンク層18の上面と正孔注入層110aの上面とにより連続する平坦面が設けられる。
なお、正孔注入層形成材料としては、例えば、ポリエチレンジオキシチオフェン(PEDOT)等のポリチオフェン誘導体とポリスチレンスルホン酸等の混合物が好適に用いられる。
発光層110bは、図13に示すように、有機物バンク層220に区画された開口部220c内の正孔注入層110a上の全面に形成されている。発光層110bは、赤色(R)に発光する赤色発光層、緑色(G)に発光する緑色発光層、及び青色(B)に発光する青色発光層の3種類を有し、各発光層がストライプ状に配置されている。発光層110bの高分子発光層形成材料としては、ポリフルオレン(PF)誘導体、ポリパラフェニレンビニレン(PPV)誘導体、ポリパラフェニレン(PPP)誘導体、ポリビニルカルバゾール(PVK)、ポリチオフェン誘導体、ポリメチルフェニルシラン(PMPS)等のポリシラン系などの高分子有機材料が好適に用いられる。発光層110bの膜厚としては例えば50〜100nmが好ましい。
本実施形態において有機物バンク層220表面は撥液処理されている。そのため、開口部220c内に吐出された発光層形成材料は、隣接画素に漏れ出すことなく、所定の正孔注入層110a上、及び無機物バンク層18上の全面に成膜される。
本実施形態において有機物バンク層220表面は撥液処理されている。そのため、開口部220c内に吐出された発光層形成材料は、隣接画素に漏れ出すことなく、所定の正孔注入層110a上、及び無機物バンク層18上の全面に成膜される。
陰極12は、図13に示すように、発光層110bを含む有機物バンク層220上の全面に画素電極111に対向するようにして形成されている。この陰極12は、カルシウム(Ca)層とアルミニウム(Al)層とが基板10側からこの順に積層されて構成されている。Al層は、発光層110bから発光された光を基板10側(観察者側)に反射させるもので、Al層の他に、Ag層又はAl層とAg層との積層膜等から構成することも好ましい。また、発光層110bの材料を効率よく発光させるために、発光層110bと陰極12のCa層との間にフッ化リチウム(LiF)層を形成する場合もある。Ca層の膜厚としては、例えば2〜20nmの範囲が好ましく、特に10nm程度がよい。また、Al層の膜厚としては、例えば100〜1000nmの範囲が好ましく、特に200nm程度がよい。さらにAl層上にSiO、SiO2、SiN等からなる酸化防止用の保護層を設けても良い。
(有機EL装置の製造方法)
次に、本実施形態に係る有機EL装置の製造方法について説明する。
図14〜図19は、第3の実施形態に係る有機EL装置の製造工程を示す断面図である。
なお、TFT等の製造工程については、公知の方法が用いられるので省略する。
次に、本実施形態に係る有機EL装置の製造方法について説明する。
図14〜図19は、第3の実施形態に係る有機EL装置の製造工程を示す断面図である。
なお、TFT等の製造工程については、公知の方法が用いられるので省略する。
<無機物バンク層形成工程>
まず、窒化ケイ素(SiN)に炭素(C)あるいは炭化ケイ素(SiC)を微量に混合させた材料を用いて、スパッタ法により画素電極111を含む第2層間絶縁膜144b上の全面に無機物バンク層となる絶縁層を成膜する。続けて、絶縁層上の全面に感光性レジストを塗布した後、画素電極111上の画素開口部18cに対応する位置が開口されたマスクを用いて、感光性レジストをフォトリソグラフィー処理し、感光性レジストを所定形状にパターニングする。そして、このパターニングした感光性レジストをマスクとして絶縁層をエッチング処理する。この処理により、図14に示すように、画素電極111を区画すると共に、一部が画素電極111の周縁部上に乗り上げた無機物バンク層18を形成する。また、無機物バンク層18の膜厚は30〜200nmの範囲が好ましく、特に50〜100nmが好ましい。
まず、窒化ケイ素(SiN)に炭素(C)あるいは炭化ケイ素(SiC)を微量に混合させた材料を用いて、スパッタ法により画素電極111を含む第2層間絶縁膜144b上の全面に無機物バンク層となる絶縁層を成膜する。続けて、絶縁層上の全面に感光性レジストを塗布した後、画素電極111上の画素開口部18cに対応する位置が開口されたマスクを用いて、感光性レジストをフォトリソグラフィー処理し、感光性レジストを所定形状にパターニングする。そして、このパターニングした感光性レジストをマスクとして絶縁層をエッチング処理する。この処理により、図14に示すように、画素電極111を区画すると共に、一部が画素電極111の周縁部上に乗り上げた無機物バンク層18を形成する。また、無機物バンク層18の膜厚は30〜200nmの範囲が好ましく、特に50〜100nmが好ましい。
<有機物バンク層形成工程>
次に、無機物バンク層18及び画素電極111上の全面に、スピンコート法によりアクリル、ポリイミド等の有機物バンク層形成材料を成膜する。
次に、無機物バンク層18及び画素電極111上の全面に、スピンコート法によりアクリル、ポリイミド等の有機物バンク層形成材料を成膜する。
次に、有機物バンク層形成材料上の全面に感光性レジストを塗布した後、無機物バンク層18に区画された画素開口部18cより広い開口になるよう開口部を有するマスクを用いて、感光性レジストをフォトリソグラフィー処理する。このとき、フォトリソグラフィー処理の精度を考慮して、無機物バンク層18の周縁よりも内側に有機物バンク層220の側面が形成されるように制御する。つまり、有機物バンク層220に区画される開口部の方が、無機物バンク層18に区画される画素開口部より開口面積が広くなるように、フォトリソグラフィー処理する。
次に、パターニングした感光性レジストをマスクとして、有機物バンク層形成材料をエッチング処理する。このとき、有機物バンク層220が傾斜面を有する断面台形状となるようにエッチング液、エッチング時間等のエッチング条件を調節してエッチング処理する。このようにして、図15に示すように、無機物バンク層18上に有機物バンク層220を形成する。
<活性化処理工程>
次に、画素電極111の電極面、無機物バンク層18の表面18a、及び有機物バンク層220の表面に活性化処理を施す。活性化処理には、画素電極111における仕事関数の調整、制御、画素電極表面の洗浄、画素電極表面の親液化処理が含まれる。
まず、親液化処理として、大気雰囲気中で酸素を処理ガスとするプラズマ処理(O2プラズマ処理)を行う。このO2プラズマ処理により、画素電極111の電極面111a、及び無機物バンク層18の突出部18bの表面18a(以下、表面18aと省略する)が親液処理される。なお、このO2プラズマ処理は、親液性を付与するのみならず、上述の通り画素電極であるITO上の洗浄,仕事関数の調整も兼ねている。
次に、画素電極111の電極面、無機物バンク層18の表面18a、及び有機物バンク層220の表面に活性化処理を施す。活性化処理には、画素電極111における仕事関数の調整、制御、画素電極表面の洗浄、画素電極表面の親液化処理が含まれる。
まず、親液化処理として、大気雰囲気中で酸素を処理ガスとするプラズマ処理(O2プラズマ処理)を行う。このO2プラズマ処理により、画素電極111の電極面111a、及び無機物バンク層18の突出部18bの表面18a(以下、表面18aと省略する)が親液処理される。なお、このO2プラズマ処理は、親液性を付与するのみならず、上述の通り画素電極であるITO上の洗浄,仕事関数の調整も兼ねている。
次に、撥液化処理として、大気雰囲気中でテトラフルオロメタンを処理ガスとするプラズマ処理(CF4プラズマ処理)を行う。なお、処理ガスは、テトラフルオロメタン(四フッ化炭素)に限らず、他のフルオロカーボン系のガスを用いることができる。CF4プラズマ処理により、無機物バンク層18の表面18a並びに、有機物バンク層220の表層が撥液処理される。無機物バンクの方が有機物バンクに比べ、炭素含有量が少ないので、有機物バンクよりは低い撥液性を示す。また、O2プラズマにより前処理した方がフッ素化されやすいという特徴を有しており、本実施形態には特に有効である。なお、画素電極111の電極面111aもこのCF4プラズマ処理の影響を多少受けるが、濡れ性に影響を与えることは少ない。
<正孔注入層形成工程>
次に、図16に示すように、PEDOT/PSS(PEDOT:PSS=1:6又は1:20)の混合物を含む水分散液にジエチレングリコール等の溶媒を添加した正孔注入層形成材料109aを、無機物バンク層18に区画された無機物バンク層18内にインクジェット装置IJにより吐出する。
ここで、無機物バンク層18表面には撥液処理が施されており、無機物バンク層18の表面18aと正孔注入層形成材料109aとの接触角は約80°となっている。従って、無機物バンク層18の無機物バンク層18に吐出される正孔注入層形成材料109aが無機物バンク層18の突出部18b上に吐出されたとしても、正孔注入層形成材料109aははじかれ、画素開口部18c内に流れ込む。
次に、図16に示すように、PEDOT/PSS(PEDOT:PSS=1:6又は1:20)の混合物を含む水分散液にジエチレングリコール等の溶媒を添加した正孔注入層形成材料109aを、無機物バンク層18に区画された無機物バンク層18内にインクジェット装置IJにより吐出する。
ここで、無機物バンク層18表面には撥液処理が施されており、無機物バンク層18の表面18aと正孔注入層形成材料109aとの接触角は約80°となっている。従って、無機物バンク層18の無機物バンク層18に吐出される正孔注入層形成材料109aが無機物バンク層18の突出部18b上に吐出されたとしても、正孔注入層形成材料109aははじかれ、画素開口部18c内に流れ込む。
また本実施形態では、インクジェット装置IJから吐出される正孔注入層形成材料109aの吐出量、及び吐出する正孔注入層形成材料109aの溶媒中に含有させるPEDOT/PSS等の固形分濃度を制御する。これにより、画素電極111の周縁部上に形成される無機物バンク層18の上面の高さと、吐出した正孔注入層形成材料109aを乾燥した後の正孔注入層110aの上面との高さとを同じに形成することができる。
<乾燥工程>
次に、図17に示すように、吐出した正孔注入層形成材料に含有する溶媒を乾燥処理により蒸発させて、無機物バンク層18に区画された無機物バンク層18内の画素電極111上に正孔注入層110aを形成する。詳細には、吐出した正孔注入層形成材料を、真空乾燥した後、大気圧中において200℃の温度で10分間乾燥させる。この乾燥処理によって、図17に示すように、画素電極111の周縁部上に形成される無機物バンク層18の上面と同じ高さを有する正孔注入層110aを形成することができる。また、無機物バンク層18の表面18aには撥液処理が施されているため、無機物バンク層18上には正孔注入層110aが残っておらず、無機物バンク層18の上面と正孔注入層110aの上面とで連続した平坦面となる。
次に、図17に示すように、吐出した正孔注入層形成材料に含有する溶媒を乾燥処理により蒸発させて、無機物バンク層18に区画された無機物バンク層18内の画素電極111上に正孔注入層110aを形成する。詳細には、吐出した正孔注入層形成材料を、真空乾燥した後、大気圧中において200℃の温度で10分間乾燥させる。この乾燥処理によって、図17に示すように、画素電極111の周縁部上に形成される無機物バンク層18の上面と同じ高さを有する正孔注入層110aを形成することができる。また、無機物バンク層18の表面18aには撥液処理が施されているため、無機物バンク層18上には正孔注入層110aが残っておらず、無機物バンク層18の上面と正孔注入層110aの上面とで連続した平坦面となる。
<発光層形成工程>
次に、図18に示すように、有機物バンク層220に区画された開口部220c内の無機物バンク層18の突出部18b及び正孔注入層110a上の全面に、インクジェット装置IJにより発光層形成材料113aを吐出する。発光層形成材料113aとしては、ポリフルオレン(PF)誘導体、ポリパラフェニレンビニレン(PPV)誘導体を芳香族系炭化水素溶媒で溶解した溶液が用いられる。芳香族系炭化水素溶媒としては、トリメチルベンゼン、シクロへキシルベンゼン、ドデシルベンゼン等のアルキル基のついたベンゼン溶媒、エーテル基のついたメトキシエトシキベンゼン等を用いても良い。
次に、図18に示すように、有機物バンク層220に区画された開口部220c内の無機物バンク層18の突出部18b及び正孔注入層110a上の全面に、インクジェット装置IJにより発光層形成材料113aを吐出する。発光層形成材料113aとしては、ポリフルオレン(PF)誘導体、ポリパラフェニレンビニレン(PPV)誘導体を芳香族系炭化水素溶媒で溶解した溶液が用いられる。芳香族系炭化水素溶媒としては、トリメチルベンゼン、シクロへキシルベンゼン、ドデシルベンゼン等のアルキル基のついたベンゼン溶媒、エーテル基のついたメトキシエトシキベンゼン等を用いても良い。
ここで、有機物バンク層220の表層は撥液性を有しているため、吐出された発光層形成材料113aは、バンク層表面ではじかれて、隣接画素(開口部)に漏れ出したり、混入することなく開口部220c内に収まる。また、無機物バンク層18の表面18aも撥液性を有するが、有機物バンク層の表面の撥液性に比べると低く、発光層形成材料113aには表面張力の低い芳香族系材料が含有されているため、発光層形成材料の、正孔注入層表面と無機物バンク層18の表面18aに対する濡れ性(接触角)には大きな差が無いため、発光層形成材料113aは、正孔注入層110a表面並びに、無機物バンク層18の表面18a上にも均一に濡れ広がらせることができる。
具体的には、正孔注入層110a表面と発光層形成材料113aとの接触角は約40°である。また、無機物バンク層112a表面と発光層形成材料113aとの接触角は約50°である。従って、正孔注入層110aの上面及び無機物バンク層112aの上面と、発光層形成材料との接触角は略同じとなっている。
具体的には、正孔注入層110a表面と発光層形成材料113aとの接触角は約40°である。また、無機物バンク層112a表面と発光層形成材料113aとの接触角は約50°である。従って、正孔注入層110aの上面及び無機物バンク層112aの上面と、発光層形成材料との接触角は略同じとなっている。
次に、図19に示すように、インクジェット吐出により塗り分けされた発光層形成材料113aに含有する溶媒を乾燥処理により蒸発させて、無機物バンク層18及び正孔注入層110a上の全面に発光層110bを形成する。詳細には、吐出した発光層形成材料113aを、真空による溶媒除去後、さらにArや窒素などの不活性雰囲気中において130℃の温度で60分間アニール処理を施す。従って、発光層の膜厚が例えば80nmの均一な発光層110bを形成することができる。
<陰極形成工程>
次に、図20に示すように、発光層110b上の全面に、真空加熱蒸着法により、Ca層及びAl層を順番に積層し、これらの積層膜から構成される陰極12を形成する。なお、上述したように、Ca層の下層にLiF層を形成しても良い。また陰極12上に、酸化防止のためにSiO2、SiN等の保護層を形成することも好ましい。
次に、図20に示すように、発光層110b上の全面に、真空加熱蒸着法により、Ca層及びAl層を順番に積層し、これらの積層膜から構成される陰極12を形成する。なお、上述したように、Ca層の下層にLiF層を形成しても良い。また陰極12上に、酸化防止のためにSiO2、SiN等の保護層を形成することも好ましい。
最後に、図12(b)に戻り、熱硬化樹脂又は紫外線硬化樹脂からなる封止樹脂3aを陰極12上の全面に塗布し、封止樹脂3a上に封止基板3bを積層して封止部3を形成する。封止工程は、窒素、アルゴン、ヘリウム等の不活性ガス雰囲気で行うことが好ましい。
このような方法により有機EL装置201を製造することができる。
このような方法により有機EL装置201を製造することができる。
なお、上記実施形態では、正孔輸送層を省略したが、正孔注入層110aと発光層110bとの間に正孔輸送層を形成しても良い。正孔輸送層の材料としては、トリフェニルアミン系ポリマーを用いることができる。これにより、より正孔を発光層110bに注入することができるので、効率、寿命に優れた特性が得られる。
本実施形態によれば、無機物バンク層18は正孔注入層110aに対して撥液性を有するため、無機物バンク層18上に吐出される正孔注入層形成材料109aははじかれ、無機物バンク層18に区画された画素開口部18c内に流れ込む。また、正孔注入層110aの上面の高さと無機物バンク層18の上面の高さとは略同じであり、正孔注入層形成材料が無機物バンク層18上に漏れ出さないように制御されている。そのため、正孔注入層110aが、無機物バンク層18によって区画された画素開口部18cから外側に配置されることはない。このように、無機物バンク層18の上面と正孔注入層110aの上面とは略同じ高さであるため、均一かつ平坦な正孔注入層110a及び発光層110bを形成することができる。さらに、正孔注入層110a及び発光層110bの周縁部と中央部とで膜厚を均一にすることができるため、発光寿命ムラのなく、発光寿命の均一化を図ることができる。
[第4の実施形態]
次に、本発明の第4の実施形態について図面を参照して説明する。
本実施形態と上記第3実施形態とでは、無機物バンク層に撥液処理を施す方法が異なる。なお、その他の有機EL装置の基本構成及び製造方法は、上記第3実施形態と同様であり、共通の構成要素には同一の符号を付し、詳細な説明は省略する。
次に、本発明の第4の実施形態について図面を参照して説明する。
本実施形態と上記第3実施形態とでは、無機物バンク層に撥液処理を施す方法が異なる。なお、その他の有機EL装置の基本構成及び製造方法は、上記第3実施形態と同様であり、共通の構成要素には同一の符号を付し、詳細な説明は省略する。
図21及び図22は、本実施形態に係る有機EL装置の製造工程を示す断面図である。
まず、画素電極111を含む第2層間絶縁膜144b上の全面に、CVD法、スパッタ法、蒸着法等により、SiO2、TiO2等の無機物材料を成膜する。続けて、フォトリソグラフィー処理、エッチング処理により、図21に示すように、無機物バンク層18を形成する。
まず、画素電極111を含む第2層間絶縁膜144b上の全面に、CVD法、スパッタ法、蒸着法等により、SiO2、TiO2等の無機物材料を成膜する。続けて、フォトリソグラフィー処理、エッチング処理により、図21に示すように、無機物バンク層18を形成する。
次に、図21に示すように、無機物バンク層18上に、ポリイミド又はアルカリからなる有機物バンク層220を形成する。
次に、画素電極111、無機物バンク層18、及び有機物バンク層220のそれぞれの表面に、O2及びCF4の処理ガスを用いて連続プラズマ処理する。このプラズマ処理により、画素電極111の電極面111a及び無機物バンク層18の表面18aが親液処理される。一方、有機物バンク層220の側面220aが撥液処理される。
次に、トリメトキシシラン等のシラン系カップリング剤溶液に、プラズマ処理を施した上記基板を浸漬する。これにより、図21に示すように、親液処理された無機物バンク層18の表面18a及び、画素電極の電極面111a上にカップリング剤の単層膜214aが形成される。
続けて、図21に示すように、画素開口部18cの対応する位置に開口部60aを有するマスク60を用い、このマスクを介して紫外線を照射することにより、電極面111a上及び無機物バンク層18の側面のシラン系カップリング剤を除去する。
このようにして、図22に示すように、無機物バンク層18の表面18a(突出部18bの上面)にのみシラン系カップリング剤214を形成する。シラン系カップリング剤は、酸化物との密着性も良く、末端の官能基を選択することにより、正孔注入層形成材料等のインクとの濡れ性を調整することができる。
このようにして、図22に示すように、無機物バンク層18の表面18a(突出部18bの上面)にのみシラン系カップリング剤214を形成する。シラン系カップリング剤は、酸化物との密着性も良く、末端の官能基を選択することにより、正孔注入層形成材料等のインクとの濡れ性を調整することができる。
本実施形態によっても、上記第3実施形態と同様の作用効果を奏することができる。
[第5の実施の形態]
以下、本発明の第5の実施形態について図面を参照して説明する。
また、本実施形態の有機EL装置は、発光層で発光した光を基板側から取り出すボトムエミッション方式である。
以下、本発明の第5の実施形態について図面を参照して説明する。
また、本実施形態の有機EL装置は、発光層で発光した光を基板側から取り出すボトムエミッション方式である。
(有機EL装置)
図23(a)は有機EL装置の概略構成を示す平面図であり、図23(b)は(a)の有機EL装置のA−B線に沿った断面図である。
図23(a)は有機EL装置の概略構成を示す平面図であり、図23(b)は(a)の有機EL装置のA−B線に沿った断面図である。
図1に示したように、本実施形態の有機EL装置301(発光装置)は、複数の走査線101と、走査線101に対して交差する方向に延びる複数の信号線102と、信号線102に並列に延びる複数の電源線103とがそれぞれ配線された回路構成を有する。走査線101及び信号線102の各交点付近に、画素領域Aが設けられている。
信号線102には、シフトレジスタ、レベルシフタ、ビデオライン及びアナログスイッチ等を備えるデータ側駆動回路104が接続されている。また、走査線101には、シフトレジスタ及びレベルシフタ等を備える走査側駆動回路105が接続されている。さらに、画素領域Aの各々には、走査線101を介して走査信号がゲート電極に供給されるスイッチング用の薄膜トランジスタ112と、このスイッチング用の薄膜トランジスタ112を介して信号線102から共有される画素信号を保持する保持容量(cap)と、該保持容量(cap)によって保持された画素信号がゲート電極に供給される駆動用の薄膜トランジスタ123と、この駆動用の薄膜トランジスタ123を介して電源線103に電気的に接続したときに当該電源線103から駆動電流が与えられる画素電極111と、この画素電極111と陰極(対向電極)12との間に挟み込まれた機能層110とが設けられている。先の電極111と陰極12と機能層110により、発光素子例えば有機EL素子が構成されている。
かかる構成によれば、走査線101が駆動されてスイッチング用の薄膜トランジスタ112がオンになると、そのときの信号線102の電位が保持容量capに保持され、該保持容量capに状態に応じて、駆動用の薄膜トランジスタ123のオン・オフ状態が決まる。そして、駆動用の薄膜トランジスタ123のチャネルを介して、電源線103から画素電極111に電流が流れ、さらに機能層110を介して陰極12に電流が流れる。機能層110は、これを流れる電流量に応じて発光する。
図23(a)、(b)に示すように、本実施形態の有機EL装置301は、ガラス等からなる透明な基板10と、基板10上にマトリックス状に配置された発光素子が具備された発光素子部11を具備している。なお、発光素子は陽極、機能層、陰極により構成されたものであり、機能層とは、正孔注入層、発光層、電子注入/輸送層等である。基板10は、例えばガラス等の透明基板であり、基板10の中央に位置する表示領域2aと、基板10の周縁に位置して表示領域2aの外側に非表示領域2bとに区画されている。表示領域2aは、マトリックス状に配置された発光素子によって形成される領域であり、有効表示領域とも言う。また、表示領域の外側に非表示領域2bが形成されている。そして、非表示領域2bには、表示領域2aに隣接するダミー表示領域2dが形成されている。また、図23(b)に示すように、発光素子部11と基板10の間には回路素子部14が備えられ、この回路素子部14に前述の走査線、信号線、保持容量、スイッチング用の薄膜トランジスタ、駆動用の薄膜トランジスタ123等が備えられている。また、陰極12は、その一端が基板10上に形成された陰極用配線12aに接続しており、この配線の一端部12bがフレキシブル基板5上の配線5aに接続されている。また、配線5aは、フレキシブル基板5上に備えられた駆動IC6(駆動回路)に接続されている。
また、図23(a)及び図23(b)に示すように、回路素子部14の非表示領域2bには、前述の電源線103(103R、103G、103B)が配置されている。また、図23(a)に記載の表示領域2aの両側には、前述の走査側駆動回路105、105が配置されている。この走査側駆動回路105、105はダミー表示領域2dの下側の回路素子部14内に設けられている。さらに回路素子部14内には、走査側駆動回路105、105に接続される駆動回路用制御信号配線105aと駆動回路用電源配線105bとが設けられている。さらに図23(a)に記載の表示領域2aの上側(図面において上側、駆動IC6と反対側)には検査回路106が配置されている。この検査回路106により、製造途中や出荷時の有機EL装置の品質、欠陥の検査を行うことができる。
また、図23(b)に示すように、発光素子部11は、複数の画素電極111…上の各々に積層された機能層110と、各画素電極111及び機能層110の間の平面領域に備えられて各機能層110を平面的に区画する無機物バンク層18とを主体として構成されている。機能層110上には陰極12が配置されている。これら画素電極111、機能層110及び陰極12によって発光素子(例えば有機EL素子)が構成されている。ここで、画素電極111は、例えばITOにより形成されてなり、平面視略矩形にパターニングされて形成されている。この画素電極111の厚さは、例えば50〜200nmの範囲が好ましく、特に150nm程度がよい。隣接する画素電極111…の間に無機物バンク層18(第1隔壁)が備えられている。
また、図23(b)に示すように、発光素子部11上には封止部3が備えられている。この封止部3は、陰極12上に塗布された熱硬化樹脂あるいは紫外線硬化樹脂等からなる封止樹脂3aと、封止樹脂3a上に配置された封止基板3bとからなる。なお、封止樹脂3aとしては、硬化時にガス、溶媒等が発生しないものが好ましい。この封止部3は、少なくとも陰極12を覆うように形成されており、陰極12及び発光層110bに対する水又は酸素の侵入を防いで、陰極12及び発光層110bの酸化を防止する。なお、封止基板3bは、封止樹脂3aに接合されて封止樹脂3aを保護するものであり、ガラス板、金属板若しくは樹脂板のいずれかであることが好ましい。また後述するように、カン封止タイプのものも好ましく、凹んだ部分にゲッター材を配置し、ゲッター材により酸素の吸着を行い封止した内部の酸化を防止するようにしてもよい。
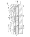
図24は、有機EL装置における発光素子について拡大した図であり、特に表示領域の断面構造を拡大した図を示す。この図24には3つの画素領域Aが図示されている。
この有機EL装置301は、基板10、その上に形成されたTFTなどの回路等を有する回路素子部14、並びにさらにこの回路素子部14の上に形成された画素電極(陽極)111、正孔注入層110a及び発光層110bを含む機能層110、及び陰極12、を有する発光素子部11により構成されている。上記画素電極111、正孔注入層110a、発光層110b及び陰極12が有機EL素子を構成することができる。この有機EL装置301においては、機能層110から基板10側に発した光が、回路素子部14及び基板10を透過して基板10の下側(観測者側)に出射されると共に、機能層110から基板10の反対側に発した光が陰極12により反射されて、回路素子部14及び基板10を透過して基板10の下側(観測者側)に出射されるようになっている。
この有機EL装置301は、基板10、その上に形成されたTFTなどの回路等を有する回路素子部14、並びにさらにこの回路素子部14の上に形成された画素電極(陽極)111、正孔注入層110a及び発光層110bを含む機能層110、及び陰極12、を有する発光素子部11により構成されている。上記画素電極111、正孔注入層110a、発光層110b及び陰極12が有機EL素子を構成することができる。この有機EL装置301においては、機能層110から基板10側に発した光が、回路素子部14及び基板10を透過して基板10の下側(観測者側)に出射されると共に、機能層110から基板10の反対側に発した光が陰極12により反射されて、回路素子部14及び基板10を透過して基板10の下側(観測者側)に出射されるようになっている。
無機物バンク層18は、発光領域を制御するものであり、図24に示すように、画素電極111を区画するようにして画素電極111,111間に形成されている。また、無機物バンク層18の一部が画素電極111の周縁部上に乗り上げて形成され、無機物バンク層18と画素電極111とが平面視で一部重なっている。これにより、画素電極111上には、無機物バンク層18によって区画された画素開口部18cが設けられ、この画素開口部18cの面積が開口率となる。また、無機物バンク層18は、例えば、SiO2、TiO2、SiN等の無機材料あるいはSiNに微量の炭素が含まれた材料からなる。この無機物バンク層18の膜厚は、例えば30〜200nmの範囲が好ましく、特に50〜100nmが好ましい。
無機物バンク層18上には有機物バンク層320が形成されている。有機物バンク層320は、フォトリソグラフィー処理の精度を考慮して、無機物バンク層18の周縁よりも内側に間隔を空けて形成されている。これにより、無機物バンク層の周縁部には、有機物バンク層320の側面から画素電極111中央部側へ突出した突出部18bが設けられる。
本実施形態において有機物バンク層320は、基板10側から第1有機物層322、酸化物層(隔壁部絶縁層)324、及び第2有機物層326が順に積層されて構成される。有機物バンク層320の形状は、傾斜面を有する断面台形状に形成されている。第1有機物層322及び第2有機物層326はアクリル又はポリイミドからなり、酸化物層324はSiO2、TiO2からなる。また、第1有機物層322の側面322a及び第2有機物層326の側面326aには撥液処理が施されており、酸化物層324の側面324aには親液処理が施されている。つまり、酸化物層324の側面324aは、第1有機物層322の側面322a等よりも相対的に撥液性が低い領域となっており、この酸化物層324の側面324aがピニングポイントとなる。
ここで、第1有機物層322の膜厚は、狙いとする発光層の膜厚と同程度であることが好ましい。具体的には、50〜100nmが好ましい。第2有機物層326の膜厚としては、0.5μm〜2μmが好ましい。酸化物層324の膜厚としては20nm〜50nmと薄い方が好ましい。酸化物層324の膜厚が厚くなると、酸化物層324の表面のピニングポイントの範囲も広くなり、ピニングポイントを一定の位置に制御(固定)することができないからである。なお、有機物バンク層320の酸化物層324に代えて、SiN等の材料を用いた層を形成することも可能である。
ここで、第1有機物層322の膜厚は、狙いとする発光層の膜厚と同程度であることが好ましい。具体的には、50〜100nmが好ましい。第2有機物層326の膜厚としては、0.5μm〜2μmが好ましい。酸化物層324の膜厚としては20nm〜50nmと薄い方が好ましい。酸化物層324の膜厚が厚くなると、酸化物層324の表面のピニングポイントの範囲も広くなり、ピニングポイントを一定の位置に制御(固定)することができないからである。なお、有機物バンク層320の酸化物層324に代えて、SiN等の材料を用いた層を形成することも可能である。
機能層110は、図24に示すように、画素電極111上に形成された正孔注入層110aと、正孔注入層110a上に積層された発光層110bとを有している。
正孔注入層110aは、図24に示すように、無機物バンク層18によって区画された画素開口部18c内の画素電極111上に形成されている。また、正孔注入層110aの周縁部は、無機物バンク層18の突出部18bに乗り上げて形成されている。正孔注入層形成材料としては、例えば、ポリエチレンジオキシチオフェン(PEDOT)等のポリチオフェン誘導体とポリスチレンスルホン酸(PSS)等の混合物(PEDOT/PSS)が好適に用いられる。
発光層110bは、図24に示すように、有機物バンク層320に区画された開口部320c内の正孔注入層110a上の全面に形成されている。
ここで、発光層の外縁は、有機物バンク層320の酸化物層324のピニングポイントとなる側面324aと接触しており、発光層110bの上面の高さが、有機物バンク層320の酸化物層324の高さまで形成されている。発光層110bは、赤色(R)に発光する赤色発光層、緑色(G)に発光する緑色発光層、及び青色(B)に発光する青色発光層の3種類を有し、各発光層がストライプ状に配置されている。発光層110bの高分子発光層形成材料としては、ポリフルオレン(PF)誘導体、ポリパラフェニレンビニレン(PPV)誘導体、ポリパラフェニレン(PPP)誘導体(PPP)、ポリビニルカルバゾール(PVK)、ポリチオフェン誘導体、ポリメチルフェニルシラン(PMPS)等のポリシラン系などの高分子有機材料が好適に用いられる。発光層110bの膜厚としては例えば50〜100nmが好ましい。
ここで、発光層の外縁は、有機物バンク層320の酸化物層324のピニングポイントとなる側面324aと接触しており、発光層110bの上面の高さが、有機物バンク層320の酸化物層324の高さまで形成されている。発光層110bは、赤色(R)に発光する赤色発光層、緑色(G)に発光する緑色発光層、及び青色(B)に発光する青色発光層の3種類を有し、各発光層がストライプ状に配置されている。発光層110bの高分子発光層形成材料としては、ポリフルオレン(PF)誘導体、ポリパラフェニレンビニレン(PPV)誘導体、ポリパラフェニレン(PPP)誘導体(PPP)、ポリビニルカルバゾール(PVK)、ポリチオフェン誘導体、ポリメチルフェニルシラン(PMPS)等のポリシラン系などの高分子有機材料が好適に用いられる。発光層110bの膜厚としては例えば50〜100nmが好ましい。
陰極12は、図24に示すように、発光層110bを含む有機物バンク層320上の全面に画素電極111に対向するようにして形成されている。この陰極12は、カルシウム(Ca)層とアルミニウム(Al)層とが基板10側からこの順に積層されて構成されている。Al層は、発光層110bから発光された光を基板10側(観察者側)に反射させるもので、Al層の他に、Ag層又はAl層とAg層との積層膜等から構成することも好ましい。また、発光層110bの材料を効率よく発光させるために、発光層110bと陰極12のCa層との間にフッ化リチウム(LiF)層を形成する場合もある。Ca層の膜厚としては、例えば2〜20nmの範囲が好ましく、特に10nm程度がよい。また、Al層の膜厚としては、例えば100〜1000nmの範囲が好ましく、特に200nm程度がよい。さらにAl層上にSiO、SiO2、SiN等からなる酸化防止用の保護層を設けても良い。
(有機EL装置の製造方法)
次に、第5の実施形態に係る有機EL装置の製造方法について説明する。
図25〜図34は、第5の実施形態に係る有機EL装置の製造工程を示す断面図である。
なお、TFT等の製造工程については、公知の方法が用いられるので省略する。
次に、第5の実施形態に係る有機EL装置の製造方法について説明する。
図25〜図34は、第5の実施形態に係る有機EL装置の製造工程を示す断面図である。
なお、TFT等の製造工程については、公知の方法が用いられるので省略する。
<無機物バンク層形成工程>
まず、CVD法、コート法、スパッタ法、蒸着法等により、SiO2又はTiO2等の無機物バンク層となる絶縁層を、画素電極111を含む第2層間絶縁膜144b上の全面に成膜する。
続けて、絶縁層上の全面に感光性レジストを塗布した後、画素開口部18cに対応する位置が開口されたマスクを用いて、感光性レジストをフォトリソグラフィー処理し、感光性レジストを所定形状にパターニングする。そして、このパターニングした感光性レジストをマスクとして絶縁層をエッチング処理する。この処理により、図25に示すように、画素電極111を区画すると共に、一部が画素電極111の周縁部上に乗り上げた無機物バンク層18を形成する。
まず、CVD法、コート法、スパッタ法、蒸着法等により、SiO2又はTiO2等の無機物バンク層となる絶縁層を、画素電極111を含む第2層間絶縁膜144b上の全面に成膜する。
続けて、絶縁層上の全面に感光性レジストを塗布した後、画素開口部18cに対応する位置が開口されたマスクを用いて、感光性レジストをフォトリソグラフィー処理し、感光性レジストを所定形状にパターニングする。そして、このパターニングした感光性レジストをマスクとして絶縁層をエッチング処理する。この処理により、図25に示すように、画素電極111を区画すると共に、一部が画素電極111の周縁部上に乗り上げた無機物バンク層18を形成する。
<有機物バンク層形成工程>
次に、図26に示すように、無機物バンク層18及び画素電極111上の全面に、スピンコート法によりアクリル、ポリイミド等の第1有機物層形成材料322bを成膜する。
続けて、図26に示すように、成膜した第1有機物層形成材料322b上の全面に、CVD法、スパッタ法、蒸着法等によりSiO2、TiO2等の酸化物層形成材料324bを成膜する。
続けて、図26に示すように、成膜した無機物材料上の全面に、スピンコート法によりアクリル、ポリイミド等の第2有機物層形成材料326bを成膜する。
次に、図26に示すように、無機物バンク層18及び画素電極111上の全面に、スピンコート法によりアクリル、ポリイミド等の第1有機物層形成材料322bを成膜する。
続けて、図26に示すように、成膜した第1有機物層形成材料322b上の全面に、CVD法、スパッタ法、蒸着法等によりSiO2、TiO2等の酸化物層形成材料324bを成膜する。
続けて、図26に示すように、成膜した無機物材料上の全面に、スピンコート法によりアクリル、ポリイミド等の第2有機物層形成材料326bを成膜する。
次に、第2有機物層形成材料326b上の全面に感光性レジストを塗布した後、無機物バンク層18に区画された画素開口部18cに対応する位置が、若干開口されたマスクを用いて、感光性レジストをフォトリソグラフィー処理する。このとき、フォトリソグラフィー処理の精度を考慮して、無機物バンク層18の周縁よりも内側に有機物バンク層320の側面が形成されるように制御する。つまり、有機物バンク層320に区画される開口部よりも、無機物バンク層18に区画される画素開口部の開口面積が広くなるように、フォトリソグラフィー処理する。
次に、パターニングした感光性レジストをマスクとして、第1有機物層形成材料322b、酸化物層形成材料324b、及び第2有機物層形成材料326bを一括エッチング処理する。このとき、有機物バンク層320が傾斜面を有する断面台形状となるように、エッチング液、エッチング時間等のエッチング条件を調節してエッチング処理する。このようにして、図27に示すように、無機物バンク層18上に第1有機物層322、酸化物層324、第2有機物層326の3層からなる有機物バンク層320を形成する。なお、無機物バンク層18の第1有機物層322の膜厚を調整することにより、酸化物層324の高さを調整することができる。これにより、ピニングポイントの位置を制御することができる。
<活性化処理工程>
次に、画素電極111の電極面、無機物バンク層18の表面、及び有機物バンク層表面に活性化処理を施す。活性化処理には、画素電極111における仕事関数の調整、制御、画素電極表面の洗浄、画素電極表面、無機物層及び酸化物層表面の親液化処理が含まれる。
まず、親液化処理として、大気雰囲気中で酸素を処理ガスとするプラズマ処理(O2プラズマ処理)を行う。このO2プラズマ処理により、画素電極111の電極面111a、無機物バンク層18の突出部18bの表面18a(以下、表面18aと省略する)、及び有機物バンク層320の酸化物層324の側面324aが親液処理される。なお、このO2プラズマ処理は、親液性を付与するのみならず、上述の通り画素電極であるITO上の洗浄,仕事関数の調整も兼ねている。
次に、画素電極111の電極面、無機物バンク層18の表面、及び有機物バンク層表面に活性化処理を施す。活性化処理には、画素電極111における仕事関数の調整、制御、画素電極表面の洗浄、画素電極表面、無機物層及び酸化物層表面の親液化処理が含まれる。
まず、親液化処理として、大気雰囲気中で酸素を処理ガスとするプラズマ処理(O2プラズマ処理)を行う。このO2プラズマ処理により、画素電極111の電極面111a、無機物バンク層18の突出部18bの表面18a(以下、表面18aと省略する)、及び有機物バンク層320の酸化物層324の側面324aが親液処理される。なお、このO2プラズマ処理は、親液性を付与するのみならず、上述の通り画素電極であるITO上の洗浄,仕事関数の調整も兼ねている。
次に、撥液化処理として、大気雰囲気中でテトラフルオロメタンを処理ガスとするプラズマ処理(CF4プラズマ処理)を行う。なお、処理ガスは、テトラフルオロメタン(四フッ化炭素)に限らず、他のフルオロカーボン系のガスを用いることができる。CF4プラズマ処理により、有機物バンク層320の第1有機物層322の側面322a、第2有機物層326の側面326a及びその上面326cが撥液処理される。また、O2プラズマにより前処理した方がフッ素化されやすいという特徴を有しており、本実施形態には特に有効である。なお、画素電極111の電極面111a、無機物バンク層18の表面18a、及び第2有機物層326の酸化物層324の側面324aもこのCF4プラズマ処理の影響を多少受けるが、濡れ性に影響を与えることは少ない。
<正孔注入層形成工程>
次に、図28に示すように、PEDOT/PSS(PEDOT:PSS=1:6又は1:20)の混合物を含む水分散液にジエチレングリコール等の溶媒を添加した正孔注入層形成材料109aを、無機物バンク層18に区画された画素開口部18c内にインクジェット装置IJにより吐出する。吐出された正孔注入層形成材料109aは、画素電極111の電極面111a上及び無機物バンク層18の突出部18b上に配置される。
次に、図28に示すように、PEDOT/PSS(PEDOT:PSS=1:6又は1:20)の混合物を含む水分散液にジエチレングリコール等の溶媒を添加した正孔注入層形成材料109aを、無機物バンク層18に区画された画素開口部18c内にインクジェット装置IJにより吐出する。吐出された正孔注入層形成材料109aは、画素電極111の電極面111a上及び無機物バンク層18の突出部18b上に配置される。
<乾燥工程>
次に、図29に示すように、吐出した正孔注入層形成材料に含有する溶媒を乾燥処理により除去させて、無機物バンク層18に区画された画素開口部18c内の画素電極111上に正孔注入層110aを形成する。詳細には、吐出した正孔注入層形成材料を、真空乾燥した後、大気圧中において200℃の温度で10分間乾燥させる。この乾燥処理によって、図29に示すように、画素電極111の電極面111a、及び無機物バンク層18の周縁部に乗り上げるようにして正孔注入層110aを形成する。
次に、図29に示すように、吐出した正孔注入層形成材料に含有する溶媒を乾燥処理により除去させて、無機物バンク層18に区画された画素開口部18c内の画素電極111上に正孔注入層110aを形成する。詳細には、吐出した正孔注入層形成材料を、真空乾燥した後、大気圧中において200℃の温度で10分間乾燥させる。この乾燥処理によって、図29に示すように、画素電極111の電極面111a、及び無機物バンク層18の周縁部に乗り上げるようにして正孔注入層110aを形成する。
<発光層形成工程>
次に、図30に示すように、有機物バンク層320に区画された開口部320c内の無機物バンク層18及び正孔注入層110a上の全面に、インクジェット装置IJにより発光層形成材料113aを吐出する。発光層形成材料113aとしては、ポリフルオレン(PF)誘導体、ポリパラフェニレンビニレン(PPV)誘導体を芳香族系炭化水素溶媒で溶解した溶液が用いられる。芳香族系炭化水素溶媒としては、トリメチルベンゼン、シクロへキシルベンゼン、ドデシルベンゼン等のアルキル基のついたベンゼン溶媒、エーテル基のついたメトキシエトシキベンゼン等を用いても良い。
次に、図30に示すように、有機物バンク層320に区画された開口部320c内の無機物バンク層18及び正孔注入層110a上の全面に、インクジェット装置IJにより発光層形成材料113aを吐出する。発光層形成材料113aとしては、ポリフルオレン(PF)誘導体、ポリパラフェニレンビニレン(PPV)誘導体を芳香族系炭化水素溶媒で溶解した溶液が用いられる。芳香族系炭化水素溶媒としては、トリメチルベンゼン、シクロへキシルベンゼン、ドデシルベンゼン等のアルキル基のついたベンゼン溶媒、エーテル基のついたメトキシエトシキベンゼン等を用いても良い。
次に、図30及び図31に示すように、成膜した発光層形成材料113aに含有する溶媒を乾燥処理により除去させて、無機物バンク層18及び正孔注入層110a上の全面に発光層110bを形成する。詳細には、吐出した発光層形成材料113aを、溶媒除去後、さらにArや窒素などの不活性雰囲気中において130℃の温度で60分間アニール処理を施す。従って、発光層の膜厚が例えば80nmの均一な発光層110bを形成することができる。
本実施形態では、有機物バンク層320の中間に酸化物層324が形成され、この酸化物層324の側面324aに親液処理が施されている。そのため、有機物バンク層320に区画された開口部320c内に吐出される発光層形成材料113aは、この酸化物層324の側面324aを基点としてピニングされる。つまり、有機物バンク層320の酸化物層324の側面324aと接触する発光層形成材料113aの外縁から乾燥、析出し始め、発光層形成材料113aに含まれる溶媒が蒸発する。このようにして、図31に示すように、正孔注入層110a上に例えば80nmの膜厚の均一かつ平坦な発光層110bを形成する。
本実施形態では、有機物バンク層320の中間に酸化物層324が形成され、この酸化物層324の側面324aに親液処理が施されている。そのため、有機物バンク層320に区画された開口部320c内に吐出される発光層形成材料113aは、この酸化物層324の側面324aを基点としてピニングされる。つまり、有機物バンク層320の酸化物層324の側面324aと接触する発光層形成材料113aの外縁から乾燥、析出し始め、発光層形成材料113aに含まれる溶媒が蒸発する。このようにして、図31に示すように、正孔注入層110a上に例えば80nmの膜厚の均一かつ平坦な発光層110bを形成する。
<陰極形成工程>
次に、図32に示すように、発光層110b上の全面に、真空加熱蒸着法により、Ca層及びAl層を順番に積層し、これらの積層膜から構成される陰極12を形成する。なお、上述したように、Ca層の下層にLiF層を形成しても良い。また陰極12上に、酸化防止のためにSiO2、SiN等の保護層を形成することも好ましい。
次に、図32に示すように、発光層110b上の全面に、真空加熱蒸着法により、Ca層及びAl層を順番に積層し、これらの積層膜から構成される陰極12を形成する。なお、上述したように、Ca層の下層にLiF層を形成しても良い。また陰極12上に、酸化防止のためにSiO2、SiN等の保護層を形成することも好ましい。
最後に、図23(b)に戻り、熱硬化樹脂又は紫外線硬化樹脂からなる封止樹脂3aを陰極12上の全面に塗布し、封止樹脂3a上に封止基板3bを積層して封止部3を形成する。封止工程は、窒素、アルゴン、ヘリウム等の不活性ガス雰囲気で行うことが好ましい。
このような方法により第5実施形態に係る有機EL装置301を製造することができる。
このような方法により第5実施形態に係る有機EL装置301を製造することができる。
なお、上記第5の実施形態では、正孔輸送層を省略したが、正孔注入層110aと発光層110bとの間に正孔輸送層を形成しても良い。正孔輸送層の材料としては、トリフェニルアミン系ポリマーを用いることができる。これにより、より効率よく正孔を発光層110bに注入することができるので、効率、寿命に優れた特性が得られる。
本実施形態によれば、有機物バンク層320の酸化物層324の側面324aは、第1有機物層322の側面322a及び第2有機物層326の側面326aよりも撥液性が相対的に低く(親液性)、吐出される発光層形成材料が第1領域よりも濡れ易くなっている。そのため、この酸化物層324の側面324aは、発光層形成材料の乾燥、析出が開始するピニングポイントとなる。従って、有機物バンク層320の酸化物層324の側面324aの位置を調節することで、乾燥、析出を開始するピニングポイントを制御(固定)することが可能となる。これにより、発光層形成材料の吐出量等を制御することで、乾燥後の膜厚を制御することができ、より均一かつ平坦な発光層110bを形成することができる。さらに、正孔注入層110a及び発光層110bの周縁部と中央部との膜厚を均一にすることができるため、発光寿命ムラのなく、発光寿命の均一化を図ることができる。
[第6の実施形態]
次に、本発明の第6の実施形態について図面を参照して説明する。
本実施形態と上記第5実施形態とでは、有機物バンク層320の形状が異なる。なお、その他の有機EL装置の基本構成及び製造方法は、上記第5実施形態と同様であり、共通の構成要素には同一の符号を付し、詳細な説明は省略する。
次に、本発明の第6の実施形態について図面を参照して説明する。
本実施形態と上記第5実施形態とでは、有機物バンク層320の形状が異なる。なお、その他の有機EL装置の基本構成及び製造方法は、上記第5実施形態と同様であり、共通の構成要素には同一の符号を付し、詳細な説明は省略する。
図33に示すように、本実施形態に係る有機物バンク層320は、上バンク層334(上隔壁部)と下バンク層332(下隔壁部)とが一体化されて構成されている。有機物バンク層320の上バンク層334の幅W1は、下バンク層332の幅W2よりも狭く形成され、下バンク層332の側面332aは上バンク層334の側面334aよりも外側に突出している。そして、突出した下バンク層332の上面332cと上バンク層334の側面334aとの境界には屈曲部340が設けられている。この屈曲部340は、発光層形成材料の乾燥、析出が開始するピニングポイントとなる。また、屈曲部340は、有機物バンク層320の側面の全周に沿って設けても良いし、一部に設けても良い。
なお、有機物バンク層320の形状は、上記形状に限定されることはない。例えば、断面台形状の有機物バンク層320の側面の一部にスリット状の凹部を設けても良いし、断面三角形状の凸部を設けても良い。これらの屈曲部340を形成する位置は、発光層110bの膜厚にあわせて形成する。
本実施形態に係る有機物バンク層320の形成方法としては、まず、アクリル、ポリイミド等の有機物材料を画素電極111及び無機物バンク層18上に成膜する。そして、図33に示す開口幅W3の開口部を有するマスクを用いてフォトリソグラフィー処理する。このとき、屈曲部340を形成する位置(深さ)までフォトリソグラフィー処理する。次に、図33に示す開口幅W4の開口部を有するマスクを用いてフォトリソグラフィー処理する。このように、2段階のフォトリソグラフィー処理により、有機物バンク層320の側面に屈曲部340を形成する。
本実施形態によれば、無機物バンク層18上の有機物バンク層320に屈曲部340が設けられており、この屈曲部340が液体材料の乾燥、析出を開始するピニングポイントとなる。そのため、有機物バンク層320に区画された領域に吐出される発光層形成材料は、この屈曲部340を基点として乾燥、析出を開始する。従って、屈曲部340を形成する位置を調節することで、乾燥を開始するピニングポイントを制御することが可能となる。
[第7の実施形態]
次に、本発明の第7の実施形態として、上記第5実施形態及び第6実施形態の有機EL装置の製造に適用できる他の製造方法について図34及び図35を参照して説明する。
本実施形態に係る製造方法では、無機物バンク層18に撥液処理を施し、正孔注入層の膜厚を制御する点において第5実施形態と異なる。なお、その他の有機EL装置の構成及び製造方法、特に有機物バンク層320の構成及び製造方法は、上記第5実施形態及び第6実施形態と同様であり、共通の構成要素には同一の符号を付し、詳細な説明は省略する。
次に、本発明の第7の実施形態として、上記第5実施形態及び第6実施形態の有機EL装置の製造に適用できる他の製造方法について図34及び図35を参照して説明する。
本実施形態に係る製造方法では、無機物バンク層18に撥液処理を施し、正孔注入層の膜厚を制御する点において第5実施形態と異なる。なお、その他の有機EL装置の構成及び製造方法、特に有機物バンク層320の構成及び製造方法は、上記第5実施形態及び第6実施形態と同様であり、共通の構成要素には同一の符号を付し、詳細な説明は省略する。
<バンク層形成工程>
まず、窒化ケイ素(SiN)に炭素(C)を微量(20%以下)に混合させた材料を用いて、画素電極111を含む第2層間絶縁膜144b上の全面にスパッタ法により無機物バンク層となる絶縁層を成膜する。
まず、窒化ケイ素(SiN)に炭素(C)を微量(20%以下)に混合させた材料を用いて、画素電極111を含む第2層間絶縁膜144b上の全面にスパッタ法により無機物バンク層となる絶縁層を成膜する。
次に、成膜した絶縁層をフォトリソグラフィー処理した後、パターニングしたレジストをマスクとしてエッチング処理する。この処理により、図34に示すように、画素電極111を区画すると共に、一部が画素電極111の周縁部上に乗り上げた無機物バンク層18を形成する。
次に、図34に示すように、無機物バンク層18上に、基板10側から第1有機物層322、酸化物層324、及び第2有機物層326が順に積層された有機物バンク層320を形成する。なお、有機物バンク層320は、第6実施形態で説明したように、屈曲部340を設けた構造としても良い。
次に、画素電極111、無機物バンク層18、及び有機物バンク層320のそれぞれの表面に、O2及びCH4の処理ガスを用いて連続プラズマ処理する。このプラズマ処理により、画素電極111の電極面111aが親液処理される。一方、有機物バンク層320の第1有機物層322の側面322a及び第2有機物層326の側面326a、並びに炭素を微量に含む無機物バンク層が撥液処理される。このプラズマ処理により、無機物バンク層18の表面18aの一部のCがフッ素化されるが、第1有機物層322等のようにテフロン(登録商標)化されることない。
<正孔注入層形成工程>
次に、図34に示すように、正孔注入層形成材料を、無機物バンク層18に区画された画素開口部18c内にインクジェット装置により吐出し、その後、乾燥処理により正孔注入層形成材料に含まれる溶媒を蒸発させて、画素電極111上に正孔注入層110aを形成する。
次に、図34に示すように、正孔注入層形成材料を、無機物バンク層18に区画された画素開口部18c内にインクジェット装置により吐出し、その後、乾燥処理により正孔注入層形成材料に含まれる溶媒を蒸発させて、画素電極111上に正孔注入層110aを形成する。
ここで、無機物バンク層18の表面18aには撥液処理が施されており、無機物バンク層18の表面18aと正孔注入層形成材料との接触角は約80°となっている。従って、無機物バンク層18の画素開口部18cに吐出される正孔注入層形成材料が無機物バンク層18の突出部18b上面に吐出されたとしても、正孔注入層形成材料ははじかれ、画素開口部18c内に流れ込む。
また本実施形態では、インクジェット装置IJから吐出される正孔注入層形成材料の吐出量、及び吐出する正孔注入層形成材料の溶媒中に含有させるPEDOT/PSS等の固形分濃度を制御する。これにより、無機物バンク層18の突出部18b上面の高さと、正孔注入層形成材料を乾燥した後の正孔注入層110aの上面との高さとを同じに形成する。
<発光層形成工程>
次に、図35に示すように、正孔注入層110a及び無機物バンク層18の突出部18b上に発光層110bを形成する。ここで、無機物バンク層18の表面18aには撥液処理が施されているため、無機物バンク層18上には正孔注入層110aが形成されておらず、無機物バンク層18の上面と正孔注入層110aの上面とで連続した平坦面が形成される。そのため、膜厚が例えば80nmの均一かつ平坦な発光層110bを形成することができる。
次に、図35に示すように、正孔注入層110a及び無機物バンク層18の突出部18b上に発光層110bを形成する。ここで、無機物バンク層18の表面18aには撥液処理が施されているため、無機物バンク層18上には正孔注入層110aが形成されておらず、無機物バンク層18の上面と正孔注入層110aの上面とで連続した平坦面が形成される。そのため、膜厚が例えば80nmの均一かつ平坦な発光層110bを形成することができる。
本実施形態によれば、無機物バンク層18は撥液処理されるため、無機物バンク層18上に吐出される正孔注入層形成材料ははじかれ、無機物バンク層18に区画された開口部内に流れ込む。また、正孔注入層の上面の高さと無機物バンク層18の上面の高さとは略同じであり、正孔注入層形成材料が無機物バンク層18上に漏れ出さないように制御されている。そのため、正孔注入層は、無機物バンク層18によって区画された開口部内の画素電極上にのみ配置され、無機物バンク層18上に配置されることはない。これにより、均一かつ平坦な正孔注入層を形成することができる。また、この正孔注入層上に発光層を形成することができるため、均一かつ平坦な発光層を形成することができる。さらに、正孔注入層及び発光層の膜厚を中央部と周縁部とで均一にすることができ、発光寿命ムラのなく、発光寿命の均一化を図ることができる。
また本実施形態によれば、無機物バンク層18表面が撥液性を有するため、インクジェット装置を用いた場合でも、無機物バンク層18に区画された画素開口部18cの外側に正孔注入層110a形成材料を漏れ出させることなく、選択的に正孔注入層110aを形成することができる。従って、インクジェット装置を用いることにより、材料の無駄を抑制することができ、低コストかつ高精度に正孔注入層110aを形成することができる。
さらに本実施形態によれば、第5実施形態及び第6実施形態において説明した有機物バンク層320を有しているため、ピニングポイントを制御(固定)することができ、均一かつ平坦な発光層を形成することができる。
[第7の実施形態の変形例]
次に、本実施形態に係る有機EL装置の製造方法について説明する。
本実施形態は、上記第7実施形態とは無機物バンク層18表面への撥液処理方法が異なる。なお、その他の有機EL装置の構成、及び製造方法は、上記第5〜第7実施形態と同様である。そのため、図34を用いて説明することとし、共通の構成要素には同一の符号を付し、詳細な説明は省略する。
次に、本実施形態に係る有機EL装置の製造方法について説明する。
本実施形態は、上記第7実施形態とは無機物バンク層18表面への撥液処理方法が異なる。なお、その他の有機EL装置の構成、及び製造方法は、上記第5〜第7実施形態と同様である。そのため、図34を用いて説明することとし、共通の構成要素には同一の符号を付し、詳細な説明は省略する。
まず、画素電極111を含む第2層間絶縁膜144b上の全面に、CVD法、スパッタ法、蒸着法等により、SiO2、TiO2等の無機物材料を成膜する。続けて、フォトリソグラフィー処理、エッチング処理により、図34に示すように、無機物バンク層18を形成する。
次に、図34に示すように、無機物バンク層18上に、基板10側から第1有機物層322、酸化物層324、及び第2有機物層326が順に積層された有機物バンク層320を形成する。
次に、画素電極111、無機物バンク層18、及び有機物バンク層320のそれぞれの表面に、O2及びCH4の処理ガスを用いて連続プラズマ処理する。このプラズマ処理により、画素電極111の電極面及び無機物バンク層18の表面18aが親液処理される。一方、有機物バンク層320の第1有機物層322の側面322a及び第2有機物層326の側面326aが撥液処理される。
次に、トリメトキシシラン等のシラン系カップリング剤溶液に、プラズマ処理を施した上記基板を浸漬する。これにより、親液処理された無機物バンク層18の表面18aにのみカップリング剤の単分子膜が形成される。このように、シラン系カップリング剤は、酸化物との密着性も良く、末端の官能基を選択することにより、正孔注入層形成材料等のインクとの濡れ性を調整することができる。
なお、シラン系カップリング剤溶液に上記基板を浸漬させると、画素電極111等も酸化物であるため、画素電極111の電極面にシラン系カップリング剤が付着する場合がある。この場合には、画素開口部18cの対応する位置に開口部を有するマスクを用い、このマスクを介して紫外線を照射することにより、無機物バンク層18の表面18aにのみシラン系カップリング剤を残すことも可能である。
なお、シラン系カップリング剤溶液に上記基板を浸漬させると、画素電極111等も酸化物であるため、画素電極111の電極面にシラン系カップリング剤が付着する場合がある。この場合には、画素開口部18cの対応する位置に開口部を有するマスクを用い、このマスクを介して紫外線を照射することにより、無機物バンク層18の表面18aにのみシラン系カップリング剤を残すことも可能である。
[電子機器]
次に、上記実施形態において説明した有機EL装置1,201,301を備える電子機器について説明する。
図36は、携帯電話の概略構成を示す斜視図である。
図36に示すように、携帯電話600は、ヒンジ122を中心として折り畳み可能な第1ボディ106aと第2ボディ106bとを備えている。そして、第1ボディ106aには、有機EL装置からなる表示部601と、複数の操作ボタン127と、受話口124と、アンテナ126とが設けられている。また、第2ボディ106bには、送話口128が設けられている。
この携帯電話600によれば、上記有機EL装置1,201,301を備えているため、輝度ムラのない高品質な電子機器を提供することができる。
次に、上記実施形態において説明した有機EL装置1,201,301を備える電子機器について説明する。
図36は、携帯電話の概略構成を示す斜視図である。
図36に示すように、携帯電話600は、ヒンジ122を中心として折り畳み可能な第1ボディ106aと第2ボディ106bとを備えている。そして、第1ボディ106aには、有機EL装置からなる表示部601と、複数の操作ボタン127と、受話口124と、アンテナ126とが設けられている。また、第2ボディ106bには、送話口128が設けられている。
この携帯電話600によれば、上記有機EL装置1,201,301を備えているため、輝度ムラのない高品質な電子機器を提供することができる。
なお、本発明の技術範囲は、上述した実施形態に限定されるものではなく、本発明の趣旨を逸脱しない範囲において、上述した実施形態に種々の変更を加えたものを含む。
例えば、上記実施形態では、ボトムエミッション型の有機EL装置について説明したが、光を主に素子基板とは反対側から取り出すトップエミッション型の有機EL装置であっても良い。トップエミッション型の有機EL装置の場合には、上述した画素電極に反射膜の機能を付加することが好ましい。また、陰極にはITO等の透明導電材料を積層した膜を用いることが好ましい。
例えば、上記実施形態では、ボトムエミッション型の有機EL装置について説明したが、光を主に素子基板とは反対側から取り出すトップエミッション型の有機EL装置であっても良い。トップエミッション型の有機EL装置の場合には、上述した画素電極に反射膜の機能を付加することが好ましい。また、陰極にはITO等の透明導電材料を積層した膜を用いることが好ましい。
1,201,301…有機EL装置(発光装置)、10…基板、12…陰極、110b…発光層、110a…正孔注入層、111…画素電極、18,112a…無機物バンク層(第1隔壁)、112c…画素開口部、18c…画素開口部、220,320…有機物バンク層(第2隔壁)、322…第1有機物層、324…酸化物層、326…第2有機物層、332…下バンク層(下隔壁部)、334…上バンク層(上隔壁部)、340…屈曲部
Claims (26)
- 基板上に、画素電極と、前記画素電極に対向する陰極と、前記画素電極と前記陰極との間に前記基板側から積層される正孔注入層及び発光層とを備える発光装置であって、
隣接する前記画素電極間には、前記画素電極を区画すると共に、前記画素電極の周縁部と平面視で重なるようにして正孔注入層材料に対し撥液性を有する絶縁層が設けられ、
前記絶縁層に区画された前記画素電極上には前記正孔注入層が設けられ、
前記正孔注入層の上面の高さが、前記絶縁層の周縁部上に設けられた前記絶縁層の上面の高さと略同じであることを特徴とする発光装置。 - 基板上に、画素電極と、前記画素電極に対向する陰極と、前記画素電極と前記陰極との間に前記基板側から積層される正孔注入層及び発光層とを備える発光装置であって、
隣接する前記画素電極間に、前記画素電極を区画すると共に、前記画素電極の周縁部と平面視で重なるように設けられた正孔注入層材料に対し撥液性を有する第1隔壁と、
前記第1隔壁上に前記画素電極を区画するように設けられた第2隔壁とを備え、
前記第1隔壁に区画された前記画素電極上には前記正孔注入層が設けられ、
前記正孔注入層の上面の高さが、前記画素電極の周縁部上に設けられた前記第1隔壁の上面の高さと略同じであることを特徴とする発光装置。 - 前記発光層は、前記絶縁層及び前記正孔注入層上の全面又は前記第1隔壁及び前記正孔注入層上の全面に設けられていることを特徴とする請求項1又は2に記載の発光装置。
- 基板上に、画素電極と、前記画素電極に対向する陰極と、前記画素電極と前記陰極との間に前記基板側から積層される正孔注入層及び発光層とを備える発光装置であって、
隣接する前記画素電極間に、前記画素電極を区画すると共に、前記画素電極の周縁部と平面視で重なるように設けられた第1隔壁と、
前記第1隔壁上に、前記画素電極を区画するように設けられた第2隔壁とを備え、
前記第2隔壁の側面には、撥液性を有する第1領域と、前記第1領域よりも撥液性が相対的に低い第2領域とが設けられたことを特徴とする発光装置。 - 前記第2隔壁が、第1有機物層、隔壁部絶縁層、及び第2有機物層が前記基板側からこの順に積層されて構成され、
前記隔壁部絶縁層の表面が、前記第1有機物層及び前記第2有機物層の表面よりも相対的に撥液性が低いことを特徴とする請求項4に記載の発光装置。 - 基板上に、画素電極と、前記画素電極に対向する陰極と、前記画素電極と前記陰極との間に前記基板側から積層される正孔注入層及び発光層とを備える発光装置であって、
隣接する前記画素電極間に、前記画素電極を区画すると共に、前記画素電極の周縁部と平面視で重なるように設けられた第1隔壁と、
前記第1隔壁上に前記画素電極を区画するように設けられた第2隔壁とを備え、
前記第2隔壁の側面の少なくとも一部には屈曲部が設けられたことを特徴とする発光装置。 - 前記第2隔壁が、上隔壁部と、前記上隔壁部の側面よりも外側に突出した側面を有する下隔壁部とからなり、
前記突出した下隔壁部の上面と、前記上隔壁の側面との境界に前記屈曲部が設けられたことを特徴とする請求項6に記載の発光装置。 - 前記第1隔壁が正孔注入層材料に対して撥液性を有するものであり、
前記正孔注入層の上面の高さが、前記画素電極の周縁部上に設けられた前記第1隔壁の上面の高さと略同じであることを特徴とする請求項1乃至請求項4のいずれか1項に記載の発光装置。 - 請求項1又は請求項3に記載の発光装置と、回動可能な感光体ドラムとを備え、
前記発光装置から出射される光により前記感光体ドラムを露光することを特徴とする露光装置。 - 基板上に、画素電極と、前記画素電極に対向する陰極と、前記画素電極と前記陰極との間に前記基板側から積層される正孔注入層及び発光層とを備える発光装置の製造方法であって、
隣接する前記画素電極間に、前記画素電極を区画すると共に、前記画素電極の周縁部と平面視で重なるようにして正孔注入層材料に対し撥液性を有する又は撥液処理が施された絶縁層を形成する絶縁層形成工程と、
前記絶縁層に区画された前記画素電極上に、前記正孔注入層の上面の高さが前記絶縁層の上面の高さと略同じとなるようにして前記正孔注入層を形成する正孔注入層形成工程と、
前記絶縁層及び前記画素電極上の全面に発光層を形成する発光層形成工程と、を有することを特徴とする発光装置の製造方法。 - 前記絶縁層形成工程において、
前記絶縁層を、窒化ケイ素と炭素とを含む材料を用いて前記絶縁層を形成した後、
フッ化系化合物ガスの雰囲気中において前記絶縁層にプラズマ処理を施すことを特徴とする請求項10に記載の発光装置の製造方法。 - 前記絶縁層形成工程において、
前記絶縁層を酸化ケイ素又は窒化ケイ素又は酸化チタンにより形成した後、
前記絶縁層表面にシラン系カップリング処理を施すことを特徴とする請求項10に記載の発光装置の製造方法。 - 前記正孔注入層形成工程において、前記正孔注入層を液滴吐出法により形成し、
前記発光層形成工程において、前記発光層を液相法により形成することを特徴とする請求項10乃至請求項12のいずれか1項に記載の発光装置の製造方法。 - 基板上に、画素電極と、前記画素電極に対向する陰極と、前記画素電極と前記陰極との間に前記基板側から積層される正孔注入層及び発光層とを備える発光装置の製造方法であって、
隣接する前記画素電極間に、前記画素電極を区画すると共に、前記画素電極の周縁部と平面視で重なるようにして、正孔注入層材料に対し撥液性を有する第1隔壁を形成する第1隔壁形成工程と、
前記第1隔壁上に前記画素電極を区画するようにして第2隔壁を形成する第2隔壁形成工程と、
前記第1隔壁及び前記第2隔壁に区画された前記画素電極上に、前記正孔注入層の上面の高さが、前記画素電極の周縁部上に設けられた前記第1隔壁の上面の高さと略同じとなるようにして前記正孔注入層を形成する正孔注入層形成工程と、
前記第1隔壁及び前記第2隔壁に区画された前記正孔注入層上の全面に発光層を形成する発光層形成工程と、を有することを特徴とする発光装置の製造方法。 - 前記第1隔壁形成工程において、窒化ケイ素と炭素とを含む材料を用いて前記第1隔壁を形成し、前記第2隔壁形成工程後、フッ化系化合物ガスの雰囲気中において前記第1隔壁にプラズマ処理し、前記第1隔壁に撥液処理を施すことを特徴とする請求項14に記載の発光装置の製造方法。
- 前記第1隔壁形成工程において、前記第1隔壁を酸化ケイ素、窒化ケイ素、又は酸化チタンにより形成した後、
前記第2隔壁形成工程後、シラン系カップリング処理を施し、前記第1隔壁表面に撥液処理を施すことを特徴とする請求項14に記載の発光装置の製造方法。 - 前記第2隔壁形成後、フッ化系化合物ガスの雰囲気中においてプラズマ処理し、前記第2隔壁に撥液処理を施すことを特徴とする請求項14に記載の発光装置の製造方法。
- 前記正孔注入層形成工程において、前記正孔注入層を液滴吐出法により形成し、前記発光層形成工程において、前記発光層を液滴吐出法により形成することを特徴とする請求項14乃至請求項17のいずれか1項に記載の発光装置の製造方法。
- 基板上に、画素電極と、前記画素電極に対向する陰極と、前記画素電極と前記陰極との間に前記基板側から積層される正孔注入層及び発光層とを備える発光装置の製造方法であって、
隣接する前記画素電極間に、前記画素電極を区画すると共に、前記画素電極の周縁部と平面視で重なるようにして第1隔壁を形成する第1隔壁形成工程と、
前記第1隔壁上に前記画素電極を区画するようにして第2隔壁を形成する第2隔壁形成工程と、
前記第1隔壁及び前記第2隔壁に区画された前記画素電極上に前記正孔注入層を形成する正孔注入層形成工程と、
前記第1隔壁及び前記第2隔壁に区画された前記正孔注入層上に前記発光層を形成する発光層形成工程とを有し、
前記第2隔壁形成工程において、前記第1隔壁上に第1有機物層、隔壁部絶縁層、及び第2有機物層を前記基板側から順に積層し、所定形状にパターニングして前記第2隔壁を形成することを特徴とする発光装置の製造方法。 - 前記第2隔壁を形成した後、酸素、及びフッ化系化合物ガスのプラズマ処理により、前記隔壁部絶縁層表面に親水性を、前記第1有機物層及び第2有機物層に撥液性を付与することを特徴とする請求項19に記載の発光装置の製造方法。
- 基板上に、画素電極と、前記画素電極に対向する陰極と、前記画素電極と前記陰極との間に前記基板側から積層される正孔注入層及び発光層とを備える発光装置の製造方法であって、
隣接する前記画素電極間に、前記画素電極を区画すると共に、前記画素電極の周縁部と平面視で重なるようにして第1隔壁を形成する第1隔壁形成工程と、
前記第1隔壁上に前記画素電極を区画するようにして第2隔壁を形成する第2隔壁形成工程と、
前記第1隔壁及び前記第2隔壁に区画された前記画素電極上に前記正孔注入層を形成する正孔注入層形成工程と、
前記第1隔壁及び前記第2隔壁に区画された前記正孔注入層上に発光層を形成する発光層形成工程とを有し、
前記第2隔壁形成工程において、前記第2隔壁の側面の少なくとも一部に屈曲部を形成することを特徴とする発光装置の製造方法。 - 前記第2隔壁を有機物で形成した後、酸素、及びフッ化系化合物ガスのプラズマ処理により、前記有機物層に撥液性を付与することを特徴とする請求項20に記載の発光装置の製造方法。
- 前記第1隔壁形成工程において、窒化ケイ素と炭素とを含む材料を用いて前記第1隔壁を形成し、
前記第2隔壁形成工程において、前記第2隔壁を形成した後、フッ化系化合物ガスにより前記第1隔壁にプラズマ処理を施して前記第1隔壁に撥液性を付与し、
前記正孔注入層形成工程において、前記第1隔壁に区画された前記画素電極上に、前記正孔注入層の上面の高さが、前記画素電極の周縁部上に設けられた前記第1隔壁の上面の高さと略同じとなるようにして前記正孔注入層を形成することを特徴とする請求項19乃至請求項22のいずれか1項に記載の発光装置の製造方法。 - 前記第1隔壁形成工程において、前記第1隔壁を酸化ケイ素又は酸化チタンにより形成し、
前記第2隔壁形成工程において、前記第2隔壁を形成した後、前記第1隔壁にシラン系カップリング処理を施して前記第1隔壁に撥液性を付与し、
前記正孔注入層形成工程において、前記第1隔壁に区画された前記画素電極上に、前記正孔注入層の上面の高さが、前記画素電極の周縁部上に設けられた前記第1隔壁の上面の高さと略同じとなるようにして前記正孔注入層を形成することを特徴とする請求項19乃至請求項22のいずれか1項に記載の発光装置の製造方法。 - 前記正孔注入層形成工程において、前記正孔注入層を液滴吐出法により形成し、前記発光層形成工程において、前記発光層を液滴吐出法により形成することを特徴とする請求項19乃至請求項24のいずれか1項に記載の発光装置の製造方法。
- 請求項1から8のいずれか1項に記載の発光装置を備えることを特徴とする電子機器。
Priority Applications (4)
| Application Number | Priority Date | Filing Date | Title |
|---|---|---|---|
| JP2006309936A JP2007242592A (ja) | 2006-02-02 | 2006-11-16 | 発光装置、発光装置の製造方法、露光装置、及び電子機器 |
| US11/625,079 US7777411B2 (en) | 2006-02-02 | 2007-01-19 | Light-emitting device, method of producing light-emitting device, exposure unit, and electronic device |
| TW096103026A TW200746494A (en) | 2006-02-02 | 2007-01-26 | Light-emitting device, method of producing light-emitting device, exposure unit, and electronic device |
| KR1020070010096A KR20070079569A (ko) | 2006-02-02 | 2007-01-31 | 발광 장치, 발광 장치의 제조 방법, 노광 장치, 및 전자기기 |
Applications Claiming Priority (4)
| Application Number | Priority Date | Filing Date | Title |
|---|---|---|---|
| JP2006025349 | 2006-02-02 | ||
| JP2006034778 | 2006-02-13 | ||
| JP2006034784 | 2006-02-13 | ||
| JP2006309936A JP2007242592A (ja) | 2006-02-02 | 2006-11-16 | 発光装置、発光装置の製造方法、露光装置、及び電子機器 |
Publications (1)
| Publication Number | Publication Date |
|---|---|
| JP2007242592A true JP2007242592A (ja) | 2007-09-20 |
Family
ID=38587904
Family Applications (1)
| Application Number | Title | Priority Date | Filing Date |
|---|---|---|---|
| JP2006309936A Withdrawn JP2007242592A (ja) | 2006-02-02 | 2006-11-16 | 発光装置、発光装置の製造方法、露光装置、及び電子機器 |
Country Status (4)
| Country | Link |
|---|---|
| US (1) | US7777411B2 (ja) |
| JP (1) | JP2007242592A (ja) |
| KR (1) | KR20070079569A (ja) |
| TW (1) | TW200746494A (ja) |
Cited By (6)
| Publication number | Priority date | Publication date | Assignee | Title |
|---|---|---|---|---|
| JP2009245599A (ja) * | 2008-03-28 | 2009-10-22 | Casio Comput Co Ltd | 発光装置及び発光装置の製造方法 |
| JP2010192122A (ja) * | 2009-02-13 | 2010-09-02 | Mitsubishi Chemicals Corp | 有機電界発光素子、有機elディスプレイ及び有機el照明 |
| WO2013187074A1 (ja) * | 2012-06-15 | 2013-12-19 | パナソニック株式会社 | 発光素子の製造方法、発光素子および表示パネル |
| JP2014072186A (ja) * | 2012-09-28 | 2014-04-21 | Samsung Display Co Ltd | 有機発光表示装置及び有機発光表示装置の製造方法 |
| JP2020080310A (ja) * | 2018-11-13 | 2020-05-28 | 三星ディスプレイ株式會社Samsung Display Co.,Ltd. | ディスプレイ装置 |
| WO2020111202A1 (ja) * | 2018-11-28 | 2020-06-04 | ソニー株式会社 | 表示装置および電子機器 |
Families Citing this family (13)
| Publication number | Priority date | Publication date | Assignee | Title |
|---|---|---|---|---|
| US8093806B2 (en) | 2007-06-20 | 2012-01-10 | Semiconductor Energy Laboratory Co., Ltd. | Light-emitting device, method for manufacturing the same, and electronic apparatus |
| JP4495781B2 (ja) * | 2008-06-06 | 2010-07-07 | パナソニック株式会社 | 有機elディスプレイパネルおよびその製造方法 |
| WO2010027145A1 (ko) * | 2008-09-05 | 2010-03-11 | (주) 탑엔지니어링 | Mems 프로브용 카드 및 그의 제조 방법 |
| JP4990415B2 (ja) * | 2009-12-04 | 2012-08-01 | パナソニック株式会社 | 有機elデバイスおよびその製造方法 |
| EP2713399B1 (en) * | 2012-09-27 | 2022-07-13 | LG Display Co., Ltd. | Method for manufacturing an organic light emitting display device |
| US9304397B2 (en) | 2012-09-27 | 2016-04-05 | Lg Display Co., Ltd. | Method for manufacturing of organic light emitting display device |
| KR102083785B1 (ko) * | 2013-05-28 | 2020-03-03 | 엘지디스플레이 주식회사 | 유기전계발광표시장치의 제조방법 |
| KR20140145691A (ko) * | 2013-06-14 | 2014-12-24 | 삼성디스플레이 주식회사 | 유기전계발광 표시장치 및 그의 제조방법 |
| US10910590B2 (en) * | 2014-03-27 | 2021-02-02 | Universal Display Corporation | Hermetically sealed isolated OLED pixels |
| US10749123B2 (en) | 2014-03-27 | 2020-08-18 | Universal Display Corporation | Impact resistant OLED devices |
| CN105895818B (zh) * | 2016-04-15 | 2017-12-19 | 深圳市华星光电技术有限公司 | 用于打印成膜工艺的凹槽结构及其制作方法 |
| CN108010946B (zh) * | 2017-11-27 | 2022-02-25 | 京东方科技集团股份有限公司 | 一种像素界定层、阵列基板及显示装置 |
| KR20250118884A (ko) * | 2024-01-30 | 2025-08-07 | 삼성디스플레이 주식회사 | 표시 장치 |
Citations (1)
| Publication number | Priority date | Publication date | Assignee | Title |
|---|---|---|---|---|
| JP2004139879A (ja) * | 2002-10-18 | 2004-05-13 | Casio Comput Co Ltd | 表示パネル及び表示パネルの製造方法 |
Family Cites Families (13)
| Publication number | Priority date | Publication date | Assignee | Title |
|---|---|---|---|---|
| CN100550472C (zh) | 1998-03-17 | 2009-10-14 | 精工爱普生株式会社 | 薄膜构图的衬底及其表面处理 |
| JP3601716B2 (ja) | 1998-03-17 | 2004-12-15 | セイコーエプソン株式会社 | 有機el装置の製造方法 |
| JP3951445B2 (ja) | 1998-05-15 | 2007-08-01 | セイコーエプソン株式会社 | 有機el素子、表示装置、光学装置、有機el素子の製造方法、表示装置の製造方法、および光学装置の製造方法 |
| JP4365940B2 (ja) | 1999-07-02 | 2009-11-18 | セイコーエプソン株式会社 | デジタルプリンタ |
| WO2002089211A1 (en) * | 2001-04-26 | 2002-11-07 | Koninklijke Philips Electronics N.V. | Electroluminescent device and method for manufacturing thereof |
| JP4766218B2 (ja) | 2001-07-09 | 2011-09-07 | セイコーエプソン株式会社 | 有機elアレイ露光ヘッドとその作製方法及びそれを用いた画像形成装置 |
| US6771919B2 (en) * | 2001-07-18 | 2004-08-03 | Ricoh Company, Ltd. | Image forming apparatus with reduced variation of rotation speed of image carrier |
| JP2003045665A (ja) | 2001-07-27 | 2003-02-14 | Tdk Corp | 有機el表示装置 |
| US6810919B2 (en) * | 2002-01-11 | 2004-11-02 | Seiko Epson Corporation | Manufacturing method for display device, display device, manufacturing method for electronic apparatus, and electronic apparatus |
| JP4075425B2 (ja) | 2002-03-20 | 2008-04-16 | セイコーエプソン株式会社 | 有機el装置、有機el装置の製造方法、有機el装置の製造装置、及び電子機器 |
| JP3915806B2 (ja) * | 2003-11-11 | 2007-05-16 | セイコーエプソン株式会社 | 電気光学装置および電子機器 |
| JP4556566B2 (ja) | 2003-11-11 | 2010-10-06 | セイコーエプソン株式会社 | 電気光学装置および電子機器 |
| JP2005158494A (ja) | 2003-11-26 | 2005-06-16 | Seiko Epson Corp | 薄膜の形成方法、電気光学装置の製造方法及び電気光学装置並びに電子機器 |
-
2006
- 2006-11-16 JP JP2006309936A patent/JP2007242592A/ja not_active Withdrawn
-
2007
- 2007-01-19 US US11/625,079 patent/US7777411B2/en not_active Expired - Fee Related
- 2007-01-26 TW TW096103026A patent/TW200746494A/zh unknown
- 2007-01-31 KR KR1020070010096A patent/KR20070079569A/ko not_active Withdrawn
Patent Citations (1)
| Publication number | Priority date | Publication date | Assignee | Title |
|---|---|---|---|---|
| JP2004139879A (ja) * | 2002-10-18 | 2004-05-13 | Casio Comput Co Ltd | 表示パネル及び表示パネルの製造方法 |
Cited By (13)
| Publication number | Priority date | Publication date | Assignee | Title |
|---|---|---|---|---|
| JP2009245599A (ja) * | 2008-03-28 | 2009-10-22 | Casio Comput Co Ltd | 発光装置及び発光装置の製造方法 |
| JP2010192122A (ja) * | 2009-02-13 | 2010-09-02 | Mitsubishi Chemicals Corp | 有機電界発光素子、有機elディスプレイ及び有機el照明 |
| WO2013187074A1 (ja) * | 2012-06-15 | 2013-12-19 | パナソニック株式会社 | 発光素子の製造方法、発光素子および表示パネル |
| US9444077B2 (en) | 2012-06-15 | 2016-09-13 | Joled Inc. | Light emitting element manufacturing method, light emitting element and display panel |
| JP2014072186A (ja) * | 2012-09-28 | 2014-04-21 | Samsung Display Co Ltd | 有機発光表示装置及び有機発光表示装置の製造方法 |
| US9818811B2 (en) | 2012-09-28 | 2017-11-14 | Samsung Display Co., Ltd. | Organic light emitting display devices and methods of manufacturing organic light emitting display devices |
| JP2020080310A (ja) * | 2018-11-13 | 2020-05-28 | 三星ディスプレイ株式會社Samsung Display Co.,Ltd. | ディスプレイ装置 |
| US11730017B2 (en) | 2018-11-13 | 2023-08-15 | Samsung Display Co., Ltd. | Display device and method of fabricating the same |
| JP7465074B2 (ja) | 2018-11-13 | 2024-04-10 | 三星ディスプレイ株式會社 | ディスプレイ装置 |
| WO2020111202A1 (ja) * | 2018-11-28 | 2020-06-04 | ソニー株式会社 | 表示装置および電子機器 |
| JPWO2020111202A1 (ja) * | 2018-11-28 | 2021-10-07 | ソニーグループ株式会社 | 表示装置および電子機器 |
| JP7464335B2 (ja) | 2018-11-28 | 2024-04-09 | ソニーグループ株式会社 | 表示装置および電子機器 |
| US12347583B2 (en) | 2018-11-28 | 2025-07-01 | Sony Group Corporation | Display device and electronic device |
Also Published As
| Publication number | Publication date |
|---|---|
| US20070252525A1 (en) | 2007-11-01 |
| KR20070079569A (ko) | 2007-08-07 |
| TW200746494A (en) | 2007-12-16 |
| US7777411B2 (en) | 2010-08-17 |
Similar Documents
| Publication | Publication Date | Title |
|---|---|---|
| US7777411B2 (en) | Light-emitting device, method of producing light-emitting device, exposure unit, and electronic device | |
| JP4328384B2 (ja) | 有機elディスプレイパネルおよびその製造方法 | |
| JP3823916B2 (ja) | 表示装置及び電子機器並びに表示装置の製造方法 | |
| JP3705264B2 (ja) | 表示装置及び電子機器 | |
| JP4280301B2 (ja) | 有機el素子、およびその製造方法 | |
| TWI453791B (zh) | 裝置、膜形成方法及裝置的製造方法 | |
| US8029850B2 (en) | Method of manufacturing organic electroluminescent device and method of manufacturing device | |
| JP2007095606A (ja) | 有機el装置、その製造方法、及び電子機器 | |
| WO2004026003A1 (ja) | 有機elディスプレイ | |
| JP4682651B2 (ja) | エレクトロルミネッセンス装置、電子機器 | |
| US20090070995A1 (en) | Manufacturing method of display apparatus | |
| JP2008243406A (ja) | 電気光学装置、および電気光学装置の製造方法 | |
| JP2004200146A (ja) | エレクトロルミネッセンス表示装置及びその製造方法並びに電子機器 | |
| JP2007311235A (ja) | デバイス、膜形成方法、及びデバイスの製造方法 | |
| JP2005203215A (ja) | 有機el素子 | |
| JP4715226B2 (ja) | 有機エレクトロルミネッセンス装置、有機エレクトロルミネッセンス装置の製造方法、電子機器 | |
| JP2004296303A (ja) | 電気光学装置、その製造方法および電子機器 | |
| JP2007095608A (ja) | 電気光学装置、電子機器、および電気光学装置の製造方法 | |
| CN101013719A (zh) | 发光装置、发光装置的制造方法、曝光装置及电子设备 | |
| JP2014075260A (ja) | 隔壁の形成方法、有機el素子の製造方法 | |
| JP5304417B2 (ja) | 表示装置 | |
| JP5125686B2 (ja) | 発光装置の製造方法 | |
| JP2006222195A (ja) | 有機el装置、その製造方法、及び電子機器 | |
| JP2008004376A (ja) | デバイス、薄膜形成方法及びデバイスの製造方法並びに電子機器 | |
| JP2005078911A (ja) | パターニングが施された基板およびその製造方法、並びに有機エレクトロルミネッセンス表示装置およびその製造方法 |
Legal Events
| Date | Code | Title | Description |
|---|---|---|---|
| A621 | Written request for application examination |
Free format text: JAPANESE INTERMEDIATE CODE: A621 Effective date: 20090722 |
|
| A977 | Report on retrieval |
Free format text: JAPANESE INTERMEDIATE CODE: A971007 Effective date: 20110128 |
|
| A131 | Notification of reasons for refusal |
Free format text: JAPANESE INTERMEDIATE CODE: A131 Effective date: 20110208 |
|
| A761 | Written withdrawal of application |
Free format text: JAPANESE INTERMEDIATE CODE: A761 Effective date: 20110308 |