JP2007167166A - 使い捨て吸収性パンツ - Google Patents

使い捨て吸収性パンツ Download PDF

Info

Publication number
JP2007167166A
JP2007167166A JP2005365965A JP2005365965A JP2007167166A JP 2007167166 A JP2007167166 A JP 2007167166A JP 2005365965 A JP2005365965 A JP 2005365965A JP 2005365965 A JP2005365965 A JP 2005365965A JP 2007167166 A JP2007167166 A JP 2007167166A
Authority
JP
Japan
Prior art keywords
sheet
pant
elastic member
disposable absorbent
crotch
Prior art date
Legal status (The legal status is an assumption and is not a legal conclusion. Google has not performed a legal analysis and makes no representation as to the accuracy of the status listed.)
Granted
Application number
JP2005365965A
Other languages
English (en)
Other versions
JP4688669B2 (ja
Inventor
Kenji Nakaoka
健次 中岡
Current Assignee (The listed assignees may be inaccurate. Google has not performed a legal analysis and makes no representation or warranty as to the accuracy of the list.)
Livedo Corp
Original Assignee
Livedo Corp
Priority date (The priority date is an assumption and is not a legal conclusion. Google has not performed a legal analysis and makes no representation as to the accuracy of the date listed.)
Filing date
Publication date
Application filed by Livedo Corp filed Critical Livedo Corp
Priority to JP2005365965A priority Critical patent/JP4688669B2/ja
Publication of JP2007167166A publication Critical patent/JP2007167166A/ja
Application granted granted Critical
Publication of JP4688669B2 publication Critical patent/JP4688669B2/ja
Anticipated expiration legal-status Critical
Expired - Lifetime legal-status Critical Current

Links

Images

Landscapes

  • Absorbent Articles And Supports Therefor (AREA)
  • Orthopedics, Nursing, And Contraception (AREA)

Abstract

【課題】 排泄物等の吸収性能が有効に発揮でき、フィット感にも優れる使い捨て吸収性パンツを提供する。
【解決手段】 使い捨てパンツ1は、後背部2と前腹部3とそれら後背部2と前腹部3間に連なって設けられる股部4とを有するパンツ本体5と、パンツ本体5内に配置されると共に後背部2から股部4および前腹部3にわたる縦長の吸収体6とを備える。吸収体6は、その長手方向両端部のみで前腹部3および後背部2内面側にそれぞれ固着される。パンツ本体5に、吸収体6が配置された領域に対応するパンツ本体5の前腹部3から股部4を通り後背部2に至って、パンツ本体5を縦方向に収縮させるための股部引き上げ用弾性部材19が配設される。
【選択図】 図1

Description

本発明は、パンツ型の使い捨ておむつ等のような使い捨て吸収性パンツの改良に関するものである。
従来、この種の使い捨て吸収性パンツとして、例えば、背部にあてがわれる後背部と腹部にあてがわれる前腹部とそれら後背部と前腹部間に連なって設けられる股部とにより、腰周り開口部や脚周り開口部を有するパンツ型に構成されたパンツ本体と、該パンツ本体内において後背部から股部および前腹部にわたって配置された縦長の吸収体とを備えた構造のものがある(例えば、特許文献1参照。)。
そして、パンツ本体は、例えば、互いに重合状に接合され、実質的に不透液性とされた外層シートと内層シートとを備え、後背部や前腹部における腰部周りに対応した外層シートと内層シートとの間には、腰周り用弾性部材が伸張状態で介在され、また、脚部周りに対応した外層シートと内層シートとの間には、脚周り用弾性部材が伸張状態で介在されており、腰周り用弾性部材の伸縮作用により腰周りにフィットし、脚周り用弾性部材の伸縮作用により脚周りにフィットするように構成されている。
吸収体は、肌面側に位置する透液性の表面シートと、非肌面側に位置する不透液性の裏面シートと、表面シートと裏面シートの間に介在された吸液性コアとを有し、吸液性コアは表面シートと裏面シートの内面に固着された構造とされている。
また、吸収体のパンツ本体に対する対向面には、縦方向へ延びる伸縮性弾性部材が伸張状態で取り付けられており、この吸収体は、その長手方向両端部が後背部や前腹部にそれぞれ固着された構造とされている。
そして、パンツの着用状態において、吸収体における縦方向の伸縮性弾性部材の収縮作用により、吸収体のパンツ本体に固着された部分を除いた残りの部分が上方に持ち上げられるため、吸収体を着用者の肌に密着させることができ、着用者と吸収体との相互間に生じる隙間からの排泄物等の漏れを防止した構造とされている。
特開2003−62009号公報
しかしながら、上記従来構造の使い捨て吸収性パンツによれば、吸収体そのものに伸縮性弾性部材を設けた構造としているため、伸縮性弾性部材の収縮作用により吸収体自体に縮み等が生じて、吸液性コアによる排泄物等の吸収性能の劣化を招くおそれがあった。
また、吸収体自体に縮みによるしわ等が生じた状態で、着用者の肌側に密着されるため、ゴワゴワ感が生じてフィット感に劣るという問題があった。
そこで、本発明の解決すべき課題は、排泄物等の吸収性能が有効に発揮でき、フィット感にも優れる使い捨て吸収性パンツを提供することを目的とする。
上記の課題を解決するため、請求項1の発明では、背部にあてがわれる後背部と腹部にあてがわれる前腹部とそれら後背部と前腹部間に連なって設けられる股部とを有するパンツ本体と、該パンツ本体内に配置されると共に後背部から股部および前腹部にわたる縦長の吸収体とを備えてなる使い捨て吸収性パンツにおいて、前記吸収体は、その長手方向両端部のみで前記前腹部側および前記後背部側にそれぞれ固着され、前記パンツ本体に、前記吸収体が配置された領域に対応するパンツ本体の前記前腹部から前記股部を通り前記後背部に至って、パンツ本体を縦方向に収縮させるための股部引き上げ用弾性部材が配設されている。
また、請求項2の発明では、請求項1に記載の使い捨て吸収性パンツにおいて、前記パンツ本体に、該パンツ本体の高さ方向略全域にわたって、パンツ本体を横方向に収縮させるための横ギャザー形成用弾性部材が配設されている。
さらに、請求項3の発明では、請求項1または請求項2に記載の使い捨て吸収性パンツにおいて、前記パンツ本体がトランクス型に形成されている。
また、請求項4の発明では、請求項1ないし請求項3のいずれかに記載の使い捨て吸収性パンツにおいて、前記パンツ本体は、前記横ギャザー形成用弾性部材が介在された内層シートと外層シートとを備え、内外シート材間に前記股部引き上げ用弾性部材が介在された縦長の引き上げ用シート体が前記内層シートに全面固着され、この引き上げ用シート体に前記吸収体の長手方向両端部が固着されている。
さらに、請求項5の発明では、請求項1ないし請求項4のいずれかに記載の使い捨て吸収性パンツにおいて、前記吸収体は、吸液性を有する吸収体本体部と、該吸収体本体部の肌面側を覆うトップシートと、吸収体本体部の前記肌面側と反対の非肌面側を覆うバックシートとを備え、前記吸収体の前記長手方向両端部に、前記吸収体本体部が存在しないシートのみ部が形成され、前記前腹部と前記後背部に固着された領域の下側に前記シートのみ部の領域が存在する構造とされている。
請求項1に記載の発明に係る使い捨て吸収性パンツにおいては、吸収体は、その長手方向両端部のみで前腹部側および後背部側にそれぞれ固着され、パンツ本体に、吸収体が配置された領域に対応するパンツ本体の前腹部から股部を通り後背部に至って、パンツ本体を縦方向に収縮させるための股部引き上げ用弾性部材が配設されている構造とされているため、股部引き上げ用弾性部材の収縮作用によりパンツ本体の股部が引き上げられた際において、吸収体自体はその収縮作用の影響をほとんど受けず、従って従来のような縮みによるしわ等を生じずに着用者の肌側に押し上げて当てることができ、フィット感に優れる利点がある。
そして、吸収体自体に縮み等が生じないため、排泄物等の吸収性能の劣化が防止でき、本来の吸収性能が有効に発揮できる利点もある。
また、請求項2に記載の発明によれば、パンツ本体に、該パンツ本体の高さ方向略全域にわたって、パンツ本体を横方向に収縮させるための横ギャザー形成用弾性部材が配設されている構造とされているため、パンツ本体全体にわたって横方向の収縮作用によるフィット性の向上が図れ、脚の細い着用者や脚の太い着用者のいずれにも対応できる利点がある。
さらに、請求項3に記載の発明によれば、パンツ本体がトランクス型に形成された構造としているため、パンツ本体全体にわたる横方向の収縮作用がより広範囲にわたって確保でき、より一層のフィット性向上が図れ、脚の細い着用者や脚の太い着用者のいずれにもより有効に対応できる利点がある。
また、請求項4に記載の発明によれば、パンツ本体は、横ギャザー形成用弾性部材が介在された内層シートと外層シートとを備え、内外シート材間に股部引き上げ用弾性部材が介在された縦長の引き上げ用シート体が前記内層シートに全面固着され、この引き上げ用シート体に前記吸収体の長手方向両端部が固着された構造としており、横ギャザー形成用弾性部材が介在される部分と、股部引き上げ用弾性部材が介在される部分とを別部材で形成し、固着する構造とされているため、容易に製造できる利点がある。
さらに、請求項5に記載の発明によれば、吸収体は、吸液性を有する吸収体本体部と、該吸収体本体部の肌面側を覆うトップシートと、吸収体本体部の前記肌面側と反対の非肌面側を覆うバックシートとを備え、吸収体の長手方向両端部に、吸収体本体部が存在しないシートのみ部が形成され、前腹部と後背部に固着された領域の下側にシートのみ部の領域が存在する構造としているため、股部引き上げ用弾性部材の収縮作用によりパンツ本体の股部が引き上げられ、吸収体が持ち上げられて着用者の肌側に押し当てられる際、吸収体本体部が存在する部分よりも剛性の弱いシートのみ部で吸収体の持ち上げ移動を有効に吸収でき、吸収体本体部が存在する部分を着用者の肌側に均一的に押し当てることができてフィット感のより向上が図れる利点がある。
<第1の実施形態>
以下、本発明の第1の実施形態を図面に基づいて説明すると、図1ないし図5に示されるように、使い捨て吸収性パンツの一例としての使い捨てパンツ1は、従来同様、着用者28の背部にあてがわれる後背部2と、腹部にあてがわれる前腹部3と、それら後背部2と前腹部3間に連なって設けられ、着用者28の股部にあてがわれる股部4とを有するパンツ本体5と、パンツ本体5内にホットメルト接着剤等により貼着されて配置されると共に、後背部2から股部4および前腹部3にわたる縦長の吸収体6とを備えた構造とされている。
そして、二つ折り状態とされたパンツ本体5における後背部2の両側端部2aと前腹部3の両側端部3aとが、超音波溶着等により互いに接合されて接合部7が形成され、ここに、図1に示されるように、後背部2と前腹部3とにより周方向環状の腰周り開口部8が形成されると共に、股部4の両側に脚周り開口部9がそれぞれ形成され、本実施形態ではパンツ本体5がいわゆるトランクス型に形成された構造とされている。
前記パンツ本体5は、図3ないし図5に示されるように、ホットメルト接着剤等により互いに重合状に接合された内層シート11と外層シート12とを備え、これら内層シート11と外層シート12との相互間におけるパンツ本体5の高さ方向略全域にわたって、パンツ本体5を横方向に収縮させるための横ギャザー形成用弾性部材13が、高さ方向に適宜間隔を有して多数本、伸張状態で配設された構造とされている。
即ち、パンツ本体5における腰部周りや腹部周りさらには脚部周りの高さ方向略全域にわたる内層シート11と外層シート12との相互間には、横ギャザー形成用弾性部材13としてのウエストギャザー形成用弾性部材13aやボディギャザー形成用弾性部材13bやレッグギャザー形成用弾性部材13cがそれぞれ伸張状態で介在されており、ウエストギャザー形成用弾性部材13aやボディギャザー形成用弾性部材13bやレッグギャザー形成用弾性部材13cの伸縮作用により、腰周りや腹周りや脚周りに柔軟にフィットするウエストギャザー部15やボディギャザー部16やレッグギャザー部17が構成されている。
なお、本実施形態においては、外層シート12の両端部が内層シート11側に折り返された折返し片部12aを備え、ウエストギャザー形成用弾性部材13aは、外層シート12と折返し片部12aとの相互間でパンツ本体5における幅方向全体にわたって配設された構造とされている。また、ボディギャザー形成用弾性部材13bやレッグギャザー形成用弾性部材13cは、パンツ本体5における吸収体6が配置された領域を除いた部分に配設されており、レッグギャザー形成用弾性部材13cの一部においては、図2に示されるように、脚周り開口部9を構成するための切込み部9aに沿って配設された構造とされている。
さらに、吸収体6が配置された領域に対応するパンツ本体5の内層シート11と外層シート12との相互間には、前腹部3から股部4を通り後背部2に至る適宜本数の股部引き上げ用弾性部材19が伸張状態で介在されており、股部引き上げ用弾性部材19の収縮作用により、パンツ本体5が縦方向に収縮されてパンツ本体5の股部4を引き上げる構造とされている。この際、本実施形態においては、両側部に配設された各股部引き上げ用弾性部材19は、吸収体6が配置された領域の略全長にわたって配設されているのに対し、中央部に配設された各股部引き上げ用弾性部材19は短めに配設された構造とされている。
そして、内層シート11や外層シート12は、スパンボンド不織布等の撥水性不織布や親水性不織布等により形成されている。また、各弾性部材13a,13b,13c,19としては、通常使い捨ておむつに用いられる弾性伸縮材料(ポリウレタン糸、ポリウレタンフィルム、天然ゴム等)が用いられ、伸張状態でホットメルト接着剤、熱溶着、超音波溶着等の貼着手段によりそれぞれの所定部位に貼着される構造とされている。
前記吸収体6は、図3ないし図5に示されるように、吸液性を有する吸収体本体部としての吸液マット体20と、該吸液マット体20の外面側、即ち非肌面側(図では下側)を包むように覆うバックシート21と、吸液マット体20の肌面側(図では上側)を包むように覆うトップシート22とを備え、所定形状に成形された構造とされている。
そして、トップシート22は透液性の不織布により構成され、バックシート21は不透液性や撥水性を有する不織布や不透液性のプラスチックフィルム等により構成されている。また、吸液マット体20は、例えば、粉砕したパルプ繊維やセルロース繊維等の親水性繊維集合層に粒状の高分子吸収体を混合した塊をティッシュペーパー等の紙または透液性不織布等の被覆シートで包み、所定形状に成形された構造とされている。
さらに、吸収体6における肌面側の幅方向両側部には、その長手方向に沿ってサイドシート23がそれぞれホットメルト接着剤等により接合されており、各サイドシート23の内側端縁部にはそれぞれ立体ギャザー形成用弾性部材24が伸張状態で介在されている。そして、これら立体ギャザー形成用弾性部材24の伸縮作用により、着用者の肌側に柔軟に押し付けられるべく内向きに起立する立体ギャザー部25が構成されている。
前記サイドシート23は不透液性の不織布等で構成され、立体ギャザー形成用弾性部材24は前記弾性部材13a,13b,13c,19と同様の伸縮性材料が用いられ、同様に、ホットメルト接着剤等により所定部位に貼着される構造とされている。
このように構成された吸収体6は、その長手方向両端部のみでパンツ本体5内面側における後背部2や前腹部3に、ホットメルト接着剤26等により固着された構成とされている。従って、固着された部分以外においては、吸収体6とパンツ本体5との相互間には隙間が生じる構造となっており、パンツ本体5と吸収体6とは相対的に移動可能とされている。
また、図2や図5に示されるように、外層シート12の両端部はそれぞれ折り返されて内層シート11の端部上面側に重合状に接合された構造とされており、この外層シート12の各折返し片部12aで、貼着された吸収体6の両端縁部が直接肌に当たらないように覆われた構造とされている。
本実施形態は以上のように構成されており、この使い捨てパンツ1を着用した状態においては、各ウエストギャザー形成用弾性部材13a、各ボディギャザー形成用弾性部材13b、各レッグギャザー形成用弾性部材13c、各立体ギャザー形成用弾性部材24の伸縮作用により、着用者28の腰周り、腹周り、脚周りの各部肌側へ良好に密着する構造とされている。
そして特に、パンツ本体5における吸収体6が配置された領域に対応して、各股部引き上げ用弾性部材19が伸張状態で配設されているため、これら股部引き上げ用弾性部材19の収縮作用により、パンツ本体5における股部4の引き上げ作用が生じ、この股部4の引き上げ作用により内側に配置されている吸収体6が押し上げられて着用者28の肌側に押し当てられる。
また、中央部に配設された各股部引き上げ用弾性部材19が、その左右両側部の他の股部引き上げ用弾性部材19より短めに配設された構造となっているので、吸収体6を押し上げる力は強められる構成となっている。
この際、吸収体6は長手方向両端部のみでパンツ本体5に固着されており、その他の部分においては、吸収体6とパンツ本体5とがいわゆる縁が切られた構造となっているため、股部引き上げ用弾性部材19の収縮作用によりパンツ本体5に縮みによるしわが生じても、吸収体6自体はその収縮作用の影響をほとんど受けず、従って、従来のような吸収体自体に弾性部材を配設することによる縮みやしわ等を何ら生じずに、着用者28の肌側に押し上げて当てることができるため、ゴワ付き感がなく、フィット感に優れ、漏れ防止が図れると共に良好な着用感が得られるという利点がある。
また、吸収体6自体に縮み等が何ら生じないため、吸液マット体20による排泄物等の吸収領域も良好に確保でき、ここに排泄物等の吸収性能の劣化が防止でき、吸収体6本来の吸収性能が有効に発揮できるという利点がある。
さらに、パンツ本体5の高さ方向略全域にわたって、パンツ本体5を横方向に収縮させるためのウエストギャザー形成用弾性部材13a、ボディギャザー形成用弾性部材13b、レッグギャザー形成用弾性部材13cからなる横ギャザー形成用弾性部材13が配設されているため、パンツ本体5全体にわたって横方向の収縮作用によるフィット性の向上が図れ、従来のような脚周り開口部の周囲に沿ってのみ弾性部材が配置されている構造のものと比較して、脚の細い着用者28や脚の太い着用者28のいずれにも対応でき、しかもパンツ本体5がトランクス型に形成されていることから、パンツ本体5全体にわたる横方向の収縮作用がより広範囲にわたって確保でき、より一層のフィット性向上が図れて、着用者28の脚の細い太いにかかわらず、より有効に対応できると共に、漏れ防止も有効に図れる利点がある。
また、パンツ本体5と吸収体6とは股部4付近で相対移動可能とされていても、パンツ本体5がトランクス型とされているため、脚周り開口部9からはみ出すおそれもなく、見栄えもよい。従って、交換式の尿取りパットを使用する場合にも、脚周り開口部9からのはみ出しが有効に防止できる。
<第2の実施形態>
図6および図7は第2の実施形態を示しており、前記第1の実施形態と同様構成部分は同一符号を付し、その説明を省略する。
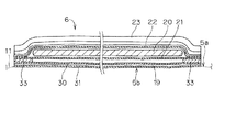
即ち、本実施形態においては、パンツ本体5が、第1の実施形態のようにウエストギャザー形成用弾性部材13a、ボディギャザー形成用弾性部材13b、レッグギャザー形成用弾性部材13cからなる横ギャザー形成用弾性部材13が介在されて互いに接合された内層シート11と外層シート12とからなるトランクス型のパンツ本体主部5aと、パンツ本体主部5aにおける吸収体6の配置領域に対応してホットメルト接着剤等により全面的に接合された引き上げ用シート体5bとを備えてなる構造とされている。
この引き上げ用シート体5bは、図2に示されるような展開状態で、吸収体6の平面視と同じ領域を有する縦長矩形の不織布等からなる内外シート材としての内側シート材30と外側シート材31とを備え、これら内側シート材30と外側シート材31との相互間に、第1の実施形態と同様に配置された適宜本数の股部引き上げ用弾性部材19が介在された状態で、ホットメルト接着剤等により接合された構造とされている。従って、股部引き上げ用弾性部材19の収縮作用により、第1の実施形態と同様、パンツ本体5の股部4を引き上げる作用を発揮する構造とされている。
そして、この引き上げ用シート体5bにおける内側シート材30の長手方向両端部に、吸収体6の長手方向両端部がホットメルト接着剤33等により接着された構造とされている。また、その他の構造は第1の実施形態と同様に構成されている。
従って、本実施形態においても第1の実施形態と同様の効果を奏すると共に、横ギャザー形成用弾性部材13が介在されるパンツ本体主部5aと、股部引き上げ用弾性部材19が介在される引き上げ用シート体5bとを別部材で構成し、その後固着する構造としているため、それぞれの構造の簡素化が図れ、パンツ本体主部5aや引き上げ用シート体5bを容易に製造できる利点がある。
また、吸収体6に予め、引き上げ用シート体5bを固着した状態で、引き上げ用シート体5bの外側シート材31を展開状態のパンツ本体主部5aの内層シート11に全面固着して、使い捨てパンツ1を製造することができ、製造手順に幅ができるという利点がある。
<第3の実施形態>
図8は第3の実施形態を示しており、前記第1の実施形態と同様構成部分は同一符号を付し、その説明を省略する。
即ち、本実施形態においては、吸液マット体20の肌面側を覆うトップシート22と反対の非肌面側を覆うバックシート21との長手方向両端部に、吸液マット体20が存在しないトップシート22とバックシート21とが重合状に接合されたシートのみ部35を長めに形成した構造とされている。
そして、吸収体6の長手方向両端部におけるシートのみ部35が、ホットメルト接着剤26等により前腹部3や後背部2に固着された状態において、その固着された領域の下側にもシートのみ部35の領域が存在する構造とされている。また、その他の構造は第1の実施形態と同様に構成されている。
従って、本実施形態においても第1の実施形態と同様の効果を奏すると共に、パンツ本体5に配設された股部引き上げ用弾性部材19の収縮作用によりパンツ本体5の股部4が引き上げられ、この股部4の引き上げ作用により吸収体6が持ち上げられて着用者28の肌側に押し当てられる際、吸液マット体20が存在する部分よりも剛性の弱いシートのみ部35で吸収体6の持ち上げ移動を有効に吸収でき、吸液マット体20が存在する部分での持ち上げによるしわ等の発生が有効に防止でき、ここに、吸液マット体20が存在する部分を着用者28の肌側に均一的に押し当てることができてフィット感のより向上が図れる利点がある。
<その他の構成>
なお、上記各実施形態においては、パンツ本体5における吸収体6の配置された領域に対応した部分には、ボディギャザー形成用弾性部材13bやレッグギャザー形成用弾性部材13cの横ギャザー形成用弾性部材13が存在しない構造を示しているが、幅方向全体にわたって横ギャザー形成用弾性部材13を配設する構造であってもよい。
また、使い捨てパンツ1としてトランクス型のものを示しているが、いわゆるブリーフ型のものであってもよい。
さらに、パンツ本体5に配設される横ギャザー形成用弾性部材13や股部引き上げ用弾性部材19の長さや本数等は、何ら各実施形態に限られず、必要に応じて適宜決定すればよい。
本発明の第1の実施形態に係る使い捨てパンツの斜視図である。 同展開図である。 図2のIII−III線断面矢視図である。 図2のIV−IV線断面矢視図である。 断面側面図である。 第2の実施形態に係る使い捨てパンツの股部の断面図である。 図6のVII−VII線断面矢視図である。 第3の実施形態に係る使い捨てパンツの断面側面図である。
符号の説明
1 使い捨てパンツ、2 後背部、3 前腹部、4 股部、5 パンツ本体、5a パンツ本体主部、5b 引き上げ用シート体、6 吸収体、11 内層シート、12 外層シート、13 横ギャザー形成用弾性部材、19 股部引き上げ用弾性部材、20 吸液マット体、21 バックシート、22 トップシート、23 サイドシート、26 ホットメルト接着剤、28 着用者、30 内側シート材、31 外側シート材、33 ホットメルト接着剤、35 シートのみ部。

Claims (5)

  1. 背部にあてがわれる後背部と腹部にあてがわれる前腹部とそれら後背部と前腹部間に連なって設けられる股部とを有するパンツ本体と、該パンツ本体内に配置されると共に後背部から股部および前腹部にわたる縦長の吸収体とを備えてなる使い捨て吸収性パンツにおいて、
    前記吸収体は、その長手方向両端部のみで前記前腹部側および前記後背部側にそれぞれ固着され、
    前記パンツ本体に、前記吸収体が配置された領域に対応するパンツ本体の前記前腹部から前記股部を通り前記後背部に至って、パンツ本体を縦方向に収縮させるための股部引き上げ用弾性部材が配設されていることを特徴とする使い捨て吸収性パンツ。
  2. 請求項1に記載の使い捨て吸収性パンツにおいて、
    前記パンツ本体に、該パンツ本体の高さ方向略全域にわたって、パンツ本体を横方向に収縮させるための横ギャザー形成用弾性部材が配設されていることを特徴とする使い捨て吸収性パンツ。
  3. 請求項1または請求項2に記載の使い捨て吸収性パンツにおいて、
    前記パンツ本体がトランクス型に形成されていることを特徴とする使い捨て吸収性パンツ。
  4. 請求項1ないし請求項3のいずれかに記載の使い捨て吸収性パンツにおいて、
    前記パンツ本体は、前記横ギャザー形成用弾性部材が介在された内層シートと外層シートとを備え、内外シート材間に前記股部引き上げ用弾性部材が介在された縦長の引き上げ用シート体が前記内層シートに全面固着され、この引き上げ用シート体に前記吸収体の長手方向両端部が固着されていることを特徴とする使い捨て吸収性パンツ。
  5. 請求項1ないし請求項4のいずれかに記載の使い捨て吸収性パンツにおいて、
    前記吸収体は、吸液性を有する吸収体本体部と、該吸収体本体部の肌面側を覆うトップシートと、吸収体本体部の前記肌面側と反対の非肌面側を覆うバックシートとを備え、
    前記吸収体の前記長手方向両端部に、前記吸収体本体部が存在しないシートのみ部が形成され、前記前腹部と前記後背部に固着された領域の下側に前記シートのみ部の領域が存在することを特徴とする使い捨て吸収性パンツ。
JP2005365965A 2005-12-20 2005-12-20 使い捨て吸収性パンツ Expired - Lifetime JP4688669B2 (ja)

Priority Applications (1)

Application Number Priority Date Filing Date Title
JP2005365965A JP4688669B2 (ja) 2005-12-20 2005-12-20 使い捨て吸収性パンツ

Applications Claiming Priority (1)

Application Number Priority Date Filing Date Title
JP2005365965A JP4688669B2 (ja) 2005-12-20 2005-12-20 使い捨て吸収性パンツ

Publications (2)

Publication Number Publication Date
JP2007167166A true JP2007167166A (ja) 2007-07-05
JP4688669B2 JP4688669B2 (ja) 2011-05-25

Family

ID=38294514

Family Applications (1)

Application Number Title Priority Date Filing Date
JP2005365965A Expired - Lifetime JP4688669B2 (ja) 2005-12-20 2005-12-20 使い捨て吸収性パンツ

Country Status (1)

Country Link
JP (1) JP4688669B2 (ja)

Cited By (11)

* Cited by examiner, † Cited by third party
Publication number Priority date Publication date Assignee Title
JP2011078545A (ja) * 2009-10-06 2011-04-21 Kao Corp 吸収性物品
DE202011000820U1 (de) 2010-04-19 2011-09-27 Unicharm Corporation Tragbarer Einwegartikel
EP2684546A4 (en) * 2011-03-08 2014-11-12 Unicharm Corp Disposable diaper
WO2016093035A1 (ja) * 2014-12-12 2016-06-16 山田 菊夫 使い捨て衣類
WO2017082206A1 (ja) * 2015-11-12 2017-05-18 山田菊夫 使い捨てボトム衣類
JP2017131447A (ja) * 2016-01-28 2017-08-03 大王製紙株式会社 使い捨ておむつ
WO2018097159A1 (ja) * 2016-11-25 2018-05-31 大王製紙株式会社 トランクスタイプ使い捨ておむつ
JP2018083021A (ja) * 2016-11-25 2018-05-31 大王製紙株式会社 トランクスタイプ使い捨ておむつ
JP2018134482A (ja) * 2018-05-08 2018-08-30 大王製紙株式会社 トランクスタイプ使い捨ておむつ
JP2018134481A (ja) * 2018-05-08 2018-08-30 大王製紙株式会社 トランクスタイプ使い捨ておむつ
JP2023069347A (ja) * 2021-11-05 2023-05-18 花王株式会社 パンツ型使い捨ておむつ

Citations (5)

* Cited by examiner, † Cited by third party
Publication number Priority date Publication date Assignee Title
JPH0975390A (ja) * 1995-09-13 1997-03-25 Uni Charm Corp 使い捨てのパンツ型体液吸収性着用物品
JP2001029388A (ja) * 1999-07-16 2001-02-06 Toyo Eizai Corp 使い捨てパンツ
JP2002035022A (ja) * 2000-07-28 2002-02-05 Daio Paper Corp 使い捨て紙おむつ
JP2004350809A (ja) * 2003-05-28 2004-12-16 Livedo Corporation パンツ型使い捨ておむつ
JP2005204744A (ja) * 2004-01-20 2005-08-04 Uni Charm Corp パンツ型の使い捨て着用物品

Patent Citations (5)

* Cited by examiner, † Cited by third party
Publication number Priority date Publication date Assignee Title
JPH0975390A (ja) * 1995-09-13 1997-03-25 Uni Charm Corp 使い捨てのパンツ型体液吸収性着用物品
JP2001029388A (ja) * 1999-07-16 2001-02-06 Toyo Eizai Corp 使い捨てパンツ
JP2002035022A (ja) * 2000-07-28 2002-02-05 Daio Paper Corp 使い捨て紙おむつ
JP2004350809A (ja) * 2003-05-28 2004-12-16 Livedo Corporation パンツ型使い捨ておむつ
JP2005204744A (ja) * 2004-01-20 2005-08-04 Uni Charm Corp パンツ型の使い捨て着用物品

Cited By (30)

* Cited by examiner, † Cited by third party
Publication number Priority date Publication date Assignee Title
JP2011078545A (ja) * 2009-10-06 2011-04-21 Kao Corp 吸収性物品
DE202011000820U1 (de) 2010-04-19 2011-09-27 Unicharm Corporation Tragbarer Einwegartikel
WO2011132688A1 (ja) * 2010-04-19 2011-10-27 ユニ・チャーム株式会社 着用物品
CN102858297A (zh) * 2010-04-19 2013-01-02 尤妮佳股份有限公司 穿用物品
JPWO2011132688A1 (ja) * 2010-04-19 2013-07-18 ユニ・チャーム株式会社 着用物品
EP2561848A4 (en) * 2010-04-19 2014-02-19 Unicharm Corp Worn article
US8939956B2 (en) 2010-04-19 2015-01-27 Unicharm Corporation Wearing article
AU2011243573B2 (en) * 2010-04-19 2015-07-02 Unicharm Corporation Wearing article
KR101760973B1 (ko) 2010-04-19 2017-07-24 유니챰 가부시키가이샤 착용 물품
EP2684546A4 (en) * 2011-03-08 2014-11-12 Unicharm Corp Disposable diaper
JPWO2016093371A1 (ja) * 2014-12-12 2017-04-27 山田 菊夫 使い捨て衣類
JP2018140229A (ja) * 2014-12-12 2018-09-13 山田 菊夫 使い捨て衣類
WO2016093371A1 (ja) * 2014-12-12 2016-06-16 山田 菊夫 使い捨て衣類
JP2017064447A (ja) * 2014-12-12 2017-04-06 山田 菊夫 使い捨て衣類
WO2016093370A1 (ja) * 2014-12-12 2016-06-16 山田 菊夫 使い捨て衣類
WO2016093035A1 (ja) * 2014-12-12 2016-06-16 山田 菊夫 使い捨て衣類
US10463546B2 (en) 2014-12-12 2019-11-05 Kikuo Yamada Disposable clothing article
WO2016093034A1 (ja) * 2014-12-12 2016-06-16 山田 菊夫 使い捨て衣類
WO2017082206A1 (ja) * 2015-11-12 2017-05-18 山田菊夫 使い捨てボトム衣類
JP2017131447A (ja) * 2016-01-28 2017-08-03 大王製紙株式会社 使い捨ておむつ
JP2018083021A (ja) * 2016-11-25 2018-05-31 大王製紙株式会社 トランクスタイプ使い捨ておむつ
WO2018097158A1 (ja) * 2016-11-25 2018-05-31 大王製紙株式会社 トランクスタイプ使い捨ておむつ
JP2018083019A (ja) * 2016-11-25 2018-05-31 大王製紙株式会社 トランクスタイプ使い捨ておむつ
WO2018097159A1 (ja) * 2016-11-25 2018-05-31 大王製紙株式会社 トランクスタイプ使い捨ておむつ
US11291592B2 (en) 2016-11-25 2022-04-05 Daio Paper Corporation Trunks type disposable diaper
US11458047B2 (en) 2016-11-25 2022-10-04 Daio Paper Corporation Trunks-type disposable diaper
JP2018134482A (ja) * 2018-05-08 2018-08-30 大王製紙株式会社 トランクスタイプ使い捨ておむつ
JP2018134481A (ja) * 2018-05-08 2018-08-30 大王製紙株式会社 トランクスタイプ使い捨ておむつ
JP2023069347A (ja) * 2021-11-05 2023-05-18 花王株式会社 パンツ型使い捨ておむつ
JP7762542B2 (ja) 2021-11-05 2025-10-30 花王株式会社 パンツ型使い捨ておむつ

Also Published As

Publication number Publication date
JP4688669B2 (ja) 2011-05-25

Similar Documents

Publication Publication Date Title
JP4996508B2 (ja) 吸収性物品
JP5814063B2 (ja) 使い捨て着用物品
KR101355649B1 (ko) 일회용 기저귀
JP5227002B2 (ja) 使い捨ておむつ
KR101600656B1 (ko) 팬츠형 일회용 착용 물품
JP5745246B2 (ja) 使い捨てのパンツ型着用物品
JP2011072720A (ja) 吸収性物品
WO2008069279A1 (ja) 吸収性物品
JP5346275B2 (ja) 着用物品
JP3847680B2 (ja) おむつ
MX2012011578A (es) Producto absorbente.
MXPA05007222A (es) Articulo absorbente con aletas de contencion.
JP2011206331A (ja) 吸収性物品及びその製造方法
JP4688669B2 (ja) 使い捨て吸収性パンツ
EP2027842B1 (en) Absorbent product
JP6044415B2 (ja) 使い捨ておむつ
JP6821893B2 (ja) パンツタイプ吸収性物品
JP5369316B2 (ja) 吸収性物品
JP2010012002A (ja) 使い捨ておむつ
JP6255203B2 (ja) 吸収性物品
CN219763761U (zh) 吸收性物品
JP2018192009A (ja) 成人男性用使い捨ておむつ
CN219700323U (zh) 吸收性物品
JP5225758B2 (ja) 使い捨ておむつの製造方法
JP2019208698A (ja) 男性用パンツ型吸収性物品

Legal Events

Date Code Title Description
A621 Written request for application examination

Free format text: JAPANESE INTERMEDIATE CODE: A621

Effective date: 20081022

RD04 Notification of resignation of power of attorney

Free format text: JAPANESE INTERMEDIATE CODE: A7424

Effective date: 20081022

A977 Report on retrieval

Free format text: JAPANESE INTERMEDIATE CODE: A971007

Effective date: 20100517

A131 Notification of reasons for refusal

Free format text: JAPANESE INTERMEDIATE CODE: A131

Effective date: 20100525

A521 Request for written amendment filed

Free format text: JAPANESE INTERMEDIATE CODE: A523

Effective date: 20100622

A02 Decision of refusal

Free format text: JAPANESE INTERMEDIATE CODE: A02

Effective date: 20100803

A521 Request for written amendment filed

Free format text: JAPANESE INTERMEDIATE CODE: A523

Effective date: 20101101

A911 Transfer to examiner for re-examination before appeal (zenchi)

Free format text: JAPANESE INTERMEDIATE CODE: A911

Effective date: 20101202

TRDD Decision of grant or rejection written
A01 Written decision to grant a patent or to grant a registration (utility model)

Free format text: JAPANESE INTERMEDIATE CODE: A01

Effective date: 20110208

A01 Written decision to grant a patent or to grant a registration (utility model)

Free format text: JAPANESE INTERMEDIATE CODE: A01

A61 First payment of annual fees (during grant procedure)

Free format text: JAPANESE INTERMEDIATE CODE: A61

Effective date: 20110215

R150 Certificate of patent or registration of utility model

Ref document number: 4688669

Country of ref document: JP

Free format text: JAPANESE INTERMEDIATE CODE: R150

Free format text: JAPANESE INTERMEDIATE CODE: R150

FPAY Renewal fee payment (event date is renewal date of database)

Free format text: PAYMENT UNTIL: 20140225

Year of fee payment: 3

R250 Receipt of annual fees

Free format text: JAPANESE INTERMEDIATE CODE: R250

R250 Receipt of annual fees

Free format text: JAPANESE INTERMEDIATE CODE: R250

R250 Receipt of annual fees

Free format text: JAPANESE INTERMEDIATE CODE: R250

R250 Receipt of annual fees

Free format text: JAPANESE INTERMEDIATE CODE: R250

R250 Receipt of annual fees

Free format text: JAPANESE INTERMEDIATE CODE: R250

R250 Receipt of annual fees

Free format text: JAPANESE INTERMEDIATE CODE: R250

R250 Receipt of annual fees

Free format text: JAPANESE INTERMEDIATE CODE: R250

R250 Receipt of annual fees

Free format text: JAPANESE INTERMEDIATE CODE: R250

R250 Receipt of annual fees

Free format text: JAPANESE INTERMEDIATE CODE: R250

R250 Receipt of annual fees

Free format text: JAPANESE INTERMEDIATE CODE: R250

R250 Receipt of annual fees

Free format text: JAPANESE INTERMEDIATE CODE: R250

R250 Receipt of annual fees

Free format text: JAPANESE INTERMEDIATE CODE: R250

EXPY Cancellation because of completion of term