JP2007166364A - ディスプレイ、ディスプレイの制御方法、プログラム、並びに記録媒体 - Google Patents

ディスプレイ、ディスプレイの制御方法、プログラム、並びに記録媒体 Download PDF

Info

Publication number
JP2007166364A
JP2007166364A JP2005361346A JP2005361346A JP2007166364A JP 2007166364 A JP2007166364 A JP 2007166364A JP 2005361346 A JP2005361346 A JP 2005361346A JP 2005361346 A JP2005361346 A JP 2005361346A JP 2007166364 A JP2007166364 A JP 2007166364A
Authority
JP
Japan
Prior art keywords
display
connector portion
connector
input
video signal
Prior art date
Legal status (The legal status is an assumption and is not a legal conclusion. Google has not performed a legal analysis and makes no representation as to the accuracy of the status listed.)
Pending
Application number
JP2005361346A
Other languages
English (en)
Inventor
Kazutaka Uchida
和隆 内田
Tetsujiro Kondo
哲二郎 近藤
Current Assignee (The listed assignees may be inaccurate. Google has not performed a legal analysis and makes no representation or warranty as to the accuracy of the list.)
Sony Corp
Original Assignee
Sony Corp
Priority date (The priority date is an assumption and is not a legal conclusion. Google has not performed a legal analysis and makes no representation as to the accuracy of the date listed.)
Filing date
Publication date
Application filed by Sony Corp filed Critical Sony Corp
Priority to JP2005361346A priority Critical patent/JP2007166364A/ja
Publication of JP2007166364A publication Critical patent/JP2007166364A/ja
Pending legal-status Critical Current

Links

Images

Landscapes

  • Control Of Indicators Other Than Cathode Ray Tubes (AREA)
  • Controls And Circuits For Display Device (AREA)
  • Devices For Indicating Variable Information By Combining Individual Elements (AREA)
  • Transforming Electric Information Into Light Information (AREA)

Abstract

【課題】ディスプレイ同士を容易に接続する。
【解決手段】直方体状の筐体10の1つの面30に映像を表示する表示部21が設けられている。面30に直交する4つの側面のうちの左側面31には、左コネクタ部41が設けられており、左コネクタ部41には、外部から、映像信号が入力される。また、左側面31と対向する右側面33には、右コネクタ部43が設けられており、右コネクタ部43からは、外部に、映像信号が出力される。本発明は、例えば、マルチディスプレイシステムを構成するディスプレイに適用できる。
【選択図】図1

Description

本発明は、ディスプレイ、ディスプレイの制御方法、プログラム、並びに記録媒体に関し、特に、例えば、ディスプレイ同士を容易に接続することができるようにするディスプレイ、ディスプレイの制御方法、プログラム、並びに記録媒体に関する。
例えばCRT(Cathode Ray Tube)や液晶パネル等の表示手段を有する複数のディスプレイ同士を接続することで形成されたマルチディスプレイシステムが知られている。マルチディスプレイシステムとは、例えば、複数の直方体状のディスプレイを、水平方向にn個、垂直方向にm個のn個×m個並べて配置して相互に接続したものであり、かかるマルチディスプレイシステムでは、例えば全体として1つの映像が表示される(例えば、特許文献1参照)。
特開2003−280623号公報
ところで、従来のマルチディスプレイシステムにおいては、ディスプレイと他のディスプレイとを電気的に接続するために、ディスプレイにケーブルを装着する作業(ディスプレイ同士をケーブルで繋ぐ作業)が必要であった。また、ディスプレイの配置を変更した場合に、マルチディスプレイシステム全体として適正な映像を表示させるために、ケーブルを装着し直す作業が必要になることがあった。
本発明は、このような状況に鑑みてなされたものであり、ディスプレイ同士を容易に接続することができるようにするものである。
本発明の第1の側面は、映像を表示する表示手段が1つの面に設けられた直方体状の筐体を有するディスプレイにおいて、前記表示手段が設けられた面に直交する前記筐体の4つの側面のうちの第1の側面に設けられた、外部から、少なくとも映像信号が入力される第1のコネクタ部と、前記第1の側面と対向する第2の側面に設けられた、外部に、少なくとも映像信号を出力する第2のコネクタ部とを備えるディスプレイである。
前記ディスプレイの第1の側面と、他のディスプレイの第2の側面とが対向するように、前記ディスプレイと前記他のディスプレイとが配置されたとき、前記ディスプレイの第1のコネクタ部と、前記他のディスプレイの第2の側面に設けられた第2のコネクタ部とが電気的に接続され、前記ディスプレイの第2の側面に、他のディスプレイの第1の側面が対向するように、前記ディスプレイと前記他のディスプレイとが配置されたとき、前記ディスプレイの第2のコネクタ部と前記他のディスプレイの第1の側面に設けられた第1のコネクタ部とが電気的に接続される。
前記第1のコネクタ部には、映像信号が無線で入力され、前記第2のコネクタ部には、映像信号を無線で出力させることができる。
前記第1のコネクタ部には、放送用の高周波信号、音声信号、または制御信号も入力され、前記第2のコネクタ部からは、放送用の高周波信号、音声信号、または制御信号も出力させることができる。
ディスプレイには、前記筐体の4つの側面のうちの前記第1および前記第2の側面以外の第3の側面に設けられた、外部から、少なくとも映像信号が入力される第3のコネクタ部と、前記第3の側面と対向する第4の側面に設けられた、外部に、少なくとも、映像信号を出力する第4のコネクタ部と、前記第1のコネクタ部または前記第3のコネクタ部に入力される映像信号のうちのいずれかを選択し、前記第2のコネクタ部および前記第4のコネクタ部から外部に出力させる選択手段とをさらに設けることができる。
ディスプレイには、前記第1または前記第3のコネクタ部に、他のディスプレイが接続されているか否かを判定する判定手段をさらに設けることができる。この場合、前記選択手段には、前記他のディスプレイが接続されているか否かの判定結果に応じて、前記第1または前記第3のコネクタ部に入力される映像信号のうちのいずれかを選択させることができる。
本発明の第2の側面は、映像を表示する表示手段が1つの面に設けられた直方体状の筐体と、前記表示手段が設けられた面に直交する前記筐体の4つの側面のうちの第1の側面に設けられた、外部から、少なくとも映像信号が入力される第1のコネクタ部と、前記第1の側面と対向する第2の側面に設けられた、外部に、少なくとも映像信号を出力する第2のコネクタ部と、前記筐体の4つの側面のうちの前記第1および前記第2の側面以外の第3の側面に設けられた、外部から、少なくとも映像信号が入力される第3のコネクタ部と、前記第3の側面と対向する第4の側面に設けられた、外部に、少なくとも、映像信号を出力する第4のコネクタ部とを備えるディスプレイの制御方法、またはディスプレイを制御するコンピュータに実行させるプログラムであって、前記第1または前記第3のコネクタ部に、他のディスプレイが接続されているか否かを判定し、前記他のディスプレイが接続されているか否かの判定結果に応じて、前記第1または前記第3のコネクタ部に入力される映像信号のうちのいずれかを選択し、前記第2のコネクタ部および前記第4のコネクタ部から外部に出力させるステップを含むディスプレイの制御方法、またはプログラムである。
プログラムは、記録媒体に記録することができる。
本発明の第1の側面においては、前記表示手段が設けられた面に直交する前記筐体の4つの側面のうちの第1の側面に設けられた第1のコネクタ部には、外部から、少なくとも映像信号が入力され、前記第1の側面と対向する第2の側面に設けられた第2のコネクタ部からは、外部に、少なくとも映像信号が出力される。
本発明の第2の側面においては、前記第1または前記第3のコネクタ部に、他のディスプレイが接続されているか否かが判定される。そして、前記他のディスプレイが接続されているか否かの判定結果に応じて、前記第1または前記第3のコネクタ部に入力される映像信号のうちのいずれかが選択され、前記第2のコネクタ部および前記第4のコネクタ部から外部に出力される。
本発明によれば、ディスプレイ同士を容易に接続することができる。
以下に本発明の実施の形態を説明するが、本発明の構成要件と、明細書又は図面に記載の実施の形態との対応関係を例示すると、次のようになる。この記載は、本発明をサポートする実施の形態が、明細書又は図面に記載されていることを確認するためのものである。従って、明細書又は図面中には記載されているが、本発明の構成要件に対応する実施の形態として、ここには記載されていない実施の形態があったとしても、そのことは、その実施の形態が、その構成要件に対応するものではないことを意味するものではない。逆に、実施の形態が構成要件に対応するものとしてここに記載されていたとしても、そのことは、その実施の形態が、その構成要件以外の構成要件には対応しないものであることを意味するものでもない。
本発明の第1の側面は、映像を表示する表示手段(例えば、図1の表示部21)が1つの面に設けられた直方体状の筐体(例えば、図1の筐体10)を有するディスプレイにおいて、前記表示手段が設けられた面に直交する前記筐体の4つの側面のうちの第1の側面に設けられた、外部から、少なくとも映像信号が入力される第1のコネクタ部(例えば、図1の左コネクタ部41)と、前記第1の側面と対向する第2の側面に設けられた、外部に、少なくとも映像信号を出力する第2のコネクタ部(例えば、図1の右コネクタ部43)とを備えるディスプレイである。
ディスプレイには、前記筐体の4つの側面のうちの前記第1および前記第2の側面以外の第3の側面に設けられた、外部から、少なくとも映像信号が入力される第3のコネクタ部(例えば、図1の下コネクタ部42)と、前記第3の側面と対向する第4の側面に設けられた、外部に、少なくとも、映像信号を出力する第4のコネクタ部(例えば、図1の上コネクタ部44)と、前記第1のコネクタ部または前記第3のコネクタ部に入力される映像信号のうちのいずれかを選択し、前記第2のコネクタ部および前記第4のコネクタ部から外部に出力させる選択手段(例えば、図5のクロスポイントスイッチャ316)とをさらに設けることができる。
ディスプレイには、前記第1または前記第3のコネクタ部に、他のディスプレイが接続されているか否かを判定する判定手段(例えば、図5のMPU311)をさらに設けることができる。この場合、前記選択手段には、前記他のディスプレイが接続されているか否かの判定結果に応じて、前記第1または前記第3のコネクタ部に入力される映像信号のうちのいずれかを選択させることができる。
本発明の第2の側面の制御方法、またはプログラムは、映像を表示する表示手段が1つの面に設けられた直方体状の筐体と、前記表示手段が設けられた面に直交する前記筐体の4つの側面のうちの第1の側面に設けられた、外部から、少なくとも映像信号が入力される第1のコネクタ部(例えば、図1の左コネクタ部41)と、前記第1の側面と対向する第2の側面に設けられた、外部に、少なくとも映像信号を出力する第2のコネクタ部(例えば、図1の右コネクタ部43)と、前記筐体の4つの側面のうちの前記第1および前記第2の側面以外の第3の側面に設けられた、外部から、少なくとも映像信号が入力される第3のコネクタ部(例えば、図1の下コネクタ部42)と、前記第3の側面と対向する第4の側面に設けられた、外部に、少なくとも、映像信号を出力する第4のコネクタ部(例えば、図1の上コネクタ部44)とを備えるディスプレイの制御方法、またはディスプレイを制御するコンピュータに実行させるプログラムであり、前記第1または前記第3のコネクタ部に、他のディスプレイが接続されているか否かを判定し(例えば、図6のステップS2およびステップS4の処理を実行する図5のMPU311)、前記他のディスプレイが接続されているか否かの判定結果に応じて、前記第1または前記第3のコネクタ部に入力される映像信号のうちのいずれかを選択し、前記第2のコネクタ部および前記第4のコネクタ部から外部に出力させる(例えば、図6のステップS3およびステップS5の処理を実行する図5のMPU311)ステップを含む。
以下、図面を参照して本発明を適用した実施の形態について説明する。
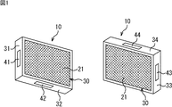
図1は、本発明を適用したディスプレイの一実施の形態の構成例の外観を示す斜視図である。
ディスプレイは、映像を表示する表示部21が1つの面30に設けられた直方体状の筐体10を有する。表示部21は、例えば、CRTや液晶パネル等で構成され、その表示画面は面30とほぼ一致している。ここで面30を、以下適宜、表示面30ともいう。
筐体10において、表示面30に直交する4つの側面31,32,33,34のうちの1つの面である、例えば、向かって左側の左側面31には、外部から、放送用の高周波信号(RF(Radio Frequency)信号)、(ベースバンドの)映像信号、(ベースバンドの)音声信号、および制御信号が入力される左コネクタ部41が設けられている。また、左側面31に対向する右側面33には、外部に、放送用の高周波信号、映像信号、音声信号、および制御信号を出力する右コネクタ部43が設けられている。
さらに、4つの側面31乃至34のうちの左側面31および右側面33以外の側面の1つである、例えば、下側面32には、外部から、放送用の高周波信号、映像信号、音声信号、および制御信号が入力される下コネクタ部42が設けられている。また、下側面32に対向する上側面34には、外部に、放送用の高周波信号、映像信号、音声信号、および制御信号を出力する上コネクタ部43が設けられている。なお、以下、映像信号が入力される左コネクタ部41および下コネクタ部42を入力コネクタ部ともいい、映像信号が出力される右コネクタ部43および上コネクタ部44を出力コネクタ部ともいう。
図2は、本発明を適用したマルチディスプレイシステム101の外観構成例を示す斜視図である。
図2において、マルチディスプレイシステム101は、9台のディスプレイ111,1、111,2、111,3、112,1、112,2、112,3、113,1、113,2、113,3を、横×縦が3×3となるように配置して構成されている。
ここで、ディスプレイ11i,jのサフィックスijは、そのディスプレイ11i,jが、マルチディスプレイシステム101において、第i行第j列(下からi行目で、左からj列目)に配置されているものであることを示す。
ディスプレイ11i,jは、図1のディスプレイと同一構成のディスプレイである。
なお、ディスプレイ11i,jの各部には、図1のディスプレイの対応する各部に付した符号にサフィクスijを付加した符号を付してある。また、ディスプレイ11i,jを特に区別する必要がなければ、ディスプレイ11と称する。
図3は、ディスプレイ11i,jの出力コネクタ部および入力コネクタ部の構成例を示す平面図である。
図3の左の図は、出力コネクタ部(右コネクタ部43i,jと上コネクタ部44i,j)の構成例を示している。
出力コネクタ部は、放送用の高周波信号が出力される1つのRF出力端子151、映像信号が出力される3つの映像出力端子152A乃至映像出力端子152C(例えば、RCA端子)、左チャンネルの音声信号が出力される3つの音声出力端子153A乃至音声出力端子153C、右チャンネルの音声信号が出力される3つの音声出力端子154A乃至音声出力端子154C、並びに制御信号が入出力される1つの制御端子155(例えば、IEEE(Institute of Electrical and Electronic Engineers)1394に準拠した端子)で構成される。また、出力コネクタ部には、電源となる電力を外部に供給する電源端子がさらに設けられてもよい。なお、以下、これらの信号端子を出力端子と総称する。
図3の右の図は、入力コネクタ部(左コネクタ部41i,jと下コネクタ部42i,j)の構成例を示している。
入力コネクタ部は、放送用の高周波信号が入力される1つのRF入力端子161、映像信号が入力される3つの映像入力端子162A乃至映像入力端子162C(例えば、RCA端子)、左チャンネルの音声信号が入力される3つの音声入力端子163A乃至音声入力端子163C、右チャンネルの音声信号が入力される3つの音声入力端子164A乃至音声入力端子164C、並びに制御信号が入出力される制御端子165(例えば、IEEE1394に準拠した端子)で構成される。また、入力コネクタ部には、電源となる電力が外部から供給される電源端子がさらに設けられてもよい。なお、以下、これらの信号端子を入力端子と総称する。
出力コネクタ部の出力端子と、入力コネクタ部の入力端子とは、鏡像の関係になるようにそれぞれ配置されている。
また、出力コネクタ部と入力コネクタ部とについては、例えば、図2のマルチディスプレイシステム101のように、ある2つのディスプレイ11i,jとディスプレイ11i,j+1とが、それぞれ左側と右側に隣接するように配置された場合に、左側のディスプレイ11i,jの出力コネクタ部としての右コネクタ部43i,jの対応する出力端子と、右側の他のディスプレイ11i,j+1の入力コネクタ部としての左コネクタ部41i,j+1の対応する入力端子とが電気的に接続されるようになっている。
すなわち、右コネクタ部43i,jのRF出力端子151と、左コネクタ部41i,j+1のRF入力端子161とが接続され、右コネクタ部43i,jの映像出力端子152Aと、左コネクタ部41i,j+1の映像入力端子162Aとが接続される。また、右コネクタ部43i,jの映像出力端子152Bと、左コネクタ部41i,j+1の映像入力端子162Bとが接続され、右コネクタ部43i,jの映像出力端子152Cと、左コネクタ部41i,j+1の映像入力端子162Cとが接続される。同様に、右コネクタ部43i,jの音声出力端子153A乃至音声出力端子153C、音声出力端子154A乃至音声出力端子154C、または制御端子155と、左コネクタ部41i,j+1の音声入力端子163A乃至音声入力端子163C、音声入力端子164A乃至音声入力端子164C、または制御端子165とが、それぞれ接続される。
従って、例えば、右側のディスプレイ11i,j+1に注目すると、そのディスプレイ11i,j+1の左側面31i,j+1に、他のディスプレイ11i,jの右側面33i,jが対向するように、他のディスプレイ11i,jが配置された場合、他のディスプレイ11i,jの右側面33i,jに設けられた右コネクタ部43i,jの出力端子が出力する信号が、注目しているディスプレイ11i,j+1の左側面31i,j+1に設けられた左コネクタ部41i,j+1の入力端子に入力される。
また、例えば、左側のディスプレイ11i,jに注目すると、そのディスプレイ11i,jの右側面33i,jに、他のディスプレイ11i,j+1の左側面31i,j+1が対向するように、他のディスプレイ11i,j+1が配置された場合、注目しているディスプレイ11i,jの右側面33i,jに設けられた右コネクタ部43i,jの出力端子が出力する信号が、他のディスプレイ11i,j+1の左側面31i,j+1に設けられた左コネクタ部41i,j+1の入力端子に入力される。
さらに、下側と上側に隣接するようにそれぞれ配置された2つのディスプレイ11i,jとディスプレイ11i+1,jについては、下側の11i,jの出力コネクタ部としての上コネクタ部44i,jの出力端子と、上側のディスプレイ11i+1,jの入力コネクタ部としての下コネクタ部42i+1,jの対応する入力端子とが電気的に接続される。
すなわち、上コネクタ部44i,jのRF出力端子151と、下コネクタ部42i+1,jのRF入力端子161とが接続され、上コネクタ部44i,jの映像出力端子152Aと、下コネクタ部42i+1,jの映像入力端子162Aとが接続される。また、上コネクタ部44i,jの映像出力端子152Bと、下コネクタ部42i+1,jの映像入力端子162Bとが接続され、上コネクタ部44i,jの映像出力端子152Cと、下コネクタ部42i+1,jの映像入力端子162Cとが接続される。同様に、上コネクタ部44i,jの音声出力端子153A乃至音声出力端子153C、音声出力端子154A乃至音声出力端子154C、または制御端子155と、下コネクタ部42i+1,jの音声入力端子163A乃至音声入力端子163C、音声入力端子164A乃至音声入力端子164C、または制御端子165とが、それぞれ接続される。
従って、例えば、上側のディスプレイ11i+1,jに注目すると、そのディスプレイ11i+1,jの下側面32i+1,jに、他のディスプレイ11i,jの上側面34i,jが対向するように、他のディスプレイ11i,jが配置された場合、他のディスプレイ11i,jの上側面34i,jに設けられた上コネクタ部44i,jの出力端子が出力する信号が、注目しているディスプレイ11i+1,jの下側面32i+1,jに設けられた下コネクタ部42i+1,jの入力端子に入力される。
また、例えば、下側のディスプレイ11i,jに注目すると、そのディスプレイ11i,jの上側面34i,jに、他のディスプレイ11i+1,jの下側面32i+1,jが対向するように、他のディスプレイ11i+1,jが配置された場合、注目しているディスプレイ11i,jの上側面34i,jに設けられた上コネクタ部44i,jの出力端子が出力する信号が、他のディスプレイ11i+1,jの下側面32i+1,jに設けられた下コネクタ部42i+1,jの入力端子に入力される。
このように、ディスプレイ11i,jは、他のディスプレイと並べて配置するだけで、その他のディスプレイと電気的に接続されるため、ディスプレイ同士の接続を容易に行うことができる。
また、ディスプレイ同士の間での信号の入出力は、上述のように入力端子と出力端子とを直接に接続して行う他、無線通信によって行うことも可能である。
すなわち、図4は出力コネクタ部と入力コネクタ部の他の構成例を示す断面図である。
図4の上の図に示すように、ディスプレイ11i,jの出力コネクタ部としての、例えば右側面33i,jに設けられた右コネクタ部43i,jは、UWB(Ultra Wide Band)送信アンテナ221、電波吸収体222、および連結検出センサ223からなる。ディスプレイ11i,j+1の入力コネクタ部としての、例えば左側面31i,j+1に設けられた左コネクタ部41i,j+1は、UWB受信アンテナ231、電波吸収体232、および空隙233からなる。
ディスプレイ11i,jの右コネクタ部43i,jにおいて、UWB送信アンテナ221と連結検出センサ223とは、右側面33i,jから外部側に突出した凸部を形成するように構成されている。電波吸収体222は、UWB送信アンテナ221が放出する電波が、ディスプレイ11i,jの入力コネクタ部としての左コネクタ部41i,jや下コネクタ部42i,jで受信されること等を防止するために、右側面33i,jの内部側に設けられている。
一方、左コネクタ部41i,j+1では、空隙233が、UWB送信アンテナ221および連結検出センサ223からなる凸部が収まる凹部を形成するように構成されている。さらに、UWB受信アンテナ231が、空隙233としての凹部の底面部分に設けられ、ディスプレイ11i,jのUWB送信アンテナ221および連結検出センサ223からなる凸部がディスプレイ11i,j+1の凹部になっている空隙233に収まったときに、UWB送信アンテナ221が放出する電波が、ディスプレイ11i,j+1の他の入力コネクタ部としての下コネクタ部42i,j+1で受信されること等を防止するために、電波吸収体232が、空隙233としての凹部の側面部分を囲むように設けられている。
以上のように構成される、出力コネクタ部としての右コネクタ部43i,jと入力コネクタ部としての左コネクタ部41i,j+1とについては、ディスプレイ11i,jと、他のディスプレイ11i,j+1とが、それぞれ左側と右側に隣接するように配置されると、図4の下の図に示すように、左側のディスプレイ11i,jの出力コネクタ部としての右コネクタ部43i,jのUWB送信アンテナ221および連結検出センサ223からなる凸部が、右側のディスプレイ11i,j+1の入力コネクタ部としての左コネクタ部41i,j+1の空隙233としての凹部に収まる(はめ込まれる)。
UWB送信アンテナ221および連結検出センサ223からなる凸部が、右側のディスプレイ11i,j+1の入力コネクタ部としての左コネクタ部41i,j+1の空隙233としての凹部に収まると、そのことが、連結検出センサ223によって検出され、ディスプレイ11i,jは、UWB送信アンテナ221からの、映像信号等としての電波の放出を開始する。UWB送信アンテナ221が放出する電波は、UWB受信アンテナ231で受信される。
以上のようにして、出力コネクタ部としての右コネクタ部43i,jは、映像信号等を無線で出力し、入力コネクタ部としての左コネクタ部41i,j+1には、映像信号等が無線で入力される。
なお、ディスプレイ11i,jの右コネクタ部43i,jおよび他のディスプレイ11i,j+1の左コネクタ部41i,j+1が、図4に示したように構成される場合には、ディスプレイ11i,jの上コネクタ部44i,j並びに他のディスプレイ11i,j+1の右コネクタ部43i,j+1および上コネクタ部44i,j+1は、ディスプレイ11i,jの右コネクタ部43i,jと同様に構成され、ディスプレイ11i,jの左コネクタ部41i,jおよび下コネクタ部42i,j、並びに他のディスプレイ11i,j+1の下コネクタ部42i,j+1は、他のディスプレイ11i,j+1の左コネクタ部41i,j+1と同様に構成される。
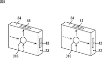
図5は、ディスプレイ11の内部構成例を示すブロック図である。
MPU(Micro Processing Unit)311は、メモリ317に記憶されるプログラムを実行することにより、ディスプレイ11を構成する各部を制御する。また、MPU311は、左コネクタ部41乃至上コネクタ部44から供給される制御信号に従って処理を行い、制御信号を左コネクタ部41乃至上コネクタ部44に供給して外部に出力させる。
RFスイッチャ313は、MPU311の制御に基づいて、外部から左コネクタ部41または下コネクタ部42に入力された放送用の高周波信号のいずれかを選択し、分配器314に供給する。分配器314は、RFスイッチャ313から供給された放送用の高周波信号を分配し、右コネクタ部43、上コネクタ部44、およびチューナ315に供給する。
チューナ315は、MPU311の制御に基づいてチャンネルを選択し、分配器314から提供された放送用の高周波信号から、選択されたチャンネルの放送用の高周波信号を抽出して映像信号および音声信号に変換し、クロスポイントスイッチャ316に供給する。
クロスポイントスイッチャ316は、MPU311の制御に従い、外部から左コネクタ部41に入力された映像信号および音声信号(左チャネルおよび右チャネルの音声信号)、または、外部から下コネクタ部42に入力された映像信号および音声信号のうちのいずれかを選択信号として選択し、その選択信号を、右コネクタ部43および上コネクタ部44から外部に出力させる。また、クロスポイントスイッチャ316は、MPU311の制御に従い、チューナ315から供給される映像信号および音声信号、または選択信号のうちのいずれかを選択し、表示部21に供給して、対応する映像(信号)を表示部21に表示させる。なお、音声信号は、図示せぬスピーカから出力される。
メモリ317は、MPU311が実行するプログラム、MPU311の動作に必要なデータを記憶する。
なお、RFスイッチャ313とクロスポイントスイッチャ316とは、MPU311の制御に従い、連動して信号を選択する。すなわち、クロスポイントスイッチャ316が、外部から左コネクタ部41に入力された映像信号および音声信号を選択信号として選択するとき、RFスイッチャ313は、外部から左コネクタ部41に入力された放送用の高周波信号を選択する。また、クロスポイントスイッチャ316が、外部から下コネクタ部42に入力された映像信号および音声信号を選択信号として選択するとき、RFスイッチャ313は、外部から下コネクタ部42に入力された放送用の高周波信号を選択する。
また、MPU311が実行するプログラムは、メモリ317にあらかじめインストールしておくことができる。また、プログラムは、DVD(Digital Versatile Disc)等のリムーバブルな記憶媒体や、インターネット等のネットワークを介してディスプレイ11に供給し、メモリ317にインストールすることができる。
次に、図6のフローチャートを参照して、ディスプレイ11による信号選択処理について説明する。
この信号選択処理は、ディスプレイ11の左コネクタ部41乃至上コネクタ部44の接続状態が変化した場合、或いは、必要に応じて、例えばユーザの指示によって、信号選択処理が要求された場合に開始することができる。
ステップS1において、MPU311は、図2に示したようなマルチディスプレイシステム101の各ディスプレイ11の配置を表す配置情報を、後述するように取得して、ステップS2に進む。
ステップS2において、MPU311は、配置情報を基に左にディスプレイがあるか否か判定する。ステップS2において、左にディスプレイがあると判定された場合、すなわち、左コネクタ部41に他のディスプレイ(の右コネクタ)が接続される場合、ステップS3に進み、MPU311は、左にあるディスプレイから左コネクタ部41に入力される高周波信号を選択するように、RFスイッチャ313およびクロスポイントスイッチャ316を制御して、ステップS6に進む。
これにより、左にあるディスプレイから左コネクタ部41に入力される映像信号および音声信号が、クロスポイントスイッチャ316を介して、右コネクタ部43および上コネクタ部44から出力されるとともに、左にあるディスプレイから左コネクタ部41に入力される高周波信号が、RFスイッチャ313および分配器314を介して、右コネクタ部43および上コネクタ部44から出力される。
なお、ステップS2において、左にディスプレイがないと判定された場合であっても、例えば、左コネクタ部41にケーブルなどが接続され、外部から左コネクタ部41に映像信号等が入力されている場合には、MPU311は、ステップS2からステップS3に進み、クロスポイントスイッチャ316等に左コネクタ部41に入力されている映像信号等を選択させる。
一方、ステップS2において、左にディスプレイがないと判定された場合、ステップS4に進み、MPU311は、配置情報を基に下にディスプレイがあるか否か判定する。
ステップS4において、下にディスプレイがあると判定された場合、すなわち、下コネクタ部42に他のディスプレイ(の上コネクタ)が接続されている場合、ステップS5に進み、MPU311は、下にあるディスプレイから下コネクタ部42に入力される高周波信号を選択するように、RFスイッチャ313およびクロスポイントスイッチャ316を制御してステップS6に進む。
これにより、下にあるディスプレイから下コネクタ部42に入力される映像信号および音声信号が、クロスポイントスイッチャ316を介して、右コネクタ部43および上コネクタ部44から出力されるとともに、下にあるディスプレイから下コネクタ部42に入力される高周波信号が、RFスイッチャ313および分配器314を介して、右コネクタ部43および上コネクタ部44から出力される。
なお、ステップS4において、下にディスプレイがないと判定された場合であっても、例えば、下コネクタ部42にケーブルなどが接続され、外部から下コネクタ部42に映像信号等が入力されている場合には、MPU311は、ステップS4からステップS5に進み、クロスポイントスイッチャ316等に下コネクタ部42に入力されている映像信号等を選択させる。
一方、ステップS4において、下にディスプレイがないと判定された場合、すなわち、例えば、左コネクタ部41および下コネクタ部42のいずれにも、映像信号等が入力されていない場合、ステップS3に進み、MPU311は、左コネクタ部41側または下コネクタ部42側のうちの左コネクタ部41側を選択するように、RFスイッチャ313およびクロスポイントスイッチャ316を制御して、ステップS6に進む。
ステップS6では、MPU311が、チューナ315が出力する映像(信号)を、表示部21に表示させるかどうかを判定する。
ステップS6において、チューナ315が出力する映像(信号)を、表示部21に表示させると判定された場合、すなわち、例えば、ユーザが図示せぬリモートコマンダを操作することにより、ディスプレイ11のモードが、チューナ315が出力する映像を表示部21に表示させるモードとなっている場合、ステップS7に進み、MPU311は、クロスポイントスイッチャ316を制御することにより、チューナ315が出力する映像信号を、表示部21に出力させ、ステップS9に進む。
これにより、表示部21では、チューナ315が出力する映像(信号)が表示される。
また、ステップS6において、チューナ315が出力する映像を、表示部21に表示させないと判定された場合、すなわち、ユーザがリモートコマンダを操作することにより、ディスプレイ11のモードが、外部から入力された映像(信号)を表示部21に表示させるモードとなっている場合、ステップS8に進み、MPU311は、クロスポイントスイッチャ316を制御することにより、ステップS3またはステップS5で右コネクタ部43と上コネクタ部44に出力した映像信号と同一の映像信号(選択信号)を、ディスプレイ11に出力させ、ステップS9に進む。
これにより、表示部21では、ステップS3またはステップS5で右コネクタ部43と上コネクタ部44に出力された映像信号が表示される。
ステップS9では、MPU311が、信号選択処理を終了するかどうかを判定する。ステップS9において、信号選択処理を終了しないと判定された場合、ステップS1に戻り、以下、同様の処理が繰り返される。
また、ステップS9において、信号選択処理を終了すると判定された場合、すなわち、例えば、ユーザが信号選択処理を行わないようにリモートコマンダを操作した場合、信号選択処理は終了する。
次に、図7のフローチャートを参照して、図6のステップS1で行われる配置情報を取得する配置情報取得処理について説明する。
ステップS51において、MPU311は、上コネクタ部44に他のディスプレイの下コネクタ部が接続されているか否か判定する。なお、MPU311は、ステップS51において、例えば、上コネクタ部44(の端子)にかかる電圧等に基づいて、上コネクタ部44に他のディスプレイの下コネクタ部が接続されているかどうかを判定する。後述するステップS54、ステップS57、およびステップS60でも同様である。
ステップS51において、上コネクタ部44に他のディスプレイの下コネクタ部が接続されていると判定された場合、ステップS52に進み、MPU311は、上コネクタ部44に接続されている他のディスプレイである上のディスプレイから、配置情報を取得して、ステップS54に進む。
ここで、配置情報が、例えば、上のディスプレイが上からN番目に配置されていることを表す場合、MPU311は、その配置情報に基づき、自身が上からN+1番目に配置されていることを認識して、その旨の配置情報を記憶する。
一方、ステップS51において、上コネクタ部44に他のディスプレイの下コネクタ部が接続されていないと判定された場合、ステップS53に進み、MPU311は、ディスプレイ11が上から1番目に配置されていることを認識し、その旨の配置情報を記憶してステップS54に進む。
ステップS54において、MPU311は、下コネクタ部42に他のディスプレイの上コネクタ部が接続されているか否か判定する。
ステップS54において、下コネクタ部42に他のディスプレイの上コネクタ部が接続されていると判定された場合、ステップS55に進み、MPU311は、下コネクタ部42に接続されている他のディスプレイである下のディスプレイから、配置情報を取得して、ステップS57に進む。
ここで、配置情報が、例えば、下のディスプレイが下からN番目に配置されていることを表す場合、MPU311は、その配置情報に基づき、自身が下からN+1番目に配置されていることを認識して、その旨の配置情報を記憶する。
一方、ステップS54において、下コネクタ部42に他のディスプレイの上コネクタ部が接続されていないと判定された場合、ステップS56に進み、MPU311は、ディスプレイ11が下から1番目に配置されていることを認識し、その旨の配置情報を記憶してステップS57に進む。
ステップS57において、MPU311は、右コネクタ部43に他のディスプレイの左コネクタ部が接続されているか否か判定する。
ステップS57において、右コネクタ部43に他のディスプレイの左コネクタ部が接続されていると判定された場合、ステップS58に進み、MPU311は、右コネクタ部43に接続されている他のディスプレイである右のディスプレイから、配置情報を取得して、ステップS60に進む。
ここで、配置情報が、例えば、右のディスプレイが右からN番目に配置されていることを表す場合、MPU311は、その配置情報に基づき、自身が右からN+1番目に配置されていることを認識して、その旨の配置情報を記憶する。
一方、ステップS57において、右コネクタ部43に他のディスプレイの左コネクタ部が接続されていないと判定された場合、ステップS59に進み、MPU311は、ディスプレイ11が右から1番目に配置されていることを認識し、その旨の配置情報を記憶してステップS60に進む。
ステップS60において、MPU311は、左コネクタ部41に他のディスプレイの右コネクタ部が接続されているか否か判定する。
ステップS60において、左コネクタ部41に他のディスプレイの右コネクタ部が接続されていると判定された場合、ステップS61に進み、MPU311は、左コネクタ部41に接続されている他のディスプレイである左のディスプレイから、配置情報を取得して、ステップS63に進む。
ここで、配置情報が、例えば、左のディスプレイが左からN番目に配置されていることを表す場合、MPU311は、その配置情報に基づき、自身が左からN+1番目に配置されていることを認識して、その旨の配置情報を記憶する。
一方、ステップS60において、左コネクタ部41に他のディスプレイの右コネクタ部43が接続されていないと判定された場合、ステップS62に進み、MPU311は、ディスプレイ11が左から1番目に配置されていることを認識し、その旨の配置情報を記憶してステップS63に進む。
ステップS63では、MPU311は、いままでに記憶した配置情報から、マルチディスプレイシステムを構成する各ディスプレイの配置位置を確定することができるかどうかを判定する。
ステップS63において、マルチディスプレイシステムを構成する各ディスプレイの配置位置を、まだ確定することができないと判定された場合、ステップS51に戻り、以下、同様の処理が繰り返される。
また、ステップS63において、マルチディスプレイシステムを構成する各ディスプレイの配置位置を確定することができると判定された場合、リターンする。
図8は、ディスプレイ11に対する、信号の入出力の様子を示している。
なお、図8、並びに後述する図9および図10では、説明を簡単にするために、映像信号にのみ注目して説明を行う。
ディスプレイ11では、左コネクタ41に映像信号が入力される場合(左コネクタ部41の他、下コネクタ部42にも映像信号が入力される場合を含む)、図6で説明したことから、クロスポイントスイッチャ316は、図8の左の図に示すように、左コネクタ41に外部から入力された映像信号を選択し、右コネクタ43と上コネクタ44の両方から外部に出力する。
また、ディスプレイ11では、下コネクタにのみ、映像信号が入力される場合、図6で説明したことから、クロスポイントスイッチャ316は、図8の右の図に示すように、下コネクタ42(図8では図示せず)に外部から入力された映像信号を選択し、右コネクタ43と上コネクタ44の両方から外部に出力する。
図9および図10は、複数のディスプレイ11で構成されるマルチディスプレイシステム101において映像信号が入力される経路を示している。
なお、図9および図10では、マルチディスプレイシステム101の最も左下にあるディスプレイ111,1の左コネクタ部411,1(図9および図10において図示せず)に外部から映像信号が入力されている。
図9は、9台のディスプレイ11を横×縦が3×3台になるように配置したマルチディスプレイシステム101における映像信号の経路を示している。
図9において、ディスプレイ111,1は左コネクタ部411,1に外部から映像信号が入力されるため、その左コネクタ部411,1に入力される映像信号を、右コネクタ部431,1から右のディスプレイ111,2に出力するとともに、上コネクタ部441,1から上のディスプレイ112,1に出力する。
ディスプレイ112,1は、下のディスプレイ111,1のみから映像信号が入力されるため、その映像信号を、上のディスプレイ113,1と左のディスプレイ112,2に出力する。ディスプレイ113,1も、ディスプレイ112,1と同様に、下のディスプレイ113,1のみから映像信号が入力されるため、その映像信号を、上(上コネクタ部443,1)から出力するとともに、右(右コネクタ部433,1)からディスプレイ113,2に出力する。
ディスプレイ111,2,111,3,112,2,112,3,113,2、および113,3は、いずれも左から映像信号が入力されるため、その映像信号を、上と右に出力する。以上の結果、例えば、最も右上のディスプレイ113,3には、ディスプレイ111,1に入力された映像信号が、図9において太線で示すように、ディスプレイ111,1,112,1,113,1,および113,2を経由して供給される。
図9の、横×縦が3×3台のディスプレイ11で構成されるマルチディスプレイシステム101から、例えば、最上段の左から2番目のディスプレイ113,2を取り除くと、マルチディスプレイシステム101における映像信号の経路は、図10に示すようになる。
ディスプレイ113,2を取り除くと、最も右上のディスプレイ113,3についてだけ、映像信号の入力の状態が変化する。
すなわち、図9では、ディスプレイ113,3には、左から映像信号が入力されるが、図10では、ディスプレイ113,2がないので、ディスプレイ113,3には、下からのみ映像信号が入力される。このため、ディスプレイ113,3は、図10では、下に入力された映像信号を、上と右から出力する。
その結果、ディスプレイ113,3には、ディスプレイ111,1に入力された映像信号が、図10において太線で示すように、ディスプレイ111,1,112,1,112,2、および112,3を経由して供給される。
図6および図8で説明したように、ディスプレイ11は、左または下から入力される映像信号のうちの一方を選択し、すなわち、左と下の両方から映像信号が入力される場合には、左から入力される映像信号を選択し、下のみから映像信号が入力される場合には、その下から入力される映像信号を選択し、右と上から出力するので、マルチディスプレイシステム101において、ディスプレイ11の配置が変化しても、ユーザが、映像信号等の分配のために配線を繋ぎ変える必要がない。
なお、ディスプレイ11には、左コネクタ部41乃至上コネクタ部44のすべてを儲けるのではなく、左コネクタ部41と右コネクタ部43だけを設けることができる。ただし、この場合には、マルチディスプレイシステム101において縦方向に配置されるディスプレイ11同士は、ケーブルを用いて接続する必要がある。
また、ディスプレイ11には、左コネクタ部41乃至上コネクタ部44のすべてを儲けるのではなく、下コネクタ部43と上コネクタ部44だけを設けることができる。ただし、この場合には、マルチディスプレイシステム101において横方向に配置されるディスプレイ11同士は、ケーブルを用いて接続する必要がある。
さらに、実施の形態では、ディスプレイ11の左と下に入力コネクタ部を設けるとともに、右と上に出力コネクタ部を設けるようにしたが、入力コネクタ部は、ディスプレイ11の右または上に設けてもよい。同様に、出力コネクタ部も左または下に設けてもよい。
なお、本明細書において、フローチャートによって説明した各ステップは、必ずしも、記載された順序に沿って時系列的に行われる必要はなく、並列的あるいは個別に実行されてもよい。
また、本明細書において、システムとは、複数の装置により構成される装置全体を表すものである。
本発明を適用したディスプレイの一実施の形態の構成例の外観を示す斜視図である。 本発明を適用したマルチディスプレイシステム101の外観構成例を示す斜視図である。 ディスプレイ11の出力コネクタ部および入力コネクタ部の構成例を示す平面図である。 出力コネクタ部と入力コネクタ部の他の構成例を示す断面図である。 ディスプレイ11の内部構成例を示すブロック図である。 ディスプレイ11による信号選択処理について説明するフローチャートである。 図6のステップS1で行う配置情報を取得する配置情報取得処理について説明するフローチャートである。 ディスプレイ11に対する、信号の入出力の様子を示す図である。 複数のディスプレイ11で構成されるマルチディスプレイシステム101における映像信号の経路を示す図である。 複数のディスプレイ11で構成されるマルチディスプレイシステム101における映像信号の経路を示す図である。
符号の説明
11 ディスプレイ,21 表示部,31 左側面,32 下側面,33 右側面,34 上側面,41 左コネクタ部,42 下コネクタ部,43 右コネクタ部,44 上コネクタ部,101 マルチディスプレイシステム,151 RF出力端子,152A乃至152C 映像出力端子,153A乃至153C 音声出力端子,154A乃至154C 音声出力端子,155 制御端子,161 RF入力端子,162A乃至162C 映像入力端子,163A乃至163C 音声入力端子,164A乃至164C 音声入力端子,165 制御端子,221 UWB送信アンテナ,231 UWB受信アンテナ,311 MPU,312 表示部,313 RFスイッチャ,314 分配器,315 チューナ,316 クロスポイントスイッチャ, 317 メモリ

Claims (9)

  1. 映像を表示する表示手段が1つの面に設けられた直方体状の筐体を有するディスプレイにおいて、
    前記表示手段が設けられた面に直交する前記筐体の4つの側面のうちの第1の側面に設けられた、外部から、少なくとも映像信号が入力される第1のコネクタ部と、
    前記第1の側面と対向する第2の側面に設けられた、外部に、少なくとも映像信号を出力する第2のコネクタ部と
    を備えるディスプレイ。
  2. 前記ディスプレイの第1の側面と、他のディスプレイの第2の側面とが対向するように、前記ディスプレイと前記他のディスプレイとが配置されたとき、前記ディスプレイの第1のコネクタ部と、前記他のディスプレイの第2の側面に設けられた第2のコネクタ部とが電気的に接続され、
    前記ディスプレイの第2の側面に、他のディスプレイの第1の側面が対向するように、前記ディスプレイと前記他のディスプレイとが配置されたとき、前記ディスプレイの第2のコネクタ部と前記他のディスプレイの第1の側面に設けられた第1のコネクタ部とが電気的に接続される
    請求項1に記載のディスプレイ。
  3. 前記第1のコネクタ部には、映像信号が無線で入力され、
    前記第2のコネクタ部は、映像信号を無線で出力する
    請求項1に記載のディスプレイ。
  4. 前記第1のコネクタ部には、放送用の高周波信号、音声信号、または制御信号も入力され、
    前記第2のコネクタ部からは、放送用の高周波信号、音声信号、または制御信号も出力される
    請求項1に記載のディスプレイ。
  5. 前記筐体の4つの側面のうちの前記第1および前記第2の側面以外の第3の側面に設けられた、外部から、少なくとも映像信号が入力される第3のコネクタ部と、
    前記第3の側面と対向する第4の側面に設けられた、外部に、少なくとも、映像信号を出力する第4のコネクタ部と、
    前記第1のコネクタ部または前記第3のコネクタ部に入力される映像信号のうちのいずれかを選択し、前記第2のコネクタ部および前記第4のコネクタ部から外部に出力させる選択手段と
    をさらに備える請求項1に記載のディスプレイ。
  6. 前記第1または前記第3のコネクタ部に、他のディスプレイが接続されているか否かを判定する判定手段をさらに備え、
    前記選択手段は、前記他のディスプレイが接続されているか否かの判定結果に応じて、前記第1または前記第3のコネクタ部に入力される映像信号のうちのいずれかを選択する
    請求項5に記載のディスプレイ。
  7. 映像を表示する表示手段が1つの面に設けられた直方体状の筐体と、
    前記表示手段が設けられた面に直交する前記筐体の4つの側面のうちの第1の側面に設けられた、外部から、少なくとも映像信号が入力される第1のコネクタ部と、
    前記第1の側面と対向する第2の側面に設けられた、外部に、少なくとも映像信号を出力する第2のコネクタ部と、
    前記筐体の4つの側面のうちの前記第1および前記第2の側面以外の第3の側面に設けられた、外部から、少なくとも映像信号が入力される第3のコネクタ部と、
    前記第3の側面と対向する第4の側面に設けられた、外部に、少なくとも、映像信号を出力する第4のコネクタ部と
    を備えるディスプレイの制御方法において、
    前記第1または前記第3のコネクタ部に、他のディスプレイが接続されているか否かを判定し、
    前記他のディスプレイが接続されているか否かの判定結果に応じて、前記第1または前記第3のコネクタ部に入力される映像信号のうちのいずれかを選択し、前記第2のコネクタ部および前記第4のコネクタ部から外部に出力させる
    ステップを含むディスプレイの制御方法。
  8. 映像を表示する表示手段が1つの面に設けられた直方体状の筐体と、
    前記表示手段が設けられた面に直交する前記筐体の4つの側面のうちの第1の側面に設けられた、外部から、少なくとも映像信号が入力される第1のコネクタ部と、
    前記第1の側面と対向する第2の側面に設けられた、外部に、少なくとも映像信号を出力する第2のコネクタ部と、
    前記筐体の4つの側面のうちの前記第1および前記第2の側面以外の第3の側面に設けられた、外部から、少なくとも映像信号が入力される第3のコネクタ部と、
    前記第3の側面と対向する第4の側面に設けられた、外部に、少なくとも、映像信号を出力する第4のコネクタ部とを備えるディスプレイを制御するコンピュータに実行させるプログラムにおいて、
    前記第1または前記第3のコネクタ部に、他のディスプレイが接続されているか否かを判定し、
    前記他のディスプレイが接続されているか否かの判定結果に応じて、前記第1または前記第3のコネクタ部に入力される映像信号のうちのいずれかを選択し、前記第2のコネクタ部および前記第4のコネクタ部から外部に出力させる
    ステップを含むプログラム。
  9. 請求項8に記載のプログラムが記録されている記録媒体。
JP2005361346A 2005-12-15 2005-12-15 ディスプレイ、ディスプレイの制御方法、プログラム、並びに記録媒体 Pending JP2007166364A (ja)

Priority Applications (1)

Application Number Priority Date Filing Date Title
JP2005361346A JP2007166364A (ja) 2005-12-15 2005-12-15 ディスプレイ、ディスプレイの制御方法、プログラム、並びに記録媒体

Applications Claiming Priority (1)

Application Number Priority Date Filing Date Title
JP2005361346A JP2007166364A (ja) 2005-12-15 2005-12-15 ディスプレイ、ディスプレイの制御方法、プログラム、並びに記録媒体

Publications (1)

Publication Number Publication Date
JP2007166364A true JP2007166364A (ja) 2007-06-28

Family

ID=38248730

Family Applications (1)

Application Number Title Priority Date Filing Date
JP2005361346A Pending JP2007166364A (ja) 2005-12-15 2005-12-15 ディスプレイ、ディスプレイの制御方法、プログラム、並びに記録媒体

Country Status (1)

Country Link
JP (1) JP2007166364A (ja)

Cited By (8)

* Cited by examiner, † Cited by third party
Publication number Priority date Publication date Assignee Title
JP2009271124A (ja) * 2008-04-30 2009-11-19 Necディスプレイソリューションズ株式会社 表示装置
WO2014115298A1 (ja) * 2013-01-25 2014-07-31 Necディスプレイソリューションズ株式会社 モニタスタンド、表示装置、マルチモニタシステム、および情報書き込み方法
WO2014132422A1 (ja) * 2013-02-28 2014-09-04 Necディスプレイソリューションズ株式会社 画像表示装置および自動電源制御方法
JP2017146423A (ja) * 2016-02-16 2017-08-24 学校法人東京工芸大学 ディスプレイ装置
KR20190103738A (ko) * 2018-02-28 2019-09-05 삼성전자주식회사 디스플레이 장치
JP2021184079A (ja) * 2020-05-21 2021-12-02 緯創資通股▲ふん▼有限公司Wistron Corporation 発光ダイオードディスプレイシステム及びモジュール
CN116490819A (zh) * 2020-12-21 2023-07-25 Sage电致变色显示有限公司 用于电致变色器件的支撑系统
US11972168B2 (en) 2021-11-02 2024-04-30 Samsung Electronics Co., Ltd. Display device and controlling method thereof

Citations (9)

* Cited by examiner, † Cited by third party
Publication number Priority date Publication date Assignee Title
JPH02273388A (ja) * 1989-04-13 1990-11-07 Fuji Photo Film Co Ltd テレビ付携帯用ビデオ
JPH0832904A (ja) * 1994-07-20 1996-02-02 Fujitsu General Ltd マルチパネル表示システム
JPH11288252A (ja) * 1998-04-01 1999-10-19 Daichu Denshi:Kk 点灯装置およびこれを用いた拡張型表示装置
JP2000242393A (ja) * 1999-02-23 2000-09-08 Canon Inc 情報処理装置及びその制御方法
JP2000276099A (ja) * 1999-03-23 2000-10-06 Toshiba Corp マルチスクリーン表示装置
JP2002006804A (ja) * 2000-06-27 2002-01-11 Nec Corp マルチ画面表示装置
JP2002176582A (ja) * 2000-12-06 2002-06-21 Fuji Photo Film Co Ltd 電子機器
JP2004163706A (ja) * 2002-11-14 2004-06-10 Hitachi Ltd 情報処理装置の表示系制御方式
JP2004205933A (ja) * 2002-12-26 2004-07-22 Fuji Photo Film Co Ltd 画像表示装置及び画像表示システム

Patent Citations (9)

* Cited by examiner, † Cited by third party
Publication number Priority date Publication date Assignee Title
JPH02273388A (ja) * 1989-04-13 1990-11-07 Fuji Photo Film Co Ltd テレビ付携帯用ビデオ
JPH0832904A (ja) * 1994-07-20 1996-02-02 Fujitsu General Ltd マルチパネル表示システム
JPH11288252A (ja) * 1998-04-01 1999-10-19 Daichu Denshi:Kk 点灯装置およびこれを用いた拡張型表示装置
JP2000242393A (ja) * 1999-02-23 2000-09-08 Canon Inc 情報処理装置及びその制御方法
JP2000276099A (ja) * 1999-03-23 2000-10-06 Toshiba Corp マルチスクリーン表示装置
JP2002006804A (ja) * 2000-06-27 2002-01-11 Nec Corp マルチ画面表示装置
JP2002176582A (ja) * 2000-12-06 2002-06-21 Fuji Photo Film Co Ltd 電子機器
JP2004163706A (ja) * 2002-11-14 2004-06-10 Hitachi Ltd 情報処理装置の表示系制御方式
JP2004205933A (ja) * 2002-12-26 2004-07-22 Fuji Photo Film Co Ltd 画像表示装置及び画像表示システム

Cited By (13)

* Cited by examiner, † Cited by third party
Publication number Priority date Publication date Assignee Title
JP2009271124A (ja) * 2008-04-30 2009-11-19 Necディスプレイソリューションズ株式会社 表示装置
WO2014115298A1 (ja) * 2013-01-25 2014-07-31 Necディスプレイソリューションズ株式会社 モニタスタンド、表示装置、マルチモニタシステム、および情報書き込み方法
JPWO2014115298A1 (ja) * 2013-01-25 2017-01-26 Necディスプレイソリューションズ株式会社 モニタスタンド、表示装置、マルチモニタシステム、および情報書き込み方法
WO2014132422A1 (ja) * 2013-02-28 2014-09-04 Necディスプレイソリューションズ株式会社 画像表示装置および自動電源制御方法
JP7065418B2 (ja) 2016-02-16 2022-05-12 学校法人東京工芸大学 ディスプレイ装置及び配列ベース
JP2017146423A (ja) * 2016-02-16 2017-08-24 学校法人東京工芸大学 ディスプレイ装置
KR20190103738A (ko) * 2018-02-28 2019-09-05 삼성전자주식회사 디스플레이 장치
KR102464234B1 (ko) 2018-02-28 2022-11-07 삼성전자주식회사 디스플레이 장치
JP2021184079A (ja) * 2020-05-21 2021-12-02 緯創資通股▲ふん▼有限公司Wistron Corporation 発光ダイオードディスプレイシステム及びモジュール
JP7149316B2 (ja) 2020-05-21 2022-10-06 緯創資通股▲ふん▼有限公司 発光ダイオードディスプレイシステム及びモジュール
US11210996B2 (en) 2020-05-21 2021-12-28 Wistron Corporation Light-emitting diode display system and module
CN116490819A (zh) * 2020-12-21 2023-07-25 Sage电致变色显示有限公司 用于电致变色器件的支撑系统
US11972168B2 (en) 2021-11-02 2024-04-30 Samsung Electronics Co., Ltd. Display device and controlling method thereof

Similar Documents

Publication Publication Date Title
KR100953789B1 (ko) 신호 처리 장치, 신호 처리 방법, 신호 처리 시스템, 및 컴퓨터 판독 가능 기록 매체
US8055191B2 (en) Method and structure in support of the formation of substantially co-linear wireless device pairings and mitigation of interference effects in a digital multi-media communication environment
EP1326436B1 (en) Displaying information
US9304732B2 (en) Display apparatus, control method thereof and display system
EP2328073A2 (en) Video wall display system
US20040027482A1 (en) Multi-vision system and method of controlling the same
US20050057434A1 (en) Multi screen display system and control method thereof
EP2180696B1 (en) Display device and radio transmission control method
JP2008283271A (ja) スマートアンテナ、およびアンテナ取り付け構造
EP3819982B1 (en) Image display device and video wall including the same
JP2011257540A (ja) マルチ・ディスプレイ・システム、画像表示方法、及びディスプレイ装置
US10278300B2 (en) Display device
JP2007166364A (ja) ディスプレイ、ディスプレイの制御方法、プログラム、並びに記録媒体
JP2003067073A (ja) 情報処理装置
US20170372665A1 (en) Cradle and display device having the same
JP2007164060A (ja) 多画面表示装置
JP4543324B2 (ja) 表示システム、表示装置および方法、記録媒体、並びにプログラム
US12356037B2 (en) Controller and system comprising same
US8018381B2 (en) Antenna apparatus
US11615768B2 (en) Display apparatus, method of controlling the same, and display system
JP2011523799A (ja) モニタ機能を備えたディスプレイ・サーバの方法および装置
JP2008160682A (ja) アンテナ切り替え構造
US20220394789A1 (en) Image display apparatus and operation method therefor
KR101468122B1 (ko) 영상 신호 제어 시스템 및 방법
KR20130065486A (ko) 방송 수신장치, 방송 시스템 및 이의 제어 방법

Legal Events

Date Code Title Description
A621 Written request for application examination

Free format text: JAPANESE INTERMEDIATE CODE: A621

Effective date: 20081204

A131 Notification of reasons for refusal

Free format text: JAPANESE INTERMEDIATE CODE: A131

Effective date: 20100928

A521 Written amendment

Free format text: JAPANESE INTERMEDIATE CODE: A523

Effective date: 20101027

A131 Notification of reasons for refusal

Free format text: JAPANESE INTERMEDIATE CODE: A131

Effective date: 20101214

A521 Written amendment

Free format text: JAPANESE INTERMEDIATE CODE: A523

Effective date: 20110127

A131 Notification of reasons for refusal

Free format text: JAPANESE INTERMEDIATE CODE: A131

Effective date: 20110802

A521 Written amendment

Free format text: JAPANESE INTERMEDIATE CODE: A523

Effective date: 20110901

A02 Decision of refusal

Free format text: JAPANESE INTERMEDIATE CODE: A02

Effective date: 20120315