JP2007137125A - 車両用サイドミラー - Google Patents

車両用サイドミラー Download PDF

Info

Publication number
JP2007137125A
JP2007137125A JP2005330336A JP2005330336A JP2007137125A JP 2007137125 A JP2007137125 A JP 2007137125A JP 2005330336 A JP2005330336 A JP 2005330336A JP 2005330336 A JP2005330336 A JP 2005330336A JP 2007137125 A JP2007137125 A JP 2007137125A
Authority
JP
Japan
Prior art keywords
housing
lamp unit
mirror
vehicle
side mirror
Prior art date
Legal status (The legal status is an assumption and is not a legal conclusion. Google has not performed a legal analysis and makes no representation as to the accuracy of the status listed.)
Pending
Application number
JP2005330336A
Other languages
English (en)
Inventor
Kiyozo Kawano
喜代蔵 川野
Shuji Umezaki
修治 梅崎
Current Assignee (The listed assignees may be inaccurate. Google has not performed a legal analysis and makes no representation or warranty as to the accuracy of the list.)
Ishizaki Honten Co Ltd
Original Assignee
Ishizaki Honten Co Ltd
Priority date (The priority date is an assumption and is not a legal conclusion. Google has not performed a legal analysis and makes no representation as to the accuracy of the date listed.)
Filing date
Publication date
Application filed by Ishizaki Honten Co Ltd filed Critical Ishizaki Honten Co Ltd
Priority to JP2005330336A priority Critical patent/JP2007137125A/ja
Publication of JP2007137125A publication Critical patent/JP2007137125A/ja
Pending legal-status Critical Current

Links

Images

Landscapes

  • Rear-View Mirror Devices That Are Mounted On The Exterior Of The Vehicle (AREA)
  • Lighting Device Outwards From Vehicle And Optical Signal (AREA)

Abstract

【課題】車両の進路方向を示す方向指示ランプを有する車両用サイドミラーにおいて、ハウジングに対するランプユニットの取り付けを省力化して車両用サイドミラーの製造に係るコストを大幅に低減する。また、デザイン性を向上させることなどを目的としてハウジングの周縁部を切り欠いた構造を採用しても、ハウジング周縁部の強度を維持することができる。
【解決手段】方向指示ランプ5aを保持するとともにハウジング3に支持されるランプユニット5を備え、ランプユニット5とハウジング3のどちらか一方に設けられた係止爪5c、5dが、他方に設けられた係合部3dに係止されて、ランプユニット5がハウジング3に固定される。
【選択図】図1

Description

本発明は、後方を確認するためのミラーを備えた車両用サイドミラーに関するものである。
従来、後方を確認するためのミラーを備えた車両用サイドミラーとして、車両の進路方向を示す方向指示ランプが設けられたものが知られている。
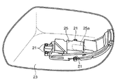
図7は、このような方向指示ランプを備えた車両用サイドミラーの従来の例を示す斜視図である。図7に示すように、方向指示ランプが設けられた車両用サイドミラーは、一般に、図略のミラーを支持するハウジング23と、方向指示ランプ25aを保持するランプユニット25とを備えており、このランプユニット25がハウジング23に対してねじ21で固定されるように構成されている。
例えば、特許文献1には、ミラーハウジングの前面から後ろ側へ回り込んだ車幅方向外側端にかけて横長の切欠き部を形成し、この切欠き部にいわゆるサイドターンランプと呼ばれる方向指示ランプを保持するランプユニットが後ろ側から取り付られた車両用ドアミラーの技術が開示されている。
特開2002−96684号公報
しかしながら、図7に示した車両用サイドミラーや上述の公報に記載された車両用サイドミラーなどの従来技術では、ランプユニットとハウジングとをねじで固定する必要があったので、ハウジングに対するランプユニットの取り付けに時間がかかり、車両用サイドミラーの製造に係るコストの低減に限界があるという問題があった。
また、上述の車両用サイドミラーの従来技術では、ハウジングの周縁部を切り欠いているので、ハウジングの周縁部を切り欠いてデザイン性を向上させた構造を採用しようとすると、ハウジング周縁部において強度が低下するという問題があった。
本発明は上記不具合に鑑みてなされたものであり、ランプユニットとハウジングとをねじで固定する必要を無くすることにより、ハウジングに対するランプユニットの取り付けを省力化して車両用サイドミラーの製造に係るコストを大幅に低減することができる車両用サイドミラーを提供することを課題としている。
また、デザイン性を向上させることなどを目的としてハウジングの周縁部を切り欠いた構造を採用しても、ハウジング周縁部の強度を維持することができる車両用サイドミラーを提供することを課題としている。
上記課題を解決するための本発明は、車両において後方を確認するためのミラーと、このミラーを支持するハウジングと、車両の進路方向を示す方向指示ランプとを有する車両用サイドミラーであって、上記方向指示ランプを保持するとともにハウジングに支持されるランプユニットを備え、上記ランプユニットとハウジングのどちらか一方に設けられた係止爪が、他方に設けられた係合部に係止されて、ランプユニットがハウジングに固定されるものであることを特徴とする車両用サイドミラーである。
本発明によれば、係止爪が、係合部に係止されて、ランプユニットがハウジングに固定されるので、ランプユニットとハウジングとをねじで固定する必要がなくなる結果、ハウジングに対するランプユニットの取り付けが省力化され、車両用サイドミラーの製造に係るコストを大幅に低減することができるようになる。
ここで、上記ハウジングは、ランプユニットの端部に設けられた挿入部を挿脱可能に受け入れて、このランプユニットの挿入部をハウジングに位置決めする位置決めホルダー部を備えていることが好ましい。
この好ましい態様によれば、ハウジングに設けられた位置決めホルダー部が、ランプユニットの端部に設けられた挿入部を挿脱可能に受け入れて、位置決めするので、ハウジングに対してランプユニットを精度良く取り付けることができるようになる。また、係止爪と係合部との係止による固定だけの場合と比較して、より堅固に確実にハウジングに対してランプユニットを取り付けることができるようになる。
次に、上記ハウジングの上記位置決めホルダー部は、ハウジングの周縁部においてハウジングの内側に突出するアーチ状に形成されたものであることが好ましい。
この好ましい態様によれば、位置決めホルダー部が、ハウジングの内側に突出するアーチ状に形成されてハウジングの周縁部に設けられているので、位置決めホルダー部が設けられたハウジングの周縁部の強度を増加させることができる。その結果、アーチ状に形成された位置決めホルダー部を残してハウジングの周縁部を切り欠いても、このアーチ状に形成された位置決めホルダー部がハウジング周縁部の強度を維持することができるようになる結果、ハウジングの周縁部を切り欠いてデザイン性を向上させた構造を採用することができるようになる。
また、上記ハウジングの上記位置決めホルダー部は、ランプユニットの端部に設けられ、ランプユニットから配線が出入りするコネクタ部を受け入れてハウジングに位置決めするものであることが好ましい。
この好ましい態様によれば、位置決めホルダー部が、配線が出入りするコネクタ部を受け入れて位置決めするので、車両の動きに伴い振動を起こしやすい配線部に連なるコネクタ部をより堅固に確実にハウジングに対してランプユニットを取り付けることができるようになる。
また、上記ハウジングの上記位置決めホルダー部は、ハウジングを塗装台の所定の位置に位置決めして塗装する際に、塗装台の所定の位置に設けられたハウジング固定治具に係合可能なものであることが好ましい。
この好ましい態様によれば、ハウジングを塗装する際に、塗装台の所定の位置に設けられたハウジング固定治具に位置決めホルダー部を係合させてハウジングを位置決めすることができるので、塗装工程用のリブをハウジングに別途取り付ける必要がなく、車両用サイドミラーの製造に係るコストを低減することができるようになる。
以上説明したように、本発明によれば、ランプユニットとハウジングとをねじで固定する必要がなくなるので、ハウジングに対するランプユニットの取り付けが省力化され、車両用サイドミラーの製造に係るコストを大幅に低減することができるという顕著な効果を奏する。
また、ハウジングの内側に突出するアーチ状に形成された位置決めホルダー部をハウジングの周縁部に設けた場合には、ハウジングの周縁部の強度を増加させることができるので、デザイン性を向上させた構造を採用することなどを目的としてハウジングの周縁部を切り欠いても、ハウジング周縁部の強度を維持することができるようになる。
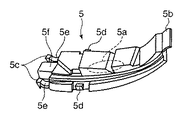
以下、添付図面を参照しながら本発明の好ましい実施の一形態について詳述する。図1は、本発明の実施形態に係る車両用サイドミラー10の構成を示す説明図であり、図2は、本発明の実施の形態に係る車両用サイドミラー10のハウジング3とランプユニット5との連結を示す斜視図である。また、図3は、ランプユニット5の構成を示す斜視図を、図4は、ハウジング3の構成を示す斜視図をそれぞれ示している。
図1を参照して、図示の本発明の実施形態に係る車両用サイドミラー10は、車両において後方を確認するためのミラー1と、ミラー1を保持するミラーホルダ2と、ミラーホルダ2を保持するとともに車体側に支持されるハウジング3と、ハウジング3を支持するためのベース4とを備えている。そして、ハウジング3の内部には、車両の進路方向を示す方向指示ランプ5aと、この方向指示ランプ5aを保持するとともにハウジング3に支持されるランプユニット5と、ミラーホルダ2の角度を調節するミラー角度調節機構6と、ミラー角度調節機構6を支持するフレーム7と、フレーム7とともにハウジング3をベース4に対して回動させて車体に沿う格納姿勢にするバイザー格納機構8とが組み込まれている。
上記ミラー1は、ガラス材料の裏面に高反射率の金属を真空蒸着、その他の方法でコーティングしてミラー1を形成したものであり、本実施形態では、広角に後方を確認することができるようにするために、凸面構造の鏡面1aが採用されている。
上記ミラーホルダ2は、ミラー1を保持するために設けられたものであり、外形がミラー1とほぼ同じ形に形成されてミラー1の裏面を覆うとともに、ミラーホルダ2の周縁部に設けたミラー係止部2aにミラー1の周縁を係止して、ミラー1と一体化されている。
上記ハウジング3は、ミラー1を支持するものであり、ミラー1の角度を調節するミラー角度調節機構6や、バイザー格納機構8、その他を内部に収納するための容器状の合成樹脂製成形品で構成されている。このハウジング3は、フレーム7を介してバイザー格納機構8に連結され、ベース4に対して揺動変位可能に構成されている。本実施形態では、ハウジング3の後部には、ミラーホルダ2の縁部を覆うようにして保護するミラーカバー3aが、ハウジング3と別々に一体成型され、ハウジング3に嵌合連結されている。
上記ハウジング3は、図2と図4とに示すように、ランプユニット5の端部に設けられた挿入部5bを挿脱可能に受け入れて、このランプユニット5の挿入部5bをハウジング3に位置決めする位置決めホルダー部3bを備えている。
そして、このハウジング3の位置決めホルダー部3bは、ハウジング3の周縁部3cにおいてハウジング3の内側に突出するアーチ状に形成されている。本実施形態では、車両用サイドミラー10のデザイン性を向上させるために、アーチ状に形成された位置決めホルダー部3bを残してハウジング3の周縁部3cが切り欠かれた形状に構成されており、このハウジング3には、ハウジング3と別々に一体成型されたミラーカバー3a(図1)が、嵌合連結される構造になっている。
また、このハウジング3の位置決めホルダー部3bは、ハウジング3を塗装する際に、塗装台の所定の位置に設けられた図略のハウジング固定治具に係合されるようになっており、これによりハウジング3が塗装台の所定の位置に位置決めされるようになっている。
上記ベース4は、バイザー格納機構8に連結され、ハウジング3を支持するための構造体である図略のベースインナと、ベースカバー4aとを備えている。このベースカバー4aは、ベースインナを覆うようにして、ベースの外皮を構成するものであり、合成樹脂で一体成形して形成されている。
上記ランプユニット5は、高輝度ハロゲンランプなどから構成される方向指示ランプ5aを内部に保持しており、図2と図3とに示すように、このランプユニット5に設けられた係止爪5c、5dが、ハウジング3に設けられた係合部3dに係止されて、ランプユニット5がワンタッチでハウジング3に固定されるように構成されている。
ここで、ランプユニット5のコネクタ部5f近傍に設けられた一対の係止爪5cには、アーム部5eが設けられており、このアーム部5eが、弾性的に撓んでハウジング3に設けられた係合部3dに対する導入をスムースなものにしている。
また、ランプユニット5の側部に設けられた一対の係止爪5dの場合は、ランプユニット5の側部と、ハウジング3に設けられた門型の係合部3dとが相互に僅かに撓んで係合部3dに対してスムースに導入されるように構成されている。
上記ミラー角度調節機構6(図1)は、ハウジング3内でミラーホルダ2の設置角度を左右方向及び上下方向に微調整可能に支持するためのものである。ミラーホルダ2を手動で回動させる機構とすることも可能であるが、本実施形態では、ミラー角度調節機構6に設けられる図略の電動モータでその傾斜角を調整して最適角度に調整できるように構成されており、ミラーホルダ2の裏面中心の回転支軸となる図略のピボットセンタを中心としてミラーホルダ2を回動させる角度調節アクチュエータ6bを有している。
上記フレーム7(図1)は、ミラー角度調節機構6を支持するために設けられたものである。このフレーム7は、図略のビス等により、ハウジング3にも連結されており、ミラー角度調節機構6とハウジング3とを一体化するとともに、これらをバイザー格納機構8に連結している。
上記バイザー格納機構8は、ミラーホルダ2、ミラー角度調節機構6およびフレーム7を収納するハウジング3をベース4に対して図1の矢印rで示す範囲内で揺動変位させることにより、ハウジング3を車体に沿うように格納するための機構であり、詳細は省略するが、手動機構または電動機構が採用されている。
次に図1を参照して、本発明の実施の形態に係る車両用サイドミラー10の作用について説明する。
図1に示すように、本発明の実施の形態に係る車両用サイドミラー10においては、ハウジング3の位置決めホルダー部3bが、ランプユニット5の端部に設けられた挿入部5bを挿脱可能に受け入れて、このランプユニット5の挿入部5bをハウジング3に位置決めする。
また、ランプユニット5のコネクタ部5f近傍に設けられた一対の係止爪5c(図3)と、ランプユニット5の側部に設けられた一対の係止爪5d(図3)とが、ハウジング3に設けられた門型の係合部3dに係止されて、ランプユニット5がワンタッチでハウジング3に固定される。
このように、ランプユニット5の挿入部5bがハウジング3の位置決めホルダー部3bに位置決めされ、ランプユニット5の係止爪5c、5dがハウジング3の係合部3dに係止されることにより、ランプユニット5がハウジング3に精度良く、堅固に支持される。
また、ハウジング3が塗装される際には、位置決めホルダー部3bが、塗装台の所定の位置に設けられた図略のハウジング固定治具に係合されて、ハウジング3が塗装台の所定の位置に位置決めされる。
以上説明したように、本発明の実施の形態に係る車両用サイドミラー10によれば、係止爪5c、5dが、係合部3dに係止されて、ランプユニット5がハウジング3に固定されるので、ランプユニット5とハウジング3とをねじで固定する必要がなくなる結果、ハウジング3に対するランプユニット5の取り付けが省力化され、車両用サイドミラー10の製造に係るコストを大幅に低減することができるようになる。
次に、ハウジング3に設けられたアーチ状の位置決めホルダー部3bが、ランプユニット5の端部に設けられた挿入部5bを挿脱可能に受け入れて、位置決めするので、ハウジング3に対してランプユニット5を精度良く取り付けることができるようになる。また、係止爪5c、5dと係合部3dとの係止による固定だけの場合と比較して、より堅固に確実にハウジング3に対してランプユニット5を取り付けることができるようになる。
また、位置決めホルダー部3bが、ハウジング3の内側に突出するアーチ状に形成されてハウジング3の周縁部3cに設けられているので、位置決めホルダー部3bが設けられたハウジング3の周縁部3cの強度を増加させることができる。その結果、アーチ状に形成された位置決めホルダー部3bを残してハウジング3の周縁部3cを切り欠いても、このアーチ状に形成された位置決めホルダー部3bがハウジング3周縁部3cの強度を維持することができるようになる結果、ハウジング3の周縁部3cを切り欠いてデザイン性を向上させた構造を採用することができるようになる。
さらに、ハウジング3を塗装する際に、塗装台の所定の位置に設けられた図略のハウジング固定治具に位置決めホルダー部3bを係合させてハウジング3を位置決めすることができるので、塗装工程用のリブをハウジング3に別途取り付ける必要がなく、車両用サイドミラー10の製造に係るコストを低減することができるようになる。
上述した実施の形態は本発明の好ましい具体例を例示したものに過ぎず、本発明は上述した実施の形態に限定されない。
例えば、ハウジング3の位置決めホルダー部3bは、図5に示すように、ランプユニット5の端部に設けられ、ランプユニット5から配線が出入りするコネクタ部5f側に設けられ、このコネクタ部5fを受け入れてハウジング3に位置決めするものであってもよい。図5は、ハウジング3の位置決めホルダー部3bが、ランプユニット5のコネクタ部5fを位置決めする作用を示す説明図であり、(a)は、コネクタ部5fの導入過程の側面図を、(b)は、コネクタ部5fの導入後の側面図を、(c)は、コネクタ部5fの導入後のもう一方の側面図を、それぞれ示している。
このような構成の場合は、位置決めホルダー部3bが、配線が出入りするコネクタ部5fを受け入れて位置決めするので、車両の動きに伴い振動を起こしやすい配線部に連なるコネクタ部5fをより堅固に確実にハウジング3に対してランプユニット5を取り付けることができるようになる。
次に、係合部3dは必ずしも門型に限定されない。係止爪5c、5dを係合可能な形状であれば、係合部3dは、フック形状や爪形状など、その他の形状を有する構造であってもよい。
また、必ずしも、係止爪5c、5dが弾力的に撓んで係合部3dに係止されるような構成に限定されるものではなく、係合部3dが弾力的に撓んで係止爪を係止するような構成も採用可能である。
例えば、図6は、弾力的に撓むその他の形状の係合部3dの例を示す説明図であり、(a)は、弾力的に撓むフック形状の係合部3dの構成を示す側面図を、(b)は、弾力的に撓む爪形状の係合部3dの構成を示す側面図を、それぞれ示している。
さらに、本実施形態に係る車両用サイドミラー10は、必ずしも、ランプユニット5側に係止爪が設けられ、ハウジング3側に係合部が設けられるような構成に限定されるものではなく、逆に、ハウジング3側に係止爪が設けられ、ランプユニット5側に係合部が設けられるような構成であっても採用可能である。
その他、本発明の特許請求の範囲内で種々の設計変更が可能であることはいうまでもない。
本発明の実施形態に係る車両用サイドミラーの構成を示す説明図である。 本発明の実施の形態に係る車両用サイドミラーのハウジングとランプユニットとの連結を示す斜視図である。 ランプユニットの構成を示す斜視図である。 ハウジングの構成を示す斜視図である。 ハウジングの位置決めホルダー部が、ランプユニットのコネクタ部を位置決めする作用を示す説明図であり、(a)は、コネクタ部の導入過程の側面図を、(b)は、コネクタ部の導入後の側面図を、(c)は、コネクタ部の導入後のもう一方の側面図を、それぞれ示している。 弾力的に撓むその他の形状の係合部の例を示す説明図であり、(a)は、弾力的に撓むフック形状の係合部の構成を示す側面図を、(b)は、弾力的に撓む爪形状の係合部の構成を示す側面図を、それぞれ示している。 方向指示ランプを備えた車両用サイドミラーの従来の例を示す斜視図である。
符号の説明
1 ミラー
3 ハウジング
3b 位置決めホルダー部
3c 周縁部
3d 係合部
5 ランプユニット
5a 方向指示ランプ
5b 挿入部
5c、5d 係止爪
5f コネクタ部
10 車両用サイドミラー

Claims (5)

  1. 車両において後方を確認するためのミラーと、このミラーを支持するハウジングと、車両の進路方向を示す方向指示ランプとを有する車両用サイドミラーであって、
    上記方向指示ランプを保持するとともにハウジングに支持されるランプユニットを備え、
    上記ランプユニットとハウジングのどちらか一方に設けられた係止爪が、他方に設けられた係合部に係止されて、ランプユニットがハウジングに固定されるものであることを特徴とする車両用サイドミラー。
  2. 上記ハウジングは、ランプユニットの端部に設けられた挿入部を挿脱可能に受け入れて、このランプユニットの挿入部をハウジングに位置決めする位置決めホルダー部を備えていることを特徴とする請求項1記載の車両用サイドミラー。
  3. 上記ハウジングの上記位置決めホルダー部は、ハウジングの周縁部においてハウジングの内側に突出するアーチ状に形成されたものであることを特徴とする請求項2に記載の車両用サイドミラー。
  4. 上記ハウジングの上記位置決めホルダー部は、ランプユニットの端部に設けられ、ランプユニットから配線が出入りするコネクタ部を受け入れてハウジングに位置決めするものであることを特徴とする請求項2に記載の車両用サイドミラー。
  5. 上記ハウジングの上記位置決めホルダー部は、ハウジングを塗装台の所定の位置に位置決めして塗装する際に、塗装台の所定の位置に設けられたハウジング固定治具に係合可能なものであることを特徴とする請求項3または請求項4に記載の車両用サイドミラー。
JP2005330336A 2005-11-15 2005-11-15 車両用サイドミラー Pending JP2007137125A (ja)

Priority Applications (1)

Application Number Priority Date Filing Date Title
JP2005330336A JP2007137125A (ja) 2005-11-15 2005-11-15 車両用サイドミラー

Applications Claiming Priority (1)

Application Number Priority Date Filing Date Title
JP2005330336A JP2007137125A (ja) 2005-11-15 2005-11-15 車両用サイドミラー

Publications (1)

Publication Number Publication Date
JP2007137125A true JP2007137125A (ja) 2007-06-07

Family

ID=38200531

Family Applications (1)

Application Number Title Priority Date Filing Date
JP2005330336A Pending JP2007137125A (ja) 2005-11-15 2005-11-15 車両用サイドミラー

Country Status (1)

Country Link
JP (1) JP2007137125A (ja)

Cited By (7)

* Cited by examiner, † Cited by third party
Publication number Priority date Publication date Assignee Title
JP2011051435A (ja) * 2009-08-31 2011-03-17 Murakami Corp ターンランプ付アウターミラーのターンランプアッセンブリーの位置決め構造
JP2012089371A (ja) * 2010-10-20 2012-05-10 Mitsuba Corp ドアミラー
JP2012116225A (ja) * 2010-11-29 2012-06-21 Tokai Rika Co Ltd 車両用ミラー装置
JP2014104830A (ja) * 2012-11-27 2014-06-09 Sakae Riken Kogyo Co Ltd ミラー装置
JP2015071416A (ja) * 2014-11-26 2015-04-16 株式会社東海理化電機製作所 車両用ミラー装置
WO2020230687A1 (ja) * 2019-05-10 2020-11-19 株式会社ホンダロック 車両用ドアミラー装置
CN112553993A (zh) * 2019-09-26 2021-03-26 梅特勒-托莱多有限责任公司 用于混凝土板的抗拉加强结构

Cited By (15)

* Cited by examiner, † Cited by third party
Publication number Priority date Publication date Assignee Title
DE102010027685B4 (de) 2009-08-31 2023-06-07 Murakami Corp. Positionierstruktur einer Anzeigelampenanordnung in einem Außenspiegel mit Anzeigelampe
CN102001308A (zh) * 2009-08-31 2011-04-06 株式会社村上开明堂 带转向灯的外后视镜的转向灯组件的定位构造
US8480273B2 (en) 2009-08-31 2013-07-09 Murakami Corporation Positioning structure of turn lamp assembly in outer mirror with turn lamp
JP2011051435A (ja) * 2009-08-31 2011-03-17 Murakami Corp ターンランプ付アウターミラーのターンランプアッセンブリーの位置決め構造
JP2012089371A (ja) * 2010-10-20 2012-05-10 Mitsuba Corp ドアミラー
JP2012116225A (ja) * 2010-11-29 2012-06-21 Tokai Rika Co Ltd 車両用ミラー装置
US8568006B2 (en) 2010-11-29 2013-10-29 Kabushiki Kaisha Tokai-Rika-Denki-Seisakusho Mirror device for vehicle
JP2014104830A (ja) * 2012-11-27 2014-06-09 Sakae Riken Kogyo Co Ltd ミラー装置
JP2015071416A (ja) * 2014-11-26 2015-04-16 株式会社東海理化電機製作所 車両用ミラー装置
WO2020230687A1 (ja) * 2019-05-10 2020-11-19 株式会社ホンダロック 車両用ドアミラー装置
JP2020185821A (ja) * 2019-05-10 2020-11-19 株式会社ホンダロック 車両用ドアミラー装置
JP7086029B2 (ja) 2019-05-10 2022-06-17 株式会社ホンダロック 車両用ドアミラー装置
US11691569B2 (en) 2019-05-10 2023-07-04 Kabushiki Kaisha Honda Lock Vehicular door mirror device
CN112553993A (zh) * 2019-09-26 2021-03-26 梅特勒-托莱多有限责任公司 用于混凝土板的抗拉加强结构
CN112553993B (zh) * 2019-09-26 2024-04-02 梅特勒-托莱多有限责任公司 用于混凝土板的抗拉加强结构

Similar Documents

Publication Publication Date Title
US7798552B2 (en) Sun visor holder
JP2007137125A (ja) 車両用サイドミラー
EP3617579A1 (en) Container box and lighting device
KR20170038949A (ko) 자동차용 ohc 램프 플레이트
CN101861256B (zh) 用于外侧镜子单元的安装构造
JP3714837B2 (ja) 車両用ドアミラー装置の組付方法
US20050217054A1 (en) Wiper blade connecting structure
JP2019077267A (ja) 車載部品の取付構造
US20100140432A1 (en) Adjustable lamp
US20080150316A1 (en) Fixture for a Component and a Fixture Mount
KR102627678B1 (ko) 휴대폰 거치대
WO2020085181A1 (ja) 車両用サンバイザ
JP2009113575A (ja) 車両におけるパーキングブレーキレバーとセンターコンソールの位置決め構造
CN101456385A (zh) 用于将成像装置安装到车辆上的支架和方法
JP2001082758A (ja) 空気調和機の室内ユニット
JP7039344B2 (ja) アオリ姿勢保持方法およびアオリ姿勢保持具
JP2013001191A (ja) 車両用ドアミラーのパネル取付構造
JP5056361B2 (ja) 車両用フードの支持構造
JP4375897B2 (ja) 車両用灯具におけるエーミング操作部の保護構造
KR100683219B1 (ko) 차량용 전조등 모듈
JP2015044433A (ja) 車両用サンバイザー
JP2010272332A (ja) 車両用灯具のインナレンズ取付構造
JP2008195087A (ja) ドアミラー
JP2007308115A (ja) 車両用補助サンバイザ
KR20230174899A (ko) 차량용 거치대 고정장치