JP2007041663A - 広告配信システム及び方法並びにプログラム - Google Patents
広告配信システム及び方法並びにプログラム Download PDFInfo
- Publication number
- JP2007041663A JP2007041663A JP2005222407A JP2005222407A JP2007041663A JP 2007041663 A JP2007041663 A JP 2007041663A JP 2005222407 A JP2005222407 A JP 2005222407A JP 2005222407 A JP2005222407 A JP 2005222407A JP 2007041663 A JP2007041663 A JP 2007041663A
- Authority
- JP
- Japan
- Prior art keywords
- advertisement
- information
- store
- electronic payment
- distribution
- Prior art date
- Legal status (The legal status is an assumption and is not a legal conclusion. Google has not performed a legal analysis and makes no representation as to the accuracy of the status listed.)
- Pending
Links
- 238000000034 method Methods 0.000 title claims abstract description 21
- 238000009826 distribution Methods 0.000 claims abstract description 117
- 238000007726 management method Methods 0.000 claims description 22
- 238000004458 analytical method Methods 0.000 claims description 5
- 238000002716 delivery method Methods 0.000 claims 2
- 230000000694 effects Effects 0.000 abstract description 19
- 230000006870 function Effects 0.000 description 16
- 238000010586 diagram Methods 0.000 description 15
- 230000008569 process Effects 0.000 description 6
- 230000005540 biological transmission Effects 0.000 description 3
- 230000004044 response Effects 0.000 description 3
- 230000006872 improvement Effects 0.000 description 2
- 230000009471 action Effects 0.000 description 1
- 238000004364 calculation method Methods 0.000 description 1
- 230000001413 cellular effect Effects 0.000 description 1
- 230000010365 information processing Effects 0.000 description 1
- 230000007480 spreading Effects 0.000 description 1
- 230000002195 synergetic effect Effects 0.000 description 1
Images
Landscapes
- Management, Administration, Business Operations System, And Electronic Commerce (AREA)
Abstract
【課題】 配信する広告の効果の向上を図ると共に、広告効果に応じた広告料金の課金方法の提供、さらには、広告の閲覧による商品の購入実績を容易に把握すること。
【解決手段】 ユーザの携帯端末1と通信可能であり電子決済を行う電子決済装置2と、所定の広告情報を記憶した広告記憶装置3と、を備え、電子決済装置2が、携帯端末1との電子決済に伴う通信時に、広告記憶装置3から広告情報を取得して携帯端末1に配信する広告配信手段22を備えた。
【選択図】図1
【解決手段】 ユーザの携帯端末1と通信可能であり電子決済を行う電子決済装置2と、所定の広告情報を記憶した広告記憶装置3と、を備え、電子決済装置2が、携帯端末1との電子決済に伴う通信時に、広告記憶装置3から広告情報を取得して携帯端末1に配信する広告配信手段22を備えた。
【選択図】図1
Description
本発明は、広告配信システムにかかり、特に、電子決済機能を有する携帯端末に広告を配信するシステムに関する。また、その方法並びに広告配信用プログラムに関する。
近年、インターネットが普及し、インターネット上では様々な種類の電子広告が存在している。このような広告は、通常、インターネット接続環境が整っているパーソナル・コンピュータ(PC)などに対して表示される。例えば、ユーザが様々なWebページを閲覧している最中にWebページに表示されているバナー広告からアクセスされ、該当する広告主のウェブサイトへとリンクすることによってブラウザ上に表示される。そして、ユーザが閲覧する場所としては、自宅や職場などの屋内施設内に限られる場合が多い。
一方で、携帯電話も急速に普及し、その機能も拡大しつつある。ユーザは、パーソナル・コンピュータ(PC)よりも持ち運びが簡単な携帯電話を身近に備える機会が増え、通話機能だけに限らず、電子メールやインターネット機能も利用することができ、その利用場面は時と場所を選ばない。そして、携帯電話の持ち運びやすさ、利用しやすさ、などから、上述したインターネット上の電子広告も、携帯電話によるウェブサイト閲覧時に配信され、利用されている。
しかしながら、インターネットを利用するユーザの多くは、バナー広告先にアクセスすることは少なく、ユーザの目的とするウェブサイトの閲覧が主な利用態様となっている。これに対し、広告料金はその効果に応じた料金を徴収するのが望ましいにも関わらず、掲載期間別に定められた料金や掲載広告の閲覧回数に応じた料金により課金されていることが多い。また、広告主は、広告料金を支払って広告を掲載しても、その広告が直接ユーザの購買意欲を促進し、オンライン・ショッピングシステムにおいて、商品の購入行為に結びついたかどうかを知る手段がない。
さらに、多くのユーザに広告を見せるためには、多くのウェブサイトに広告を掲載する必要があるものの、どのようなウェブサイトが、掲載する広告に対して多くのユーザに興味を持ってもらえるかどうかを判断することは難しい。従って、投資する多額な広告料金に対し、その効果を得ることが困難である、という問題が生じる。そして、特に、店舗でのみサービスや商品の提供ができる飲食店等においては、ユーザが実際に店舗に出向くことによって、初めて商品が提供されるものであるため、このような店舗でのみ販売される商品をウェブサイトに広告したとしても、ユーザが店舗に出向くまでの興味を引く広告を提供するまでには至らない場合が多く、投資される広告料金に対し、その効果を得ることは少ない。
例えば、特許文献1には、ユーザの携帯電話に店舗毎の広告やクーポンを配信するシステムが開示されている。この文献では、クーポンが使用された際には、そのクーポンの配信元店舗を特定し、一定の利益還元を行う手法が開示されている。しかし、所定の店舗内で無線通信エリア内に存在する携帯電話に配信されるクーポンや広告などは、無作為に配信されるものであるため、上述同様に、ユーザの注意を引くことが困難である。従って、かかる手法で広告を配信したとしても、その効果の向上は難しい。
このため、本発明は、上記従来例の有する不都合を改善し、特に、配信する広告の効果の向上を図ると共に、広告効果に応じた広告料金の課金方法、および広告の閲覧による商品の購入実績の把握と、オンライン・ショッピングシステムを持たない店舗に顧客ユーザを来店させる可能性を向上することができる方法を提供すること、をその目的とする。
そこで、本発明の一形態である広告配信システムは、
ユーザの携帯端末と通信可能であり電子決済を行う電子決済装置と、所定の広告情報を記憶した広告記憶装置と、を備え、
電子決済装置が、携帯端末との電子決済に伴う通信時に、広告記憶装置から広告情報を取得して携帯端末に配信する広告配信手段を備えた、
ことを特徴としている。
ユーザの携帯端末と通信可能であり電子決済を行う電子決済装置と、所定の広告情報を記憶した広告記憶装置と、を備え、
電子決済装置が、携帯端末との電子決済に伴う通信時に、広告記憶装置から広告情報を取得して携帯端末に配信する広告配信手段を備えた、
ことを特徴としている。
このとき、広告配信手段は、携帯端末に電子決済情報と共に広告情報を配信する機能を有する、ことを特徴としている。さらに、広告情報は、携帯端末に表示可能な情報である、ことを特徴としている。
上記発明によると、ユーザが店舗にて携帯端末を用いて電子決済を行うと、店舗に設置された電子決済装置から広告記憶装置に蓄積された広告情報が配信される。このように、ユーザによる携帯端末を用いた決済時あるいはその直前直後に広告情報が配信されることから、電子決済情報を携帯端末にて確認するユーザによって、広告情報が閲覧される確率が高まる。特に、電子決済情報とともに広告情報を同時に送信することにより、配信された広告による宣伝効果の向上を図ることができる。
また、広告情報は、携帯端末上にて選択されることにより当該携帯端末にて所定のウェブサイトにアクセス可能なリンク情報を含む、ことを特徴としている。これにより、配信された広告情報を選択することで、携帯端末にて広告主のウェブサイトにアクセスすることができ、ユーザの利便性の向上を図ることができると共に、広告主の広告宣伝効果の向上を図ることができる。
また、広告情報は、電子決済装置にて広告情報の配信を行った店舗を表す配信元情報を含む、ことを特徴としている。そして、広告情報に含まれた配信元情報は、リンク情報に基づいて携帯端末にてアクセスされたウェブサイトに当該携帯端末から通知される情報である、ことを特徴としている。これに伴い、携帯端末にてアクセスされるウェブサイトを管理するウェブサーバを備え、このウェブサーバは、配信元情報に対応する店舗を特定する店舗特定データベースを記憶すると共に、この記憶された店舗特定データベースと通知された配信元情報とに基づいて電子決済装置にて広告情報の配信を行った店舗を判別する店舗判別手段を備えた、ことを特徴としている。そして、ウェブサーバは、店舗判別手段にて判別された店舗に対して支払うべき広告配信料を当該店舗ごとに集計する広告料集計手段を備えた、ことを特徴としている。さらに、ウェブサーバは、各店舗に対応して当該店舗にて所定の特典を受けられるクーポン情報を記憶すると共に、店舗判別手段にて判別された店舗のクーポン情報を読み出して、このクーポン情報をアクセスしてきた携帯端末に送信するクーポン配信手段を備えた、ことを特徴としている。
これにより、ウェブサイトにアクセスする根拠となった広告が配信された配信元である店舗を、容易に判別することができる。特に、配信元情報がアクセス先となるウェブサイトに通知されることで、広告主がその広告情報の配信された店舗を認識することができる。そして、広告効果に応じて広告主が支払うべき広告料を算出することができ、効果に見合った適切な広告料金を設定することができる。また、広告配信元店舗のクーポン情報が携帯端末に配信されるため、ユーザによってかかる店舗の利用が促進される。
また、ウェブサーバは、ウェブサイト上にて商品購入注文を受け付ける注文受付手段を有すると共に、この注文受付手段は、携帯端末から広告情報を介してアクセスされたときに注文情報と共に広告情報に含まれた配信元情報を受け付けて、ネットワークを介して注文管理サーバに通知する、ことを特徴としている。また、これに伴い、上記注文管理サーバを備え、この注文管理サーバは、受け付けた注文情報と配信元情報に基づいて注文内容と電子決済装置にて広告配信を行った店舗とを分析する注文分析手段を備えた、ことを特徴としている。さらに、上述したウェブサーバが有するクーポン配信手段は、商品購入注文を受け付けた店舗を特定する情報をクーポン情報に含めて携帯端末に配信する、ことを特徴としている。
これにより、広告情報を参照してアクセスしてきたユーザによるオンラインショッピング時に、広告がいかなる店舗によって配信されたものであるかを判別することができ、その広告宣伝効果を分析することができる。
また、本発明は、ユーザの携帯端末と通信可能であり電子決済を行う電子決済装置であって、携帯端末との電子決済に伴う通信時に、所定の広告情報を記憶した広告記憶装置から広告情報を取得して携帯端末に配信する広告配信手段を備えた、ことを特徴としている。
また、本発明は、ユーザの携帯端末にてアクセスされるウェブサイトを管理するウェブサーバであって、
携帯端末と電子決済を行う電子決済装置から携帯端末に配信された広告情報に基づいて当該携帯端末からのアクセスを受け付けると共に、当該アクセス時に広告情報に含まれる当該広告情報を電子決済装置にて配信した店舗を表す配信元情報を受け付けるアクセス受付手段と、
配信元情報に対応する店舗を特定する店舗特定データベースを記憶する店舗特定情報記憶手段と、
この記憶された店舗特定データベースと受け付けた配信元情報とに基づいて前記広告情報を電子決済装置にて配信した店舗を判別する配信元店舗判別手段と、
を備えたことを特徴としている。
携帯端末と電子決済を行う電子決済装置から携帯端末に配信された広告情報に基づいて当該携帯端末からのアクセスを受け付けると共に、当該アクセス時に広告情報に含まれる当該広告情報を電子決済装置にて配信した店舗を表す配信元情報を受け付けるアクセス受付手段と、
配信元情報に対応する店舗を特定する店舗特定データベースを記憶する店舗特定情報記憶手段と、
この記憶された店舗特定データベースと受け付けた配信元情報とに基づいて前記広告情報を電子決済装置にて配信した店舗を判別する配信元店舗判別手段と、
を備えたことを特徴としている。
そして、上記ウェブサーバ。配信元店舗判別手段にて判別された店舗に対して支払うべき広告配信料を当該店舗ごとに集計する広告料集計手段を備えた、ことを特徴としている。
また、本発明の他の形態である広告配信方法は、ユーザの携帯端末と通信可能であり電子決済を行う電子決済装置を用いて、携帯端末に広告を配信する方法であって、電子決済装置が、携帯端末との電子決済に伴う通信時に、所定の広告情報を記憶した広告記憶装置から広告情報を読み出して、当該広告情報を前記携帯端末に配信する、ことを特徴としている。そして、電子決済装置が、携帯端末に電子決済情報と共に前記広告情報を配信する、ことを特徴としている。
また、携帯端末が、広告情報に含まれるリンク情報に基づいて所定のウェブサイトにアクセスする際に、広告情報に含まれる当該広告情報を電子決済装置にて配信した店舗を表す配信元情報を前記ウェブサイトに通知する、ことを特徴としている。
また、ウェブサイトを管理するウェブサーバが、予め記憶された配信元情報に対応する店舗を特定する店舗特定データベースと、携帯端末から通知された配信元情報とに基づいて、当該配信元情報が含まれた広告情報の配信を電子決済装置にて行った店舗を判別する、ことを特徴としている。また、ウェブサーバが、判別された店舗に対して支払うべき広告配信料を当該店舗ごとに集計して蓄積する、ことを特徴としている。
さらに、本発明の他の形態であるプログラムは、ユーザの携帯端末と通信可能であり電子決済を行う電子決済装置に、携帯端末との電子決済に伴う通信時に、所定の広告情報を記憶した広告記憶装置から広告情報を読み出して前記携帯端末に配信する広告配信手段、を実現する、ことを特徴としている。
また、プログラムの他の形態は、
ユーザの携帯端末にてアクセスされるウェブサイトを管理するウェブサーバに、
携帯端末と電子決済を行う電子決済装置から携帯端末に配信された広告情報に基づいて当該携帯端末からのアクセスを受け付けると共に、当該アクセス時に広告情報に含まれる当該広告情報の配信を電子決済装置にて行った店舗を表す配信元情報を受け付けるアクセス受付手段と、
配信元情報に対応する店舗を特定する店舗特定データベースを記憶する店舗特定情報記憶手段と受け付けた配信元情報とに基づいて広告情報の配信を電子決済装置にて行った店舗を判別する配信元店舗判別手段と、
を実現する、ことを特徴としている。
ユーザの携帯端末にてアクセスされるウェブサイトを管理するウェブサーバに、
携帯端末と電子決済を行う電子決済装置から携帯端末に配信された広告情報に基づいて当該携帯端末からのアクセスを受け付けると共に、当該アクセス時に広告情報に含まれる当該広告情報の配信を電子決済装置にて行った店舗を表す配信元情報を受け付けるアクセス受付手段と、
配信元情報に対応する店舗を特定する店舗特定データベースを記憶する店舗特定情報記憶手段と受け付けた配信元情報とに基づいて広告情報の配信を電子決済装置にて行った店舗を判別する配信元店舗判別手段と、
を実現する、ことを特徴としている。
さらに、上記プログラムは、ウェブサーバに、配信元店舗判別手段にて判別された店舗に対して支払うべき広告配信料を当該店舗ごとに集計する広告料集計手段、を実現する、ことを特徴としている。
上記構成の方法やプログラムであっても、上述した広告配信システムと同様の作用、効果を有し、上記本発明の目的である広告効果の向上を実現することができる。
本発明は、以上のように構成され機能するので、これによると、ユーザによる携帯端末を用いた決済時あるいはその直前直後に広告情報が配信されることから、電子決済情報を携帯端末にて確認するユーザによって、広告情報が閲覧される確率が高まり、これにより、配信された広告による宣伝効果の向上を図ることができる、という従来にない優れた効果を有する。
本発明は、電子決済機能を有する携帯端末に対して、電子決済時に広告を配信することに特徴を有する。以下、実施例にて具体的な構成及び動作について説明する。なお、実施例では、携帯端末の一例として携帯電話を挙げて説明するが、電子決済機能を有するノートパソコンやPDAなどの他の携帯型情報処理端末であってもよい。
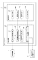
本発明の第1の実施例を、図1乃至図12を参照して説明する。図1乃至図2は、本発明の全体構成を示す図である。図3乃至図6は、各装置の構成を示す機能ブロック図である。図7乃至図12は、動作を示す説明図である。
[構成]
本発明の広告配信システムは、図1に示すように、ユーザが所有する携帯電話1と、店舗に設置されたPOS端末2と広告配信サーバ3と、を備えている。また、この広告配信サーバ3にネットワークNを介して接続されたISP(インターネットサービスプロバイダ)事業者が管理するウェブサーバ4と、販売事業者が管理する商品注文管理サーバ5と、を備えている。なお、図2は、広告配信システムにて、各装置が記憶しているデータを説明するための図である。
本発明の広告配信システムは、図1に示すように、ユーザが所有する携帯電話1と、店舗に設置されたPOS端末2と広告配信サーバ3と、を備えている。また、この広告配信サーバ3にネットワークNを介して接続されたISP(インターネットサービスプロバイダ)事業者が管理するウェブサーバ4と、販売事業者が管理する商品注文管理サーバ5と、を備えている。なお、図2は、広告配信システムにて、各装置が記憶しているデータを説明するための図である。
<携帯電話>
携帯電話1(携帯端末)は、一般ユーザが所有する携帯電話である。図3を参照して、携帯電話1の構成について詳述する。
携帯電話1(携帯端末)は、一般ユーザが所有する携帯電話である。図3を参照して、携帯電話1の構成について詳述する。
図3に示すように、携帯電話1は、CPUなどの制御装置1Aと、メモリなどの記憶装置1Bと、赤外線通信装置やBluetoothなどの近距離通信装置1Cと、携帯電話基地局11と通信を行う遠距離通信装置1Dと、テンキーなどの操作部1Eと、ディスプレイなどの表示部1Fと、を備えている。なお、上記構成は、近年では一般的な携帯電話1が備えている。
そして、制御装置1Aには、所定のプログラムが組み込まれることにより、電子決済処理部11と、広告取得処理部12と、表示処理部13と、クーポン取得処理部14と、が構築されている。なお、制御装置1Aには、他にも一般的な携帯電話が備える各処理部を有している。例えば、この携帯電話1は、携帯電話基地局11を介して、通信ネットワークNを利用することにより、通話はもちろんのこと、販売業者が開設するウェブサイト(ウェブサーバ4)や他のウェブサイトにアクセスして、各サイト内の情報を閲覧する機能、つまり、インターネットを利用する機能を有している。
電子決済処理部11は、携帯電話1にて電子マネーによる支払いを実現するための機能である。つまり、予め記憶装置1Bに蓄積されている、あるいは、ネットワークN上の所定の記憶装置に蓄積されているユーザが所有する電子貨幣データを、携帯電話1から店舗に設置された店舗装置20に送信することにより、ユーザが利用した費用を電子決算することが可能となる。このとき、近距離通信装置1Cは、赤外線通信などで店舗装置20を構成するPOS端末2に接続されたリーダライタ2Aに対して、電子貨幣データを送信する。また、電子決済処理部11は、POS端末2のリーダライタ2Aから送信される電子決済の詳細(電子決済結果など)や電子マネーの残高などの電子決済情報を、近距離通信装置1Cを介して受信する。
広告取得処理部12は、上記電子決済処理部11と協働して、電子決済情報と共にPOS端末2から送信される広告情報(以下では、「簡易広告データ」とも呼ぶ(図2参照))を取得し、表示処理部13に受け渡したり、記憶装置1B内の広告記憶部15に格納する。なお、取得する広告情報は、ディスプレイ1F(表示部)に表示可能な情報であって、表示して選択することによって広告主が宣伝するウェブサイトにアクセスできるよう、そのサイトのURLといったリンク情報を含んでいる。また、広告情報には、後述するように、当該広告情報を配信した店舗を特定する情報である店舗ID(配信元情報)も含んでいる。なお、広告情報は、音声情報など他の形式の情報であってもよい。
表示処理部13は、上述した電子決済処理部11にて処理された電子決済情報や、広告取得処理部12にて取得された広告情報を、表示部1Fであるディスプレイに表示する。また、表示処理部13は、携帯電話1によるインターネット利用時にて閲覧したウェブサイトの情報を表示する機能も有する。従って、上述のようにして電子決済時に取得した簡易広告データを表示することにより、操作部1Eからある広告を選択すると、リンク情報として含まれているURLにて特定されるウェブサイトにアクセスすることができ、かかるウェブサイトの情報、例えば、さらに詳細な広告内容を表示することができる。さらに、この閲覧しているウェブサイト上において、所定の入力フォームに情報を送信することにより、アクセス先のウェブサーバに入力情報を送信することができる。
また、表示処理部13にて、広告情報(簡易広告データ)に基づいてウェブサーバ4にアクセスする際には、当該広告情報に含まれる店舗ID(配信元情報)も、アクセス先となるウェブサーバ4に送信される。
クーポン取得処理部14は、後述するように、ウェブサーバ4から送信されたクーポン情報を受信して、記憶装置1B内のクーポン記憶部16に格納する。このクーポン情報には、ユーザが携帯電話1にてオンラインショッピングを利用した店舗である販売業者を特定する販売業者IDが含まれている。そして、かかるクーポン情報は、表示処理部13に表示することが可能である。
以上のように、携帯電話1は、図2に示すように、電子決済時に送信される店舗IDを含む広告情報(簡易広告データ15)と、販売業者IDを含むクーポン情報(電子クーポンデータ16)を、記憶装置1Bに格納して保持することとなる。そして、上記広告情報やクーポン情報をディスプレイ1Fに表示して、広告内容の閲覧や、関連付けられたウェブサイトにアクセスしたり、さらには、関連する店舗に対して提示するなど、利用することができる。
<店舗装置>
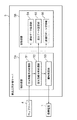
店舗装置20は、図1や図4に示すように、店舗に設置されたPOS端末2(電子決済装置)と、広告配信サーバ3(広告記憶装置)と、から構成されている。そして、POS端末2には、上記携帯電話1と赤外線通信などによる近距離無線通信にてデータ通信を行うリーダライタ2Aが接続されている。このリーダライタ2Aを介して、携帯電話1とPOS端末2との間にて、電子決済処理に関する情報のやり取りが実現される。さらに、後述するように、POS端末2から携帯電話1に広告情報も配信される。但し、POS端末2に接続されているリーダライタ2Aは、他の通信方式により携帯電話1とデータ通信を行うものであってもよい。
店舗装置20は、図1や図4に示すように、店舗に設置されたPOS端末2(電子決済装置)と、広告配信サーバ3(広告記憶装置)と、から構成されている。そして、POS端末2には、上記携帯電話1と赤外線通信などによる近距離無線通信にてデータ通信を行うリーダライタ2Aが接続されている。このリーダライタ2Aを介して、携帯電話1とPOS端末2との間にて、電子決済処理に関する情報のやり取りが実現される。さらに、後述するように、POS端末2から携帯電話1に広告情報も配信される。但し、POS端末2に接続されているリーダライタ2Aは、他の通信方式により携帯電話1とデータ通信を行うものであってもよい。
具体的に、POS端末2には、店舗における会計を行うための機能を備えている他、制御装置に所定のプログラムが組み込まれることにより、図4に示すように、電子決済処理部21と、広告配信処理部22と、が構築されている。電子決済処理部21は、上述したように、リーダライタ2Aを介して携帯電話1から電子マネーの送信を受け付けると共に、領収したことを表す情報などの電子決済情報を携帯電話1に送信する。そして、この電子決済処理部21と協働して作動する広告配信処理部22(広告配信手段)は、電子決済時に広告配信サーバ3に対して広告情報を要求し、これによって広告配信サーバ3から送信された広告情報を受信して、リーダライタ2Aを介して携帯電話1に配信する。特に、広告配信処理部22は、電子決済処理部21による電子決済情報(例えば、領収情報)と共に、同一画面に表示される情報として広告情報(簡易広告データ)を配信する。なお、POS端末2は、キャッシュレジスター機能を有しておらず、電子決済機能を有するコンピュータであってもよい。
また、広告配信サーバ3は、POS端末2に接続されており、その記憶装置3B内の広告データベース33に予め販売業者から受け付けた広告情報を蓄積している。この広告データベース33は、制御装置3Aに構築された広告更新処理部32によって、ネットワークNを介して販売業者の端末から広告情報を受信し、常時、追加や更新される。そして、制御装置3Aには、広告送信処理部31が構築されており、上述したPOS端末2の広告配信処理部22からの要求に応じて広告データベース33内から広告情報を読み出して、これをPOS端末2に送信する。このとき、POS端末2に送信される広告情報には、記憶装置3Bに記憶された店舗ID34(配信元情報)が関連付けられて送信される。この店舗ID34は、広告情報を配信するPOS端末2が設置されている店舗を特定する情報である。
ここで、広告情報についてさらに詳述する。広告情報は、複数の販売業者のものが含められていてもよい。そして、各販売業者毎の広告情報(簡易広告データ)は、上述したように電子決済情報と共に携帯電話1に表示されるため、2,3行程度の文字からなるものや、小さい画像表示による簡易的な広告である。また、広告情報には、その販売業者の広告宣伝サイトとなるウェブサイトのアドレスとなるURL(リンク情報)が含められている。従って、携帯電話1に表示された広告情報を選択することにより、当該携帯電話1はその広告に含められているURLにアクセスして、さらに詳細な広告が表示されているウェブサイトを閲覧することができる。そして、ウェブサイトにアクセスする際には、広告情報に含められている上述した店舗IDも一緒に、携帯電話1からウェブサイトに送信される。
なお、上記では、広告情報を管理している広告配信サーバ3は、店舗ごとにPOS端末2に接続されている場合を例示したが、これに限定されない。ネットワークNを介してPOS端末2に接続されており、当該POS端末2に広告情報を提供可能であれば、いかなる場所に存在していてもよい。また、複数のPOS端末2からの要求に応じて広告情報(簡易広告データ)を配信するサーバコンピュータであってもよい。ここで、図2では、広告配信サーバ3が備える記憶装置3Bを簡易広告データベースとして図示する。
<ウェブサーバ>
次に、ウェブサイトを開設しているウェブサーバ4について、図5を参照して説明する。ウェブサーバ4は、ISP事業者が管理しているサーバコンピュータであり、各販売業者のウェブサイトが開設されている。
次に、ウェブサイトを開設しているウェブサーバ4について、図5を参照して説明する。ウェブサーバ4は、ISP事業者が管理しているサーバコンピュータであり、各販売業者のウェブサイトが開設されている。
そして、ウェブサーバ4のCPUなどの制御装置4Aには、所定のプログラムが組み込まれることで、サイト公開処理部41と、店舗判別処理部42と、広告料管理処理部43と、オンラインショッピング処理部44と、が構築されている。また、ハードディスクなどの記憶装置4Bには、サイトデータベース45と、店舗IDデータベース46と、広告料データベース47と、クーポンデータベース48と、が形成されている。
サイト公開処理部41は、携帯電話1や他のコンピュータからのアクセスに応じてウェブサイトを公開する。つまり、サイトデータベース45(図2では、Webサイトデータベースと示す)に蓄積されているウェブサイト用コンテンツを配信する。このコンテンツは、例えば、上述した携帯電話1にPOS端末2から配信された広告情報(簡易広告データ)の内容をさらに詳細に説明する広告コンテンツである。
また、サイト公開処理部41は、アクセスしてきた携帯電話1から当該アクセス時に店舗IDの通知を受けると、その店舗IDを店舗判別処理部42に通知する。さらに、サイト公開処理部41は、ウェブサイト上にてアクセスしてきた携帯電話1から商品の注文情報を受け付ける機能を有しており、かかる注文情報をオンラインショッピング処理部44に通知する機能を有する。
店舗判別処理部42(配信元店舗判別手段)は、店舗IDデータベース46に予め記憶されている店舗IDと店舗との対応表(店舗特定情報)に基づいて、サイト公開処理部41から通知を受けた店舗IDに対応する店舗を判別する。つまり、携帯電話1が販売業者のウェブサイトにリンクしてきたときのリンク元となる広告情報が、どの店舗から配信されたか、ということを特定する。そして、特定した店舗名を広告料管理処理部43とオンラインショッピング処理部44に通知する。
広告料管理処理部43(広告料集計手段)は、店舗判別処理部42にて判別された店舗に対して支払うべき広告料を、店舗ごとに集計する。そして、広告料データベース47に蓄積する。具体的には、リンク元となった広告情報の配信数に応じて配信元の店舗に対して多くの広告料が支払われるよう、広告料を集計する(図2に示す広告料データベース47を参照)。この広告料データベース47に基づいて、後に広告料の決済が行われる。なお、決済は、上記広告料データベース47が配信元店舗に公開され、これに基づいて配信元添付が広告主である販売業者に請求する方法で行われてもよい。
オンラインショッピング処理部44(注文受付手段、クーポン配信手段)は、サイト公開処理部41から通知された注文情報を受け付けると共に、この注文情報を送信した携帯電話1に対して、広告情報を配信した店舗を特定する情報を店舗判別処理部42から受け付ける。そして、ネットワークNを介して商品注文管理サーバ5に通知する。
また、オンラインショッピング処理部44は、予めクーポンデータベース48内に記憶された様々な店舗のクーポン情報から、携帯電話1に対して広告情報を配信した店舗(店舗判別処理部42にて判別された店舗)のクーポン情報を読み出して、注文した携帯電話1に対して送信する。このとき、クーポン情報には、携帯電話1のユーザにてオンラインショッピングが行われているこのウェブサイトを開設している販売業者を特定する販売業者IDが含められて送信される(図2に示すクーポンデータベース48を参照)。なお、クーポン情報を送信するタイミングは、オンラインショッピングによる受注が成立したときでもよく、あるいは、単に携帯電話1からウェブサイトにアクセスがあったときでもよい。
ここで、上記では、ISP事業者内のウェブサーバ4に販売業者のウェブサイトが開設されている場合を例示したが、これに限定されず、販売業者が直接的に管理しているウェブサーバにウェブサイトが開設されていてもよい。
<商品注文管理サーバ>
商品注文管理サーバ5(注文管理サーバ)は、販売業者にて管理されたサーバコンピュータにて構成されている。そして、制御装置5Aに所定のプログラムが組み込まれることで、注文情報受付処理部51と、注文情報分析処理部52と、通知処理部53と、が構築されている。注文情報受付処理部は、ウェブサイト(上述したウェブサーバ4)を介して携帯電話1から受け付けた商品注文情報を受け取り、注文情報分析処理部52に通知する。注文情報分析処理部52(注文分析手段)は、注文情報と広告配信元となる店舗情報から、顧客データ、商品注文データ、携帯電話1に対する広告情報の配信元となる店舗IDデータ、をそれぞれ分析して、各データをお互いに関連付けて記憶装置5B内の各記憶部54,55,56に蓄積する。これにより、商品注文や売上集計等を管理することができる。なお、図2では、記憶装置5Bを商品注文管理データベースと示す。また、通知処理部53は、商品の注文を受け付けた旨の情報や、発送情報、納品情報などを、ネットワークNを介して携帯電話1に通知する。なお、この通知処理部53は、上記ウェブサーバ4に備えられていて、注文情報をはじめに受け付けた当該ウェブサーバ4によって発送情報などの通知が携帯電話1に対して行われてもよい。
商品注文管理サーバ5(注文管理サーバ)は、販売業者にて管理されたサーバコンピュータにて構成されている。そして、制御装置5Aに所定のプログラムが組み込まれることで、注文情報受付処理部51と、注文情報分析処理部52と、通知処理部53と、が構築されている。注文情報受付処理部は、ウェブサイト(上述したウェブサーバ4)を介して携帯電話1から受け付けた商品注文情報を受け取り、注文情報分析処理部52に通知する。注文情報分析処理部52(注文分析手段)は、注文情報と広告配信元となる店舗情報から、顧客データ、商品注文データ、携帯電話1に対する広告情報の配信元となる店舗IDデータ、をそれぞれ分析して、各データをお互いに関連付けて記憶装置5B内の各記憶部54,55,56に蓄積する。これにより、商品注文や売上集計等を管理することができる。なお、図2では、記憶装置5Bを商品注文管理データベースと示す。また、通知処理部53は、商品の注文を受け付けた旨の情報や、発送情報、納品情報などを、ネットワークNを介して携帯電話1に通知する。なお、この通知処理部53は、上記ウェブサーバ4に備えられていて、注文情報をはじめに受け付けた当該ウェブサーバ4によって発送情報などの通知が携帯電話1に対して行われてもよい。
[動作]
次に、上記構成である広告配信システムの動作を、図7乃至図12を参照して説明する。図7は、本システムの動作の概略を示すフローチャートである。図8は、携帯電話1の画面上様子を示す図であり、図9乃至図12は、システム全体の動作を示すシーケンス図である。はじめに、図7を参照して、動作の概要を説明する。
次に、上記構成である広告配信システムの動作を、図7乃至図12を参照して説明する。図7は、本システムの動作の概略を示すフローチャートである。図8は、携帯電話1の画面上様子を示す図であり、図9乃至図12は、システム全体の動作を示すシーケンス図である。はじめに、図7を参照して、動作の概要を説明する。
まず、ユーザが店舗を利用すると(ステップS1)、携帯電話1を用いて電子マネーにて支払いを行う(ステップS2)。そのときに、店舗装置20から携帯電話1に対して簡易広告が配信される(ステップS3)。ユーザは、電子マネーによる決済情報と共に配信された簡易広告を閲覧し、その広告サイトにアクセスして、販売業者の商品を閲覧する(ステップS4)。その後、気に入った商品があるとオンラインショッピングを携帯電話1にて行う(ステップS5)。すると、広告が配信された店舗のクーポンが携帯電話1に配信される(ステップS6)。そして、そのクーポンは、再度店舗にて利用され(ステップS1)、上記動作を繰り返すこととなる。
次に、図8乃至図12を参照して、さらに動作の詳細を説明する。まず、ユーザは、店舗で利用した費用を、携帯電話1を用いて店舗側に電子マネーとして支払う(ステップA1)。店舗側では、電子マネーによる支払いをPOS端末2に接続されたリーダー/ライタ2Aを介してユーザの携帯電話1から受信し、電子マネー決算処理を行う(ステップA2)。それと同時に、POS端末2は広告配信サーバ3に広告情報(簡易広告データ)を要求する(ステップA3)。すると、データ要求を受けた広告配信サーバ3は、広告データベース33に格納している様々な販売業者の簡易広告と、配信元となる店舗を判別するための店舗IDを関連付けて、一つのデータとし簡易広告(店舗ID)データをPOS端末2に送信する(ステップA4)。
POS端末2では、電子マネー処理結果と、広告配信サーバ3から受信した簡易広告(店舗ID)データをまとめて、リーダー/ライタ2Aを介して、ユーザの携帯電話1に送信する(ステップA5)。すると、店舗側に電子マネーを支払ったユーザの携帯電話1の画面上には、電子マネー利用残高や電子決済結果と共に、簡易広告が表示される(ステップA6)。配信された簡易広告(店舗ID)データは、ユーザの携帯電話1の内部にある端末メモリ(広告記憶部15)に簡易広告(店舗ID)データとして格納され保持することができ、ユーザはこのデータを利用することによって、何時でも簡易広告の閲覧や、当該広告からリンクされている目的の販売業者のウェブサイトへアクセスすることが可能となる(ステップA7)。なお、決済時に配信された簡易広告データを携帯電話1に表示したときの一例を、図8(a)に示す。この図に示すように、例えば、最上段に電子マネーの残高が表示され、以下に、複数の販売業者(A,B,C)の数行からなる簡易広告が表示される。
次に、ユーザの携帯電話1で簡易広告から販売業者のウェブ広告が表示される動作と広告料金を算出するための動作を、図10のフローチャートを参照して説明する。ユーザは、携帯電話1の端末メモリに保持された簡易広告(店舗ID)データを利用することで、上述した図8(a)に示す簡易広告を表示することが可能となる。従って、この簡易広告表示画面から興味のある簡易広告を選択することによって、携帯電話1は携帯電話基地局11に接続し、ネットワークNを介して目的の販売業者のウェブサイト(ウェブサーバ4)にアクセスすることができる。選択した簡易広告のリンク情報には、その簡易広告に関連する販売業者のウェブサイト4の接続先情報(URLなど)やその簡易広告の配信元を示す店舗ID情報も含まれており、販売業者のウェブサイトにこれらの情報を送信し、アクセス要求を行う(ステップA8)。アクセス要求を受けた販売業者のウェブサイト4では、サイトデータベース45に格納している上記簡易広告よりも詳細な内容のウェブ広告データを携帯電話1に送信する(ステップA9)。また、アクセスされたユーザの携帯電話1がどの店舗によって配信された簡易広告からリンクされたのか、アクセス時に送信された店舗ID情報を元に店舗判別処理部42によって判別が可能となる(ステップA10)。そして、判別した店舗に対して、広告料データベース47内において該当する店舗ポイントデータの値を加算する(ステップA11)。これにより、代理広告配信を販売業者から受け持ちした店舗は、広告料データベース47内にある店舗ポイントデータの値を参照することで、広告主(販売業者)に対し、一回の閲覧毎に予め定められた広告料金の課金を行うことができる。あるいは、広告主(販売業者)側がポイントデータに基づいて該当する店舗に広告料を支払う。
そして、ウェブ広告データを受信したユーザの携帯電話1では、選択した簡易広告の詳細な内容を表示し(ステップA12)、閲覧することが可能となり、その後、オンラインショッピングを行うこともできる(ステップA13)。なお、詳細な広告が表示されたときの携帯電話1の画面の一例を、図8(b)に示す。この図は、A販売業者の簡易広告を選択した後の画面の一例である。
次に、ユーザの携帯電話1で販売業者のウェブサイトにアクセスして、オンラインショッピングを行うときの動作と、電子クーポンを発行する動作ついて、図11のフローチャートを参照して説明する。ユーザの携帯電話1に表示されているウェブ広告画面(図8(b)を参照)から商品を購入する場合は、商品注文の申込みを行うページにアクセスすることで(ステップA14)、販売業者のウェブサイト4からオンラインショッピングに必要な情報やデータが携帯電話1に送信される(ステップA15)。これにより、ユーザの携帯電話1に表示されたオンラインショッピング申込み画面(ステップA16)から希望される商品の注文情報を入力し(ステップA17)、商品注文データを送信することができる(ステップA18)。すると、販売業者のウェブサイト4では、ユーザから送られてきた商品注文データをオンラインショッピング処理部44で処理する(ステップA19)。そして、商品注文データから、ユーザ情報、商品注文情報、配信元店舗ID情報が抽出されてネットワークNを介して販売業者の商品注文管理サーバ5へ送信される(ステップA20)。
商品注文管理サーバ5では、受け取った商品注文情報を分析処理し(ステップA21)、商品注文管理データベース5B内に各々、顧客データ54、商品注文データ55、配信元店舗IDデータ56として格納する(ステップA22)。これらの各データは互いに関連付けされており、顧客の購入履歴やどの店舗によって配信された簡易広告から商品購入へと結びついたのか、広告主である販売業者が電子広告による商品の購入実績を把握することが可能となり、効率よく宣伝効果を向上させることができる。
そして、商品の注文が成立すると販売業者のウェブサイト4では、オンラインショッピングの処理結果をユーザの携帯電話1に送信し(ステップA23)、ユーザは商品の注文内容や発送日などを確認することができる(ステップA24)。なお、かかる携帯電話1に対するオンラインショッピングの処理結果の送信は、商品注文管理サーバ5にて行われてもよい。
また、ウェブサイト4では、様々な店舗の電子クーポンデータを格納している電子クーポンデータベース48から、店舗ID判別処理部42で判別した(ステップA25)店舗の電子クーポンデータを取り出す。このとき、発行元を判別するための販売業者IDと関連付けて一つのデータとし、電子クーポン(販売業者ID)データとして販売業者のウェブサイト4を介してユーザの携帯電話1に送信する(ステップA26)。送信された電子クーポン(販売業者ID)データは、ユーザの携帯電話1の内部にある端末メモリに電子クーポン(販売業者ID)データとして格納され保持することができる(ステップA27)。そして、ユーザはこのデータを利用可能な店舗にて携帯電話1に表示して提示したり、POS端末2に送信して利用することで、該当する店舗にて多様なサービスを受けることができる(ステップA28)。これにより、代理広告配信を受け持ちした店舗は、ユーザの来店機会を向上させることができる。なお、電子クーポンを発行するタイミングについては、上記実施例だとオンラインショッピング完了後となっているが、携帯電話1にて簡易広告から販売業者のウェブサイト(詳細な広告)にアクセスした時点で発行してもよい。
次に、電子クーポンの利用場面について、図12のフローチャートを参照して説明する。ユーザは、携帯電話1の端末メモリに保持された電子クーポン(販売業者ID)データを表示したりして利用することで、該当する店舗の多様なサービスを受けることができる(ステップA29)。ユーザが再度、店舗において電子マネーの支払いを行うことにより(ステップA30)、図7に示す運用サイクルが可能となり、ユーザ、店舗、販売業者間の相乗効果を向上させることができる。
以上のように、ユーザが店舗にて携帯電話1を用いて電子決済を行うと、店舗に設置されたPOS端末2などの電子決済装置から簡易広告データが配信される。このように、ユーザによる携帯電話1を用いた決済時あるいはその直前直後に簡易広告データが配信されることから、電子決済情報を携帯電話1にて確認するユーザによって、広告情報が閲覧される確率が高まり、広告による宣伝効果の向上を図ることができる。
また、ユーザが携帯電話1にて配信された簡易広告データを選択することで、携帯電話1にて広告主のウェブサイトにアクセスすることができ、さらに詳細な広告コンテンツをユーザは閲覧することができる。従って、ユーザにとっては利便性が向上し、広告主にとっては広告宣伝効果が向上する。
さらに、広告が配信された配信元である店舗を、広告主が容易に認識することができる。これに伴い、アクセスしてきたユーザ数に応じて広告主が支払うべき広告料を算出することができる。従って、広告効果に見合った適切な広告料金を設定することができる。また、広告配信元店舗のクーポン情報が携帯電話1に配信されるため、ユーザによってかかる店舗の利用がさらに促進される。
また、広告情報を参照してアクセスしてきたユーザによるオンラインショッピング時に、広告がいかなる店舗によって配信されたものであるかを判別することができ、さらに、広告宣伝効果を分析することができる。
本発明は、携帯端末を用いた電子決済時に広告を配信するシステムとして、店舗のPOS端末などに設置することができ、さらには、広告を配信するネットワーク上のウェブサーバなどに利用することができ、産業上の利用可能性を有する。
1 携帯電話(携帯端末)
2 POS端末(電子決済装置)
3 広告配信サーバ(広告記憶手段)
4 ウェブサーバ
5 商品注文管理サーバ
20 店舗装置
2A リーダライタ
2 POS端末(電子決済装置)
3 広告配信サーバ(広告記憶手段)
4 ウェブサーバ
5 商品注文管理サーバ
20 店舗装置
2A リーダライタ
Claims (23)
- ユーザの携帯端末と通信可能であり電子決済を行う電子決済装置と、所定の広告情報を記憶した広告記憶装置と、を備え、
前記電子決済装置が、前記携帯端末との電子決済に伴う通信時に、前記広告記憶装置から前記広告情報を取得して前記携帯端末に配信する広告配信手段を備えた、
ことを特徴とする広告配信システム。 - 前記広告配信手段は、前記携帯端末に電子決済情報と共に前記広告情報を配信する機能を有する、
ことを特徴とする請求項1記載の広告配信システム。 - 前記広告情報は、前記携帯端末に表示可能な情報である、ことを特徴とする請求項1又は2記載の広告配信システム。
- 前記広告情報は、前記携帯端末上にて選択されることにより当該携帯端末にて所定のウェブサイトにアクセス可能なリンク情報を含む、ことを特徴とする請求項3記載の広告配信システム。
- 前記広告情報は、前記電子決済装置にて広告情報の配信を行った店舗を表す配信元情報を含む、ことを特徴とする請求項4記載の広告配信システム。
- 前記広告情報に含まれた前記配信元情報は、前記リンク情報に基づいて前記携帯端末にてアクセスされた前記ウェブサイトに当該携帯端末から通知される情報である、ことを特徴とする請求項5記載の広告配信システム。
- 前記携帯端末にてアクセスされる前記ウェブサイトを管理するウェブサーバを備え、
このウェブサーバは、前記配信元情報に対応する店舗を特定する店舗特定データベースを記憶すると共に、この記憶された店舗特定データベースと前記通知された配信元情報とに基づいて前記電子決済装置にて前記広告情報の配信を行った店舗を判別する店舗判別手段を備えた、
ことを特徴とする請求項6記載の広告配信システム。 - 前記ウェブサーバは、前記店舗判別手段にて判別された店舗に対して支払うべき広告配信料を当該店舗ごとに集計する広告料集計手段を備えた、
ことを特徴とする請求項7記載の広告配信システム。 - 前記ウェブサーバは、各店舗に対応して当該店舗にて所定の特典を受けられるクーポン情報を記憶すると共に、前記店舗判別手段にて判別された店舗の前記クーポン情報を読み出して、このクーポン情報をアクセスしてきた前記携帯端末に送信するクーポン配信手段を備えた、
ことを特徴とする請求項7又は8記載の広告配信システム。 - 前記ウェブサーバは、前記ウェブサイト上にて商品購入注文を受け付ける注文受付手段を有すると共に、
この注文受付手段は、前記携帯端末から前記広告情報を介してアクセスされたときに注文情報と共に前記広告情報に含まれた前記配信元情報を受け付けて、ネットワークを介して注文管理サーバに通知する、
ことを特徴とする請求項7,8又は9記載の広告配信システム。 - 前記注文情報を受け付ける注文管理サーバを備え、
この注文管理サーバは、前記受け付けた注文情報と配信元情報に基づいて注文内容と前記電子決済装置にて広告配信を行った店舗とを分析する注文分析手段を備えた、
ことを特徴とする請求項10記載の広告配信システム。 - 請求項9記載の前記ウェブサーバが有する前記クーポン配信手段は、前記商品購入注文を受け付けた店舗を特定する情報を前記クーポン情報に含めて前記携帯端末に配信する、
ことを特徴とする請求項10又は11記載の広告配信システム。 - ユーザの携帯端末と通信可能であり電子決済を行う電子決済装置であって、
前記携帯端末との電子決済に伴う通信時に、所定の広告情報を記憶した広告記憶装置から前記広告情報を取得して前記携帯端末に配信する広告配信手段を備えた、
ことを特徴とする電子決済装置。 - ユーザの携帯端末にてアクセスされるウェブサイトを管理するウェブサーバであって、
前記携帯端末と電子決済を行う電子決済装置から前記携帯端末に配信された広告情報に基づいて当該携帯端末からのアクセスを受け付けると共に、当該アクセス時に前記広告情報に含まれる当該広告情報を前記電子決済装置にて配信した店舗を表す配信元情報を受け付けるアクセス受付手段と、
前記配信元情報に対応する店舗を特定する店舗特定データベースを記憶する店舗特定情報記憶手段と、
この記憶された店舗特定データベースと前記受け付けた配信元情報とに基づいて前記広告情報を前記電子決済装置にて配信した店舗を判別する配信元店舗判別手段と、
を備えたことを特徴とするウェブサーバ。 - 前記配信元店舗判別手段にて判別された店舗に対して支払うべき広告配信料を当該店舗ごとに集計する広告料集計手段を備えた、
ことを特徴とする請求項14記載のウェブサーバ。 - ユーザの携帯端末と通信可能であり電子決済を行う電子決済装置を用いて、前記携帯端末に広告を配信する方法であって、
前記電子決済装置が、前記携帯端末との電子決済に伴う通信時に、所定の広告情報を記憶した広告記憶装置から前記広告情報を読み出して、当該広告情報を前記携帯端末に配信する、
ことを特徴とする広告配信方法。 - 前記電子決済装置が、前記携帯端末に電子決済情報と共に前記広告情報を配信する、
ことを特徴とする請求項16記載の広告配信方法。 - 前記携帯端末が、前記広告情報に含まれるリンク情報に基づいて所定のウェブサイトにアクセスする際に、前記広告情報に含まれる当該広告情報を前記電子決済装置にて配信した店舗を表す配信元情報を前記ウェブサイトに通知する、ことを特徴とする請求項16又は17記載の広告配信方法。
- 前記ウェブサイトを管理するウェブサーバが、予め記憶された前記配信元情報に対応する店舗を特定する店舗特定データベースと、前記携帯端末から通知された配信元情報とに基づいて、当該配信元情報が含まれた前記広告情報の配信を前記電子決済装置にて行った店舗を判別する、
ことを特徴とする請求項18記載の広告配信方法。 - 前記ウェブサーバが、判別された店舗に対して支払うべき広告配信料を当該店舗ごとに集計して蓄積する、
ことを特徴とする請求項19記載の広告配信方法。 - ユーザの携帯端末と通信可能であり電子決済を行う電子決済装置に、
前記携帯端末との電子決済に伴う通信時に、所定の広告情報を記憶した広告記憶装置から前記広告情報を読み出して前記携帯端末に配信する広告配信手段、を実現するためのプログラム。 - ユーザの携帯端末にてアクセスされるウェブサイトを管理するウェブサーバに、
前記携帯端末と電子決済を行う電子決済装置から前記携帯端末に配信された広告情報に基づいて当該携帯端末からのアクセスを受け付けると共に、当該アクセス時に前記広告情報に含まれる当該広告情報の配信を前記電子決済装置にて行った店舗を表す配信元情報を受け付けるアクセス受付手段と、
前記配信元情報に対応する店舗を特定する店舗特定データベースを記憶する店舗特定情報記憶手段と前記受け付けた配信元情報とに基づいて前記広告情報の配信を前記電子決済装置にて行った店舗を判別する配信元店舗判別手段と、
を実現するためのプログラム。 - 前記ウェブサーバに、
前記配信元店舗判別手段にて判別された店舗に対して支払うべき広告配信料を当該店舗ごとに集計する広告料集計手段、を実現するための請求項22記載のプログラム。
Priority Applications (1)
| Application Number | Priority Date | Filing Date | Title |
|---|---|---|---|
| JP2005222407A JP2007041663A (ja) | 2005-08-01 | 2005-08-01 | 広告配信システム及び方法並びにプログラム |
Applications Claiming Priority (1)
| Application Number | Priority Date | Filing Date | Title |
|---|---|---|---|
| JP2005222407A JP2007041663A (ja) | 2005-08-01 | 2005-08-01 | 広告配信システム及び方法並びにプログラム |
Publications (1)
| Publication Number | Publication Date |
|---|---|
| JP2007041663A true JP2007041663A (ja) | 2007-02-15 |
Family
ID=37799615
Family Applications (1)
| Application Number | Title | Priority Date | Filing Date |
|---|---|---|---|
| JP2005222407A Pending JP2007041663A (ja) | 2005-08-01 | 2005-08-01 | 広告配信システム及び方法並びにプログラム |
Country Status (1)
| Country | Link |
|---|---|
| JP (1) | JP2007041663A (ja) |
Cited By (8)
| Publication number | Priority date | Publication date | Assignee | Title |
|---|---|---|---|---|
| JP2009042849A (ja) * | 2007-08-06 | 2009-02-26 | Fuji Electric Holdings Co Ltd | 会員勧誘システム、そのサーバ、プログラム |
| JP2009080543A (ja) * | 2007-09-25 | 2009-04-16 | Oki Electric Ind Co Ltd | 自動取引装置、携帯端末、取引システム、取引方法およびプログラム |
| JP2010003200A (ja) * | 2008-06-23 | 2010-01-07 | Panasonic Corp | 自動販売機の制御装置 |
| CN104715396A (zh) * | 2015-02-16 | 2015-06-17 | 成都立行广告有限公司 | 一种户外电子屏广告的计费系统及计费方法 |
| JP7136978B1 (ja) | 2021-07-30 | 2022-09-13 | Kddi株式会社 | 情報処理方法 |
| JP7169423B1 (ja) | 2021-07-30 | 2022-11-10 | Kddi株式会社 | プログラム |
| JP2023164711A (ja) * | 2021-10-04 | 2023-11-10 | PayPay株式会社 | 広告配信装置、広告配信方法、およびプログラム |
| JP2024144726A (ja) * | 2020-03-31 | 2024-10-11 | Okage株式会社 | 情報処理装置、情報処理方法、およびプログラム |
Citations (4)
| Publication number | Priority date | Publication date | Assignee | Title |
|---|---|---|---|---|
| JP2003317153A (ja) * | 2002-04-22 | 2003-11-07 | Seiko Epson Corp | Posシステム及びその制御方法 |
| JP2004005539A (ja) * | 2002-04-02 | 2004-01-08 | Hiroshi Sato | コンテンツ関連情報提供装置及びコンテンツ関連情報提供方法及びコンテンツ関連情報提供システム及び携帯端末 |
| JP2004193808A (ja) * | 2002-12-09 | 2004-07-08 | Matsushita Electric Ind Co Ltd | 情報処理装置及び情報処理方法 |
| WO2005008576A1 (ja) * | 2003-07-23 | 2005-01-27 | Matsushita Electric Industrial Co., Ltd. | 情報記憶装置と情報処理装置 |
-
2005
- 2005-08-01 JP JP2005222407A patent/JP2007041663A/ja active Pending
Patent Citations (4)
| Publication number | Priority date | Publication date | Assignee | Title |
|---|---|---|---|---|
| JP2004005539A (ja) * | 2002-04-02 | 2004-01-08 | Hiroshi Sato | コンテンツ関連情報提供装置及びコンテンツ関連情報提供方法及びコンテンツ関連情報提供システム及び携帯端末 |
| JP2003317153A (ja) * | 2002-04-22 | 2003-11-07 | Seiko Epson Corp | Posシステム及びその制御方法 |
| JP2004193808A (ja) * | 2002-12-09 | 2004-07-08 | Matsushita Electric Ind Co Ltd | 情報処理装置及び情報処理方法 |
| WO2005008576A1 (ja) * | 2003-07-23 | 2005-01-27 | Matsushita Electric Industrial Co., Ltd. | 情報記憶装置と情報処理装置 |
Cited By (10)
| Publication number | Priority date | Publication date | Assignee | Title |
|---|---|---|---|---|
| JP2009042849A (ja) * | 2007-08-06 | 2009-02-26 | Fuji Electric Holdings Co Ltd | 会員勧誘システム、そのサーバ、プログラム |
| JP2009080543A (ja) * | 2007-09-25 | 2009-04-16 | Oki Electric Ind Co Ltd | 自動取引装置、携帯端末、取引システム、取引方法およびプログラム |
| JP2010003200A (ja) * | 2008-06-23 | 2010-01-07 | Panasonic Corp | 自動販売機の制御装置 |
| CN104715396A (zh) * | 2015-02-16 | 2015-06-17 | 成都立行广告有限公司 | 一种户外电子屏广告的计费系统及计费方法 |
| JP2024144726A (ja) * | 2020-03-31 | 2024-10-11 | Okage株式会社 | 情報処理装置、情報処理方法、およびプログラム |
| JP7136978B1 (ja) | 2021-07-30 | 2022-09-13 | Kddi株式会社 | 情報処理方法 |
| JP7169423B1 (ja) | 2021-07-30 | 2022-11-10 | Kddi株式会社 | プログラム |
| JP2023020833A (ja) * | 2021-07-30 | 2023-02-09 | Kddi株式会社 | プログラム |
| JP2023020425A (ja) * | 2021-07-30 | 2023-02-09 | Kddi株式会社 | 情報処理方法 |
| JP2023164711A (ja) * | 2021-10-04 | 2023-11-10 | PayPay株式会社 | 広告配信装置、広告配信方法、およびプログラム |
Similar Documents
| Publication | Publication Date | Title |
|---|---|---|
| KR101652504B1 (ko) | 통합 온라인 쇼핑몰의 운영 시스템 및 운영 방법 | |
| JP5329611B2 (ja) | 購入支援サーバ、購入支援方法、購入支援プログラム、及びそのプログラムを記憶するコンピュータ読取可能な記録媒体 | |
| JP6770552B2 (ja) | 電子レシートシステムおよび電子レシート表示方法 | |
| KR101765415B1 (ko) | 판매자와 판매대행자 간의 연결 및 수익공유를 제공하는 판매대행 서비스 제공방법 및 제공장치 | |
| KR101978496B1 (ko) | 오프라인 거래정보를 이용한 전자상거래 중개 시스템 및 방법 | |
| JP2009123073A (ja) | 広告管理システムおよび広告管理方法 | |
| JP2008234436A (ja) | 販売促進システム、販売促進方法およびプログラム | |
| JP2013061903A (ja) | クーポン提供システム、サーバ装置およびプログラム | |
| JP2002328875A (ja) | 広告システムと広告方法 | |
| JP2014182522A (ja) | 個人間商品取引システム | |
| JP2002269315A (ja) | インターネット上のトラッキング・システム | |
| JP2007041663A (ja) | 広告配信システム及び方法並びにプログラム | |
| JP2008305112A (ja) | 会員制Web電子マネーサイト管理システム | |
| JP4861010B2 (ja) | 販売促進システム | |
| JP6853029B2 (ja) | 情報処理装置 | |
| JP2005202734A (ja) | インターネットを利用した販売支援システムおよび販売支援方法 | |
| KR20180011531A (ko) | 전통시장의 할인 이벤트 정보 제공 시스템 및 그 방법 | |
| JP2021149620A (ja) | 情報処理装置、情報処理方法及び情報処理プログラム | |
| JP2005085203A (ja) | 決済サービス装置及び方法、コンピュータプログラム、プログラム記録媒体 | |
| JP2003187148A (ja) | 顧客別広告情報処理システム | |
| JP2001283096A (ja) | 通信回線ショッピングシステム、サーバ装置、クライアント装置及び情報管理装置 | |
| JP6730019B2 (ja) | 電子決済システムおよび電子決済方法 | |
| JP2005196347A (ja) | 電子店舗取引システム | |
| JP7723707B2 (ja) | サーバ装置、プログラム及び広告支援方法 | |
| JP2003331189A (ja) | バナー広告掲載システム、及びバナー広告掲載プログラム |
Legal Events
| Date | Code | Title | Description |
|---|---|---|---|
| A621 | Written request for application examination |
Free format text: JAPANESE INTERMEDIATE CODE: A621 Effective date: 20080611 |
|
| RD03 | Notification of appointment of power of attorney |
Free format text: JAPANESE INTERMEDIATE CODE: A7423 Effective date: 20100107 |
|
| A131 | Notification of reasons for refusal |
Free format text: JAPANESE INTERMEDIATE CODE: A131 Effective date: 20101109 |
|
| A02 | Decision of refusal |
Free format text: JAPANESE INTERMEDIATE CODE: A02 Effective date: 20110308 |