JP2006110012A - 椅子におけるハンガーの取付構造 - Google Patents

椅子におけるハンガーの取付構造 Download PDF

Info

Publication number
JP2006110012A
JP2006110012A JP2004299343A JP2004299343A JP2006110012A JP 2006110012 A JP2006110012 A JP 2006110012A JP 2004299343 A JP2004299343 A JP 2004299343A JP 2004299343 A JP2004299343 A JP 2004299343A JP 2006110012 A JP2006110012 A JP 2006110012A
Authority
JP
Japan
Prior art keywords
hanger
mounting member
backrest
support rods
pair
Prior art date
Legal status (The legal status is an assumption and is not a legal conclusion. Google has not performed a legal analysis and makes no representation as to the accuracy of the status listed.)
Granted
Application number
JP2004299343A
Other languages
English (en)
Other versions
JP4441373B2 (ja
Inventor
Takeshi Nakayama
健 中山
Ryo Igarashi
僚 五十嵐
Current Assignee (The listed assignees may be inaccurate. Google has not performed a legal analysis and makes no representation or warranty as to the accuracy of the list.)
Okamura Corp
Original Assignee
Okamura Corp
Priority date (The priority date is an assumption and is not a legal conclusion. Google has not performed a legal analysis and makes no representation as to the accuracy of the date listed.)
Filing date
Publication date
Application filed by Okamura Corp filed Critical Okamura Corp
Priority to JP2004299343A priority Critical patent/JP4441373B2/ja
Publication of JP2006110012A publication Critical patent/JP2006110012A/ja
Application granted granted Critical
Publication of JP4441373B2 publication Critical patent/JP4441373B2/ja
Anticipated expiration legal-status Critical
Expired - Fee Related legal-status Critical Current

Links

Images

Landscapes

  • Holders For Apparel And Elements Relating To Apparel (AREA)

Abstract

【課題】 外観上において、取付部材が占める割合を小さくするとともに、ハンガーの取付部材をデザイン要素の一部として取り込み、全体としてスマートな優れたデザインを有し、かつハンガーをぐらつかないように高度に安定的に保持し得る、椅子におけるハンガーの取付構造を提供する。
【解決手段】 ハンガー3を、ハンガー本体4と、このハンガー本体4を支持する上下方向を向く左右1対の支持杆5,6とにより構成し、前記左右の支持杆5,6の対向面に、対向方向と後方とが開口する凹入段部12,13を設け、かつ取付部材7を、その左右端を前記両凹入段部に嵌合させて配設するとともに、背凭れ2に螺着することによって、ハンガー3を背凭れ2の後側に取付ける。
【選択図】 図2

Description

本発明は、椅子におけるハンガーの取付構造に関する。
椅子におけるハンガーの取付構造については、たとえば特許文献1および2に記載されている。
特開平9−206169号公報 実開平5−7179号公報 しかし、これらの特許文献に示されるように、従来の椅子におけるハンガーの取付構造は、一般に、ハンガー本体を支持する上下方向を向く支持杆を、この支持杆の左右方向の幅よりも大きい幅を有する取付部材を用いて、背凭れの後面等に固定するものであった。取付部材は、ハンガーをぐらつかないように固定するという専ら機能面に着目して形成されていた。そのため、背凭れの後面において、取付部材が大きく目立ち、かつ背凭れから張出した状態となっており、見栄えが良好でなく、外観上問題があった。 また、小型の椅子の場合は、取付部材の占める割合が大きくなり、小型であることの長所が失われるため、ハンガーを取付け難いという問題もあった。
本発明は、前記の問題点に鑑み、外観上において、取付部材が占める割合を小さくするとともに、取付部材をデザイン要素の一部として取り込み、全体としてスマートな優れたデザイン性を発揮し、かつハンガーをぐらつかないように高度に安定的に保持し得るようにした、椅子におけるハンガーの取付構造を提供することを目的とする。
また、本発明は、小型の椅子にも、実用上充分に適用しうるハンガーの取付構造を提供することも併せ目的とする。
上記課題は、特許請求の範囲における各請求項に示すように、下記の構成を備える発明によって解決される。
(1) ハンガーを、ハンガー本体と、このハンガー本体を支持する上下方向を向く左右1対の支持杆とにより構成し、前記左右の支持杆の対向面に、対向方向と後方とが開口する凹入段部を設け、かつ取付部材を、その左右端を前記両凹入段部に嵌合させて配設するとともに、背凭れに螺着することによって、ハンガーを背凭れの後側に取付ける。
(2) 上記(1)項において、左右1対の支持杆の対向面に設けた、対向方向と後方とが開口する両凹入段部を、互いに平行となるように上下方向に設け、上端にハンガー本体を設けた支持杆を、背凭れに螺着した取付部材に対して、上下方向に相対的に移動可能とする。
(3) 上記(1)項または(2)項において、左右1対の支持杆の対向面に、互いに平行な上下方向に延びる後向きに突出する凸条を設け、取付部材の前面における左右に、前記凸条に上下方向に摺動可能に嵌合する嵌合溝を設ける。
(4) 上記(3)項において、左右1対の支持杆の対向面における凸条を、対向方向と後方とが開口する凹入段部の左右内側縁部に設ける。
(5) 上記(1)項〜(4)項のいずれかにおいて、左右1対の支持杆の対向面の少なくとも一方に、後向きに突出する小突起を上下に離間して複数設け、取付部材の前面に前記小突起が係合する係合孔を設けて、上端にハンガー本体を設けた支持杆を、前記小突起が係合孔に係合する上下方向の複数の位置において、保持しうるようにする。
(6) 上記(1)項〜(5)項のいずれかにおいて、左右1対の支持杆の前面に、上下方向に延びる前向きに突出する係止突条を設け、背凭れの後面に、前記係止突条が係止しうる上下方向の係止溝を設ける。
(7) 上記(1)項〜(6)項のいずれかにおいて、取付部材と、背凭れに螺着用ねじの通孔を設け、上端にハンガー本体を設けた支持杆を、背凭れの後側に取付部材をもって保持させた状態で、取付部材とねじ座片をもって背凭れを挾持し、取付部材の後方から螺着用ねじをねじ座片に螺合することにより、背凭れの後側にハンガーを取付け、かつ取付部材の後面に、前記螺着用ねじの露出した頭部を覆うカバー部材を取付ける。
本発明によると、次のような効果が奏せられる。
請求項1記載の発明によれば、左右1対の支持杆の相互の対向面に凹入段部を設け、取付部材を、その左右端を前記両凹入段部に嵌合させて配設してあるため、取付部材が左右1対の支持杆よりも外側にはみ出すことがなく、外観上において、取付部材が占める割合が小さいとともに、取付部材が左右1対の支持杆間に、支持杆の凹入段部を介してデザイン要素の一部として一体的に取り込まれており、全体としてスマートな優れたデザイン性が発揮されている。
また、支持杆が、凹入段部を介して取付部材によって強固に保持されているため、ハンガーのぐらつきなども生じない。
また、取付部材が、左右1対の支持杆よりも外側にはみ出すことがない小さい部材として形成されているため、小型の椅子にも、実用上、充分に適用しうるハンガーの取付構造となっている。
請求項2記載の発明によれば、左右1対の支持杆に設けられた両凹入段部が、互いに平行であるため、上端にハンガー本体を設けた支持杆を、背凭れに螺着した取付部材に対して、上下方向に相対的に移動させても、取付部材の左右端と、前記凹入段部との嵌合状態が常時安定しており、ハンガーのぐらつきを防止して、常に安定的に保持することができる。
請求項3記載の発明によれば、支持杆の凸条と、取付部材の嵌合溝との嵌合により、ハンガーを一層良好に安定して保持することができる。
請求項4記載の発明によれば、支持杆における凸条が凹入段部の左右内側縁部に設けられているため、取付部材の前面における前記凸条と嵌合する嵌合溝を、取付部材の左右端から相当程度内側に設けることが可能となり、取付部材の左右端の破損による嵌合溝の損傷を防止することができる。
請求項5記載の発明によれば、支持杆の小突起と、取付部材の係合孔とが係合する複数の位置から1つを選択して、ハンガー本体を所望の高さにすることができる。たとえば、ハンガーの使用時においては、洋服の下端が床面に接触して汚れたりしないようにハンガー本体を高くし、不使用時においては低くして、コンパクトな形態にすることができる。
請求項6記載の発明によれば、上端にハンガー本体を設けた支持杆を、背凭れの後側に取付部材をもって取付ける際に背凭れの後面における、支持杆の左右方向の位置決めを、支持杆の係止突条を、背凭れの係止溝に係止させることにより、容易に行うことができる。
請求項7記載の発明によれば、ハンガーを背凭れの後側に、強固に取付けることができるとともに、螺着用ねじの露出した頭部がカバー部材によって被覆されるため、見栄えが一層良好となり、かつ取付部材が左右1対の支持杆間に配設されていることと相俟って、いずれが取付部材であるかさえ容易には認識されないほどに、取付部材がデザイン要素の一部として一体的に取り込まれたスマートな優れたデザインが形成される。
図1は、本発明の一実施形態を備えるハンガー付き椅子の側面図、図2は、図1に示すハンガー付き椅子における要部の後方視拡大斜視図、図3は、同じく、図1に示すハンガー付き椅子における要部の後方視拡大分解斜視図、図4は、同じく、前方視拡大分解斜視図である。
本発明におけるハンガー付き椅子(1)は、背凭れ(2)の後側に、上下動可能なハンガー(3)を備えている。
ハンガー(3)は、ハンガー本体(4)と、このハンガー本体(4)を支持する左右1対の支持杆(5)(6)とにより構成されており、支持杆(5)(6)は、取付部材(7)とねじ座片(8)を用いて、螺合用ねじ(9)により、背凭れ(2)の後側に取付けられている。
背凭れ(2)は、背枠(2a)にネット部材等の表皮材(図1以外においては図示を省略)を張設して構成されているが、背枠(2a)を構成する上下左右のフレームのうち、上部フレーム(2b)は、前フレーム(2c)と後フレーム(2d)とで形成されている。
前記両フレームは、左右端において相互に連結され、後フレーム(2d)は、平面視において、左右端を除いて前フレーム(2c)とは離間し、後方に向けて弧状に張り出した形態となっている。
本実施形態においては、ハンガー(3)は、この後フレーム(2d)に取付けられている。
ハンガー本体(4)は、背広等が掛けられる程度の長さに左右方向に延びている。
左右1対の支持杆(5)(6)は、互いに平行な縦杆部(5a)(6a)と、この縦杆部(5a)(6a)の上端から上方に向かうに従って左右方向に互いに離間するとともに、前方斜め上方に向けて延びる延杆部(5b)(6b)と、縦杆部(5a)(6a)の下端から下方に向かうに従って、互いに接近する方向に湾曲された連結部(5c)(6c)とよりなり、両支持杆(5)(6)は、両連結部(5c)(6c)の下端において、相互に連結されて一体化されている。
前記延杆部(5b)(6b)の上端は、扁平に形成され、図示を省略したビスをもってハンガー本体(4)の下面における左右端近傍に止着することにより、支持杆(5)(6)はハンガー本体(4)に取付けられている。
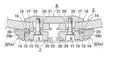
図5,図6は、それぞれ、図2におけるV〜V線拡大断面図、VI〜VI線拡大断面図である。
図2〜図5に示すように、左右の支持杆(5)(6)における縦杆部(5a)(6a)の対向面(10)(11)には、対向方向と後方とが開口する互いに平行な上下方向の凹入段部(12)(13)が形成されている。
取付部材(7)は、後面視において、左右方向に幅広の長方形をなす厚さの大きい板状体からなり、その左右端(14)(14)を、左右の支持杆(5)(6)の縦杆部(5a)(6a)における各凹入段部(12)(13)に嵌合しうる大きさに形成されている。
前記両凹入段部(12)(13)における左右方向の内側縁部には、互いに平行をなして後向きに突出する上下方向の突条(15)(16)が設けられている。
前記凸条(15)(16)は、取付部材(7)の前面における左右に設けられた上下方向の嵌合溝(17)(17)に嵌合され、支持杆(5)(6)は、取付部材(7)に対して相対的に上下方向に摺動可能となっている。
図4,図5に示すように、左右の支持杆(5)(6)における縦杆部(5a)(6a)の前面には、前向きに突出する上下方向の係止突条(18)(18)が設けられ、背凭れ(2)の後フレーム(2d)の後面には、前記係止突条(18)(18)が係止しうる上下方向の係止溝(19)(19)が設けられている。
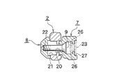
取付部材(7)の左右には、前後方向の通孔(20)(20)が穿設され、かつ後フレーム(2d)の前記通孔(20)(20)に対応する位置には、同じく前後方向の通孔(21)(21)が穿設されている。ねじ座片(8)の後面における前記各通孔(20)(20)と対応する位置には、非貫通のねじ孔(22)(22)が設けられている。
ハンガー(3)を後フレーム(2d)に取付けるには、次の手順による。
上端にハンガー本体(4)を取付けた左右の支持杆(5)(6)を、後方から後フレーム(2d)に当接し、支持杆(5)(6)の縦杆部(5a)(6a)の前面に設けられた係止突条(18)(18)を、後フレーム(2d)の後面に設けられた係止溝(19)(19)に係止させて、支持杆(5)(6)の左右方向の位置決めを行う。
次いで、左右の支持杆(5)(6)における縦杆部(5a)(6a)の両凹入段部(12)(13)に、取付部材(7)の左右端を嵌合させるとともに、取付部材(7)の前面に設けられた嵌合溝(17)(17)に、縦杆部(5a)(6a)の凹入段部(12)(13)に設けられた凸条(15)(16)を嵌合させて、取付部材(7)を左右の縦杆部(5a)(6a)間に配設する。
次いで、後フレーム(2d)の前面にねじ座片(8)を当接し、取付部材(7)とねじ座片(8)をもって、支持杆(5)(6)を介して、後フレーム(2d)を挾持し、螺着用ねじ(9)(9)を、通孔(20)(21)へ挿通して、ねじ座片(8)のねじ孔(22)に螺合することにより、ハンガー(3)を背凭れ(2)の後側に取付ける。
取付部材(7)の中央には、カバー部材(23)を取付けるための係止孔(24)が設けられ、この係止孔(24)には、その内周面後端に係止用周縁(25)が付設されている。カバー部材(23)は、横長な四辺形の左右が外向きの弧状をなす板状体からなり、その前面には、上下左右に4本の外向きの係止爪(26)が、前向きに設けられている。
取付部材(7)の後面には、カバー部材(23)が嵌合する凹部(27)が設けられている。カバー部材(23)を後方から、カバー部材(23)の係止爪(26)を、取付部材(7)の係止孔(24)における係止用周縁(25)に係止させるとともに、前記凹部(27)に嵌合させることにより、カバー部材(23)は取付部材(7)に取付けられる。
カバー部材(23)は、ネームプレートとしても利用される。
ハンガー(3)は、上下方向に摺動自在であるが、上方に摺動させた位置で、背広等を掛けた場合に、その重量でハンガー(3)が下方に移動し、背広等の下部が床面に接触して汚れる虞がある。
これを防ぐ対策として、図3,図5に示すように、縦杆部(5a)(6a)に後向きに突出する複数の小突起(28a)(28b)を上下に離間して設けるとともに、取付部材(7)の前面に前記小突起(28a)(28b)が係合する係合孔(29)(図4参照)を設けて、小突起(28a)(28b)が係合孔(29)に係合する上下方向の複数の位置において、ハンガーを、ある程度の荷重に対して保持しうるようにしてある。
本発明の一実施形態のハンガー付き椅子の側面図である。 図1に示すハンガー付き椅子における要部の後方視の拡大斜視図である。 同じく、図1に示すハンガー付き椅子における要部の後方視の拡大分解斜視図である。 同じく、前方視における拡大分解斜視図である。 図2におけるV〜V線拡大断面図である。 図2におけるVI〜VI線拡大断面図である。
符号の説明
(1)椅子
(2)背凭れ
(2a)背枠
(2b)上部フレーム
(2c)前フレーム
(2d)後フレーム
(3)ハンガー
(4)ハンガー本体
(5)(6)支持杆
(5a)(6a)縦杆部
(5b)(6b)延杆部
(5c)(6c)連結部
(7)取付部材
(8)ねじ座片
(9)螺合用ねじ
(10)(11)対向面
(12)(13)凹入段部
(14)左右端
(15)(16)凸条
(17)嵌合溝
(18)係止突条
(19)係止溝
(20)(21)通孔
(22)ねじ孔
(23)カバー部材
(24)係止孔
(25)係止用周縁
(26)係止爪
(27)凹部
(28a)(28b)小突起
(29)係合孔

Claims (7)

  1. ハンガーを、ハンガー本体と、このハンガー本体を支持する上下方向を向く左右1対の支持杆とにより構成し、前記左右の支持杆の対向面に、対向方向と後方とが開口する凹入段部を設け、かつ取付部材を、その左右端を前記両凹入段部に嵌合させて配設するとともに、背凭れに螺着することによって、ハンガーを背凭れの後側に取付けたことを特徴とする椅子におけるハンガーの取付構造。
  2. 左右1対の支持杆の対向面に設けた、対向方向と後方とが開口する両凹入段部を、互いに平行となるように上下方向に設け、上端にハンガー本体を設けた支持杆を、背凭れに螺着した取付部材に対して、上下方向に相対的に移動可能としたことを特徴とする請求項1記載の椅子におけるハンガーの取付構造。
  3. 左右1対の支持杆の対向面に、互いに平行な上下方向に延びる後向きに突出する凸条を設け、取付部材の前面における左右に、前記凸条に上下方向に摺動可能に嵌合する嵌合溝を設けたことを特徴とする請求項1または2記載の椅子におけるハンガーの取付構造。
  4. 左右1対の支持杆の対向面における凸条を、対向方向と後方とが開口する凹入段部の左右内側縁部に設けたことを特徴とする請求項3記載の椅子におけるハンガーの取付構造。
  5. 左右1対の支持杆の対向面の少なくとも一方に、後向きに突出する小突起を上下に離間して複数設け、取付部材の前面に前記小突起が係合する係合孔を設けて、上端にハンガー本体を設けた支持杆を、前記小突起が係合孔に係合する上下方向の複数の位置において、保持しうるようにしたことを特徴とする請求項1〜4のいずれかに記載の椅子におけるハンガーの取付構造。
  6. 左右1対の支持杆の前面に、上下方向に延びる前向きに突出する係止突条を設け、背凭れの後面に、前記係止突条が係止しうる上下方向の係止溝を設けたことを特徴とする請求項1〜5のいずれかに記載の椅子におけるハンガーの取付構造。
  7. 取付部材と、背凭れに螺着用ねじの通孔を設け、上端にハンガー本体を設けた支持杆を、背凭れの後側に取付部材をもって保持させた状態で、取付部材とねじ座片をもって背凭れを挾持し、取付部材の後方から螺着用ねじをねじ座片に螺合することにより、背凭れの後側にハンガーを取付け、かつ取付部材の後面に、前記螺着用ねじの露出した頭部を覆うカバー部材を取付けたことを特徴とする請求項1〜6のいずれかに記載の椅子におけるハンガーの取付構造。
JP2004299343A 2004-10-13 2004-10-13 椅子におけるハンガーの取付構造 Expired - Fee Related JP4441373B2 (ja)

Priority Applications (1)

Application Number Priority Date Filing Date Title
JP2004299343A JP4441373B2 (ja) 2004-10-13 2004-10-13 椅子におけるハンガーの取付構造

Applications Claiming Priority (1)

Application Number Priority Date Filing Date Title
JP2004299343A JP4441373B2 (ja) 2004-10-13 2004-10-13 椅子におけるハンガーの取付構造

Publications (2)

Publication Number Publication Date
JP2006110012A true JP2006110012A (ja) 2006-04-27
JP4441373B2 JP4441373B2 (ja) 2010-03-31

Family

ID=36379018

Family Applications (1)

Application Number Title Priority Date Filing Date
JP2004299343A Expired - Fee Related JP4441373B2 (ja) 2004-10-13 2004-10-13 椅子におけるハンガーの取付構造

Country Status (1)

Country Link
JP (1) JP4441373B2 (ja)

Cited By (3)

* Cited by examiner, † Cited by third party
Publication number Priority date Publication date Assignee Title
JP2008049081A (ja) * 2006-08-28 2008-03-06 Kokuyo Co Ltd 背凭れ、及び椅子
JP2009236267A (ja) * 2008-03-28 2009-10-15 Kokuyo Co Ltd 係合機構
JP7650711B2 (ja) 2021-04-19 2025-03-25 コクヨ株式会社 椅子

Cited By (3)

* Cited by examiner, † Cited by third party
Publication number Priority date Publication date Assignee Title
JP2008049081A (ja) * 2006-08-28 2008-03-06 Kokuyo Co Ltd 背凭れ、及び椅子
JP2009236267A (ja) * 2008-03-28 2009-10-15 Kokuyo Co Ltd 係合機構
JP7650711B2 (ja) 2021-04-19 2025-03-25 コクヨ株式会社 椅子

Also Published As

Publication number Publication date
JP4441373B2 (ja) 2010-03-31

Similar Documents

Publication Publication Date Title
JP4818601B2 (ja) ハンガー付き椅子
JP2007125219A (ja) 椅子の背凭れ装置
EP2491822A1 (en) Chair
JP5007444B2 (ja) 背凭れ、及び椅子
JP2006280454A (ja) ハンガー付き椅子
JP2009112396A (ja) 椅子の背凭れ装置
JP2009011741A (ja) 椅子
JP4441373B2 (ja) 椅子におけるハンガーの取付構造
JP2009172125A (ja) 椅子における背板の取付装置
JP4740626B2 (ja) 椅子におけるハンガーの取付構造
JP4295267B2 (ja) 椅子の肘掛け取付構造
JP2008237400A (ja) 椅子へのオプション部材の取付構造。
JP5259993B2 (ja) 椅子
JP4427178B2 (ja) 椅子における背板の取付構造
JP5778408B2 (ja) 椅子
JP6242701B2 (ja) 椅子
JP5068525B2 (ja) 椅子における背板の取付装置
JP6001895B2 (ja) 椅子の背もたれ取付構造
JP2005245866A (ja) 椅子へのハンガーの取付構造
JP5806086B2 (ja) 椅子
JP2011103932A (ja) 椅子
JP6799371B2 (ja) 椅子
JP6645121B2 (ja) 椅子
JP7116617B2 (ja) 椅子及びそのカバー装置
JP2005245865A (ja) ハンガー付き椅子

Legal Events

Date Code Title Description
A621 Written request for application examination

Free format text: JAPANESE INTERMEDIATE CODE: A621

Effective date: 20070925

A977 Report on retrieval

Free format text: JAPANESE INTERMEDIATE CODE: A971007

Effective date: 20091216

TRDD Decision of grant or rejection written
A01 Written decision to grant a patent or to grant a registration (utility model)

Free format text: JAPANESE INTERMEDIATE CODE: A01

Effective date: 20091222

A01 Written decision to grant a patent or to grant a registration (utility model)

Free format text: JAPANESE INTERMEDIATE CODE: A01

A61 First payment of annual fees (during grant procedure)

Free format text: JAPANESE INTERMEDIATE CODE: A61

Effective date: 20100108

FPAY Renewal fee payment (event date is renewal date of database)

Free format text: PAYMENT UNTIL: 20130115

Year of fee payment: 3

R150 Certificate of patent or registration of utility model

Ref document number: 4441373

Country of ref document: JP

Free format text: JAPANESE INTERMEDIATE CODE: R150

Free format text: JAPANESE INTERMEDIATE CODE: R150

FPAY Renewal fee payment (event date is renewal date of database)

Free format text: PAYMENT UNTIL: 20130115

Year of fee payment: 3

FPAY Renewal fee payment (event date is renewal date of database)

Free format text: PAYMENT UNTIL: 20140115

Year of fee payment: 4

R250 Receipt of annual fees

Free format text: JAPANESE INTERMEDIATE CODE: R250

R250 Receipt of annual fees

Free format text: JAPANESE INTERMEDIATE CODE: R250

R250 Receipt of annual fees

Free format text: JAPANESE INTERMEDIATE CODE: R250

R250 Receipt of annual fees

Free format text: JAPANESE INTERMEDIATE CODE: R250

R250 Receipt of annual fees

Free format text: JAPANESE INTERMEDIATE CODE: R250

R250 Receipt of annual fees

Free format text: JAPANESE INTERMEDIATE CODE: R250

S533 Written request for registration of change of name

Free format text: JAPANESE INTERMEDIATE CODE: R313533

R350 Written notification of registration of transfer

Free format text: JAPANESE INTERMEDIATE CODE: R350

R250 Receipt of annual fees

Free format text: JAPANESE INTERMEDIATE CODE: R250

R250 Receipt of annual fees

Free format text: JAPANESE INTERMEDIATE CODE: R250

R250 Receipt of annual fees

Free format text: JAPANESE INTERMEDIATE CODE: R250

R250 Receipt of annual fees

Free format text: JAPANESE INTERMEDIATE CODE: R250

R250 Receipt of annual fees

Free format text: JAPANESE INTERMEDIATE CODE: R250

LAPS Cancellation because of no payment of annual fees