JP2006036070A - 車体フレーム - Google Patents

車体フレーム Download PDF

Info

Publication number
JP2006036070A
JP2006036070A JP2004220391A JP2004220391A JP2006036070A JP 2006036070 A JP2006036070 A JP 2006036070A JP 2004220391 A JP2004220391 A JP 2004220391A JP 2004220391 A JP2004220391 A JP 2004220391A JP 2006036070 A JP2006036070 A JP 2006036070A
Authority
JP
Japan
Prior art keywords
plate
side member
lower plate
load
body frame
Prior art date
Legal status (The legal status is an assumption and is not a legal conclusion. Google has not performed a legal analysis and makes no representation as to the accuracy of the status listed.)
Granted
Application number
JP2004220391A
Other languages
English (en)
Other versions
JP4542385B2 (ja
Inventor
Yutaka Fukushima
裕 福嶋
Current Assignee (The listed assignees may be inaccurate. Google has not performed a legal analysis and makes no representation or warranty as to the accuracy of the list.)
Press Kogyo Co Ltd
Original Assignee
Press Kogyo Co Ltd
Priority date (The priority date is an assumption and is not a legal conclusion. Google has not performed a legal analysis and makes no representation as to the accuracy of the date listed.)
Filing date
Publication date
Application filed by Press Kogyo Co Ltd filed Critical Press Kogyo Co Ltd
Priority to JP2004220391A priority Critical patent/JP4542385B2/ja
Publication of JP2006036070A publication Critical patent/JP2006036070A/ja
Application granted granted Critical
Publication of JP4542385B2 publication Critical patent/JP4542385B2/ja
Anticipated expiration legal-status Critical
Expired - Fee Related legal-status Critical Current

Links

Images

Landscapes

  • Body Structure For Vehicles (AREA)

Abstract

【課題】 前方下部にフロント・アンダーラン・プロテクタが取り付けられる車体フレームであって、重量及び製造コストを大幅に増加させることなく、フロント・アンダーラン・プロテクタに加えられる荷重に対して高い剛性を有する車体フレームを提供する。
【解決手段】 上板6aと、下板6bと、それら上板6a及び下板6bの一側同士を連結する側板6cとを備えたサイドメンバ6を備え、そのサイドメンバ6の上記下板6bにフロント・アンダーラン・プロテクタが取り付けられる車体フレーム8であって、上記サイドメンバ6における上記フロント・アンダーラン・プロテクタの取付位置に、上記下板6bと上記側板6cとを連結する荷重伝達部材10を設け、上記フロント・アンダーラン・プロテクタを介して上記下板6bに入力された荷重を上記荷重伝達部材10で受けつつ上記側板6cに伝達するようにしたものである。
【選択図】 図1

Description

本発明は、前方下部に車両の潜り込みを防止するためのフロント・アンダーラン・プロテクタが取り付けられる車体フレームに関するものである。
近年では、トラック等の重量級車両において、乗用車等の中軽量級車両との衝突(追突、正面衝突等)時に、それら中軽量級車両が重量級車両の下に潜り込むことを防止して大事故を回避するために、車体フレームの前方下部にフロント・アンダーラン・プロテクタを取り付けることが提案されている(特許文献1参照)。
図6に示すように、フロント・アンダーラン・プロテクタは主に、車両の前方下部に車幅方向に延出させて設けられたFUP本体2と、そのFUP本体2に取り付けられる取付ブラケット部4と、その取付ブラケット部4と車体フレーム80とを連結するサポート5との3種、5部品で構成される。FUP本体2は閉断面形状を有し、車両レイアウト上の制約から長手方向両端部が車両後方側に湾曲した形状を有することが多い。即ち、FUP本体2は、その長手方向中央部に形成され、車両の車幅方向とほぼ平行に延出する直線部3と、直線部3の長手方向両端部に連続して形成され、車両後方側に湾曲する湾曲部7とを有しており、車両のバンパーより前方に突出しないように形成される。
図6に示すように、車両の車体フレーム80は一般的に、上板60aと、下板60bと、それら上板60a及び下板60bの一側同士を連結する側板60cとを備えた断面ほぼコ字状のサイドメンバ60を有しており、フロント・アンダーラン・プロテクタのサポート5は通常、サイドメンバ60の側板60cにボルト等により固定される。
特表2001−515432号公報
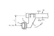
ところで、上述したようにフロント・アンダーラン・プロテクタ(以下FUPと言う)は衝突荷重を支持するものであるので、高い剛性を有することが要求される。そこで、図に示すように、車両衝突時の模擬の一形態として、車両の最外側より所定距離(例えば200mm)内側の位置に所定の荷重P1(例えば車重の50%)を加える試験や、取付ブラケット部4の取付位置に所定の荷重P2(例えば車重の100%)を加える試験等が行われている。例えば、欧州等ではほぼ上記荷重条件で試験を行うことが知られている。
従って、FUP本体2、取付ブラケット部4及びサポート5の板厚や材質等は、荷重P1,P2に十分耐えうるように設計されるのであるが、実際にFUP本体2に荷重P1,P2が加わると、その荷重が取付ブラケット部4及びサポート5を介して車体フレーム80のサイドメンバ60に伝達されるため、サイドメンバ60が変形してしまう場合があった。具体的に説明すると、図7に示すように、FUP本体2はサイドメンバ60よりも所定距離Lだけ下方に配置されるため、FUP本体2に荷重P1又はP2が加わると、サポート5とサイドメンバ60との取付部を中心としたモーメントM(M=L×P1又はP2)が発生し、サイドメンバ60に、モーメントMと同方向に曲げる力(荷重)が作用する。
ここで、図6及び図7に示すように、FUPのサポート5がサイドメンバ60の側板60cに取り付けられる場合は、側板60cの曲げ剛性(モーメントMと同方向への曲げ剛性)が比較的高いため、サイドメンバ60の変形は起こりにくい。ところが、サイドメンバ60の前部においては、側板60cの外面にエアクリーナや、キャブのチルトブラケット等(以下、側板60cに取り付けられるFUP以外の部材を総称して補器類という)が取り付けられることがあり、この場合、図8に示すように、FUPのサポート5をサイドメンバ60の下板60bに取り付けざるを得ない。この結果、上述したモーメントMに伴う荷重を曲げ剛性の低い下板60bで受けることになるため、サイドメンバ60(下板60b)の変形が生じやすい。
このように、FUP本体2に加えられた荷重P1,P2によりサイドメンバ60が変形してしまうと、FUPが有する剛性を発揮できず、結果として要求される特性(剛性・強度)を満たすことができなくなってしまう。
これを解決するには、サイドメンバ60の板厚を増加したり、図9に示すように、サイドメンバ60にクロージング部材60dを取り付けて閉断面化することが考えられるが、いずれの場合も、車体フレーム80の重量及び製造コストの大幅な増加につながるため好ましくない。また、サイドメンバ60を閉断面化してしまうと、サイドメンバ60の側板60cに対して内側からアクセスできなくなるため、サイドメンバ6に対して補器類を後付けできなくなるという問題も生じる。
そこで、本発明の目的は、上記課題を解決し、サイドメンバの下板にフロント・アンダーラン・プロテクタが取り付けられる車体フレームであって、重量及び製造コストを大幅に増加させることなく、フロント・アンダーラン・プロテクタに加えられる荷重に対して高い剛性を有する車体フレームを提供することにある。
上記目的を達成するために本発明は、上板と、下板と、それら上板及び下板の一側同士を連結する側板とを備えたサイドメンバを備え、そのサイドメンバの上記下板にフロント・アンダーラン・プロテクタが取り付けられる車体フレームであって、上記サイドメンバにおける上記フロント・アンダーラン・プロテクタの取付位置に、上記下板と上記側板とを連結する荷重伝達部材を設け、上記フロント・アンダーラン・プロテクタを介して上記下板に入力された荷重を上記荷重伝達部材で受けつつ上記側板に伝達するようにしたものである。
ここで、上記荷重伝達部材は、上記下板の上面に固定される下部ブラケット部と、上記側板の内面に固定される側部ブラケット部と、それら下部ブラケット部と側部ブラケット部とを連結する連結部とを有しても良い。
また、上記荷重伝達部材の上記下部ブラケット部は、上記フロント・アンダーラン・プロテクタを上記下板に取り付けるボルトにより、上記下板に上記フロント・アンダーラン・プロテクタと共に固定されるようにしても良い。
また、上記荷重伝達部材の上記側部ブラケット部は、上記補器類を上記側板に取り付けるボルトにより、上記側板に上記補器類と共に固定されるようにしても良い。
本発明によれば、フロント・アンダーラン・プロテクタを介してサイドメンバの下板に入力された荷重を荷重伝達部材で受けつつ曲げ剛性の高い側板に伝達できるので、下板に発生する応力が分散・低減される。従って、サイドメンバの剛性が従来と比較して高くなり、フロント・アンダーラン・プロテクタの剛性を十分に発揮することができる。更に、本発明によれば車体フレームの板厚を増加する必要はないうえ、荷重伝達部材はフロント・アンダーラン・プロテクタの取付位置にのみ設ければ良いので、車体フレームの重量及び製造コストが大幅に増加することはない。
以下、本発明の好適な一実施形態を添付図面に基づいて詳述する。
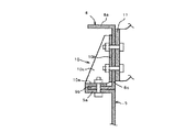
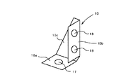
図1は本実施形態に係る車体フレーム及びそれに取り付けられるフロント・アンダーラン・プロテクタの部分斜視図、図2は荷重伝達部材の拡大斜視図、図3はサポート、サイドメンバ及び荷重伝達部材の取付部を示す断面図である。
本実施形態の車体フレーム8の前方下部に取り付けられるフロント・アンダーラン・プロテクタ(以下FUPという)の構造は、図6に示したものと同様である。即ち、FUPは、車体フレーム8の前方下部に車幅方向に延出させて設けられたFUP本体2と、そのFUP本体2の後部に取り付けられた取付ブラケット部4と、その取付ブラケット部4と車体フレーム8とを連結するサポート5とを備える。FUP本体2は閉断面形状を有しており、車両レイアウト上の制約から長手方向両端部が車両後方側に湾曲した形状を有している。即ち、FUP本体2は、その長手方向中央部に形成され、車両の車幅方向とほぼ平行に延出する直線部3と、直線部3の長手方向両端部に連続して形成され、車両後方側に湾曲する湾曲部7とを有しており、車両のバンパーより前方に突出しないようになっている。
図示するように、本実施形態の車体フレーム8は、上板6aと、下板6bと、それら上板6a及び下板6bの一側同士を連結する側板6cとを有する断面ほぼコ字状の鋼板からなるサイドメンバ6を備える。本実施形態ではサイドメンバ6の前部において、側板6cの外面にはエアクリーナ等の補器類がブラケット11(図3参照)を介して取り付けられる。従って、本実施形態では、サポート5のブラケット部5aはサイドメンバ6の下板6bの下面にボルト12(図3参照)により取付られる。なお、本明細書に付随する特許請求の範囲に記載された「補器類」とは、補器類そのものとそれをサイドメンバ6に取り付けるためのブラケット11とを含んだものを意味している。
さて、本実施形態の車体フレーム8は、FUPを介してサイドメンバ6の下板6bに入力された荷重を曲げ剛性の高い側板6cに伝達することで、サイドメンバ6の剛性向上を図ったものである。以下、この点について説明する。
図1に示すように、本実施形態の車体フレーム8は、サイドメンバ6におけるサポート5の取付位置に設けられた二つの荷重伝達部材10,10を備える。具体的に説明すると、サポート5のブラケット部5a及びサイドメンバ6の下板6bにはボルト挿通穴13,14がそれぞれ二個ずつ形成され、図3に示すように、これらボルト挿通穴13,14に挿通されたボルト12と、そのボルト12に螺合するナット15とによりサポート5とサイドメンバ6の下板6bとが固定される。そして、この二つのボルト締結部に対応させて荷重伝達部材10がそれぞれ配置される。
各荷重伝達部材10は、断面コ字状のサイドメンバ6の内側に収容され、サイドメンバ6の下板6bと側板6cとを連結する。即ち、荷重伝達部材10は、図2及び図3に示すように、サイドメンバ6の下板6bとほぼ平行に延出し、下板6bの上面に固定される下部ブラケット部10aと、サイドメンバ6の側板6cとほぼ平行に延出し、側板6cの内面に固定される側部ブラケット部10bと、下部ブラケット部10aからほぼ垂直上方に延出し、下部ブラケット部10aと側部ブラケット部10bとを連結する連結部10cとを備える。
下部ブラケット部10aにはボルト挿通穴17が形成され、このボルト挿通穴17には、上述したサポート5とサイドメンバ6の下板6bとを固定するボルト12が挿通される。つまり、サポート5と、サイドメンバ6の下板6bと、荷重伝達部材10の下部ブラケット部10aとが共通のボルト12及びナット15により一体的に固定される。
側部ブラケット部10bにはボルト挿通穴18が二個形成され、サイドメンバ6の側板6c及び補器類のブラケット11にも、ボルト挿通穴18に対応するボルト挿通穴19,20がそれぞれ二個ずつ形成される。これら側部ブラケット部10b、側板6c及びブラケット11は、ボルト挿通穴18,19,20に挿通された共通のボルト21と、そのボルト21と螺合するナット22とにより一体的に固定される。
連結部10cは略台形の板材からなり、その下端部が下部ブラケット部10aに、その一側(図3中右側部)が側部ブラケット部10bにそれぞれ接続される。本実施形態では荷重伝達部材10は、鋼板のプレス成形品からなる。
次に、本実施形態の車体フレーム8の作用を説明する。
FUP本体2に対して、「発明が解決しようとする課題」の欄で説明した荷重P1,P2(図1参照)や衝突時の荷重が加わると、その荷重が取付ブラケット部4及びサポート5を介して、サイドメンバ6の下板6bにおけるサポート取付位置に伝達される。このとき、FUP本体2がサイドメンバ6よりも下方に位置しているため、サポート5とサイドメンバ6との取付部を中心としたモーメントM(図8参照)が発生し、サイドメンバ6の下板6bに、モーメントMと同方向に曲げる力(荷重)が作用する。
サイドメンバ6の下板6bのサポート取付位置に伝達された荷重は、下板6b上に固定された荷重伝達部材10に伝達され、更にその荷重伝達部材10を介してサイドメンバ6の側板6c及び補器類のブラケット11に伝達される。つまり、サイドメンバ6の下板6bに入力された荷重が、荷重伝達部材10、側板6c及びブラケット11へと伝達・分散される。
このように、本実施形態の車体フレーム8によれば、FUP本体2、取付ブラケット部4及びサポート5を介してサイドメンバ6の下板6bに入力された荷重を荷重伝達部材10で受けることができると共に、その荷重を側板6c及びブラケット11に伝達・分散できるので、下板6bに発生する応力が分散・低減される。従って、サイドメンバ60に入力される荷重を下板60bのみで受けていた従来の車体フレーム(図8参照)と比べて、サイドメンバ6の剛性が著しく向上し、FUPの剛性を十分に発揮させることができる。
特に、本実施形態では荷重伝達部材10の連結部10cが、サイドメンバ6の下板6bに入力される荷重の方向とほぼ平行に延出しているため、この荷重を面内の力として受けることができ、高い剛性を発揮できる。また、下板6bに入力された荷重を、モーメントM(図8参照)と同方向への曲げ剛性が高い側板6c及びブラケット11に伝達するので、より高い剛性を確保できる。
また、本実施形態の車体フレーム8によれば、サイドメンバ6の板厚を増加したり、サイドメンバ6を閉断面化したりする必要はないうえ、荷重伝達部材10はサイドメンバ6におけるサポート取付位置にのみ設ければ良いので、車体フレーム8の重量や製造コストが大幅に増加することはない。
また、サイドメンバ6をオープン断面形状に維持できるので、車体フレーム8(サイドメンバ6)に対して補器類の後付けが可能である。
なお、図4に示すように、荷重伝達部材10をFUPのサポート5と一体的に形成することもできる。つまり、サポート5のブラケット部5aと荷重伝達部材10の下部ブラケット部10aとを連結してそれらの間にサイドメンバ6の下板6bを挿入するスペースを形成し、下部ブラケット部10a、下板6b及びブラケット部5aを共通のボルトにより一体的に取り付けるようにしても良い。
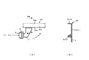
次に、本発明の他の実施形態を図5を用いて説明する。なお、この実施形態において荷重伝達部材以外の構成は上述した図1の実施形態と同様であるので、ここでは荷重伝達部材のみを説明する。
図に示すように、この実施形態の荷重伝達部材30は、サイドメンバ6の内側に収容される断面ほぼコ字状のハウジング31と、そのハウジング31の内側に間隔を隔てて固定された二つの連結部32とを備える。ハウジング31は、サイドメンバ6の上板6aとほぼ平行に延出する上部ブラケット部31aと、サイドメンバ6の下板6bとほぼ平行に延出する下部ブラケット部31bと、それら上部ブラケット部31a及び下部ブラケット部31bの一側同士を連結すると共にサイドメンバ6の側板6cとほぼ平行に延出する側部ブラケット部31cとを有する。
連結部32は略台形の板材からなり、その上端部がハウジング31の上部ブラケット部31aの下面に、下端部が下部ブラケット部31bの上面に、一側(図中右側部)が側部ブラケット部31cの内面に、それぞれ溶接等により固定される。
係る荷重伝達部材30は、サイドメンバ6の内側に収容されると、そのハウジング31の上部ブラケット部31a、下部ブラケット部31b及び側部ブラケット部31cがそれぞれ、サイドメンバ6の上板6aの下面、下板6bの上面及び側板6cの内面に当接する。ハウジング31の下部ブラケット部31bは、図示しないボルト及びナットを介して、サイドメンバ6の下板6bにFUPのサポート5(図3参照)と一体的に固定される。また、ハウジング31の側部ブラケット部31cは、図示しないボルト及びナットを介して、サイドメンバ6の側板6cに補器類のブラケット11(図3参照)と一体的に固定される。
この荷重伝達部材30は、サイドメンバ6における二箇所のサポート取付位置(ボルト締結部)に対して一つの荷重伝達部材30で対応するようにしたものであり、図1に示した荷重伝達部材10,10をハウジング31により一体化したものと言うこともできる。
このような荷重伝達部材30を備えた本実施形態のFUPにおいても、サイドメンバ6の下板6bに伝達された荷重を荷重伝達部材30で受けつつサイドメンバ6の側板6c、上板6a及び補器類のブラケット11に伝達・分散することができるので、サイドメンバ6の剛性が向上する。
特に、サイドメンバ6の下板6bに入力された荷重を、曲げ剛性の高い(断面係数の大きい)ハウジング31でも受けることができるので、図1に示した実施形態よりも更に高い剛性を確保できる。なお、本実施形態において荷重伝達部材30のハウジング31の上部ブラケット部31aを、サイドメンバ6の上板6aに対してボルト等により固定するようにしても良い。
本発明は以上説明した実施形態に限定はされない。
例えば、荷重伝達部材10,30の形状は単なる例として示したものであり、本発明を限定する意図はない。つまり、本発明における荷重伝達部材は、サイドメンバ6の下板6bに伝達される荷重を他の部位(側板6c、ブラケット11、上板6a等)に伝達できる構造であれば、あらゆる形状を取ることができる。
また、上記実施形態では補器類がブラケット11を介してサイドメンバ6に固定される例を示したが、本発明はこの点において限定されず、補器類が直接サイドメンバ6に固定されるタイプにも適用できる。この場合、荷重伝達部材を、サイドメンバ6及び補器類と一体的に固定しても良い。こうすれば、サイドメンバ6に入力された荷重を補器類側へと伝達させることができ、更なる剛性向上が見込める。
また、荷重伝達部材10,30とサイドメンバ6との固定はボルト締結に限定されず、溶接等、あらゆる手段が適用可能である。
本発明の一実施形態に係る車体フレームの部分斜視図である。 荷重伝達部材の斜視図である。 サポート、サイドメンバ及び荷重伝達部材の取付部を示す断面図である。 本発明の他の実施形態に係る車体フレームの部分断面図である。 本発明の他の実施形態に係る車体フレームの部分展開斜視図である。 従来の車体フレームの斜視図である。 FUP本体に加わる荷重により車体フレームに発生するモーメントを説明するための図である。 (a)はサイドメンバの下板にサポートを取り付けた例を示す側面図であり、(b)は図8(a)のVIIIb−VIIIb線断面図である。 サイドメンバを閉断面化した例を示す断面図である。
符号の説明
2 FUP本体
4 取付ブラケット部
5 サポート
6 サイドメンバ
6a 上板
6b 下板
6c 側板
8 車体フレーム
10 荷重伝達部材
30 荷重伝達部材

Claims (4)

  1. 上板と、下板と、それら上板及び下板の一側同士を連結する側板とを有するサイドメンバを備え、そのサイドメンバの上記下板にフロント・アンダーラン・プロテクタが取り付けられる車体フレームであって、
    上記サイドメンバにおける上記フロント・アンダーラン・プロテクタの取付位置に、上記下板と上記側板とを連結する荷重伝達部材を設け、
    上記フロント・アンダーラン・プロテクタを介して上記下板に入力された荷重を上記荷重伝達部材で受けつつ上記側板に伝達するようにした
    ことを特徴とする車体フレーム。
  2. 上記荷重伝達部材は、上記下板の上面に固定される下部ブラケット部と、上記側板の内面に固定される側部ブラケット部と、それら下部ブラケット部と側部ブラケット部とを連結する連結部とを有する
    請求項1記載の車体フレーム。
  3. 上記荷重伝達部材の上記下部ブラケット部は、上記フロント・アンダーラン・プロテクタを上記下板に取り付けるボルトにより、上記下板に上記フロント・アンダーラン・プロテクタと共に固定される
    請求項2記載の車体フレーム。
  4. 上記荷重伝達部材の上記側部ブラケット部は、上記補器類を上記側板に取り付けるボルトにより、上記側板に上記補器類と共に固定される
    請求項2又は3記載の車体フレーム。
JP2004220391A 2004-07-28 2004-07-28 車体フレーム Expired - Fee Related JP4542385B2 (ja)

Priority Applications (1)

Application Number Priority Date Filing Date Title
JP2004220391A JP4542385B2 (ja) 2004-07-28 2004-07-28 車体フレーム

Applications Claiming Priority (1)

Application Number Priority Date Filing Date Title
JP2004220391A JP4542385B2 (ja) 2004-07-28 2004-07-28 車体フレーム

Publications (2)

Publication Number Publication Date
JP2006036070A true JP2006036070A (ja) 2006-02-09
JP4542385B2 JP4542385B2 (ja) 2010-09-15

Family

ID=35901521

Family Applications (1)

Application Number Title Priority Date Filing Date
JP2004220391A Expired - Fee Related JP4542385B2 (ja) 2004-07-28 2004-07-28 車体フレーム

Country Status (1)

Country Link
JP (1) JP4542385B2 (ja)

Cited By (5)

* Cited by examiner, † Cited by third party
Publication number Priority date Publication date Assignee Title
JP2014113925A (ja) * 2012-12-10 2014-06-26 Volvo Lastvagnar Aktiebolag 車両のもぐり込み防止装置
JP2014136521A (ja) * 2013-01-17 2014-07-28 Unipres Corp フロントアンダーランプロテクタ
CN104843074A (zh) * 2014-03-21 2015-08-19 北汽福田汽车股份有限公司 汽车底盘防护装置
JP2017121816A (ja) * 2016-01-04 2017-07-13 いすゞ自動車株式会社 スタビライザ支持部材および車両
JP2021154973A (ja) * 2020-03-30 2021-10-07 いすゞ自動車株式会社 アンダーランプロテクタ支持構造

Citations (6)

* Cited by examiner, † Cited by third party
Publication number Priority date Publication date Assignee Title
JPS6456368U (ja) * 1987-10-05 1989-04-07
JPH02151579A (ja) * 1988-11-30 1990-06-11 Mitsubishi Motors Corp トラックの後輪懸架スプリング取付装置
JPH0535549U (ja) * 1991-10-21 1993-05-14 トヨタ車体株式会社 車体端部の保護安全装置
JPH08324364A (ja) * 1995-06-02 1996-12-10 Nissan Diesel Motor Co Ltd 車両のフロントアンダランプロテクタ装置
JP2003072493A (ja) * 2001-09-06 2003-03-12 Hino Motors Ltd アンダーランプロテクタ
JP2003276535A (ja) * 2002-03-25 2003-10-02 Isuzu Motors Ltd プロテクタ部材の取付構造

Patent Citations (6)

* Cited by examiner, † Cited by third party
Publication number Priority date Publication date Assignee Title
JPS6456368U (ja) * 1987-10-05 1989-04-07
JPH02151579A (ja) * 1988-11-30 1990-06-11 Mitsubishi Motors Corp トラックの後輪懸架スプリング取付装置
JPH0535549U (ja) * 1991-10-21 1993-05-14 トヨタ車体株式会社 車体端部の保護安全装置
JPH08324364A (ja) * 1995-06-02 1996-12-10 Nissan Diesel Motor Co Ltd 車両のフロントアンダランプロテクタ装置
JP2003072493A (ja) * 2001-09-06 2003-03-12 Hino Motors Ltd アンダーランプロテクタ
JP2003276535A (ja) * 2002-03-25 2003-10-02 Isuzu Motors Ltd プロテクタ部材の取付構造

Cited By (11)

* Cited by examiner, † Cited by third party
Publication number Priority date Publication date Assignee Title
JP2014113925A (ja) * 2012-12-10 2014-06-26 Volvo Lastvagnar Aktiebolag 車両のもぐり込み防止装置
JP2014136521A (ja) * 2013-01-17 2014-07-28 Unipres Corp フロントアンダーランプロテクタ
CN104843074A (zh) * 2014-03-21 2015-08-19 北汽福田汽车股份有限公司 汽车底盘防护装置
CN104843074B (zh) * 2014-03-21 2017-07-11 北汽福田汽车股份有限公司 汽车底盘防护装置
JP2017121816A (ja) * 2016-01-04 2017-07-13 いすゞ自動車株式会社 スタビライザ支持部材および車両
WO2017119349A1 (ja) * 2016-01-04 2017-07-13 いすゞ自動車株式会社 スタビライザ支持部材および車両
CN108473161A (zh) * 2016-01-04 2018-08-31 五十铃自动车株式会社 稳定器支撑部件及车辆
CN108473161B (zh) * 2016-01-04 2020-11-17 五十铃自动车株式会社 稳定器支撑部件及车辆
JP2021154973A (ja) * 2020-03-30 2021-10-07 いすゞ自動車株式会社 アンダーランプロテクタ支持構造
WO2021200422A1 (ja) * 2020-03-30 2021-10-07 いすゞ自動車株式会社 アンダーランプロテクタ支持構造
CN115315378A (zh) * 2020-03-30 2022-11-08 五十铃自动车株式会社 防钻入保护装置支承结构

Also Published As

Publication number Publication date
JP4542385B2 (ja) 2010-09-15

Similar Documents

Publication Publication Date Title
JP3873539B2 (ja) インストルメントパネルのリインホースメント
US8002064B2 (en) Frame structure of automotive vehicle
JP5201864B2 (ja) 車体構造
JP4751620B2 (ja) 車体の前部構造
US7900983B2 (en) Underrun protector mounting structure of vehicle
US20020153749A1 (en) Floor panel assembly for motor vehicle, having improved strength against side impact
JP5494942B2 (ja) 車両の前部構造
WO2006075804A1 (ja) 車体の前部構造
JP2017100692A (ja) 車両の物品支持構造
CN100408409C (zh) 汽车下部车身结构
JP4542385B2 (ja) 車体フレーム
US20060001253A1 (en) Retractor fixing structure of rear seatbelt system
WO2018155152A1 (ja) 車両用補機の配設構造
JP2005126048A (ja) 車両のリアサイド部構造
US20210291613A1 (en) Vehicle
JP2006137374A (ja) 車両前部構造
JP2005231507A (ja) 車両用強度部材構造
KR101005461B1 (ko) 차량용 크래쉬 박스
JP5049252B2 (ja) 車体強度部材構造
CN213138935U (zh) 一种横梁结构及车辆
JP2018188018A (ja) プロテクタ取り付け構造
CN117341830B (zh) 集成式前车身、车架及车辆
JP2009184619A (ja) 車体の前部構造
JP2005262983A (ja) アンダーランプロテクタの取付構造
CN119858602A (zh) 车身的下部结构

Legal Events

Date Code Title Description
A621 Written request for application examination

Free format text: JAPANESE INTERMEDIATE CODE: A621

Effective date: 20070419

A131 Notification of reasons for refusal

Free format text: JAPANESE INTERMEDIATE CODE: A131

Effective date: 20091020

A977 Report on retrieval

Free format text: JAPANESE INTERMEDIATE CODE: A971007

Effective date: 20091022

A521 Request for written amendment filed

Free format text: JAPANESE INTERMEDIATE CODE: A523

Effective date: 20091218

TRDD Decision of grant or rejection written
A01 Written decision to grant a patent or to grant a registration (utility model)

Free format text: JAPANESE INTERMEDIATE CODE: A01

Effective date: 20100622

A01 Written decision to grant a patent or to grant a registration (utility model)

Free format text: JAPANESE INTERMEDIATE CODE: A01

A61 First payment of annual fees (during grant procedure)

Free format text: JAPANESE INTERMEDIATE CODE: A61

Effective date: 20100625

R150 Certificate of patent or registration of utility model

Ref document number: 4542385

Country of ref document: JP

Free format text: JAPANESE INTERMEDIATE CODE: R150

Free format text: JAPANESE INTERMEDIATE CODE: R150

FPAY Renewal fee payment (event date is renewal date of database)

Free format text: PAYMENT UNTIL: 20130702

Year of fee payment: 3

R250 Receipt of annual fees

Free format text: JAPANESE INTERMEDIATE CODE: R250

R250 Receipt of annual fees

Free format text: JAPANESE INTERMEDIATE CODE: R250

R250 Receipt of annual fees

Free format text: JAPANESE INTERMEDIATE CODE: R250

R250 Receipt of annual fees

Free format text: JAPANESE INTERMEDIATE CODE: R250

R250 Receipt of annual fees

Free format text: JAPANESE INTERMEDIATE CODE: R250

R250 Receipt of annual fees

Free format text: JAPANESE INTERMEDIATE CODE: R250

R250 Receipt of annual fees

Free format text: JAPANESE INTERMEDIATE CODE: R250

R250 Receipt of annual fees

Free format text: JAPANESE INTERMEDIATE CODE: R250

R250 Receipt of annual fees

Free format text: JAPANESE INTERMEDIATE CODE: R250

R250 Receipt of annual fees

Free format text: JAPANESE INTERMEDIATE CODE: R250

R250 Receipt of annual fees

Free format text: JAPANESE INTERMEDIATE CODE: R250

LAPS Cancellation because of no payment of annual fees