JP2005299923A - 転動装置 - Google Patents

転動装置 Download PDF

Info

Publication number
JP2005299923A
JP2005299923A JP2005028974A JP2005028974A JP2005299923A JP 2005299923 A JP2005299923 A JP 2005299923A JP 2005028974 A JP2005028974 A JP 2005028974A JP 2005028974 A JP2005028974 A JP 2005028974A JP 2005299923 A JP2005299923 A JP 2005299923A
Authority
JP
Japan
Prior art keywords
rolling
lubricating oil
supercritical fluid
rolling device
inner member
Prior art date
Legal status (The legal status is an assumption and is not a legal conclusion. Google has not performed a legal analysis and makes no representation as to the accuracy of the status listed.)
Pending
Application number
JP2005028974A
Other languages
English (en)
Inventor
Shunichi Yabe
俊一 矢部
Takeshi Murakami
豪 村上
Toshimi Takagi
敏己 高城
Current Assignee (The listed assignees may be inaccurate. Google has not performed a legal analysis and makes no representation or warranty as to the accuracy of the list.)
NSK Ltd
Original Assignee
NSK Ltd
Priority date (The priority date is an assumption and is not a legal conclusion. Google has not performed a legal analysis and makes no representation as to the accuracy of the date listed.)
Filing date
Publication date
Application filed by NSK Ltd filed Critical NSK Ltd
Priority to JP2005028974A priority Critical patent/JP2005299923A/ja
Publication of JP2005299923A publication Critical patent/JP2005299923A/ja
Pending legal-status Critical Current

Links

Images

Classifications

    • FMECHANICAL ENGINEERING; LIGHTING; HEATING; WEAPONS; BLASTING
    • F16ENGINEERING ELEMENTS AND UNITS; GENERAL MEASURES FOR PRODUCING AND MAINTAINING EFFECTIVE FUNCTIONING OF MACHINES OR INSTALLATIONS; THERMAL INSULATION IN GENERAL
    • F16CSHAFTS; FLEXIBLE SHAFTS; ELEMENTS OR CRANKSHAFT MECHANISMS; ROTARY BODIES OTHER THAN GEARING ELEMENTS; BEARINGS
    • F16C33/00Parts of bearings; Special methods for making bearings or parts thereof
    • F16C33/30Parts of ball or roller bearings
    • F16C33/37Loose spacing bodies
    • F16C33/3706Loose spacing bodies with concave surfaces conforming to the shape of the rolling elements, e.g. the spacing bodies are in sliding contact with the rolling elements
    • FMECHANICAL ENGINEERING; LIGHTING; HEATING; WEAPONS; BLASTING
    • F16ENGINEERING ELEMENTS AND UNITS; GENERAL MEASURES FOR PRODUCING AND MAINTAINING EFFECTIVE FUNCTIONING OF MACHINES OR INSTALLATIONS; THERMAL INSULATION IN GENERAL
    • F16CSHAFTS; FLEXIBLE SHAFTS; ELEMENTS OR CRANKSHAFT MECHANISMS; ROTARY BODIES OTHER THAN GEARING ELEMENTS; BEARINGS
    • F16C33/00Parts of bearings; Special methods for making bearings or parts thereof
    • F16C33/30Parts of ball or roller bearings
    • F16C33/38Ball cages
    • F16C33/44Selection of substances

Landscapes

  • Engineering & Computer Science (AREA)
  • General Engineering & Computer Science (AREA)
  • Mechanical Engineering (AREA)
  • Rolling Contact Bearings (AREA)
  • Transmission Devices (AREA)
  • Bearings For Parts Moving Linearly (AREA)

Abstract

【課題】 樹脂製の構成部品を有する転動装置であって、一般的な潤滑剤が使用できないような場合でも優れた潤滑性及び耐久性を有する転動装置を提供する。
【解決手段】 リニアガイド装置100は、案内レール11と、スライダ12と、ボール軌道溝11a,12aで形成されたボール転動路15内に配された複数のボール13と、隣接する各ボール13の間に介装されたセパレータ18と、で構成されている。
セパレータ18はポリエーテルエーテルケトン樹脂で構成されているとともに、その表面には、PFPEを含有する超臨界二酸化炭素を接触させ、浸透したPFPE及び超臨界二酸化炭素のうち超臨界二酸化炭素のみを除去する改質処理が施されている。
【選択図】 図1

Description

本発明は、転がり軸受,リニアガイド装置,ボールねじ等の転動装置に関する。
液晶パネル製造設備,半導体製造設備等においては、転動装置が真空環境下で使用されるため、転動装置の潤滑を一般的な潤滑剤を用いて行うことは困難であった。そこで、軌道面や転動体の転動面に特殊な潤滑膜を被覆して潤滑を行う転動装置が提案されている(特許文献1,2を参照)。この潤滑膜は、官能基を有する含フッ素重合体とパーフルオロポリエーテル(以降は「PFPE」と記す)とを含有する被膜である。
含フッ素重合体が有するカルボキシル基等の官能基は、軌道面や転動体の転動面がステンレス鋼等の金属である場合には、軌道面や転動体の転動面に存在する酸化物層の水酸基に化学吸着することができるので、含フッ素重合体はPFPEとともに軌道面や転動体の転動面に密着する。このため、含フッ素重合体とPFPEとで構成される潤滑膜は、優れた密着性を有することとなる。
また、宇宙環境下や真空環境下で好適に使用できる転がり軸受が、特許文献3に開示されている。この転がり軸受は、連通気孔を有するポリイミド多孔質体で構成され、アルキル化シクロペンタンが含浸された保持器を備えている。
炭化水素系潤滑油はフッ素油と比べて潤滑性が優れているので、宇宙環境で使用される人工衛星等において高面圧下で使用されても、焼付きが生じにくい。よって、潤滑性に優れるアルキル化シクロペンタンを含浸させた保持器を備える特許文献3に記載の転がり軸受は、高面圧下における耐久性に優れていた。
特開2002−357221号公報 特開2002−357225号公報 特開平10−238545号公報
しかしながら、含フッ素重合体が有する官能基は、樹脂に対してはほとんど化学吸着することができないので、金属と同レベルの密着性を有する潤滑膜を樹脂に形成することは困難であった。よって、転動装置を構成する部品(以降は構成部品と記す)のうち樹脂製のもの(例えば、転がり軸受の樹脂製保持器やリニアガイド装置の樹脂製エンドキャップ)については、金属製の構成部品と同レベルの密着性を有する潤滑膜を被覆することは困難であった。そのため、樹脂製の構成部品を有する転動装置は、真空環境下等のような一般的な潤滑剤が使用できないような環境下においては、潤滑不足となって耐久性が不十分となるおそれがあった。
また、特許文献3に記載の転がり軸受は、連通気孔中に含浸されたアルキル化シクロペンタンが転がり軸受の回転による遠心力等で枯渇すると、多孔質体であるために強度が低い保持器に亀裂等の損傷が生じるおそれがあった。
そこで、本発明は上記のような従来技術が有する問題点を解決し、樹脂製の構成部品を有する転動装置であって、一般的な潤滑剤が使用できないような場合でも優れた潤滑性及び耐久性を有する転動装置を提供することを課題とする。
前記課題を解決するため、本発明は次のような構成からなる。すなわち、本発明に係る請求項1の転動装置は、外面に軌道面を有する内方部材と、該内方部材の軌道面に対向する軌道面を有し前記内方部材の外方に配置された外方部材と、前記両軌道面間に転動自在に配置された複数の転動体と、を備える転動装置において、構成部品のうち少なくとも1つは、樹脂で構成されているとともに、潤滑油を含有する超臨界流体を接触させ、浸透した潤滑油及び超臨界流体のうち超臨界流体のみを除去する改質処理が施されていることを特徴とする。
また、本発明に係る請求項2の転動装置は、外面に軌道面を有する内方部材と、該内方部材の軌道面に対向する軌道面を有し前記内方部材の外方に配置された外方部材と、前記両軌道面間に転動自在に配置された複数の転動体と、を備える転動装置において、前記内方部材及び前記外方部材の少なくとも一方は、樹脂で構成されているとともに、潤滑油を含有する超臨界流体を接触させ、浸透した潤滑油及び超臨界流体のうち超臨界流体のみを除去する改質処理が施されていることを特徴とする。
さらに、本発明に係る請求項3の転動装置は、外面に軌道面を有する内方部材と、該内方部材の軌道面に対向する軌道面を有し前記内方部材の外方に配置された外方部材と、前記両軌道面間に転動自在に配置された複数の転動体と、前記各転動体の間に介装されたセパレータと、を備える転動装置において、前記セパレータは、樹脂で構成されているとともに、潤滑油を含有する超臨界流体を接触させ、浸透した潤滑油及び超臨界流体のうち超臨界流体のみを除去する改質処理が施されていることを特徴とする。
さらに、本発明に係る請求項4の転動装置は、外面に軌道面を有する内方部材と、該内方部材の軌道面に対向する軌道面を有し前記内方部材の外方に配置された外方部材と、前記両軌道面間に転動自在に配置された複数の転動体と、前記両軌道面間に前記転動体を保持する保持器と、を備える転動装置において、前記保持器は、樹脂で構成されているとともに、潤滑油を含有する超臨界流体を接触させ、浸透した潤滑油及び超臨界流体のうち超臨界流体のみを除去する改質処理が施されていることを特徴とする。
さらに、本発明に係る請求項5の転動装置は、請求項1〜4のいずれか一項に記載の転動装置において、前記超臨界流体が超臨界二酸化炭素であることを特徴とする。
さらに、本発明に係る請求項6の転動装置は、請求項1〜5のいずれか一項に記載の転動装置において、前記潤滑油がパーフルオロポリエーテルであることを特徴とする。
さらに、本発明に係る請求項7の転動装置は、請求項1〜5のいずれか一項に記載の転動装置において、前記潤滑油がアルキル化シクロペンタンであることを特徴とする。
前述のような改質処理を樹脂製の構成部品に施すと、構成部品の表面部分に潤滑油が浸透し、潤滑性が付与される。その結果、転動装置の潤滑性及び耐久性が優れたものとなる。また、構成部品に潤滑油が浸透していると、潤滑剤との親和性(濡れ性)が良好であるので、転動装置に潤滑剤を使用した場合には、潤滑性がより向上し耐久性がより優れたものとなる。
超臨界流体を除去した後の構成部品中の潤滑油の含有率は、0.05質量%以上2質量%以下が好ましく、0.1質量%以上1質量%以下がより好ましく、0.3質量%以上0.5質量%以下がさらに好ましい。
なお、本発明は種々の転動装置に適用することができる。例えば、転がり軸受,ボールねじ,リニアガイド装置,直動ベアリング,XYテーブル等である。
また、本発明における内方部材とは、転動装置が転がり軸受の場合には内輪、同じくボールねじの場合にはねじ軸、同じくリニアガイド装置の場合には案内レール、同じく直動ベアリングの場合には軸をそれぞれ意味する。また、外方部材とは、転動装置が転がり軸受の場合には外輪、同じくボールねじの場合にはナット、同じくリニアガイド装置の場合にはスライダ、同じく直動ベアリングの場合には外筒をそれぞれ意味する。
さらに、本発明における構成部品とは、転動装置を構成する部品を意味し、例えば内方部材,外方部材,転動体,セパレータ,保持器,密封装置があげられる。
本発明の転動装置は、樹脂製の構成部品に潤滑性を付与する改質処理が施されているので、潤滑性及び耐久性が優れている。
本発明に係る転動装置の実施の形態を、図面を参照しながら詳細に説明する。
〔改質処理について〕
転動装置の樹脂製構成部品の改質処理は、浸漬処理工程と蒸発除去工程とからなる。浸漬処理工程は、PFPE,アルキル化シクロペンタン等の潤滑油を含有する超臨界二酸化炭素の中に構成部品を浸漬する工程である。超臨界状態の二酸化炭素は潤滑油と相溶状態となり、構成部品の表面から内部へと浸透する。
具体例をあげて説明すると、圧力容器内に構成部品及び潤滑油を入れ、さらに二酸化炭素を内部圧力が臨界圧力以上になるまで充填する。そして、内部圧力を減圧バルブ等で臨界圧力以上に維持しながら、圧力容器内の温度を臨界温度以上に上昇させる。なお、超臨界二酸化炭素とは、臨界温度以上の温度を有し且つ臨界圧力以上の圧力を有する領域にある二酸化炭素である。ちなみに、二酸化炭素の臨界温度は31℃で、臨界圧力は72.8気圧(7.38MPa)である。
浸漬処理工程における浸漬温度は、二酸化炭素の臨界温度以上であり、より好ましくは二酸化炭素の臨界温度以上且つ構成部品を構成する樹脂のガラス転移温度未満である。樹脂はガラス転移温度を超える温度になると、分子主鎖のミクロブラウン運動が可能になるまで自由体積が増加し、超臨界状態の二酸化炭素は構成部品内部まで、より浸透しやすくなる。そうすると、樹脂中にあらかじめ添加されている熱安定剤等の各種添加剤が逆に抽出されてしまうことも考えられ、その結果、物性が低下するおそれがあるので好ましくない。
また、浸漬処理工程における圧力は二酸化炭素の臨界圧力以上であり、より高い圧力である方が、超臨界二酸化炭素の樹脂への浸透度が向上し、改質の効率が向上するため好ましい。ただし、浸漬処理工程に使用する装置(以降は浸漬処理装置と記す)を高圧に耐え得るようにする必要が生じるため、該浸漬処理装置が大掛かりで高額なものになってしまう。したがって、浸漬処理装置の操作性や設備費等を考慮すると、圧力は100気圧以上300気圧以下(10.13MPa以上30.4MPa以下)の範囲が適当である。
さらに、浸漬処理工程における浸漬時間は特に限定されるものではなく、構成部品の厚さや大きさ等を考慮して適宜設定される。
さらに、超臨界二酸化炭素中の潤滑油の濃度は、二酸化炭素の超臨界状態において概ね飽和溶解度となるように調整される。
次に、蒸発除去工程について説明する。蒸発除去工程に使用する装置(以降は蒸発除去装置と記す)内の温度を、構成部品を構成する樹脂のガラス転移温度未満とした後、二酸化炭素を徐々に排出することにより蒸発除去装置内の圧力をゆっくり下げて、大気圧に戻す。これにより、構成部品の中に浸透した潤滑油及び二酸化炭素のうち二酸化炭素のみが蒸発して除去され、潤滑油は構成部品中に残される。
蒸発除去装置内のほぼ全ての二酸化炭素が蒸発すると、蒸発除去装置内には潤滑油のみが残り、構成部品が潤滑油に浸漬している状態となるので、この構成部品を潤滑油の中から取り出す。このとき、必要に応じて、構成部品の表面に付着した潤滑油を洗浄により除去してもよい。
なお、蒸発除去装置内の温度は、構成部品を構成する樹脂のガラス転移温度未満とすることが好ましい。ガラス転移温度以上であると、構成部品の中から二酸化炭素が除去される際に、発泡が生じる可能性が高くなる。
以上にような2つの工程によって、構成部品の内部に潤滑油の分子が浸透し、樹脂の分子間の自由体積に固定化される。このことにより、高温,高圧等の条件下で構成部品を潤滑油に浸漬する処理、いわゆる単純な含油処理とは異なり、構成部品の表面近傍に限らず、比較的内部にまで潤滑油が浸透して固定される。元々有していた自由体積に潤滑油が固定されるから、潤滑油が外部に滲出することはほとんどなく、改質効果が半永久的に持続すると同時に、機械的強度の低下を引き起こすおそれがほとんどない。なお、本発明の構成部品の改質処理は、構成部品の表面に限らず、内部まで改質することが可能であるが、表面を改質する効果が最も大きい。
このような改質処理により、構成部品に潤滑油が浸透するので、構成部品に潤滑性が付与される。また、潤滑油の浸透により構成部品と潤滑剤との親和性(濡れ性)が向上するので、転動装置に潤滑剤を使用した場合には、潤滑剤の潤滑効果が向上する。
〔超臨界流体について〕
本発明においては、種々の超臨界流体を用いることができる。例えば、二酸化炭素,二酸化窒素,アンモニア,エタン,プロパン,エチレン,メタノール,エタノール等があげられる。ただし、二酸化炭素は比較的穏和な条件で超臨界流体となり、しかも毒性がなく不燃性であるため最も好ましい。
〔潤滑油について〕
本発明において使用可能な潤滑油の種類は、特に限定されるものではない。ただし、転動装置が真空環境下で使用される場合は、蒸気圧の低い潤滑油が好ましいので、20℃における蒸気圧が1.3×10-5Pa以下の潤滑油がより好ましく、1.3×10-6Pa以下の潤滑油がさらに好ましい。
このような潤滑油としては、例えば、平均分子量が4000〜10000程度のパーフルオロポリエーテルがあげられる。また、トリ(2−オクチルドデシル)シクロペンタン,トリ−n−オクチルシクロペンタン,テトラ−n−オクチルシクロペンタン,ペンタ−n−オクチルシクロペンタン,トリ−n−ノニルシクロペンタン,ペンタ−n−デシルシクロペンタン,ペンタ−n−ドデシルシクロペンタン,テトラ−2−エチルヘキシルシクロペンタン等のアルキル化シクロペンタンや、ペンタフェニルエーテル,テトラフェニルエーテル,アルキルテトラフェニルエーテル等のポリフェニルエーテル等も好適である。ただし、超臨界二酸化炭素に対する相溶性を考慮するとパーフルオロポリエーテルが好ましく、潤滑性及び低蒸気圧性を考慮するとアルキル化シクロペンタンが最も好ましい。
また、転動装置が真空環境以外の環境下で使用される場合は、一般的な潤滑油が問題なく使用可能である。例えば、鉱油,ポリα−オレフィン油,ポリフェニルエーテル油(例えばアルキルジフェニルエーテル油),芳香族又は脂肪族カルボン酸系エステル油,ポリオールエステル油(例えばペンタエリスリトールテトラエステル)が好適である。
なお、使用する潤滑油の種類は、樹脂製の構成部品を潤滑する際に用いる潤滑剤中の潤滑油の種類に合わせて選択するとよい。そうすれば、構成部品と潤滑剤との濡れ性が、より良好となる。
〔樹脂について〕
本発明において構成部品を構成する樹脂の種類は特に限定されるものではないが、改質処理を好適に適用可能な樹脂としては、蒸発除去工程における構成部品の発泡を防止するために、ガラス転移温度(Tg)が超臨界流体の臨界温度よりも高いものが好ましい。また、本発明の転動装置は真空環境で使用される場合があることから、アウトガスの発生が少ない樹脂が好ましい。
転動装置が真空環境で使用される場合に好ましい樹脂としては、ポリエーテルエーテルケトン樹脂(PEEK),ポリイミド樹脂(PI),ポリアミドイミド樹脂(PAI),ポリフェニレンサルファイド樹脂(PPS),フェノール樹脂,フッ素樹脂等があげられる。このフッ素樹脂の種類は特に限定されるものではなく、テトラフルオロエチレン・パーフルオロアルキルビニルエーテル共重合体(PFA),テトラフルオロエチレン・ヘキサフルオロプロピレン共重合体(FEP),テトラフルオロエチレン・エチレン共重合体(ETFE),ポリビニリデンフルオライド(PVDF),ポリクロロトリフルオロエチレン(PCTFE)等があげられる。
また、転動装置が真空環境以外の環境下で使用される場合は、ガラス転移温度が超臨界流体の臨界温度よりも高いものであれば、樹脂の種類は特に限定されるものではなく、一般的な汎用樹脂も使用可能である。例えば、ポリエチレンテレフタレート(Tg69℃),ポリブチレンフタレート(Tg45℃)等のポリエステル系樹脂や、ポリアミド6(Tg53℃),ポリアミド66(Tg57℃)等のポリアミド系樹脂があげられる。また、ポリスチレン(Tg100℃),ポリカーボネート(Tg145℃)等でもよい。
これらの樹脂は、ガラス繊維,カーボン繊維,アラミド繊維等の繊維状充填剤や、チタン酸カリウムウィスカー,ホウ酸アルミニウムウィスカー等のウィスカーを含有していても差し支えない。また、熱安定剤,酸化防止剤等の添加剤を含有していてもよい。ただし、前述の汎用樹脂は前述の添加剤を含有するものが多く、添加剤は改質処理の条件によっては抽出されることも予想されるので、処理温度や処理圧力には注意を要する。
次に、前述のようにして改質処理を施した樹脂製部品を、リニアガイド装置,ボールねじ,転がり軸受の構成部品として使用した例を説明する。
〔第一実施形態〕
図1は、本発明に係る転動装置の一実施形態であるリニアガイド装置の構造を示す部分平面図である。ただし、該平面図においては、要部を破断して示してある。また、図2は、図1のリニアガイド装置のセパレータ及びボールの拡大図である。ただし、該拡大図においては、セパレータを破断して示してある。
図1のリニアガイド装置100は、軸方向に延びる断面略角形の案内レール(内方部材)11と、この案内レール11に組み付けられた断面略コ字状のスライダ(外方部材)12と、案内レール11の両側面に備えられたボール軌道溝(軌道面)11aとスライダ12の両袖部内側に備えられたボール軌道溝(軌道面)12aとで形成されたボール転動路15内に転動自在に配された複数のボール(転動体)13と、で構成されている。
また、スライダ12は、スライダ本体12Aと、スライダ本体12Aの軸方向の両端部に着脱可能に取り付けられたエンドキャップ12B,12Bと、で構成されている。このエンドキャップ12B内には、ボール転動路15の一端から転動してくるボール13を他端に戻すボール循環路16とボール転動路15とを連通させる略U字状のボール戻し通路17が備えられており、ボール13がボール循環路16を経てボール転動路15を繰返し転動できるようになっている。そして、ボール13のボール転動路15に沿う転がり運動を介して、スライダ12が案内レール11の長手方向に直線運動を行うようになっている。
このリニアガイド装置100においては、図2に示すように隣接する各ボール13の間にセパレータ18が介装されており、各ボール13の間の競り合いが抑制されるようになっている。このセパレータ18は、図2に示すように略円柱形状を有しており、ボール13との接触面である両底面18a,18aは図2に示すように凹面状とされている。凹面状であると、ボール13との接触面積が大きくなるので、接触面圧が軽減される。この凹面18aの断面形状は、ゴシックアーチ形状(中心の異なる2つの同一円弧を組合せた略V字状)でもよいし、円弧状でもよい。なお、ボール13との接触面である両底面18a,18aは、平面状であってもよい。
リニアガイド装置100の構成部品のうちスライダ本体12Aはマルテンサイト系ステンレス鋼SUS440Cで構成され、エンドキャップ12Bはオーステナイト系ステンレス鋼SUS304で構成されている。そして、スライダ本体12Aに備えられたボール軌道溝12a及びボール循環路16の表面、並びに、エンドキャップ12Bに備えられたボール戻し通路17の表面には、官能基を有する含フッ素重合体とPFPEとを含有する潤滑膜(膜厚は1.5μm)が被覆されている。この官能基を有する含フッ素重合体は、カルボキシル基を有するパーフルオロポリエーテルであり、デュポン社製のクライトックス157FSHである。また、PFPEはダイキン工業株式会社製のデムナムS−200である。
また、リニアガイド装置100の構成部品のうち案内レール11及びボール13は、マルテンサイト系ステンレス鋼SUS440Cで構成されている。そして、案内レール11に備えられたボール軌道溝11aの表面、及び、ボール13の表面には、前述と同様の潤滑膜が被覆されている。
さらに、セパレータ18はポリエーテルエーテルケトン樹脂(ビクトレックス社製PEEK450G)で構成されており、その表面には以下のような改質処理が施されている。すなわち、潤滑油(ダイキン工業株式会社製のデムナムS−200)を含有する超臨界二酸化炭素を接触させ、浸透した潤滑油及び超臨界二酸化炭素のうち超臨界二酸化炭素のみを除去する処理である。
ここで、前記改質処理の詳細な手順を説明する。まず、耐圧硝子工業株式会社製の超臨界二酸化炭素試験装置の圧力容器内に、セパレータと数mlのPFPEとを装入した。さらに、圧力容器の内部圧力が15MPaになるまで、二酸化炭素を液化二酸化炭素ボンベから圧力容器にポンプを使用して充填した。次に、減圧バルブを用いて圧力容器の内部圧力を15MPaに保ちながら、圧力容器の内部温度を120℃に昇温させた。120℃で30分間保持した後、室温まで放冷し、内部圧力を大気圧に戻して圧力容器からセパレータを取り出した。
このような改質処理により、セパレータ18の表面層には潤滑油(PFPE)が浸透し、潤滑性が付与される。そして、改質処理が施されたセパレータ18の表面には、前述と同様の潤滑膜がさらに被覆されている。前述のような改質処理により、セパレータ18に潤滑性が付与されるので、リニアガイド装置100の潤滑性及び耐久性が向上する。さらに、潤滑剤(潤滑膜)との親和性(濡れ性)が良好となるので、リニアガイド装置100の潤滑性がより向上し耐久性がより優れたものとなる。
なお、前述のような官能基を有する含フッ素重合体とPFPEとを含有する潤滑膜の代わりに、アルキル化シクロペンタンであるトリ(2−オクチルドデシル)シクロペンタン(Nye Lubricants社製のNye Synthetic Oil 2001A)を含有する潤滑膜(膜厚は5μm)を被覆してもよい。
また、前述の改質処理においては潤滑油としてPFPEを用いたが、トリ(2−オクチルドデシル)シクロペンタン(Nye Lubricants社製のNye Synthetic Oil 2001A)を用いてもよい。この場合の改質処理の手順は、以下の通りである。
まず、耐圧硝子工業株式会社製の超臨界二酸化炭素試験装置の圧力容器内に、セパレータと数mlのトリ(2−オクチルドデシル)シクロペンタンとを装入した。さらに、圧力容器の内部圧力が15MPaになるまで、液化二酸化炭素ボンベから圧力容器に二酸化炭素をポンプを使用して充填した。次に、圧力容器の内部温度を120℃に昇温させたら、液化二酸化炭素ボンベから圧力容器に二酸化炭素を内部圧力が25MPaになるまでポンプを使用して充填した。120℃,25MPaで30分間保持した後、室温まで放冷し、内部圧力を大気圧に戻して圧力容器からセパレータを取り出した。
〔第二実施形態〕
図3は、本発明に係る転動装置の別の実施形態であるボールねじの構造を示す斜視図である。ただし、該斜視図においては、要部を破断して示してある。
図3のボールねじ200は、外周面に螺旋状のねじ溝(軌道面)21aを有するねじ軸(内方部材)21と、このねじ溝21aと対向するねじ溝(軌道面)22aを内周面に有するナット(外方部材)22と、両ねじ溝21a,22aの間に形成されたボール転動路に転動自在に配された複数のボール(転動体)23と、で構成されている。ナット22には、前記ボール転動路の一端に転動してくるボール23をすくい上げて他端に送るリターンチューブ(ボール循環路)27が取り付けられている。そして、このボールねじ200は、複数のボール23の転動を介してねじ軸21とナット22とを相対回転させることによって、ねじ軸21とナット22とが軸方向に相対移動するようになっている。
このボールねじ200においては、隣接する各ボール23の間に第一実施形態と同様の図示されないセパレータが介装されており、各ボール23の間の競り合いが抑制されるようになっている。
ボールねじ200の構成部品のうちナット22はマルテンサイト系ステンレス鋼SUS440Cで構成され、リターンチューブ27はオーステナイト系ステンレス鋼SUS304で構成されている。そして、ナット22に備えられたねじ溝22aの表面、及び、リターンチューブ27の内面には、第一実施形態と同様の潤滑膜が被覆されている。また、ボールねじ200の構成部品のうちねじ軸21及びボール23は、マルテンサイト系ステンレス鋼SUS440Cで構成されている。そして、ねじ軸21に備えられたねじ溝21aの表面、及び、ボール23の表面には、前述と同様の潤滑膜が被覆されている。
さらに、セパレータは第一実施形態と同様にポリエーテルエーテルケトン樹脂で構成されており、その表面には第一実施形態と同様の改質処理が施されている。よって、第一実施形態のリニアガイド装置100の場合と同様の効果が得られる。
〔第三実施形態〕
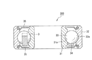
図4は、本発明に係る転動装置の別の実施形態である転がり軸受(深溝玉軸受)の構造を示す断面図である。また、図5は、図4の転がり軸受に組み込まれた保持器の斜視図である。
図4の転がり軸受300は、外周面に軌道面31aを有する内輪(内方部材)31と、内輪31の軌道面31aに対向する軌道面32aを有し内輪31の外方に配置された外輪(外方部材)32と、両軌道面31a,32a間に転動自在に配置された複数の転動体(玉)33と、両軌道面31a,32a間に転動体33を保持する保持器34と、シールド35,35と、を備えている。
転がり軸受300の構成部品のうち内輪31,外輪32,及び転動体33は、マルテンサイト系ステンレス鋼SUS440Cで構成されている。そして、内輪31,外輪32に備えられた軌道面31a,32aの表面、及び、転動体33の表面には、第一実施形態と同様の潤滑膜が被覆されている。
また、この転がり軸受300の保持器34は、チタン酸カリウムウィスカーを15質量%含有するETFE(大塚化学株式会社製のポチコンFT24)を射出成形して製造したものであり、その表面には第一実施形態と同様の改質処理が施されている。よって、第一実施形態のリニアガイド装置100の場合と同様の効果が得られる。
なお、第三実施形態においては冠形保持器を例示して説明したが、保持器の種類は特に限定されるものではなく、例えば、かご形保持器、つの形保持器、波形保持器等でも差し支えない。
また、本実施形態においては転がり軸受の例として深溝玉軸受をあげて説明したが、本発明は、他の種類の様々な転がり軸受に対して適用することができる。例えば、アンギュラ玉軸受,自動調心玉軸受,円筒ころ軸受,円すいころ軸受,針状ころ軸受,自動調心ころ軸受等のラジアル形の転がり軸受や、スラスト玉軸受,スラストころ軸受等のスラスト形の転がり軸受である。
図6はアンギュラ玉軸受の例であり、図7は図6のアンギュラ玉軸受に備えられた保持器である。この例においても、第三実施形態と同様に、転がり軸受の構成部品のうち内輪41,外輪42,及び転動体43は、マルテンサイト系ステンレス鋼SUS440Cで構成されている。そして、内輪41,外輪42に備えられた軌道面41a,42aの表面、及び、転動体43の表面には、第一実施形態と同様の潤滑膜が被覆されている。
また、保持器44は、炭素繊維を30質量%含有する熱可塑性ポリイミド樹脂(三井化学株式会社製のAURUM JCN3030)を射出成形して製造したものであり、その表面には第一実施形態と同様の改質処理が施されている。よって、第一実施形態のリニアガイド装置100の場合と同様の効果が得られる。
〔潤滑剤との親和性の評価について〕
前述の改質処理を施すことによって樹脂の潤滑剤に対する親和性が向上することを確認するため、以下のような試験を行った。
PEEK(ビクトレックス社製PEEK450G)製の円板状の試験片(直径30mm、厚さ3mm)に、第一実施形態と同様の改質処理を施した。なお、超臨界流体の種類は超臨界二酸化炭素、使用した潤滑油はPFPE(ダイキン工業株式会社製のデムナムS−200)及びトリ(2−オクチルドデシル)シクロペンタン(Nye Lubricants社製のNye Synthetic Oil 2001A)である。改質処理の条件は、潤滑油にPFPEを使用した場合は、温度120℃、圧力15MPaであり、トリ(2−オクチルドデシル)シクロペンタンを使用した場合は、温度120℃、圧力25MPaである。
改質処理を施した試験片(実施例)と未処理の試験片(比較例)に、それぞれ同種の潤滑油(PFPE又はトリ(2−オクチルドデシル)シクロペンタン)の液滴を1滴滴下して、動的接触角測定解析装置(ジャスコインターナショナル株式会社製FTÅ200)を用いて動的接触角の測定を行った。
その結果、10秒後の動的接触角は、PFPEの場合の実施例は20.5°で、比較例は31.5°であった。また、トリ(2−オクチルドデシル)シクロペンタンの場合の実施例は19.0°で、比較例は26.5°であった。これらの結果から、実施例の試験片は、改質処理によって試験片の表面層に潤滑油が浸透し固定化されているため、付着させた潤滑油に対する親和性(濡れ性)が優れていることが分かった。
本発明の転動装置は、一般的な潤滑剤が使用できないような場合にも好適に使用可能である。例えば、液晶パネル製造設備,半導体製造設備等のように、転動装置が真空環境下で使用される場合にも好適である。さらに、人工衛星等のように転動装置が宇宙環境下で使用される場合にも好適である。
本発明に係る転動装置の一実施形態であるリニアガイド装置の構造を示す平面図である。 図1のリニアガイド装置のセパレータ及びボールの拡大図である。 本発明に係る転動装置の別の実施形態であるボールねじの構造を示す斜視図である。 本発明に係る転動装置の別の実施形態である転がり軸受(深溝玉軸受)の構造を示す断面図である。 図4の転がり軸受に組み込まれた保持器の斜視図である。 本発明に係る転動装置の別の実施形態である転がり軸受(アンギュラ玉軸受)の構造を示す断面図である。 図6の転がり軸受に組み込まれた保持器の側面図である。
符号の説明
11 案内レール
11a ボール軌道溝
12 スライダ
12a ボール軌道溝
13 ボール
18 セパレータ
21 ねじ軸
21a ねじ溝
22 ナット
22a ねじ溝
23 ボール
31,41 内輪
32,42 外輪
33,43 転動体
34,44 保持器
100 リニアガイド装置
200 ボールねじ
300 転がり軸受

Claims (7)

  1. 外面に軌道面を有する内方部材と、該内方部材の軌道面に対向する軌道面を有し前記内方部材の外方に配置された外方部材と、前記両軌道面間に転動自在に配置された複数の転動体と、を備える転動装置において、
    構成部品のうち少なくとも1つは、樹脂で構成されているとともに、潤滑油を含有する超臨界流体を接触させ、浸透した潤滑油及び超臨界流体のうち超臨界流体のみを除去する改質処理が施されていることを特徴とする転動装置。
  2. 外面に軌道面を有する内方部材と、該内方部材の軌道面に対向する軌道面を有し前記内方部材の外方に配置された外方部材と、前記両軌道面間に転動自在に配置された複数の転動体と、を備える転動装置において、
    前記内方部材及び前記外方部材の少なくとも一方は、樹脂で構成されているとともに、潤滑油を含有する超臨界流体を接触させ、浸透した潤滑油及び超臨界流体のうち超臨界流体のみを除去する改質処理が施されていることを特徴とする転動装置。
  3. 外面に軌道面を有する内方部材と、該内方部材の軌道面に対向する軌道面を有し前記内方部材の外方に配置された外方部材と、前記両軌道面間に転動自在に配置された複数の転動体と、前記各転動体の間に介装されたセパレータと、を備える転動装置において、
    前記セパレータは、樹脂で構成されているとともに、潤滑油を含有する超臨界流体を接触させ、浸透した潤滑油及び超臨界流体のうち超臨界流体のみを除去する改質処理が施されていることを特徴とする転動装置。
  4. 外面に軌道面を有する内方部材と、該内方部材の軌道面に対向する軌道面を有し前記内方部材の外方に配置された外方部材と、前記両軌道面間に転動自在に配置された複数の転動体と、前記両軌道面間に前記転動体を保持する保持器と、を備える転動装置において、 前記保持器は、樹脂で構成されているとともに、潤滑油を含有する超臨界流体を接触させ、浸透した潤滑油及び超臨界流体のうち超臨界流体のみを除去する改質処理が施されていることを特徴とする転動装置。
  5. 前記超臨界流体が超臨界二酸化炭素であることを特徴とする請求項1〜4のいずれか一項に記載の転動装置。
  6. 前記潤滑油がパーフルオロポリエーテルであることを特徴とする請求項1〜5のいずれか一項に記載の転動装置。
  7. 前記潤滑油がアルキル化シクロペンタンであることを特徴とする請求項1〜5のいずれか一項に記載の転動装置。
JP2005028974A 2004-03-17 2005-02-04 転動装置 Pending JP2005299923A (ja)

Priority Applications (1)

Application Number Priority Date Filing Date Title
JP2005028974A JP2005299923A (ja) 2004-03-17 2005-02-04 転動装置

Applications Claiming Priority (2)

Application Number Priority Date Filing Date Title
JP2004077027 2004-03-17
JP2005028974A JP2005299923A (ja) 2004-03-17 2005-02-04 転動装置

Publications (1)

Publication Number Publication Date
JP2005299923A true JP2005299923A (ja) 2005-10-27

Family

ID=35331681

Family Applications (1)

Application Number Title Priority Date Filing Date
JP2005028974A Pending JP2005299923A (ja) 2004-03-17 2005-02-04 転動装置

Country Status (1)

Country Link
JP (1) JP2005299923A (ja)

Cited By (3)

* Cited by examiner, † Cited by third party
Publication number Priority date Publication date Assignee Title
WO2006063571A1 (de) * 2004-12-16 2006-06-22 Schaeffler Kg Verfahren und vorrichtung zum schmieren und kühlen eines hochbelasteten lagers
JP2009091527A (ja) * 2007-10-12 2009-04-30 Oiles Ind Co Ltd 含油熱可塑性合成樹脂成形物の製造方法
US11022114B2 (en) 2016-12-02 2021-06-01 Ratier-Figeac Sas Screw pump

Citations (6)

* Cited by examiner, † Cited by third party
Publication number Priority date Publication date Assignee Title
JPH03146529A (ja) * 1989-11-01 1991-06-21 Toray Ind Inc ポリエステルの処理方法
JP2001072987A (ja) * 1999-09-07 2001-03-21 Nsk Ltd 転動装置
JP2001158827A (ja) * 1999-09-21 2001-06-12 Daicel Chem Ind Ltd プラスチック成形品の表面改質方法及び表面改質プラスチック成形品
JP2003049847A (ja) * 2001-08-07 2003-02-21 Nsk Ltd 転動装置
JP2003301920A (ja) * 2002-04-10 2003-10-24 Nsk Ltd 転動装置
JP2004000833A (ja) * 2002-05-31 2004-01-08 Kao Corp 塗布物の製造法

Patent Citations (6)

* Cited by examiner, † Cited by third party
Publication number Priority date Publication date Assignee Title
JPH03146529A (ja) * 1989-11-01 1991-06-21 Toray Ind Inc ポリエステルの処理方法
JP2001072987A (ja) * 1999-09-07 2001-03-21 Nsk Ltd 転動装置
JP2001158827A (ja) * 1999-09-21 2001-06-12 Daicel Chem Ind Ltd プラスチック成形品の表面改質方法及び表面改質プラスチック成形品
JP2003049847A (ja) * 2001-08-07 2003-02-21 Nsk Ltd 転動装置
JP2003301920A (ja) * 2002-04-10 2003-10-24 Nsk Ltd 転動装置
JP2004000833A (ja) * 2002-05-31 2004-01-08 Kao Corp 塗布物の製造法

Cited By (4)

* Cited by examiner, † Cited by third party
Publication number Priority date Publication date Assignee Title
WO2006063571A1 (de) * 2004-12-16 2006-06-22 Schaeffler Kg Verfahren und vorrichtung zum schmieren und kühlen eines hochbelasteten lagers
US9181983B2 (en) 2004-12-16 2015-11-10 Schaeffler Technologies AG & Co. KG Method and device for lubricating and cooling a bearing that is subject to high loads
JP2009091527A (ja) * 2007-10-12 2009-04-30 Oiles Ind Co Ltd 含油熱可塑性合成樹脂成形物の製造方法
US11022114B2 (en) 2016-12-02 2021-06-01 Ratier-Figeac Sas Screw pump

Similar Documents

Publication Publication Date Title
US7188542B2 (en) Liner motion device, rolling device and separator for rolling device
KR20070004949A (ko) 박막 베어링
WO2005121288A1 (ja) 摺動材料およびすべり軸受
CN1973023B (zh) 滑动材料和滑动轴承
JP2005299923A (ja) 転動装置
JP2008025727A (ja) プラスチック成形品及び転動装置
JP4476606B2 (ja) 転動装置
JP2008185144A (ja) 直動装置及びその使用方法
JP4748069B2 (ja) 直動装置
JP2009108251A (ja) プラスチック成形品の改質方法及びプラスチック成形品
KR100718516B1 (ko) 전동 장치
Rosado et al. Evaluation of fatigue and wear characteristics of M50 steel using high temperature synthetic turbine engine lubricants—Part II
JP2007284494A (ja) プラスチック成形品の改質方法及びプラスチック成形品
JP2005351443A (ja) 転がり支持装置および真空搬送装置
JP6855974B2 (ja) 転がり軸受及びその製造方法
JP2005009649A (ja) ボールねじ
JP4631256B2 (ja) プラスチック成形品の改質方法及びプラスチック成形品
JP2006242234A (ja) 転動装置
JP4541769B2 (ja) 転がり軸受用保持器および転がり軸受
JP2006219522A (ja) プラスチック成形品の改質方法及びプラスチック成形品
JP2006046531A (ja) 薄肉転がり軸受
JP4281948B2 (ja) 転がり軸受の製造方法
JP5251931B2 (ja) プラスチック成形品の改質方法及びプラスチック成形品
JP2005009648A (ja) 直動型軸受装置
JP3857449B2 (ja) 低発塵転がり摺動部品

Legal Events

Date Code Title Description
A621 Written request for application examination

Free format text: JAPANESE INTERMEDIATE CODE: A621

Effective date: 20070829

A977 Report on retrieval

Free format text: JAPANESE INTERMEDIATE CODE: A971007

Effective date: 20090515

A131 Notification of reasons for refusal

Free format text: JAPANESE INTERMEDIATE CODE: A131

Effective date: 20090602

A521 Written amendment

Free format text: JAPANESE INTERMEDIATE CODE: A523

Effective date: 20090728

A02 Decision of refusal

Effective date: 20100420

Free format text: JAPANESE INTERMEDIATE CODE: A02