JP2005298975A - タンタル層を形成する方法及びタンタル層を用いる装置 - Google Patents

タンタル層を形成する方法及びタンタル層を用いる装置 Download PDF

Info

Publication number
JP2005298975A
JP2005298975A JP2005116413A JP2005116413A JP2005298975A JP 2005298975 A JP2005298975 A JP 2005298975A JP 2005116413 A JP2005116413 A JP 2005116413A JP 2005116413 A JP2005116413 A JP 2005116413A JP 2005298975 A JP2005298975 A JP 2005298975A
Authority
JP
Japan
Prior art keywords
tantalum
layer
region
bcc phase
creating
Prior art date
Legal status (The legal status is an assumption and is not a legal conclusion. Google has not performed a legal analysis and makes no representation as to the accuracy of the status listed.)
Granted
Application number
JP2005116413A
Other languages
English (en)
Other versions
JP4533221B2 (ja
Inventor
Arjang Fartash
アルジャン・ファータシュ
Current Assignee (The listed assignees may be inaccurate. Google has not performed a legal analysis and makes no representation or warranty as to the accuracy of the list.)
Hewlett Packard Development Co LP
Original Assignee
Hewlett Packard Development Co LP
Priority date (The priority date is an assumption and is not a legal conclusion. Google has not performed a legal analysis and makes no representation as to the accuracy of the date listed.)
Filing date
Publication date
Application filed by Hewlett Packard Development Co LP filed Critical Hewlett Packard Development Co LP
Publication of JP2005298975A publication Critical patent/JP2005298975A/ja
Application granted granted Critical
Publication of JP4533221B2 publication Critical patent/JP4533221B2/ja
Anticipated expiration legal-status Critical
Expired - Fee Related legal-status Critical Current

Links

Images

Classifications

    • HELECTRICITY
    • H10SEMICONDUCTOR DEVICES; ELECTRIC SOLID-STATE DEVICES NOT OTHERWISE PROVIDED FOR
    • H10WGENERIC PACKAGES, INTERCONNECTIONS, CONNECTORS OR OTHER CONSTRUCTIONAL DETAILS OF DEVICES COVERED BY CLASS H10
    • H10W20/00Interconnections in chips, wafers or substrates
    • H10W20/01Manufacture or treatment
    • H10W20/031Manufacture or treatment of conductive parts of the interconnections
    • BPERFORMING OPERATIONS; TRANSPORTING
    • B41PRINTING; LINING MACHINES; TYPEWRITERS; STAMPS
    • B41JTYPEWRITERS; SELECTIVE PRINTING MECHANISMS, i.e. MECHANISMS PRINTING OTHERWISE THAN FROM A FORME; CORRECTION OF TYPOGRAPHICAL ERRORS
    • B41J2/00Typewriters or selective printing mechanisms characterised by the printing or marking process for which they are designed
    • B41J2/005Typewriters or selective printing mechanisms characterised by the printing or marking process for which they are designed characterised by bringing liquid or particles selectively into contact with a printing material
    • B41J2/01Ink jet
    • B41J2/135Nozzles
    • B41J2/14Structure thereof only for on-demand ink jet heads
    • B41J2/14016Structure of bubble jet print heads
    • B41J2/14088Structure of heating means
    • B41J2/14112Resistive element
    • B41J2/14129Layer structure
    • CCHEMISTRY; METALLURGY
    • C23COATING METALLIC MATERIAL; COATING MATERIAL WITH METALLIC MATERIAL; CHEMICAL SURFACE TREATMENT; DIFFUSION TREATMENT OF METALLIC MATERIAL; COATING BY VACUUM EVAPORATION, BY SPUTTERING, BY ION IMPLANTATION OR BY CHEMICAL VAPOUR DEPOSITION, IN GENERAL; INHIBITING CORROSION OF METALLIC MATERIAL OR INCRUSTATION IN GENERAL
    • C23CCOATING METALLIC MATERIAL; COATING MATERIAL WITH METALLIC MATERIAL; SURFACE TREATMENT OF METALLIC MATERIAL BY DIFFUSION INTO THE SURFACE, BY CHEMICAL CONVERSION OR SUBSTITUTION; COATING BY VACUUM EVAPORATION, BY SPUTTERING, BY ION IMPLANTATION OR BY CHEMICAL VAPOUR DEPOSITION, IN GENERAL
    • C23C14/00Coating by vacuum evaporation, by sputtering or by ion implantation of the coating forming material
    • C23C14/02Pretreatment of the material to be coated
    • C23C14/024Deposition of sublayers, e.g. to promote adhesion of the coating
    • C23C14/025Metallic sublayers
    • CCHEMISTRY; METALLURGY
    • C23COATING METALLIC MATERIAL; COATING MATERIAL WITH METALLIC MATERIAL; CHEMICAL SURFACE TREATMENT; DIFFUSION TREATMENT OF METALLIC MATERIAL; COATING BY VACUUM EVAPORATION, BY SPUTTERING, BY ION IMPLANTATION OR BY CHEMICAL VAPOUR DEPOSITION, IN GENERAL; INHIBITING CORROSION OF METALLIC MATERIAL OR INCRUSTATION IN GENERAL
    • C23CCOATING METALLIC MATERIAL; COATING MATERIAL WITH METALLIC MATERIAL; SURFACE TREATMENT OF METALLIC MATERIAL BY DIFFUSION INTO THE SURFACE, BY CHEMICAL CONVERSION OR SUBSTITUTION; COATING BY VACUUM EVAPORATION, BY SPUTTERING, BY ION IMPLANTATION OR BY CHEMICAL VAPOUR DEPOSITION, IN GENERAL
    • C23C14/00Coating by vacuum evaporation, by sputtering or by ion implantation of the coating forming material
    • C23C14/06Coating by vacuum evaporation, by sputtering or by ion implantation of the coating forming material characterised by the coating material
    • C23C14/14Metallic material, boron or silicon
    • C23C14/16Metallic material, boron or silicon on metallic substrates or on substrates of boron or silicon
    • C23C14/165Metallic material, boron or silicon on metallic substrates or on substrates of boron or silicon by cathodic sputtering
    • HELECTRICITY
    • H10SEMICONDUCTOR DEVICES; ELECTRIC SOLID-STATE DEVICES NOT OTHERWISE PROVIDED FOR
    • H10PGENERIC PROCESSES OR APPARATUS FOR THE MANUFACTURE OR TREATMENT OF DEVICES COVERED BY CLASS H10
    • H10P14/00Formation of materials, e.g. in the shape of layers or pillars
    • H10P14/40Formation of materials, e.g. in the shape of layers or pillars of conductive or resistive materials
    • H10P14/42Formation of materials, e.g. in the shape of layers or pillars of conductive or resistive materials using a gas or vapour
    • H10P14/44Physical vapour deposition [PVD]
    • HELECTRICITY
    • H10SEMICONDUCTOR DEVICES; ELECTRIC SOLID-STATE DEVICES NOT OTHERWISE PROVIDED FOR
    • H10WGENERIC PACKAGES, INTERCONNECTIONS, CONNECTORS OR OTHER CONSTRUCTIONAL DETAILS OF DEVICES COVERED BY CLASS H10
    • H10W20/00Interconnections in chips, wafers or substrates
    • H10W20/01Manufacture or treatment
    • H10W20/031Manufacture or treatment of conductive parts of the interconnections
    • H10W20/032Manufacture or treatment of conductive parts of the interconnections of conductive barrier, adhesion or liner layers
    • HELECTRICITY
    • H10SEMICONDUCTOR DEVICES; ELECTRIC SOLID-STATE DEVICES NOT OTHERWISE PROVIDED FOR
    • H10WGENERIC PACKAGES, INTERCONNECTIONS, CONNECTORS OR OTHER CONSTRUCTIONAL DETAILS OF DEVICES COVERED BY CLASS H10
    • H10W20/00Interconnections in chips, wafers or substrates
    • H10W20/01Manufacture or treatment
    • H10W20/031Manufacture or treatment of conductive parts of the interconnections
    • H10W20/032Manufacture or treatment of conductive parts of the interconnections of conductive barrier, adhesion or liner layers
    • H10W20/042Manufacture or treatment of conductive parts of the interconnections of conductive barrier, adhesion or liner layers the barrier, adhesion or liner layers being seed or nucleation layers
    • HELECTRICITY
    • H10SEMICONDUCTOR DEVICES; ELECTRIC SOLID-STATE DEVICES NOT OTHERWISE PROVIDED FOR
    • H10WGENERIC PACKAGES, INTERCONNECTIONS, CONNECTORS OR OTHER CONSTRUCTIONAL DETAILS OF DEVICES COVERED BY CLASS H10
    • H10W20/00Interconnections in chips, wafers or substrates
    • H10W20/01Manufacture or treatment
    • H10W20/031Manufacture or treatment of conductive parts of the interconnections
    • H10W20/032Manufacture or treatment of conductive parts of the interconnections of conductive barrier, adhesion or liner layers
    • H10W20/042Manufacture or treatment of conductive parts of the interconnections of conductive barrier, adhesion or liner layers the barrier, adhesion or liner layers being seed or nucleation layers
    • H10W20/045Manufacture or treatment of conductive parts of the interconnections of conductive barrier, adhesion or liner layers the barrier, adhesion or liner layers being seed or nucleation layers for deposition from the gaseous phase, e.g. for chemical vapour deposition [CVD]
    • BPERFORMING OPERATIONS; TRANSPORTING
    • B41PRINTING; LINING MACHINES; TYPEWRITERS; STAMPS
    • B41JTYPEWRITERS; SELECTIVE PRINTING MECHANISMS, i.e. MECHANISMS PRINTING OTHERWISE THAN FROM A FORME; CORRECTION OF TYPOGRAPHICAL ERRORS
    • B41J2202/00Embodiments of or processes related to ink-jet or thermal heads
    • B41J2202/01Embodiments of or processes related to ink-jet heads
    • B41J2202/03Specific materials used
    • YGENERAL TAGGING OF NEW TECHNOLOGICAL DEVELOPMENTS; GENERAL TAGGING OF CROSS-SECTIONAL TECHNOLOGIES SPANNING OVER SEVERAL SECTIONS OF THE IPC; TECHNICAL SUBJECTS COVERED BY FORMER USPC CROSS-REFERENCE ART COLLECTIONS [XRACs] AND DIGESTS
    • Y10TECHNICAL SUBJECTS COVERED BY FORMER USPC
    • Y10TTECHNICAL SUBJECTS COVERED BY FORMER US CLASSIFICATION
    • Y10T29/00Metal working
    • Y10T29/49Method of mechanical manufacture
    • Y10T29/49428Gas and water specific plumbing component making
    • Y10T29/49432Nozzle making
    • YGENERAL TAGGING OF NEW TECHNOLOGICAL DEVELOPMENTS; GENERAL TAGGING OF CROSS-SECTIONAL TECHNOLOGIES SPANNING OVER SEVERAL SECTIONS OF THE IPC; TECHNICAL SUBJECTS COVERED BY FORMER USPC CROSS-REFERENCE ART COLLECTIONS [XRACs] AND DIGESTS
    • Y10TECHNICAL SUBJECTS COVERED BY FORMER USPC
    • Y10TTECHNICAL SUBJECTS COVERED BY FORMER US CLASSIFICATION
    • Y10T428/00Stock material or miscellaneous articles
    • Y10T428/12All metal or with adjacent metals
    • Y10T428/12493Composite; i.e., plural, adjacent, spatially distinct metal components [e.g., layers, joint, etc.]
    • Y10T428/12771Transition metal-base component
    • Y10T428/12806Refractory [Group IVB, VB, or VIB] metal-base component
    • Y10T428/12819Group VB metal-base component
    • YGENERAL TAGGING OF NEW TECHNOLOGICAL DEVELOPMENTS; GENERAL TAGGING OF CROSS-SECTIONAL TECHNOLOGIES SPANNING OVER SEVERAL SECTIONS OF THE IPC; TECHNICAL SUBJECTS COVERED BY FORMER USPC CROSS-REFERENCE ART COLLECTIONS [XRACs] AND DIGESTS
    • Y10TECHNICAL SUBJECTS COVERED BY FORMER USPC
    • Y10TTECHNICAL SUBJECTS COVERED BY FORMER US CLASSIFICATION
    • Y10T428/00Stock material or miscellaneous articles
    • Y10T428/24Structurally defined web or sheet [e.g., overall dimension, etc.]
    • Y10T428/24942Structurally defined web or sheet [e.g., overall dimension, etc.] including components having same physical characteristic in differing degree
    • Y10T428/24992Density or compression of components
    • YGENERAL TAGGING OF NEW TECHNOLOGICAL DEVELOPMENTS; GENERAL TAGGING OF CROSS-SECTIONAL TECHNOLOGIES SPANNING OVER SEVERAL SECTIONS OF THE IPC; TECHNICAL SUBJECTS COVERED BY FORMER USPC CROSS-REFERENCE ART COLLECTIONS [XRACs] AND DIGESTS
    • Y10TECHNICAL SUBJECTS COVERED BY FORMER USPC
    • Y10TTECHNICAL SUBJECTS COVERED BY FORMER US CLASSIFICATION
    • Y10T428/00Stock material or miscellaneous articles
    • Y10T428/26Web or sheet containing structurally defined element or component, the element or component having a specified physical dimension
    • YGENERAL TAGGING OF NEW TECHNOLOGICAL DEVELOPMENTS; GENERAL TAGGING OF CROSS-SECTIONAL TECHNOLOGIES SPANNING OVER SEVERAL SECTIONS OF THE IPC; TECHNICAL SUBJECTS COVERED BY FORMER USPC CROSS-REFERENCE ART COLLECTIONS [XRACs] AND DIGESTS
    • Y10TECHNICAL SUBJECTS COVERED BY FORMER USPC
    • Y10TTECHNICAL SUBJECTS COVERED BY FORMER US CLASSIFICATION
    • Y10T428/00Stock material or miscellaneous articles
    • Y10T428/31504Composite [nonstructural laminate]
    • Y10T428/31678Of metal

Landscapes

  • Chemical & Material Sciences (AREA)
  • Chemical Kinetics & Catalysis (AREA)
  • Engineering & Computer Science (AREA)
  • Materials Engineering (AREA)
  • Mechanical Engineering (AREA)
  • Metallurgy (AREA)
  • Organic Chemistry (AREA)
  • Chemical Vapour Deposition (AREA)
  • Physical Vapour Deposition (AREA)
  • Fixed Capacitors And Capacitor Manufacturing Machines (AREA)

Abstract

【課題】 2つの相からなるタンタル領域を作り出す方法を提供する。
【解決手段】 本発明の方法は、第1の層(222、420)の第1の層領域(224、324、524)上に、及び第2の層(220)の第2の層領域上に配置されるタンタル層(230、330、430、530)を作り出すステップ(194)を含むタンタル構造を製造する方法であって、前記タンタル層が前記第1の層領域上の実質上bcc相のタンタル領域(234、334、434、534)であり、また前記タンタル層が前記第2の層領域上の非bcc相のタンタル領域(232、332、432、532)である方法。
【選択図】 図4

Description

概して本発明はタンタル層を作り出す方法に関する。より詳細には本発明は、2つの相からなるタンタル領域を作り出す方法に関する。
タンタル薄膜は、薄膜キャパシタ、抵抗器、半導体装置内の金属相互接続、超伝導トンネル接合、及びサーマルインクジェットカートリッジ用のキャビテーション障壁のような多数の用途において重要である。タンタルは化学的に安定しており、機械的特性が優れているので、特に望ましい材料である。タンタルは耐火性があり、かつ化学的アタック及び腐食に耐えるので、電子装置及び微小電気機械(MEMS)装置の双方において特に関心を集めている。たとえば、半導体集積回路の製造において、タンタルは銅とシリコンとの間の拡散障壁として使用される。またタンタルは金属酸化膜半導体電界効果トランジスタ(MOSFET)装置においてゲート電極として使用することができる。さらにタンタルはX線マスクにおいてX線を吸収するために利用される。
タンタル薄膜は2つの異なる結晶相、すなわち一般的にαタンタル(α相)と呼ばれる体心立方晶(bcc)及び一般的にβタンタル(β相)と呼ばれる正方晶において製造されることがよく知られている。典型的には、高品質bcc相タンタル薄膜を付着するには、1.33×10-5Pa(10-7Torr)未満の圧力を有する高品質の真空システム、毎秒1ナノメートルよりも高い高付着速度、300℃よりも高い高温の基板温度が必要とされる。一方、β相タンタルは一般的に、より高い圧力(低真空)、より低い付着速度、より低い基板温度において形成される。共通の1組の条件下で両方の相のタンタルを形成することができれば、現時点では実用的でないか、又は費用対効果がないかのいずれかである多種多様な用途が開拓されることになるであろう。
本発明はタンタル薄膜を利用する種々の装置に関する。本発明は、いずれも残留圧縮応力を有するbcc相又はα構造(α相)のタンタルが組み込まれた多種多様な装置を製造する方法を提供する。さらに、本発明は、タンタルの相の構造が、ナノメートル範囲の長さの尺度、スケールにおいて、α相のタンタルとβ相のタンタルとの間で横方向に切り替えられている一枚のタンタルシート(すなわち「相が切り替わるタンタル」)を形成する方法も提供する。さらに、α相又はbcc相のタンタルは、β相のタンタルよりも1桁高い熱伝導率を有するので、本発明は、ナノメートル範囲の横方向の長さのスケールにわたって付着されるタンタルの相を空間的に制御することにより、表面温度勾配を生じさせるのに都合の良い方法を提供する。
本発明は、第1の層(222、420)の第1の層領域(224、324、524)上、及び第2の層(220)の第2の層領域上に配置されるタンタル層(230、330、430、530)を作り出すステップを含むタンタル構造の製造方法に関する。タンタル層は、第1の層領域上の実質上bcc相のタンタル領域(234、334、434、534)、及び第2の層領域上の非bcc相のタンタル領域(232、332、432、532)を有する。
図面が正確な縮尺をもって描かれていないことに留意されたい。さらに、種々の構成要素も縮尺どおりに描かれていない。明瞭に図示し、本発明を理解しやすくするために、ある特定の寸法が他の寸法に対して誇張されている。さらに、本明細書に示されている実施形態の内のあるものは、深さ及び幅を有する種々の領域を備える2次元の図で示すが、これらの領域は、実際には3次元の構造をもつ装置の一部のみを図示していることを明確に理解されたい。したがってこれらの領域は、実際の装置上に製造されるときに、長さ、幅及び深さを含む3次元の構造を有する。
図1は、本発明の実施形態を作り出すために利用される工程を示す流れ図である。図2a〜図2dは、本発明の実施形態によるタンタル層を作り出すために利用される工程の図である。第1の層を作り出す工程190を利用して、図2aの断面図に示すように、装置200の一部として、bcc相のタンタルを形成する第1の層222が作り出される。この実施形態では、bcc相のタンタルを形成する第1の層222は、第2の層220の上に形成されている。利用される特定の工程は、bcc相のタンタルを形成する第1の層を形成するために利用される特定の材料、及び利用される特定の第2の層に依存する。この実施形態では、bcc相のタンタルを形成する第1の層222は、ニオブ、チタン、アルミニウム、これらの金属の窒化物、窒化タンタル、又はα相のタンタルを作り出すのを促す任意の他の適する材料のような材料を使用して形成される。さらに、bcc相のタンタルを形成する第1の層222は、物理又は化学気相成長技術を利用する従来の薄膜付着処理装置を使用して形成される。たとえば、bcc相のタンタルを形成する第1の層としてニオブを利用する実施形態では、スパッタ付着又は蒸着システム(熱及び電子ビーム蒸着の両方)を利用することができる。たとえば代替的な実施形態では、第1の層としてチタン又はアルミニウムを利用し、常圧化学気相成長(APCVD)、低圧化学気相成長(LPCVD)又はプラズマ化学気相成長(PECVD)を含む化学気相成長(CVD)を利用することができる。さらに別の実施形態では、電着、電気めっき又は無電解付着、無電解めっき、レーザアブレーション及び厚膜付着技法のような膜を作り出す他の工程を利用することができる。一般的に、bcc相のタンタルを形成する第1の層222は、約15ナノメートルよりも厚くすることができるが、代替的な実施形態では、約1ナノメートル程度の薄い厚みが利用される。さらに別の実施形態では、原子レベルで滑らかな表面を利用する場合、bcc相のタンタルを形成する第1の層222は、単分子層程度に薄くされる。利用される特定の厚みは、利用される特定の付着技法及びその上に第1の層が付着される特定の材料のような種々の要因に依存する。一般的に、最小の厚みは、所望の領域内及び利用される付着条件下で1つの連続した層を形成する第1の層の材料の厚みである。
第2の層220は、セラミック、ガラス、金属、合金、種々の半導体材料及びプラスチックを含む広範な材料から形成される。利用される実際の第2の層の材料は、そのデバイス又は装置が晒されることになる特定の環境、能動的な装置が存在するか否か、その装置又はデバイスの期待される寿命、ならびにそのデバイス又は装置が利用される用途のような種々のシステムコンポーネント(構成要素)に依存する。代替的な実施形態では、形成される特定の装置に応じて、第2の層220と第1の層222の間に付加的な層が配置される。たとえば反応性の金属接合層を利用して、下層にある第2の層220の材料への第1の層の接合を改善することができる。種々の接合層の例示として、クロム、チタン又は第1の層の材料を付着する前に付着される他の反応性の金属薄膜を挙げることができる。接合性をさらに改善するために、その表面のウエット化学エッチング、改質又はプラズマ改質のような、随意的な表面前処理を利用することもできる。
第1の層のパターン形成(パターニング)工程192を利用して、bcc相のタンタルを形成する第1の層222の場所及び横方向の形状が画定され、図2bに示すように、第1の層の構造又はbcc相のタンタルを形成する領域224が形成される。一般的に、第1の層のパターン形成工程192は、エッチング及びフォトリソグラフィ又は回路基板処理システムを利用して、装置200の第2の層220の上にbcc相のタンタルを形成する領域224を形成する。本発明においては、図2bに示すようなサブトラクティブ工程及びアディティブ工程の両方を利用することができる。一般的に第1の層222が形成された後に、サブトラクティブ工程を利用する実施形態の場合、フォトレジストが第1の層の上にスピンコーティングされ、典型的にはその後、低温ソフトベーク(低温での穏やかな乾燥)によって揮発性の溶媒を除去し、その後、露光し、現像し、さらにその後、より高い温度で焼成してレジスト材料を硬化させる。代替的な実施形態では、スプレイコーティング又はカーテンコーティングのような他の被覆技法を利用することができる。さらに、一般的にソルダーマスクと呼ばれるマスクのスクリーン印刷及び積層(ラミネーション)のような技法も利用され、それらの技法は、フォトリソグラフィ様式の処理を必要とすることのないより大きな構造を利用する用途において特に望ましい。一般的に、フォトレジストパターンが形成された後に、フォトレジストによってもはや覆われていない領域内にある第1の層は、ウェット化学エッチング又はプラズマエッチングあるいはそれらの組み合わせを利用してエッチングされる。たとえばニオブの第1の層は、スパッタ付着された後に、塩素反応性イオンエッチングを利用してエッチングされる。
一実施形態において、20ナノメートル厚のニオブの第1の層が、50 sccm(1気圧、毎分1立方センチメートルの流量の標準気体の流量)の流量、1キロワット(kW)の電力を用いて、0.333Pa(2.5ミリトル(mTorr))のアルゴン圧を利用して、DCマグネトロンスパッタリングによってスパッタ付着される。代替的な実施形態では、約500 W〜約1.5kWの範囲内のプラズマ電力、及び当該技術分野において知られている他の付着技法が利用される。フォトレジストのパターン形成(パターニング)が完了した後、それぞれ10、40及び10 sccmの流量のアルゴン、塩素及び四フッ化炭素の混合物、上側電極に対して800 W、下側電極に対して10 Wが印加される高周波(RF)電力、約75℃の基板(すなわち下側電極)温度を利用して、約2.67Pa(約20 mTorr)の圧力でニオブ層をドライエッチングする。さらに別の代替的な実施形態では、ニオブの第1の層を、120 sccmの流量の塩素ガス、下側電極に対して約50 W、上側電極に対して約400 Wが印加されるRF電力を利用して、2.00 Pa(15mTorr)の圧力でエッチングすることができる。さらに他の実施形態では、種々のウエットエッチング及び他のドライエッチングを利用して、ニオブの第1の層をパターン形成(パターニング)することもできる。
第2の実施形態では、20ナノメートルのチタンの第1の層を、50 sccmの流量及び1.5kWの電力を利用して、0.333Pa(2.5mTorr)のアルゴン圧でDCマグネトロンスパッタリングによって付着することができる。代替的な実施形態では、約1.5kW〜約3kWの範囲内のプラズマ電力、及び当該技術分野において知られている他の付着技法を利用することもできる。フォトレジストのパターン形成(パターニング)が完了した後、120 sccmの流量の塩素、上側電極に対して400 W、下側電極に対して50 Wが印加されるRF電力、約50℃の基板温度を利用して、約2.00 Pa(約15mTorr)の圧力でチタン層をドライエッチングすることができる。さらに別の実施形態では、種々のウエットエッチング及び他のドライエッチングを利用して、チタンの第1の層をパターン形成(パターニング)することもできる。
第3の実施形態では、40ナノメートルのアルミニウムの第1の層が、50 sccmの流量及び5kWのプラズマ電力を用いて、0.333Pa(2.5mTorr)のアルゴン圧でDCマグネトロンスパッタリングによって付着される。代替的な実施形態では、他のプラズマ電力、及び当該技術分野において知られている他の付着技法を利用することもできる。フォトレジストのパターン形成(パターニング)が完了した後に、燐酸16、硝酸9、酢酸1、水2の割合のエッチング液を使用して、アルミニウム層をウエットエッチングする。別の実施形態では、他のウエットエッチング及びドライエッチングを利用して、アルミニウムの第1の層をパターン形成(パターニング)することもできる。
第1の層がエッチングされた後に、当該技術分野において知られている広範なウエット化学エッチング又はドライエッチングのうちの任意のものを利用して、フォトレジストを除去することができる。さらに別の実施形態では、集束イオンビームミリング又はレーザアブレーションのような種々の他のパターン形成技法を利用して、bcc相のタンタルを形成する第1の層222をパターン形成し、第1の層の領域224を形成することもできる。アディティブ工程又はリフトオフ工程を利用する実施形態の場合、一般的に、サブトラクティブ工程について先に記載したのと同じ工程又は同様の工程を利用して、第1の層が形成されることになる表面に、フォトレジスト又はソルダーマスク薄膜を適用する。アディティブ工程では、フォトレジストがパターン形成されて、第1の層が望まれるエリア内に開口部が設けられ、第1の層が付着されるべきでない領域が覆われたままになる。一般的に、アディティブ工程において形成されるフォトレジストパターンは、フォトレジストの開口領域内に、リエントリーフォトレジスト側壁輪郭を有する。所望のパターンがフォトレジスト層内に形成された後、bcc相あるいはαタンタルを形成する第1の層が、残りのフォトレジスト層上に、及びフォトレジスト層内の開口部によって露出した表面上に形成される。その後、レジスト、及びその上に付着された不要な第1の層を剥離するフォトレジスト除去工程によって、フォトレジスト層が処理される。一般的に、そのような工程を超音波攪拌によって支援することができる。フォトレジストが除去された後、第1の層の所望のパターンが表面上に残される。
タンタル層を作り出す工程194を利用して、図2cに示すように、装置200の露出した表面領域上、及びパターン形成された第1の層の領域上にタンタル層が作り出される。この実施形態では、タンタル層230は、上記のようにbcc相のタンタルを形成する第1の層222が除去された領域内に形成されるβ相又はbcc相ではないタンタル領域、非bcc相のタンタル領域232と、bcc相のタンタルを形成する領域224上に形成された実質上bcc相のタンタル領域234とを含む。先に述べたフォトレジストの除去後に、かつタンタル層230が所望の領域上に付着される前に、タンタル付着システムの洗浄工程が実施される。この実施形態では、スパッタリングシステムの内壁又は表面上に金の薄い層がスパッタ付着され、各タンタルの付着前に、実質上汚染されていない環境が形成される。代替的な実施形態では、システムの内壁上への金の付着回数を変更することができ、たとえばタンタルを2回付着する度に、又はタンタルを3回付着する度に実施することができる。その特定の回数は、システムの基本的な圧力、及びシステム内に見られる汚染物質のような多数のパラメータに依存する。
さらに、タンタルが形成されることになる表面をスパッタ洗浄し、タンタル付着が実施される前に、表面酸化物、一酸化炭素、酸素、水、外来の炭素のような表面に吸着した物質を除去する。一般的に、第1の層の表面は、約80 sccmの流量、約100ボルトの印加電圧、1kWの電力を利用して、0.267〜0.400 Pa(2〜3mTorr)のアルゴン圧のアルゴンイオンを利用して衝撃が与えられる。代替的な実施形態では、ヘリウム、ネオン、クリプトン、キセノン、窒素、それらの混合物のような他の気体、ならびに異なる圧力、流量、印加電圧、電力を利用することもできる。その後、スパッタ洗浄された表面上にタンタル層230が作り出される。一実施形態では、タンタル層230を、100 sccmの流量のアルゴン及び10 kWの電力を利用し、0.667Pa(5mTorr)のアルゴン圧を利用してタンタルをスパッタ付着することによって形成することができる。これらの条件下で、bcc相のタンタル領域は、圧縮残留応力を有することが確認された。チタンの第1の層上に付着された300ナノメートル厚のタンタル薄膜の場合、チタン厚が約10ナノメートルから約80ナノメートルまで変化すると、bcc相のタンタルの圧縮残留応力は約-650メガパスカル(MPa)から約-750 MPaまで変化する。ニオブの第1の層上に付着される300ナノメートル厚のタンタル薄膜の場合、チタン厚が約2.5ナノメートルから約80ナノメートルまで変化すると、bcc相のタンタルの圧縮残留応力は約-1529メガパスカル(MPa)から約-1025MPaまで変化する。アルミニウムの第1の層上に付着される300ナノメートル厚のタンタル薄膜の場合、チタン厚が約10ナノメートルから約80ナノメートルまで変化すると、bcc相のタンタルの圧縮残留応力は約-1022メガパスカル(MPa)から約-908MPaまで変化する。代替的な実施形態では、約-550ボルトまでのバイアス電圧を適用し、タンタル層230内に所望の圧縮残留応力を生じさせることもできる。
さらに別の実施形態では、タンタルを付着するために当該技術分野において知られている他の条件を利用することもできる。たとえば、代替的な実施形態では、約-550ボルトまでのバイアス電圧を適用して、タンタル層230内に所望の圧縮残留応力を生成することもできる。さらにタンタル層230は、スパッタ付着に加えて、種々の物理又は化学気相成長技術を利用して形成することもできる。たとえば、蒸着システム(熱及び電子ビーム蒸着の両方)、常圧化学気相成長(APCVD)、低圧化学気相成長(LPCVD)又はプラズマ化学気相成長(PECVD)を含む化学気相成長システム(CVD)、ならびに無電解付着、無電解めっき又は電着、電界めっき及びスクリーン印刷とそれに続く高温アニーリングのような厚膜付着技法のような膜を作り出す他の工程を利用することもできる。
代替的な実施形態では、スパッタ付着中に基板にバイアス電圧を適用し、それによってタンタル層内に蓄積される圧縮応力を高め、それにより自立式のタンタル層を形成することができる。所望の厚みが達成された後に、水の表面張力を利用してタンタル層を取り除くことにより、タンタル層を剥離し、同じシート内にβ相又はbcc相ではないタンタル領域と、実質上bcc相のタンタル領域234とを含む自立式のシートを製造することができる。さらに別の実施形態では、犠牲層上にタンタル層を形成することができ、その犠牲層が、犠牲層の化学的又は溶媒アタック(腐食)によって除去され、それによってbcc相のタンタル領域及びbcc相ではないタンタル領域(非bcc相のタンタル領域)の組み合わせを含むタンタルの自立式のシートが形成される。利用することができる犠牲層の一例として、ポリシリコンをエッチングするためのエッチャントとして水酸化テトラメチルアンモニウム(TMAH)あるいは水酸化カリウム(KOH)を使用するポリシリコンを挙げることができる。別の例として、基本的にはフッ化水素酸である緩衝酸化物エッチングを利用し、燐がドープされたスピンオンガラス(SOG)を利用することであり、タンタル層への損傷を最小限に抑えながらSOGをエッチングするために、塩化アンモニウムを使用することができる。別の例として、ポリカーボネート又はポリイミドのようなポリマー基板上に、第1の層とともにタンタル層を形成することであり、そのポリマー基板は後に、化学的にエッチングされ、又はポリカーボネート基板の場合にはテトラヒドロフランのような有機溶媒によって溶解される。さらに別の例では、酸素プラズマ灰化(アッシング)工程を利用して、ポリマー基板を除去することもできる。
タンタル層230内に形成されるbcc相のタンタル領域234は、bcc相ではないタンタル領域232よりも約10倍高い熱伝導率及び導電率を有する。このような熱伝導率及び導電率の差は、bcc相ではないタンタル領域の熱及び電気輸送特性に対して、高い熱及び電気輸送特性をもたらす。さらに、タンタルのα相及びβ相の種々のパターン又は構造を作り出すことによって、タンタル層の膜厚内において(すなわち図2cに示すように垂直方向に)、かつタンタル層の表面温度に関して横方向に、同じタンタル層内で熱的及び電気的な勾配を生み出す手段ももたらす。サブマイクロメートルの寸法(サブミクロンの寸法)を有するタンタル構造を利用することにより、この長さスケール、尺度において熱的及び電気的な勾配を生成することができる。
随意的なタンタル層のエッチング工程196は、図2dに示すように、タンタル層をエッチングして、bcc相のタンタル領域234を形成するために利用される。上記のようにタンタル層が形成された後、タンタル層を含む装置が利用されることになる特定の用途に応じて、明確なbcc相のタンタル領域を形成することが望ましい場合がある。随意的なタンタル層のエッチング工程196はマスクレスエッチング工程であり、装置200の第2の層220上に配置されている第1の構造224に自己整合されたα相又はbcc相のタンタル領域234を作り出す。この実施形態では、塩素プラズマエッチングを利用して、β相又はbcc相ではないタンタル領域232が選択的にエッチングされ、図2dに示すように、実質上bcc相のタンタル領域234を残し、それによってタンタル領域234を作り出すために利用されるステップ数が削減され、本質的に直線の側壁を有するbcc相のタンタル領域が作り出すことができる。一般的に、120 sccmの流量を有する2.00 Pa(15mTorr)の圧力の塩素ガスと、上側電極に対して約400 W、及び下側電極に対して約50 Wが印加されているRF電力と、約50℃の下側電極温度とが利用される。しかしながら、代替的な実施形態では、タンタル薄膜の厚み及びエッチングされる造作の寸法のような種々の要因に応じて、他の圧力、流量、電力が利用される。
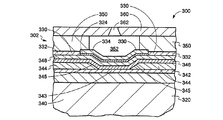
本発明の1つの例示的な実施形態を図3に断面図により示す。この実施形態では、流体イジェクタヘッド300が、抵抗器343に対して環境的、機械的、電気的な保護をもたらすbcc相のタンタル領域334を含む。環境的及び機械的な保護をもたらすことに関して、bcc相のタンタル領域334は、抵抗器343が起動されて、急速に膨張してノズル又はオリフィス362を介して液滴を吐出し、その後bcc相のタンタル領域334の表面上で急速に破裂する気泡を流体チャンバ352内に形成する際、キャビテーションから保護する。この実施形態では、基板320は、約300〜700マイクロメートルの厚みを有するシリコンウェーハである。代替的な実施形態では、数例を挙げると、種々のガラス、酸化アルミニウム、ポリイミド基板、炭化シリコン、ガリウムヒ素のような他の材料及び基板厚を基板320に対して利用することもできる。したがってこの実施形態は、シリコン半導体材料内に形成される流体イジェクタヘッドに限定することを意図していない。さらに随意的な基板誘電体層340は、基板320上に配置されている酸化シリコン層である。しかしながら代替的な実施形態では、利用される特定の基板材料、及び流体イジェクタヘッド300が使用されることになる特定の用途に応じて、金属又はポリマーのような他の材料が利用される。この実施形態では、基板誘電体層の厚みは、約0.40マイクロメートルから約0.75マイクロメートルの範囲内にある。しかしながら他の実施形態では、基板誘電体層340の厚みは、約0.10マイクロメートルから約2マイクロメートルの範囲内とすることができる。さらに流体注入路(図示せず)が、流体イジェクタヘッド300内に形成され、流体容器(図示せず)と流体イジェクタアクチュエータ310との間の流路を形成する。
両側に概ね平坦な面を有する抵抗層342が基板誘電体層340上に配置され、抵抗器343を形成する。この実施形態では、流体イジェクタアクチュエータ310は、電圧パルスを利用して、流体内の成分をその沸点よりも高い温度まで急速に加熱する熱抵抗器343である。代替的な実施形態では、圧電、超音波、静電発生器のような他の流体イジェクタ発生器が利用される。この実施形態では、抵抗層342はタンタルアルミニウム合金であるが、代替的な実施形態では、吐出させることが望まれる流体内の成分を急速に加熱するに十分な熱を発生させることができる任意の抵抗性材料を利用することもできる。たとえば2例にすぎないが、タングステンシリコン窒化物のような抵抗合金又はポリシリコンが利用することのできる代替的な材料である。この実施形態では、抵抗層342は、約20ナノメートルから約400ナノメートルの範囲内の厚みを有する。代替的な実施形態では、抵抗層342は、抵抗層を形成するために使用される特定の材料及び抵抗器の寸法及び吐出される液滴の所望の寸法のような種々の要素に応じて、他の厚みとすることができる。電気導体344が抵抗層342上に配置され、熱抵抗器343への電源経路がもたらされる。電気導体344は、熱抵抗器343に隣接する領域内に形成される傾斜した端面345を含む。傾斜した端面345は、熱抵抗器343及び電気導体344の上方に形成されている付加的な層のための、改善された段状被覆をもたらす。電気導体は、約50ナノメートルから約500ナノメートルの範囲内の厚みを有する。この実施形態では、電気導体344は、アルミニウム銅シリコン合金を利用して形成されている。他の代替的な実施形態では、他のアルミニウム合金、金又は銅のような、集積回路又はプリント回路基板技術において一般的に使用される他の相互接続材料を利用して、傾斜した端面345を有するか又は有さない電気導体344を形成することもできる。
図3に示す実施形態は、熱抵抗器343及び電気導体344の上方に形成されている2つの誘電体不動態化層、すなわち熱抵抗器343及び電気導体344上に配置されている第1の誘電体層346と、第1の誘電体層346上に配置されている第2の誘電体層348とを利用する。この実施形態では、第1の誘電体層346は窒化シリコン(SixNy)層であり、第2の誘電体層348は炭化シリコン(SiCx)層である。しかしながら代替的な実施形態では、単一の誘電体層を利用することもできる。さらに多種多様な誘電体材料を利用して、第1及び第2の誘電体層を形成することができる。たとえば酸化シリコン(SiOx)、窒化ホウ素(BNx)、酸化アルミニウム(AlxOy)、酸化タンタル(TaxOy)、ポリイミドのような高温ポリマーを利用することもできる。また流体イジェクタヘッド300は、流体イジェクタアクチュエータ310の上方の領域内にある第2の誘電体層348上に配置されているbcc相のタンタルを形成するシード構造324を含む。タンタル層330が、bcc相のタンタルを形成するシード構造324上、及び第2の誘電体層348のシード構造324によって覆われていない領域の上に配置されている。タンタル層330は、タンタル層330が第2の誘電体層348上に形成されている領域内に形成されているbcc相ではないタンタル領域332を含み、またタンタル層330は、タンタル層330がbcc相のタンタルを形成するシード構造324上に形成されている実質上bcc相のタンタル領域334を含む。この実施形態では、タンタル層330のbcc相及びbcc相ではない相(非bcc相)がいずれも圧縮応力を有し、基板320全体にわたって、より均一な応力分布をもたらす。一般的に、α相又はbcc相のタンタル層は引張応力を受けて形成されるが、それは通常、望ましくない。bcc相のタンタル領域は、bcc相ではないタンタル領域よりも約10倍高い熱伝導率を有する。このような熱伝導率の差は、抵抗器上に形成されているbcc相のタンタル領域334と接触する流体に対して熱抵抗器343によって生成される熱をより効率的に結合することによって、流体イジェクタヘッド300の熱効率を高め、タンタル層330に沿って横方向に熱が流れるのを抑制する。
図3に示すように、チャンバ層350が基板320の上方に配置され、側壁354が流体吐出チャンバ352の一部を画定又は形成する。この実施形態では、チャンバ層350はタンタル層330上に形成されている。しかしながら代替的な実施形態では、bcc相ではないタンタル領域332を、先に記載したようにエッチングして除去することができ、その上にタンタル層が作り出される表面(すなわち、この実施形態では、第2の誘電体層348)上にチャンバ層350が形成される。さらに別の実施形態では、タンタル層330上に窒化シリコン層が形成され、その上に炭化シリコン層が形成され、その上にチャンバ層350が形成される。ノズル又はオリフィス層360が、チャンバ層350上に配置され、そこを介して流体が吐出される1つ又は複数の穴又はノズル362を含む。代替的な実施形態では、チャンバ層350及びノズル層360に利用される個々の材料に応じて、接合層を利用して、ノズル層360をチャンバ層350に接合することもできる。流体吐出チャンバ352は、側壁354、ノズル層360の内面、bcc相のタンタル領域334の露出した表面によって形成されている。この実施形態では、チャンバ層350は光描画可能なフィルムであり、従来のフォトリソグラフィ装置を利用してチャンバ層350を形成し、その後、流体吐出チャンバ352が画定されて現像される。この実施形態では、チャンバ層350は、約1マイクロメートルから約100マイクロメートルの範囲内にある厚みを有する。ノズル層360は、金属、ポリマー、ガラス、セラミックのような他の適切な物質から形成されている。一実施形態では、ノズル層360はポリイミドフィルムである。市販されているポリイミドノズル層の材料の例として、「カプトン(Kapton)」の商標でE. I. DuPont de Nemours & Co.から市販されているポリイミドフィルム、「ユーピレックス(Upilex)」の商標で宇部興産株式会社(日本)から市販されているポリイミド材料が含まれる。第2の実施形態では、ノズル層360は、薄い金、パラジウム、タンタル又はロジウムの層によって包み込まれているニッケル基部のような金属から形成されている。さらに別の実施形態では、ノズル層360は、ポリエステル、ポリエチレンナフタレート(PEN)、エポキシ又はポリカーボネートのようなポリマーから形成される。さらに別の実施形態によれば、チャンバ層350及びノズル層360を、両方の層に同じ物質を利用して形成することができる。
本発明の代替的な実施形態を図4に断面図で示す。この実施形態では、装置400が、bcc相のタンタルを形成する基板420上に配置されているbcc相ではない相又はβ相のタンタルを形成するシード層425を含む。bcc相ではないタンタル(非bcc相のタンタル)を形成するシード層425を作り出すために利用することのできる材料の例として、炭化シリコン及び、金属又は非金属酸化物を挙げることができる。この実施形態では、基板が、ニオブ、アルミニウム、チタン、窒化タンタルのようなbcc相のタンタルを形成する材料を利用して形成される。この実施形態では、シード層をパターン形成(パターニング)する工程を利用して、β相のタンタルを形成するシード層領域の場所及び横方向の形状が画定される。この実施形態では、タンタル層を作り出す工程を利用して、bcc相のタンタルを形成する基板の露出した表面領域上、及びパターン形成されたbcc相ではない相又はβ相のタンタルを形成するシード層上にタンタル層が作り出される。タンタル層430は、β相のタンタルを形成するシード層が残されている領域内に形成されているβ相又はbcc相ではないタンタル領域432を含む。さらにタンタル層430は、β相のタンタルを形成するシード層が除去され、bcc相のタンタルを形成する基板420上にタンタルが直接付着された領域内に形成されているbcc相のタンタル領域434も含む。
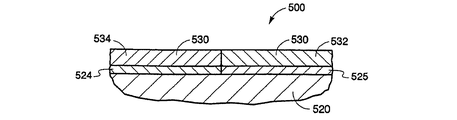
本発明の代替的な実施形態を図5に断面図で示す。この実施形態では、装置500が、基板520上に配置されているbcc相ではない相又はβ相のタンタルを形成する構造又は領域525及び、bcc相のタンタルを形成する構造又は領域524を含む。この実施形態では、領域525及び524が、同じ厚みを有するように示しているが、代替的な実施形態では、それらの領域は異なる厚みを有する。タンタル層530は、β相のタンタルを形成する領域525上に形成されているβ相又はbcc相ではないタンタル領域532を含む。さらにタンタル層530は、bcc相のタンタルを形成する構造又は領域524上に形成されているbcc相のタンタル領域534も含む。この実施形態では、bcc相のタンタルを形成する領域524は、ニオブ、チタン、アルミニウムのような先に記載した材料のうちの任意のものを利用して形成される。さらにbcc相ではないタンタル領域532は、bcc相のタンタルを形成せず、装置500を製造するために利用される個々の工程に適合し、かつ装置500が利用されることになる環境に適合することができる任意の材料を利用して形成される。
基板520は、セラミック、ガラス、金属、合金、種々の半導体材料、プラスチックを含む広範な材料から形成される。この実施形態において、かつ本発明において一般的に利用することができる基板材料の例として、金属酸化物、窒化物、炭化物、ホウ化物のようなセラミック;ホウケイ酸ガラス、ソーダ石灰ガラス、石英ガラス(結晶性又はアモルファスガラスを含む)及びシリコン酸化物、窒化物、シリカとたとえばカリウム、カルシウム、バリウム又は鉛の酸化物との混合物のようなガラス;全ての遷移金属及びアルカリ金属、ならびにアンチモン、スズ、アルミニウム、ビスマスのような他の金属などの金属;シリコン、ガリウムヒ素、インジウムリン、ゲルマニウムのような半導体材料;ポリカーボネート、ポリエステル系液晶ポリマーを含むポリエステル(PET)、ポリエチレンナフタレート(PEN)、ポリ塩化ビニル、ポリブチレンテレフタレート(PBT)、ポリプロピレン(PP)、ポリエチレン(PE)、ポリウレタン、ポリアミド、ポリアクリレート、ポリスチレン、ポリ塩化ビニル、ポリメチルメタクリレート、ポリ酢酸ビニル、塩化ビニル/酢酸ビニルコポリマー、アクリル樹脂、ポリアクリロニトリル、ポリアミド、ポリケトン、ポリアクリルアミド、他の類似の材料のようなプラスチック及びポリマー材料を挙げることができる。さらに基板は通常のウェーハ寸法に限定されず、シート又はフィルム、すなわち従来のウェーハ又は基板とは異なる形状及び寸法において取り扱われる基板を処理することを含む。実際の基板材料は、そのデバイス又は装置が晒されることになる特定の環境、基板上に能動的な装置があるか否か、その装置又はデバイスの期待される寿命、ならびにそのデバイス又は装置が使用されることになる用途のような種々のシステムコンポーネント(構成要素)に依存する。
本発明の一実施形態によるタンタル層を作り出すために利用される工程の流れ図である。 本発明の一実施形態によるタンタル層を作り出すために利用される種々の工程の一断面図である。 本発明の一実施形態によるタンタル層を作り出すために利用される種々の工程の一断面図である。 本発明の一実施形態によるタンタル層を作り出すために利用される種々の工程の一断面図である。 本発明の一実施形態によるタンタル層を作り出すために利用される種々の工程の一断面図である。 本発明の一実施形態に従って作り出されるタンタル層を利用する装置の例示的な一実施形態の断面図である。 本発明の代替的な実施形態に従って作り出されるタンタル層を利用する装置の断面図である。 本発明の代替的な実施形態に従って作り出されるタンタル層を利用する装置の断面図である。
符号の説明
220 第2の層
222 第1の層
224 第1の層領域
230 タンタル層
232 非bcc相のタンタル領域
234 bcc相のタンタル領域

Claims (15)

  1. 第1の層(222、420)の第1の層領域(224、324、524)上に、及び第2の層(220)の第2の層領域上に配置されるタンタル層(230、330、430、530)を作り出すステップ(194)を含むタンタル構造を製造する方法であって、
    前記タンタル層が前記第1の層領域上の実質上bcc相のタンタル領域(234、334、434、534)であり、また前記タンタル層が前記第2の層領域上の非bcc相のタンタル領域(232、332、432、532)である方法。
  2. 前記タンタル層を作り出すステップが、さらに、いずれも圧縮残留応力を有する実質上bcc相のタンタル領域と非bcc相のタンタル領域とを作り出すステップを含む請求項1に記載の方法。
  3. 前記タンタル層を作り出すステップが、さらに、前記実質上bcc相のタンタル領域及び前記非bcc相のタンタル領域が本質的に連続しているタンタル薄膜を形成するタンタル層を作り出すステップを含む請求項1に記載の方法。
  4. マスクを利用することなく、前記非bcc相のタンタル領域を選択的にエッチングするステップをさらに含む請求項1に記載の方法。
  5. 前記タンタル層を作り出すステップが、さらに、前記実質上bcc相のタンタル領域及び前記非bcc相のタンタル領域が抵抗率を有し、前記実質上bcc相のタンタル領域の前記抵抗率が、前記非bcc相のタンタル領域の前記抵抗率の約10分の1である前記タンタル層を作り出すステップを含む請求項1に記載の方法。
  6. 前記タンタル層を作り出すステップの前に、前記第1の層領域を洗浄するステップをさらに含む請求項1に記載の方法。
  7. 前記第2の層(348)を作り出すステップ、
    基板と前記第1の層との間に配置される誘電体層(346)を作り出すステップ、
    前記基板と前記第1の層との間に配置される抵抗器層(342)を作り出すステップ、
    前記タンタル層上に配置されるチャンバ層(350)を作り出すステップ、
    前記チャンバ層内に流体吐出チャンバ(352)を形成するステップ、
    前記チャンバ層上に配置されるノズル層(360)を作り出すステップ、
    前記チャンバ層内に形成されている流体吐出チャンバと流体連通する少なくとも1つのノズル(362)を形成するステップ
    をさらに含む請求項1に記載の方法。
  8. 前記第1の層を作り出すステップであって、当該第1の層がbcc相のタンタルを形成する基板(420)である前記第1の層を作り出すステップ、
    前記bcc相のタンタルを形成する基板上に非bcc相のタンタルを形成する層(425)を付着するステップをさらに含む請求項1に記載の方法。
  9. 前記第1の層を作り出すステップをさらに含み、当該第1の層が、ニオブ、アルミニウム、チタン、窒化タンタル、窒化アルミニウム、窒化ニオブ、窒化チタン、それらの混合物からなるグループより選択される材料を含む請求項1に記載の方法。
  10. 非bcc相のタンタル領域(232、332、432、532)に隣接した実質上bcc相のタンタル領域(234、334、434、534)を有するタンタル層を含む装置であって、
    前記実質上bcc相のタンタル領域及び前記非bcc相のタンタル領域がそれぞれ圧縮残留応力を有する装置。
  11. 基板(320)と、
    前記基板上に配置されているタンタル層(230、330、430、530)と、
    前記基板と前記タンタル層の間に配置されているbcc相のタンタルを形成する領域(224、324、524)であって、前記タンタル層と接触しているbcc相のタンタルを形成する領域(224、324、524)とを含む装置であって、
    前記タンタル層が前記bcc相のタンタルを形成する領域と接触している場所において、前記タンタル層が実質上bcc相のタンタル領域(234、334、434、534)を形成している装置。
  12. 前記タンタル層が前記bcc相のタンタルを形成する領域と接触していない場所において、前記タンタル層が非bcc相のタンタル層(232、332、432、532)を形成している請求項11に記載の装置。
  13. 基板(320)と、
    前記基板の上方あるいは前記基板上に配置されているタンタル層(230、330、430、530)を作り出す手段とを備えている装置であって、
    前記タンタル層が、少なくとも1つの非bcc相のタンタル領域(232、332、432、532)と隣接する少なくとも1つの実質上bcc相のタンタル領域(234、334、434、534)を有する装置。
  14. 犠牲層を選択的に除去し、自立式のタンタル層を形成する手段をさらに備えている請求項13に記載の装置。
  15. 前記少なくとも1つの非bcc相のタンタル領域を選択的にエッチングする手段をさらに備えている請求項13に記載の装置。
JP2005116413A 2004-04-15 2005-04-14 タンタル層を形成する方法及びタンタル層を用いる装置 Expired - Fee Related JP4533221B2 (ja)

Applications Claiming Priority (1)

Application Number Priority Date Filing Date Title
US10/825,841 US7445810B2 (en) 2004-04-15 2004-04-15 Method of making a tantalum layer and apparatus using a tantalum layer

Publications (2)

Publication Number Publication Date
JP2005298975A true JP2005298975A (ja) 2005-10-27
JP4533221B2 JP4533221B2 (ja) 2010-09-01

Family

ID=34934283

Family Applications (1)

Application Number Title Priority Date Filing Date
JP2005116413A Expired - Fee Related JP4533221B2 (ja) 2004-04-15 2005-04-14 タンタル層を形成する方法及びタンタル層を用いる装置

Country Status (3)

Country Link
US (1) US7445810B2 (ja)
EP (1) EP1587139A3 (ja)
JP (1) JP4533221B2 (ja)

Cited By (2)

* Cited by examiner, † Cited by third party
Publication number Priority date Publication date Assignee Title
JP2011187789A (ja) * 2010-03-10 2011-09-22 Seiko Epson Corp 圧電アクチュエーターの製造方法
CN111799372A (zh) * 2020-05-15 2020-10-20 上海华力微电子有限公司 Rram阻变结构的形成方法

Families Citing this family (9)

* Cited by examiner, † Cited by third party
Publication number Priority date Publication date Assignee Title
JP2008130982A (ja) * 2006-11-24 2008-06-05 Sumitomo Electric Ind Ltd ウエハ収納容器内に設ける部材およびその製造方法
WO2009084445A1 (ja) * 2007-12-27 2009-07-09 Canon Anelva Corporation ドライエッチング方法、磁気抵抗効果素子とその製造方法及び製造装置
FR2953068B1 (fr) * 2009-11-24 2012-01-20 Commissariat Energie Atomique Dispositif d'affichage electronique a ecran electroluminescent, et son procede de fabrication
US9295153B2 (en) 2012-11-14 2016-03-22 Rohm And Haas Electronic Materials Llc Method of manufacturing a patterned transparent conductor
US20150001720A1 (en) * 2013-06-27 2015-01-01 Taiwan Semiconductor Manufacturing Co., Ltd. Interconnect Structure and Method for Forming Interconnect Structure
TWI671211B (zh) * 2014-11-19 2019-09-11 愛爾蘭商滿捷特科技公司 生存期獲得改善之噴墨噴嘴裝置
US10532571B2 (en) * 2015-03-12 2020-01-14 Hewlett-Packard Development Company, L.P. Printhead structure
WO2017111814A1 (en) * 2015-12-26 2017-06-29 Intel Corporation Low resistance interconnect
US10801100B2 (en) * 2018-09-11 2020-10-13 Arizona Board Of Regents On Behalf Of Arizona State University Multimodal microstructure material and methods of forming same

Citations (5)

* Cited by examiner, † Cited by third party
Publication number Priority date Publication date Assignee Title
JPH03248568A (ja) * 1990-02-27 1991-11-06 Fuji Xerox Co Ltd 薄膜半導体装置
JPH04318934A (ja) * 1991-04-18 1992-11-10 Sharp Corp 金属薄膜及びその製造方法
JPH07226507A (ja) * 1994-02-10 1995-08-22 Fujitsu Ltd 半導体装置及びその製造方法
JPH09213961A (ja) * 1996-01-29 1997-08-15 Seiko Epson Corp 薄膜半導体装置及びその製造方法並びに電子機器及びその製造方法
JP2004525257A (ja) * 2001-01-31 2004-08-19 アプライド マテリアルズ インコーポレイテッド ウエハ・バイアスを用いて低温アルファ・タンタル薄膜を得る方法

Family Cites Families (9)

* Cited by examiner, † Cited by third party
Publication number Priority date Publication date Assignee Title
DE3063506D1 (en) * 1979-08-31 1983-07-07 Fujitsu Ltd A tantalum thin film capacitor and process for producing the same
US5221449A (en) * 1990-10-26 1993-06-22 International Business Machines Corporation Method of making Alpha-Ta thin films
TW201343B (ja) * 1990-11-21 1993-03-01 Toshiba Co Ltd
JPH09306334A (ja) 1996-05-10 1997-11-28 Fujitsu Ltd フィールドエミッタ及びその製造方法
US6139699A (en) 1997-05-27 2000-10-31 Applied Materials, Inc. Sputtering methods for depositing stress tunable tantalum and tantalum nitride films
US6830646B2 (en) 2000-08-30 2004-12-14 Lexmark International, Inc. Radiation curable resin layer
US6916398B2 (en) * 2001-10-26 2005-07-12 Applied Materials, Inc. Gas delivery apparatus and method for atomic layer deposition
US7294241B2 (en) 2003-01-03 2007-11-13 Chartered Semiconductor Manufacturing Ltd. Method to form alpha phase Ta and its application to IC manufacturing
US6955835B2 (en) 2003-04-30 2005-10-18 Hewlett-Packard Development Company, L.P. Method for forming compressive alpha-tantalum on substrates and devices including the same

Patent Citations (5)

* Cited by examiner, † Cited by third party
Publication number Priority date Publication date Assignee Title
JPH03248568A (ja) * 1990-02-27 1991-11-06 Fuji Xerox Co Ltd 薄膜半導体装置
JPH04318934A (ja) * 1991-04-18 1992-11-10 Sharp Corp 金属薄膜及びその製造方法
JPH07226507A (ja) * 1994-02-10 1995-08-22 Fujitsu Ltd 半導体装置及びその製造方法
JPH09213961A (ja) * 1996-01-29 1997-08-15 Seiko Epson Corp 薄膜半導体装置及びその製造方法並びに電子機器及びその製造方法
JP2004525257A (ja) * 2001-01-31 2004-08-19 アプライド マテリアルズ インコーポレイテッド ウエハ・バイアスを用いて低温アルファ・タンタル薄膜を得る方法

Cited By (4)

* Cited by examiner, † Cited by third party
Publication number Priority date Publication date Assignee Title
JP2011187789A (ja) * 2010-03-10 2011-09-22 Seiko Epson Corp 圧電アクチュエーターの製造方法
US8966729B2 (en) 2010-03-10 2015-03-03 Seiko Epson Corporation Method for manufacturing piezoelectric actuator
CN111799372A (zh) * 2020-05-15 2020-10-20 上海华力微电子有限公司 Rram阻变结构的形成方法
CN111799372B (zh) * 2020-05-15 2023-03-24 上海华力微电子有限公司 Rram阻变结构的形成方法

Also Published As

Publication number Publication date
EP1587139A3 (en) 2006-05-24
US7445810B2 (en) 2008-11-04
EP1587139A2 (en) 2005-10-19
US20050233159A1 (en) 2005-10-20
JP4533221B2 (ja) 2010-09-01

Similar Documents

Publication Publication Date Title
KR100857629B1 (ko) 에칭된 트렌치로부터 폴리머 코팅의 제거 방법
JP4533221B2 (ja) タンタル層を形成する方法及びタンタル層を用いる装置
TWI281442B (en) Ink jet recording head and producing method therefor
JP6873836B2 (ja) 液体吐出ヘッドの製造方法
US9085152B2 (en) Etching piezoelectric material
US7240433B2 (en) Method of fabricating a thermal inkjet head having a symmetrical heater
JP3480235B2 (ja) インクジェットプリンタヘッドおよびその製造方法
JP4979793B2 (ja) 液体吐出ヘッド用基板の製造方法
US9676193B2 (en) Substrate processing method and method of manufacturing substrate for liquid discharge head including forming hole in substrate by dry etching
US11081349B2 (en) Method of forming film on substrate and method of manufacturing liquid ejection head
RU2422289C1 (ru) Способ изготовления головки для выпуска жидкости
JP5224929B2 (ja) 液体吐出記録ヘッドの製造方法
TWI243102B (en) Manufacturing method of ink jet recording head and ink jet recording head manufactured by manufacturing method
JP2007160625A (ja) シリコン基板のエッチング方法、インクジェット記録ヘッドおよびその製造方法
TWI220415B (en) Fluid eject device and method of fabricating the same
TW200848273A (en) Ink jet print head manufacturing method and ink jet print head
TWI271320B (en) Monolithic fluid injection device and method of manufacturing the same
US7767103B2 (en) Micro-fluid ejection assemblies
TW504769B (en) Forming method of piezoelectric ink jet chip
JP2025108074A (ja) 液体吐出ヘッド及び液体吐出ヘッドの製造方法
JP2007144915A (ja) 液滴吐出ヘッドの製造方法およびパターン形成方法
JP2006225745A (ja) 薄膜素子の構造および製造方法
JPH11170548A (ja) インクジェットプリンターの印字ヘッドの製造方法
JP2008302586A (ja) インクジェット記録ヘッドの製造方法
KR20000016319A (ko) 잉크젯 프린터 헤드 및 그 제조방법_

Legal Events

Date Code Title Description
A977 Report on retrieval

Free format text: JAPANESE INTERMEDIATE CODE: A971007

Effective date: 20080328

A131 Notification of reasons for refusal

Free format text: JAPANESE INTERMEDIATE CODE: A131

Effective date: 20080909

A601 Written request for extension of time

Free format text: JAPANESE INTERMEDIATE CODE: A601

Effective date: 20081209

A602 Written permission of extension of time

Free format text: JAPANESE INTERMEDIATE CODE: A602

Effective date: 20081212

A521 Request for written amendment filed

Free format text: JAPANESE INTERMEDIATE CODE: A523

Effective date: 20090309

A131 Notification of reasons for refusal

Free format text: JAPANESE INTERMEDIATE CODE: A131

Effective date: 20090728

A601 Written request for extension of time

Free format text: JAPANESE INTERMEDIATE CODE: A601

Effective date: 20091028

A602 Written permission of extension of time

Free format text: JAPANESE INTERMEDIATE CODE: A602

Effective date: 20091102

A521 Request for written amendment filed

Free format text: JAPANESE INTERMEDIATE CODE: A523

Effective date: 20100126

TRDD Decision of grant or rejection written
A01 Written decision to grant a patent or to grant a registration (utility model)

Free format text: JAPANESE INTERMEDIATE CODE: A01

Effective date: 20100601

A01 Written decision to grant a patent or to grant a registration (utility model)

Free format text: JAPANESE INTERMEDIATE CODE: A01

A61 First payment of annual fees (during grant procedure)

Free format text: JAPANESE INTERMEDIATE CODE: A61

Effective date: 20100611

R150 Certificate of patent or registration of utility model

Free format text: JAPANESE INTERMEDIATE CODE: R150

FPAY Renewal fee payment (event date is renewal date of database)

Free format text: PAYMENT UNTIL: 20130618

Year of fee payment: 3

R250 Receipt of annual fees

Free format text: JAPANESE INTERMEDIATE CODE: R250

R250 Receipt of annual fees

Free format text: JAPANESE INTERMEDIATE CODE: R250

LAPS Cancellation because of no payment of annual fees