JP2005296619A - 内視鏡バルーン制御装置 - Google Patents

内視鏡バルーン制御装置 Download PDF

Info

Publication number
JP2005296619A
JP2005296619A JP2004329522A JP2004329522A JP2005296619A JP 2005296619 A JP2005296619 A JP 2005296619A JP 2004329522 A JP2004329522 A JP 2004329522A JP 2004329522 A JP2004329522 A JP 2004329522A JP 2005296619 A JP2005296619 A JP 2005296619A
Authority
JP
Japan
Prior art keywords
balloon
endoscope
pressure
air supply
control device
Prior art date
Legal status (The legal status is an assumption and is not a legal conclusion. Google has not performed a legal analysis and makes no representation as to the accuracy of the status listed.)
Granted
Application number
JP2004329522A
Other languages
English (en)
Other versions
JP4756851B2 (ja
Inventor
Takatoshi Yoshida
尊俊 吉田
Current Assignee (The listed assignees may be inaccurate. Google has not performed a legal analysis and makes no representation or warranty as to the accuracy of the list.)
Olympus Corp
Original Assignee
Olympus Corp
Priority date (The priority date is an assumption and is not a legal conclusion. Google has not performed a legal analysis and makes no representation as to the accuracy of the date listed.)
Filing date
Publication date
Application filed by Olympus Corp filed Critical Olympus Corp
Priority to JP2004329522A priority Critical patent/JP4756851B2/ja
Priority to PCT/JP2005/004534 priority patent/WO2005089626A1/ja
Priority to CN2008101358973A priority patent/CN101380220B/zh
Priority to KR1020067019127A priority patent/KR100840050B1/ko
Priority to EP05720791.2A priority patent/EP1726249A4/en
Publication of JP2005296619A publication Critical patent/JP2005296619A/ja
Priority to US11/522,826 priority patent/US20070038025A1/en
Application granted granted Critical
Publication of JP4756851B2 publication Critical patent/JP4756851B2/ja
Anticipated expiration legal-status Critical
Expired - Fee Related legal-status Critical Current

Links

Images

Classifications

    • AHUMAN NECESSITIES
    • A61MEDICAL OR VETERINARY SCIENCE; HYGIENE
    • A61BDIAGNOSIS; SURGERY; IDENTIFICATION
    • A61B1/00Instruments for performing medical examinations of the interior of cavities or tubes of the body by visual or photographical inspection, e.g. endoscopes; Illuminating arrangements therefor
    • AHUMAN NECESSITIES
    • A61MEDICAL OR VETERINARY SCIENCE; HYGIENE
    • A61BDIAGNOSIS; SURGERY; IDENTIFICATION
    • A61B1/00Instruments for performing medical examinations of the interior of cavities or tubes of the body by visual or photographical inspection, e.g. endoscopes; Illuminating arrangements therefor
    • A61B1/31Instruments for performing medical examinations of the interior of cavities or tubes of the body by visual or photographical inspection, e.g. endoscopes; Illuminating arrangements therefor for the rectum, e.g. proctoscopes, sigmoidoscopes, colonoscopes
    • AHUMAN NECESSITIES
    • A61MEDICAL OR VETERINARY SCIENCE; HYGIENE
    • A61BDIAGNOSIS; SURGERY; IDENTIFICATION
    • A61B1/00Instruments for performing medical examinations of the interior of cavities or tubes of the body by visual or photographical inspection, e.g. endoscopes; Illuminating arrangements therefor
    • A61B1/00064Constructional details of the endoscope body
    • A61B1/00071Insertion part of the endoscope body
    • A61B1/0008Insertion part of the endoscope body characterised by distal tip features
    • A61B1/00082Balloons
    • AHUMAN NECESSITIES
    • A61MEDICAL OR VETERINARY SCIENCE; HYGIENE
    • A61BDIAGNOSIS; SURGERY; IDENTIFICATION
    • A61B1/00Instruments for performing medical examinations of the interior of cavities or tubes of the body by visual or photographical inspection, e.g. endoscopes; Illuminating arrangements therefor
    • A61B1/00131Accessories for endoscopes
    • A61B1/00135Oversleeves mounted on the endoscope prior to insertion
    • AHUMAN NECESSITIES
    • A61MEDICAL OR VETERINARY SCIENCE; HYGIENE
    • A61BDIAGNOSIS; SURGERY; IDENTIFICATION
    • A61B1/00Instruments for performing medical examinations of the interior of cavities or tubes of the body by visual or photographical inspection, e.g. endoscopes; Illuminating arrangements therefor
    • A61B1/00147Holding or positioning arrangements
    • A61B1/00154Holding or positioning arrangements using guiding arrangements for insertion
    • AHUMAN NECESSITIES
    • A61MEDICAL OR VETERINARY SCIENCE; HYGIENE
    • A61BDIAGNOSIS; SURGERY; IDENTIFICATION
    • A61B1/00Instruments for performing medical examinations of the interior of cavities or tubes of the body by visual or photographical inspection, e.g. endoscopes; Illuminating arrangements therefor
    • A61B1/012Instruments for performing medical examinations of the interior of cavities or tubes of the body by visual or photographical inspection, e.g. endoscopes; Illuminating arrangements therefor characterised by internal passages or accessories therefor
    • A61B1/015Control of fluid supply or evacuation

Landscapes

  • Health & Medical Sciences (AREA)
  • Life Sciences & Earth Sciences (AREA)
  • Surgery (AREA)
  • Nuclear Medicine, Radiotherapy & Molecular Imaging (AREA)
  • Biomedical Technology (AREA)
  • Optics & Photonics (AREA)
  • Pathology (AREA)
  • Radiology & Medical Imaging (AREA)
  • Biophysics (AREA)
  • Engineering & Computer Science (AREA)
  • Physics & Mathematics (AREA)
  • Heart & Thoracic Surgery (AREA)
  • Medical Informatics (AREA)
  • Molecular Biology (AREA)
  • Animal Behavior & Ethology (AREA)
  • General Health & Medical Sciences (AREA)
  • Public Health (AREA)
  • Veterinary Medicine (AREA)
  • Endoscopes (AREA)

Abstract

【課題】内視鏡のバルーンとオーバーチューブのバルーンに対する送気または吸気時間を計測する。
【解決手段】本発明の内視鏡バルーン制御装置は、挿入部2B先端の外周部に固定用のバルーン9を取り付けた内視鏡2の前記バルーン9及び、先端外周部に固定用のバルーン11を取り付け、前記内視鏡2を挿通させるオーバーチューブ3の前記バルーン11にエアを供給する第1、第2ポンプ32a、32bと、前記バルーン9、11への送気または吸気時間を検出するタイマカウンタと、このタイマカウンタによる検出結果に基づき前記第1、第2ポンプ32a、32bを動作させて前記各バルーン9、11内の圧力を制御する制御部35と、を有している。
【選択図】 図1

Description

本発明は、内視鏡バルーン制御装置に係り、さらに詳しくは、内視鏡の挿入部先端外周部に設けられたバルーン及びオーバーチューブの挿入部先端外周部に設けられたバルーン内の圧力制御が可能な内視鏡バルーン制御装置に関する。
一般に、消化管検査においては、内視鏡を用いることが知られている。このような内視鏡の挿入部を深部消化管、例えば小腸へ挿入する場合、単に前記挿入部を押し入れていくだけでは、複雑な腸管の屈曲のため前記挿入部先端に力が伝わりにくく、深部への挿入は困難である。
例えば、前記内視鏡は、深部挿入によりできた前記内視鏡の余分な屈曲や撓みを伸ばそうとして引き戻してくると、前記挿入部先端も抜けてくるため、屈曲や撓みが取れず、深部挿入が困難になってしまう。
そこで、前記内視鏡の前記挿入部先端外周部にバルーンを取り付け、このバルーンを膨らませて前記腸管に一時固定することにより、前記内視鏡の余分な屈曲や撓みを伸ばす際に、前記挿入部の先端が抜けてくるのを防止するようにした内視鏡装置が提案されている。
さらに、従来技術では、前記内視鏡の前記挿入部を挿通するオーバーチューブを設けるとともにこのオーバーチューブの先端外周部にバルーンを設け、このバルーンと前記内視鏡のバルーンとを適宜膨らませたり、しぼませたりするようにして前記内視鏡装置よりも手術性能の向上化を可能にした内視鏡装置も提案されている。
例えば、特開2002−301019号公報には、前記内視鏡の前記バルーンと前記オーバーチューブの前記バルーンに対し、制御手段で各バルーン内のエアの圧力を測定して前記各バルーン内の圧力を制御しながらポンプ装置からエアを供給するようにした内視鏡装置が開示されている。
特開2002−301019号公報
前記内視鏡装置は、前記内視鏡のバルーンと前記オーバーチューブのバルーンとの材質が異なる場合や、バルーンの交換毎に材質が異なる場合には、同じ流量でもバルーンのふくらみ方が異なってしまう。よって、バルーンの材質・種類が異なっても一定のふくらみ方を維持するためには前記各バルーンに対する送気流量をバルーンの材質に応じて制御する必要がある。また、前記各バルーンに対する送気流量や送気圧を制御するためには、前記各バルーンに対する送気時間を計測する必要がある。
しかしながら、前記特開2002−301019号公報の従来例では、前記内視鏡のバルーン内と前記オーバーチューブのバルーン内の空気圧力を制御しているが、前記各バルーンの送気流量については制御することはできない。また、前記各バルーンに対する送気流量や送気圧を制御するために必要な前記各バルーンに対する送気時間や吸気時間については計測できないといった問題点があった。
そこで、本発明は前記問題点に鑑みてなされたもので、内視鏡のバルーンとオーバーチューブのバルーンに対する送気または吸気時間を計測することができる内視鏡バルーン制御装置を提供することを目的とする。
前記目的を達成するために請求項1の発明の内視鏡バルーン制御装置は、挿入部先端の外周部に固定用のバルーンを取り付けた内視鏡の前記バルーンにエアを供給するポンプと、前記バルーンへの送気または吸気時間を検出する時間検出手段と、前記時間検出手段による検出結果に基づき前記バルーン内の圧力を制御する制御手段と、を備えたことを特徴とするものである。
請求項2の発明の内視鏡バルーン制御装置は、挿入部先端の外周部に固定用のバルーンを取り付けた内視鏡の前記バルーン及び、先端外周部に固定用のバルーンを取り付け、前記内視鏡を挿通させるオーバーチューブの前記バルーンにエアを供給するポンプと、前記各バルーンへの送気または吸気時間を検出する時間検出手段と、前記時間検出手段による検出結果に基づき前記各バルーン内の圧力を制御する制御手段と、を備えたことを特徴とするものである。
請求項3の発明の内視鏡バルーン制御装置は、請求項1又は請求項2に記載の内視鏡バルーン制御装置において、前記制御手段は、前記時間検出手段からの検出結果が所定の閾値よりも超えた場合には前記ポンプの動作を停止させることを特徴とするものである。
請求項4の発明の内視鏡バルーン制御装置は、請求項1に記載の内視鏡バルーン制御装置において、前記制御手段は、前記バルーン内の圧力を第1の圧力値と第2の圧力値の間に制御するもので、前記バルーン内の圧力が前記第1の圧力値より大きい前記第2の圧力値を超えた場合には、前記バルーン内の圧力を減圧することを特徴とするものである。
請求項5の発明の内視鏡バルーン制御装置は、請求項4に記載の内視鏡バルーン制御装置において、前記制御手段は、バルーン内の圧力制御方法が異なる複数のバルーン内圧力制御手段を有し、一方の前記バルーン内圧力制御手段の故障に対して、他方の前記バルーン内圧力制御手段によって前記バルーン内の圧力制御が可能であることを特徴とするものである。
本発明の内視鏡バルーン制御装置は、内視鏡のバルーンとオーバーチューブのバルーンに対する送気または吸気時間を計測することができるといった利点がある。
以下、図面を参照して本発明の実施例を説明する。
図1は本発明の第1実施例に係り、内視鏡バルーン制御装置を適用した内視鏡システムの全体構成を示す構成図である。
図1に示すように、本実施例の内視鏡バルーン制御装置を有する内視鏡システム1は、内視鏡2、オーバーチューブ3、光源装置4、ビデオプロセッサ5、モニター6、内視鏡バルーン制御装置7、リモートコントローラ8を有している。
前記内視鏡2は、例えば消化管内内視鏡検査に用いられるもので、体腔内に挿入するための挿入部2Bと、この挿入部2Bの基端側に設けられた操作部2Aと、を有している。 また、前記挿入部2Bの先端部内には、図示しない照明光学系及び撮像素子であるCCDを含む観察光学系が設けられており、被検体の消化管内の観察部位を照明し、被検体の消化管内の観察像を得ることが可能である。
前記操作部2Aには、ユニバーサルコード2Cが延出されている。このユニバーサルコード2C内には、図示しない信号線及びライトガイドケーブルが設けられている。このユニバーサルコード2Cの基端部は、前記光源装置4のコネクタ4a、前記ビデオプロセッサ5のコネクタ5aに接続される。これにより、前記内視鏡2の前記照明光学系には、前記ユニバーサルコード2C内のライトガイドケーブルを介して光源装置4からの照明光が供給されて観察部位を照明し、前記CCDから出力される消化管内の撮像信号を前記ビデオプロセッサ5に出力する。
このような内視鏡2は、手術時、前記オーバーチューブ3に挿通されて用いられるようになっている。前記オーバーチューブ3の構成については後述する。
前記光源装置4は、前記ライトガイドケーブル内のライトガイド(図示せず)を介して前記内視鏡2に設けられた照明光学系に対して照明光を供給するための光源装置である。
前記ビデオプロセッサ5は、前記内視鏡2の前記CCDからの撮像信号に信号処理を施し、撮像信号に基づく画像データ(例えば内視鏡ライブ画像データ)をモニター6に供給する。
前記モニター6は、接続ケーブル5Aにより前記ビデオプロセッサ5に接続されている。前記モニター6は、前記ビデオプロセッサ5からの画像データに基づく内視鏡画像を表示する。
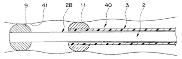
本実施例の内視鏡システム1では、前記内視鏡2の前記挿入部2Bの先端外周部には、固定用のバルーン9が取り付けられている。このバルーン9には、前記挿入部2Bの基端部側から先端部側にかけて前記挿入部2Bに沿って設けたエア供給チューブ10が接続されている。
前記エア供給チューブ10の前記操作部2A側基端部は、前記操作部2Aの下部に設けられたコネクタ2aに接続されている。このコネクタ2aには、一端を後述する内視鏡バルーン制御装置7に接続され内視鏡バルーン送気用チューブ(以下、第1送気用チューブと称す)13の他端に設けられたコネクタ13Aが接続される。これにより、前記内視鏡バルーン制御装置7からの送気により前記バルーン9内を膨らませて腸管などの消化管に一時固定する。
前記オーバーチューブ3は、前記内視鏡2を挿通させて前記挿入部2Bを、例えば、消化管に挿入する際のガイドを行うもので、前記内視鏡の前記挿入部2Bの外径よりも若干大きな内径を有している。また、このオーバーチューブ3は、前記内視鏡2の前記挿入部2Bと同様に可撓性を有する構成となっている。さらに、このオーバーチューブ3の先端外周部にはチューブ固定用のバルーン11が取り付けられている。
前記バルーン11には、前記オーバーチューブ3の基端部側から先端部側にかけて設けられたエア供給チューブ12が接続されている。
前記エア供給チューブ12の前記バルーン11とは逆側の基端部(前記オーバーチューブ3の内視鏡2を挿入する挿入口側)は、前記オーバーチューブ3の前記挿入口近傍に設けられたコネクタ3aに接続されている。このコネクタ3aには、一端を前記内視鏡バルーン制御装置7に接続されオーバーチューブバルーン送気用チューブ(以下、第2送気用チューブと称す)14の他端に設けられたコネクタ14Aが接続される。これにより、前記内視鏡バルーン制御装置7からの送気により前記バルーン11内を膨らませて腸管などの消化管に一時固定する。
前記内視鏡バルーン制御装置7は、前記内視鏡2のバルーン9及び前記オーバーチューブ3のバルーン11の送気流量等の各種動作を制御するものである。
図2は前記内視鏡バルーン制御装置の概略構成を示す構成図である。
図2に示すように、前記内視鏡バルーン制御装置7は、逆流防止用タンク15が設けられ、前面には圧力表示器16,電源スイッチ17が設けられている。
前記逆流防止用タンク15は、液体の逆流を防止可能に構成され、前記内視鏡2のバルーン9用のタンク15Aと、前記オーバーチューブ3のバルーン11用のタンク15Bとを有している。これらタンク15A、15Bにはそれぞれ対応する前記第1、第2送気用チューブ13、14が接続されている。
前記タンク15A、15Bは、それぞれ前記内視鏡バルーン制御装置7の制御によって後述する第1、第2ポンプ32a、32b(図4参照)を介して内部の圧力を増大させることにより、前記第1、第2送気用チューブ13、14を介して各バルーン9、11に送気する。この場合、前記タンク15A、15Bは、図示はしない逆流防止機構によって、前記第1、第2送気用チューブ13、14からの液体の逆流が防止されるようになっている。
このように本実施例の前記内視鏡バルーン制御装置7には、前記内視鏡2のバルーン9に接続されるエア供給チューブ10、第1送気用チューブ13、前記タンク15Aを介する送気管路と、前記オーバーチューブ3のバルーン11に接続されるエア供給チューブ12、第2送気用チューブ14、前記タンク15Bを介する送気管路とが設けられている。
また、前記圧力表示器16は、検出器(図示せず)を用いてバルーン9、11に接続されている管路の圧力値を表示するものである。この圧力表示器16は、前記内視鏡2のバルーン9用の表示器16Aと、前記オーバーチューブ3のバルーン11用の表示器16Bとを有している。
前記表示器16Aは前記内視鏡2のバルーン9用の管路内の圧力値を表示し、前記表示器16Bは前記オーバーチューブ3のバルーン11用の管路内の圧力値を表示する。
前記電源スイッチ17は、前記内視鏡バルーン制御装置7の電源をオン状態又はオフ状態に切り替えるスイッチである。
また、図1及び図2に示すように、前記内視鏡バルーン制御装置7の一面には、接続ケーブル8Aを介して、リモートコントローラ8が接続されている。このリモートコントローラ8は、前記接続ケープル8Aを介して、後述する前記内視鏡バルーン制御装置7の内部に設けられた制御部35に電気的に接続されている。
本実施例において、前記内視鏡バルーン制御装置7は、術中、術者による前記リモートコントローラ8の操作によって、前記各バルーン9、11の圧力制御及び送気量制御のための操作信号が供給されるようになっている。
図3は前記リモートコントローラ8の構成例を示す図である。
図3に示すように、前記リモートコントローラ8は、術者が操作し易いように、例えば内視鏡側バルーン制御用の各種ボタンとオーバーチューブ側バルーン制御用の各種ボタンとがリモートコントローラ本体の左右に分かれて配設されている。
前記リモートコントローラ8の左側には、前記内視鏡側バルーン制御用の操作ボタンとして、開放ボタン18a、送気開始ボタン19a、吸気開始ボタン20a、停止ボタン21aが設けられている。
また、前記リモートコントローラ8の右側には、前記オーバーチューブ側バルーン制御用の操作ボタンとして、開放ボタン18b、送気開始ボタン19b、吸気ボタン20b、停止ボタン21bが設けられている。
さらに、前記リモートコントローラ8の下部には、電源ボタン22、緊急停止ボタン23が設けられている。
前記開放ボタン18aは、前記内視鏡2のバルーン9の管路内の空気開放を指示するためのボタンである。前記送気開始ボタン19aは、前記内視鏡2のバルーン9内への送気開始を指示するボタンである。前記吸気開始ボタン20aは、前記内視鏡2のバルーン9からの吸気開始を指示するボタンである。また、前記停止ボタン21aは、前記送気開始ボタン19aによる送気動作や、前記吸気開始ボタン20aによる吸気動作を停止させる指示を行うボタンであり、この停止ボタン21aを押下することにより、前記バルーン9内の空気圧が保持されるようになっている。
一方、前記開放ボタン18bは、前記オーバーチューブ3のバルーン11の管路内の空気開放を指示するためのボタンである。前記送気開始ボタン19bは、前記オーバーチューブ3のバルーン11内への送気開始を指示するボタンである。前記吸気開始ボタン20bは、前記オーバーチューブ3のバルーン11からの吸気開始を指示するボタンである。また、前記停止ボタン21bは、前記送気開始ボタン19bによる送気動作や、前記吸気開始ボタン20bによる吸気動作を停止させる指示を行うボタンであり、この停止ボタン21bを押下することにより、前記バルーン11内や管路内の空気圧が保持されるようになっている。
また、前記電源スイッチ22は、前記内視鏡バルーン制御装置7の電源をオン状態又はオフ状態に切り替えるボタンである。
前記緊急停止ボタン23は、前記内視鏡バルーン制御装置7の後述する第1〜第3プレーカ31a〜31cを直接にオフして前記内視鏡バルーン制御装置7による各バルーン9、11の送気制御等を緊急停止するためのボタンである。
次に、前記内視鏡バルーン制御装置7の内部構成について図4を参照しながら説明する。図4は前記内視鏡バルーン制御装置の内部構成を示すブロック図である。
図4に示すように、前記内視鏡バルーン制御装置7は、スイッチング電源部30、第1〜第3プレーカ31a〜31c、第1、第2ポンプ32a、32b、第1、第2流量調整バルブ32c、32d、管路切替部33、第1、第2圧力センサ34a、34b、及び前記制御手段である制御部(制御ユニット)35を有している。
前記スイッチング電源部30には、図示しない接続コードを介して外部の商用電源部から交流電源が供給されるようになっている。前記スイッチング電源部30は、供給された交流電源を直流電源に変換して前記第1〜第3プレーカ31a〜31c、第1、第2圧力センサ34a、34b、制御部35、及び前記リモートコントローラ8の前記緊急停止ボタン23に供給する。
前記第1プレーカ31aは、前記第1、第2ポンプ32a、32b及び前記リモートコントローラ8の緊急停止ボタン23に電気的に接続されている。前記第1プレーカ31aは、前記第1、第2ポンプ32a、32bに直流電源を供給しており、前記緊急停止ボタン23から操作信号が供給された場合には前記第1、第2ポンプ32a、32bへの直流電源の供給を停止するようになっている。
前記第2プレーカ31bは、前記管路切替部33及び前記リモートコントローラ8の緊急停止ボタン23に電気的に接続されている。前記第2プレーカ31bは、前記管路切替部33に直流電源を供給しており、前記緊急停止ボタン23から操作信号が供給された場合には前記管路切替部33への直流電源の供給を停止するようになっている。
前記第3プレーカ31cは、前記第1、第2流量調整バルブ32c、32d及び前記リモートコントローラ8の緊急停止ボタン23に電気的に接続されている。前記第3プレーカ31cは、前記第1、第2流量調整バルブ32c、32d及に直流電源を供給しており、前記緊急停止ボタン23から操作信号が供給された場合には前記第1、第2流量調整バルブ32c、32dへの直流電源の供給を停止するようになっている。
前記第1、第2ポンプ32a、32bは、前記管路切替部33の入力側にそれぞれ空気ラインを介して接続されている。また、前記第1、第2ポンプ32a、32bは、前記制御部35からの制御信号に基づいて駆動制御されるようになっており、例えば前記空気ラインを介して前記管路切替部33に対して送気したり、あるいは逆に前記空気ラインを介して前記管路切替部33に対して吸気したりできるようになっている。
前記管路切替部33の出力側には、前記第1、第2流量調整バルブ32c、32dがそれぞれ空気ラインを介して接続されている。前記第1,第2流量調整バルブ32c、32dは、前記制御部35によって開閉調整可能なバルブであり、前記制御部35からの制御信号に基づいて出力する空気の流量調整を可能にする。また、前記第1、第2流量調整バルブ32c、32dは、それぞれ送気ラインを介して第1、第2圧力センサ34a、34bに所定範囲内で調整された流量の空気を供給する。
前記第1、第2圧力センサ34a、34bは、前記第1、第2流量調整バルブ32c、32dから供給される空気の圧力を計測する。なお、本実施例では、第1、第2圧力センサ34a、35bによる計測結果を前記制御部35に供給し、前記制御部35はそれぞれ供給された計測結果に基づき、所望する空気圧となるように前記第1、第2ポンプ32a、32bを制御するように構成しても良い。
前記第1、第2圧力センサ34a、34bの出力は、それぞれ送気ライン、コネクタ7A、7B、13B、14Bを介して前記第1、第2送気用チューブ13、14に供給されるようになっている。
このように、前記内視鏡バルーン制御装置7は、前記第1ポンプ32a、前記管路切替部33を介して第1流量調整バルブ32c、第1圧力センサ34aで構成される送気管路と、前記第2ポンプ32b、前記管路切替部33を介して第2流量調整バルブ32d、第2圧力センサ34bで構成される送気管路と、を有している。
また、前記管路切替部33は、前記内視鏡バルーン制御装置7内の実行モードに応じた管路状態となるように、内部に設けられた図示しない管路を切換えることが可能であり、例えば前記実行モードとしては送気モード、吸気モード、保持モード、開放モードの4つの実行モードがある。したがって、前記管路切替部33は、前記4つのモードに応じた状態、すなわち、送気状態、吸気状態、保持状態、開放状態となるように図示しない内部管路を切換えることができ、この切替は前記制御部35からの制御信号に基づいて制御されるようになっている。その結果、後段側に接続された前記内視鏡2のバルーン9側の管路と前記オーバーチューブ側3のバルーン11側の管路とをそれぞれ所望の実行モードに基づく管路状態にすることができるようになっている。
前記制御部35は、図示しないが、前記内視鏡2のバルーン9及び前記オーバーチューブ3のバルーン11への送気流量をカウントする流量カウンタと、前記各バルーン9、11の各送気時間や吸気時間等をカウントする前記送気時間検出手段であるタイマカウンタや所定時間を測定するタイマと、後述するメインプログラムや各種モジュールに基づくプログラムを記憶した記憶部と、を有している。
前記制御部35は、前リモートコントローラ8からの操作信号に基づき前記プログラムを実行することで、前記流量カウンタ及びタイマカウンタを用いながら前記第1、第2ポンプ32a、32b、前記管路切替部33及び第1、第2流量調整バルブ32c、32dを制御するようになっている。
こうして、前記内視鏡バルーン制御装置7は、前記内視鏡2のバルーン9と前記オーバーチューブ3のバルーン11への送気時間や吸気時間、送気流量時間等を計測することができ、これらの計測結果を用いることで、前記内視鏡2のバルーン9と前記オーバーチューブ3のバルーン11とに対する送気流量を制御することができるようになっている。
次に、前記内視鏡システム1の基本的な操作状態について図5乃至図11を参照しながら説明する。
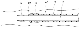
図5乃至図11は前記内視鏡2のバルーンと前記オーバーチューブのバルーンとを用いて内視鏡及びオーバーチューブの操作状態を説明するための説明図である。図5は各バルーンをしぼませて内視鏡をオーバーチューブに挿通して腸管に挿入した状態を示し、図6はオーバーチューブのバルーンを膨らませて腸管に固定した状態を示し、図7は図6の状態からさらに内視鏡をオーバーチューブに挿入した状態を示し、図8は図7の状態で内視鏡のバルーンを膨らませて腸壁に固定した状態を示し、図9は図8の状態でオーバーチューブのバルーンをしぼませてさらにオーバーチューブを挿入した状態を示し、図10は図9の状態からオーバーチューブの先端が内視鏡先端部まで移動した状態を示し、図11は図10の状態でオーバーチューブのバルーンを膨らませて腸壁に固定した状態をそれぞれ示している。
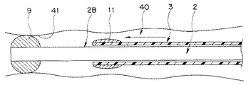
図5に示すように、術者は、オーバーチューブ3内に内視鏡2を挿通させる。この場合、前記内視鏡2のバルーン9及び前記オーバーチューブ3のバルーン11は、それぞれ内部のエアを抜いてしぼませた状態とし、この状態で術者は被験者に対する内視鏡2の挿入を開始する。
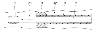
次に、術者は内視鏡2及びオーバーチューブ3の先端を、例えば十二指腸下行脚まで挿入したところで、図6に示すように、リモートコントローラ8のオーバーチューブ側の送気開始ボタン19b(図3参照)を押下して前記第2ポンプ32bから前記オーバーチューブ3の先端に取り付けた本体固定用の前記バルーン11にエアを供給し、このバルーン11を膨らませて前記オーバーチューブ3を腸管40に固定する。
次に、術者は、図7に示すように、前記オーバーチューブ3を腸管40に対して保持し、前記内視鏡2の前記挿入部2Bのみ深部に挿入させていく。
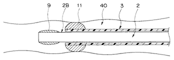
そして、術者は前記内視鏡2の前記挿入部2Bを所定距離挿入した状態で、図8に示すように、リモートコントローラ8の内視鏡側の送気開始ボタン19a(図3参照)を押下して前記第1ポンプ32aから内視鏡2の先端に取り付けた本体固定用のバルーン9内にエアを供給し、このバルーン9を膨らませて腸管41に固定する。
なお、患者によっては前記腸管40、41が狭い場合が考えられるが、術者は前記停止ボタン21a、21bを押下すれば、各バルーン9、11へのエアー供給が停止されることで、前記腸管40、41の大きさに応じて最適に各バルーン9、11を膨らませて腸管40、41に固定することができる。
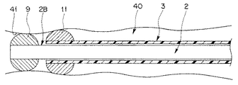
次に、術者は、前記リモートコントローラ8のオーバーチューブ側の開放ボタン18b又は吸気開始ボタン20b(図3参照)を押下して、前記管路切替部33により前記バルーン11内のエアを開放し、あるいは前記第2ポンプ32bから前記オーバーチューブ3の前記バルーン11内のエアを吸気して、前記バルーン11をしぼませる(図9参照)。
次いで、術者は、図9に示すように前記オーバーチューブ3を前記内視鏡2に沿わせて深部に挿入していき、前記内視鏡2の前記挿入部2Bの先端近くまで前記オーバーチューブ3の先端を挿入する。
そして、術者は、前記オーバーチューブ3の先端を前記挿入部2Bの先端近くまで挿入した状態で、図11に示すように、前記リモートコントローラ8のオーバーチューブ側の送気開始ボタン19b(図3参照)を押下して前記第2ポンプ32bから前記オーバーチューブ3の前記バルーン11にエアを供給し、このバルーン11を膨らませて前記オーバーチューブ3を腸壁41に固定する。
また、術者は、前記リモートコントローラ8の内視鏡側の開放ボタン18a又は吸気開始ボタン20a(図3参照)を押下して、前記管路切替部33により前記バルーン9内のエアを開放し、あるいは前記第1ポンプ32aから前記内視鏡2の前記バルーン9内のエアを吸気して、前記バルーン9をしぼませて、さらに前記挿入部2Bを深部に挿入させる。
以上のような図5乃至図11の操作を繰り返すことにより、前記内視鏡2及び前記オーバーチューブ3の深部挿入を進めていくことになり、前記内視鏡2の前記挿入部2Bを所望の位置に挿入させることができるようになっている。
次に、本実施例の前記内視鏡バルーン制御装置の作用について図12乃至図15を参照しながら説明する。
図12乃至図15は内視鏡バルーン制御装置の作用を説明するためのもので、図12は制御部のメインプログラムを示すフローチャート、図13は図12のスイッチ状態確認モジュールに基づく処理ルーチンを示すフローチャート、図14は図13の送気モジュールに基づく処理ルーチンを示すフローチャート、図15は図13の吸気モジュールに基づく処理ルーチンを示すフローチャートである。
いま、術者が図1の内視鏡システム1を用いて消化管内内視鏡検査を行うものとする。そして、術者が図3に示すリモートコントローラ8の電源ボタン22(あるいは図2に示す電源スイッチ17)を押下すると、制御部35は内部の図示しない記憶部から図12に示すメインプログラムを読み込み起動させる。
前記制御部35は、ステップS1の処理で電源のON状態を確認すると、ステップS2の処理で前記内視鏡バルーン制御装置7内の各種機器等の初期化を行う。この初期化としては、例えば前記制御部35は、前記第1、第2ポンプ32a、32bを始動させるとともに、前記管路切替部33によって管路開放状態となるように初期化行う。また、前記制御部35は、前記制御部35内の図示しない流量カウンタやタイマカウント等のリセットを行い初期化する。
そして、前記制御部35は、続くステップS3の判断処理で20msecタイマ割り込みを判断し、あったと判断した場合には処理をステップS4に移行し、無かったと判断した場合には継続してこの判断処理を行う。
なお、前記タイマは、図12に示す処理ルーチンを20msec毎に動作させるために20msecを計測するものを用いている。
そして、前記制御部35は、ステップS4の判断処理にて、前記タイマの20msec毎に1をカウントするタイマカウンタのカウンタ値が10と等しいか否かを判断し、等しいと判断した場合にはステップS5の処理にて前記タイマカウンタ及び前記流量カウンタをリセットし、処理をステップS6に移行する。一方、前記カウンタ値が10と等しくないと判断した場合には、前記制御部35は、処理をステップS6に移行する。
なお、本実施例では、図12に示す処理ルーチンを10回、つまり、200msecの時間単位で前記術者のコントローラ8による各種ボタン操作に応じたバルーン制御を行うことを意味している。
次に、前記制御部35は、ステップS6、ステップS7の処理にて後述する第1ポンプ、第2ポンプスイッチ状態確認モジュールに基づく処理ルーチンを実行させる。
そして、前記スイッチ状態確認モジュールに基づく処理ルーチンの完了後、前記制御部35は、ステップS8の処理にて前記タイマカウンタによるカウンタ値に1を加えた後、処理を前記ステップS3の判断処理に戻す。
次に、前記ステップS6による前記第1ポンプスイッチ状態確認モジュールの処理ルーチンについて図13を参照しながら説明する。
前記制御部35は、前記ステップS6の処理を実行すると、図13に示すスイッチ状態確認モジュールの処理ルーチンを起動する。
すると、前記制御部35は、ステップS11の判断処理にて、リモートコントローラ8の緊急停止ボタン23が押下されたか否かにより、警告の有無を判断する。この場合、前記制御部35は、警告フラグのON/OFFを検出することにより前記判断処理を行う。なお、前記警告フラグは、前記緊急停止ボタン23の押下に限らず、前記内視鏡バルーン制御装置7に不具合が生じたら警告状態となり、前記制御部35によってONされるようになっている。
ここで、警告フラグがONしていると検出した場合には、前記制御部35は、前記緊急停止ボタン23が押下された等により前記内視鏡バルーン制御装置7が警告状態であると判断し、現状の警告処理を維持するためにステップS20の処理にて前記スイッチ状態確認モジュールに基づく処理ルーチンを終了し、図12のステップS7の処理に移行する。
一方、前記ステップS11の判断処理にて、警告フラグがOFFであると検出した場合には、前記制御部35は、前記緊急停止ボタン23が押下されてなく前記内視鏡バルーン制御装置7が警告状態でないと判断し、ステップS12の判断処理に移行する。
ステップS12の判断処理では、前記制御部35は、図3に示すリモートコントローラ8の開放ボタン18aが押下されたか否かを判断し、押下されてないと判断した場合にはステップS14に移行する。一方、押下されたと判断した場合には、前記制御部35は、ステップS13の処理にて前記開放ボタン18aに対応する第1ポンプ32aの動作を停止させるとともに、管路を開放するように前記管路切替部33及び第1流量調整バルブ32cを制御した後、前記ステップS20に移行し、前記第1ポンプスイッチ状態確認モジュールに基づく処理ルーチンを終了させる。
ステップS14の判断処理では、前記制御部35は、図3に示すリモートコントローラ8の停止ボタン21aが押下されたか否かを判断し、押下されてないと判断した場合にはステップS16に移行する。一方、押下されたと判断した場合には、前記制御部35は、ステップS15の処理にて管路を閉鎖(管路保持状態)するように前記管路切替部33及び第1流量調整バルブ32cを制御するとともに、前記停止ボタン21aに対応する第1ポンプ32aの動作を停止させた後、前記ステップS20に移行し、前記第1ポンプスイッチ状態確認モジュールに基づく処理ルーチンを終了させる。
ステップS16の判断処理では、前記制御部35は、図3に示すリモートコントローラ8の吸気開始ボタン20aが押下されたか否かを判断し、押下されてないと判断した場合にはステップS18に移行する。一方、押下されたと判断した場合には、前記制御部35は、ステップS17の処理にて後述する図15に示す吸気モジュールに基づく処理ルーチンを起動させて、前記吸気開始ボタン20aに対応する吸気制御を行った後、前記ステップS20に移行し、前記第1ポンプスイッチ状態確認モジュールに基づく処理ルーチンを終了させる。
ステップS18の判断処理では、前記制御部35は、図3に示すリモートコントローラ8の送気開始ボタン19aが押下されたか否かを判断し、押下されてないと判断した場合には前記ステップS20に移行する。一方、押下されたと判断した場合には、前記制御部35は、ステップS19の処理にて後述する図14に示す送気モジュールに基づく処理ルーチンを起動させて、前記送気開始ボタン19aに対応する送気制御を行った後、前記ステップS20に移行し、前記第1ポンプスイッチ状態確認モジュールに基づく処理ルーチンを終了させる。
次に、前記ステップS19による前記送気モジュールの処理ルーチンについて図14を参照しながら説明する。
なお、本実施例において、前記制御部35には、予め前記第1、第2センサ34a、34bからの圧力測定結果と比較を行うための圧力最大値及び圧力上限値とが予め設定されるようになっている。また、前記圧力上限値と前記圧力最大値とは、前記圧力制限値<前記圧力最大値となる関係を満足している。この場合、前記圧力最大値は、前記各バルーン9、11が膨らんで危険な状態となるのに相当する圧力値であり、前記圧力上限値は、前記各バルーン9、11が膨らんで腸管に固定するのに相当する圧力値を意味している。
前記制御部35は、前記ステップS19の処理を実行すると、図14に示す送気モジュールの処理ルーチンを起動する。
すると、前記制御部35は、ステップS21の判断処理にて、前記第1圧力センサ34aからの測定結果(例えば圧力アナログ値)と予め設定された圧力最大値との比較を行い、前記測定結果が前記圧力最大値よりも小さいと判断した場合にはステップS22に移行し、逆に大きいと判断した場合にはステップS29の処理に移行する。
ステップS29の処理では、前記制御部35は、第1ポンプ32aの動作を停止させるとともに、管路を開放するように前記管路切替部33及び第1流量調整バルブ32cを制御する。その後、前記制御部35は、ステップS30の処理で、前記警告フラグをオンさせた後、ステップS37に移行し、前記送気モジュールに基づく処理ルーチンを終了させる。
前記ステップS22の処理では、前記制御部35は、内部のタイマにより送気時間を計測した計測結果(送気時間)と予め設定された最大送気時間との比較を行い、前記送気時間が前記最大送気時間よりも小さいと判断した場合にはステップS23に移行し、逆に大きいと判断した場合にはステップS31の処理に移行する。
ステップS31の処理では、前記制御部35は、前記ステップS29の処理と同様に、第1ポンプ32aの動作を停止させるとともに、管路を開放するように前記管路切替部33及び第1流量調整バルブ32cを制御する。その後、前記制御部35は、前記ステップS30の処理と同様に、ステップS32の処理で、前記警告フラグをオンさせた後、ステップS37に移行し、前記送気モジュールに基づく処理ルーチンを終了させる。
そして、前記制御部35は、ステップS23の判断処理にて、前記タイマの20msec毎に1をカウントするタイマカウンタのカウンタ値が1と等しいか否かを判断し、等しいと判断した場合には、ステップS33の処理にて第1ポンプ32aの動作を停止させるとともに、管路状態を保持するように前記管路切替部33及び第1流量調整バルブ32cを制御する。その後、前記制御部35は、ステップS34の処理にて前記第1、第2圧力センサ34a、34bによる圧力測定を行って測定圧力値を取得した後、ステップS24に移行する。
また、前記ステップS23の判断処理にて、前記タイマカウンタのカウンタ値が1と等しくないと判断した場合には、前記制御部35は、前記ステップS24に移行する。
そして、前記制御部35は、ステップS24の判断処理にて、前記第1圧力センサ34aによる圧力測定を行って測定圧力値を取得し、この取得した測定圧力値(前記ステップS33、34のループを介した場合には前記ステップS34にて得られた測定圧力値)と予め設定された圧力上限値との比較を行い、前記測定結果が前記圧力上限値よりも小さいと判断した場合にはステップS25に移行し、逆に大きいと判断した場合にはステップS35の処理に移行する。
ステップS35の処理では、前記制御部35は、第1ポンプ32aの動作を停止させるとともに、管路状態を保持するように前記管路切替部33及び第1流量調整バルブ32cを制御した後、前記ステップS37に移行し、前記送気モジュールに基づく処理ルーチンを終了させる。
次に、前記制御部35は、ステップS25の判断処理にて、前記流量カウンタ値と予め設定された所定の送気量(送気流量)との比較を行い、前記流量カウンタ値が前記所定の送気量より大きいと判断した場合には、ステップS36の処理にて第1ポンプ32aの動作を停止させるとともに、管路状態を保持するように前記管路切替部33及び第1流量調整バルブ32cを制御した後、ステップS37に移行し、前記送気モジュールに基づく処理ルーチンを終了させる。
なお、前記流量カウンタ値とは、200msec(20msec×10)でどれだけの送気量を送気できるか決定するための変数であり、例えば前記タイマーカウンタ値0〜9に応じた0〜9までの設定が可能である。実際には、前記流量カウンタ(図示せず)によって前記流量カウンタ値を20msec毎にカウントしている。また、前記所定の送気量とは、前記内視鏡バルーン制御装置7の20msec毎に送気可能なおよその送気量(送気流量)を示している。
前記ステップS25の判断処理にて、前記流量カウンタ値が前記所定の送気量より小さいと判断した場合には、前記制御部35は、ステップS27の処理にて送気開始ボタン19a、19bに基づく送気管路を設定するように前記管路切替部33を制御する。その後、前記制御部35は、ステップS27の処理にて前記流量カウンタ値に1を足し、続くステップS28の処理にて前記送気時間に1を足して前記ステップS37に移行し、前記送気モジュールに基づく処理ルーチンを終了させる。
前記送気モジュールに基づく処理ルーチンが終了すると、前記制御部35は、図13に示すスイッチ状態確認モジュールに基づく処理ルーチンを完了したものとして、図12に示すステップS7の第2ポンプスイッチ状態確認モジュールに基づく処理を実行させ、以降、図12に示す処理ルーチンにしたがって繰り返し処理を実行させる。なお、第2ポンプスイッチ状態確認モジュールの動作及び、ポンプ、スイッチ、制御対象が変更になるだけなので省略する。
次に、図13に示す前記ステップS17による前記吸気モジュールの処理ルーチンについて図15を参照しながら説明する。
前記制御部35は、前記ステップS17の処理を実行すると、図15に示す吸気モジュールの処理ルーチンを起動する。
すると、前記制御部35は、ステップS40の判断処理にて、内部のタイマにより吸気時間を計測した計測結果(吸気時間)と予め設定された最大吸気時間との比較を行い、前記吸気時間が前記最大吸気時間よりも小さいと判断した場合にはステップS41に移行し、逆に大きいと判断した場合にはステップS47の処理に移行する。
ステップS47の処理では、前記制御部35は、前記第1ポンプ32aの動作を停止させるとともに、管路を開放するように前記管路切替部33及び第1流量調整バルブ32cを制御する。その後、前記制御部35は、ステップS48の処理で、前記警告フラグをオンさせた後、ステップS53に移行し、前記吸気モジュールに基づく処理ルーチンを終了させる。
そして、前記制御部35は、ステップS41の判断処理にて、前記タイマの20msec毎に1をカウントするタイマカウンタのカウンタ値が1と等しいか否かを判断し、等しいと判断した場合には、ステップS49の処理にて第1ポンプ32aの動作を停止させるとともに、管路状態を保持するように前記管路切替部33及び第1流量調整バルブ32cを制御する。その後、前記制御部35は、ステップS50の処理にて前記第1圧力センサ34aによる圧力測定を行って測定圧力値を取得した後、ステップS42に移行する。
また、前記ステップS41の判断処理にて、前記タイマカウンタのカウンタ値が1と等しくないと判断した場合には、前記制御部35は、前記ステップS42に移行する。
そして、前記制御部35は、ステップS42の判断処理にて、前記第1圧力センサ34aによる圧力測定を行って測定圧力値を取得し、この取得した測定圧力値(前記ステップS49、50のループを介した場合には前記ステップS50にて得られた測定圧力値)と予め設定された圧力下限値との比較を行い、前記測定結果が前記圧力下限値よりも小さいと判断した場合にはステップS51に移行し、逆に大きいと判断した場合にはステップS43の処理に移行する。
ステップS51の処理では、前記制御部35は、第1、第2ポンプ32a、32bにより吸気動作を停止させるとともに、管路を保持するように前記管路切替部33及び第1、第流量調整バルブ32c、32dを制御した後、前記ステップS53に移行し、前記吸気モジュールに基づく処理ルーチンを終了させる。
次に、前記制御部35は、ステップS43の判断処理にて、前記流量カウンタ値と予め設定された所定の吸気量(吸気流量)との比較を行い、前記流量カウンタ値が前記所定の吸気量より大きいと判断した場合には、ステップS52の処理にて第1ポンプ32aの吸気動作を停止させるとともに、管路状態を保持するように前記管路切替部33及び第1流量調整バルブ32cを制御した後、前記ステップS54に移行し、前記吸気モジュールに基づく処理ルーチンを終了させる。なお、前記所定の吸気量とは、前記内視鏡バルーン制御装置7の20msec毎に吸気可能なおよその吸気量(吸気流量)を示している。
また、前記ステップS43の判断処理にて、前記流量カウンタ値が前記所定の吸気量より小さいと判断した場合には、前記制御部35は、ステップS44の処理にて吸気開始ボタン20aに基づく吸気管路を設定するように前記管路切替部33を制御する。その後、前記制御部35は、ステップS45の処理にて前記流量カウンタ値に1を足し、続くステップS46の処理にて前記吸気時間に1を足して前記ステップS53に移行し、前記吸気モジュールに基づく処理ルーチンを終了させる。
前記吸気モジュールに基づく処理ルーチンが終了すると、前記制御部35は、図13に示すスイッチ状態確認モジュールに基づき処理ルーチンを完了したものとして、図12に示すステップS7の第1ポンプ制御モジュールに基づく処理を実行させ、以降、図12に示す処理ルーチンにしたがって繰り返し処理を実行させる。
以上述べたように、本実施例によれば、前記内視鏡バルーン制御装置7は、内視鏡2のバルーン9とオーバーチューブ3のバルーン11に対する送気時間を計測することができるので、最大送気時間、最大吸気時間、最大送気圧及び最大吸気圧を超えたことを検出して管路を開放するようにバルーン内の圧力を制御することができるため、腸壁に対し多大な力を加えることなく手技を行うことが可能となる。
また、前記内視鏡バルーン制御装置7は、各バルーン9、11に対する送気流量及び吸気流量を調整することができるので、様々な材質のバルーンや様々な部位に適応させることが可能となる。また、前記内視鏡バルーン制御装置7は、例えば前記第1、第2送気用チューブ13、14等の管路が外れてしまった場合に生じてしまう連続した送気動作又は吸気動作を防止することが可能となる。
なお、本実施例では、前記リモートコントローラ8を前記内視鏡バルーン制御装置7に接続した構成について説明したが、これに限定されることはなく、例えば術者の手元である前記内視鏡2の操作部2A上や、術者の足下である前記内視鏡バルーン制御装置7をコントロールするフットスイッチを設けて構成することも可能である。
また、前記コントローラ8は、赤外線を用いて各種のリモコン操作信号を送信し、前記内視鏡バルーン制御装置7に設けられた受光部によって前記赤外線を受光して前記リモコン信号を取り込むように構成しても良い。これにより、さらに術者による操作が容易になる。
図16は本発明の第2実施例に係る内視鏡バルーン制御装置の概略構成を示す構成図である。なお、図16は、前記第1実施例の内視鏡バルーン制御装置と同様の構成要素には同一の符号を付して説明を省略し、異なる部分のみを説明する。
本実施例の内視鏡バルーン制御装置7は、2系統ある送気管路(送気ライン)上に、前記バルーン内圧力制御手段としての第1、第2リリーフ弁36a、36bを設けている。
図16に示すように、前記第1リリーフ弁36aは、第1圧力センサ34aの出力端側の管路に接続されている。また、前記第2リリーフ弁36bは、第2圧力センサ34bの出力端側の管路に接続されている。
前記第1、第2リリーフ弁36a、36bは、管路の圧力を監視し、管路の圧力が所定の圧力(リリーフ圧)以上になったときに、管路を外部に開放し、管路の圧力が所定の圧力以上になることを防止するものである。
なお、本実施例では、前記第1、第2リリーフ弁36a、36bは、例えば機械式リリーフ弁が用いられており、この機械式リリーフ弁は、管路内圧力上昇により弾性材で固定されている弁が外部に開放されるようになっている。
その他の構成は、前記第1実施例と同様である。
次に、本実施例の作用について図16を参照しながら説明する。
図16に示す内視鏡バルーン制御装置7において、前記それぞれのリリーフ圧は、 圧力上限値<圧力最大値=<リリーフ圧 となるように設定されている。
通常、前記圧力上限値、前記圧力最大値は、前記バルーン内圧力制御手段(第1、第2リリーフ弁36a、36b)とは異なる圧力制御方法であり電気式の前記第1、第2圧力センサ34a、34bにより、制御されている。また、前記第1、第2流量調整バルブ32c、32d内に含まれ、流量を調節する電磁弁(図示せず)も電気式のもので、制御部35によって制御されている。
したがって、前記第1,第2圧力センサ34a、34b、及び前記第1、第2流量調整バルブ32c、32dは共に電気式であるために、例えば前記装置内の電気系が故障した場合には、前記前記第1,第2圧力センサ34a、34b、及び前記第1、第2流量調整バルブ32c、32dが共に動作が停止してしまう虞れがある。
このような場合、第1、第2ポンプ32a、32bの出力が直接生体内に印加され、多大な圧力が印加されてしまう虞がある。また、いずれか一方の送気管路に対応する圧力センサ及び流量調整バルブの動作が停止した場合でも、対応するポンプの出力が直接整体内に印加されてしまう虞れがある。
しかしながら、本実施例の内視鏡バルーン制御装置7は、前記した故障時に前記生体内への圧力がリリーフ圧を超えた場合、電気系の故障には関わらず動作可能な機械式の前記第1、第2リリーフ弁36a、36bが動作することで、生体内への印加圧力を減圧することになる。
また、前記内視鏡バルーン制御装置7は、2系統の送気管路(送気ライン)の内、いずれか一方の送気管路に対応する圧力センサ及び流量調整バルブの動作が停止した場合でも、生体内への圧力がリリーフ圧を超えた場合には、対応するリリーフ弁が動作することで、生体内への印加圧力を減圧することが可能であり、同時に、他方の送気管路については正常に動作させることが可能となる。
その他の動作については、前記第1実施例と同様である。
したがって、本実施例によれば、前記第1実施例と同様の効果が得られる他に、電気系などの故障に対しても安全性を確保できるバルーン内圧力制御手段を備えた内視鏡バルーン制御装置の実現が可能となる。
本発明は、上述した第1、第2実施例に限定されるものではなく、本発明の要旨を変えない範囲において、種々の変更、改変等が可能である。
[付記]
(1) 挿入部先端の外周部に固定用のバルーンを取り付けた内視鏡の前記バルーンにエアを供給するポンプと、前記バルーン内のエアの圧力を測定しこの測定結果に基づき前記ポンプを動作させて前記バルーン内の圧力を制御する制御手段とを有する内視鏡用バルーン制御装置であって、
前記制御手段は、前記バルーンへの送気または吸気流量を検出する流量検出手段を有し、この流量検出手段による検出結果に基づき前記ポンプを動作させて前記バルーンへの送気または吸気流量を制御することを特徴とする内視鏡バルーン制御装置。
(2)挿入部先端の外周部に固定用のバルーンを取り付けた内視鏡の前記バルーン及び、先端外周部に固定用のバルーンを取り付け、前記内視鏡を挿通させて前記内視鏡挿入時のガイドを行うオーバーチューブの前記バルーンにエアを供給するポンプと、前記各バルーン内のエアの圧力を測定しこの測定結果に基づき前記ポンプを動作させて前記各バルーン内の圧力を制御する制御手段とを有する内視鏡用バルーン制御装置であって、
前記制御手段は、前記各バルーンへの送気または吸気流量を検出する流量検出手段を有し、この流量検出手段による検出結果に基づき前記ポンプを動作させて前記各バルーンへの送気または吸気流量を制御することを特徴とする内視鏡バルーン制御装置。
(3)前記制御手段は、前記流量検出手段からの検出結果が所定の閾値よりも超えた場合には前記ポンプの動作を停止させることを特徴とする付記(1)又は付記(2)に記載の内視鏡バルーン制御装置。
(4)前記流量検出手段は、前記制御手段内に設けられた流量カウンタであることを特徴とする付記(1)又は付記(2)に記載の内視鏡バルーン制御装置。
(5)前記制御装置をコントロールするリモートコントローラを設けたことを特徴とする付記(1)又は付記(2)に記載の内視鏡バルーン制御装置。
(6)前記リモートコントローラは、前記制御手段に指示を与えるための複数の操作ボタンと緊急停止ボタンを有し、前記制御手段は前記緊急停止ボタンが押下された場合には前記ポンプの動作を停止させることを特徴とする付記(5)に記載の内視鏡バルーン制御装置。
(7)挿入部先端の外周部に固定用のバルーンを取り付けた内視鏡の前記バルーンにエアを供給するポンプと、前記バルーン内のエアの圧力を測定しこの測定結果に基づき前記ポンプを動作させて前記バルーン内の圧力を制御する制御手段とを有する内視鏡用バルーン制御装置であって、
前記制御手段は、前記バルーンへの送気または吸気時間を検出する時間検出手段を有し、この時間検出手段による検出結果に基づき前記バルーン内の圧力を制御することを特徴とする内視鏡バルーン制御装置。
(8)挿入部先端の外周部に固定用のバルーンを取り付けた内視鏡の前記バルーン及び、先端外周部に固定用のバルーンを取り付け、前記内視鏡を挿通させて前記内視鏡挿入時のガイドを行うオーバーチューブの前記バルーンにエアを供給するポンプと、前記各バルーン内のエアの圧力を測定しこの測定結果に基づき前記ポンプを動作させて前記各バルーン内の圧力を制御する制御手段とを有する内視鏡用バルーン制御装置であって、
前記制御手段は、前記バルーンへの送気または吸気時間を検出する時間検出手段を有し、この時間検出手段による検出結果に基づき前記各バルーン内の圧力を制御することを特徴とする内視鏡バルーン制御装置。
(9)挿入部先端の外周部に固定用のバルーンを取り付けた内視鏡の前記バルーンにエアを供給するポンプと、前記バルーン内のエアの圧力を測定しこの測定結果に基づき前記ポンプを動作させて前記バルーン内の圧力を制御する制御手段とを有する内視鏡用バルーン制御装置であって、
前記制御手段は、前記バルーンへの送気または吸気流量を検出する流量検出手段と、前記バルーンへの送気または吸気時間を検出する時間検出手段を有し、前記流量検出手段による検出結果及び前記時間検出手段による検出結果に基づき、前記ポンプを動作させて前記バルーンへの送気または吸気流量を制御することを特徴とする内視鏡バルーン制御装置。
(10)挿入部先端の外周部に固定用のバルーンを取り付けた内視鏡の前記バルーン及び、先端外周部に固定用のバルーンを取り付け、前記内視鏡を挿通させて前記内視鏡挿入時のガイドを行うオーバーチューブの前記バルーンにエアを供給するポンプと、前記各バルーン内のエアの圧力を測定しこの測定結果に基づき前記ポンプを動作させて前記各バルーン内の圧力を制御する制御手段とを有する内視鏡用バルーン制御装置であって、
前記制御手段は、前記バルーンへの送気または吸気流量を検出する流量検出手段と、前記バルーンへの送気または吸気時間を検出する時間検出手段を有し、前記流量検出手段による検出結果及び前記時間検出手段による検出結果に基づき、前記ポンプを動作させて前記各バルーンへの送気または吸気流量を制御することを特徴とする内視鏡バルーン制御装置。
(11)前記制御手段は、前記流量検出手段からの検出結果及び前記時間検出手段からの検出結果が所定の閾値よりも超えた場合には前記ポンプの動作を停止させることを特徴とする付記(9)又は付記(11)に記載の内視鏡バルーン制御装置。
(12)前記流量検出手段は、前記制御手段内に設けられた流量カウンタであることを特徴とする付記(9)又は付記(11)に記載の内視鏡バルーン制御装置。
(13)前記時間検出手段は、前記制御手段内に設けられたタイマカウンタであることを特徴とする付記(9)又は付記(11)に記載の内視鏡バルーン制御装置。
(14)前記制御装置をコントロールするリモートコントローラを設けたことを特徴とする付記(9)又は付記(11)に記載の内視鏡バルーン制御装置。
(15)前記リモートコントローラは、前記制御手段に指示を与えるための複数の操作ボタンと緊急停止ボタンを有し、前記制御手段は前記緊急停止ボタンが押下された場合には前記ポンプの動作を停止させることを特徴とする付記(14)に記載の内視鏡バルーン制御装置。
本発明の内視鏡バルーン制御装置は、内視鏡のバルーンとオーバーチューブのバルーンに対する送気または吸気時間を計測することができることによって、前記各バルーンに対する送気流量や送気圧を制御することが可能になるので、バルーンの材質を変えて行う症例や様々な部位の観察、処置等の症例を行う場合には特に有効である。
本発明の一実施例に係り、内視鏡バルーン制御装置を適用した内視鏡システムの全体構成を示す構成図。 図1の内視鏡バルーン制御装置の概略構成を示す構成図。 図2のリモートコントローラの構成例を示す図。 図2の内視鏡バルーン制御装置の内部構成を示すブロック図。 図5乃至図11は各バルーンを用いて内視鏡及びオーバーチューブの操作状態を説明するためのもので、各バルーンをしぼませて内視鏡をオーバーチューブに挿通して腸管に挿入した状態を示す説明図。 オーバーチューブのバルーンを膨らませて腸管に固定した状態を示す説明図。 図6の状態からさらに内視鏡をオーバーチューブに挿入した状態を示す説明図。 図7の状態で内視鏡のバルーンを膨らませて腸壁に固定した状態を示す説明図。 図8の状態でオーバーチューブのバルーンをしぼませてさらにオーバーチューブを挿入した状態を示す説明図。 図9の状態からオーバーチューブの先端が内視鏡先端部まで移動した状態を示す説明図。 図10の状態でオーバーチューブのバルーンを膨らませて腸壁に固定した状態を示す説明図。 図12乃至図15は内視鏡バルーン制御装置の作用を説明するためのもので、制御部のメインプログラムを示すフローチャート。 図12のスイッチ状態確認モジュールに基づく処理ルーチンを示すフローチャート。 図13の送気モジュールに基づく処理ルーチンを示すフローチャート。 図13の吸気モジュールに基づく処理ルーチンを示すフローチャート。 第2実施例の内視鏡バルーン制御装置の内部構成を示すブロック図。
符号の説明
1…内視鏡システム、
2…内視鏡、
2A…操作部、
2B…挿入部、
2C…ユニバーサルコード、
3…オーバーチューブ、
4…光源装置、
5…ビデオプロセッサ、
6…モニター、
7…内視鏡バルーン制御装置、
8…リモートコントローラ、
9、11…バルーン、
10、12…エア供給チューブ、
12…内視鏡、
13…第1送気用チューブ、
14…第2送気用チューブ、
16…圧力表示器、
17…電源スイッチ、
23…緊急停止ボタン、
30…スイッチング電源部、
31a…第1プレーカ、
31b…第2プレーカ、
31c…第3プレーカ、
32a…第1ポンプ、
32b…第2ポンプ、
32c…第1流量調整バルブ、
32d…第2流量調整バルブ、
33…管路切替部、
34a…第1圧力センサ、
34b…第2圧力センサ、
35…制御部。
代理人 弁理士 伊藤 進

Claims (5)

  1. 挿入部先端の外周部に固定用のバルーンを取り付けた内視鏡の前記バルーンにエアを供給するポンプと、
    前記バルーンへの送気または吸気時間を検出する時間検出手段と、
    前記時間検出手段による検出結果に基づき前記バルーン内の圧力を制御する制御手段と、
    を備えたことを特徴とする内視鏡バルーン制御装置。
  2. 挿入部先端の外周部に固定用のバルーンを取り付けた内視鏡の前記バルーン及び、先端外周部に固定用のバルーンを取り付け、前記内視鏡を挿通させるオーバーチューブの前記バルーンにエアを供給するポンプと、
    前記各バルーンへの送気または吸気時間を検出する時間検出手段と、
    前記時間検出手段による検出結果に基づき前記各バルーン内の圧力を制御する制御手段と、
    を備えたことを特徴とする内視鏡バルーン制御装置。
  3. 前記制御手段は、前記時間検出手段からの検出結果が所定の閾値よりも超えた場合には前記ポンプの動作を停止させることを特徴とする請求項1又は請求項2に記載の内視鏡バルーン制御装置。
  4. 前記制御手段は、前記バルーン内の圧力を第1の圧力値と第2の圧力値の間に制御するもので、前記バルーン内の圧力が前記第1の圧力値より大きい前記第2の圧力値を超えた場合には、前記バルーン内の圧力を減圧することを特徴とする請求項1に記載の内視鏡バルーン制御装置。
  5. 前記制御手段は、バルーン内の圧力制御方法が異なる複数のバルーン内圧力制御手段を有し、一方の前記バルーン内圧力制御手段の故障に対して、他方の前記バルーン内圧力制御手段によって前記バルーン内の圧力制御が可能であることを特徴とする請求項4に記載の内視鏡バルーン制御装置。
JP2004329522A 2004-03-19 2004-11-12 内視鏡バルーン制御装置 Expired - Fee Related JP4756851B2 (ja)

Priority Applications (6)

Application Number Priority Date Filing Date Title
JP2004329522A JP4756851B2 (ja) 2004-03-19 2004-11-12 内視鏡バルーン制御装置
PCT/JP2005/004534 WO2005089626A1 (ja) 2004-03-19 2005-03-15 内視鏡バルーン制御装置
CN2008101358973A CN101380220B (zh) 2004-03-19 2005-03-15 内窥镜球囊控制装置
KR1020067019127A KR100840050B1 (ko) 2004-03-19 2005-03-15 내시경 벌룬 제어 장치
EP05720791.2A EP1726249A4 (en) 2004-03-19 2005-03-15 ENDOSCOPE BALLOON CONTROL DEVICE
US11/522,826 US20070038025A1 (en) 2004-03-19 2006-09-18 Endoscope balloon control device

Applications Claiming Priority (3)

Application Number Priority Date Filing Date Title
JP2004081655 2004-03-19
JP2004081655 2004-03-19
JP2004329522A JP4756851B2 (ja) 2004-03-19 2004-11-12 内視鏡バルーン制御装置

Related Child Applications (1)

Application Number Title Priority Date Filing Date
JP2011104332A Division JP5242733B2 (ja) 2004-03-19 2011-05-09 内視鏡バルーン制御装置

Publications (2)

Publication Number Publication Date
JP2005296619A true JP2005296619A (ja) 2005-10-27
JP4756851B2 JP4756851B2 (ja) 2011-08-24

Family

ID=34993396

Family Applications (1)

Application Number Title Priority Date Filing Date
JP2004329522A Expired - Fee Related JP4756851B2 (ja) 2004-03-19 2004-11-12 内視鏡バルーン制御装置

Country Status (5)

Country Link
US (1) US20070038025A1 (ja)
EP (1) EP1726249A4 (ja)
JP (1) JP4756851B2 (ja)
KR (1) KR100840050B1 (ja)
WO (1) WO2005089626A1 (ja)

Cited By (9)

* Cited by examiner, † Cited by third party
Publication number Priority date Publication date Assignee Title
JP2006130013A (ja) * 2004-11-04 2006-05-25 Fujinon Corp 内視鏡装置用のバルーン制御装置
JP2007209626A (ja) * 2006-02-10 2007-08-23 Fujinon Corp バルーン制御装置
JP2008200127A (ja) * 2007-02-16 2008-09-04 Olympus Medical Systems Corp 医療装置
JP2011229988A (ja) * 2011-08-23 2011-11-17 Fujifilm Corp 内視鏡システム
JP2014188080A (ja) * 2013-03-26 2014-10-06 Olympus Medical Systems Corp 挿入装置
JP2018161489A (ja) * 2006-05-18 2018-10-18 スマート・メディカル・システムズ・リミテッド 可撓性が高められた補助内視鏡アセンブリ
JP2019134960A (ja) * 2011-03-07 2019-08-15 スマート・メディカル・システムズ・リミテッド バルーン付き内視鏡装置およびその方法
CN114081421A (zh) * 2021-11-19 2022-02-25 湖南省华芯医疗器械有限公司 一种插入部、内窥镜及驱动方法
WO2022208737A1 (ja) * 2021-03-31 2022-10-06 オリンパス株式会社 内視鏡用オーバーチューブ

Families Citing this family (15)

* Cited by examiner, † Cited by third party
Publication number Priority date Publication date Assignee Title
JP6033147B2 (ja) * 2013-03-26 2016-11-30 オリンパス株式会社 挿入装置
JP7082052B2 (ja) 2015-09-03 2022-06-07 ネプチューン メディカル インク. 小腸内での内視鏡前進の為の器具
US10765304B2 (en) * 2015-09-28 2020-09-08 Bio-Medical Engineering (HK) Limited Endoscopic systems, devices, and methods for performing in vivo procedures
CN110191667B (zh) 2016-08-18 2022-06-03 海王星医疗公司 用于增强小肠视觉效果的装置和方法
WO2019018682A1 (en) 2017-07-20 2019-01-24 Neptune Medical Inc. DYNAMICALLY RIGIDING SURFACE
EP3801187B1 (en) 2018-05-31 2024-02-07 Neptune Medical Inc. Device for enhanced visualization of the small intestine
EP3823711A4 (en) 2018-07-19 2022-05-18 Neptune Medical Inc. DYNAMIC REINFORCING MEDICAL COMPOSITE STRUCTURES
US11793392B2 (en) 2019-04-17 2023-10-24 Neptune Medical Inc. External working channels
WO2020214221A1 (en) 2019-04-17 2020-10-22 Neptune Medical Inc. Dynamically rigidizing composite medical structures
KR20230007343A (ko) 2020-03-30 2023-01-12 넵튠 메디컬 인코포레이티드 디바이스를 강성화하기 위한 적층된 벽
KR102486929B1 (ko) * 2020-10-29 2023-01-09 김응석 흉부 카테터용 공기 주입 스토퍼
EP4284226A4 (en) 2021-01-29 2024-12-25 Neptune Medical Inc. DEVICES AND METHODS FOR PREVENTING ACCIDENTAL MOVEMENT OF DYNAMIC STIFFENING DEVICES
JP2025514183A (ja) 2022-04-27 2025-05-02 ネプチューン メディカル インク. 内視鏡用衛生シース
WO2025054618A1 (en) 2023-09-07 2025-03-13 Neptune Medical Inc. Pressure rigidization apparatuses and methods
WO2025072977A1 (en) 2023-09-28 2025-04-03 Neptune Medical Inc. Telescoping robot

Citations (4)

* Cited by examiner, † Cited by third party
Publication number Priority date Publication date Assignee Title
JPH03231623A (ja) * 1990-02-05 1991-10-15 Olympus Optical Co Ltd 内視鏡用自動挿入装置
JP2001340462A (ja) * 2000-06-05 2001-12-11 Hironori Yamamoto 内視鏡挿入補助用バルーン付きチューブ
JP2003144378A (ja) * 2001-11-15 2003-05-20 Olympus Optical Co Ltd 内視鏡用シース
JP2003204920A (ja) * 2002-01-11 2003-07-22 Olympus Optical Co Ltd 挿入補助具

Family Cites Families (24)

* Cited by examiner, † Cited by third party
Publication number Priority date Publication date Assignee Title
US3570488A (en) * 1969-05-12 1971-03-16 Technion Res & Dev Foundation Automatic apparatus for urinary bladder irrigation
US4040413A (en) * 1974-07-18 1977-08-09 Fuji Photo Optical Co. Ltd. Endoscope
US4227407A (en) * 1978-11-30 1980-10-14 Cornell Research Foundation, Inc. Volume flow measurement system
US4445892A (en) * 1982-05-06 1984-05-01 Laserscope, Inc. Dual balloon catheter device
US4924862A (en) * 1987-08-19 1990-05-15 Gary Levinson Pressure controller and leak detector for tracheal tube cuff
US5191878A (en) * 1990-04-12 1993-03-09 Olympus Optical Co., Ltd. Endoscope device
US5215523A (en) * 1991-05-30 1993-06-01 Eli Williams Balloon catheter inflation syringe with remote display
US5259838A (en) * 1992-06-18 1993-11-09 Merit Medical Systems, Inc. Syringe apparatus with attached pressure gauge and timer
US5342298A (en) * 1992-07-31 1994-08-30 Advanced Cardiovascular Systems, Inc. Automated fluid pressure control system
JPH06269392A (ja) * 1993-03-22 1994-09-27 Olympus Optical Co Ltd 内視鏡
US5460609A (en) * 1993-11-22 1995-10-24 Advanced Cardiovascular Systems, Inc. Electromechanical inflation/deflation system
US5599301A (en) * 1993-11-22 1997-02-04 Advanced Cardiovascular Systems, Inc. Motor control system for an automatic catheter inflation system
US5749853A (en) * 1995-03-17 1998-05-12 Advanced Cardiovascular Systems, Inc. Inflation control system with elapsed time measurement
US5800493A (en) * 1995-04-26 1998-09-01 Gynecare, Inc. Intrauterine ablation system
WO1997022373A1 (fr) * 1995-12-18 1997-06-26 Nippon Zeon Co., Ltd. Mecanisme d'entrainement pour equipement medical
US5891134A (en) * 1996-09-24 1999-04-06 Goble; Colin System and method for applying thermal energy to tissue
US6402744B2 (en) * 1998-02-19 2002-06-11 Curon Medical, Inc. Systems and methods for forming composite lesions to treat dysfunction in sphincters and adjoining tissue regions
US6179815B1 (en) * 1998-07-21 2001-01-30 Merit Medical Systems, Inc. Low compliance inflation/deflation system
US6585639B1 (en) * 2000-10-27 2003-07-01 Pulmonx Sheath and method for reconfiguring lung viewing scope
JP2002301019A (ja) * 2001-04-09 2002-10-15 Hironori Yamamoto 内視鏡装置
JP4632577B2 (ja) * 2001-05-30 2011-02-16 オリンパス株式会社 計測内視鏡装置
US20030060813A1 (en) * 2001-09-22 2003-03-27 Loeb Marvin P. Devices and methods for safely shrinking tissues surrounding a duct, hollow organ or body cavity
US7641668B2 (en) * 2003-05-16 2010-01-05 Scimed Life Systems, Inc. Fluid delivery system and related methods of use
WO2005089625A1 (ja) * 2004-03-19 2005-09-29 Olympus Corporation 内視鏡バルーン制御装置及び内視鏡バルーン制御装置の異常判定方法

Patent Citations (4)

* Cited by examiner, † Cited by third party
Publication number Priority date Publication date Assignee Title
JPH03231623A (ja) * 1990-02-05 1991-10-15 Olympus Optical Co Ltd 内視鏡用自動挿入装置
JP2001340462A (ja) * 2000-06-05 2001-12-11 Hironori Yamamoto 内視鏡挿入補助用バルーン付きチューブ
JP2003144378A (ja) * 2001-11-15 2003-05-20 Olympus Optical Co Ltd 内視鏡用シース
JP2003204920A (ja) * 2002-01-11 2003-07-22 Olympus Optical Co Ltd 挿入補助具

Cited By (10)

* Cited by examiner, † Cited by third party
Publication number Priority date Publication date Assignee Title
JP2006130013A (ja) * 2004-11-04 2006-05-25 Fujinon Corp 内視鏡装置用のバルーン制御装置
US8439825B2 (en) 2004-11-04 2013-05-14 Fujifilm Corporation Balloon controller for endoscopic apparatus
JP2007209626A (ja) * 2006-02-10 2007-08-23 Fujinon Corp バルーン制御装置
JP2018161489A (ja) * 2006-05-18 2018-10-18 スマート・メディカル・システムズ・リミテッド 可撓性が高められた補助内視鏡アセンブリ
JP2008200127A (ja) * 2007-02-16 2008-09-04 Olympus Medical Systems Corp 医療装置
JP2019134960A (ja) * 2011-03-07 2019-08-15 スマート・メディカル・システムズ・リミテッド バルーン付き内視鏡装置およびその方法
JP2011229988A (ja) * 2011-08-23 2011-11-17 Fujifilm Corp 内視鏡システム
JP2014188080A (ja) * 2013-03-26 2014-10-06 Olympus Medical Systems Corp 挿入装置
WO2022208737A1 (ja) * 2021-03-31 2022-10-06 オリンパス株式会社 内視鏡用オーバーチューブ
CN114081421A (zh) * 2021-11-19 2022-02-25 湖南省华芯医疗器械有限公司 一种插入部、内窥镜及驱动方法

Also Published As

Publication number Publication date
KR100840050B1 (ko) 2008-06-19
KR20060130228A (ko) 2006-12-18
WO2005089626A1 (ja) 2005-09-29
US20070038025A1 (en) 2007-02-15
EP1726249A1 (en) 2006-11-29
JP4756851B2 (ja) 2011-08-24
EP1726249A4 (en) 2014-11-12

Similar Documents

Publication Publication Date Title
JP4756851B2 (ja) 内視鏡バルーン制御装置
JP4481692B2 (ja) 内視鏡バルーン制御装置
JP4409340B2 (ja) 内視鏡バルーン制御装置
JP5242733B2 (ja) 内視鏡バルーン制御装置
US7585276B2 (en) Endoscope system and operation method for endoscope
US8216128B2 (en) Medical system with a biological information acquiring apparatus and a manipulation information acquiring apparatus
JP6077973B2 (ja) 送気装置
US20080146876A1 (en) Endoscope apparatus
US20070232853A1 (en) Endoscope insertion assisting device, endoscope apparatus, medical treatment device and endoscope insertion method
EP1582141B1 (en) Balloon control apparatus
KR100840051B1 (ko) 내시경 벌룬 제어 장치 및 내시경 벌룬 제어 장치의 이상판정 방법
JP2009090087A (ja) 内視鏡
US20200121163A1 (en) Flexible tube insertion apparatus, insertion control apparatus, and flexible tube insertion support method
JP2003010105A (ja) 内視鏡装置
JP5400841B2 (ja) 内視鏡システム
CN205379286U (zh) 内窥镜系统
KR20070018902A (ko) 내시경 벌룬 제어 장치
JP2009207670A (ja) 内視鏡

Legal Events

Date Code Title Description
A621 Written request for application examination

Free format text: JAPANESE INTERMEDIATE CODE: A621

Effective date: 20071030

A131 Notification of reasons for refusal

Free format text: JAPANESE INTERMEDIATE CODE: A131

Effective date: 20100817

A521 Request for written amendment filed

Free format text: JAPANESE INTERMEDIATE CODE: A523

Effective date: 20101015

A131 Notification of reasons for refusal

Free format text: JAPANESE INTERMEDIATE CODE: A131

Effective date: 20110308

A521 Request for written amendment filed

Free format text: JAPANESE INTERMEDIATE CODE: A523

Effective date: 20110509

TRDD Decision of grant or rejection written
A01 Written decision to grant a patent or to grant a registration (utility model)

Free format text: JAPANESE INTERMEDIATE CODE: A01

Effective date: 20110524

A01 Written decision to grant a patent or to grant a registration (utility model)

Free format text: JAPANESE INTERMEDIATE CODE: A01

A61 First payment of annual fees (during grant procedure)

Free format text: JAPANESE INTERMEDIATE CODE: A61

Effective date: 20110531

R151 Written notification of patent or utility model registration

Ref document number: 4756851

Country of ref document: JP

Free format text: JAPANESE INTERMEDIATE CODE: R151

FPAY Renewal fee payment (event date is renewal date of database)

Free format text: PAYMENT UNTIL: 20140610

Year of fee payment: 3

S531 Written request for registration of change of domicile

Free format text: JAPANESE INTERMEDIATE CODE: R313531

R350 Written notification of registration of transfer

Free format text: JAPANESE INTERMEDIATE CODE: R350

R250 Receipt of annual fees

Free format text: JAPANESE INTERMEDIATE CODE: R250

R250 Receipt of annual fees

Free format text: JAPANESE INTERMEDIATE CODE: R250

R250 Receipt of annual fees

Free format text: JAPANESE INTERMEDIATE CODE: R250

LAPS Cancellation because of no payment of annual fees