JP2005296522A - 温泡入浴ブース装置 - Google Patents

温泡入浴ブース装置 Download PDF

Info

Publication number
JP2005296522A
JP2005296522A JP2004120788A JP2004120788A JP2005296522A JP 2005296522 A JP2005296522 A JP 2005296522A JP 2004120788 A JP2004120788 A JP 2004120788A JP 2004120788 A JP2004120788 A JP 2004120788A JP 2005296522 A JP2005296522 A JP 2005296522A
Authority
JP
Japan
Prior art keywords
booth
warm
hot
user
bubble
Prior art date
Legal status (The legal status is an assumption and is not a legal conclusion. Google has not performed a legal analysis and makes no representation as to the accuracy of the status listed.)
Granted
Application number
JP2004120788A
Other languages
English (en)
Other versions
JP4507675B2 (ja
Inventor
Mitsuhiro Kamo
光広 加茂
Current Assignee (The listed assignees may be inaccurate. Google has not performed a legal analysis and makes no representation or warranty as to the accuracy of the list.)
Aisin Corp
Original Assignee
Aisin Seiki Co Ltd
Priority date (The priority date is an assumption and is not a legal conclusion. Google has not performed a legal analysis and makes no representation as to the accuracy of the date listed.)
Filing date
Publication date
Application filed by Aisin Seiki Co Ltd filed Critical Aisin Seiki Co Ltd
Priority to JP2004120788A priority Critical patent/JP4507675B2/ja
Publication of JP2005296522A publication Critical patent/JP2005296522A/ja
Application granted granted Critical
Publication of JP4507675B2 publication Critical patent/JP4507675B2/ja
Anticipated expiration legal-status Critical
Expired - Fee Related legal-status Critical Current

Links

Images

Landscapes

  • Devices For Medical Bathing And Washing (AREA)

Abstract

【課題】入浴効果を更に高めるのに有利な温泡入浴ブース装置を提供する。
【解決手段】温泡入浴ブース装置は、使用者Mが入る収容空間10を有するブース1と、ブース1に設けられ収容空間10に温泡を吐出する温泡吐出部3と、ブース1に設けられ温泡吐出部3に温泡を供給する温泡供給部7とを具備する。温泡吐出部3は、収容空間10に入った使用者Mの肩部M1付近に向けて温泡を吐出する。
【選択図】図1

Description

本発明は温泡入浴を行う温泡入浴ブース装置に関する。
近年、温泡入浴装置が開発されている。泡式入浴装置は、浴槽内に温泡を充満させて行う入浴であり、従来から行われている液状の温水を用いる一般的な温水入浴に比べ、節水が可能で、心臓等への負担が軽減される等という利点に加え、暖かい多量の温泡を使用することにより温水入浴と略同等の温浴効果を得られるという利点を有する。また、何よりも、日本人が好む「つかる」入浴が達成でき、リラクゼーションの効果が大きいという利点を有する。このような利点から、特許文献1に示されるように、身体障害者や寝たきり老人等に対する移動介護において、好適であるとして特に期待されている。当該公報には、空気で膨らむバスタブに使用者が入り、そのバスタブ内に温泡発生装置から温泡を供給し、泡式入浴を行うことが示されている。
特開2000−83851号公報
上記した公報記載の泡式入浴装置によれば、前述したように、節水が可能で、心臓等への負担が軽減される等という利点に加え、暖かい温泡を使用することにより温水入浴と略同等の入浴効果を得られるという利点を有するものの、温泡入浴の満足感を更に高めるためには改善の余地がある。
例えば、液状の温水を用いる従来の温水入浴よりも入熱速度が緩やかであるため、熱い入浴を好む使用者等によっては加温速度が緩やかであることを感じるおそれがある。更に、温水入浴後に、使用者の身体に付着した泡を除去する操作に長時間を要すると、身体が冷え、充分な温水入浴効果が得られなくなるおそれがある。
本発明は上記した実情に鑑みてなされたものであり、温泡入浴効果を更に高め、温泡入浴の満足感を得るのに有利な温泡入浴ブース装置を提供することを共通の課題とする。
様相1の本発明に係る温泡入浴ブース装置は、使用者が入る収容空間を有するブースと、ブースに設けられ収容空間に温泡を吐出する温泡吐出部と、ブースに設けられ温泡吐出部に温泡を供給する温泡供給部とを具備しており、温泡吐出部は、収容空間に入った使用者の肩部付近に向けて温泡を吐出することを特徴とするものである。
ブースの収容空間内の使用者の肩部付近に向けて、温泡吐出部は、暖かい温泡を吐出するため、使用者は加温性を効果的に感じることができる。更に、使用者の肩部付近に吐出された暖かい温泡は、使用者の肩部付近から身体の表面に沿って流下するため、使用者の身体は効果的に暖められる。これにより使用者のリラックス効果、温泡入浴効果を高めることができる。
様相2の本発明に係る温泡入浴ブース装置は、使用者が入る収容空間を有するブースと、ブースに設けられ収容空間に温泡を吐出する温泡吐出部と、ブースに設けられ温泡吐出部に温泡を供給する温泡供給部とを具備しており、ブースに設けられブースの収容空間内の泡を除去するために、霧状のミストャワーを噴出するミストシャワー噴出部または放射状シャワーを噴出する放射状噴出シャワー部を具備することを特徴とするものである。
温水入浴後に、使用者の身体に付着した泡を除去する操作に長時間を要すると、身体が冷え、充分に満足できる温水入浴効果が得られなくなるおそれがある。この点、ミストシャワー噴出部または放射状噴出シャワー部が設けられているため、ブースの収容空間内の泡を除去するのに有利となり、使用者の身体に付着した泡、更には、収容空間内に残留している泡を短時間のうちに除去することができる。放射状噴出シャワー部は、放射状噴出シャワーを生成するものであり、多数の細いシャワー水流の衝突が消泡に効果的であり、更に、放射状噴出シャワーは広面積に飛散しやすいため、多量の泡を短時間のうちに除去させやすい。
殊に、ミストシャワー噴出部は、細かい霧状のミストシャワーを噴出するため、ブースの収容空間内の泡を除去するのに有利となり、使用者の身体に付着した泡、更には、収容空間内に残留している泡を短時間のうちに効果的に除去することができる。霧状のミストシャワーは微小粒状の液相と気相とが高頻度で混在しており、泡への微小状の液相の衝突が消泡に効果的であり、更に、霧状のミストシャワーは広面積に飛散しやすいため、多量の泡を除去させやすいためと推察される。
様相1に係る本発明に係る温泡入浴ブース装置によれば、ブースの収容空間内の使用者の肩部付近に向けて、温泡吐出部は暖かい温泡を吐出するため、使用者は加温性を効果的に感じることができ、更に、使用者の肩部付近に吐出された暖かい温泡は、使用者の肩部付近から身体の表面に沿って流下するため、使用者の身体は効果的に暖められ、使用者のリラックス効果、温泡入浴効果を高め、温泡入浴の満足感を得るのに有利となる。
様相2の本発明に係る温泡入浴ブース装置によれば、ミストシャワー噴出部は霧状のミストシャワーを噴出させるため、使用者の身体に付着した泡、ブースの収容空間内に残留している泡を短時間に除去するのに有利となる。霧状のミストシャワーは微小粒状の液相と気相とが高頻度で混在しており、泡への微小状の液相の衝突が消泡に効果的であり、更に、霧状のミストシャワーは広面積に飛散しやすいため、多量の泡を除去させやすいためと推察される。また放射状噴出シャワー部は、放射状噴出シャワーを生成するため、多数の細いシャワー水流の衝突が消泡に効果的であり、更に、放射状噴出シャワーは広面積に飛散しやすいため、多量の泡を除去させやすい。このように様相2によれば、使用者の身体に付着した泡、ブースの収容空間内に残留している泡を短時間に除去できるため、消泡操作中における身体の冷えを抑えることができ、温泡入浴効果を更に高め、温泡入浴の満足感を得るのに有利となる。
ブースは、使用者が入る収容空間を有する浴槽であればよい。ブースは、使用者の胴体の他に頭部まで覆う構造でもよいし、頭部を覆わない構造でも良い。ブースは、収容空間をもつブース本体と、ブース本体の収容空間を開閉する開閉扉とを有する形態を採用できる。好ましくは、ブースは、使用者の腰部を着座させる着座部を有しており、温泡吐出部は、着座部に着座している使用者の肩部付近に温泡を供給する形態を採用することができる。着座部に着座している使用者の肩部付近に向けて、温泡吐出部は暖かい温泡を吐出するため、使用者のリラックス効果、入浴効果を一層高めることができる。肩部付近に温泡を供給するとは、例えば、使用者の身体のサイズによっても相違するため、肩部を目標として肩部自体に温泡を供給する形態、使用者の身体のサイズによっては肩部の輪郭から20cm以内、15cm以内または10cm以内に温泡を供給する形態を含む。肩部付近に温泡を供給するにあたり、肩部の上方から供給しても良いし、肩部の側方から供給しても良い。着座部の着座面に流水用の流下通路が形成されていることが好ましい。流下通路は、着座面の中央域に形成されていても良いし、使用者の身体の側面側に位置するように着座面の幅方向の外縁側に形成されていても良い。流下経路は、溝に限らず、流水できるようになだらかな傾斜面で形成しても良い。
好ましくは、ブースは、出入口をもつブース本体と、ブース本体の出入口を開閉する開閉扉とを有しており、開閉扉及びブース本体のうちの少なくとも一方は、使用者が入る収容空間の容積を小さくする容積狭小化構造を有する形態を採用することができる。この場合、収容空間の容積を小さくすることができるため、収容空間に供給される温泡の放熱を少なくでき、入浴効果を更に高めるのに有利となる。更に使用する温泡の量も少なくするのに有利となる。
温泡吐出部はブースに設けられており、ブースの収容空間に入った使用者の肩部付近に向けて温泡を吐出するものである。温泡吐出部は、収容空間に対面するようにブースに固定的に設けられていてもよいし、あるいは、曲成可能なフレキシブル構造とされていてもよい。好ましくは、温泡吐出部は、ブースのうち使用者に対面する壁面に沿って温泡が流下するように、暖かい温泡を吐出する形態を採用することができる。この場合、ブースのうち使用者に対面する壁面を温泡の流下で暖めることができるため、温泡入浴の開始時に、使用者の背中がブースに触れたとしても、使用者が冷たさを感じることを抑えることができ、入浴効果を高めるのに有利となる。
温泡供給部はブースに設けられており、温泡を温泡吐出部に供給するものである。温泡供給部は温泡を生成する機能を有することが好ましい。従って、温泡供給部は、泡剤が収容される容器と、容器内に圧縮空気等の気体を供給する気体供給源とを有することが好ましい。温泡供給部は、温泡を生成する温水を生成する給湯器を有しているか、給湯器に接続されていても良い。気体供給源としてはコンプレッサ、ファン等を例示できる。
様相2の本発明に係る温泡入浴ブース装置によれば、温泡吐出部は使用者の肩部付近に向けて温泡を吐出するものであることが好ましいが、身体のうち肩部以外の部位に温泡を吐出するものでもよい。ミストシャワー噴出部または放射状噴出シャワー部はブースに設けられており、ブースの収容空間内の泡を除去するために、霧状のミストャワーまたは放射状噴出シャワーを噴出するものである。ミストシャワー噴出部は、水と空気とが霧状に混合したミストを噴出できるものであればよい。
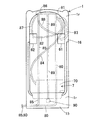
以下、本発明の実施例1を図面を参照して具体的に説明する。図1は温泡入浴ブース装置の概念を模式的に示す。図2は開閉扉を省略した状態の温泡入浴ブース装置の概念の正面を模式的に示す。図3は温泡入浴ブース装置の外観を模式的に示す。図4は開閉扉を外した状態の温泡入浴ブース装置の外観を模式的に示す。図5は温泡入浴ブース装置の裏面を模式的に示す。
本実施例に係る温泡入浴ブース装置は業務用または家庭用であり、図1に示すように、使用者Mが入る収容空間10を有する保温性を有するブース1と、ブース1に設けられ収容空間10に入った使用者Mの肩部M1付近に向けて暖かい温泡を吐出する温泡吐出部3と、ブース1に設けられ暖かい温泡を温泡吐出部3に供給する温泡供給部7とを具備する。
図1に示すように、ブース1は、使用者Mが入る収容空間10をもつ保温性を有するブース本体11と、ブース本体11の収容空間10を開閉する保温性を有する回動式の開閉扉12とを有する。ブース本体11は、使用者Mの腰部を収容空間10内で着座させる着座部13および脚載せ部14をもつ設置部15と、設置部15の後部から上向きに立起する立起部16とをもつ。着座部13は、使用者Mの腰部が載せられる着座面17と、使用者Mの脚の下腿が対面する立面18とを有する。着座面17は後方(矢印R方向)に向かうにつれて下降するように傾斜しており、使用者Mの腰部の着座を安定させている。このように着座面17が傾斜していると、使用者Mの着座性を高め得るものの、水や泡が着座面17に溜まりやすくなるため、着座面17の中央域には、流水用の流下通路19が形成されている。流下通路19は、前方(矢印F方向)に向かうにつれて下降傾斜するように形成され、流下性が確保されている。着座部13の立面18は上方(矢印U方向)に向かうにつれて、前方(矢印F方向)つまり開閉扉12に近づくように傾斜している。脚載せ部14は、後述する排水部90に向けて流下させ得るように傾斜した傾斜面20と、使用者Mの脚で踏まれる滑り止め処理された脚踏み面21とを有する。
取っ手12cの操作により開閉扉12が開放されると、着座面17、立面18、脚載せ部14、脚踏み面21が開放され、収容空間10の全体が開放されるため、使用者Mは収容空間10に容易に進入でき、着座部13に容易に着座することができる。
収容空間10は、使用者の身体を収容できるように、ブース本体11の前面11fよりも後方(矢印R方向)に向けて凹状に窪んでいる。このように収容空間10は凹状に窪んでいるため、収容空間10に対するブース本体11の包囲性が向上しており、温泡の放熱を抑制するのに有利となり、温泡の温度を維持するのに有利となる。ブース本体11の収容空間10は、着座部13に着座した使用者Mの背中に対面する背中対面部24と、背中対面部24の上端から前方に突出すると共に使用者Mの頭部M2の上方に位置する頭部覆い面25と、着座部13に着座している使用者Mの側面に対面する側面対面部26と、アームレスト部27とで区画されている。背中対面部24は使用者Mの背中の後方で背中の全域を覆っている。頭部覆い面25は、上方(矢印U方向)に向かいにつれて前方(矢印F方向)に近づくように上昇傾斜している。これにより収容空間10内の温泡の温度が高いときであっても、使用者Mの頭部M2付近の熱気を逃がし、熱気が頭部M2付近に過剰に溜まることを抑制できる。図1に示すように、ブース本体11の高さは、着座部13に着座している使用者Mの頭部M2よりも高い高さ位置に設定されている。なお、ブース1の材料は断熱性が高い材料(たとえば樹脂、繊維強化樹脂等)とされており、温泡の放熱が抑えられ、温泡の温度を維持するようにされている。
図1に示すように、温泡吐出部3は、着座部13に着座している使用者Mの肩部M1付近よりも上方に位置するように、ブース本体11の背中対面部24の上部に配置されている、図2に示すように、温泡吐出部3は、着座部13に着座している使用者Mの右肩の上方から右肩付近に温泡を供給する第1温泡吐出部3aと、着座部13に着座している使用者Mの左肩の上方から左肩付近に温泡を供給する第2温泡吐出部3bとで形成されている。温泡吐出部3(3a,3b)は、肩付近を目標として温泡を吹き出す泡吹出口30と、泡吹出口30から吹き出された温泡を下向きに流すように案内する案内カバー31とを有する。従って、温泡吐出部3は、ブース1のうち使用者Mに対面する壁面(背中対面部24)に沿って温泡が流下するように、温泡を吐出する。この場合、ブース1のうち使用者Mに対面する壁面(背中対面部24)を暖かい温泡の流下で暖めることができるため、温泡入浴の開始時に、使用者Mの背中が背中対面部24に触れたとしても、使用者Mが冷たさを感じることを抑えることができ、入浴効果を更に高めるのに有利となる。
図2に示すように、霧状のミストシャワーを噴出する泡除去用のミストシャワー噴出部4がブース本体11に複数個分散させて設けられている。ミストシャワー噴出部4は、ブース本体11のうち収容空間10の側面対面部26に設けられた第1ミストシャワー噴出部4aと、ブース本体11のうち着座部13の立面18に設けられた第2ミストシャワー噴出部4bとで形成されている。霧状のミストシャワーは泡を除去するのに有利である。このようにミストシャワー噴出部4が複数個設けられているため、使用者Mに付着したり収容空間10に残留した多量の温泡を除去するのに有利である。
図2に示すように、液状の温水シャワーまたは冷水シャワーを噴出させる水シャワー部として機能するハンドシャワー部5がブース本体11に設けられている。ハンドシャワー部5は使用者Mの手で操作できるものであり、可撓性をもつフレキシブルホース5aと、フレキシブルホース5aの先端に設けられたシャワー具5bとで形成されている。図2に示すように、ミストシャワー噴出部4(4a,4b)のミストの温度を調整する第1温度調節部61と、ハンドシャワー部5のシャワーの水温を調整する第2温度調節部62とが、ブース本体11において着座中の使用者Mの手が届く領域(使用者Mの頭部M2の横方付近)に設けられている。第1温度調節部61及び第2温度調節部62は、温水と冷水との流量割合を変えることによりシャワーの温度を調整する。泡生成用の操作盤28がブース本体11において使用者Mの頭部M2付近に装備されている。泡生成用の操作盤28はリモコン式とされているが、これに限定されるものではない。ブース本体11の上部には音楽発生要素としてのスピーカ29が設けられている。このため温泡入浴中に音楽を聞くことができ、快適性を高めることができる。
温泡供給部7はブース1のうち着座部13の内部の機械室13wに隠蔽状態に設けられており、暖かい温泡を温泡吐出部3に供給するものである。温泡供給部7は、温泡生成器70と、温泡生成器70に圧縮気体としての圧縮空気を供給することにより泡を生成する気体供給源として機能するコンプレッサ71とを有する。重量を有する温泡供給部7がブース1のうち着座部13の内部に設けられているため、ブース1の姿勢の安定性を高めることができる。なお、ブース1にはメンテナンス扉1xが設けられている。メンテナンス扉1xを開放すれば、機械室13w内の温泡供給部7に泡剤を補給できる。
図1に示すように、収容空間10を開閉させる開閉扉12の下端部12dは、ブース1の設置部15の先端15aに位置している。開閉扉12の上端部12uは、着座部13に着座している使用者Mの首付近まで円弧状に延設されている。このためブース1の収容空間10に温泡が収容されたとき、温泡は着座中の使用者Mの脚、胴の回りを包囲するものの、頭部M2までは基本的には到達しない。このため使用者Mの身体を入浴させつつも、使用者Mの頭部M2の加熱は抑制されている。
開閉扉12は、使用者Mが入る収容空間10の容積を小さくする容積狭小化構造を有している。すなわち、図1に示すように、開閉扉12はこれの下端部12dから上端部12uに向かうにつれて、収容空間10内の使用者M、背中対面部24に近づくよう曲成されている。このように開閉扉12が収容空間10の容積を小さくする容積狭小化構造を有するため、温泡の使用量を抑制しつつも、収容空間10に供給される温泡の放熱を少なくでき、入浴効果を高めるのに有利となる。開閉扉12は透明または半透明の透過部12mを有する。この場合、泡質等の泡の性状、泡の残留状況を外部から視認することができる利点が得られる。但し、透過部12mは設けられていなくても良い。
図5に示すように配管系8はブース本体11に埋設されている。このため配管系8の全部または多くは視認されず、外観意匠性を高めることができる。配管系8は、図略の給湯器で生成された温水が上向きに供給される主温水配管80と、温水用の逆流防止部(例えばバキュームプレーカ)81と、主温水配管80の温水を第2温度調節部62に供給する第1温水配管82と、主温水配管80の温水を第1温度調節部61に供給する第2温水配管83と、温泡生成器70に温水を供給する第3温水配管84と、水道管から冷水が供給される主冷水配管85と、冷水用の逆流防止部(例えばバキュームプレーカ)86と、主冷水配管85の冷水を第2温度調節部62に供給する第1冷水配管87と、主冷水配管85の冷水を第1温度調節部61に供給する第2冷水配管88と、逆流防止部81、86につながる排水用のドレン管89と、ドレン管89につながる排水部90とを有する。排水部90はブース1の裏面1rに開口している。第1温度調節部61及び第2温度調節部62は温水と冷水との混合比率を調整して温度調整するものである。
図6は配管系8のブロック図を示す。図6に示すように、温水および冷水の双方が第2温度調節部62を介してハンドシャワー部5に供給される。また温水および冷水の双方が第1温度調節部61を介してミストシャワー噴出部4に供給される。温泡生成器70には温水のみが供給され、冷水は供給されないようになっている。温泡生成器70に圧縮空気を供給するためにコンプレッサ71と温泡生成器70とをつなぐ気体供給管70mに芳香剤(アロマ)を供給する第1芳香剤供給部91が設けられている。温泡生成器70に芳香剤(アロマ)を供給する第2芳香剤供給部92が設けられている。このため快適な温泡入浴に一層貢献することができる。
図7は温泡供給部7の温泡生成器70を模式的に示す。図7に示すように、温泡生成器70は、洗剤および温水を含む洗剤溶液70aを貯留すると共に仕切部材70bで仕切られた複数の貯留室70cをもつ容器70dと、容器70dの貯留室70cの底部付近に配置された複数の噴出口70fを有するノズル70kをもつ気体供給管70mとを備えている。気体供給管70mはコンプレッサ71につながる。コンプレッサ71が駆動すると、圧縮気体としての圧縮空気が気体供給管70mに供給され、ノズル70kの噴出口70fから噴出する(バブリング)。これにより温泡が容器70d内で生成される。複数の噴出口70fの口径はそれぞれ同径とされているため、生成される泡のサイズを均一化させるのに有利である。また気体供給管70mは水平方向に沿って配置されているため、パブリング時に洗剤溶液70aが乱流化することが抑制され、均一な温泡を生成させるのに有利となる。
さて温泡入浴ブース装置の使用の際には、開閉扉12を開放させて使用者Mがブース1の収容空間10に入る。使用者Mはブース1の収容空間10内で着座部13に着座する。開閉扉12を閉鎖した状態で、暖かい温泡を温泡吐出部3から収容空間10に向けて吐出させ、収容空間10のほとんどの容積を温泡で満たす。従って使用者Mの頭部M2以外の身体は温泡で包囲される。温泡の温度は温泡入浴に適する温度にでき、泡質、使用者M、季節等によっても多少相違するものの、一般的には35〜55℃程度とすることができるが、これに限定されるものではない。
入浴では、使用者Mの肩部M1付近を暖めることが加温効果、入浴効果を高めるのに有効である。この点本実施例によれば、ブース1の収容空間10内で着座中の使用者Mの肩部M1付近に向けて、温泡吐出部3は暖かい温泡を使用者Mの肩部M1の上方から肩部M1付近に向けて吐出するため、温泡入浴の際に使用者Mの肩部M1付近を効果的に暖めることができ、使用者Mのリラックス効果、入浴効果を高めることができる。すなわち、ブース1の収容空間10内の使用者Mの肩部M1付近に向けて、温泡吐出部3は暖かい温泡を吐出するため、使用者Mは加温性を効果的に感じることができる。また肩こり等の回復にも有利である。更に、使用者Mの肩部M1付近に吐出された暖かい温泡は、使用者Mの肩部M1付近から身体の表面(背中、胸、腕、脚等の表面)に沿って流下するため、使用者Mの身体の全体を効果的に暖めることができる。これにより使用者のリラックス効果、温泡入浴効果を高めることができる。なお温泡入浴の際には、図1に示すように開閉扉12を閉鎖させたとしても、開閉扉12の上端部12uよりも使用者Mの頭部M2は露出して開放されているため、閉塞感もなく快適である。
寒い時期等では、入浴中といえども、使用者Mの背中は冷たさを感じることがある。この点本実施例によれば、温泡吐出部3から吐出された温泡は、ブース1のうち使用者Mの背中に対面する壁面である背中対面部24に沿って流下するため、背中対面部24を効果的に暖めることができ、使用者Mの背中が背中対面部24に触れたとしても、冷たさを感じることを抑えることができ、使用者Mのリラックス効果、入浴効果を一層高めることができる。
なお、図1に示すように、背中対面部24のうちこれの上端と頭部覆い面25との境界領域(頭部M2の裏側)は窪み量が大きい凹状面24tとされているため、温泡吐出部3が温泡を肩部M1付近に向けて吐出したとしても、凹状面24tと頭部M2との間に隙間を確保でき、頭部M2の頭髪等が温泡で濡れることを抑えるのに有利である。
なお、図1に示すように、温度調節部61,62、操作盤28は開閉扉12の上端部12uよりも上方に位置しているため、温度調節部61,62、操作盤28が温泡で埋まることは抑えられるため、温泡入浴時における操作性は確保される。
また、収容空間10内に着座部13が設けられている本実施例によれば、入浴中の使用者Mは着座部13に着座しており、使用者Mが立っているときに比較して安定している。このように着座中の使用者Mは姿勢が安定しており、ブース1の収容空間10の側面対面部26には触れにくいため、温泡がブース1の収容空間10の側面対面部26に沿って流下しないものの、特に不都合はない。なお、温泡入浴の前に、必要に応じて、制御装置がハンドシャワー部5およびミストシャワー噴出部4の一方または双方を作動させ、ハンドシャワー部5から噴出される暖かい温水シャワー、ミストシャワー噴出部4から噴出される暖かいミストシャワーにより、ブース本体11、殊に、ブース本体11のうち使用者Mが触れやすい部位を予熱させることも好ましい。これにより快適に温泡入浴するのに一層有利となる。
また温泡入浴の間に、必要に応じて、ハンドシャワー部5から噴出される暖かい温水シャワー、ミストシャワー噴出部4から噴出される暖かいミストシャワーのうちの一方または双方を、使用者Mに吹き付けることも好ましい。これにより快適に温泡入浴するのに一層有利となる。
温泡入浴が終了すると、使用者Mが収容空間10内で着座している状態で、ミストシャワー噴出部4から霧状のミストシャワーを噴出させれば、収容空間10に残留する泡を効果的に除去することができ、使用者Mの身体に付着した泡も除去することができる。
ここで、温水入浴後に、使用者Mの身体に付着した泡を除去する操作に長時間を要すると、その間に身体の冷えが進行し、冬季等では充分に満足できる温水入浴効果が得られなくなるおそれがある。この点本実施例によれば、ミストシャワー噴出部4は霧状のミストシャワーを噴出させるため、使用者Mの身体に付着した泡、ブース1の収容空間10内に残留している泡を短時間のうちに除去するのに有利となる。霧状のミストシャワーは微小粒状の液相と気相とが高頻度で混在しており、泡への微小状の液相の衝突が消泡に効果的であり、更に、霧状のミストシャワーは広面積に飛散しやすいため、多量の泡を除去させやすいためと推察される。
なお、必要に応じてハンドシャワー部5を補助的に用い、ハンドシャワー部5から噴出するシャワー水により泡を除去することにしてもよい。また上記した泡の除去操作は、場合によっては、使用者Mが収容空間10から退出した状態で行ってもよいものである。
図8は実施例2を示す。実施例2は基本的には前記した実施例1と同様の構成、同様の作用効果を有する。以下、相違する部分を中心として説明する。温泡吐出部3Wは、着座部13に着座している使用者Mの頭部M2の横側から右肩に温泡を供給する可撓性をもつ管状の第1温泡吐出部3rと、着座部13に着座している使用者Mの頭部M2の横側から左肩に温泡を供給する可撓性をもつ管状の第2温泡吐出部3sとで形成されている。温泡吐出部3W(3r,3s)は、ブース1のうち使用者Mに対面する壁面(背中対面部24)に沿って温泡が流下するように、温泡を吐出することができる。なお、温泡吐出部3r,3sは可撓性を有するため、使用者Mの体格に合わせて位置調整でき、温泡を使用者Mの肩部に吐出させることができる。
図9は実施例3を示す。実施例3は基本的には前記した実施例1と同様の構成、同様の作用効果を有する。以下、相違する部分を中心として説明する。開閉扉12は、使用者Mが入る収容空間10の容積を小さくする容積狭小化構造を有している。すなわち、図9に示すように、開閉扉12の内面には、収容空間10に向けて開閉扉12の他の部分よりも膨出する膨出部12h、12kが形成されている。膨出部12hは、収容空間10の容積を小さくして温泡の使用量を抑制するものである。膨出部12h、12kは中空室12jを有するため、高い断熱性をもち、収容空間10の温泡の放熱を少なくでき、入浴効果を高めるのに有利となる。
(他の例)
上記した実施例では、着座面17の中央域に溝形状の流水用の流下通路19が形成されているが、流下通路19は、使用者の身体の側面側に位置するように着座面17の幅方向の外縁側に形成されていても良いし、溝に限らず、流水できるようになだらかな傾斜面で形成しても良い。上記した実施例によれば、芳香剤を用いているが、芳香剤を用いない形態でもよい。ハンドシャワー部5およびミストシャワー噴出部4の双方が用いられているが、いずれか一方としてもよい。使用者Mはブース1の収容空間10で着座するが、これに限らず、立ったまま温泡入浴することにしても良い。収容空間10では複数の使用者Mが温泡入浴できる形態としても良い。上記した実施例によれば、温泡吐出部3は、着座部13に着座している使用者Mの右肩に温泡を供給する第1温泡吐出部3aと、着座部13に着座している使用者Mの左肩に温泡を供給する第2温泡吐出部3bとで形成されているが、これに限らず、使用者の肩の上方において右肩と左肩との間にかけて連続的に延設されている方式でも良い。その他、本発明は上記し且つ図面に示した実施例のみに限定されるものではなく、要旨を逸脱しない範囲内で適宜変更して実施できるものである。
本発明者は健康者、身体障害者、高齢者等が温泡入浴する際に利用することができる。
温泡入浴ブース装置の断面を模式的に示す構成図である。 開閉扉を省略した状態の入浴ブース装置の正面を模式的に示す構成図である。 温泡入浴ブース装置を模式的に示す斜視図である。 開閉扉を外した状態の入浴ブース装置を模式的に示す斜視図である。 温泡入浴ブース装置の裏面を模式的に示す構成図である。 配管系のブロック図である。 温泡供給部7の温泡生成器の断面を模式的に示す断面図である。 実施例2に係り、開閉扉を省略した状態の入浴ブース装置の正面を模式的に示す構成図である。 実施例3に係り、開閉扉を有する入浴ブース装置の断面を模式的に示す構成図である。
符号の説明
図中、1はブース、10は収容空間、11はブース本体、12は開閉扉、13は着座部、17は着座面、24は背中対面部、3は温泡吐出部、4はミストシャワー噴出部、5はハンドシャワー部、7は温泡供給部、70は温泡生成器、71はコンプレッサ、8は配管系を示す。

Claims (6)

  1. 使用者が入る収容空間を有するブースと、
    前記ブースに設けられ前記収容空間に温泡を吐出する温泡吐出部と、
    前記ブースに設けられ前記温泡吐出部に温泡を供給する前記温泡供給部とを具備しており、
    前記温泡吐出部は、前記収容空間に入った使用者の肩部付近に向けて温泡を吐出することを特徴とする温泡入浴ブース装置。
  2. 使用者が入る収容空間を有するブースと、
    前記ブースに設けられ前記収容空間に温泡を吐出する温泡吐出部と、
    前記ブースに設けられ前記温泡吐出部に温泡を供給する温泡供給部とを具備しており、
    前記ブースに設けられ前記ブースの前記収容空間内の泡を除去するために、霧状のミストシャワーを噴出するミストシャワー噴出部または放射状シャワーを噴出する放射状噴出シャワー部を具備することを特徴とする温泡入浴ブース装置。
  3. 請求項1または請求項2において、前記ブースは、前記収容空間をもつブース本体と、前記ブース本体の収容空間を開閉する開閉扉とを有することを特徴とする温泡入浴ブース装置。
  4. 請求項1〜請求項3のうちのいずれか一項において、前記開閉扉及び前記ブース本体のうちの少なくとも一方は、使用者が入る前記収容空間の容積を小さくする容積狭小化構造を有することを特徴とする温泡入浴ブース装置。
  5. 請求項1〜請求項4のうちのいずれか一項において、前記温泡吐出部は、前記ブースのうち使用者に対面する壁面に沿って温泡が流下するように、温泡を吐出することを特徴とする温泡入浴ブース装置。
  6. 請求項1〜請求項5のうちのいずれか一項において、前記ブースは、使用者の腰部を着座させる着座部を有しており、前記温泡吐出部は、前記着座部に着座している使用者の肩部付近に温泡を供給することを特徴とする温泡入浴ブース装置。
JP2004120788A 2004-04-15 2004-04-15 温泡入浴ブース装置 Expired - Fee Related JP4507675B2 (ja)

Priority Applications (1)

Application Number Priority Date Filing Date Title
JP2004120788A JP4507675B2 (ja) 2004-04-15 2004-04-15 温泡入浴ブース装置

Applications Claiming Priority (1)

Application Number Priority Date Filing Date Title
JP2004120788A JP4507675B2 (ja) 2004-04-15 2004-04-15 温泡入浴ブース装置

Publications (2)

Publication Number Publication Date
JP2005296522A true JP2005296522A (ja) 2005-10-27
JP4507675B2 JP4507675B2 (ja) 2010-07-21

Family

ID=35328764

Family Applications (1)

Application Number Title Priority Date Filing Date
JP2004120788A Expired - Fee Related JP4507675B2 (ja) 2004-04-15 2004-04-15 温泡入浴ブース装置

Country Status (1)

Country Link
JP (1) JP4507675B2 (ja)

Cited By (2)

* Cited by examiner, † Cited by third party
Publication number Priority date Publication date Assignee Title
JP2009172133A (ja) * 2008-01-24 2009-08-06 Aisin Seiki Co Ltd 微細気泡入浴装置
JP2017196358A (ja) * 2016-04-30 2017-11-02 有限会社ウイングケア ミストシャワー入浴装置

Citations (4)

* Cited by examiner, † Cited by third party
Publication number Priority date Publication date Assignee Title
JPH07308355A (ja) * 1994-03-22 1995-11-28 Arubo:Kk 身体洗浄装置及びその椅子
JP2002085512A (ja) * 2000-09-21 2002-03-26 Aisin Seiki Co Ltd 泡式入浴バスシステム
JP2004344362A (ja) * 2003-05-22 2004-12-09 Yamaha Livingtec Corp シャワールーム
JP2005034494A (ja) * 2003-07-17 2005-02-10 Inax Corp 泡式入浴用浴槽

Patent Citations (4)

* Cited by examiner, † Cited by third party
Publication number Priority date Publication date Assignee Title
JPH07308355A (ja) * 1994-03-22 1995-11-28 Arubo:Kk 身体洗浄装置及びその椅子
JP2002085512A (ja) * 2000-09-21 2002-03-26 Aisin Seiki Co Ltd 泡式入浴バスシステム
JP2004344362A (ja) * 2003-05-22 2004-12-09 Yamaha Livingtec Corp シャワールーム
JP2005034494A (ja) * 2003-07-17 2005-02-10 Inax Corp 泡式入浴用浴槽

Cited By (2)

* Cited by examiner, † Cited by third party
Publication number Priority date Publication date Assignee Title
JP2009172133A (ja) * 2008-01-24 2009-08-06 Aisin Seiki Co Ltd 微細気泡入浴装置
JP2017196358A (ja) * 2016-04-30 2017-11-02 有限会社ウイングケア ミストシャワー入浴装置

Also Published As

Publication number Publication date
JP4507675B2 (ja) 2010-07-21

Similar Documents

Publication Publication Date Title
JP3753157B2 (ja) シャワー浴装置
US4839930A (en) Dry hydro-massage unit for a spa tank
US8091158B2 (en) Shower bathing apparatus
JP6358714B2 (ja) ミストシャワー入浴装置
US7052082B1 (en) Pedicure basin for pedicure station and salon chair
JP4507675B2 (ja) 温泡入浴ブース装置
JP4126723B1 (ja) シャワー浴装置
CN116437834B (zh) 头浸浴装置及洗发盆
JP2864805B2 (ja) シャワー装置
JP2007222415A (ja) 洗髪機能を備えた浴槽装置
JP2006081705A (ja) 温泡入浴装置
JP4606914B2 (ja) フットバス用椅子
JP2002085512A (ja) 泡式入浴バスシステム
JP4281115B2 (ja) シャワー浴装置
JP2008154929A (ja) シャワー装置
JP4422641B2 (ja) シャワー装置
JP7672829B2 (ja) 入浴装置
JP4473758B2 (ja) シャワー装置
JP2004290476A (ja) ミスト発生装置
JP2008073432A (ja) マイクロバブルシャワー装置
JP2007136008A (ja) 簡易入浴装置のバブル通路
JP2004081560A (ja) 泡式シャワー浴システム
JPH07250774A (ja) バス設備
JP2002095600A (ja) 気泡噴出浴槽
JP2004105716A (ja) 泡式シャワー浴システム

Legal Events

Date Code Title Description
A621 Written request for application examination

Free format text: JAPANESE INTERMEDIATE CODE: A621

Effective date: 20070315

A131 Notification of reasons for refusal

Free format text: JAPANESE INTERMEDIATE CODE: A131

Effective date: 20091201

A521 Written amendment

Free format text: JAPANESE INTERMEDIATE CODE: A523

Effective date: 20100126

A131 Notification of reasons for refusal

Free format text: JAPANESE INTERMEDIATE CODE: A131

Effective date: 20100225

A521 Written amendment

Free format text: JAPANESE INTERMEDIATE CODE: A523

Effective date: 20100319

TRDD Decision of grant or rejection written
A01 Written decision to grant a patent or to grant a registration (utility model)

Free format text: JAPANESE INTERMEDIATE CODE: A01

Effective date: 20100413

A01 Written decision to grant a patent or to grant a registration (utility model)

Free format text: JAPANESE INTERMEDIATE CODE: A01

A61 First payment of annual fees (during grant procedure)

Free format text: JAPANESE INTERMEDIATE CODE: A61

Effective date: 20100426

FPAY Renewal fee payment (event date is renewal date of database)

Free format text: PAYMENT UNTIL: 20130514

Year of fee payment: 3

R151 Written notification of patent or utility model registration

Ref document number: 4507675

Country of ref document: JP

Free format text: JAPANESE INTERMEDIATE CODE: R151

FPAY Renewal fee payment (event date is renewal date of database)

Free format text: PAYMENT UNTIL: 20130514

Year of fee payment: 3

FPAY Renewal fee payment (event date is renewal date of database)

Free format text: PAYMENT UNTIL: 20140514

Year of fee payment: 4

LAPS Cancellation because of no payment of annual fees