JP2005296481A - 生理用ナプキン - Google Patents

生理用ナプキン Download PDF

Info

Publication number
JP2005296481A
JP2005296481A JP2004119855A JP2004119855A JP2005296481A JP 2005296481 A JP2005296481 A JP 2005296481A JP 2004119855 A JP2004119855 A JP 2004119855A JP 2004119855 A JP2004119855 A JP 2004119855A JP 2005296481 A JP2005296481 A JP 2005296481A
Authority
JP
Japan
Prior art keywords
liquid
barrier material
sanitary napkin
menstrual blood
sheet
Prior art date
Legal status (The legal status is an assumption and is not a legal conclusion. Google has not performed a legal analysis and makes no representation as to the accuracy of the status listed.)
Granted
Application number
JP2004119855A
Other languages
English (en)
Other versions
JP4738754B2 (ja
Inventor
Wataru Yoshimasa
渡 吉政
Yuki Noda
祐樹 野田
Megumi Tokumoto
恵 徳本
Kunitatsu Tamagawa
訓達 玉川
Current Assignee (The listed assignees may be inaccurate. Google has not performed a legal analysis and makes no representation or warranty as to the accuracy of the list.)
Unicharm Corp
Original Assignee
Unicharm Corp
Priority date (The priority date is an assumption and is not a legal conclusion. Google has not performed a legal analysis and makes no representation as to the accuracy of the date listed.)
Filing date
Publication date
Application filed by Unicharm Corp filed Critical Unicharm Corp
Priority to JP2004119855A priority Critical patent/JP4738754B2/ja
Priority to TW094108632A priority patent/TW200534832A/zh
Priority to US11/097,522 priority patent/US20050234418A1/en
Priority to PCT/JP2005/006750 priority patent/WO2005099641A1/ja
Publication of JP2005296481A publication Critical patent/JP2005296481A/ja
Application granted granted Critical
Publication of JP4738754B2 publication Critical patent/JP4738754B2/ja
Anticipated expiration legal-status Critical
Expired - Fee Related legal-status Critical Current

Links

Images

Classifications

    • AHUMAN NECESSITIES
    • A61MEDICAL OR VETERINARY SCIENCE; HYGIENE
    • A61FFILTERS IMPLANTABLE INTO BLOOD VESSELS; PROSTHESES; DEVICES PROVIDING PATENCY TO, OR PREVENTING COLLAPSING OF, TUBULAR STRUCTURES OF THE BODY, e.g. STENTS; ORTHOPAEDIC, NURSING OR CONTRACEPTIVE DEVICES; FOMENTATION; TREATMENT OR PROTECTION OF EYES OR EARS; BANDAGES, DRESSINGS OR ABSORBENT PADS; FIRST-AID KITS
    • A61F13/00Bandages or dressings; Absorbent pads
    • A61F13/15Absorbent pads, e.g. sanitary towels, swabs or tampons for external or internal application to the body; Supporting or fastening means therefor; Tampon applicators
    • A61F13/53Absorbent pads, e.g. sanitary towels, swabs or tampons for external or internal application to the body; Supporting or fastening means therefor; Tampon applicators characterised by the absorbing medium
    • A61F13/534Absorbent pads, e.g. sanitary towels, swabs or tampons for external or internal application to the body; Supporting or fastening means therefor; Tampon applicators characterised by the absorbing medium having an inhomogeneous composition through the thickness of the pad
    • A61F13/537Absorbent pads, e.g. sanitary towels, swabs or tampons for external or internal application to the body; Supporting or fastening means therefor; Tampon applicators characterised by the absorbing medium having an inhomogeneous composition through the thickness of the pad characterised by a layer facilitating or inhibiting flow in one direction or plane, e.g. a wicking layer
    • A61F13/53704Absorbent pads, e.g. sanitary towels, swabs or tampons for external or internal application to the body; Supporting or fastening means therefor; Tampon applicators characterised by the absorbing medium having an inhomogeneous composition through the thickness of the pad characterised by a layer facilitating or inhibiting flow in one direction or plane, e.g. a wicking layer the layer having an inhibiting function on liquid propagation
    • AHUMAN NECESSITIES
    • A61MEDICAL OR VETERINARY SCIENCE; HYGIENE
    • A61FFILTERS IMPLANTABLE INTO BLOOD VESSELS; PROSTHESES; DEVICES PROVIDING PATENCY TO, OR PREVENTING COLLAPSING OF, TUBULAR STRUCTURES OF THE BODY, e.g. STENTS; ORTHOPAEDIC, NURSING OR CONTRACEPTIVE DEVICES; FOMENTATION; TREATMENT OR PROTECTION OF EYES OR EARS; BANDAGES, DRESSINGS OR ABSORBENT PADS; FIRST-AID KITS
    • A61F13/00Bandages or dressings; Absorbent pads
    • A61F13/15Absorbent pads, e.g. sanitary towels, swabs or tampons for external or internal application to the body; Supporting or fastening means therefor; Tampon applicators
    • AHUMAN NECESSITIES
    • A61MEDICAL OR VETERINARY SCIENCE; HYGIENE
    • A61FFILTERS IMPLANTABLE INTO BLOOD VESSELS; PROSTHESES; DEVICES PROVIDING PATENCY TO, OR PREVENTING COLLAPSING OF, TUBULAR STRUCTURES OF THE BODY, e.g. STENTS; ORTHOPAEDIC, NURSING OR CONTRACEPTIVE DEVICES; FOMENTATION; TREATMENT OR PROTECTION OF EYES OR EARS; BANDAGES, DRESSINGS OR ABSORBENT PADS; FIRST-AID KITS
    • A61F13/00Bandages or dressings; Absorbent pads
    • A61F13/15Absorbent pads, e.g. sanitary towels, swabs or tampons for external or internal application to the body; Supporting or fastening means therefor; Tampon applicators
    • A61F13/53Absorbent pads, e.g. sanitary towels, swabs or tampons for external or internal application to the body; Supporting or fastening means therefor; Tampon applicators characterised by the absorbing medium
    • A61F13/534Absorbent pads, e.g. sanitary towels, swabs or tampons for external or internal application to the body; Supporting or fastening means therefor; Tampon applicators characterised by the absorbing medium having an inhomogeneous composition through the thickness of the pad
    • A61F13/537Absorbent pads, e.g. sanitary towels, swabs or tampons for external or internal application to the body; Supporting or fastening means therefor; Tampon applicators characterised by the absorbing medium having an inhomogeneous composition through the thickness of the pad characterised by a layer facilitating or inhibiting flow in one direction or plane, e.g. a wicking layer
    • A61F13/53708Absorbent pads, e.g. sanitary towels, swabs or tampons for external or internal application to the body; Supporting or fastening means therefor; Tampon applicators characterised by the absorbing medium having an inhomogeneous composition through the thickness of the pad characterised by a layer facilitating or inhibiting flow in one direction or plane, e.g. a wicking layer the layer having a promotional function on liquid propagation in at least one direction
    • A61F13/53713Absorbent pads, e.g. sanitary towels, swabs or tampons for external or internal application to the body; Supporting or fastening means therefor; Tampon applicators characterised by the absorbing medium having an inhomogeneous composition through the thickness of the pad characterised by a layer facilitating or inhibiting flow in one direction or plane, e.g. a wicking layer the layer having a promotional function on liquid propagation in at least one direction the layer having a promotional function on liquid propagation in the vertical direction
    • AHUMAN NECESSITIES
    • A61MEDICAL OR VETERINARY SCIENCE; HYGIENE
    • A61FFILTERS IMPLANTABLE INTO BLOOD VESSELS; PROSTHESES; DEVICES PROVIDING PATENCY TO, OR PREVENTING COLLAPSING OF, TUBULAR STRUCTURES OF THE BODY, e.g. STENTS; ORTHOPAEDIC, NURSING OR CONTRACEPTIVE DEVICES; FOMENTATION; TREATMENT OR PROTECTION OF EYES OR EARS; BANDAGES, DRESSINGS OR ABSORBENT PADS; FIRST-AID KITS
    • A61F13/00Bandages or dressings; Absorbent pads
    • A61F13/15Absorbent pads, e.g. sanitary towels, swabs or tampons for external or internal application to the body; Supporting or fastening means therefor; Tampon applicators
    • A61F13/53Absorbent pads, e.g. sanitary towels, swabs or tampons for external or internal application to the body; Supporting or fastening means therefor; Tampon applicators characterised by the absorbing medium
    • A61F13/534Absorbent pads, e.g. sanitary towels, swabs or tampons for external or internal application to the body; Supporting or fastening means therefor; Tampon applicators characterised by the absorbing medium having an inhomogeneous composition through the thickness of the pad
    • A61F13/537Absorbent pads, e.g. sanitary towels, swabs or tampons for external or internal application to the body; Supporting or fastening means therefor; Tampon applicators characterised by the absorbing medium having an inhomogeneous composition through the thickness of the pad characterised by a layer facilitating or inhibiting flow in one direction or plane, e.g. a wicking layer
    • A61F13/53708Absorbent pads, e.g. sanitary towels, swabs or tampons for external or internal application to the body; Supporting or fastening means therefor; Tampon applicators characterised by the absorbing medium having an inhomogeneous composition through the thickness of the pad characterised by a layer facilitating or inhibiting flow in one direction or plane, e.g. a wicking layer the layer having a promotional function on liquid propagation in at least one direction
    • A61F13/53717Absorbent pads, e.g. sanitary towels, swabs or tampons for external or internal application to the body; Supporting or fastening means therefor; Tampon applicators characterised by the absorbing medium having an inhomogeneous composition through the thickness of the pad characterised by a layer facilitating or inhibiting flow in one direction or plane, e.g. a wicking layer the layer having a promotional function on liquid propagation in at least one direction the layer having a promotional function on liquid propagation in the horizontal direction
    • AHUMAN NECESSITIES
    • A61MEDICAL OR VETERINARY SCIENCE; HYGIENE
    • A61FFILTERS IMPLANTABLE INTO BLOOD VESSELS; PROSTHESES; DEVICES PROVIDING PATENCY TO, OR PREVENTING COLLAPSING OF, TUBULAR STRUCTURES OF THE BODY, e.g. STENTS; ORTHOPAEDIC, NURSING OR CONTRACEPTIVE DEVICES; FOMENTATION; TREATMENT OR PROTECTION OF EYES OR EARS; BANDAGES, DRESSINGS OR ABSORBENT PADS; FIRST-AID KITS
    • A61F13/00Bandages or dressings; Absorbent pads
    • A61F13/15Absorbent pads, e.g. sanitary towels, swabs or tampons for external or internal application to the body; Supporting or fastening means therefor; Tampon applicators
    • A61F13/53Absorbent pads, e.g. sanitary towels, swabs or tampons for external or internal application to the body; Supporting or fastening means therefor; Tampon applicators characterised by the absorbing medium
    • A61F13/534Absorbent pads, e.g. sanitary towels, swabs or tampons for external or internal application to the body; Supporting or fastening means therefor; Tampon applicators characterised by the absorbing medium having an inhomogeneous composition through the thickness of the pad
    • A61F13/537Absorbent pads, e.g. sanitary towels, swabs or tampons for external or internal application to the body; Supporting or fastening means therefor; Tampon applicators characterised by the absorbing medium having an inhomogeneous composition through the thickness of the pad characterised by a layer facilitating or inhibiting flow in one direction or plane, e.g. a wicking layer
    • A61F13/53743Absorbent pads, e.g. sanitary towels, swabs or tampons for external or internal application to the body; Supporting or fastening means therefor; Tampon applicators characterised by the absorbing medium having an inhomogeneous composition through the thickness of the pad characterised by a layer facilitating or inhibiting flow in one direction or plane, e.g. a wicking layer characterised by the position of the layer relative to the other layers
    • A61F13/53747Absorbent pads, e.g. sanitary towels, swabs or tampons for external or internal application to the body; Supporting or fastening means therefor; Tampon applicators characterised by the absorbing medium having an inhomogeneous composition through the thickness of the pad characterised by a layer facilitating or inhibiting flow in one direction or plane, e.g. a wicking layer characterised by the position of the layer relative to the other layers the layer is facing the topsheet
    • AHUMAN NECESSITIES
    • A61MEDICAL OR VETERINARY SCIENCE; HYGIENE
    • A61FFILTERS IMPLANTABLE INTO BLOOD VESSELS; PROSTHESES; DEVICES PROVIDING PATENCY TO, OR PREVENTING COLLAPSING OF, TUBULAR STRUCTURES OF THE BODY, e.g. STENTS; ORTHOPAEDIC, NURSING OR CONTRACEPTIVE DEVICES; FOMENTATION; TREATMENT OR PROTECTION OF EYES OR EARS; BANDAGES, DRESSINGS OR ABSORBENT PADS; FIRST-AID KITS
    • A61F13/00Bandages or dressings; Absorbent pads
    • A61F13/15Absorbent pads, e.g. sanitary towels, swabs or tampons for external or internal application to the body; Supporting or fastening means therefor; Tampon applicators
    • A61F13/53Absorbent pads, e.g. sanitary towels, swabs or tampons for external or internal application to the body; Supporting or fastening means therefor; Tampon applicators characterised by the absorbing medium
    • A61F2013/530131Absorbent pads, e.g. sanitary towels, swabs or tampons for external or internal application to the body; Supporting or fastening means therefor; Tampon applicators characterised by the absorbing medium being made in fibre but being not pulp
    • A61F2013/53016Absorbent pads, e.g. sanitary towels, swabs or tampons for external or internal application to the body; Supporting or fastening means therefor; Tampon applicators characterised by the absorbing medium being made in fibre but being not pulp having special shape
    • A61F2013/530167Absorbent pads, e.g. sanitary towels, swabs or tampons for external or internal application to the body; Supporting or fastening means therefor; Tampon applicators characterised by the absorbing medium being made in fibre but being not pulp having special shape being crimped
    • AHUMAN NECESSITIES
    • A61MEDICAL OR VETERINARY SCIENCE; HYGIENE
    • A61FFILTERS IMPLANTABLE INTO BLOOD VESSELS; PROSTHESES; DEVICES PROVIDING PATENCY TO, OR PREVENTING COLLAPSING OF, TUBULAR STRUCTURES OF THE BODY, e.g. STENTS; ORTHOPAEDIC, NURSING OR CONTRACEPTIVE DEVICES; FOMENTATION; TREATMENT OR PROTECTION OF EYES OR EARS; BANDAGES, DRESSINGS OR ABSORBENT PADS; FIRST-AID KITS
    • A61F13/00Bandages or dressings; Absorbent pads
    • A61F13/15Absorbent pads, e.g. sanitary towels, swabs or tampons for external or internal application to the body; Supporting or fastening means therefor; Tampon applicators
    • A61F13/53Absorbent pads, e.g. sanitary towels, swabs or tampons for external or internal application to the body; Supporting or fastening means therefor; Tampon applicators characterised by the absorbing medium
    • A61F13/534Absorbent pads, e.g. sanitary towels, swabs or tampons for external or internal application to the body; Supporting or fastening means therefor; Tampon applicators characterised by the absorbing medium having an inhomogeneous composition through the thickness of the pad
    • A61F2013/53463Absorbent pads, e.g. sanitary towels, swabs or tampons for external or internal application to the body; Supporting or fastening means therefor; Tampon applicators characterised by the absorbing medium having an inhomogeneous composition through the thickness of the pad with a reinforcing structure, e.g. net
    • AHUMAN NECESSITIES
    • A61MEDICAL OR VETERINARY SCIENCE; HYGIENE
    • A61FFILTERS IMPLANTABLE INTO BLOOD VESSELS; PROSTHESES; DEVICES PROVIDING PATENCY TO, OR PREVENTING COLLAPSING OF, TUBULAR STRUCTURES OF THE BODY, e.g. STENTS; ORTHOPAEDIC, NURSING OR CONTRACEPTIVE DEVICES; FOMENTATION; TREATMENT OR PROTECTION OF EYES OR EARS; BANDAGES, DRESSINGS OR ABSORBENT PADS; FIRST-AID KITS
    • A61F13/00Bandages or dressings; Absorbent pads
    • A61F13/15Absorbent pads, e.g. sanitary towels, swabs or tampons for external or internal application to the body; Supporting or fastening means therefor; Tampon applicators
    • A61F13/53Absorbent pads, e.g. sanitary towels, swabs or tampons for external or internal application to the body; Supporting or fastening means therefor; Tampon applicators characterised by the absorbing medium
    • A61F13/534Absorbent pads, e.g. sanitary towels, swabs or tampons for external or internal application to the body; Supporting or fastening means therefor; Tampon applicators characterised by the absorbing medium having an inhomogeneous composition through the thickness of the pad
    • A61F13/537Absorbent pads, e.g. sanitary towels, swabs or tampons for external or internal application to the body; Supporting or fastening means therefor; Tampon applicators characterised by the absorbing medium having an inhomogeneous composition through the thickness of the pad characterised by a layer facilitating or inhibiting flow in one direction or plane, e.g. a wicking layer
    • A61F2013/53765Absorbent pads, e.g. sanitary towels, swabs or tampons for external or internal application to the body; Supporting or fastening means therefor; Tampon applicators characterised by the absorbing medium having an inhomogeneous composition through the thickness of the pad characterised by a layer facilitating or inhibiting flow in one direction or plane, e.g. a wicking layer characterized by its geometry
    • AHUMAN NECESSITIES
    • A61MEDICAL OR VETERINARY SCIENCE; HYGIENE
    • A61FFILTERS IMPLANTABLE INTO BLOOD VESSELS; PROSTHESES; DEVICES PROVIDING PATENCY TO, OR PREVENTING COLLAPSING OF, TUBULAR STRUCTURES OF THE BODY, e.g. STENTS; ORTHOPAEDIC, NURSING OR CONTRACEPTIVE DEVICES; FOMENTATION; TREATMENT OR PROTECTION OF EYES OR EARS; BANDAGES, DRESSINGS OR ABSORBENT PADS; FIRST-AID KITS
    • A61F13/00Bandages or dressings; Absorbent pads
    • A61F13/15Absorbent pads, e.g. sanitary towels, swabs or tampons for external or internal application to the body; Supporting or fastening means therefor; Tampon applicators
    • A61F13/53Absorbent pads, e.g. sanitary towels, swabs or tampons for external or internal application to the body; Supporting or fastening means therefor; Tampon applicators characterised by the absorbing medium
    • A61F13/534Absorbent pads, e.g. sanitary towels, swabs or tampons for external or internal application to the body; Supporting or fastening means therefor; Tampon applicators characterised by the absorbing medium having an inhomogeneous composition through the thickness of the pad
    • A61F13/537Absorbent pads, e.g. sanitary towels, swabs or tampons for external or internal application to the body; Supporting or fastening means therefor; Tampon applicators characterised by the absorbing medium having an inhomogeneous composition through the thickness of the pad characterised by a layer facilitating or inhibiting flow in one direction or plane, e.g. a wicking layer
    • A61F2013/53765Absorbent pads, e.g. sanitary towels, swabs or tampons for external or internal application to the body; Supporting or fastening means therefor; Tampon applicators characterised by the absorbing medium having an inhomogeneous composition through the thickness of the pad characterised by a layer facilitating or inhibiting flow in one direction or plane, e.g. a wicking layer characterized by its geometry
    • A61F2013/53782Absorbent pads, e.g. sanitary towels, swabs or tampons for external or internal application to the body; Supporting or fastening means therefor; Tampon applicators characterised by the absorbing medium having an inhomogeneous composition through the thickness of the pad characterised by a layer facilitating or inhibiting flow in one direction or plane, e.g. a wicking layer characterized by its geometry with holes

Landscapes

  • Health & Medical Sciences (AREA)
  • Epidemiology (AREA)
  • Engineering & Computer Science (AREA)
  • Biomedical Technology (AREA)
  • Heart & Thoracic Surgery (AREA)
  • Vascular Medicine (AREA)
  • Life Sciences & Earth Sciences (AREA)
  • Animal Behavior & Ethology (AREA)
  • General Health & Medical Sciences (AREA)
  • Public Health (AREA)
  • Veterinary Medicine (AREA)
  • Absorbent Articles And Supports Therefor (AREA)

Abstract

【課題】 経血の吸収速度が高く、また加圧時の肌側表面への経血の戻りが少なく、また液吸収層に吸収されて経血の色が肌側表面から目立ちにくい生理用ナプキンを得る。
【解決手段】 表面シート5は多数の液透過孔5aを有する樹脂フィルムで形成されており、表面シート5と液吸収層7との間には、樹脂フィルムで細幅に形成されたバリヤー材11が多数介在している。バリヤー材11は帯状に形成され、隣り合うバリヤー材11の間に空隙部12が形成されている。表面シート5の液透過孔5aを透過した経血は、前記空隙部12を通過して液吸収層7に吸収されるようになる。またバリヤー材11が液の戻りを防止し、また経血の色を隠蔽するように機能する。
【選択図】図3

Description

本発明は、生理用ナプキンに係り、特に表面シートを透過した液を縦方向に拡散させ且つ液吸収層へ速やかに吸収させて横漏れを防止でき、また液吸収層に吸収された経血の色の隠蔽機能の高い生理用ナプキンに関する。
生理用ナプキンは、肌側表面に与えられた経血が液吸収層に速やかに吸収されること、与えられた液の横方向への洩れが生じにくいこと、液吸収層に吸収された経血が肌側表面に戻りにくいことなどが要求され、さらに液吸収層に吸収された経血の色を肌側表面から直接に目視できないように隠蔽しやすいことが好まれている。これらの要求を満たすために、一般には、表面シートの構造を工夫し、または表面シートと液吸収層との間にさらに他の部材を介在させている。
以下の特許文献1には、液体の取り入れを容易とし、且つ肌側表面に液が戻りにくく、さらに液体の色の隠蔽機能を向上させることを目的とした生理用ナプキンが開示されている。
特許文献1に記載の生理用ナプキンは、肌側表面に位置する第1通過層が樹脂フィルムで形成されて、この樹脂フィルムに1.4〜3.0mmの範囲の大きな開孔面積の開孔部が形成されている。また、第1通過層の下に位置する第2通過層が、空隙率の高い高ロフト弾性繊維材料により形成されている。また発明と対照させる構造として、第1通過層が前記のように開孔面積の大きな開孔部を有する樹脂フィルムで形成され、第2通過層が、開孔面積の小さい開孔部を有する樹脂フィルムで形成されたものが開示されている。
さらに、以下の特許文献2には、表面シートと液吸収層との間に倦縮繊維の集合体を介在させた生理用ナプキンが開示されている。前記倦縮繊維は互いに絡み合って所定の弾性率を発揮できるようにしている。表面シートと液吸収層との間に前記倦縮繊維の集合体を介在させることにより、膣口に当てられたときに前記倦縮繊維の集合体が自由に変形しやすくなるというものである。
また、以下の特許文献3の図11および図12には、肌側表面において、縦方向に二列に延びて且つそれぞれが肌側に隆起した一対の肌当接部を有する生理用ナプキンが開示されている。前記肌当接部では、表面シートと液吸収層との間に、TOWから開繊された連続繊維の束が介在し、この連続繊維はその繊維長方向が縦方向に向けられている。
前記特許文献3に記載の発明は、一対の肌当接部がクッション性を有して女性の股間部に当接でき、また膣口から排泄された経血を前記肌当接部と肌当接部との間の溝部で受け止めて液吸収層に吸収させることにより、生理用ナプキンの肌側表面において前記経血が横方向へ流れるのを阻止し、経血の横漏れを防止しやすくするというものである。
特表平11−507573号公報 特開2001−340382号公報 特開2002−345887号公報
前記特許文献1に記載の発明は、第1通過層に開孔面積の大きな開孔部が形成されて液の通過機能が高められているが、第1通過層の下に、第2通過層である繊維層および液吸収層が位置しているため、肌側表面から体圧が作用したときに、液吸収層に吸収されている経血が、前記第2通過層を透過しさらに大きな開孔面積の前記開孔部を通じて肌側表面に戻りやすい。また、第2通過層の空隙内に経血が保持されやすく、第1通過層の大きな開孔面積の開孔部を通して前記経血の色が目視されることにより、肌側表面で経血の色が目立ちやすい。
また、前記特許文献1に記載された対照構造では、開孔面積の大きな開孔部が形成された第1通過層の下に、第2通過層として小さな開孔面積の開孔部が形成された樹脂フィルムが配置されている。この第2通過層を設けることにより、液吸収層に吸収された経血の色が肌側表面において目立たなくなる効果を発揮させることが可能と考えられるが、この第2通過層は、第1通過層を通過した経血に対して抵抗物として作用する。そのため、第1通過層と第2通過層との間に経血が滞留しやすく、滞留した経血は第1通過層と第2通過層との間において各層の面方向に広がりやすい。そのために横洩れを生じさせやすくなっている。さらには滞留した経血が第1通過層の開孔部を通過して肌側表面に戻りやすい。
次に、前記特許文献2に記載の生理用ナプキンは、表面シートと液吸収層との間に、倦縮繊維の集合体が設けられている。この倦縮繊維の集合体は、肌側表面を身体の形状に合わせて変形しやすくするものであるが、肌側表面に与えられた経血を液吸収層に浸透させやすく、また液吸収層から肌側表面への液の戻りを阻止できる機能については特に開示されていない。表面シートの下に倦縮繊維の集合体を設けたものでは、表面シートを透過した粘度の高い経血の凝集体を倦縮繊維が断ち切るように作用し、その結果、経血が液吸収層に向けて移行しにくくなる心配がある。
また、前記特許文献3に記載の生理用ナプキンでは、肌側に隆起した一対の肌当接部内にTOWから開繊された繊維層が設けられている。しかし、一対の前記肌隆起部は、その間に位置する溝部内に経血を導くためにものであり、前記肌当接部内に経血を透過させるためのものではない。
本発明は、前記従来の課題を解決するものであり、比較的粘度の高い経血を速やかに保持することができ、横方向への拡散を防止でき、さらに経血の色の隠蔽機能の高い生理用ナプキンを提供することを目的としている。
本発明は、肌側表面に位置する液透過性の表面シートと、着衣側表面に位置する裏面シートと、前記表面シートと前記裏面シートとの間に配置された液吸収層とを有する生理用ナプキンにおいて、
前記表面シートと前記液吸収層との間に、複数のバリヤー材が設けられ、個々の前記バリヤー材は、少なくとも前記表面シートに向く表面が合成樹脂材料で形成され、その幅寸法が厚み寸法よりも大きく且つ細長形状であり、その長手方向が縦方向に向けて延びており、
前記バリヤー材どうしは互いに結合されておらず、且つその厚み方向に積層されて設けられており、前記バリヤー材の間に、前記液吸収層に通じる空隙部が形成されていることを特徴とするものである。
本発明の生理用ナプキンは、表面シートの下に設けられた前記バリヤー材により、液吸収層から表面シートへの液の戻りを防止でき、且つ液吸収層に吸収された経血の色を前記バリヤー材で隠蔽できる。また、バリヤー材は縦方向に向って延び且つバリヤー材の間に空隙部が設けられているため、表面シートを透過した経血が前記空隙部に沿って縦方向に拡散しながら液吸収層に吸収される。したがって、経血を液吸収層に速やかに与えることができ、また経血の横方向への拡散を防止して、経血の横漏れを阻止しやすい。
また、前記バリヤー材は樹脂層で形成されているため、体圧が作用し変形した後に弾性復元力を発揮できる。よって、経血を透過させる空隙部が安定して形成されるようになる。
また本発明は、前記バリヤー材はその一部が前記表面シートと結合されているものである。
前記バリヤー材の一部が表面シートに結合されていると、体圧が作用しても表面シートとバリヤー材が位置ずれしにくく、バリヤー材の間に溝状の空隙部が適度に分散するようになって、経血の透過機能を効果的に維持できるようになる。
本発明は、好ましくは、前記バリヤー材は、縦方向に向けて蛇行しているもの、または倦縮されているものを含んでいる。
前記バリヤー材が蛇行または倦縮していると、バリヤー材の間に前記空隙部が分散して形成されるようになる。
本発明は、好ましくは、前記バリヤー材は、幅寸法が0.1〜5mmであり、厚みが0.02〜3.0mmである。
さらに本発明は、前記表面シートは、少なくとも肌側表面が樹脂層で形成されて多数の液透過孔を有しており、前記バリヤー材の幅寸法が、前記液透過孔の横方向に向く開孔幅寸法よりも小さいものとして構成できる。
この生理用ナプキンは、経血が液透過孔を経て表面シートを通過するが、液透過孔の下がバリヤー層で塞がれることがなく、液透過孔から液吸収層へ適度な液通過経路が形成されるようになる。
また、本発明は、前記バリヤー材は白色化処理されている。
バリヤー材が白色化処理されていると、液吸収層に吸収されている経血の色を、生理用ナプキンの肌側表面から目立たなくする効果をさらに高めることができる。
本発明の生理用ナプキンは、液吸収層に吸収された経血が表面シートに向けて戻りにくく、また経血がバリヤー材に沿って縦方向に拡散しながら液吸収層に吸収されるため、液の吸収速度が速く、横漏れも生じにくい。さらにバリヤー材が存在することにより、液吸収層に吸収された経血の色が肌側表面において目立ちにくくなる。
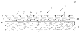
図1は本発明の第1の実施の形態の生理用ナプキンを肌側表面を手前に向けて示す平面図、図2は図1のII−II線の断面図、図3は表面シートとバリヤー材の詳細を示す部分斜視図、図4は図2の部分拡大図である。
図1に示す生理用ナプキン1は、Y方向に向けて縦長形状であり、縦方向中心線Oyを介して左右対称形状である。生理用ナプキン1の前縁部1aと後縁部1bは、縦方向の前後に突出する突曲線形状である。左右両側部には、左右方向へ突出するウイング部2,2が形成されている。このウイング部2,2は、横方向中心線Oxよりもやや前縁部1a側に偏った位置に設けられている。ウイング部2,2よりも前方には、前方右縁部1cと前方左縁部1dが形成され、ウイング部2,2よりも後方には、後方右縁部1eと後方左縁部1fが形成されている。
図2に示すように、この生理用ナプキン1の基本的な構造は、着用者の股間部に向けられる肌側表面に位置する液透過性の表面シート5と、下着のクロッチ部に向けられる着衣側表面に位置する液遮断性の裏面シート6とを有しており、前記表面シート5と前記裏面シート6との間に液吸収層7が設けられている。図1において破線で示すように、液吸収層7の前縁部7aは前方に向く突曲線形状であり、生理用ナプキン1の前縁部1aよりも内側に間隔を空けて位置し、液吸収層7の後縁部7bも後方に向く突曲線形状であり、生理用ナプキン1の後縁部1bから内側に間隔を空けて位置している。
液吸収層7の右縁部7cは、生理用ナプキン1の前方右縁部1cおよび後方右縁部1eよりも内側に間隔を空けて位置し、液吸収層7の左縁部7dは、生理用ナプキン1の前方左縁部1dおよび後方左縁部1fよりも内側に間隔を空けて位置している。前記液吸収層7の前縁部7a、後縁部7b、右縁部7cおよび左縁部7dよりも外側に外れた領域において、前記表面シート5と裏面シート6とがホットメルト型接着剤で接着されている。
なお、生理用ナプキン1の肌側表面において、縦方向中心線Oyから左右に所定距離を空けて、左右両側に液不透過性の側部シートが設けられていてもよいし、この側部シートによって、縦方向に延びて肌側表面から立ち上がる防漏壁が形成されていてもよい。
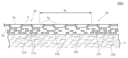
図1に示すように、この生理用ナプキン1は、横方向中心線Oxから前後に等距離を空けた長さ寸法L1で且つ縦方向中心線Oyから左右に等距離を空けた幅寸法W1の範囲が、主受液領域10とされている。この主受液領域10では、表面シート5と液吸収層7との間にバリヤー材11が配置されている。
図3に示すように、前記バリヤー材11は、幅寸法がWaで、前記主受液領域10において縦方向に連続して延びる細帯形状の樹脂フィルムである。この実施の形態では、個々のバリヤー材11が、主受液領域10の縦方向の長さ寸法L1の全長に渡って途切れない長さ寸法を有している。ただし、バリヤー材11が前記縦方向の長さ寸法L1よりも短く、このバリヤー材11が前記縦方向の長さ寸法L1の全範囲に位置するように並べられていてもよい。
本明細書において、バリヤー材11が縦方向に連続して延びているとは、バリヤー材11がY方向に対して正確に平行に延びている状態に限られるものではなく、前記Y方向に対して交叉して、ほぼ縦方向に向って延びている状態を含む。
前記バリヤー材11は、表面シート5と液吸収層7との間において、上下方向(Z方向)に複数層に重ねられている。個々のバリヤー材11は、表面シート5と部分的に接合されているが、表面シート5と接合されていない部分では、バリヤー材11どうしは、互いに接着や熱溶着されておらず、結合されていない独立状態を保っている。
多数配置されているバリヤー材11の間には、多数の空隙部12が形成されている。前記バリヤー材11が縦方向に向けて延びているため、個々の空隙部12も縦方向に細長く溝状に延びている。前記空隙部12は、表面シート5から液吸収層7への経血の通過経路を形成するものであるが、多数の空隙部12のうちの一部は、表面シート5から液吸収層7に向けて、上下方向(Z方向)に貫通して形成されている。
図3に示すように、個々のバリヤー材11は縦方向に向けて直線的な細帯形状ではなく、縦方向に向けて延びると共に横方向の両側に向く湾曲部11aがランダムに繰り返すように設けられた蛇行形状である。
バリヤー材11が蛇行形状であると、隣り合うバリヤー材11の間および上下に位置するバリヤー材11の間に、横方向に膨らみを有しまたは蛇行しながら縦方向に延びる多数の空隙部12が形成される。また、バリヤー材11が蛇行形状であると、バリヤー材11が上下に重なっている場所においても、上下のバリヤー材11の間に空隙部12を形成することが可能となり、空隙率を高くできる。
個々のバリヤー材11の幅寸法Waは0.1〜5.0mmの範囲であり、好ましくは0.5〜3.0mmの範囲である。前記範囲であると、表面シート5を通過した経血に対してバリヤー材11がその流れを阻害する抵抗物とならず、空隙部12内を経血が自由で落下しやすくなる。
バリヤー材11の厚みは0.02〜3.0mmの範囲であり、好ましくは0.5〜2.0mmの範囲である。厚みが前記範囲内であると、生理用ナプキン1の肌側表面に体圧が作用し、バリヤー材11が変形して空隙部12が潰された状態で、前記体圧が除去されると、バリヤー材11の弾性復元力により空隙部12が元の状態に戻りやすくなる。
また、前記主受液領域10で且つ、最上部に位置するバリヤー材11の表面から最下部に位置するバリヤー材11の下面までの立体の中での前記空隙部12が占める率、すなわち主受液領域10において、前記表面シート5と前記液吸収層7とで挟まれる領域の体積に対して、前記バリヤー材間の空隙部が体積比で20%以上で100%未満の率で設けられている。また、バリヤー材11が積層されている高さ寸法は、0.5〜10mmの範囲であり、好ましくは2〜7mmである。前記空隙部12の最大高さも前記範囲内となる。
バリヤー材11の設けられている高さおよび空隙部12の最大高さが前記範囲内であると、表面シート5を通過した粘度の高い経血が凝集した状態で空隙部12内を通過して液吸収層7に至ることができる。また、空隙部12の占める率が前記範囲内であると、バリヤー材11が表面シート5および液吸収層7に接触する面積を確保でき、表面シート5を通過した経血がバリヤー材11を伝わって液吸収層7に導かれやすくなる。
この生理用ナプキン1が女性の股間部に装着されたときに、前記主受液領域10が膣口に対向できるように、主受液領域10の長さ寸法L1と幅寸法W1が定められている。前記長さ寸法L1の好ましい範囲は40〜70mmであり、前記幅寸法W1の好ましい範囲は20〜30mmであるが、前記バリヤー材11を配置する領域の寸法は前記範囲に限られるものではない。
前記バリヤー材11は、LLDPE(直鎖状低密度ポリエチレン)、LDPE(低密度ポリエチレン)、HDPE(高密度ポリエチレン)、PP(ポリプロピレン)、タフマー等の熱可塑性樹脂材料の単独もしくはブレンドした樹脂材料で形成される。または前記樹脂材料を多層化した多層フィルムによって形成される。また、前記樹脂材料に酸化チタン、硫酸バリウム、炭酸カルシウムなどの無機フィラーを10〜40質量%の範囲で練り込んで白色化させたものが使用される。表面シート5とバリヤー材11を白色化させることにより、液吸収層7に吸収された経血の色を隠蔽することができる。さらに前記バリヤー材11として、多数の開孔を有するものも使用可能である。
また、前記バリヤー材11を形成している樹脂フィルムには、エステル系などの親水油剤が0.1〜2.5質量%塗布されまたは練り込まれて、親水化処理されている。
前記バリヤー材11は、例えば図9に示す方法によって製造される。
前記樹脂材料で形成された所定幅寸法のフィルム20は1枚または複数枚重ねられて、一対の裁断ロール21,21の間に供給され、裁断ロール21,21によりフィルムが細幅に裁断される。裁断後に、ニップルロール22,22およびニップルロール23,23に挟持されて送り出される。ここで、下流側のニップルロール23,23の表面の周速度を上流側のニップルロール22,22の表面の周速度よりも速くしておくと、ニップルロール22,22とニップルロール23,23の間で、裁断されたフィルムに張力が与えられ、前記ニップルロール23,23を通過した後に前記張力から開放される。これにより、裁断後のバリヤー材11が互いに密着せずに分離されやすくなる。
図3に示すように、個々のバリヤー材11を蛇行形状にするには、前記裁断ロール21,21のロール表面に形成された切断刃の形状を周方向に向けて蛇行させることにより可能である。または、裁断ロール21,21で裁断された時点で、裁断された細幅のフィルムが蛇行しておらず、その後にニップルロール間での張力の付与と張力の開放とを複数回繰り返すことによっても、蛇行形状のバリヤー材11を形成することができる。
また、前記バリヤー材11の他の製造方法としては、合成樹脂フィルムを延伸し、延伸方向と直交する方向へ引き裂く方法、樹脂フィルムを延伸してウォータジェットの圧力や熱風の圧力で引き裂く方法、一対のロール表面にかみ合わせ突起を形成し、樹脂フィルムを噛み合せ突起内に供給して張力を与えて引き裂く方法、などが可能である。
第1の実施の形態の生理用ナプキン1では、前記表面シート5が合成樹脂フィルムで形成されており、この表面シート5には多数の液透過孔5aが規則的にまたはランダムに配置されて形成されている。
少なくとも前記主受液領域10すなわち前記バリヤー材11が設けられている領域では、図3に示すように、前記表面シート5に形成された個々の液透過孔5aの横方向(X方向)の開孔径Dxは、前記バリヤー材11の幅寸法Waよりも大きいことが好ましい。すなわち、バリヤー材11の幅寸法Waを、前記開孔径Dxよりも小さくすることにより、個々の液透過孔5aの下に、前記空隙部12が対向できるようになる。
樹脂フィルムに所定の開孔面積と開孔面積率の液透過孔を形成させ、樹脂フィルムを伸長させて前記液透過孔の開孔面積および開孔面積率を向上させたものを表面シート5として使用し、延伸方向を横方向に向けて配置すると、液透過孔5aが横方向に向く長円形状となる。このような表面シート5を使用すると、バリヤー材11の幅寸法Waよりも、液透過孔5aの横方向への開孔径Dxを大きくしやすくなる。ただし、前記液透過孔5aがほぼ真円形状であってもよい。
なお、前記バリヤー材11が親水化処理されている場合には、前記開孔径Dxよりも前記幅寸法Waが大きくても、表面シート5の表面に与えられた経血を液吸収層7へ導くことが可能である。
表面シート5を形成する樹脂フィルムは、前記バリヤー材11と同種の樹脂材料で形成され、前記バリヤー材11と同様に白色化処理され、また親水処理されたものが使用される。
表面シート5の個々の液透過孔5aの開孔径Dxは、0.3〜6.0mmの範囲であり、1.0〜3.0mmの範囲が好ましい。また液透過孔5aの開孔面積率は10〜60%であり、好ましくは20〜50%である。
例えば、多数の孔を有する基材上で樹脂フィルムを軟化させ、前記基材の裏側からエアー吸引するパーフォレーション法によって、前記液透過孔5aを形成することができる。このパーフォレーション法によると、図4に示すように、表面シート5の液透過孔5aは、バリヤー材11に向って径が徐々に狭くなるテーパ穴であり、液透過孔5aの周囲からバリヤー材11に向って突出するリブ5bが形成される。
好ましくは、前記表面シート5とバリヤー材11は部分的に結合されている。例えば表面シート5とバリヤー材11は、液の透過を妨げないように1〜10g/mの範囲で横方向に延びるストライプ状またはスパイラル状に塗工されたホットメルト型接着剤で接着されている。
または表面シート5とバリヤー材11はドット状に配列したエンボス部で加圧加熱されて溶着されている。エンボス部の面積率は1〜40%であり、好ましくは1〜15%である。1つのエンボス部の面積は1.75〜28.26mmであり、好ましくは7〜19mmである。
前記表面シート5とバリヤー材11とがエンボス部で溶着される場合には、その溶着部において上下に重ねられているバリヤー材11も互いに固定される。本発明における「バリヤー材どうしが互いに結合されておらず」とは、前記溶着部などにおいて、バリヤー材11どうしが部分的に接合されているものを除外するものではない。
裏面シート6は、PE(ポリエチレン)樹脂フィルムなどの液遮断性シートで形成されている。前記液吸収層7は、粉砕パルプと高吸収性ポリマー(SAP)との混合体がティッシューペーパで包まれて構成されている。
前記バリヤー材11と液吸収層7との間は、液の透過を妨げないように、1〜10g/mの範囲で塗工されたホットメルト型接着剤で接着され、液吸収層7と裏面シート6もホットメルト型接着剤により接着されている。
この生理用ナプキン1は、下着のクロッチ部の内面に装着されて、裏面シート6の外面に設けられた感圧接着剤層の接着力により前記クロッチ部に固定される。またウイング部2,2が前記クロッチ部の両側縁部で下着の外面に向けて折られ、ウイング部2,2において裏面シート6の外面に設けられた感圧接着剤層が下着のクロッチ部の外面に接着される。
生理用ナプキン1が身体の股間部に装着されると、主受液領域10が膣口に対向し、膣口から排出された経血は主として前記主受液領域10に与えられる。主受液領域10では、表面シート5に形成された液透過孔5aの下にバリヤー材11および空隙部12が現れているため、経血は液透過孔5a内を透過し、空隙部12を通過して液吸収層7に至る。バリヤー材11の幅寸法Waは前記範囲であり、好ましくは前記幅寸法Waが液透過孔5aの前記開孔径Dxよりも小さいため、液透過孔5aを透過した経血に対してバリヤー材11が与える抵抗が小さく、空隙部12の大きさも適度であるため、経血は空隙部12内を通過して液吸収層7に速やかに至ることができる。またバリヤー材11が親水処理されていると、経血はバリヤー材11を伝わって、前記空隙部12内を通過して液吸収層7に吸収される。
また、バリヤー材11は互いに結合されることなく、重ねられて存在しているため、バリヤー材11の間に形成された空隙部12が三次元的に延びるようになり、経血は空隙部12内を通過して液吸収層7に至りやすくなる。
前記空隙部12は縦方向に延びているため、この空隙部12内で経血が縦方向に導かれながら液吸収層7に吸収されるようになり、経血が横方向へ移動しにくく、生理用ナプキン1から経血が横漏れしにくくなる。
図3に示すように、表面シート5の液透過孔5aの下には、前記バリヤー材11が重ねられて配置されているため、液吸収層7に吸収された経血が表面シート5の表面に戻りにくい。図4に示すように、表面シート5の液透過孔5aがバリヤー材11に向けて開孔径が徐々に狭くなるテーパ穴で且つ液透過孔5aの周囲からバリヤー材11に向けて突出するリブ5bが形成されていると、経血が液透過孔5aを逆行しにくくなり、さらに表面シート5の表面に経血が戻りにくくなる。
前記のように表面シート5とバリヤー材11は白色化処理され、しかも表面シート5の液透過孔5aの下にバリヤー材11が位置しているため、液吸収層7に吸収された経血の色が生理用ナプキン1の肌側表面において目立たなくなる。
図5と図6は前記第1の実施の形態の生理用ナプキンの変形例を示す拡大断面図である。
図5に示す生理用ナプキン1Aは、縦方向中心線Oyを中心とする横方向への幅寸法がWxの範囲内に、前記第1の実施の形態の生理用ナプキン1と同じ幅寸法Waのバリヤー材11が配置され、前記範囲よりも左右両側では、前記バリヤー材11の幅寸法Waの1/4〜3/4の範囲の幅寸法を有するさらに細幅のバリヤー材11cが配置されている。そして、Wxの範囲でのバリヤー材11の目付けと、前記Wxの範囲外でのバリヤー材11cの目付けとが同等である。または、Wxの範囲でのバリヤー材11の目付けが、前記Wxの範囲外でのバリヤー材11cの目付けよりもやや小さくなっている。
したがって、前記Wxの範囲での個々の空隙部12よりも、前記Wxの範囲外での個々の空隙部12aの方が小さくなる。
図6に示す生理用ナプキン1Bでは、表面シート5と液吸収層7との間に、同じ幅寸法のバリヤー材11bが設けられている。前記Wxの範囲でのバリヤー材11bの目付けよりも、前記Wxの範囲外でのバリヤー材11bの目付けの方が大きくなっている。よって、Wxの範囲での空隙部12bの占める率は、Wxの範囲外での空隙部12dの占める率よりも大きくなっている。
図5に示す生理用ナプキン1Aと図6に示す生理用ナプキン1Bでは、幅寸法Wxの範囲において、液吸収層7への経血の透過性が良好となり、Wx以外の範囲では、液吸収層7から表面シート5への経血の戻りを効果的に防止できるようになる。前記幅寸法Wxは10〜50mmであり、15〜35mmの範囲が好ましい。
次に、図7と図8は、前記バリヤー材の他の実施の形態を示している。
図7に示すバリヤー材111は、前記バイヤー材11と同種の樹脂材料により細幅に形成されているが、個々のバリヤー材111が倦縮されており、巻き部111aを有している。このバリヤー材111を使用すると、上下に重なった状態でバリヤー材111の間に空隙部が形成されやすくなる。
図8(A)に示すバリヤー材112は、前記実施の形態のバリヤー材11と同様に白色化され且つ親水処理化された樹脂フィルム112aと、この樹脂フィルム112aに重ねられて接合された繊維層112bとから構成されている。そして、前記樹脂フィルム112aが表面シート5に向けられるように配置される。図8(B)に示すバリヤー材113は、前記と同様の樹脂フィルム113aと樹脂フィルム113aとの間に前記と同様の繊維層113bが挟まれて互いに接合されている。
前記繊維層112b,113bは親水性の不織布であり、前記樹脂フィルム112a,113aに接着剤で接着され、または熱溶融で接合され、あるいは繊維層112b,113bと樹脂フィルム112a,113aとがドット状のエンボス部において熱融着されている。前記不織布を構成する繊維は、PE、PP、PET(ポリエチレンテレフタレート)などの合成樹脂繊維で親水処理されたものが使用される。あるいは前記不織布にセルロース系繊維が含まれていてもよい。
図8に示すバリヤー材112,113は、その縁部に親水性の繊維層112b,113bが現れているため、表面シート5の液透過孔5aを透過した経血は、前記繊維層112b,113bに引き付けられて、隣り合うバリヤー材の間の空隙部内に向けて導かれやすくなる。
なお、生理用ナプキンの表面シートと液吸収層との間に、前記各実施の形態のバリヤー材が混合されて、または場所ごとに分布して配置されていてもよい。
図10は、本発明の他の構造の生理用ナプキン40を示す平面図である。
この生理用ナプキン40では、前記バリヤー材11が存在している主受液領域10の左右両側に縦方向圧縮溝41,41が形成され、主受液領域10の前方と後方に横方向圧縮溝42,42が形成されている。
本発明の第1の実施の形態の生理用ナプキンを示す平面図、 図1に示す生理用ナプキンのII−II線の断面図、 表面シートとバリヤー材との配置関係を示す部分拡大斜視図、 図2の部分拡大図、 図1に示す生理用ナプキンの変形例を示す拡大断面図、 図1に示す生理用ナプキンの変形例を示す拡大断面図、 バリヤー材の他の実施の形態を示す拡大斜視図、 (A)(B)はバリヤー材の他の実施の形態を示す拡大平面図、 バリヤー材の製造工程の一例を示す説明図、 本発明の他の構造の生理用ナプキンを示す平面図、
符号の説明
1 生理用ナプキン
5 表面シート
5a 液透過孔
6 裏面シート
7 液吸収層
10 主受液領域
11 バリヤー材
12 空隙部
111,112,113 バリヤー材
112a,113a 樹脂フィルム
112b,113b 繊維層

Claims (6)

  1. 肌側表面に位置する液透過性の表面シートと、着衣側表面に位置する裏面シートと、前記表面シートと前記裏面シートとの間に配置された液吸収層とを有する生理用ナプキンにおいて、
    前記表面シートと前記液吸収層との間に、複数のバリヤー材が設けられ、個々の前記バリヤー材は、少なくとも前記表面シートに向く表面が合成樹脂材料で形成され、その幅寸法が厚み寸法よりも大きく且つ細長形状であり、その長手方向が縦方向に向けて延びており、
    前記バリヤー材どうしは互いに結合されておらず、且つその厚み方向に積層されて設けられており、前記バリヤー材の間に、前記液吸収層に通じる空隙部が形成されていることを特徴とする生理用ナプキン。
  2. 前記バリヤー材はその一部が前記表面シートと結合されている請求項1記載の生理用ナプキン。
  3. 前記バリヤー材は、縦方向に向けて蛇行しているもの、または倦縮されているものを含む請求項1または2記載の生理用ナプキン。
  4. 前記バリヤー材は、幅寸法が0.1〜5mmであり、厚みが0.02〜3.0mmである請求項1ないし3のいずれかに記載の生理用ナプキン。
  5. 前記表面シートは、少なくとも肌側表面が樹脂層で形成されて多数の液透過孔を有しており、前記バリヤー材の幅寸法が、前記液透過孔の横方向に向く開孔幅寸法よりも小さい請求項1ないし4のいずれかに記載の生理用ナプキン。
  6. 前記バリヤー材は白色化処理されている請求項1ないし5のいずれかに記載の生理用ナプキン。
JP2004119855A 2004-04-15 2004-04-15 生理用ナプキン Expired - Fee Related JP4738754B2 (ja)

Priority Applications (4)

Application Number Priority Date Filing Date Title
JP2004119855A JP4738754B2 (ja) 2004-04-15 2004-04-15 生理用ナプキン
TW094108632A TW200534832A (en) 2004-04-15 2005-03-21 Sanitary napkin
US11/097,522 US20050234418A1 (en) 2004-04-15 2005-04-01 Sanitary napkin
PCT/JP2005/006750 WO2005099641A1 (ja) 2004-04-15 2005-04-06 生理用ナプキン

Applications Claiming Priority (1)

Application Number Priority Date Filing Date Title
JP2004119855A JP4738754B2 (ja) 2004-04-15 2004-04-15 生理用ナプキン

Publications (2)

Publication Number Publication Date
JP2005296481A true JP2005296481A (ja) 2005-10-27
JP4738754B2 JP4738754B2 (ja) 2011-08-03

Family

ID=35097223

Family Applications (1)

Application Number Title Priority Date Filing Date
JP2004119855A Expired - Fee Related JP4738754B2 (ja) 2004-04-15 2004-04-15 生理用ナプキン

Country Status (4)

Country Link
US (1) US20050234418A1 (ja)
JP (1) JP4738754B2 (ja)
TW (1) TW200534832A (ja)
WO (1) WO2005099641A1 (ja)

Cited By (1)

* Cited by examiner, † Cited by third party
Publication number Priority date Publication date Assignee Title
JP2011143009A (ja) * 2010-01-13 2011-07-28 Kao Corp 生理用ナプキン

Families Citing this family (7)

* Cited by examiner, † Cited by third party
Publication number Priority date Publication date Assignee Title
USD612491S1 (en) 2007-03-30 2010-03-23 Kimberly-Clark Worldwide, Inc. Printed absorbent article
US7976525B2 (en) * 2008-02-13 2011-07-12 Kimberly-Clark Worldwide, Inc. Compound absorbent article with improved body contact
US20090312737A1 (en) * 2008-06-17 2009-12-17 Gary Dean Lavon Absorbent Article Comprising A Barrier Attachment Zone
IT1403062B1 (it) * 2010-06-15 2013-10-04 Gdm Spa Metodo di piegatura di assorbenti igienici.
KR102560555B1 (ko) 2017-03-31 2023-07-28 킴벌리-클라크 월드와이드, 인크. 삼출물 관리층을 구비한 흡수 용품
WO2018183651A1 (en) 2017-03-31 2018-10-04 Kimberly-Clark Worldwide, Inc. Absorbent article with an exudate management layer
CN110494110B (zh) 2017-03-31 2022-07-15 金伯利-克拉克环球有限公司 具有流出物管理层的吸收制品

Citations (3)

* Cited by examiner, † Cited by third party
Publication number Priority date Publication date Assignee Title
JPS59228001A (ja) * 1983-05-17 1984-12-21 ユニ・チヤ−ム株式会社 吸収物品
JPH05154175A (ja) * 1991-12-04 1993-06-22 Uni Charm Corp 体液吸収性物品
JPH08164159A (ja) * 1994-12-13 1996-06-25 Uni Charm Corp 体液吸収性物品

Family Cites Families (1)

* Cited by examiner, † Cited by third party
Publication number Priority date Publication date Assignee Title
JPH0582421U (ja) * 1992-04-06 1993-11-09 花王株式会社 吸収性物品

Patent Citations (3)

* Cited by examiner, † Cited by third party
Publication number Priority date Publication date Assignee Title
JPS59228001A (ja) * 1983-05-17 1984-12-21 ユニ・チヤ−ム株式会社 吸収物品
JPH05154175A (ja) * 1991-12-04 1993-06-22 Uni Charm Corp 体液吸収性物品
JPH08164159A (ja) * 1994-12-13 1996-06-25 Uni Charm Corp 体液吸収性物品

Cited By (1)

* Cited by examiner, † Cited by third party
Publication number Priority date Publication date Assignee Title
JP2011143009A (ja) * 2010-01-13 2011-07-28 Kao Corp 生理用ナプキン

Also Published As

Publication number Publication date
WO2005099641A1 (ja) 2005-10-27
US20050234418A1 (en) 2005-10-20
JP4738754B2 (ja) 2011-08-03
TW200534832A (en) 2005-11-01

Similar Documents

Publication Publication Date Title
JP2005296480A (ja) 生理用ナプキン
JP5898150B2 (ja) 吸収性物品
JP3748763B2 (ja) 吸収性物品
TWI586337B (zh) Absorbent items
JP2003230593A (ja) 生理用ナプキン
JP2008100110A (ja) 吸収性物品
JP3727246B2 (ja) 吸収性物品
JP4184253B2 (ja) 生理用ナプキン
KR20040025604A (ko) 흡수성 복합 시트 및 이를 이용한 흡수성 물품
JP2004073759A (ja) 吸収性物品
JP4575648B2 (ja) 吸収性物品およびその製造方法
JP4275421B2 (ja) 吸収性物品
JP6068233B2 (ja) 吸収性物品
JP6360595B2 (ja) 吸収性物品
JP4738754B2 (ja) 生理用ナプキン
JP5432753B2 (ja) 吸収性物品
CN109106513B (zh) 一种复合吸收芯体
JP4152760B2 (ja) 吸収性物品およびその製造方法
JP6028054B2 (ja) 吸収性物品
JP4323787B2 (ja) 液獲得層を有する吸収性物品
WO2017169391A1 (ja) 吸収性物品
JP6518062B2 (ja) 吸収性物品
JP6120323B2 (ja) 吸収性物品
JP6294998B2 (ja) 吸収性物品
JP7351693B2 (ja) 吸収性物品

Legal Events

Date Code Title Description
A621 Written request for application examination

Free format text: JAPANESE INTERMEDIATE CODE: A621

Effective date: 20070406

A131 Notification of reasons for refusal

Free format text: JAPANESE INTERMEDIATE CODE: A131

Effective date: 20100420

A521 Written amendment

Free format text: JAPANESE INTERMEDIATE CODE: A523

Effective date: 20100616

A02 Decision of refusal

Free format text: JAPANESE INTERMEDIATE CODE: A02

Effective date: 20100831

A521 Written amendment

Free format text: JAPANESE INTERMEDIATE CODE: A523

Effective date: 20101130

A911 Transfer of reconsideration by examiner before appeal (zenchi)

Free format text: JAPANESE INTERMEDIATE CODE: A911

Effective date: 20101209

A01 Written decision to grant a patent or to grant a registration (utility model)

Free format text: JAPANESE INTERMEDIATE CODE: A01

Effective date: 20110329

A61 First payment of annual fees (during grant procedure)

Free format text: JAPANESE INTERMEDIATE CODE: A61

Effective date: 20110427

R150 Certificate of patent or registration of utility model

Free format text: JAPANESE INTERMEDIATE CODE: R150

FPAY Renewal fee payment (event date is renewal date of database)

Free format text: PAYMENT UNTIL: 20140513

Year of fee payment: 3

R250 Receipt of annual fees

Free format text: JAPANESE INTERMEDIATE CODE: R250

R250 Receipt of annual fees

Free format text: JAPANESE INTERMEDIATE CODE: R250

R250 Receipt of annual fees

Free format text: JAPANESE INTERMEDIATE CODE: R250

R250 Receipt of annual fees

Free format text: JAPANESE INTERMEDIATE CODE: R250

LAPS Cancellation because of no payment of annual fees