JP2005295848A - マイクロ波による包装食品の殺菌方法 - Google Patents

マイクロ波による包装食品の殺菌方法 Download PDF

Info

Publication number
JP2005295848A
JP2005295848A JP2004114369A JP2004114369A JP2005295848A JP 2005295848 A JP2005295848 A JP 2005295848A JP 2004114369 A JP2004114369 A JP 2004114369A JP 2004114369 A JP2004114369 A JP 2004114369A JP 2005295848 A JP2005295848 A JP 2005295848A
Authority
JP
Japan
Prior art keywords
microwave
packaged food
food
microwaves
packaged
Prior art date
Legal status (The legal status is an assumption and is not a legal conclusion. Google has not performed a legal analysis and makes no representation as to the accuracy of the status listed.)
Pending
Application number
JP2004114369A
Other languages
English (en)
Inventor
Yoshinari Suganuma
良成 菅沼
Tetsuya Takatomi
哲也 高富
Taichi Ijuin
太一 伊集院
Hiroshi Yoshimoto
博志 吉本
Current Assignee (The listed assignees may be inaccurate. Google has not performed a legal analysis and makes no representation or warranty as to the accuracy of the list.)
Daiwa Can Co Ltd
Original Assignee
Daiwa Can Co Ltd
Priority date (The priority date is an assumption and is not a legal conclusion. Google has not performed a legal analysis and makes no representation as to the accuracy of the date listed.)
Filing date
Publication date
Application filed by Daiwa Can Co Ltd filed Critical Daiwa Can Co Ltd
Priority to JP2004114369A priority Critical patent/JP2005295848A/ja
Publication of JP2005295848A publication Critical patent/JP2005295848A/ja
Pending legal-status Critical Current

Links

Images

Landscapes

  • Food Preservation Except Freezing, Refrigeration, And Drying (AREA)

Abstract

【課題】 搬送中の包装食品をマイクロ波の照射により加熱殺菌する場合に、家庭用の電子レンジのような安価で小出力の装置を使用して、内容物の食品が液状物だけでなく固形物であっても、容器内の食品を均一に加熱殺菌できるようにする。
【解決手段】 ベルトコンベア2により包装食品1を間欠的に搬送させながら、複数個の小出力(500〜600W)のマイクロ波発振装置3を使用して、包装食品1に対して、ある停止区間ではマイクロ波を照射し、その次の停止区間ではマイクロ波を照射せず、且つ、そのような小出力(500〜600W)のマイクロ波の照射と非照射とを複数回繰り返す。
【選択図】 図1

Description

本発明は、カップ容器や袋状容器等の容器内に食品が充填・密封された包装食品(食品と容器)をマイクロ波の照射により加熱殺菌するための殺菌方法に関し、特に、搬送されている包装食品に対してマイクロ波を照射することで加熱殺菌する場合に、容器内の食品を均一に加熱殺菌できるようにしたマイクロ波による包装食品の殺菌方法に関する。
プラスチック製又は防水紙製のカップ状容器(カップ容器)や、プラスチック製の袋状容器(パウチ)などの包装容器として、該容器内にカレー,シチュー,各種スープ類等の流動性食品や味付けツナ,風味付け蒲鉾等の固形食品などを充填・密封したような包装食品については、近年、様々な種類の商品が数多く提供されるようになっている。そのような包装食品について、容器内に食品を充填・密封した後で食品と容器を共に加熱殺菌するために、レトルト殺菌に代わる加熱殺菌方法として、包装食品にマイクロ波を照射するということが従来から検討されている。
そのようなマイクロ波による包装食品の加熱殺菌方法として、液状物を内容物とする包装食品(包装体)を搬送(間欠移送)しながらマイクロ波を照射して加熱殺菌する際に、容器内の液状物の温度バラツキを最小限に抑えるために、まず、包装食品(包装体)を近接した導波管により下方から加熱後、続いて、包装食品(包装体)全体を加熱室に接続した導波管により加熱するということが下記の特許文献1により従来公知となっている。
特許第2658115号公報
ところで、上記のような従来公知のマイクロ波による包装食品の殺菌方法によれば、近接した導波管による下方からの加熱により液状物に対流を生じさせることで、包装食品の上下の温度差を小さくして、効果的に加熱させるようにしているが、包装食品の内容物が固形食品(又は固形物を多く含む流動性食品)である場合には、内容物自体に自己対流が生じない(又は生じ難い)ことから、内容物の対流により温度差を小さくするという効果が得られ難いものとなる。
また、近接した導波管により下方から加熱するためのマイクロ波照射手段として、具体的には、出力1.3KWのマイクロ波発振装置を使用しているが、そのように出力が1KW以上の工業用や業務用のマイクロ波発振装置を使用して包装食品を加熱殺菌する場合には、マイクロ波が強力であることから、包装食品の中央部分が加熱されずに、包装食品の周囲部分が極端に過加熱されるようなことが起き易い。
しかも、そのような高出力のマイクロ波発振装置を使用した場合、それ自体が高価なものであるため設備コストがアップするだけでなく、マイクロ波発振装置の一つが故障した時には、残りのマイクロ波発振装置だけでは出力不足となって、ラインを停止させて取り替えなければならず、また、取り替え作業に手間が掛かるというような問題も起きることとなる。
本発明は、上記のような問題の解消を課題とするものであり、具体的には、搬送中の包装食品をマイクロ波の照射により加熱殺菌する場合に、家庭用の電子レンジのような安価で小出力の装置を使用して、内容物の食品が液状物だけでなく固形物であっても、容器内の食品を均一に加熱殺菌できるようにすることを課題とするものである。
本発明は、上記のような課題を解決するために、マイクロ波を透過させる材質からなる容器内に食品が充填・密封された包装食品を連続的に搬送させながら、各包装食品のそれぞれに対してマイクロ波を照射することで加熱殺菌するような包装食品の殺菌方法において、包装食品を間欠的に搬送させながら、包装食品の所定部分に対して、ある停止区間では500〜600Wの小出力のマイクロ波を照射し、その次の停止区間ではマイクロ波を照射せず、且つ、そのような小出力のマイクロ波の照射と非照射とを複数回繰り返すようにしたことを特徴とするものである。
上記のような本発明のマイクロ波による包装食品の殺菌方法によれば、500〜600Wの小出力のマイクロ波を照射していることから、包装食品の中央部分が充分に加熱されず周囲部分が極端に過加熱されるようなことはない。また、小出力のマイクロ波加熱殺菌装置による照射を複数回繰り返すようにしていることから、そのうちの一つの装置が故障しても、故障していない他の複数の装置によるバックアップが可能であって、ラインを停止させて取り替え作業するようなことを回避することができる。さらに、マイクロ波の照射と非照射とを複数回繰り返していることで、内容物の食品に効果的に熱の伝導作用が起きることから、たとえ固形物を含んで自己対流を起こし難い食品を内容物とする包装食品であっても、食品の昇温を均一に行うことができて、加熱ムラの無い均一な状態に食品を加熱殺菌することができる。
搬送中の包装食品をマイクロ波の照射により加熱殺菌する場合に、家庭用の電子レンジのような安価で小出力の装置を使用して、内容物の食品が液状物だけでなく固形物であっても、容器内の食品を均一に加熱殺菌できるようにするという目的を、最良の形態として以下の実施例に具体的に示すように、包装食品を間欠的に搬送させながら、包装食品の所定部分に対して、ある停止区間では500〜600Wの小出力のマイクロ波を照射し、その次の停止区間ではマイクロ波を照射せず、且つ、そのような小出力のマイクロ波の照射と非照射とを複数回繰り返すということで実現した。
本実施例の方法の対象となる包装食品については、特に限定されるものではないが、例えば、マイクロ波を透過させる材質からなるカップ容器や袋状容器を包装容器として、その内部に液状食品(ジュース等)や固形物を含む流動性食品(具入りスープやカレー等)や固形食品(味付けツナや味付け蒲鉾等)等の適宜の食品を充填・密封したものであって、その包装容器については、例えば、カップ容器(本体と蓋)では、熱接着性樹脂であるポリプロピレンやポリエチレン等のオレフィン系樹脂で、エチレン−ビニルアルコール共重合体樹脂等の酸素を透過させない樹脂をサンドイッチ構造に積層したプラスチックフィルムを材料として、従来の圧空成形方法や真空成形方法やプレス成形方法等により製造されている。
包装食品を連続的に搬送しながらマイクロ波の照射により加熱殺菌するのに際して、本実施例では、マイクロ波を透過させる材質からなるチャンバーに包装食品をそれぞれ個別に収納した状態で搬送しており、チャンバーの外側から内部の包装食品に向けてマイクロ波を照射するようにしている。そのようなチャンバー(本体と蓋)については、例えば、四フッ化エチレン樹脂等のフッ素樹脂を材料として、射出成形法等の常法により製造されるものであり、その壁厚については、強度が許される限りにおいて出来るだけ薄肉とすることが望ましい。
なお、包装食品をチャンバーに収納する理由については、包装食品を直接にマイクロ波で高温に加熱したときに、包装食品の容器内圧が上昇して容器が破裂してしまうような事態が起きるのを防止するためであって、本実施例では包装食品をチャンバーに収納しているが、例えば、包装食品に対して80℃前後の低温殺菌を行なうような場合には、包装食品をチャンバーに収納するようなことなく、直接にコンベア上に載せた状態で搬送しながらマイクロ波を照射して加熱殺菌するようにしても良いものである。
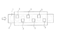
チャンバーに収納した状態の包装食品を搬送しながらマイクロ波の照射により加熱殺菌する本実施例(実施例1)の方法では、図1および図2に示すように、連続的に搬送される複数の包装食品(及びチャンバー)1に対して、マイクロ波を透過するプラスチック製のベルトコンベア2と、このベルトコンベア2の搬送面の上下にそれぞれ配置された複数個(本実施例では上下3個ずつ)のマイクロ波発振装置3とを使用しており、チャンバーに収納された状態の包装食品1は、ベルトコンベア2の間欠的な動きにより、図示していない適宣の手段によりベルトコンベア2の搬送面に一端側から載置されて、連続的に搬送上流側から搬送下流側に次々と搬送されてから、図示していない適宣の手段によりベルトコンベア2の搬送面の他端側から排出される。
そのようなベルトコンベアによる搬送経路において、チャンバーに収納された状態の包装食品は、間欠的なベルトコンベアの動きにより、最初のマイクロ波発振装置によるマイクロ波の照射位置で先ず停止して、ベルトコンベアの上下両側に配置されたそれぞれのマイクロ波発振装置により包装食品の全体に向けてチャンバーの外側からマイクロ波が所定時間だけ照射される。その際のマイクロ波発振装置の出力は、上下のそれぞれで500〜600W(上下からの合計では1〜1.2KW)であって、包装食品の中身の食品の種類や重量や容積に応じて設定された時間だけマイクロ波を照射するようにしている。
そのように最初の停止区間で所定時間だけマイクロ波を照射させてから、再びベルトコンベアが下流側に向かって動いた後、最初(1番目)のマイクロ波発振装置によるマイクロ波の照射を受けた包装食品(及びチャンバー)は、マイクロ波発振装置が設置されていない次の停止位置(最初のマイクロ波発振装置とその次のマイクロ波発振装置との間の区間)で停止して、後続の包装食品が最初(1番目)のマイクロ波発振装置によりマイクロ波を照射されている間、マイクロ波が照射されない状態のままで停止されている。
そして、再びベルトコンベアが下流側に向かって間欠的に動くことで、マイクロ波が照射されない状態のままで停止されていた包装食品(及びチャンバー)は、更に次のマイクロ波発振装置が設置されている区間で停止して、その後は、2番目のマイクロ波発振装置の停止区間と、2番目のマイクロ波発振装置3と3番目のマイクロ波発振装置との間の停止区間と、3番目のマイクロ波発振装置の停止区間と、3番目のマイクロ波発振装置を通り過ぎた後の停止区間とでそれぞれ停止することで、マイクロ波の照射と非照射とを設定された回数(本実施例ではそれぞれ3回ずつ)だけ繰り返すことにより、チャンバー内の包装食品の加熱殺菌を終了してから、図示していない適宣の手段によりベルトコンベアの搬送面から排出されて、冷却等の次工程に送り込まれることとなる。
なお、本実施例(実施例1)の方法では、ベルトコンベアによる搬送経路の上下両側にそれぞれマイクロ波発振装置を配置するようにしているが、搬送経路の左右両側にそれぞれマイクロ波発振装置を配置するようにしても良く、また、上下両側に配置する区間と左右両側に配置する区間とを交互に設けるようにしても良いものである。
上記のような本実施例(実施例1)のマイクロ波による包装食品の殺菌方法によれば、マイクロ波発振装置の有る位置と無い位置とのそれぞれで包装食品を停止させることで、包装食品の全体に対するマイクロ波の照射と非照射(休止)を複数回繰り返していることにより、容器内の食品に効果的に熱の伝導作用を起こすことができる。その結果、食品の昇温を均一に行うことができて、食品を均一に加熱殺菌することができる。
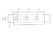
本実施例(実施例2)の方法は、上記の実施例1と比べて、包装食品自体や包装食品をチャンバーに収納した状態で搬送するという点では特に相違するものではないが、上記の実施例1では、各停止区間の一つ置きにマイクロ波発振装置を設けて、当該停止区間では包装食品の全体に対してマイクロ波を照射するようにしているのに対して、本実施例(実施例2)では、各停止区間毎にマイクロ波発振装置を設けて、各停止区間のマイクロ波発振装置を搬送方向に沿ってチドリ状に配置することで、ある停止区間では包装食品の一方の片側半分に対してマイクロ波を照射し、その次の停止区間では包装食品の他方の片側半分に対してマイクロ波を照射するようにしているという点で相違するものである。
すなわち、本実施例(実施例2)では、図3および図4に示すように、連続的に搬送される複数の包装食品(及びチャンバー)1に対して、マイクロ波を透過するプラスチック製のベルトコンベア2の搬送面の上下に配置するマイクロ波発振装置3を、マイクロ波発振装置の無い停止区間が無いように各停止区間毎に設けていると共に、各停止区間毎に設けているそれぞれのマイクロ波発振装置3を、ベルトコンベア2の幅方向の中心位置から左右にそれぞれ振り分けられるように、搬送方向に沿って左右交互のチドリ状となるように配置している。
それにより、チャンバーに収納された状態の包装食品は、ベルトコンベアの間欠的な動きにより、ベルトコンベアの搬送面に載置されて搬送上流側から搬送下流側に搬送されている状態で、各停止区間のそれぞれにおいて、ある停止区間では包装食品の一方の片側半分に対してマイクロ波が所定時間だけ照射され、その次の停止区間では包装食品の他方の片側半分に対してマイクロ波が所定時間だけ照射されるようになっている。そして、包装食品の片側半分に対するマイクロ波の照射と非照射とを設定された回数(本実施例ではそれぞれの片側半分について3回ずつ)だけ繰り返すことにより、チャンバー内の包装食品の加熱殺菌を終了してから、図示していない適宣の手段によりベルトコンベアの搬送面から排出されて、冷却等の次工程に送り込まれることとなる。
なお、それぞれの停止区間でのそれぞれのマイクロ波発振装置の出力については、上記の実施例1の場合と同様であって、上下のそれぞれで500〜600W(上下からの合計では1〜1.2KW)であり、包装食品の中身の食品の種類や重量や容積に応じて設定された時間だけマイクロ波を照射するようにしている。
上記のような本実施例(実施例2)のマイクロ波による包装食品の殺菌方法によれば、各停止区間のそれぞれで、チドリ状に配置したマイクロ波発振装置により、それぞれの包装食品の片側半分に対して交互にマイクロ波を照射することで、包装食品に対してマイクロ波の照射と非照射を半分ずつ交互に複数回繰り返していることにより、容器内の食品に効果的に熱の伝導作用を起こすことができる。その結果、食品の昇温を均一に行うことができて、食品を均一に加熱殺菌することができる。
さらに、上記のような各実施例(実施例1および実施例2)に示したようなマイクロ波による包装食品の殺菌方法によれば、その何れにおいても、500〜600Wの小出力のマイクロ波を照射していることから、包装食品の中央部分が充分に加熱されず周囲部分が極端に過加熱されるようなことはない。また、小出力のマイクロ波加熱殺菌装置による照射を複数回繰り返すようにしていることから、そのうちの一つの装置が故障しても、故障していない他の複数の装置によるバックアップが可能であって、ラインを停止させて取り替え作業するようなことを回避することができる。
以上、本発明のマイクロ波による包装食品の殺菌方法の各実施例について説明したが、本発明は、上記の各実施例に示した具体的な方法にのみ限定されるものではなく、例えば、搬送経路に設置されるマイクロ波発振装置の個数については、各実施例に示したような具体的な個数に限らず、包装食品の中身の食品の種類や重量や容積、および、各マイクロ波発振装置でのマイクロ波の照射時間の設定の違い等に応じて適宜に変更されるものである。
また、上記の各実施例では、包装食品をチャンバーに収納した状態で搬送して、チャンバーの外側から内部の包装食品に向けてマイクロ波を照射するようにしているが、既に説明したように、例えば、包装食品に対して80℃前後の低温殺菌を行なうような場合には、包装食品をチャンバーに収納するようなことなく、直接にベルトコンベア上に載せた状態で搬送しながらマイクロ波を照射して加熱殺菌するようにしても良い。
また、上記の実施例2では、搬送方向に沿ってチドリ状に配置した各マイクロ波発振装置により、包装食品の片側半分ずつ交互にマイクロ波を照射するようにしているが、例えば、包装食品を幅方向で三つに分割させた状態を想定して、先ず両端部にそれぞれマイクロ波を照射し、次いで、中央部にマイクロ波を照射し、そのようなマイクロ波の照射を複数回繰り返して行なうようにしても良く、さらには、例えば、各停止区間の一つ置きにマイクロ波発振装置を設けると共に、それぞれのマイクロ波発振装置をチドリ状に配置するというような、実施例1と実施例2を併用した方法として実施することも可能である等、適宜に変更可能なものであることはいうまでもない。
本発明の方法の一実施例(実施例1)について、方法を実施するために使用される装置の一例を示す平面図。 図1に示した装置の側方から見た状態を示す側面図。 本発明の方法の他の実施例(実施例2)について、方法を実施するために使用される装置の一例を示す平面図。 図3に示した装置の側方から見た状態を示す側面図。
符号の説明
1 包装食品(チャンバーに収納された包装食品)
2 ベルトコンベア
3 マイクロ波発振装置

Claims (4)

  1. マイクロ波を透過させる材質からなる容器内に食品が充填・密封された包装食品を連続的に搬送させながら、各包装食品のそれぞれに対してマイクロ波を照射することで加熱殺菌するような包装食品の殺菌方法において、包装食品を間欠的に搬送させながら、包装食品の所定部分に対して、ある停止区間では500〜600Wの小出力のマイクロ波を照射し、その次の停止区間ではマイクロ波を照射せず、且つ、そのような小出力のマイクロ波の照射と非照射とを複数回繰り返すようにしたことを特徴とするマイクロ波による包装食品の殺菌方法。
  2. 各停止区間の一つ置きにマイクロ波発振装置を設けて、当該停止区間では包装食品の全体に対してマイクロ波を照射するようにしたことを特徴とする請求項1に記載のマイクロ波による包装食品の殺菌方法。
  3. 各停止区間毎にマイクロ波発振装置を設けて、それぞれのマイクロ波発振装置を搬送方向に沿ってチドリ状に配置することで、ある停止区間では包装食品の一方の片側半分に対してマイクロ波を照射し、その次の停止区間では包装食品の他方の片側半分に対してマイクロ波を照射するようにしたことを特徴とする請求項1に記載のマイクロ波による包装食品の殺菌方法。
  4. 包装食品を、マイクロ波を透過させる材質からなるチャンバーにそれぞれ個別に収納した状態で搬送して、各チャンバーの外側から内部の包装食品に向けてマイクロ波を照射するようにしていることを特徴とする請求項1乃至3の何れかに記載のマイクロ波による包装食品の殺菌方法。
JP2004114369A 2004-04-08 2004-04-08 マイクロ波による包装食品の殺菌方法 Pending JP2005295848A (ja)

Priority Applications (1)

Application Number Priority Date Filing Date Title
JP2004114369A JP2005295848A (ja) 2004-04-08 2004-04-08 マイクロ波による包装食品の殺菌方法

Applications Claiming Priority (1)

Application Number Priority Date Filing Date Title
JP2004114369A JP2005295848A (ja) 2004-04-08 2004-04-08 マイクロ波による包装食品の殺菌方法

Publications (1)

Publication Number Publication Date
JP2005295848A true JP2005295848A (ja) 2005-10-27

Family

ID=35328146

Family Applications (1)

Application Number Title Priority Date Filing Date
JP2004114369A Pending JP2005295848A (ja) 2004-04-08 2004-04-08 マイクロ波による包装食品の殺菌方法

Country Status (1)

Country Link
JP (1) JP2005295848A (ja)

Cited By (7)

* Cited by examiner, † Cited by third party
Publication number Priority date Publication date Assignee Title
JP2009100675A (ja) * 2007-10-23 2009-05-14 Daiwa Can Co Ltd 円偏波による食品の連続均一加熱装置
WO2013138460A1 (en) * 2012-03-14 2013-09-19 Food Chain Safety, Inc. Multi-line microwave heating system with optimized launcher configuration
US9271338B2 (en) 2012-03-14 2016-02-23 Microwave Materials Technologies, Inc. Pressurized heating system with enhanced pressure locks
US10966293B2 (en) 2017-04-17 2021-03-30 915 Labs, LLC Microwave-assisted sterilization and pasteurization system using synergistic packaging, carrier and launcher configurations
US11032879B2 (en) 2017-03-15 2021-06-08 915 Labs, Inc. Energy control elements for improved microwave heating of packaged articles
US11129243B2 (en) 2017-03-15 2021-09-21 915 Labs, Inc. Multi-pass microwave heating system
US11229095B2 (en) 2014-12-17 2022-01-18 Campbell Soup Company Electromagnetic wave food processing system and methods

Cited By (19)

* Cited by examiner, † Cited by third party
Publication number Priority date Publication date Assignee Title
JP2009100675A (ja) * 2007-10-23 2009-05-14 Daiwa Can Co Ltd 円偏波による食品の連続均一加熱装置
US9622298B2 (en) 2012-03-14 2017-04-11 Microwave Materials Technologies, Inc. Microwave launchers providing enhanced field uniformity
US9980325B2 (en) 2012-03-14 2018-05-22 Microwave Materials Technologies, Inc. Enhanced control of a microwave heating system
US9301345B2 (en) 2012-03-14 2016-03-29 Microwave Materials Technologies, Inc. Determination of a heating profile for a large-scale microwave heating system
US9357590B2 (en) 2012-03-14 2016-05-31 Microwave Materials Technologies, Inc. Microwave heating system with enhanced temperature control
US9357589B2 (en) 2012-03-14 2016-05-31 Microwave Materials Technologies, Inc. Commercial scale microwave heating system
US9370052B2 (en) 2012-03-14 2016-06-14 Microwave Materials Technologies, Inc. Optimized allocation of microwave power in multi-launcher systems
US9380650B2 (en) 2012-03-14 2016-06-28 915 Labs, LLC Multi-line microwave heating system with optimized launcher configuration
WO2013138460A1 (en) * 2012-03-14 2013-09-19 Food Chain Safety, Inc. Multi-line microwave heating system with optimized launcher configuration
US9271338B2 (en) 2012-03-14 2016-02-23 Microwave Materials Technologies, Inc. Pressurized heating system with enhanced pressure locks
US9642195B2 (en) 2012-03-14 2017-05-02 Microwave Materials Technologies, Inc. Enhanced microwave system utilizing tilted launchers
US9681500B2 (en) 2012-03-14 2017-06-13 Microwave Materials Technologies, Inc. Enhanced microwave system employing inductive iris
US10448465B2 (en) 2012-03-14 2019-10-15 915 Labs, LLC Multi-line microwave heating system with optimized launcher configuration
US10798790B2 (en) 2012-03-14 2020-10-06 Microwave Materials Technologies, Inc. Enhanced microwave system utilizing tilted launchers
US11229095B2 (en) 2014-12-17 2022-01-18 Campbell Soup Company Electromagnetic wave food processing system and methods
US11032879B2 (en) 2017-03-15 2021-06-08 915 Labs, Inc. Energy control elements for improved microwave heating of packaged articles
US11129243B2 (en) 2017-03-15 2021-09-21 915 Labs, Inc. Multi-pass microwave heating system
US12309905B2 (en) 2017-03-15 2025-05-20 915 Labs, Inc. Energy control elements for improved microwave heating of packaged articles
US10966293B2 (en) 2017-04-17 2021-03-30 915 Labs, LLC Microwave-assisted sterilization and pasteurization system using synergistic packaging, carrier and launcher configurations

Similar Documents

Publication Publication Date Title
US3261140A (en) Microwave sterilization and vacuumizing of products in flexible packages and apparatus therefor
US3494724A (en) Method and apparatus for controlling microorganisms and enzymes
US20250193975A1 (en) Radio frequency heating system
JP2005118033A (ja) 包装製品を連続加工するための方法および装置
AU2014259958B2 (en) System for packaging portioned frozen products
WO2002068267A1 (en) System and method for continuously forming, sealing and filling flexible packages
JP2005295848A (ja) マイクロ波による包装食品の殺菌方法
JP4590805B2 (ja) スパウト付パウチへの無菌充填方法
US3311287A (en) Flexible container for microwave sterilization of foodstuffs therein
US20190297922A1 (en) Microwave-Heating System, Microwave-Heating Process, and Process for Manufacturing Packaged Foods
US12193462B2 (en) Pasteurization of convenience meals in hermetically sealed containers
EP3661564A1 (en) Machine and process for preparing sterilized flexible-bags for packaging products
JP3857725B2 (ja) 食品の貯蔵寿命を延ばす方法および包装
JPH11334709A (ja) 無菌包装品の製造方法
KR200208701Y1 (ko) 마이크로파를 이용한 살균장치
JP4189969B2 (ja) マイクロ波による包装食品の殺菌方法
KR100352383B1 (ko) 마이크로파를 이용한 살균장치
JP2625859B2 (ja) マイクロ波加熱殺菌方法
JP3735260B2 (ja) 容器入り食品の製造方法
CN102058040A (zh) 无菌包装食品的制造方法
JPS6326979B2 (ja)
JP3203328B2 (ja) 食品加熱殺菌装置
JP3999407B2 (ja) 密封包装物品の加熱方法、密封包装物品収容ケース及び密封包装物品加熱装置
JPS6335233B2 (ja)
JP4553122B2 (ja) 固形内容物の加熱方法および装置

Legal Events

Date Code Title Description
A621 Written request for application examination

Effective date: 20070316

Free format text: JAPANESE INTERMEDIATE CODE: A621

A977 Report on retrieval

Effective date: 20080424

Free format text: JAPANESE INTERMEDIATE CODE: A971007

A131 Notification of reasons for refusal

Free format text: JAPANESE INTERMEDIATE CODE: A131

Effective date: 20080507

A02 Decision of refusal

Effective date: 20080911

Free format text: JAPANESE INTERMEDIATE CODE: A02