JP2005295050A - カメラモジュール - Google Patents
カメラモジュール Download PDFInfo
- Publication number
- JP2005295050A JP2005295050A JP2004104959A JP2004104959A JP2005295050A JP 2005295050 A JP2005295050 A JP 2005295050A JP 2004104959 A JP2004104959 A JP 2004104959A JP 2004104959 A JP2004104959 A JP 2004104959A JP 2005295050 A JP2005295050 A JP 2005295050A
- Authority
- JP
- Japan
- Prior art keywords
- solid
- housing
- camera module
- state imaging
- substrate
- Prior art date
- Legal status (The legal status is an assumption and is not a legal conclusion. Google has not performed a legal analysis and makes no representation as to the accuracy of the status listed.)
- Pending
Links
- 238000003384 imaging method Methods 0.000 claims abstract description 48
- 229920005989 resin Polymers 0.000 claims abstract description 22
- 239000011347 resin Substances 0.000 claims abstract description 22
- 239000000758 substrate Substances 0.000 claims description 45
- 239000000853 adhesive Substances 0.000 claims description 10
- 230000001070 adhesive effect Effects 0.000 claims description 10
- 230000002093 peripheral effect Effects 0.000 claims description 6
- 230000003287 optical effect Effects 0.000 abstract description 6
- 239000000919 ceramic Substances 0.000 description 3
- 239000004593 Epoxy Substances 0.000 description 2
- XUIMIQQOPSSXEZ-UHFFFAOYSA-N Silicon Chemical compound [Si] XUIMIQQOPSSXEZ-UHFFFAOYSA-N 0.000 description 2
- 239000000428 dust Substances 0.000 description 2
- 239000011521 glass Substances 0.000 description 2
- 229910052710 silicon Inorganic materials 0.000 description 2
- 239000010703 silicon Substances 0.000 description 2
- 238000005452 bending Methods 0.000 description 1
- 229910010293 ceramic material Inorganic materials 0.000 description 1
- 239000003822 epoxy resin Substances 0.000 description 1
- 238000004519 manufacturing process Methods 0.000 description 1
- 238000000034 method Methods 0.000 description 1
- 239000004033 plastic Substances 0.000 description 1
- 229920000647 polyepoxide Polymers 0.000 description 1
Images
Landscapes
- Lens Barrels (AREA)
- Camera Bodies And Camera Details Or Accessories (AREA)
- Solid State Image Pick-Up Elements (AREA)
- Transforming Light Signals Into Electric Signals (AREA)
- Studio Devices (AREA)
Abstract
【課題】 カメラモジュールの小型化を目的とする。
【解決手段】 基板1上に実装された固体撮像素子2の上面に、当該固体撮像素子2の受光領域2aを覆うように筐体11を直接実装する。固体撮像素子2と基板1上の電極1aとはワイヤー3により接続されており、当該ワイヤー3は樹脂10により保護されている。これにより、筐体を基板上に実装するのに比べてレンズの光軸と固体撮像素子面との角度的な位置ずれを最小限に抑えることができるだけでなく、従来のように固体撮像素子を覆う外形サイズの大きな筐体が不要となる。
【選択図】 図1
【解決手段】 基板1上に実装された固体撮像素子2の上面に、当該固体撮像素子2の受光領域2aを覆うように筐体11を直接実装する。固体撮像素子2と基板1上の電極1aとはワイヤー3により接続されており、当該ワイヤー3は樹脂10により保護されている。これにより、筐体を基板上に実装するのに比べてレンズの光軸と固体撮像素子面との角度的な位置ずれを最小限に抑えることができるだけでなく、従来のように固体撮像素子を覆う外形サイズの大きな筐体が不要となる。
【選択図】 図1
Description
本発明は、カメラモジュ−ルに関するものである。
近年、携帯電話、PDA等の小型携帯機器にカメラ機能を搭載した製品が市販されている。これらの携帯機器は持ち歩くことを前提としている為、小型化を要求されており、それに伴い内部に搭載されるカメラモジュールの小型化も要求されている。
従来のカメラモジュールにおいては、ベア状態の固体撮像素子がセラミック基板、ガラスエポキシ基板、又はフレキシブル基板等に実装されており、その実装された固体撮像素子を覆うようにして基板上に筐体が実装されていた。(例えば、特許文献1参照)
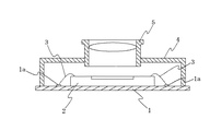
図3は、このように基板上に筐体を実装した従来のカメラモジュールの一例を示す概略断面図である。基板1上には固体撮像素子2が実装されており、複数本のワイヤー3により基板1上に形成された電極1aとの接続がなされている。更に、基板1上には、実装された固体撮像素子2とワイヤー3を覆うようにレンズバレル5を搭載した筐体4が接着剤等により固定され、カメラモジュールとして構成されている。
特開2002−51268号公報
基板上に筐体を実装する際には、筐体に保持されたレンズの光軸と固体撮像素子面とを垂直にする必要がある。しかしながら、筐体が実装される基板は、通常フレキシブル基板やセラミック基板等であり歪みや撓みが生じやすいため、筐体を基板上に実装する際、筐体が基板に対して傾き、それに伴ってレンズの光軸と固体撮像素子面との間に傾きが生じてしまうことがあった。レンズの光軸と固体撮像素子面との間に傾きが生じたものは、当然ながら良好な画像を得ることはできない。
また、従来の構成では基板に実装された固体撮像素子を覆うように筐体を実装しているため、筐体の外形サイズが大きくなってしまい、カメラモジュールの小型化に歯止めをかけていた。カメラモジュールの小型化は解決すべき重要な課題であるが、前述のように携帯機器の小型化が加速する中で、このような従来の構成では小型化に限界があった。本発明は、このような問題点に鑑みてなされたものであり、固体撮像素子面に対する筐体(レンズ)の傾きを最小限に抑えた小型なカメラモジュールを提供することを目的とする。
少なくとも、電極が形成された基板と、当該基板に実装された撮像素子と、当該撮像素子の受光領域を覆うように当該撮像素子上に実装された筐体と、で構成されるカメラモジュールとする。
前記撮像素子は、導線により前記基板に形成された電極と接続されているカメラモジュールとする。
前記導線、及び前記撮像素子の外周部は、樹脂により覆われているカメラモジュールとする。
前記撮像素子は前記基板にフリップチップ実装され、且つ前記基板は前記撮像素子の受光領域と対向する位置に開口部を有しており、前記筐体は当該開口部を通して前記撮像素子上に実装されているカメラモジュールとする。
前記筐体の外周面には、前記開口部周縁を遮蔽する鍔部が設けられているカメラモジュールとする。
前記筐体外周と前記開口部周縁との間には樹脂が塗布されているカメラモジュールとする。
前記筐体と前記撮像素子との接触面端部は、樹脂により覆われているカメラモジュールとする。
前記樹脂は、遮光性を有するカメラモジュールとする。
前記筐体と前記撮像素子とは遮光性の接着剤により接合されているカメラモジュールとする。
本発明では、レンズを保持した筐体を固体撮像素子上に直接実装しているため、従来のように基板の歪みや撓みによりレンズの光軸と固体撮像素子面との間で角度的なずれがなくなり良好な画像が得られる。また、固体撮像素子やワイヤーを樹脂にて保護するようにしているため、固体撮像素子を覆っていた筐体部分のスペースが不要となり、筐体の外形サイズを小さくすることができる。
基板に固体撮像素子を実装し、固体撮像素子の受光エリア外の部分にレンズ付きの筐体を搭載する。固体撮像素子の電極と基板の電極とはワイヤーにより接続し、ワイヤー全体と固体撮像素子の外部に露出した部分には樹脂を塗布して保護する。
図1は、本発明の一実施例を示す概略断面図である。尚、従来と同部材には同符号を付してある。基板1上には固体撮像素子2が接着剤(不図示)により固定されており、導電性のワイヤー3により基板1上に形成された電極1aとの電気的な導通がなされている。ワイヤー3や固体撮像素子2の外周部は、そのままではショートや破損の恐れがあるため、例えばエポキシ系の樹脂10等を塗布して外部から保護する必要がある。樹脂10は、少なくともワイヤー3と固体撮像素子2の外周部を覆う分だけ塗布されていればよく、従来のような筐体4を用いて覆うのに比べて外形サイズが大きくなることはない。つまり、樹脂10を塗布するスペースの方が筐体4で覆うスペースより小さくて済む。また、基板1としてはセラミック材質のものや、ガラスエポキシ又はフレキシブル基板等が挙げられるが、用途に応じて適宜選択が可能である。
固体撮像素子2上には、受光エリア2aを覆うようにレンズ11aが組み込まれた筐体11が実装されている。一般に固体撮像素子2の受光エリア2a外周は、絶縁膜(不図示)で覆われたシリコン部分であり、軽量な部品であれば乗せることのできるスペースが存在する。筐体11は、プラスチック等からなる軽量な部品であり、この受光エリア2a外周のスペースに接着剤(不図示)により固定されている。但し、製造する際には接着剤が固体撮像素子2の受光エリア2aにはみ出さないように注意する必要がある。
一般的に固体撮像素子は、シリコン(Si)から形成されており、その表面は平坦であり、尚且つフレキシブル基板やセラミック基板等と比べて応力に対する歪みや撓みが少ない。そのため、筐体を固体撮像素子上に直接実装すれば、必然的にレンズの光軸と固体撮像素子面との角度的な位置決めが正確になされる。
また、ワイヤー3に塗布する樹脂10に遮光性のものを用い、筐体11と固体撮像素子2との接合面端部もいっしょに覆うことにより、筐体11と固体撮像素子2との隙間から筐体11内部にゴミや光が侵入するのを防止することができると共に、筐体11の固体撮像素子2に対する接着強度を高めることができる。筐体11と固体撮像素子2との接着面端部に塗布する樹脂は、ワイヤー3に塗布する樹脂10とは別にして別途塗布するようにしてもよいが、作業性を考えるとワイヤー3に塗布する樹脂10で一度に覆ってしまうのがよい。尚、光の侵入を防止するという意味では、筐体11を固体撮像素子2上に接着する接着剤にも遮光性のものを用いるのが望ましい。
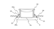
図2は、本発明の別の実施例を示す概略断面図である。前述の実施例1では、固体撮像素子を基板上に実装してワイヤーにより基板との導通を取る形態について説明したが、本実施例2では、固体撮像素子を基板裏面側にフリップチップ実装した形態について説明する。
基板20の裏面側には固体撮像素子2がフリップチップ実装されており、固体撮像素子2の受光エリア2a側の面に形成された電極(不図示)と基板裏面に形成された電極(不図示)とが導電性接着剤21等を介して接続されている。基板20の固体撮像素子2の受光エリア2aと対向する位置には開口部20aが設けられており、そこを通して固体撮像素子2の受光エリア2aが露呈されている。開口部20aは、筐体22の外形寸法に合せて受光エリア2aよりも広く形成されており、その部分を通して筐体22が固体撮像素子2上に実装されている。
また、開口部20aの周縁には遮光性の樹脂23等を塗布して開口部20aと筐体20との隙間を埋めてあり、固体撮像素子2側へゴミや光が侵入するの防止すると共に、筐体22と基板20との接着強度を高めている。特に本実施例では、筐体22の外周面には開口部20aの周縁を遮蔽する鍔部22aを設けてあり、これにより筐体22と開口部20aとの隙間を外部から遮蔽すると共に、樹脂23による固着力を更に高めている。
このように、固体撮像素子をフリップチップ方式にて基板に実装することにより、実施例1のようなワイヤーが不要となり、尚且つ筐体が開口部を通して実装されることで基板表面に固体撮像素子を実装する場合に比べて筐体の高さ方向への突出が少なくなるため、より一層の小型化が可能となる。
以上説明したように、本発明の要旨は、固体撮像素子上に直接筐体を実装して、筐体の基板に対する実装時の傾きを最小限に抑えると共に、構成の小型化を図ることであり、その技術的範囲は本明細書に記載した実施形態に限定されるものではなく、本発明の趣旨を逸脱しない範囲においてはその他の構成にて実施することも可能である。
1 基板
1a 電極
2 固体撮像素子
2a 受光エリア
3 ワイヤー
4 筐体
5 レンズバレル
10 樹脂
11 筐体
11a レンズ
20 基板
20a 開口部
21 導電性接着剤
22 筐体
22a 鍔部
23 樹脂
1a 電極
2 固体撮像素子
2a 受光エリア
3 ワイヤー
4 筐体
5 レンズバレル
10 樹脂
11 筐体
11a レンズ
20 基板
20a 開口部
21 導電性接着剤
22 筐体
22a 鍔部
23 樹脂
Claims (9)
- 少なくとも、電極が形成された基板と、当該基板に実装された撮像素子と、当該撮像素子上に当該撮像素子の受光領域を覆うように実装された筐体と、で構成される事を特徴とするカメラモジュール。
- 前記撮像素子は、導線により前記基板に形成された電極と接続されている事を特徴とする請求項1記載のカメラモジュール。
- 前記導線、及び前記撮像素子の外周部は、樹脂により覆われている事を特徴とする請求項2記載のカメラモジュール。
- 前記撮像素子は前記基板にフリップチップ実装され、且つ前記基板は前記撮像素子の受光領域と対向する位置に開口部を有しており、前記筐体は当該開口部を通して前記撮像素子上に実装されている事を特徴とする請求項1記載のカメラモジュール。
- 前記筐体の外周面には、前記開口部周縁を遮蔽する鍔部が設けられている事を特徴とする請求項4記載のカメラモジュール。
- 前記筐体外周と前記開口部周縁との間には樹脂が塗布されている事を特徴とする請求項4、又は5に記載のカメラモジュール。
- 前記筐体と前記撮像素子との接触面端部は、樹脂により覆われている事を特徴とする請求項1〜6の何れか1つに記載のカメラモジュール。
- 前記樹脂は、遮光性を有する事を特徴とする請求項6、又は7に記載のカメラモジュール。
- 前記筐体と前記撮像素子とは遮光性の接着剤により接合されている事を特徴とする請求項1〜8の何れか1つに記載のカメラモジュール。
Priority Applications (1)
| Application Number | Priority Date | Filing Date | Title |
|---|---|---|---|
| JP2004104959A JP2005295050A (ja) | 2004-03-31 | 2004-03-31 | カメラモジュール |
Applications Claiming Priority (1)
| Application Number | Priority Date | Filing Date | Title |
|---|---|---|---|
| JP2004104959A JP2005295050A (ja) | 2004-03-31 | 2004-03-31 | カメラモジュール |
Publications (1)
| Publication Number | Publication Date |
|---|---|
| JP2005295050A true JP2005295050A (ja) | 2005-10-20 |
Family
ID=35327527
Family Applications (1)
| Application Number | Title | Priority Date | Filing Date |
|---|---|---|---|
| JP2004104959A Pending JP2005295050A (ja) | 2004-03-31 | 2004-03-31 | カメラモジュール |
Country Status (1)
| Country | Link |
|---|---|
| JP (1) | JP2005295050A (ja) |
Cited By (13)
| Publication number | Priority date | Publication date | Assignee | Title |
|---|---|---|---|---|
| WO2008096584A1 (ja) * | 2007-02-07 | 2008-08-14 | Konica Minolta Opto, Inc. | 撮像装置の製造方法及び撮像装置並びに携帯端末 |
| JP2008263552A (ja) * | 2007-04-13 | 2008-10-30 | Matsushita Electric Ind Co Ltd | 固体撮像装置およびその製造方法 |
| JP2008263550A (ja) * | 2007-04-13 | 2008-10-30 | Matsushita Electric Ind Co Ltd | 固体撮像装置およびその製造方法 |
| JP2008263551A (ja) * | 2007-04-13 | 2008-10-30 | Matsushita Electric Ind Co Ltd | 固体撮像装置およびその製造方法 |
| JP2008312104A (ja) * | 2007-06-18 | 2008-12-25 | Panasonic Corp | 固体撮像装置およびその製造方法 |
| JP2010510542A (ja) * | 2006-11-16 | 2010-04-02 | テッセラ・ノース・アメリカ・インコーポレイテッド | 光学積層体を採用したカメラシステムにおける迷光の制御およびその関連方法 |
| JP2011215183A (ja) * | 2010-03-31 | 2011-10-27 | Ricoh Co Ltd | 撮像装置 |
| JP2013020267A (ja) * | 2007-04-24 | 2013-01-31 | Digitaloptics Corp | ウエハーレベル光学部品を用いた自動焦点/ズームモジュール |
| WO2013073578A1 (ja) * | 2011-11-15 | 2013-05-23 | 株式会社フジクラ | 撮像素子チップの実装方法、内視鏡の組立方法、撮像モジュール及び内視鏡 |
| US8937681B2 (en) | 2007-07-19 | 2015-01-20 | Digitaloptics Corporation | Camera module back-focal length adjustment method and ultra compact components packaging |
| US9118825B2 (en) | 2008-02-22 | 2015-08-25 | Nan Chang O-Film Optoelectronics Technology Ltd. | Attachment of wafer level optics |
| US9419032B2 (en) | 2009-08-14 | 2016-08-16 | Nanchang O-Film Optoelectronics Technology Ltd | Wafer level camera module with molded housing and method of manufacturing |
| US10009528B2 (en) | 2011-02-24 | 2018-06-26 | Nan Chang O-Film Optoelectronics Technology Ltd | Autofocus camera module packaging with circuitry-integrated actuator system |
-
2004
- 2004-03-31 JP JP2004104959A patent/JP2005295050A/ja active Pending
Cited By (17)
| Publication number | Priority date | Publication date | Assignee | Title |
|---|---|---|---|---|
| JP2010510542A (ja) * | 2006-11-16 | 2010-04-02 | テッセラ・ノース・アメリカ・インコーポレイテッド | 光学積層体を採用したカメラシステムにおける迷光の制御およびその関連方法 |
| WO2008096584A1 (ja) * | 2007-02-07 | 2008-08-14 | Konica Minolta Opto, Inc. | 撮像装置の製造方法及び撮像装置並びに携帯端末 |
| JP2008263552A (ja) * | 2007-04-13 | 2008-10-30 | Matsushita Electric Ind Co Ltd | 固体撮像装置およびその製造方法 |
| JP2008263550A (ja) * | 2007-04-13 | 2008-10-30 | Matsushita Electric Ind Co Ltd | 固体撮像装置およびその製造方法 |
| JP2008263551A (ja) * | 2007-04-13 | 2008-10-30 | Matsushita Electric Ind Co Ltd | 固体撮像装置およびその製造方法 |
| JP2013020267A (ja) * | 2007-04-24 | 2013-01-31 | Digitaloptics Corp | ウエハーレベル光学部品を用いた自動焦点/ズームモジュール |
| JP2008312104A (ja) * | 2007-06-18 | 2008-12-25 | Panasonic Corp | 固体撮像装置およびその製造方法 |
| US8937681B2 (en) | 2007-07-19 | 2015-01-20 | Digitaloptics Corporation | Camera module back-focal length adjustment method and ultra compact components packaging |
| US9118825B2 (en) | 2008-02-22 | 2015-08-25 | Nan Chang O-Film Optoelectronics Technology Ltd. | Attachment of wafer level optics |
| US9419032B2 (en) | 2009-08-14 | 2016-08-16 | Nanchang O-Film Optoelectronics Technology Ltd | Wafer level camera module with molded housing and method of manufacturing |
| JP2011215183A (ja) * | 2010-03-31 | 2011-10-27 | Ricoh Co Ltd | 撮像装置 |
| US9019378B2 (en) | 2010-03-31 | 2015-04-28 | Ricoh Company, Ltd. | Imaging apparatus including a lens barrel holding an optical element |
| US10009528B2 (en) | 2011-02-24 | 2018-06-26 | Nan Chang O-Film Optoelectronics Technology Ltd | Autofocus camera module packaging with circuitry-integrated actuator system |
| WO2013073578A1 (ja) * | 2011-11-15 | 2013-05-23 | 株式会社フジクラ | 撮像素子チップの実装方法、内視鏡の組立方法、撮像モジュール及び内視鏡 |
| EP2781183A4 (en) * | 2011-11-15 | 2015-08-12 | Fujikura Ltd | CHIP MOUNTING METHOD FOR IMAGE RECORDING ELEMENT, ENDOSCOPE ASSEMBLY PROCEDURE, IMAGE RECORDING MODULE AND ENDOSCOPE |
| CN103889308A (zh) * | 2011-11-15 | 2014-06-25 | 株式会社藤仓 | 摄像元件芯片的安装方法、内窥镜的组装方法、摄像模块以及内窥镜 |
| US10510918B2 (en) | 2011-11-15 | 2019-12-17 | Fujikura Ltd. | Endoscope imaging module |
Similar Documents
| Publication | Publication Date | Title |
|---|---|---|
| CN100490507C (zh) | 小型摄像组件 | |
| CN1225111C (zh) | 小型摄像模块 | |
| JP4276678B2 (ja) | 撮像装置 | |
| US20080252771A1 (en) | Camera module with compact packaging of image sensor chip and method of manufacturing the same | |
| US20120268644A9 (en) | Camera module | |
| KR100712449B1 (ko) | 촬상 소자 및 카메라 모듈 | |
| JP2005295050A (ja) | カメラモジュール | |
| US20130265470A1 (en) | Camera module for portable device | |
| KR20210031068A (ko) | 이미지 센서 패키지 | |
| JP2007208045A (ja) | 撮像装置、カメラモジュール、電子機器および撮像装置の製造方法 | |
| CN106998414B (zh) | 图像传感器模块及包括该图像传感器模块的相机模块 | |
| KR20190019729A (ko) | 카메라 모듈 | |
| WO2007096992A1 (ja) | 撮像装置及び携帯端末装置 | |
| WO2022135256A1 (zh) | 摄像模组和电子设备 | |
| JP4696192B2 (ja) | 固体撮像素子ユニット及びその製造方法並びに撮像装置 | |
| JP2004153855A (ja) | 撮像装置 | |
| JP5093324B2 (ja) | 固体撮像素子ユニット及びその製造方法並びに撮像装置 | |
| KR101038492B1 (ko) | 카메라 모듈 및 그 제조 방법 | |
| US11991429B2 (en) | Camera module | |
| JP2010220245A (ja) | 撮像装置、カメラモジュール、電子機器および撮像装置の製造方法 | |
| JP4424470B2 (ja) | 固体撮像装置 | |
| JP4806970B2 (ja) | 固体撮像装置 | |
| KR101055569B1 (ko) | 카메라 모듈 | |
| JP2006135577A (ja) | 固体撮像装置及びこれを備えた電子機器 | |
| KR101026830B1 (ko) | 카메라 모듈 |