JP2005294615A - 配線基板 - Google Patents

配線基板 Download PDF

Info

Publication number
JP2005294615A
JP2005294615A JP2004108828A JP2004108828A JP2005294615A JP 2005294615 A JP2005294615 A JP 2005294615A JP 2004108828 A JP2004108828 A JP 2004108828A JP 2004108828 A JP2004108828 A JP 2004108828A JP 2005294615 A JP2005294615 A JP 2005294615A
Authority
JP
Japan
Prior art keywords
wiring
wiring layer
bonding
fpc
bumps
Prior art date
Legal status (The legal status is an assumption and is not a legal conclusion. Google has not performed a legal analysis and makes no representation as to the accuracy of the status listed.)
Pending
Application number
JP2004108828A
Other languages
English (en)
Inventor
Kojiro Nakamura
浩二郎 中村
Takahiko Yagi
能彦 八木
Tomoaki Kuroishi
友明 黒石
Current Assignee (The listed assignees may be inaccurate. Google has not performed a legal analysis and makes no representation or warranty as to the accuracy of the list.)
Panasonic Holdings Corp
Original Assignee
Matsushita Electric Industrial Co Ltd
Priority date (The priority date is an assumption and is not a legal conclusion. Google has not performed a legal analysis and makes no representation as to the accuracy of the date listed.)
Filing date
Publication date
Application filed by Matsushita Electric Industrial Co Ltd filed Critical Matsushita Electric Industrial Co Ltd
Priority to JP2004108828A priority Critical patent/JP2005294615A/ja
Publication of JP2005294615A publication Critical patent/JP2005294615A/ja
Pending legal-status Critical Current

Links

Images

Classifications

    • HELECTRICITY
    • H01ELECTRIC ELEMENTS
    • H01LSEMICONDUCTOR DEVICES NOT COVERED BY CLASS H10
    • H01L2224/00Indexing scheme for arrangements for connecting or disconnecting semiconductor or solid-state bodies and methods related thereto as covered by H01L24/00
    • H01L2224/01Means for bonding being attached to, or being formed on, the surface to be connected, e.g. chip-to-package, die-attach, "first-level" interconnects; Manufacturing methods related thereto
    • H01L2224/10Bump connectors; Manufacturing methods related thereto
    • H01L2224/15Structure, shape, material or disposition of the bump connectors after the connecting process
    • H01L2224/16Structure, shape, material or disposition of the bump connectors after the connecting process of an individual bump connector
    • H01L2224/161Disposition
    • H01L2224/16151Disposition the bump connector connecting between a semiconductor or solid-state body and an item not being a semiconductor or solid-state body, e.g. chip-to-substrate, chip-to-passive
    • H01L2224/16221Disposition the bump connector connecting between a semiconductor or solid-state body and an item not being a semiconductor or solid-state body, e.g. chip-to-substrate, chip-to-passive the body and the item being stacked
    • H01L2224/16225Disposition the bump connector connecting between a semiconductor or solid-state body and an item not being a semiconductor or solid-state body, e.g. chip-to-substrate, chip-to-passive the body and the item being stacked the item being non-metallic, e.g. insulating substrate with or without metallisation

Landscapes

  • Production Of Multi-Layered Print Wiring Board (AREA)
  • Structure Of Printed Boards (AREA)
  • Wire Bonding (AREA)

Abstract

【課題】バンプを介してFPCに電子部品を実装する際に、補強板を用いることなく接合信頼性を向上する。
【解決手段】FPC1において、電子部品9のバンプ91が接合される電極211と重なるように、電極211を有する配線層21とは別の配線層22に対向部221を設ける。これにより、電子部品9をFPC1に押圧して実装する際に、各電極211が水平姿勢のまま同様に押し込まれ、各バンプ91が電極211に同様の力で押圧され、接合信頼性を向上することができる。
【選択図】図1

Description

本発明は、電子部品が実装される可撓性を有する配線基板に関する。
従来より、回路基板の製造において、半導体のベアチップ上に形成された電気回路の電極上にバンプを形成し、配線基板上の電極にバンプを押圧して接合することによりベアチップを配線基板に実装する、フリップチップ接合と呼ばれる方法が利用されている。この方法において配線基板として可撓性を有するプリント基板(Flexible Printed Circuit、以下、「FPC」という。)が用いられる場合、接合時にFPC上の電極がバンプから一定の力を受けるようにするために、例えば、特許文献1に開示されているように、FPCの裏面に補強板が設けられる。
なお、特許文献2には、ワイヤボンディング法によりICをFPCに搭載する際に裏面のパターンによりボンディング位置を補強する技術が開示されており、特許文献3には、LEDをワイヤボンディング法によりFPCに実装する場合において、配線パターンに連続する裏パターンにより、表パターンのワイヤボンディングが行われるランドパターンの裏面領域を平坦とし、これにより、裏面に補強板を取り付ける際に気泡が残存しないようにする技術が開示されている。
特開平11−163475号公報 実開平1−163365号公報 実開昭63−172163号公報
ところで、既述のようにフリップチップ接合の際に、補強板をFPCの裏面に貼り付ける場合、回路基板が厚くなってしまい、さらに、裏面において電子部品の実装可能な領域が減少してしまう。逆に、補強板を設けない場合は、FPCの他の層の配線パターンの影響を受けて、接合時にバンプと接触するFPC上の電極の高さや姿勢が一定とならず、接合不良が生じるおそれがある。そこで、本発明は、フリップチップ接合などのようにバンプを介して電子部品が可撓性を有する配線基板に押圧されて実装される場合に、裏面に補強板を設けることなく、接合信頼性を向上することを目的としている。
請求項1に記載の発明は、可撓性を有する配線基板であって、複数の配線層と、前記複数の配線層の間に設けられた少なくとも1つの絶縁層とを備え、前記複数の配線層のうちの表面に露出する一の配線層が、加圧を伴う接合により電子部品の複数のバンプがそれぞれ接合される複数の電極を備え、前記複数の配線層のうちの他の一の配線層のパターンが、前記複数のバンプのそれぞれの接合中心と重なる。
請求項2に記載の発明は、請求項1に記載の配線基板であって、前記他の一の配線層のパターンのうち前記複数のバンプの接合中心に重なる部位が、配線に含まれる。
請求項3に記載の発明は、請求項2に記載の配線基板であって、前記他の一の配線層のパターンのうち前記複数のバンプの接合中心に重なる部位が、複数の配線に含まれる。
請求項4に記載の発明は、請求項1ないし3のいずれかに記載の配線基板であって、前記他の一の配線層のパターンが、前記複数のバンプのそれぞれの接合領域全体と重なる。
請求項5に記載の発明は、請求項4に記載の配線基板であって、前記他の一の配線層のパターンが、前記複数のバンプのそれぞれの接合領域を、バンプの接合誤差および前記一の配線層と前記他の一の配線層との間の誤差の分だけ拡大した領域全体と重なる。
請求項6に記載の発明は、請求項1ないし5のいずれかに記載の配線基板であって、前記他の一の配線層が、前記一の配線層側から2番目の配線層または前記一の配線層が形成された露出面とは反対側の露出面上に形成された配線層である。
本発明によれば、補強板を用いることなく、可撓性を有する配線基板への電子部品の接合信頼性を向上することができる。特に、配線基板の裏面にも配線が設けられる場合は、裏面において補強板により電子部品の実装可能な領域が制限されることを防止することができる。
図1は、本発明の一の実施の形態に係る可撓性を有する配線基板(以下、「FPC」という。)1を示す断面図であり、図2はFPC1の平面図である。図1に示すように、FPC1は多層基板であり、樹脂(例えば、ポリイミド)で形成された2つの絶縁層11,12を備え、上側の絶縁層11の上下の主面には、それぞれ銅箔のパターンである配線層21,22が設けられる。なお、図2に示すように、配線層21,22は絶縁層11の両主面に沿って配線パターンとして広がっているが、図1では図2中の矢印A−Aでの断面における配線層21,22の極一部(符号211,221を付す部分)のみが図示されている。
配線層21は表面に露出しており、加圧を伴う接合により図1中に2点鎖線にて示す電子部品9の複数のバンプ91がそれぞれ接合される複数の電極211を備える。電子部品9はいわゆる半導体のベアチップであり、バンプ91は電子部品9のアルミ電極上に形成されている。なお、バンプとしては、ワイヤボンディング法を応用したいわゆるスタッドバンプ、メッキ工程により形成したメッキバンプ、はんだを用いたはんだバンプ等の様々なものが利用可能である。電子部品9の実装では、例えば、電子部品9を加熱しつつ、樹脂中に金属粒子を拡散させた異方性導電フィルムやペーストを挟んでバンプ91を電極211に押圧する接合、非導電フィルムやペーストを挟んでバンプ91を電極211に押圧する接合、電子部品9に超音波を付与しつつバンプ91を電極211に押圧する接合等、様々な接合方法が採用される。
配線層22は、配線層21側から2番目の配線層であり、配線層22のパターンは複数のバンプ91のそれぞれの接合中心911と重なる(すなわち、接合中心911と対向する)対向部221を備える。図2では配線層22が有する複数の直線状の配線のうち、電極211と対向する部位に符号221を付している。すなわち、対向部221は配線として利用される。また、対向部221は、バンプ91のそれぞれの接合領域(図1中に符号912を付す領域)の全体と重なる大きさとされる。
配線層22に対向部221を設けることにより、FPC1では電子部品9が実装される際に、各電極211が水平姿勢のまま同様に押し込まれる(すなわち、絶縁層11,12が同じ程度撓む)こととなる。その結果、電子部品9の各バンプ91が電極211に同様の力で押圧され(バンプ91の先端が尖っている場合には同様に押し潰され)、電子部品9がFPC1に高い信頼性にて接合される。
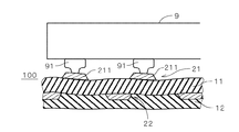
これに対し、配線層22において電極211に対向する部位が存在したり存在しなかったりした場合、あるいは、部分的に重なる場合(以下、「比較例」という。)には、電子部品9の実装時に全ての電極211が均一に押し込まれなかったり、傾いたりするため、接合不良が生じるおそれがある。図3は比較例における実装時のFPC100の断面および電子部品9を示す図であり、図4はFPC100の平面図である。図3に示すように、配線層22のパターンが存在する領域ではFPC100の撓み量が相対的に減少するため、バンプ91に押圧された場合に配線層21の電極211が傾いたり、場合によっては2つの電極211の押し込まれる距離(接合時の沈み量)(以下、電極211の傾きや沈み量を「押し込まれ量」と総称する。)が異なってしまうこととなる。
ところで、電極211にバンプ91が押圧される際には、図1に示すように電極211とバンプ91との接合領域912の中心である接合中心911の真下において絶縁層11,12内に最も大きな応力が発生するため、配線層22のパターンが複数のバンプ91のそれぞれの接合中心911と重なることが電極211の押し込まれ量のばらつきを抑えるために最低限必要となる。また、接合領域912全体で電極211が押圧されることから、配線層22のパターンが、複数のバンプ91のそれぞれの接合領域912全体と重なることがより好ましいといえる。そして、電極211の押し込まれ量のばらつき防止のこれらの原理に基づいて図4に示すFPC100に対して設計変更を行うことにより、図2に示すFPC1が得られることとなる。
さらに、対向部221が実際に使用される配線に含まれることにより、用途のない対向部を設けて他の配線を迂回させる場合よりも設計変更を容易に行うことができる。
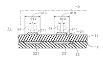
図5は、より高い接合信頼性にて電子部品9を実装することができるFPC1aを示す断面図である。FPC1aでは配線層22の対向部221の幅が図1に示すものから拡大されているという点で異なっている。その他は同様であり、図1と同符号を付している。既に述べたように、配線層22のパターンは複数のバンプ91のそれぞれの接合領域912全体と重なることが好ましい。しかしながら、実際には、実装時の電子部品9の位置合わせ精度やFPCを製造する際の配線層21と配線層22との位置合わせ精度には限界がある。そこで、図5に示すFPC1aでは、配線層22のパターンに含まれる対向部221が、複数のバンプ91のそれぞれの接合領域912を、バンプ91の接合誤差および配線層21と配線層22との間の誤差の分だけ拡大した領域913全体と重なるように形成される。これにより、対向部221は接合領域912と確実に重なることとなり、接合の信頼性がさらに向上される。
図6は、両面に電子部品の実装が行われるFPC1bを示す図である。FPC1bは、複数の絶縁層11〜13を備え、上面から下面に向かって各絶縁層の境界(上下の露出面を含む。)に配線層21〜24を備える。FPC1bのように配線層21が形成された露出面とは反対側の露出面上に形成された配線層24が存在する場合は、電子部品9の実装時のFPC1bの撓みは配線層24の影響を大きく受けるため、配線層24に、配線層21の電極211に対向する(すなわち、バンプと電極211との接合中心と重なる)対向部241が設けられる。これにより、電子部品9を実装する際の接合の信頼性が向上される。また、従来のように裏面にて電子部品の実装可能な領域が補強板により制限されることも防止される。
なお、絶縁層が比較的硬く、かつ、厚い場合は、実装時の電極211の押し込まれ量は、図1の場合と同様に配線層21側から2番目の配線層22の影響を大きく受けるため、配線層22に対向部が設けられることが好ましい。一般的には、バンプが接合される配線層から2番目の配線層またはバンプが接合される配線層とは反対側の露出面上に形成された配線層に対向部が設けられることが好ましいといえる。
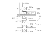
図7および図8は、図1の対向部221や図6の対向部241に対応する対向部281(または281a,281b)を有する配線層28のパターンを電子部品9と共に示す平面図である。なお、図7および図8では、他の配線層の図示を省略し、配線層28のみを実線にて示している。
図7では、配線層28の1つの配線282が2つの接合領域912と重なる対向部281を有する。このように、電子部品9のバンプのピッチに対して配線のピッチが大きい場合には、配線を広げるなどして複数の接合領域912と重なる対向部281、すなわち、バンプの接合中心に重なる複数の部位を含む対向部281が設けられてもよい。図7に示すFPCにおいても、図1の場合と同様に複数の対向部281が複数の配線に含まれることにより、接合領域912の存在を考慮しつつ簡単な設計変更にて対向部281を設けることができる。
図8は、さらに複雑な配線層28を例示する図である。図8に示す配線層28は、図7の場合と同様に、接合領域912に重なる対向部281a,281bを有する配線282a,282bが設けられ、さらに、他の配線283が対向部281aの間へと入り込んだり、配線284が対向部281aの間を通り抜けたりする。対向部281aは、例えば、ビアと接続されて他の配線層に接続され、配線283の先端もビアと接続されてさらに他の配線層に接続される。このように、対向部281aを接合領域912に合わせて局所的に設けることにより、配線層28の機能を損なうことなく対向部を設けることが容易に実現される。
以上、本発明の実施の形態について説明してきたが、本発明は上記実施の形態に限定されるものではなく、様々な変形が可能である。
例えば、絶縁層や配線層の数は上記実施の形態に例示したものより多くてもよく、逆に、絶縁層が1つであり、絶縁層の両主面のそれぞれに配線層が形成されるのみであってもよい。すなわち、本発明が適用されるFPCは複数の配線層と、この複数の配線層の間に設けられた少なくとも1つの絶縁層とを備えるものとされる。
また、既述のように、加圧を伴う接合によりバンプがFPCの電極と接合されるが、接合が行われる配線層以外の配線層に対向部を設ける手法は、絶縁層が撓みやすい加圧および加熱を伴う接合に特に適している。例えば、接合時に接着剤である熱硬化性の樹脂の加熱が行われる場合に適している。
また、上記実施の形態では、配線基板としてFPCを例示したが、硬い材料で形成されているが薄いために可撓性を有する配線基板に対しても、配線層に対向部を設ける技術を適用することができる。さらに、対向部に対向する電極に実装される電子部品は、半導体のベアチップには限定されず、バンプを有する他の種類の電子部品(例えば、パッケージ化された電子部品)の実装にも利用することができる。
本発明は、電子部品が実装される可撓性を有する多層の様々な配線基板に利用することができる。
本発明の一の実施の形態に係るFPCの断面図 FPCの平面図 比較例に係るFPCの断面図 比較例に係るFPCの平面図 FPCの他の例を示す図 FPCのさらに他の例を示す図 対向部を有する配線層のパターンの他の例を示す図 対向部を有する配線層のパターンのさらに他の例を示す図
符号の説明
1,1a,1b FPC
9 電子部品
11〜13 絶縁層
21〜24,28 配線層
91 バンプ
211 電極
221,241,281a,281b 対向部
282,282a,282b 配線
911 接合中心
912 接合領域

Claims (6)

  1. 可撓性を有する配線基板であって、
    複数の配線層と、
    前記複数の配線層の間に設けられた少なくとも1つの絶縁層と、
    を備え、
    前記複数の配線層のうちの表面に露出する一の配線層が、加圧を伴う接合により電子部品の複数のバンプがそれぞれ接合される複数の電極を備え、
    前記複数の配線層のうちの他の一の配線層のパターンが、前記複数のバンプのそれぞれの接合中心と重なることを特徴とする配線基板。
  2. 請求項1に記載の配線基板であって、
    前記他の一の配線層のパターンのうち前記複数のバンプの接合中心に重なる部位が、配線に含まれることを特徴とする配線基板。
  3. 請求項2に記載の配線基板であって、
    前記他の一の配線層のパターンのうち前記複数のバンプの接合中心に重なる部位が、複数の配線に含まれることを特徴とする配線基板。
  4. 請求項1ないし3のいずれかに記載の配線基板であって、
    前記他の一の配線層のパターンが、前記複数のバンプのそれぞれの接合領域全体と重なることを特徴とする配線基板。
  5. 請求項4に記載の配線基板であって、
    前記他の一の配線層のパターンが、前記複数のバンプのそれぞれの接合領域を、バンプの接合誤差および前記一の配線層と前記他の一の配線層との間の誤差の分だけ拡大した領域全体と重なることを特徴とする配線基板。
  6. 請求項1ないし5のいずれかに記載の配線基板であって、
    前記他の一の配線層が、前記一の配線層側から2番目の配線層または前記一の配線層が形成された露出面とは反対側の露出面上に形成された配線層であることを特徴とする配線基板。
JP2004108828A 2004-04-01 2004-04-01 配線基板 Pending JP2005294615A (ja)

Priority Applications (1)

Application Number Priority Date Filing Date Title
JP2004108828A JP2005294615A (ja) 2004-04-01 2004-04-01 配線基板

Applications Claiming Priority (1)

Application Number Priority Date Filing Date Title
JP2004108828A JP2005294615A (ja) 2004-04-01 2004-04-01 配線基板

Publications (1)

Publication Number Publication Date
JP2005294615A true JP2005294615A (ja) 2005-10-20

Family

ID=35327196

Family Applications (1)

Application Number Title Priority Date Filing Date
JP2004108828A Pending JP2005294615A (ja) 2004-04-01 2004-04-01 配線基板

Country Status (1)

Country Link
JP (1) JP2005294615A (ja)

Cited By (4)

* Cited by examiner, † Cited by third party
Publication number Priority date Publication date Assignee Title
JP2008164427A (ja) * 2006-12-28 2008-07-17 Micronics Japan Co Ltd プローブユニット基板
WO2009022522A1 (ja) * 2007-08-10 2009-02-19 Sharp Kabushiki Kaisha 配線基板、及び、液晶表示装置
US8310645B2 (en) 2008-06-25 2012-11-13 Sharp Kabushiki Kaisha Wiring board and liquid crystal display device
JP2013065810A (ja) * 2011-08-31 2013-04-11 Denso Corp 多層基板

Cited By (5)

* Cited by examiner, † Cited by third party
Publication number Priority date Publication date Assignee Title
JP2008164427A (ja) * 2006-12-28 2008-07-17 Micronics Japan Co Ltd プローブユニット基板
WO2009022522A1 (ja) * 2007-08-10 2009-02-19 Sharp Kabushiki Kaisha 配線基板、及び、液晶表示装置
US8319932B2 (en) 2007-08-10 2012-11-27 Sharp Kabushiki Kaisha Wiring board and liquid crystal display device
US8310645B2 (en) 2008-06-25 2012-11-13 Sharp Kabushiki Kaisha Wiring board and liquid crystal display device
JP2013065810A (ja) * 2011-08-31 2013-04-11 Denso Corp 多層基板

Similar Documents

Publication Publication Date Title
JP2664873B2 (ja) 電子パッケージおよびその作製方法
JP2004343030A (ja) 配線回路基板とその製造方法とその配線回路基板を備えた回路モジュール
EP1005086A2 (en) Metal foil having bumps, circuit substrate having the metal foil, and semiconductor device having the circuit substrate
JP2004179232A (ja) 半導体装置及びその製造方法並びに電子機器
CN1312764C (zh) 电子元件装置及其制造方法
JP4813255B2 (ja) 配線基板及びその製造方法ならびに半導体装置
JP2001223243A (ja) 半導体装置及びその製造方法、回路基板並びに電子機器
JP2005294615A (ja) 配線基板
JP3438583B2 (ja) 異方導電性フィルムの接続方法
JP2002261416A (ja) 電極の接続構造
JP2000022329A (ja) 配線基板および電子ユニットおよび電子部品実装方法
JP5277754B2 (ja) フリップ接続実装体、フリップ接続実装体の製造方法
CN208128619U (zh) 树脂基板以及部件安装树脂基板
KR100516815B1 (ko) 반도체장치
JP2821070B2 (ja) 複合プリント基板の接合方法
JP7351552B2 (ja) 基板、基板製造方法及び基板接続方法
JP3627895B2 (ja) 配線板
JP4520052B2 (ja) 半導体装置およびその製造方法
JP4619104B2 (ja) 半導体装置
JP4430419B2 (ja) 平行導電回路シートを用いた電子回路及びその製造方法
CN100499054C (zh) 半导体装置及其制造方法
JP4342577B2 (ja) 半導体チップの実装構造
JP2002057416A (ja) 両面接続用フレキシブル配線板
JP2009278050A (ja) 電子モジュール、配線板、電子モジュールの製造方法、配線板の製造方法
JP4621432B2 (ja) プリント配線板およびその製造方法

Legal Events

Date Code Title Description
A621 Written request for application examination

Free format text: JAPANESE INTERMEDIATE CODE: A621

Effective date: 20061128

RD01 Notification of change of attorney

Free format text: JAPANESE INTERMEDIATE CODE: A7421

Effective date: 20061213

A977 Report on retrieval

Free format text: JAPANESE INTERMEDIATE CODE: A971007

Effective date: 20090120

A131 Notification of reasons for refusal

Free format text: JAPANESE INTERMEDIATE CODE: A131

Effective date: 20090217

A521 Request for written amendment filed

Free format text: JAPANESE INTERMEDIATE CODE: A523

Effective date: 20090416

A02 Decision of refusal

Free format text: JAPANESE INTERMEDIATE CODE: A02

Effective date: 20090825