JP2005294495A - 固体撮像装置及びその製造方法 - Google Patents

固体撮像装置及びその製造方法 Download PDF

Info

Publication number
JP2005294495A
JP2005294495A JP2004106815A JP2004106815A JP2005294495A JP 2005294495 A JP2005294495 A JP 2005294495A JP 2004106815 A JP2004106815 A JP 2004106815A JP 2004106815 A JP2004106815 A JP 2004106815A JP 2005294495 A JP2005294495 A JP 2005294495A
Authority
JP
Japan
Prior art keywords
adhesive
solid
state imaging
imaging device
outer structure
Prior art date
Legal status (The legal status is an assumption and is not a legal conclusion. Google has not performed a legal analysis and makes no representation as to the accuracy of the status listed.)
Granted
Application number
JP2004106815A
Other languages
English (en)
Other versions
JP2005294495A5 (ja
JP4409338B2 (ja
Inventor
Chizuo Izuno
千鶴雄 泉野
Current Assignee (The listed assignees may be inaccurate. Google has not performed a legal analysis and makes no representation or warranty as to the accuracy of the list.)
Panasonic Holdings Corp
Original Assignee
Matsushita Electric Industrial Co Ltd
Priority date (The priority date is an assumption and is not a legal conclusion. Google has not performed a legal analysis and makes no representation as to the accuracy of the date listed.)
Filing date
Publication date
Application filed by Matsushita Electric Industrial Co Ltd filed Critical Matsushita Electric Industrial Co Ltd
Priority to JP2004106815A priority Critical patent/JP4409338B2/ja
Publication of JP2005294495A publication Critical patent/JP2005294495A/ja
Publication of JP2005294495A5 publication Critical patent/JP2005294495A5/ja
Application granted granted Critical
Publication of JP4409338B2 publication Critical patent/JP4409338B2/ja
Anticipated expiration legal-status Critical
Expired - Fee Related legal-status Critical Current

Links

Images

Landscapes

  • Transforming Light Signals Into Electric Signals (AREA)
  • Solid State Image Pick-Up Elements (AREA)

Abstract

【課題】 外囲構体に起因するダストの発生を防止することができる固体撮像装置及びその製造方法を提供する。
【解決手段】 外囲構体(101)と、外囲構体(101)に形成された凹部(102)に固着された固体撮像素子(103)と、外囲構体(101)上に凹部(102)を覆うようにして設置された透明平板(105)とを備え、外囲構体(101)上の透明平板(105)と面する位置(101d)に凹部(102)の外縁から外側に向かって複数の溝(11)が設けられ、溝(11)に接着剤(13)が充填されて、外囲構体(101)と透明平板(105)とが接着剤(13)を介して接着され、凹部(102)における外囲構体(101)の表面は、接着剤(13)からなる被膜(14)で覆われ、溝(11)に充填された接着剤(13)と被膜(14)とは、連接されている固体撮像装置(1)とする。
【選択図】 図2


Description

本発明は、ダストの発生を防止することができる固体撮像装置及びその製造方法に関する。
従来の固体撮像装置は、セラミック等からなる外囲構体と、この外囲構体に形成された凹部に固着された電荷結合素子(以下、CCDという)等の固体撮像素子とを備えたものが知られている。図7に、従来の固体撮像装置の一例(断面図)を示す。図7に示すように、固体撮像装置100は、セラミック層を複数層(図7では3層)積層した外囲構体101と、外囲構体101に形成された凹部102に固着された固体撮像素子103と、外囲構体101上に凹部102を覆うようにしてエポキシ接着剤104により接着された透明平板105と、外囲構体101の最下部の第1層101a上に設けられた電気信号を取り出すためのリード106と、固体撮像素子103とリード106とを接続するAl細線、Au細線等のボンディングワイヤ107とを備えている。また、凹部102は、外囲構体101の第1層101a上に設けられた固体撮像素子103を載置する底面102aと、外囲構体101の第2層101b及び第3層101cに設けられた孔部1011b及び1011cから形成される側壁102bとからなる。そして、固体撮像素子103は、凹部102の底面102aに、Agペースト等のアンダーフィル剤108により固着されている。しかし、このように構成された固体撮像装置100では、図8に示すように、外囲構体101や固体撮像素子103の表面に発生するマイクロクラック110等に起因するダスト111が発生していた。
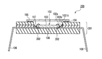
そこで、このようなダスト111を防ぐ目的で、凹部102における外囲構体101の表面をシリコーン樹脂で覆った固体撮像装置が特許文献1に提案されている。図9に、この固体撮像装置の断面図を示す。なお、特許文献1に提案された固体撮像装置は、図7において、外囲構体の構成材料がセラミックではなくモールド樹脂で形成され、凹部における外囲構体の表面がシリコーン樹脂で覆われていること以外は、図7と同一の構成要素を備えている。よって、同一の構成要素には、同一の符号を付し、詳細な説明は省略する。図9に示すように、固体撮像装置200は、凹部102において、底面102aと、側壁102bの一部とが、シリコーン樹脂202で覆われている。これにより、外囲構体201に起因するダストの発生が抑えられる。
特開昭60−86973号公報(第1〜2頁、第3図)
しかし、特許文献1に提案されている固体撮像装置200では、外囲構体201と透明平板105とを接着させる樹脂としてエポキシ接着剤104が使用され、凹部102における外囲構体201の表面を覆う樹脂としてシリコーン樹脂202が使用されており、異種材料の樹脂同士が混ざることによる不純物の生成を避けるため、凹部102の側壁102bの一部である側壁1021bは、シリコーン樹脂202で覆われていない。そのため、この構成では、シリコーン樹脂202で覆われていない側壁1021bからダストが発生するおそれがある。
本発明は、前記問題を解決するためになされたものであり、外囲構体に起因するダストの発生を防止することができる固体撮像装置及びその製造方法を提供する。
本発明の固体撮像装置は、外囲構体と、前記外囲構体に形成された凹部に固着された固体撮像素子と、前記外囲構体上に前記凹部を覆うようにして設置された透明平板とを備えた固体撮像装置であって、前記外囲構体上の前記透明平板と面する位置に前記凹部の外縁から外側に向かって複数の溝が設けられ、前記溝に接着剤が充填されて、前記外囲構体と前記透明平板とが前記接着剤を介して接着され、前記凹部における前記外囲構体の表面は、前記接着剤からなる被膜で覆われ、前記溝に充填された前記接着剤と前記被膜とは、連接されていることを特徴とする。
本発明の固体撮像装置の製造方法は、前記固体撮像素子を前記外囲構体に形成された前記凹部に固着させ、前記固体撮像素子の側面と前記外囲構体との間に所定量の前記接着剤を塗布し、前記外囲構体上に前記透明平板を設置し、前記透明平板に一定の押圧力を付加しながら、前記外囲構体を回転させることにより、前記溝に前記接着剤を充填するとともに、前記凹部における前記外囲構体の表面を前記接着剤で覆い、前記接着剤を硬化させることにより、前記外囲構体と前記透明平板とを接着させるとともに、前記被膜を形成することを特徴とする。
本発明の固体撮像装置によれば、溝に充填された接着剤と同一の接着剤からなる被膜が凹部における外囲構体の表面に形成され、この被膜と溝に充填された接着剤とが連接されている。これにより、凹部の側壁と溝との境界部も含め、凹部における外囲構体の表面全体が被膜で覆われているため、外囲構体に起因するダストの発生を防止することができる。
本発明の固体撮像装置の製造方法によれば、外囲構体を回転させることにより、凹部における外囲構体の表面を接着剤で覆うため、この表面全体が均一な被膜で覆われた本発明の固体撮像装置を容易に形成することができる。
本発明の固体撮像装置は、外囲構体と、この外囲構体に形成された凹部に固着された固体撮像素子と、外囲構体上に凹部を覆うようにして設置された透明平板とを備えている。外囲構体を形成する材料は特に限定されず、セラミックや樹脂等により形成することができる。外囲構体を形成する好ましい材料としては、アルミナを主成分とするセラミックの積層体が挙げられる。本発明に使用することができる固体撮像素子としては、例えば、CCDやComplementary Metal-oxide Semiconductor(C−MOS)等が挙げられる。また、本発明に使用することができる透明平板は特に限定されないが、強度確保の観点から、ホウケイ酸ガラスが好ましい。
そして、本発明の固体撮像装置は、外囲構体上の透明平板と面する位置に凹部の外縁から外側に向かって複数の溝が設けられ、この溝に接着剤が充填されて、外囲構体と透明平板とが接着剤を介して接着されている。更に、凹部における外囲構体の表面(以下、単に「凹部表面」という)が、溝に充填された接着剤と同一の接着剤からなる被膜で覆われ、溝に充填された接着剤と被膜とが連接されている。これにより、凹部の側壁と溝との境界部も含め、凹部表面全体が被膜で覆われているため、外囲構体に起因するダストの発生を防止することができる。なお、外囲構体上に設けられる複数の溝は、外囲構体と透明平板とを均一に接着させることができるように形成されるのが好ましく、例えば、溝が放射状に配置されるように形成されるのが好ましい。また、溝の本数は特に限定されず、使用する外囲構体、透明平板及び接着剤の材質を考慮し、充分な接着強度を得ることができるように決定されればよい。
また、本発明に使用することができる接着剤としては、紫外線硬化性接着剤が好ましい。この構成によれば、製造時において、熱硬化性接着剤を使用した場合に比べ硬化に要する時間を短縮することができ、昇温のための設備も不要となるため、低コスト化が可能となる。好ましい紫外線硬化性接着剤としては、アクリル系光架橋接着剤等が挙げられる。
また、本発明の固体撮像装置は、固体撮像素子の側面が、溝に充填された接着剤と同一の接着剤からなる被膜で覆われていることが好ましい。この構成によれば、外囲構体に起因するダストだけでなく、固体撮像素子に起因するダスト(例えばシリコン片)の発生を防止することができる。
本発明の固体撮像装置の製造方法は、固体撮像素子を外囲構体に形成された凹部に固着させ、固体撮像素子の側面と外囲構体との間に所定量の接着剤を塗布する。ここで、固体撮像素子の凹部への固着は、例えば、Agペースト等のアンダーフィル剤を用いて行うことができる。また、固体撮像素子の側面と外囲構体との間に塗布する接着剤の量は、溝に充填される接着剤の量を確保した上で、凹部表面を覆うことができる量とすればよい。そして、所定量の接着剤を塗布した後、外囲構体上に透明平板を設置し、透明平板に一定の押圧力を付加しながら、外囲構体を回転させることにより、溝に接着剤を充填するとともに、凹部表面を接着剤で覆う。これにより、凹部表面を接着剤で均一に覆うことができる。更に、溝に充填された接着剤と、凹部表面に覆われた接着剤とを硬化させることにより、外囲構体と透明平板とを接着させるとともに、溝に充填された接着剤と同一の接着剤からなる被膜を凹部表面に形成する。これにより、凹部表面に被膜が均一に形成された本発明の固体撮像装置を容易に形成することができる。
また、本発明の固体撮像装置の製造方法は、固体撮像素子の側面と外囲構体との間に塗布する接着剤に、紫外線硬化性接着剤を使用し、この接着剤に紫外線を照射することにより接着剤の硬化を行うことが好ましい。この方法によれば、熱硬化性接着剤を使用した場合に比べ硬化に要する時間を短縮することができ、昇温のための設備も不要となるため、低コストで本発明の固体撮像装置を製造することができる。以下、本発明の実施形態を詳細に説明する。
[第1実施形態]
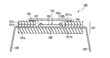
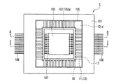
まず、本発明の第1実施形態について適宜図面を参照して説明する。参照する図1は、第1実施形態に係る固体撮像装置の平面図である。また、図2は、図1のI−I線断面図であり、後述する外囲構体上に設けられた溝に沿って切断した断面を示す。なお、以下の図において、背景技術で説明した図7と同じ構成要素については、同じ符号を用い、説明を省略する。
図1に示すように、第1実施形態に係る固体撮像装置1は、アルミナを主成分とするセラミックの積層体で形成された外囲構体101と、外囲構体101に形成された凹部102に固着されたCCD等の固体撮像素子103と、ホウケイ酸ガラス製の透明平板105と、固体撮像素子103から電気信号を取り出すためのリード106と、固体撮像素子103とリード106とを接続するAl細線、Au細線等のボンディングワイヤ107とを備えている。
図2に示すように、凹部102は底面102aと側壁102bとからなり、底面102aは正方形に形成され(図1参照)、側壁102bの上部には斜面部10が形成されている。また、外囲構体101上の透明平板105と面する位置には、透明平板105を取り付けるための段差部101dが設けられており、段差部101dは、斜面部10に連接されている。そして、段差部101dには、斜面部10の屈曲部位10aから外側に向かって複数の溝11が設けられている。また、透明平板105は、段差部101dに設けられた各々の溝11の間に形成された載置部位12(図1参照)上に載置されている。
なお、図1に示すように、溝11は、凹部102の四辺の外縁から外側に向かって均等に設けられている。また、本実施形態では、溝11の幅を0.3mm、溝11のピッチを0.5mm、溝11の高さを0.3mm、溝11の長さを1.0mmとした。
そして、図2に示すように、溝11には紫外線硬化性接着剤である接着剤13が充填されており、外囲構体101と透明平板105は、この接着剤13を介して接着されている。また、凹部102の底面102a及び側壁102b(即ち凹部表面)は、接着剤13からなる被膜14で覆われ、溝11に充填された接着剤13と被膜14とは、斜面部10の屈曲部位10aで連接されている。これにより、外囲構体101の凹部表面全体が被膜14で覆われているため、外囲構体101に起因するダストを防ぐことができる。なお、斜面部10は、後述する固体撮像装置1の製造方法において、接着剤13を溝11に速やかに充填することができるように設けられている。
更に、固体撮像素子103の側面103aも同様に接着剤13からなる被膜14で覆われている。これにより、外囲構体101に起因するダストだけでなく、固体撮像素子103に起因するダストも防ぐことができる。なお、固体撮像素子103は、背景技術で説明したように、凹部102の底面102aに、Agペースト等のアンダーフィル剤108により固着されている。
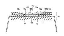
次に、第1実施形態に係る固体撮像装置1の製造方法の一例について適宜図面を参照して説明する。参照する図3〜5は、図1のII−II矢視方向から見た固体撮像装置1の製造方法を示す断面図であり、外囲構体101上に設けられた載置部位12に沿って切断した断面を示す。
まず、図3に示すように、固体撮像素子103を、凹部102の底面102aの中央部に、Agペースト等のアンダーフィル剤108により固着する。そして、固体撮像素子103の側面103aと外囲構体101との間に所定量の接着剤13を塗布する。この際、固体撮像素子103の画素面103bに接着剤13が付着しないようにする。なお、接着剤13の量は、溝11に充填される接着剤13の量を確保した上で、凹部102の底面102a及び側壁102bを覆うことができる量とすればよい。続いて、透明平板105を外囲構体101の段差部101dに設けられた載置部位12上に載置する。
次に、図4に示すように、外囲構体101を図示しない回転台に設置し、透明平板105に対して図示しない押圧治具等で一定の押圧力Pを加えながら、外囲構体101を、その中心軸Xを中心に所定速度で所定時間回転させる。この時の各条件は、例えば、紫外線硬化性接着剤として、アクリレート系接着剤を用いた場合は、押圧力P:0.2MPa、回転速度:2000rpm、回転時間:5〜20秒とすればよい。このように、外囲構体101を回転させることにより、接着剤13が遠心力によって凹部102の側壁102bを上昇し、斜面部10の屈曲部位10aを経由して溝11に進入する。これにより、溝11に接着剤13を充填する(図2参照)。また、外囲構体101を回転させることにより、接着剤13は、凹部102の底面102a、凹部102の側壁102b及び固体撮像素子103の側面103aの表面全体に均等に行き渡る(図5参照)。これにより、これらの表面全体を接着剤13で均一に覆う。なお、このときの回転方向は、透明平板105側から見て時計回り、反時計回りの何れでもよい。
次に、図5に示すように、接着剤13として使用した紫外線硬化性接着剤の硬化条件に応じて、透明平板105の上方から、紫外線UVを所望の時間照射して接着剤13を硬化させる。これにより、溝11に充填された接着剤13を硬化させ、外囲構体101と透明平板105とを接着させるとともに、凹部102の底面102a、凹部102の側壁102b及び固体撮像素子103の側面103a上の接着剤13を硬化させ、被膜14(図2参照)を形成する。
[第2実施形態]
次に、本発明の第2実施形態について適宜図面を参照して説明する。参照する図6は、第2実施形態に係る固体撮像装置の平面図である。なお、第2実施形態に係る固体撮像装置は、第1実施形態において、透明平板、外囲構体上に設けられた段差部の外縁及び凹部の開口が円形状であり、段差部に設けられた溝が放射状に配置されていること以外は、同一の構成要素を備えているため、同一の構成要素には、同一の符号を付し、詳細な説明は省略する。
図6に示すように、第2実施形態に係る固体撮像装置50は、外囲構体51上に形成されたドーナツ状の段差部51dに、凹部52の外縁から外側に向かって複数の溝53が設けられている。また、凹部52の開口は円形状に形成されており、溝53は、凹部52の開口中心から放射状に配置されるように形成されている。そして、段差部51dに設けられた載置部位54に、円盤状に形成された透明平板55が載置され、透明平板55と外囲構体51とが、溝53に充填された接着剤13を介して接着されている。
そして、図示はしないが、第1実施形態と同様に、凹部52の底面及び側壁と、固体撮像素子103の側面とは、接着剤13からなる被膜で覆われ、溝53に充填された接着剤13と前記被膜とは連接されている。これにより、第1実施形態と同様に、外囲構体51及び固体撮像素子103に起因するダストを防ぐことができる。
また、固体撮像装置50は、前述した固体撮像装置1の製造方法と同様の方法で製造することができ、その製造工程において、透明平板55を段差部51dに設けられた載置部位54に載置する際、段差部51dがドーナツ状で、透明平板55が円盤状であるため、調心を容易に行うことができる。更に、外囲構体51を回転させる工程において、溝53が、凹部52の開口中心から放射状に配置されているため、接着剤13をより均一に溝53に充填させることができる。
以上、本発明の実施形態について説明したが、本発明は前記実施形態には限定されない。例えば、前記実施形態では、セラミック層を積層させた外囲構体を用いたが、例えば単層のセラミックからなる外囲構体に凹部を設けたものでもよい。また、外囲構体や透明平板の材料についても限定されず、例えば、モールド樹脂で形成された外囲構体と、透明な樹脂で形成された透明平板を用いてもよい。また、接着剤についても前記実施形態には限定されず、例えば、製造時間は長くなるが、熱硬化性接着剤を用いても、ダスト発生の防止効果は同様に発揮される。
更に、外囲構体上に設ける溝の数、大きさ、配置形状等も前記実施形態には限定されず、使用する外囲構体、透明平板、接着剤等の材料に応じて、適宜選択すればよい。また、固体撮像装置の製造条件についても、前記実施形態で示した条件には限定されず、前述した各条件を考慮して適宜決定すればよい。
本発明の第1実施形態に係る固体撮像装置の平面図である。 図1のI−I線断面図である。 本発明の第1実施形態に係る固体撮像装置の製造方法を示す断面図である。 本発明の第1実施形態に係る固体撮像装置の製造方法を示す断面図である。 本発明の第1実施形態に係る固体撮像装置の製造方法を示す断面図である。 本発明の第2実施形態に係る固体撮像装置の平面図である。 従来の固体撮像装置の断面図である。 従来の固体撮像装置の断面図である。 従来の固体撮像装置の断面図である。
符号の説明
1,50 固体撮像装置
11,53 溝
13 接着剤
14 被膜
51,101 外囲構体
52,102 凹部
55,105 透明平板
102a 底面
102b 側壁
103 固体撮像素子
103a 側面
P 押圧力
UV 紫外線

Claims (5)

  1. 外囲構体と、前記外囲構体に形成された凹部に固着された固体撮像素子と、前記外囲構体上に前記凹部を覆うようにして設置された透明平板とを備えた固体撮像装置であって、
    前記外囲構体上の前記透明平板と面する位置に前記凹部の外縁から外側に向かって複数の溝が設けられ、前記溝に接着剤が充填されて、前記外囲構体と前記透明平板とが前記接着剤を介して接着され、
    前記凹部における前記外囲構体の表面は、前記接着剤からなる被膜で覆われ、
    前記溝に充填された前記接着剤と前記被膜とは、連接されていることを特徴とする固体撮像装置。
  2. 前記接着剤は、紫外線硬化性接着剤である請求項1に記載の固体撮像装置。
  3. 前記固体撮像素子の側面は、前記被膜で覆われている請求項1又は請求項2に記載の固体撮像装置。
  4. 請求項1に記載の固体撮像装置の製造方法であって、
    前記固体撮像素子を前記外囲構体に形成された前記凹部に固着させ、
    前記固体撮像素子の側面と前記外囲構体との間に所定量の前記接着剤を塗布し、
    前記外囲構体上に前記透明平板を設置し、
    前記透明平板に一定の押圧力を付加しながら、前記外囲構体を回転させることにより、前記溝に前記接着剤を充填するとともに、前記凹部における前記外囲構体の表面を前記接着剤で覆い、
    前記接着剤を硬化させることにより、前記外囲構体と前記透明平板とを接着させるとともに、前記被膜を形成することを特徴とする固体撮像装置の製造方法。
  5. 前記接着剤は、紫外線硬化性接着剤であり、
    前記接着剤の硬化は、前記接着剤に紫外線を照射することにより行う請求項4に記載の固体撮像装置の製造方法。
JP2004106815A 2004-03-31 2004-03-31 固体撮像装置及びその製造方法 Expired - Fee Related JP4409338B2 (ja)

Priority Applications (1)

Application Number Priority Date Filing Date Title
JP2004106815A JP4409338B2 (ja) 2004-03-31 2004-03-31 固体撮像装置及びその製造方法

Applications Claiming Priority (1)

Application Number Priority Date Filing Date Title
JP2004106815A JP4409338B2 (ja) 2004-03-31 2004-03-31 固体撮像装置及びその製造方法

Publications (3)

Publication Number Publication Date
JP2005294495A true JP2005294495A (ja) 2005-10-20
JP2005294495A5 JP2005294495A5 (ja) 2007-02-01
JP4409338B2 JP4409338B2 (ja) 2010-02-03

Family

ID=35327095

Family Applications (1)

Application Number Title Priority Date Filing Date
JP2004106815A Expired - Fee Related JP4409338B2 (ja) 2004-03-31 2004-03-31 固体撮像装置及びその製造方法

Country Status (1)

Country Link
JP (1) JP4409338B2 (ja)

Cited By (1)

* Cited by examiner, † Cited by third party
Publication number Priority date Publication date Assignee Title
KR101283217B1 (ko) 2005-12-09 2013-07-05 소니 주식회사 고체 촬상 장치, 그 제조 방법 및 카메라 모듈

Citations (4)

* Cited by examiner, † Cited by third party
Publication number Priority date Publication date Assignee Title
JPS62261158A (ja) * 1986-05-08 1987-11-13 Matsushita Electronics Corp 固体撮像装置
JPH01140850U (ja) * 1988-03-18 1989-09-27
JPH0621414A (ja) * 1992-07-06 1994-01-28 Sony Corp 固体撮像装置とその製造方法
JPH10189794A (ja) * 1996-12-26 1998-07-21 Citizen Electron Co Ltd 固体イメージセンサ装置の透明カバー接着部構造

Patent Citations (4)

* Cited by examiner, † Cited by third party
Publication number Priority date Publication date Assignee Title
JPS62261158A (ja) * 1986-05-08 1987-11-13 Matsushita Electronics Corp 固体撮像装置
JPH01140850U (ja) * 1988-03-18 1989-09-27
JPH0621414A (ja) * 1992-07-06 1994-01-28 Sony Corp 固体撮像装置とその製造方法
JPH10189794A (ja) * 1996-12-26 1998-07-21 Citizen Electron Co Ltd 固体イメージセンサ装置の透明カバー接着部構造

Cited By (2)

* Cited by examiner, † Cited by third party
Publication number Priority date Publication date Assignee Title
KR101283217B1 (ko) 2005-12-09 2013-07-05 소니 주식회사 고체 촬상 장치, 그 제조 방법 및 카메라 모듈
US8952412B2 (en) 2005-12-09 2015-02-10 Sony Corporation Method for fabricating a solid-state imaging package

Also Published As

Publication number Publication date
JP4409338B2 (ja) 2010-02-03

Similar Documents

Publication Publication Date Title
US7195940B2 (en) Methods for packaging image sensitive electronic devices
CN102891152B (zh) 半导体封装体
TWI276219B (en) Image pickup device and producing method thereof
KR101967261B1 (ko) 이미지 센서 패키지 및 이것의 제조 방법
CN1577873A (zh) 固体摄像器件及其制造方法
TW200537152A (en) Module for optical devices, and manufacturing method of module for optical devices
JP4827593B2 (ja) 半導体装置およびその製造方法
WO2017077792A1 (ja) 半導体装置、半導体装置の製造方法、及び、電子機器
CN1691344A (zh) 光学器件及其制造方法
TW200832692A (en) Solid photographic apparatus and method of manufacturing the same
JP3885670B2 (ja) 半導体装置
JP2009193986A (ja) 半導体装置及びその製造方法
JP6971826B2 (ja) 固体撮像装置及びその製造方法
JP4452235B2 (ja) パッケージ構造とその製造方法
CN103247650A (zh) 一种板载芯片模组及其制造方法
JP4618639B2 (ja) 半導体装置の製造方法
JP4409338B2 (ja) 固体撮像装置及びその製造方法
JP2007317719A (ja) 撮像装置及びその製造方法
JP4089629B2 (ja) 光センサモジュール
JP4446977B2 (ja) 半導体装置の製造方法
JP2010273087A (ja) 半導体装置及びその製造方法
CN217425697U (zh) 一种闪烁体结构及电路板
CN1674262A (zh) 影像感测器及其封装方法
JP6889452B1 (ja) イメージセンサモジュール、及び、イメージセンサモジュールの製造方法
JP5272300B2 (ja) 固体撮像素子の製造方法

Legal Events

Date Code Title Description
A521 Request for written amendment filed

Free format text: JAPANESE INTERMEDIATE CODE: A523

Effective date: 20061208

A621 Written request for application examination

Free format text: JAPANESE INTERMEDIATE CODE: A621

Effective date: 20061208

TRDD Decision of grant or rejection written
A01 Written decision to grant a patent or to grant a registration (utility model)

Free format text: JAPANESE INTERMEDIATE CODE: A01

Effective date: 20091020

A01 Written decision to grant a patent or to grant a registration (utility model)

Free format text: JAPANESE INTERMEDIATE CODE: A01

A977 Report on retrieval

Free format text: JAPANESE INTERMEDIATE CODE: A971007

Effective date: 20091022

A61 First payment of annual fees (during grant procedure)

Free format text: JAPANESE INTERMEDIATE CODE: A61

Effective date: 20091111

R150 Certificate of patent or registration of utility model

Free format text: JAPANESE INTERMEDIATE CODE: R150

FPAY Renewal fee payment (event date is renewal date of database)

Free format text: PAYMENT UNTIL: 20121120

Year of fee payment: 3

LAPS Cancellation because of no payment of annual fees