JP2005293981A - 液体燃料電池 - Google Patents

液体燃料電池 Download PDF

Info

Publication number
JP2005293981A
JP2005293981A JP2004106159A JP2004106159A JP2005293981A JP 2005293981 A JP2005293981 A JP 2005293981A JP 2004106159 A JP2004106159 A JP 2004106159A JP 2004106159 A JP2004106159 A JP 2004106159A JP 2005293981 A JP2005293981 A JP 2005293981A
Authority
JP
Japan
Prior art keywords
fuel
liquid fuel
separator
manifold
cell
Prior art date
Legal status (The legal status is an assumption and is not a legal conclusion. Google has not performed a legal analysis and makes no representation as to the accuracy of the status listed.)
Granted
Application number
JP2004106159A
Other languages
English (en)
Other versions
JP3878619B2 (ja
Inventor
Yasuhiro Harada
康宏 原田
Norihiro Tomimatsu
師浩 富松
Atsushi Sadamoto
敦史 貞本
Hiroaki Hirasawa
博明 平澤
Current Assignee (The listed assignees may be inaccurate. Google has not performed a legal analysis and makes no representation or warranty as to the accuracy of the list.)
Toshiba Corp
Original Assignee
Toshiba Corp
Priority date (The priority date is an assumption and is not a legal conclusion. Google has not performed a legal analysis and makes no representation as to the accuracy of the date listed.)
Filing date
Publication date
Application filed by Toshiba Corp filed Critical Toshiba Corp
Priority to JP2004106159A priority Critical patent/JP3878619B2/ja
Priority to US11/090,791 priority patent/US20050221159A1/en
Publication of JP2005293981A publication Critical patent/JP2005293981A/ja
Application granted granted Critical
Publication of JP3878619B2 publication Critical patent/JP3878619B2/ja
Anticipated expiration legal-status Critical
Expired - Fee Related legal-status Critical Current

Links

Images

Classifications

    • HELECTRICITY
    • H01ELECTRIC ELEMENTS
    • H01MPROCESSES OR MEANS, e.g. BATTERIES, FOR THE DIRECT CONVERSION OF CHEMICAL ENERGY INTO ELECTRICAL ENERGY
    • H01M8/00Fuel cells; Manufacture thereof
    • H01M8/10Fuel cells with solid electrolytes
    • H01M8/1009Fuel cells with solid electrolytes with one of the reactants being liquid, solid or liquid-charged
    • H01M8/1011Direct alcohol fuel cells [DAFC], e.g. direct methanol fuel cells [DMFC]
    • HELECTRICITY
    • H01ELECTRIC ELEMENTS
    • H01MPROCESSES OR MEANS, e.g. BATTERIES, FOR THE DIRECT CONVERSION OF CHEMICAL ENERGY INTO ELECTRICAL ENERGY
    • H01M8/00Fuel cells; Manufacture thereof
    • H01M8/02Details
    • H01M8/0202Collectors; Separators, e.g. bipolar separators; Interconnectors
    • H01M8/0247Collectors; Separators, e.g. bipolar separators; Interconnectors characterised by the form
    • HELECTRICITY
    • H01ELECTRIC ELEMENTS
    • H01MPROCESSES OR MEANS, e.g. BATTERIES, FOR THE DIRECT CONVERSION OF CHEMICAL ENERGY INTO ELECTRICAL ENERGY
    • H01M8/00Fuel cells; Manufacture thereof
    • H01M8/02Details
    • H01M8/0202Collectors; Separators, e.g. bipolar separators; Interconnectors
    • H01M8/0258Collectors; Separators, e.g. bipolar separators; Interconnectors characterised by the configuration of channels, e.g. by the flow field of the reactant or coolant
    • H01M8/0263Collectors; Separators, e.g. bipolar separators; Interconnectors characterised by the configuration of channels, e.g. by the flow field of the reactant or coolant having meandering or serpentine paths
    • HELECTRICITY
    • H01ELECTRIC ELEMENTS
    • H01MPROCESSES OR MEANS, e.g. BATTERIES, FOR THE DIRECT CONVERSION OF CHEMICAL ENERGY INTO ELECTRICAL ENERGY
    • H01M8/00Fuel cells; Manufacture thereof
    • H01M8/24Grouping of fuel cells, e.g. stacking of fuel cells
    • H01M8/2455Grouping of fuel cells, e.g. stacking of fuel cells with liquid, solid or electrolyte-charged reactants
    • HELECTRICITY
    • H01ELECTRIC ELEMENTS
    • H01MPROCESSES OR MEANS, e.g. BATTERIES, FOR THE DIRECT CONVERSION OF CHEMICAL ENERGY INTO ELECTRICAL ENERGY
    • H01M8/00Fuel cells; Manufacture thereof
    • H01M8/24Grouping of fuel cells, e.g. stacking of fuel cells
    • H01M8/2465Details of groupings of fuel cells
    • H01M8/2483Details of groupings of fuel cells characterised by internal manifolds
    • YGENERAL TAGGING OF NEW TECHNOLOGICAL DEVELOPMENTS; GENERAL TAGGING OF CROSS-SECTIONAL TECHNOLOGIES SPANNING OVER SEVERAL SECTIONS OF THE IPC; TECHNICAL SUBJECTS COVERED BY FORMER USPC CROSS-REFERENCE ART COLLECTIONS [XRACs] AND DIGESTS
    • Y02TECHNOLOGIES OR APPLICATIONS FOR MITIGATION OR ADAPTATION AGAINST CLIMATE CHANGE
    • Y02EREDUCTION OF GREENHOUSE GAS [GHG] EMISSIONS, RELATED TO ENERGY GENERATION, TRANSMISSION OR DISTRIBUTION
    • Y02E60/00Enabling technologies; Technologies with a potential or indirect contribution to GHG emissions mitigation
    • Y02E60/30Hydrogen technology
    • Y02E60/50Fuel cells

Landscapes

  • Life Sciences & Earth Sciences (AREA)
  • Engineering & Computer Science (AREA)
  • Manufacturing & Machinery (AREA)
  • Sustainable Development (AREA)
  • Sustainable Energy (AREA)
  • Chemical & Material Sciences (AREA)
  • Chemical Kinetics & Catalysis (AREA)
  • Electrochemistry (AREA)
  • General Chemical & Material Sciences (AREA)
  • Fuel Cell (AREA)

Abstract

【課題】液体燃料中の気泡を分散もしくは消泡することにより液体燃料の積層方向への配流を安定化させ、出力特性が向上された液体燃料電池を提供する。
【解決手段】アノード3及びカソード4を含む単セル1と、液体燃料流路8及び酸化剤流路9を有するセパレータ7とが交互に積層されたセル積層体と、前記セル積層体の最外層に積層され、液体燃料導入口8aを有するエンドセパレータ10bと、前記エンドセパレータ10bの前記液体燃料導入口8aに連結される燃料入口マニホールド13を有する樹脂製マニホールドプレート12と、前記燃料入口マニホールド13内に配置され、前記燃料入口マニホールド13の開口面積よりも小さな開口面積の燃料通過孔15aを有する樹脂製の燃料絞り部材15とを具備することを特徴とする。
【選択図】 図1

Description

本発明は、液体燃料電池に関するものである。
燃料電池は、電解質板あるいは固体高分子電解質膜等の電解質層を、燃料極と酸化剤極との間に配置した構成の単セルと、表裏両面に反応ガスの流路としての溝を形成したセパレータとを交互に積層したスタック構成を有しているのが普通である。
液体燃料電池として一般的なDMFC(ダイレクトメタノール型燃料電池)における単セルは、高分子電解質膜の両面に、触媒層とカーボンペーパで構成された燃料極と酸化剤極を一体化した膜・電極接合体(MEA)を備える。
そして、単セルの燃料極に対向する主面側に燃料流路と、単セルの酸化剤極に対応する主面側に空気流路と、燃料及び酸化剤を流路に供給または流路から排出するための縦穴とを備えたセパレータと単セルとを交互に積層する。この積層物の上下面に、燃料や酸化剤を供給するための配管機能を備えたエンドセパレータを積層し、さらにこの外側に締め付け板を積層し、締付ねじ等のごとき締付具によって全体を一体化することにより、液体燃料電池スタックが得られる。あるいはエンドセパレータを用いず、締め付け板に直接に流路を設けることも行われている。
近年、直接型メタノール燃料電池発電装置は、小型の電子機器の電源として組み込むのに好適とされ、二次電池に比べて、充電が不要で長時間駆動を利点としている。このため、小型電子機器の搭載を可能にするには、発電装置全体の小型化及び高出力化が急務の課題となっている。
前述のごとき従来の構成においては、発電スタックの小型化及び簡素化が困難なうえ、セルの積層枚数が増えるにつれ、液体燃料の積層方向への配流が悪化する。具体的には、エンドセパレータに配管機能を持たせ、締め付け構造を別体とした構造を持つスタックではエンドセパレータ部分の薄型化が困難であるうえ、通常金属で作られる締め付け板との絶縁を必要とするなど簡素化や小型化に適さない。一方で、直接流路を設けた締め付け板は、一般的には強度を保つ為に金属が用いられるが、絶縁や流路上の金属の腐食を防ぐ為のコーティングなど表面処理を施す必要があり簡素化が困難である。特にメタノール直接型燃料電池の場合、燃料排出側において高濃度の炭酸ガスや発電反応によって生成された中間生成物などの影響が強いため、コーティング等の処理を侵す可能性が高く、長期的な信頼性に不安がある。コーティングが侵された場合、スタックの内部短絡や液体燃料中への金属イオンの混入の恐れがある。内部短絡はスタック出力の低下だけでなく、異常加熱やMEAの破損が考えられる。また、金属イオンの流出によって燃料が汚染された場合、MEAの性能や寿命を著しく低下させることが考えられ、これらは必ず避けなければならない。
さらに、従来のスタック構造においては、セルの積層数を増やすにつれ、スタック内部の燃料供給用縦穴において液体燃料中に混入した気泡が、積層された各セルの燃料入口部分に滞留しやすくなる。このため、液体燃料の積層方向への配流が安定しなくなり出力の安定性低下及び出力低下を生じることが問題となっている。
ところで、特許文献1には、燃料ガス(水素)を使用する高分子電解質型燃料電池において、樹脂材料で構成された端板に、継ぎ手(スウェージロック社製、スウェージロック)を嵌合させることによりガス導入口とガス排出口を形成することが記載されている。
特開2003−163026号公報
本発明は、液体燃料中の気泡を分散もしくは消泡することにより液体燃料の積層方向への配流を安定化させ、出力特性が向上された液体燃料電池を提供することを目的とする。
本発明に係る液体燃料電池は、アノード及びカソードを含む単セルと、液体燃料流路及び酸化剤流路を有するセパレータとが交互に積層されたセル積層体と、
前記セル積層体の最外層に積層され、液体燃料導入口を有するエンドセパレータと、
前記エンドセパレータの前記液体燃料導入口に連結される燃料入口マニホールドを有する樹脂製マニホールドプレートと、
前記燃料入口マニホールド内に配置され、前記燃料入口マニホールドの開口面積よりも小さな開口面積の燃料通過孔を有する樹脂製の燃料絞り部材と、
前記樹脂製マニホールドプレートの前記燃料入口マニホールドに液体燃料を供給する液体燃料供給手段と
を具備することを特徴とする。
本発明によれば、液体燃料の積層方向への配流が安定した出力特性に優れた液体燃料電池を提供することができる。
以下、本発明に係る液体燃料電池の一実施形態である直接型メタノール燃料電池(DMFC)について説明する。図1は、本発明の第1の実施形態の直接型メタノール燃料電池のスタックを模式的に示した断面図で、図2は図1のスタックに用いられるセパレータを燃料流路側から見た模式的な平面図で、図3図2のセパレータのIII−III線に沿う断面図で、図4は図2のセパレータを酸化剤流路側から見た模式的な平面図で、図5は図1のスタックに用いられる下部エンドプレートの模式的な平面図で、図6は図1のスタックに用いられる上部エンドプレートの模式的な平面図で、図7は図5の下部エンドプレートに用いられる燃料絞り部材を示す平面図(a)と側面図(b)である。
図1に示すスタックは、複数の単セル1を備えたセル積層体を具備するものである。各単セル1は、高分子電解質膜2の両面に、触媒層とカーボンペーパで構成された燃料極3と酸化剤極4を一体化した膜・電極接合体(MEA)5と、このMEA5の周囲を囲むパッキン6とを備える。
単セル1は、その間にセパレータ7を介在させながら積層されている。各セパレータ7は、単セル1の燃料極3に対向する主面に図2,3に示すように蛇行形状の燃料流路8が形成されている。燃料供給の縦穴8aは、図2で言うとセパレータ7の右手前側に位置し、燃料流路8の入口と連通するように設けられている。また、燃料供給の縦穴8aは、単セル1を挟んで積層された他のセパレータ7の燃料供給の縦穴8aとも連通している。燃料流路8の出口(図2の右奥側)は、燃料排出の縦穴8bに連結されている。燃料排出の縦穴8bも、単セル1を挟んで積層された他のセパレータ7の燃料排出縦穴8bと連通している。なお、燃料供給用の縦穴8aと燃料排出用の縦穴8bは、後述する酸化剤流路9からは独立している。
このセパレータ7の反対側の主面、つまり単セル1の酸化剤極4に対向する主面に図3,4に示すように酸化剤流路9が形成されている。酸化剤供給の縦穴9aは、図4におけるセパレータ7の左奥側に位置し、酸化剤流路9の入口と連通するように設けられている。また、酸化剤供給の縦穴9aは、単セル1を挟んで積層された他のセパレータ7の酸化剤供給縦穴9aとも連通している。酸化剤流路9の出口(図4の左手前側)は、酸化剤排出の縦穴9bに連結されている。酸化剤排出の縦穴9bも、単セル1を挟んで積層された他のセパレータ7の酸化剤排出縦穴9bと連通している。なお、酸化剤供給用の縦穴9a及び酸化剤排出用の縦穴9bは、前述した燃料流路8からは独立している。
セパレータ7の各縦穴8a,8b,9a,9bは、隣接するパッキン6の縦穴6aを介して隣のセパレータ7の各縦穴8a,8b,9a,9bに連結されている。このような構成にすることにより、セル積層体には、積層方向に平行な4つの縦穴が形成され、それぞれが流路への供給管あるいは流路からの排出管としての役割を果たす。
単セル1がセパレータ7を介してスタックされたセル積層体の最上層には、単セル1の酸化剤極4が位置しているため、燃料流路8が設けられていないこと以外はセパレータ7と同様な構成を有するエンドセパレータ10aが積層されている。エンドセパレータ10aの酸化剤供給用縦穴9aと酸化剤排出用縦穴9bは、それぞれ、隣接するパッキン6の縦穴6aを介してセパレータ7の酸化剤供給用縦穴9aと酸化剤排出用縦穴9bに連結されている。エンドセパレータ10aの酸化剤供給用縦穴9aと酸化剤排出用縦穴9bは、酸化剤流路9への供給及び排出と併せて、セル積層体への酸化剤導入口とセル積層体からの酸化剤排出口としての役割も担っている。
一方、セル積層体の最下層には、単セル1の燃料極3が位置しているため、酸化剤流路9が設けられていないこと以外はセパレータ7と同様な構成を有するエンドセパレータ10bが積層されている。エンドセパレータ10bの燃料供給用縦穴8aと燃料排出用縦穴8bは、それぞれ、隣接するパッキン6の縦穴6aを介してセパレータ7の燃料供給用縦穴8aと燃料排出用縦穴8bに連結されている。また、エンドセパレータ10bの燃料供給用縦穴8aと燃料排出用縦穴8bは、燃料流路8への供給及び排出と併せて、セル積層体への液体燃料導入口とセル積層体からの液体燃料排出口としての役割も担っている。
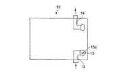
下部エンドプレートとして樹脂製のマニホールドプレート12(以下、下部マニホールドプレートと称す)には、図5に示す右手前側に燃料入口マニホールド13が形成され、かつ図5の右奥側に燃料排出マニホールド14が形成されている。燃料入口マニホールド13には、液体燃料タンクとポンプを備える液体燃料供給手段(図示しない)によって液体燃料が供給される。この下部マニホールドプレート12は、エンドセパレータ10bにその間に電流取り出し板11を介して積層され、燃料入口マニホールド13がエンドセパレータ10bの燃料導入口8aに連結され、かつ燃料排出マニホールド14がエンドセパレータ10bの燃料排出口8bに連結されている。燃料絞り部材15は、図7に示すようにリング状をした樹脂板で、外径が燃料入口マニホールド13の内径と等しく、中央の円形穴15aの開口面積が燃料入口マニホールド13の開口面積よりも小さくなっている。燃料絞り部材15は、燃料入口マニホールド13とエンドセパレータ10bの燃料導入口8aとの接続部に挿入されている。
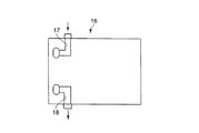
一方、上部エンドプレートとしての樹脂製のマニホールドプレート16(以下、上部マニホールドプレートと称す)には、図6に示す左奥側に酸化剤入口マニホールド17が形成され、かつ図6の左手前側に酸化剤排出マニホールド18が形成されている。この上部マニホールドプレートは、エンドセパレータ10aにその間に電流取り出し電極板11を介して積層され、酸化剤入口マニホールド17がエンドセパレータ10aの酸化剤導入口9aに接続され、かつ酸化剤排出マニホールド18がエンドセパレータ10aの酸化剤排出口9bに接続されている。
シール材19は、下部マニホールドプレート12及びエンドセパレータ10b間の隙間と、上部マニホールドプレート16及びエンドセパレータ10a間の隙間に配置され、これによりエンドセパレータ10a,10bと4つのマニホールド13,14,17,18の気密性が確保される。
金属製の締め付け板20は、上部マニホールドプレート16と下部マニホールドプレート12それぞれの外側に配置されている。これらからなるスタックをネジなどの締め付け手段によって締め付けることで複数の単セルを一体化する。
以上説明したようなスタックを備える直接型メタノール燃料電池において、液体燃料タンクに収容されたメタノール含有水溶液をポンプによって燃料入口マニホールド13を通してエンドセパレータ10bの燃料導入口8aに供給すると、各セパレータ7の燃料供給用縦穴8aに液体燃料が送液されるため、燃料供給用縦穴8aを通して各セパレータ7の燃料流路8に液体燃料が供給され、燃料流路8から燃料極3に液体燃料が供給される。未使用の液体燃料は、燃料流路8から燃料排出用縦穴8bに送られた後、エンドセパレータ10bの燃料排出口8bから燃料排出マニホールド15に送液され、燃料排出マニホールド15から液体燃料タンクに回収される。回収された液体燃料は、必要に応じて濃度調整等を行なった後、液体燃料タンクから再び燃料入口マニホールド13に供給され、燃料流路8を再循環する。
一方、空気のような酸化剤を酸化剤入口マニホールド17を通してエンドセパレータ10aの酸化剤導入口9aに供給すると、各セパレータ7の酸化剤供給用縦穴9aに酸化剤が送られるため、酸化剤供給用縦穴9aを通して各セパレータ7の酸化剤流路9に酸化剤が供給され、酸化剤流路9から酸化剤極4に供給される。酸化剤流路9から排出されたガスは、酸化剤排出用縦穴9bからエンドセパレータ10aの酸化剤排出口9b及び酸化剤排出マニホールド18を経由してスタック外部に送られる。
上述したように未使用分の液体燃料を回収して再び燃料流路8を循環させる方式にすると、回収された液体燃料の温度が発電に伴う発熱反応で高くなっているため、再循環される際にも燃料温度は室温よりも高くなる。このため、燃料供給用縦穴8aや燃料流路8内に気泡が発生しやすくなる。この気泡がスタック内部で滞留すると、各セパレータ7の燃料流路8への燃料均等分配が阻害され、出力のばらつきや低下を招く。モバイル用の小型の液体燃料電池ではポンプなどの消費電力の制約から、気泡を押し流すのに必要な過剰流量を流すことができず、また過剰流量を流したとしても、クロスオーバーによる燃料の損失が多くなるため、効率的ではない。
本願発明のように、燃料入口マニホールド13内に樹脂製の燃料絞り部材15を配置することによって、燃料絞り部材15の燃料通過孔15aの開口面積が燃料入口マニホールド13のそれよりも小さいため、燃料入口マニホールド13から供給された液体燃料が燃料絞り部材15の燃料通過孔15aを通過することにより液体流速を大きくしてエンドセパレータ10bの燃料導入口8aに送液することができ、スタック内部の縦穴8aに乱流を形成することができる。これにより、スタック内部の縦穴8aに発生した気泡を分散または消泡させることが可能となる。従って、携帯機器用液体燃料電池のように送液量が少ない燃料電池においても、液体燃料の積層方向への配流を安定化させることができる。
また、液体流速を大きくして各セパレータ7の燃料供給用縦穴8aに送液することができるため、スタックの設置方向依存性を緩和することができる。すなわち、スタック向きによらず一定の出力を得ることができ、使用形態により設置方向が変動するモバイル用液体燃料電池においても、安定した出力を得ることができる。
さらに、スタック後段の圧力変動が燃料入口マニホールド13に伝わり難くなるため、圧力変動に耐えて燃料入口マニホールド13に一定流量を送液する必要がなくなり、小型液体燃料電池用のポンプ要求性能を低めることができる。その結果、燃料電池発電装置の簡素化、低コスト化、高効率化(低消電力化)を図ることができる。
ところで、再循環される液体燃料には、発電時の副反応により生成した中間生成物(例えば、蟻酸やホルムアルデヒド)が微量であるものの、混入しやすい。燃料入口マニホールド13、燃料絞り部材15及び燃料排出マニホールド14が樹脂製であるため、これら副生成物による腐食を抑えることができ、燃料送液量を長期間に亘って一定に保つことができ、長期間に亘り安定した出力を供給することができる。
上下マニホールドプレート12,16及び燃料絞り部材15を形成するための樹脂材料としては、例えば、ポリアセタール、ポリエチレンテレフタレート、ポリエチレン、ポリカーボネート、ポリフェニレンサルファイド、ポリブチレンテレフタレート、ポリプロピレン、ポリメチルペンテン、変成ポリフェニレンエーテル、シンジオタクチックポリスチレン、ポリサルフォン、ポリエーテルサルフォン、ポリフタルアミド、ポリシクロヘキシレンジメチレンテレフタレート、ポリアリレート、ポリエーテルイミド、ポリエーテルエーテルケトン、ポリイミド、フッ素系樹脂、シリコン系樹脂のようなポリマー樹脂などを挙げることができる。形成する樹脂材料の種類は、1種類または2種類以上にすることができる。
燃料絞り部材15の燃料通過孔15aの形状は、図7に示す円形に限らず、四辺形、三角形、楕円、多角形などの様々な形状にすることが可能である。
燃料絞り部材15の燃料通過孔15aの開口面積は、燃料入口マニホールド13の開口面積よりも小さければ構わないが、十分な効果を得るためには燃料入口マニホールド13の開口面積の10〜50%程度の大きさが望ましい。
また、燃料絞り部材15は、燃料入口マニホールド13内に配置されていれば良く、どの位置に配置されているかは問わないが、十分な効果を得るためには燃料入口マニホールド13とエンドセパレータ10bとの接続部に配置することが望ましい。
さらに、燃料絞り部材15は、燃料入口マニホールド13に一体成型されていても構わない。
第一の実施形態に係る発明により得られる効果は以上のものに限られない。
1)上部マニホールドプレートと下部マニホールドプレートによる締め付け効果を期待することができるため、金属製締め付け板の厚さを薄くすることができ、液体燃料電池の軽量化を図ることができる。
2)マニホールドの加工が容易になり、低コスト化につながる。
3)金属製締め付け板を併用するため、実装時の固定や加工などの点で金属製締め付け板を使用しないものより有利である。
4)上下マニホールドプレートにより、金属製締め付け板とセル積層体間を絶縁することができる。また、セル積層体にマニホールドプレートを挟んで金属製締め付け板が配置されるため、金属製締め付け板に燃料及び酸化剤が付着するのを回避することができる。このため、別に絶縁部材を用意したり、金属製締め付け板への耐食コーティング処理などをする必要がない。
5)マニホールドは、発電スタックをシステムに組み込む際に有利な位置に配管を取り付けることにより発電システムとしての小型化に貢献することができる。また、マニホールド部を拡張し、マニホールド上に直接ポンプや冷却器などの補器類を搭載することも可能であり、複雑になりがちなシステム内部の配管を簡素化することができる。
前述した図1では、マニホールドプレートをエンドプレートして使用する例を説明したが、本発明はこれに限らず、例えば、スタックの中間層にマニホールドを配置することができる。こうすることで、より薄型化が可能になる。この一例を図8,9に示す。図8は、本発明の第2の実施形態で用いられるスタックを模式的に示した正面図で、図9は図8のスタックの右側面図である。
樹脂製マニホールドプレート21には、図8に示す左手前側に、燃料入口継手22を有する燃料入口マニホールド23が形成され、図8の右奥側に燃料排出マニホールド24が形成されている。図8に示す右手前側に酸化剤入口マニホールド(図示しない)が形成され、かつ左奥側に酸化剤排出マニホールド(図示しない)が形成されている。樹脂製マニホールドプレート21から、上下に分かれて積層されたスタック積層体25に、それぞれ燃料及び酸化剤を供給または排出する構造になっている。燃料絞り部材15は、燃料入口マニホールド23の両方の開口端に配置されている。上下に振り分けられたスタック積層体25において、樹脂製マニホールドプレート21と反対側の端部には流路口を持たないエンドプレートを設置し、2枚の金属の締め付け板20を介してネジ26を用いて締め付けが行われる。この方法であれば、樹脂製マニホールドプレートが1枚で済むため、より薄型化が可能になる。
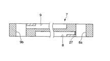
前述した第1、第2の実施形態では、燃料入口マニホールドにのみ燃料絞り部材を配置したが、図10に例示されるようにセパレータ7の燃料流路8の入口にも燃料絞り部材27(以下、セパレータ燃料絞り部材27と称す)を配置すると、燃料供給をさらに安定化することができる。セパレータ燃料絞り部材27には、前述した第1の実施形態で説明した燃料絞り部材と同様な構成のものを使用することができる。なお、燃料通過孔の開口面積は、燃料入口マニホールドの開口面積ではなく、セパレータの燃料流路の入口での流路面積を100%として規定する。また、セパレータ燃料絞り部材は、セパレータの燃料流路に切削加工などを施すことで形成し、燃料流路と一体となったものでも良い。
直接型メタノール燃料電池において、複数の単セルを多段に積層してスタックを構成する場合、積層した各単セルのセパレータへの燃料供給が均一に行われることが望ましい。スタックにおいて発電が行われると、各単セルで、燃料極(アノード)で二酸化炭素などのガスが発生し、酸化剤極(カソード)では水が生成する。これらは、実際問題として積層した各単セルで均一に発電が行われるわけではなく、液体や気体の「流れ」が単セルごとに時々刻々と変化している。特に、発電によって生じた水やガスは、出口付近で燃料流路内部圧力の揺らぎを生じさせる。こうなると、燃料流路入り口側付近にまで圧力変動が効いてしまうため、燃料が「入りやすいセル」と「入りにくいセル」が時系列的にばらばらと発生することになり、各セルの電圧や出力のばらつきが大きくなり、結果としてスタックの出力が低下する。
そこで、セパレータの燃料流路の入口に燃料絞り部材を配置し、入口での圧力損失を意図的に大きくすることによって、流路後段の圧力変動よりも大きな圧力損失が入口に意図的に形成されるため、流路後段側の圧力の影響を受け難くすることができる。その結果、流路全体の圧力損失が多少大きくなるものの、低流量で安定した積層配流を達成することができる。その反面、燃料流路の入口が狭くなるため、液体燃料中の気泡などが絞り部材の箇所で滞留しやすくなるが、本願では、燃料入口マニホールドに配置された絞り部材により液体燃料の気泡を少なくすることができるため、このような問題が生じるのを回避することができる。
従って、セパレータの燃料流路と燃料入口マニホールドの双方に燃料絞り部材を配置することによって、低流量で液体燃料を供給する際の積層方向への配流を最も安定化させることができる。
図11及び図12に、燃料絞り部材を設置した第1の実施形態の直接型メタノール燃料電池と燃料絞り部材を設置しなかった直接型メタノール燃料電池(比較例)における、スタック各単セルの電圧の経時変化を示す。なお、燃料供給速度は、比較例の燃料電池において均一な配流を得るのに必要な流量をYmL/minとした際、これの0.6倍の流量(Y×0.6mL/min)とした。また、第1の実施形態の燃料電池における燃料絞り部材の燃料通過孔の開口面積を燃料マニホールドの開口面積の40%とした。
図11から明らかなように、第1の実施形態の燃料電池によると、配流が安定し、スタック各セルの電圧が安定することにより各セル電圧が向上し、結果として出力が向上していることが分かる。
これに対し、図12(比較例)では、各セルの電圧がばらつき、燃料の気泡詰まりによる電圧の急激な低下などが確認される。
一方で、液体燃料型の燃料電池に固有の問題として、スタックの設置方向依存性が挙げられる。特に循環液体燃料を使用するDMFCなどでは、先述したように燃料温度が室温よりも高いため、燃料中に気泡が発生する。この気泡の流れ方向は重力に依存するため、燃料の配流方向がスタック内部の配流安定性に影響を与える。図13及び図14に、燃料絞り部材を設置しなかった直接型メタノール燃料電池(比較例)におけるスタックの基準位置より液体燃料を供給したときと、基準位置から180度回転(上下反転)させたときにおける各セル電圧の変動を比較して示した。図14からも明らかなように、基準位置から上下反転させたものは、図13の基準位置に設置したスタックに比べ、セル電圧のばらつきが多く観測されている。これは、スタックの燃料用縦穴部に発生した気泡の浮力方向に液体燃料が流れた場合(基準位置)と、気泡の浮力に逆らう方向に液体燃料が流れた場合(上下反転)に相当し、滞留した気泡の重力的な影響が現れていることが原因である(酸化剤側(空気側)は、発生する水などの重力影響を取り除ける条件下で実験している)。
これに対し、図15は燃料絞り部材を設置した第1の実施形態の直接型メタノール燃料電池スタックにおいて、上下反転位置に設置したスタックの各単セル電圧を示している。図14で見られたような燃料側の重力影響によるセル電圧のばらつきは観測されていないことから、本発明により重力方向に依らず配流が安定化していることが分かる。
これらの現象は、液体燃料を使用する燃料電池に固有の問題であり、前述した特許文献1に示されるようなPEM型の燃料電池においては、燃料として水素ガスなどの気体を使用することから、このような問題は生じない。従って、同じ樹脂材料を利用する燃料電池とはいえ、本発明のように液体燃料に特有の問題を解決したものとは趣旨が異なるといえる。
一方で、液体燃料型の燃料電池において構成材料の防食のため、樹脂材料を使用する先行技術も存在するが、本発明は小型燃料電池の開発において鍵となる「低流量化(低動力化)とスタック内部の配流安定化」という相反する問題を解決することに主眼がある。
なお、本発明は上記実施形態そのままに限定されるものではなく、実施段階ではその要旨を逸脱しない範囲で構成要素を変形して具体化できる。また、上記実施形態に開示されている複数の構成要素の適宜な組み合わせにより、種々の発明を形成できる。例えば、実施形態に示される全構成要素から幾つかの構成要素を削除してもよい。さらに、異なる実施形態にわたる構成要素を適宜組み合わせてもよい。
本発明の第1の実施形態の直接型メタノール燃料電池のスタックを模式的に示した断面図。 図1のスタックに用いられるセパレータを燃料流路側から見た模式的な平面図。 図2のセパレータのIII−III線に沿う断面図。 図2のセパレータを酸化剤流路側から見た模式的な平面図。 図1のスタックに用いられる下部マニホールドプレートの模式的な平面図。 図1のスタックに用いられる上部マニホールドプレートの模式的な平面図。 図5の下部マニホールドプレートに用いられる燃料絞り部材を示す平面図(a)と側面図(b)。 本発明の第2の実施形態の直接型メタノール燃料電池で用いられるスタックを模式的に示した正面図。 図8のスタックの右側面図。 本発明の第3の実施形態の直接型メタノール燃料電池で用いられるセパレータを模式的に示した部分断面図。 本発明の第1の実施形態の直接型メタノール燃料電池における各単セルの電圧経時変化を示す特性図。 比較例の直接型メタノール燃料電池における各単セルの電圧経時変化を示す特性図。 比較例における直接メタノール燃料電池を基準方向に設置した際の各単セル電圧の経時変化を示す特性図。 比較例における直接メタノール燃料電池を基準方向から180度反転させた際の各単セル電圧の経時変化を示す特性図。 本発明の第1の実施形態の直接メタノール燃料電池を基準方向から180度反転させた際の各単セル電圧の経時変化を示す特性図。
符号の説明
1…単セル、2…高分子電解質膜、5…MEA、7…セパレータ、8…燃料流路、8a…燃料供給用縦穴、8b…燃料排出用縦穴、9…酸化剤流路、9a…酸化剤供給用縦穴、9b…酸化剤排出用縦穴、10a,10b…エンドセパレータ、11…電流取り出し電極、12…下部マニホールドプレート、13,23…燃料入口マニホールド、14,24…燃料排出マニホールド、15…燃料絞り部材、15a…燃料通過孔、16…上部マニホールドプレート、17…酸化剤入口マニホールド、18…酸化剤排出マニホールド、19…シール材、20…締め付け板、21…樹脂製マニホールドプレート(中間型)、22…燃料入口継ぎ手、25…スタック積層体、27…セパレータ燃料絞り部材。

Claims (4)

  1. アノード及びカソードを含む単セルと、液体燃料流路及び酸化剤流路を有するセパレータとが交互に積層されたセル積層体と、
    前記セル積層体の最外層に積層され、液体燃料導入口を有するエンドセパレータと、
    前記エンドセパレータの前記液体燃料導入口に連結される燃料入口マニホールドを有する樹脂製マニホールドプレートと、
    前記燃料入口マニホールド内に配置され、前記燃料入口マニホールドの開口面積よりも小さな開口面積の燃料通過孔を有する樹脂製の燃料絞り部材と、
    前記樹脂製マニホールドプレートの前記燃料入口マニホールドに液体燃料を供給する液体燃料供給手段と
    を具備することを特徴とする液体燃料電池。
  2. 前記マニホールドプレート及び前記燃料絞り部材は、それぞれ、ポリアセタール、ポリエチレンテレフタレート、ポリエチレン、ポリカーボネート、ポリフェニレンサルファイド、ポリブチレンテレフタレート、ポリプロピレン、ポリメチルペンテン、変成ポリフェニレンエーテル、シンジオタクチックポリスチレン、ポリサルフォン、ポリエーテルサルフォン、ポリフタルアミド、ポリシクロヘキシレンジメチレンテレフタレート、ポリアリレート、ポリエーテルイミド、ポリエーテルエーテルケトン、ポリイミド、フッ素系樹脂及びシリコン系樹脂よりなる群から選択される少なくとも1種類のポリマー樹脂から形成されていることを特徴とする請求項1記載の液体燃料電池。
  3. 前記燃料通過孔の開口面積は、前記燃料入口マニホールドの開口面積の10%〜50%の範囲であることを特徴とする請求項1または2記載の液体燃料電池。
  4. 前記セパレータの前記液体燃料流路の入口に配置され、前記入口での流路断面積よりも小さな開口面積の燃料通過孔を有する樹脂製のセパレータ燃料絞り部材をさらに備えることを特徴とする請求項1〜3いずれか1項記載の液体燃料電池。
JP2004106159A 2004-03-31 2004-03-31 液体燃料電池 Expired - Fee Related JP3878619B2 (ja)

Priority Applications (2)

Application Number Priority Date Filing Date Title
JP2004106159A JP3878619B2 (ja) 2004-03-31 2004-03-31 液体燃料電池
US11/090,791 US20050221159A1 (en) 2004-03-31 2005-03-25 Liquid fuel cell

Applications Claiming Priority (1)

Application Number Priority Date Filing Date Title
JP2004106159A JP3878619B2 (ja) 2004-03-31 2004-03-31 液体燃料電池

Publications (2)

Publication Number Publication Date
JP2005293981A true JP2005293981A (ja) 2005-10-20
JP3878619B2 JP3878619B2 (ja) 2007-02-07

Family

ID=35054717

Family Applications (1)

Application Number Title Priority Date Filing Date
JP2004106159A Expired - Fee Related JP3878619B2 (ja) 2004-03-31 2004-03-31 液体燃料電池

Country Status (2)

Country Link
US (1) US20050221159A1 (ja)
JP (1) JP3878619B2 (ja)

Cited By (2)

* Cited by examiner, † Cited by third party
Publication number Priority date Publication date Assignee Title
US7582376B2 (en) 2004-09-29 2009-09-01 Kabushiki Kaisha Toshiba Proton conductive polymer and fuel cell using the same
JP2015098946A (ja) * 2013-11-18 2015-05-28 株式会社ティラド 燃料電池循環水用熱交換器

Families Citing this family (6)

* Cited by examiner, † Cited by third party
Publication number Priority date Publication date Assignee Title
EP1594182B1 (en) * 2004-04-27 2008-01-02 Matsushita Electric Industrial Co., Ltd. Fuel cell system
JP2006269409A (ja) * 2005-02-22 2006-10-05 Mitsubishi Materials Corp 固体酸化物形燃料電池
CN100568603C (zh) * 2005-10-27 2009-12-09 日产自动车株式会社 燃料电池堆的流体通路结构
JP5217172B2 (ja) * 2006-03-22 2013-06-19 日産自動車株式会社 燃料電池スタック構造
JP4598739B2 (ja) * 2006-09-20 2010-12-15 株式会社日立製作所 燃料電池
US20090123784A1 (en) * 2007-09-13 2009-05-14 Pavlik Thomas J Fuel cell module

Family Cites Families (3)

* Cited by examiner, † Cited by third party
Publication number Priority date Publication date Assignee Title
US6017648A (en) * 1997-04-15 2000-01-25 Plug Power, L.L.C. Insertable fluid flow passage bridgepiece and method
JP4424863B2 (ja) * 2001-02-23 2010-03-03 三洋電機株式会社 燃料電池
JP2003297386A (ja) * 2002-04-08 2003-10-17 Nisshinbo Ind Inc 燃料電池セパレータ及びその製造方法

Cited By (2)

* Cited by examiner, † Cited by third party
Publication number Priority date Publication date Assignee Title
US7582376B2 (en) 2004-09-29 2009-09-01 Kabushiki Kaisha Toshiba Proton conductive polymer and fuel cell using the same
JP2015098946A (ja) * 2013-11-18 2015-05-28 株式会社ティラド 燃料電池循環水用熱交換器

Also Published As

Publication number Publication date
JP3878619B2 (ja) 2007-02-07
US20050221159A1 (en) 2005-10-06

Similar Documents

Publication Publication Date Title
EP2461403B1 (en) Air-cooled metal separator for fuel cell and fuel cell stack using same
JP4417224B2 (ja) 燃料電池スタック
US9368813B2 (en) Drainage structure for gas outlet region in fuel cell stack
JP2012212678A (ja) 燃料電池
CN103250290A (zh) 燃料电池和燃料电池组
CN100573990C (zh) 固体高分子型燃料电池
JP2017041404A (ja) 燃料電池用ガス流路形成板及び燃料電池スタック
CN102005594A (zh) 燃料电池组
US20120231373A1 (en) Fuel cell separator and fuel cell including same
JP3878619B2 (ja) 液体燃料電池
JP2013500569A (ja) 燃料電池用金属分離板及びこれを備える燃料電池スタック
JP5312830B2 (ja) 燃料電池および燃料電池車両
US7662502B2 (en) Fuel cell system
JP2009224194A (ja) 燃料電池スタック
JP5137515B2 (ja) 燃料電池スタック
US8815464B2 (en) Fuel cell
US9105915B2 (en) Fuel cell stack coupled to a humidifier via an inclined channel
JP2006059652A (ja) 燃料電池システム
CN111224133A (zh) 燃料电池系统
US8268506B2 (en) Fuel cell structure and separator plate for use therein
JP4739880B2 (ja) 固体高分子形燃料電池
US20090142646A1 (en) Direct methanol fuel cell stack including flow restrictor and direct methanol fuel cell including the same
JP5021698B2 (ja) 燃料電池スタック
US12381237B2 (en) Fuel cell stack
JP2004047155A (ja) 燃料電池

Legal Events

Date Code Title Description
A977 Report on retrieval

Free format text: JAPANESE INTERMEDIATE CODE: A971007

Effective date: 20060626

A131 Notification of reasons for refusal

Free format text: JAPANESE INTERMEDIATE CODE: A131

Effective date: 20060801

A521 Request for written amendment filed

Free format text: JAPANESE INTERMEDIATE CODE: A523

Effective date: 20060915

TRDD Decision of grant or rejection written
A01 Written decision to grant a patent or to grant a registration (utility model)

Free format text: JAPANESE INTERMEDIATE CODE: A01

Effective date: 20061031

A61 First payment of annual fees (during grant procedure)

Free format text: JAPANESE INTERMEDIATE CODE: A61

Effective date: 20061102

FPAY Renewal fee payment (event date is renewal date of database)

Free format text: PAYMENT UNTIL: 20101110

Year of fee payment: 4

LAPS Cancellation because of no payment of annual fees