JP2005293859A - 非水電解液電池 - Google Patents
非水電解液電池 Download PDFInfo
- Publication number
- JP2005293859A JP2005293859A JP2004102599A JP2004102599A JP2005293859A JP 2005293859 A JP2005293859 A JP 2005293859A JP 2004102599 A JP2004102599 A JP 2004102599A JP 2004102599 A JP2004102599 A JP 2004102599A JP 2005293859 A JP2005293859 A JP 2005293859A
- Authority
- JP
- Japan
- Prior art keywords
- winding
- electrode
- separator
- current collector
- negative electrode
- Prior art date
- Legal status (The legal status is an assumption and is not a legal conclusion. Google has not performed a legal analysis and makes no representation as to the accuracy of the status listed.)
- Pending
Links
Images
Classifications
-
- Y—GENERAL TAGGING OF NEW TECHNOLOGICAL DEVELOPMENTS; GENERAL TAGGING OF CROSS-SECTIONAL TECHNOLOGIES SPANNING OVER SEVERAL SECTIONS OF THE IPC; TECHNICAL SUBJECTS COVERED BY FORMER USPC CROSS-REFERENCE ART COLLECTIONS [XRACs] AND DIGESTS
- Y02—TECHNOLOGIES OR APPLICATIONS FOR MITIGATION OR ADAPTATION AGAINST CLIMATE CHANGE
- Y02E—REDUCTION OF GREENHOUSE GAS [GHG] EMISSIONS, RELATED TO ENERGY GENERATION, TRANSMISSION OR DISTRIBUTION
- Y02E60/00—Enabling technologies; Technologies with a potential or indirect contribution to GHG emissions mitigation
- Y02E60/10—Energy storage using batteries
-
- Y—GENERAL TAGGING OF NEW TECHNOLOGICAL DEVELOPMENTS; GENERAL TAGGING OF CROSS-SECTIONAL TECHNOLOGIES SPANNING OVER SEVERAL SECTIONS OF THE IPC; TECHNICAL SUBJECTS COVERED BY FORMER USPC CROSS-REFERENCE ART COLLECTIONS [XRACs] AND DIGESTS
- Y02—TECHNOLOGIES OR APPLICATIONS FOR MITIGATION OR ADAPTATION AGAINST CLIMATE CHANGE
- Y02P—CLIMATE CHANGE MITIGATION TECHNOLOGIES IN THE PRODUCTION OR PROCESSING OF GOODS
- Y02P70/00—Climate change mitigation technologies in the production process for final industrial or consumer products
- Y02P70/50—Manufacturing or production processes characterised by the final manufactured product
Landscapes
- Secondary Cells (AREA)
- Battery Electrode And Active Subsutance (AREA)
Abstract
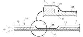
【解決手段】負極5に、金属リチウム箔25が無く、負極集電体26が露出する部分30を設け、この露出部分30にセパレータ6を固着する。固着方法としては、粘着テープ31による方法のほか、熱溶融性のフィルムを用いた熱溶着を挙げることができる。そして、露出部分30を捲回中心として、正負極4・5およびセパレータ6を捲回して、電極捲回体3を作製する。
【選択図】図1
Description
正極合剤をシート状に成形して、幅36mm、長さ51mmと、幅36mm長さ61mmの二枚の正極シート20・21を作製した。集電体22としては、カーボンペーストを塗布した厚さ0.2mm、幅32mm、長さ56mmのSUS集電網を用いた。正極シート20・21の間に、集電体22を挟み込み、捲回始端部S側をプレス固定して、図2(b)に示すような正極4を作製した。
図6に示す手順で、電極捲回体を作製した。具体的には、まず長さ160mm、厚さ0.01mmの負極集電体26としての銅箔を捲回芯33に1周巻き込んだ。次に、正負極4・5とセパレータ6とからなる積層体40を負極集電体26上に載置して、捲回芯33で捲回して電極捲回体を作製した。ここでの正極4は、実施例1と同じものを用いた。負極5は、長さ130mm、幅37mmの金属リチウム箔25を用いた。セパレータ6は、幅44mm、長さ0.025mm、長さ160mmのPP不織布を用いた。
負極集電体26である銅箔とセパレータ6とを、該銅箔の幅方向の端部の全部にわたって結合したこと以外は、実施例1と同様にして、電極捲回体を作製した。
3 電極捲回体
4 正極
5 負極
6 セパレータ
20 正極シート
21 負極シート
22 集電体
25 金属リチウム箔
26 負極集電体
30 露出部分
31 粘着テープ
33 捲回芯
Claims (4)
- 集電体上に正極活物質を含有する活物質層を形成してなるシート状の正極と、集電体上に負極活物質を含有する活物質層を形成してなるシート状の負極とを含み、これら正・負極をセパレータを介して渦巻き状に捲回してなる電極捲回体を備える非水電解液電池において、
前記正極又は負極の集電体の少なくとも一方には、前記活物質層の無い前記集電体が露出する部分が設けられており、この露出部分に前記セパレータが固着されていることを特徴とする非水電解液電池。 - 前記露出部分に、前記セパレータが粘着テープを介して固着されている請求項1記載の非水電解液電池。
- 前記セパレータが、熱溶着により前記露出部分に固着されている請求項1又は請求項2記載の非水電解液電池。
- 前記電極捲回体が、前記露出部分を捲回中心として、正・負極およびセパレータを捲回してなるものである請求項1乃至3のいずれかに記載の非水電解液電池。
Priority Applications (1)
| Application Number | Priority Date | Filing Date | Title |
|---|---|---|---|
| JP2004102599A JP2005293859A (ja) | 2004-03-31 | 2004-03-31 | 非水電解液電池 |
Applications Claiming Priority (1)
| Application Number | Priority Date | Filing Date | Title |
|---|---|---|---|
| JP2004102599A JP2005293859A (ja) | 2004-03-31 | 2004-03-31 | 非水電解液電池 |
Publications (1)
| Publication Number | Publication Date |
|---|---|
| JP2005293859A true JP2005293859A (ja) | 2005-10-20 |
Family
ID=35326583
Family Applications (1)
| Application Number | Title | Priority Date | Filing Date |
|---|---|---|---|
| JP2004102599A Pending JP2005293859A (ja) | 2004-03-31 | 2004-03-31 | 非水電解液電池 |
Country Status (1)
| Country | Link |
|---|---|
| JP (1) | JP2005293859A (ja) |
Cited By (5)
| Publication number | Priority date | Publication date | Assignee | Title |
|---|---|---|---|---|
| WO2011105285A1 (ja) * | 2010-02-23 | 2011-09-01 | Tdk株式会社 | 電気化学デバイス、及び、電気化学デバイスの製造方法 |
| JP2011175762A (ja) * | 2010-02-23 | 2011-09-08 | Tdk Corp | 電気化学デバイスの製造方法 |
| WO2011043587A3 (ko) * | 2009-10-07 | 2011-11-03 | 에스케이이노베이션 주식회사 | 전지용 전극조립체 및 그 제조방법 |
| WO2016174991A1 (ja) * | 2015-04-28 | 2016-11-03 | 日立オートモティブシステムズ株式会社 | 二次電池 |
| JP2018195576A (ja) * | 2017-05-18 | 2018-12-06 | パナソニックIpマネジメント株式会社 | リチウム二次電池 |
-
2004
- 2004-03-31 JP JP2004102599A patent/JP2005293859A/ja active Pending
Cited By (12)
| Publication number | Priority date | Publication date | Assignee | Title |
|---|---|---|---|---|
| WO2011043587A3 (ko) * | 2009-10-07 | 2011-11-03 | 에스케이이노베이션 주식회사 | 전지용 전극조립체 및 그 제조방법 |
| KR101103499B1 (ko) | 2009-10-07 | 2012-01-06 | 에스케이이노베이션 주식회사 | 전지용 전극조립체 및 그 제조방법 |
| WO2011105285A1 (ja) * | 2010-02-23 | 2011-09-01 | Tdk株式会社 | 電気化学デバイス、及び、電気化学デバイスの製造方法 |
| JP2011175762A (ja) * | 2010-02-23 | 2011-09-08 | Tdk Corp | 電気化学デバイスの製造方法 |
| CN102804474A (zh) * | 2010-02-23 | 2012-11-28 | Tdk株式会社 | 电化学装置以及电化学装置的制造方法 |
| CN105186028A (zh) * | 2010-02-23 | 2015-12-23 | Tdk株式会社 | 电化学装置以及电化学装置的制造方法 |
| US9236632B2 (en) | 2010-02-23 | 2016-01-12 | Tdk Corporation | Electrochemical device and method for manufacturing electrochemical device |
| CN102804474B (zh) * | 2010-02-23 | 2016-01-27 | Tdk株式会社 | 电化学装置以及电化学装置的制造方法 |
| WO2016174991A1 (ja) * | 2015-04-28 | 2016-11-03 | 日立オートモティブシステムズ株式会社 | 二次電池 |
| JPWO2016174991A1 (ja) * | 2015-04-28 | 2018-02-08 | 日立オートモティブシステムズ株式会社 | 二次電池 |
| JP2018195576A (ja) * | 2017-05-18 | 2018-12-06 | パナソニックIpマネジメント株式会社 | リチウム二次電池 |
| JP6998551B2 (ja) | 2017-05-18 | 2022-02-10 | パナソニックIpマネジメント株式会社 | リチウム二次電池 |
Similar Documents
| Publication | Publication Date | Title |
|---|---|---|
| JP7411925B2 (ja) | 端子付き密閉型電池の製造方法および端子付き密閉型電池 | |
| US20230036396A1 (en) | Secondary battery | |
| CN102057521A (zh) | 卷绕型电极组及电池 | |
| JP2009110751A (ja) | 二次電池 | |
| JPWO2019194182A1 (ja) | 円筒形電池 | |
| JP4359809B2 (ja) | 蓄電素子モジュール及びその製造方法 | |
| JP2010244865A (ja) | ラミネート形電池 | |
| JP7190018B2 (ja) | 筒形非水電解液一次電池 | |
| JP5360795B2 (ja) | 非水電解液電池 | |
| JPWO2023013617A5 (ja) | ||
| WO2023013617A1 (ja) | 円筒形リチウム一次電池 | |
| JP4968768B2 (ja) | 筒形非水電解液電池 | |
| JP2005293859A (ja) | 非水電解液電池 | |
| JP2008192383A (ja) | 筒形非水電解液一次電池 | |
| JP2006139918A (ja) | 筒形非水電解液電池 | |
| JP2008192524A (ja) | 筒形非水電解液一次電池 | |
| JP4151840B2 (ja) | 非水電解液電池 | |
| JP4079326B2 (ja) | 非水電解液電池 | |
| JP2011108538A (ja) | ラミネート形電池 | |
| JP4129955B2 (ja) | 電池および電池の製造方法 | |
| JP4993859B2 (ja) | 非水電解液一次電池 | |
| JP4129965B2 (ja) | 非水電解液電池 | |
| JP4129966B2 (ja) | 非水電解液電池 | |
| JP2011154788A (ja) | 電池 | |
| JP5294247B2 (ja) | 非水電解液電池 |
Legal Events
| Date | Code | Title | Description |
|---|---|---|---|
| A621 | Written request for application examination |
Free format text: JAPANESE INTERMEDIATE CODE: A621 Effective date: 20061023 |
|
| RD02 | Notification of acceptance of power of attorney |
Free format text: JAPANESE INTERMEDIATE CODE: A7422 Effective date: 20061028 |
|
| RD02 | Notification of acceptance of power of attorney |
Free format text: JAPANESE INTERMEDIATE CODE: A7422 Effective date: 20070709 |
|
| A977 | Report on retrieval |
Free format text: JAPANESE INTERMEDIATE CODE: A971007 Effective date: 20090706 |
|
| A131 | Notification of reasons for refusal |
Free format text: JAPANESE INTERMEDIATE CODE: A131 Effective date: 20090708 |
|
| A02 | Decision of refusal |
Free format text: JAPANESE INTERMEDIATE CODE: A02 Effective date: 20091118 |
