JP2005293843A - 光記録媒体への情報記録方法、光記録媒体への情報記録装置および光記録媒体 - Google Patents

光記録媒体への情報記録方法、光記録媒体への情報記録装置および光記録媒体 Download PDF

Info

Publication number
JP2005293843A
JP2005293843A JP2005155793A JP2005155793A JP2005293843A JP 2005293843 A JP2005293843 A JP 2005293843A JP 2005155793 A JP2005155793 A JP 2005155793A JP 2005155793 A JP2005155793 A JP 2005155793A JP 2005293843 A JP2005293843 A JP 2005293843A
Authority
JP
Japan
Prior art keywords
recording
power
layer
recording medium
information
Prior art date
Legal status (The legal status is an assumption and is not a legal conclusion. Google has not performed a legal analysis and makes no representation as to the accuracy of the status listed.)
Pending
Application number
JP2005155793A
Other languages
English (en)
Inventor
Tatsuya Kato
達也 加藤
Hideki Hirata
秀樹 平田
Current Assignee (The listed assignees may be inaccurate. Google has not performed a legal analysis and makes no representation or warranty as to the accuracy of the list.)
TDK Corp
Original Assignee
TDK Corp
Priority date (The priority date is an assumption and is not a legal conclusion. Google has not performed a legal analysis and makes no representation as to the accuracy of the date listed.)
Filing date
Publication date
Application filed by TDK Corp filed Critical TDK Corp
Priority to JP2005155793A priority Critical patent/JP2005293843A/ja
Publication of JP2005293843A publication Critical patent/JP2005293843A/ja
Pending legal-status Critical Current

Links

Images

Landscapes

  • Optical Head (AREA)
  • Optical Record Carriers And Manufacture Thereof (AREA)
  • Optical Recording Or Reproduction (AREA)

Abstract

【課題】 高い記録線速度で、追記型の光記録媒体に情報を記録することができる光記録媒体への情報記録方法を提供することを目的とする。
【解決手段】 基板11と基板上に形成された記録層14を備えた追記型の光記録媒体10に、記録パワーPwおよび第一の基底パワーPb1を含むパルス列パターンにしたがって変調されたレーザビームを照射し、記録層を物理的及び/又は化学的に変化させて、記録層に少なくとも二つの記録マークを形成して、情報を記録する方法であって、5m/sec以上の第1の記録線速度で、情報を記録する場合の第一の基底パワーPb1と記録パワーPwとの比をALとし、10m/sec以上の第2の記録線速度で、情報を記録する場合の第一の基底パワーPb1と記録パワーPwとの比をAHとしたときに、AH>ALを満たすように、それぞれの第一の基底パワーPb1および記録パワーPwを設定することを特徴とする光記録媒体への情報記録方法。
【選択図】 図1

Description

本発明は、光記録媒体への情報記録方法、光記録媒体への情報記録装置および光記録媒体に関するものであり、さらに詳細には、高い記録線速度で、追記型の光記録媒体に、情報を記録するのに適した光記録媒体への情報記録方法および情報記録装置ならびに高い記録線速度で、情報を記録するのに適した追記型の光記録媒体に関するものである。
従来より、デジタルデータを記録するための記録媒体として、CDやDVDに代表される光記録媒体が広く利用されている。これらの光記録媒体は、CD−ROMやDVD−ROMのように、データの追記や書き換えができないタイプの光記録媒体(ROM型光記録媒体)と、CD−RやDVD−Rのように、データの追記はできるが、データの書き換えができないタイプの光記録媒体(追記型光記録媒体)と、CD−RWやDVD−RWのように、データの書き換えが可能なタイプの光記録媒体(書き換え型光記録媒体)とに大別することができる。
広く知られているように、ROM型光記録媒体においては、製造段階において基板に形成されるプリピットにより、データが記録されることが一般的であり、書き換え型光記録媒体においては、たとえば、記録層の材料として相変化材料が用いられ、その相状態の変化に起因する光学特性の変化を利用して、データが記録されることが一般的である。
これに対し、追記型光記録媒体においては、記録層の材料として、シアニン系色素、フタロシアニン系色素、アゾ色素などの有機色素が用いられ、その化学的変化あるいは化学的変化および物理的変化に起因する光学特性の変化を利用して、データが記録されることが一般的である。
また、二層の記録層が積層された追記型光記録媒体も知られており(たとえば、特開昭62−204442号公報参照)、この光記録媒体においては、レーザビームを照射することによって、二層の記録層を構成する元素を混合させて、周囲の領域とは異なる光学特性を有する領域を形成し、この領域を記録マークとして用いることによって、データが記録される。
記録マークを形成するために照射するレーザビームの最適な強度変調方法は、一般的に「パルス列パターン」あるいは「記録ストラテジ」と呼ばれているが、本明細書においては、「パルス列パターン」と称する。
図9は、有機色素を用いた記録層を有するCD−Rに、データを記録する場合の代表的なパルス列パターンを示す図であり、EFM変調方式における3T信号ないし11T信号を記録する場合のパルス列パターンを示している。
図9に示されるように、CD−Rにデータを記録する場合には、一般に、形成すべき記録マークMの長さに相当する幅の記録パルスが用いられる(たとえば、特開2000−187842号公報参照)。
すなわち、レーザビームの強度は、記録マークMを形成しないブランク領域においては、基底パワーPbに固定され、記録マークMを形成すべき領域において記録パワーPwに固定される。その結果、記録マークMを形成すべき領域においては、記録層に含まれる有機色素が分解、変質し、場合によっては、その領域が変形することによって、記録マークMが形成される。ここに、CD−Rの等倍速における記録線速度は約1.2m/secである。
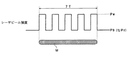
図10は、有機色素を用いた記録層を有するDVD−Rに、データを記録する場合の代表的なパルス列パターンを示す図であり、8/16変調方式における7T信号を記録する場合のパルス列パターンを示している。
DVD−Rに対しては、CD−Rに比して、高い記録線速度で、データの記録が行われるため、CD−Rにデータを記録する場合のように、記録マークMの長さに相当する幅の記録パルスを用いる場合には、良好な形状の記録マークMを形成することが困難である。
このため、DVD−Rにデータを記録する場合には、図10に示されるように、形成すべき一つの記録マークMに対し、その長さに応じた数に分割されたパルス列を用いて、データが記録される。
具体的には、nT信号(nは、8/16変調方式においては、3ないし11および14の整数である。)を形成するために、(n−2)個の分割パルスを用い、レーザビームのパワーは、分割パルスのピークにおいては、記録パワーPwに、その他においては、基底パワーPbに設定される。本明細書においては、このようなパルス列パターンを「基本パルス列パターン」という。ここに、DVD−Rの等倍速における記録線速度は約3.5m/secである。
図10に示されるように、基本パルス列パターンにおいては、基底パワーPbのレベルは、データ再生に用いられる再生パワーPrと等しいか、あるいは、これに近いレベルに設定されている。
一方、近年、データの記録密度が高められ、かつ、非常に高いデータ転送レートを実現可能な次世代型の光記録媒体が提案されている。
このような次世代型の光記録媒体においては、高いデータ転送レートを実現するため、従来の光記録媒体に比べて、高い記録線速度で、データを記録することが要求されるが、一般に、追記型の光記録媒体においては、記録マークの形成に必要な記録パワーPwは、記録線速度の平方根に略比例するため、次世代型の光記録媒体に、データを記録する場合には、高出力の半導体レーザを用いることが必要とされる。
また、次世代型の光記録媒体においては、記録容量を高めるとともに、非常に高いデータ転送レートを実現するため、必然的に、データの記録・再生に用いるレーザビームのビームスポット径を非常に小さく絞ることが要求される。
レーザビームのビームスポット径を小さく絞るためには、レーザビームを集束するための対物レンズの開口数(NA)を0.7以上、たとえば、0.85程度まで大きくするとともに、レーザビームの波長λを450nm以下、たとえば、400nm程度まで、短くすることが必要になる。
しかしながら、780nmの波長λを有するレーザビームを発するCD用の半導体レーザや、650nmの波長λを有するレーザビームを発するDVD用の半導体レーザに比して、450nm以下の波長λを有する半導体レーザは出力が小さく、また、出力が高い半導体レーザは高価であるという問題がある。
その結果、次世代型の光記録媒体においては、基本パルス列パターンを用いて、高いデータ転送レートで、データを記録することが困難であり、とくに、5m/sec以上の記録線速度で、データを記録する場合に、深刻な問題となっていた。
したがって、本発明は、高い記録線速度で、追記型の光記録媒体に情報を記録することができる光記録媒体への情報記録方法を提供することを目的とするものである。
また、本発明の別の目的は、高い記録線速度で、追記型の光記録媒体に情報を記録することができる光記録媒体への情報記録装置を提供することにある。
さらに、本発明の他の目的は、高い記録線速度で、情報を記録することができる追記型の光記録媒体を提供することにある。
本発明のかかる目的は、基板と前記基板上に形成された記録層を備えた追記型の光記録媒体に、少なくとも記録パワーPwおよび第一の基底パワーPb1を含むパルス列パターンにしたがって変調されたレーザビームを照射し、前記記録層を物理的及び/又は化学的に変化させて、前記記録層に少なくとも二つの記録マークを形成して、情報を記録する方法であって、5m/sec以上の第1の記録線速度で、情報を記録する場合の前記第一の基底パワーと前記記録パワーとの比をALとし、10m/sec以上の第2の記録線速度で、情報を記録する場合の前記第一の基底パワーと前記記録パワーとの比をAHとしたときに、AH>ALを満たすように、それぞれの第一の基底パワーおよび記録パワーを設定することを特徴とする光記録媒体への情報記録方法によって達成される。
本発明の好ましい実施態様においては、1.5×AL<AH<5.0×ALを満たすように、それぞれの第一の基底パワーおよび記録パワーが設定される。
本発明のさらに好ましい実施態様においては、2.5×AL<AH<4.0×ALを満たすように、それぞれの第一の基底パワーおよび記録パワーが設定される。
本発明の好ましい実施態様においては、前記記録パワーからなるパルスが、前記記録マークの長さに対応する数の分割パルスによって構成されている。
本発明のさらに好ましい実施態様においては、前記記録パワーからなるパルスの後に、前記第一の基底パワーよりも強度の低い第二の基底パワーを含むパルス列パターンにしたがって、レーザビームのパワーを変調するように構成されている。
本発明の好ましい実施態様においては、前記光記録媒体に、450nm以下の波長を有するレーザビームを照射して、情報を記録するように構成されている。
本発明の好ましい実施態様においては、λ/NA≦640nmを満たす開口数NAを有する対物レンズおよび波長λを有するレーザビームを用い、前記対物レンズを介して、前記光記録媒体に、レーザビームを照射して、情報を記録するように構成されている。
本発明の好ましい実施態様においては、前記光記録媒体が、さらに、光透過層を備え、前記記録層が、前記基板と前記光透過層の間に形成され、第一の反応層と第二の反応層を含み、光透過層と、前記光透過層を介して、レーザビームが照射されたときに、前記第一の反応層に主成分として含まれている元素と、前記第二の反応層に主成分として含まれている元素とが混合し、記録マークが形成されるように構成されている。
本発明のさらに好ましい実施態様においては、前記第二の反応層が、前記第一の反応層に接するように、形成されている。
本発明の前記目的はまた、基板と、前記基板上に形成された記録層を備えた追記型の光記録媒体に、少なくとも記録パワーPwおよび第一の基底パワーPb1を含むパルス列パターンにしたがって変調されたレーザビームを照射するレーザ照射手段を備えた光記録媒体へのデータの記録装置であって、5m/sec以上の第1の記録線速度で、情報を記録する場合の前記第一の基底パワーと前記記録パワーとの比をALとし、10m/sec以上の第2の記録線速度で、情報を記録する場合の前記第一の基底パワーと前記記録パワーとの比をAHとしたときに、前記レーザ照射手段が、AH>ALを満たすように、それぞれの第一の基底パワーおよび記録パワーを設定することを特徴とする光記録媒体への情報記録装置によって達成される。
本発明の好ましい実施態様においては、1.5×AL<AH<5.0×ALを満たすように、それぞれの第一の基底パワーおよび記録パワーが設定される。
本発明のさらに好ましい実施態様においては、2.5×AL<AH<4.0×ALを満たすように、それぞれの第一の基底パワーおよび記録パワーが設定される。
本発明のさらに好ましい実施態様においては、前記記録パワーからなるパルスが、前記記録マークの長さに対応する数の分割パルスによって構成されている。
本発明のさらに好ましい実施態様においては、前記記録パワーからなるパルスの後に、前記第一の基底パワーよりも強度の低い第二の基底パワーを含むパルス列パターンにしたがって、レーザビームのパワーを変調するように構成されている。
本発明の好ましい実施態様においては、前記光記録媒体に、450nm以下の波長を有するレーザビームを照射して、情報を記録するように構成されている。
本発明の好ましい実施態様においては、λ/NA≦640nmを満たす開口数NAを有する対物レンズおよび波長λを有するレーザビームを用い、前記対物レンズを介して、前記光記録媒体に、レーザビームを照射して、情報を記録するように構成されている。
本発明の前記目的はまた、基板と、前記基板上に形成された記録層を備え、少なくとも記録パワーおよび第一の基底パワーを含むパルス列パターンにしたがって変調されたレーザビームが照射されて、前記記録層が物理的及び/又は化学的に変化し、前記記録層に少なくとも二つの記録マークが形成されて、情報が記録されるように構成された追記型の光記録媒体であって、5m/sec以上の第1の記録線速度で、情報を記録する場合の前記第一の基底パワーと前記記録パワーとの比をALとし、10m/sec以上の第2の記録線速度で、情報を記録する場合の前記第一の基底パワーと前記記録パワーとの比をAHとしたときに、AH>ALを満たすように、それぞれの第一の基底パワーおよび記録パワーを設定して、記録マークを形成するために必要な記録条件設定用データが記録されていることを特徴とする光記録媒体によって達成される。
本発明の好ましい実施態様においては、光記録媒体は、さらに、光透過層と、前記基板と前記光透過層の間に形成された第一の反応層と第二の反応層を含む記録層を備え、前記光透過層を介して、レーザビームが照射されたときに、前記第一の反応層に主成分として含まれている元素と、前記第二の反応層に主成分として含まれている元素とが混合し、記録マークが形成されるように構成されている。
本発明のさらに好ましい実施態様においては、前記第二の反応層が、前記第一の反応層に接するように、形成されている。
本発明のさらに好ましい実施態様においては、前記光透過層が、10ないし300nmの厚さを有するように形成されている。
本発明のさらに好ましい実施態様においては、1.5×AL<AH<5.0×ALを満たすように、それぞれの第一の基底パワーおよび記録パワーが設定されている。
本発明のさらに好ましい実施態様においては、2.5×AL<AH<4.0×ALを満たすように、それぞれの第一の基底パワーおよび記録パワーが設定されている。
本発明のさらに好ましい実施態様においては、前記記録パワーからなるパルスが、前記記録マークの長さに対応する数の分割パルスによって構成されている。
本発明のさらに好ましい実施態様においては、前記記録パワーからなるパルスの後に、前記第一の基底パワーよりも強度の低い第二の基底パワーを含むパルス列パターンにしたがって、レーザビームのパワーを変調するように構成されている。
本発明によれば、高い記録線速度で、追記型の光記録媒体に情報を記録することができる光記録媒体への情報記録方法を提供することが可能になる。
また、本発明によれば、高い記録線速度で、追記型の光記録媒体に情報を記録することができる光記録媒体への情報記録装置を提供することが可能になる。
さらに、本発明によれば、高い記録線速度で、情報を記録することができる追記型の光記録媒体を提供することが可能になる。
以下、添付図面に基づいて、本発明の好ましい実施態様につき、詳細に説明を加える。
図1は、本発明の好ましい実施態様にかかる光記録媒体の構造を示す略断面図である。
図1に示されるように、本実施態様にかかる光記録媒体10は、追記型の光記録媒体として構成され、基板11と、基板11の表面上に形成された反射層12と、反射層12の表面上に形成された第二の誘電体層13と、第二の誘電体層13の表面上に形成された記録層14と、記録層14の表面上に設けられた第一の誘電体層15と、第一の誘電体層15の表面上に形成された光透過層16を備えている。図1に示されるように、記録層14は、第二の誘電体層13の表面上に形成された第二の反応層32と、第二の反応層32の表面上に形成された第一の反応層31を含んでいる。
図1に示されるように、光記録媒体10の中央部分には、センターホール17が形成されている。
本実施態様においては、図1に示されるように、光透過層16の表面に、レーザビームL10が照射されて、光記録媒体10にデータが記録され、光記録媒体10から、データが再生されるように構成されている。
基板11は、光記録媒体10に求められる機械的強度を確保するための支持体として、機能する。
基板11を形成するための材料は、光記録媒体10の支持体として機能することができれば、とくに限定されるものではない。基板11は、たとえば、ガラス、セラミックス、樹脂などによって、形成することができる。これらのうち、成形の容易性の観点から、樹脂が好ましく使用される。このような樹脂としては、ポリカーボネート樹脂、アクリル樹脂、エポキシ樹脂、ポリスチレン樹脂、ポリエチレン樹脂、ポリプロピレン樹脂、シリコーン樹脂、フッ素系樹脂、ABS樹脂、ウレタン樹脂などが挙げられる。これらの中でも、加工性、光学特性などの点から、ポリカーボネート樹脂がとくに好ましい。
本実施態様においては、基板11は、約1.1mmの厚さを有している。
図1に示されるように、基板11の表面には、交互に、グルーブ11aおよびランド11bが形成されている。基板11の表面に形成されたグルーブ11aおよび/またはランド11bは、データを記録する場合およびデータを再生する場合において、レーザビームL10のガイドトラックとして、機能する。
反射層12は、光透過層16を介して、入射したレーザビームL10を反射し、再び、光透過層16から出射させる機能を有している。
反射層12の厚さは、とくに限定されるものではないが、10nmないし300nmであることが好ましく、20nmないし200nmであることが、とくに好ましい。
反射層12を形成するための材料は、レーザビームを反射できればよく、とくに限定されるものではなく、Mg、Al、Ti、Cr、Fe、Co、Ni、Cu、Zn、Ge、Ag、Pt、Auなどによって、反射層12を形成することができる。これらのうち、高い反射率を有しているAl、Au、Ag、Cu、または、AgとCuとの合金などのこれらの金属の少なくとも1つを含む合金などの金属材料が、反射層12を形成するために、好ましく用いられる。
反射層12は、レーザビームL10を用いて、第一の反応層31および第二の反応層32に光記録されたデータを再生するときに、多重干渉効果によって、記録部と未記録部との反射率の差を大きくして、高い再生信号(C/N比)を得るために、設けられている。
第一の誘電体層15および第二の誘電体層13は、記録層14を保護する役割を担っている。したがって、第一の誘電体層15および第二の誘電体層13により、長期間にわたって、光記録されたデータの劣化を効果的に防止することができる。また、第二の誘電体層13は、基板11などの熱変形を防止する効果があり、したがって、変形に伴うジッターの悪化を効果的に防止することが可能になる。
第一の誘電体層15および第2の誘電体層13を形成するための誘電体材料は、透明な誘電体材料であれば、とくに限定されるものではなく、たとえば、酸化物、硫化物、窒化物またはこれらの組み合わせを主成分とする誘電体材料によって、第一の誘電体層15および第二の誘電体層13を形成することができる。より具体的には、基板11などの熱変形を防止し、記録層14を保護するために、第一の誘電体層15および第二の誘電体層13が、Al、AlN、ZnO、ZnS、GeN、GeCrN、CeO、SiO、SiO、SiNおよびSiCよりなる群から選ばれる少なくとも1種の誘電体材料を主成分として含んでいることが好ましく、ZnS・SiOを主成分として含んでいることがより好ましい。
第一の誘電体層15と第二の誘電体層13は、互いに同じ誘電体材料によって形成されていてもよいが、異なる誘電体材料によって形成されていてもよい。さらに、第一の誘電体層15および第二の誘電体層13の少なくとも一方が、複数の誘電体膜からなる多層構造であってもよい。
なお、本明細書において、誘電体層が、誘電体材料を主成分として含むとは、誘電体層に含まれている誘電体材料の中で、その誘電体材料の含有率が最も大きいことをいう。また、ZnS・SiOは、ZnSとSiOとの混合物を意味する。
第一の誘電体層15および第二の誘電体層13の層厚は、とくに限定されるものではないが、3ないし200nmであることが好ましい。第一の誘電体層15あるいは第二の誘電体層13の層厚が3nm未満であると、上述した効果が得られにくくなる。一方、第一の誘電体層15あるいは第二の誘電体層13の層厚が200nmを越えると、成膜に要する時間が長くなり、光記録媒体10の生産性が低下するおそれがあり、さらに、第一の誘電体層15あるいは第二の誘電体層13のもつ応力によって、光記録媒体10にクラックが発生するおそれがある。
記録層14は、記録マークが形成されて、データが記録される層であり、第二の誘電体層13の表面上に形成された第二の反応層32と、第二の反応層32の表面上に形成された第一の反応層31を含んでいる。図1に示されるように、本実施態様においては、第一の反応層31は、光透過層16側に配置され、第二の反応層32は、基板11側に配置されている。
本実施態様においては、第一の反応層31は、Al、Si、Ge、C、Sn、Au、Zn、Cu、B、Mg、Ti、Mn、Fe、Ga、Zr、AgおよびPtよりなる群から選ばれた元素を主成分として含み、第二の反応層32は、Al、Si、Ge、C、Sn、Au、Zn、Cu、B、Mg、Ti、Mn、Fe、Ga、Zr、AgおよびPtよりなる群から選ばれた元素で、第一の反応層31に主成分として含まれている元素とは異なる元素を主成分として含んでいる。
第一の反応層31および第二の反応層32が、このような元素を主成分として含んでいる場合には、光記録媒体10の長期間の保存に対する信頼性を向上させることが可能になる。
また、これらの元素は、環境に関する負荷が小さく、地球環境を害するおそれがない。
再生信号のノイズレベルを低く抑えるためには、第一の反応層31および第二の反応層32に、主成分として含まれている元素以外の元素が添加されていることが好ましい。このような元素を添加することによって、第一の反応層31および第二の反応層32の表面平滑性を向上させて、再生信号のノイズレベルを低く抑えることが可能になるとともに、光記録媒体10の長期間の保存に対する信頼性を向上させることが可能になる。
第一の反応層31および第二の反応層32に添加される元素は、一種類である必要はなく、第一の反応層31および第二の反応層32に、二種類以上の元素を添加することもできる。
記録層14の層厚は、とくに限定されるものではないが、2nmないし40nmの厚さを有するように、記録層14を形成することが好ましく、2nmないし20nmの厚さを有するように、記録層14を形成することがより好ましい。このような厚さを有するように、記録層14を形成することによって、第一の反応層31および第二の反応層32の表面平滑性を向上させて、再生信号のノイズレベルを低く抑えることができ、また、充分に高いレベルの再生信号(C/N比)を得ることが可能になるとともに、記録感度を十分に向上させることが可能になる。
第一の反応層31および第二の反応層32のそれぞれの層厚は、とくに限定されるものではないが、再生信号のノイズレベルを低く抑えるとともに、記録感度を十分に向上させ、データを記録する前後の反射率の変化を十分に大きくするためには、第一の反応層31の層厚が、1nmないし30nmであり、第二の反応層32の層厚が、1nmないし30nmであることが好ましい。さらに、第一の反応層31の層厚と第二の反応層32の層厚との比(第一の反応層31の層厚/第二の反応層32の層厚)は、0.2ないし5.0であることが好ましい。
光透過層16は、レーザビームL10が透過する層であり、10μmないし300μmの厚さを有していることが好ましく、より好ましくは、光透過層16は、50μmないし150μmの厚さを有している。
光透過層16を形成するための材料は、とくに限定されるものではないが、塗布によって、光透過層16を形成する場合には、紫外線硬化性のアクリル樹脂やエポキシ樹脂などが好ましく用いられる。
光透過層16は、第一の誘電体層15の表面に、光透過性樹脂によって形成されたシートを、接着剤を用いて、接着することによって、形成されてもよい。
以上のような構成を有する光記録媒体10は、たとえば、以下のようにして、製造される。
まず、グルーブ11aおよびランド11bが形成された基板11の表面上に、反射層12が形成される。
反射層12は、たとえば、反射層12の構成元素を含む化学種を用いた気相成長法によって、形成することができる。気相成長法としては、真空蒸着法、スパッタリング法などが挙げられる。
次いで、反射層12の表面上に、第二の誘電体層13が形成される。
第二の誘電体層13は、たとえば、第二の誘電体層13の構成元素を含む化学種を用いた気相成長法によって、形成することができる。気相成長法としては、真空蒸着法、スパッタリング法などが挙げられる。
さらに、第二の誘電体層13の表面上に、第二の反応層32が形成される。第二の反応層32も、第二の誘電体層13と同様にして、第二の反応層32の構成元素を含む化学種を用いた気相成長法によって、形成することができる。
次いで、第二の反応層32の表面上に、第一の反応層31が形成される。第一の反応層31も、第一の反応層31の構成元素を含む化学種を用いた気相成長法によって形成することができる。
さらに、第一の反応層31の表面上に、第一の誘電体層15が形成される。第一の誘電体層15もまた、第一の誘電体層15の構成元素を含む化学種を用いた気相成長法によって、形成することができる。
最後に、第一の誘電体層15の表面上に、光透過層16が形成される。光透過層16は、たとえば、粘度調整されたアクリル系の紫外線硬化性樹脂あるいはエポキシ系の紫外線硬化性樹脂を、スピンコーティング法などによって、第一の誘電体層15の表面に塗布して、塗膜を形成し、紫外線を照射して、塗膜を硬化させることによって、形成することができる。
以上のようにして、光記録媒体10が製造される。
以上のような構成を有する光記録媒体10に、たとえば、以下のようにして、データが記録される。
まず、図1に示されるように、所定のパワーを有するレーザビームL10が、光透過層16を介して、記録層14に照射される。
図2(a)は、図1に示された光記録媒体の一部拡大略断面図であり、レーザビームL10が、記録層14に照射される前の状態を示している。
データを高い記録密度で、光記録媒体10に記録するためには、450nm以下の波長を有するレーザビームL10を、開口数NAが0.7以上の対物レンズ(図示せず)を用いて、光記録媒体10上に集束することが好ましく、λ/NA≦640nmであることがより好ましい。この場合には、第一の反応層31の表面におけるレーザビームL10のビームスポット径は0.65μm以下になる。
本実施態様においては、405nmの波長を有するレーザビームL10が、開口数が0.85の対物レンズを用いて、第一の反応層31の表面におけるレーザビームL10のビームスポット径が約0.43μmとなるように、光記録媒体10上に集束される。
その結果、レーザビームL10が照射された領域において、第一の反応層31に主成分として含まれた元素と、第二の反応層32に主成分として含まれた元素とが混合されて、図2(b)に示されるように、第一の反応層31に主成分として含まれた元素と、第二の反応層32に主成分として含まれた元素とが混合されて、混合領域Mが形成される。
第一の反応層31に主成分として含まれた元素と、第二の反応層32に主成分として含まれた元素とが混合されると、その領域の反射率が大きく変化し、したがって、こうして形成された混合領域Mの反射率は、その周囲の領域の反射率と大きく異なることになるので、混合領域Mを記録マークMとして用いて、光記録媒体10にデータを記録し、光記録媒体10からデータを再生することが可能になる。
図3は、1,7RLL変調方式を用いた場合の第1のパルス列パターンを示す図であり、図3(a)は、2T信号を形成する場合のパルス列パターンを示し、図3(b)は、3T信号ないし8T信号を形成する場合のパルス列パターンを示している。
図3(a)および図3(b)に示されるように、第1のパルス列パターンにおいては、記録マークMを形成するための記録パルスが、(n−1)個に分割され、レーザビームL10のパワーは、各分割パルスのピークにおいて、記録パワーPwに、その他の期間において、データを再生する場合のレーザビームL10のパワーである再生パワーPrよりも高い第一の基底パワーPb1に設定される。すなわち、第1のパルス列パターンは、図10に示された基本パルス列パターンにおける基底パワーPbが、再生パワーPrにほぼ等しいレベルから、再生パワーPrよりも高い第一の基底パワーPb1に高められた構成を有している。
記録パワーPwは、レーザビームL10の照射によって、第一の反応層31に主成分として含まれる元素と、第2の反応層32に主成分として含まれる元素が加熱されて、混合し、記録マークMが形成されるような高いレベルに設定され、第一の基底パワーPb1は、再生パワーPrよりも高いが、第一の基底パワーPb1のレーザビームL10が照射されても、第一の反応層31に主成分として含まれる元素と、第2の反応層32に主成分として含まれる元素が実質的に混合することがないような低いレベルに設定される。
第一の基底パワーPb1と記録パワーPwとの比Pb1/Pwは、0.1ないし0.5であることが好ましく、10m/sec以上の記録線速度で、データを記録する場合には、比Pb1/Pwは、0.2ないし0.5であることが好ましく、0.3ないし0.45であると、より好ましい。
また、記録線速度VLで、データを記録する場合の第一の基底パワーPb1と記録パワーPwとの比Pb1/PwをALとし、記録線速度VLよりも高い記録線速度VHで、データを記録する場合の第一の基底パワーPb1と記録パワーPwとの比Pb1/PwをAHとした場合、AHがAlよりも大きくなるように、第一の基底パワーPb1と記録パワーPwを設定することが好ましく、1.5×AL<AH<5.0×ALとなるように、第一の基底パワーPb1と記録パワーPwを設定することがより好ましく、2.5×AL<AH<4.0×ALとなるように、第一の基底パワーPb1と記録パワーPwを設定することが最も好ましい。
このように、第1のパルス列パターンを構成することによって、記録マークMを形成すべき領域においては、記録パワーPwによる加熱が、第一の基底パワーPb1によって補助されて、記録マークMの形成が促進される一方で、記録マークMの間のブランク領域において、第一の基底パワーPb1を有するレーザビームL10によって、第一の反応層31に主成分として含まれる元素と、第二の反応層32に主成分として含まれる元素とが混合して、記録マークMが形成されることが防止される。
したがって、第1のパルス列パターンを用いて、レーザビームL10のパワーを変調し、光記録媒体10にデータを記録する場合には、より低い記録パワーPwを有するレーザビームL10を用いて、記録マークMを形成することができ、記録線速度を5m/sec以上に高めて、高いデータ転送レートを実現することが可能になる。
図4は、1,7RLL変調方式を用いた場合の第2のパルス列パターンを示す図であり、図4(a)は、2T信号を形成する場合のパルス列パターンを示し、図4(b)は、3T信号ないし8T信号を形成する場合のパルス列パターンを示している。
図4(a)および図4(b)に示されるように、第2のパルス列パターンにおいては、記録マークMを形成するための記録パルスが、(n−1)個に分割され、レーザビームL10のパワーは、各分割パルスのピークにおいて、記録パワーPwに、最後の分割パルスの直後において、第2の基底パワーPb2に、その他の期間において、第一の基底パワーPb1に設定される。図4に示されるように、第一の基底パワーPb1および第2の基底パワーPb2は、Pb1>Pb2となるように設定されており、第2の基底パワーPb2は、再生パワーPrと同じレベルあるいは再生パワーPrに近いレベルに設定されている。
したがって、第2のパルス列パターンは、図10に示された基本パルス列パターンにおける最後の分割パルスの直後に、レーザビームL10のパワーが、第2の基底パワーPb2となる冷却期間Tclが挿入され、冷却期間Tclを除いて、図10に示された基本パルス列パターンにおける基底パワーPbが、再生パワーPrにほぼ等しいレベルから、再生パワーPrよりも高い第一の基底パワーPb1に高められた構成を有している。
第2のパルス列パターンにおいても、記録パワーPwは、レーザビームL10の照射によって、第一の反応層31に主成分として含まれる元素と、第2の反応層32に主成分として含まれる元素が加熱されて、混合し、記録マークMが形成されるような高いレベルに設定され、第一の基底パワーPb1は、再生パワーPrよりも高いが、第一の基底パワーPb1のレーザビームL10が照射されても、第一の反応層31に主成分として含まれる元素と、第2の反応層32に主成分として含まれる元素が実質的に混合することがないような低いレベルに設定される。
第一の基底パワーPb1と記録パワーPwの比Pb1/Pwは、第1のパルス列パターンを同様に設定される。
このように、第2のパルス列パターンを構成することによって、記録マークMを形成すべき領域においては、記録パワーPwによる加熱が、第一の基底パワーPb1によって補助されて、記録マークMの形成が促進される一方で、記録マークMの間のブランク領域において、第一の基底パワーPb1を有するレーザビームL10によって、第一の反応層31に主成分として含まれる元素と、第二の反応層32に主成分として含まれる元素とが混合して、記録マークMが形成されることが防止される。
したがって、第2のパルス列パターンを用いて、レーザビームL10のパワーを変調し、光記録媒体10にデータを記録する場合には、より低い記録パワーPwを有するレーザビームL10を用いて、記録マークMを形成することができ、記録線速度を5m/sec以上に高めて、高いデータ転送レートを実現することが可能になる。
さらに、第2のパルス列パターンにおいては、最後の分割パルスの直後に、レーザビームL10のパワーが、第2の基底パワーPb2となる冷却期間Tclが挿入されているので、記録マークMを形成するために照射した記録パワーPwを有するレーザビームL10によって、加熱された記録マークMの後縁部が効果的に冷却され、記録マークMの後縁部よりもレーザビームの進行方向側の領域において、第一の反応層31に主成分として含まれる元素と、第2の反応層32に主成分として含まれる元素とが混合することが防止され、したがって、記録マークMの後縁部がずれることを効果的に防止して、記録マークMの長さを所望の長さに制御することが可能になる。
本実施態様によれば、記録マークMを形成するためのレーザビームL10の記録パルスを(n−a)個(aは「0」、「1」または「2」であり、8/16変調方式においては「2」、1,7RLL変調方式においては「1」とすることが好ましい。)に分割するとともに、第一の基底パワーPb1と記録パワーPwとの比Pb1/Pwが、0.1ないし0.5となるように、第一の基底パワーPb1のレベルおよび記録パワーPwのレベルが設定されているから、低い記録パワーPwを有するレーザビームL10を用いて、光記録媒体10にデータを記録することが可能になる。したがって、5m/sec以上の記録線速度で、データを記録する場合にも、比較的安価で、低出力の半導体レーザを使用することが可能となる。
図5は、本発明の好ましい実施態様にかかる光記録媒体への情報記録装置のブロックダイアグラムである。
図5に示されるように、本実施態様にかかる情報記録装置50は、光記録媒体10を回転させるためのスピンドルモータ52と、光記録媒体10に、レーザビームを照射するとともに、光記録媒体10によって、反射された光を受光するヘッド53と、スピンドルモータ52およびヘッド53の動作を制御するコントローラ54と、ヘッド53に、レーザ駆動信号を供給するレーザ駆動回路55と、ヘッド53に、レンズ駆動信号を供給するレンズ駆動回路56とを備えている。
図5に示されるように、コントローラ54は、フォーカスサーボ追従回路57、トラッキングサーボ追従回路58およびレーザコントロール回路59を備えている。
フォーカスサーボ追従回路57が活性化すると、回転している光記録媒体10の第一の記録層31に、レーザビームL10がフォーカスされ、トラッキングサーボ追従回路58が活性化すると、光記録媒体10のトラックに対して、レーザビームのスポットが自動追従状態となる。
図5に示されるように、フォーカスサーボ追従回路57およびトラッキングサーボ追従回路58は、それぞれ、フォーカスゲインを自動調整するためのオートゲインコントロール機能およびトラッキングゲインを自動調整するためのオートゲインコントロール機能を有している。
また、レーザコントロール回路59は、レーザ駆動回路55により供給されるレーザ駆動信号を生成する回路である。
本実施態様においては、上述した第1のパルス列パターンあるいは第2のパルス列パターンを特定するためのデータが、データを記録する際に必要な記録線速度などの種々の記録条件を特定するためのデータとともに、記録条件設定用データとして、光記録媒体10に、ウォブルやプレピットの形で、記録されている。
したがって、レーザコントロール回路59は、データを記録するのに先立って、光記録媒体10に記録された記録条件設定用データを読み出し、読み出した記録条件設定用データに基づいて、第1のパルス列パターンあるいは第2のパルス列パターンを選択し、レーザ駆動信号を生成し、レーザ駆動回路55からヘッド53に出力させる。
こうして、所望の記録ストラテジにしたがって、光記録媒体10にデータが記録される。
本実施態様によれば、光記録媒体10には、第1のパルス列パターンあるいは第2のパルス列パターンを特定するためのデータが、データを記録する際に必要な記録線速度などの種々の記録条件を特定するためのデータとともに、記録条件設定用データとして、記録されており、光記録媒体10にデータを記録するのに先立って、レーザコントロール回路59により、記録条件設定用データが読み出され、読み出された記録条件設定用データに基づいて、第1のパルス列パターンあるいは第2のパルス列パターンが選択され、光記録媒体10に、レーザビームを照射するヘッド53が制御されるように構成されているから、所望の記録ストラテジにしたがって、光記録媒体10にデータを記録することが可能になる。
以下、本発明の効果をより明瞭なものとするため、実施例および比較例を掲げる。
[光記録媒体の作製]
以下のようにして、図1に示される光記録媒体1と同様の構成を有する光記録媒体を作製した。
すなわち、まず、厚さ1.1mm、直径120mmのポリカーボネート基板をスパッタリング装置にセットし、次いで、ポリカーボネート基板上に、Ag、PdおよびCuの混合物を含み、100nmの層厚を有する反射層、ZnSとSiOの混合物を含み、30nmの層厚を有する第二の誘電体層、Cuを主成分として含み、5nmの層厚を有する第二の記録層、Siを主成分として含み、5nmの層厚を有する第一の記録層、ZnSとSiOの混合物を含み、25nmの層厚を有する第一の誘電体層を、順次、スパッタリング法によって、形成した。
第一の誘電体層および第二の誘電体層に含まれたZnSとSiOの混合物中のZnSとSiOのモル比率は、80:20であった。
さらに、第一の誘電体層上に、アクリル系紫外線硬化性樹脂を、スピンコーティング法によって、塗布して、塗布層を形成し、塗布層に紫外線を照射して、アクリル系紫外線硬化性樹脂を硬化させ、100μmの層厚を有する光透過層を形成した。
実施例1
こうして作製した光記録媒体を、パルステック工業株式会社製の光記録媒体評価装置「DDU1000」(商品名)にセットし、波長が405nmの青色レーザ光を、記録用レーザ光として用い、NA(開口数)が0.85の対物レンズを用いて、レーザ光を、光透過層を介して、集光し、下記の記録条件で、データを記録した。
変調方式:(1,7)RLL
チャンネルビット長:0.12μm
記録線速度:5.3m/秒
チャンネルクロック:66MHz
記録信号:2Tないし8Tのランダム信号
(n−1)分割された記録パルスを用い、第1のパルス列パターンにしたがって、レーザビームを変調した。第一の基底パワーPb1を0.5mW、1.0mW、1.5mWおよび2.0mWに変化させるとともに、記録パワーPwを変化させて、データを記録した。ここに、nは2ないし8の整数である。
この記録条件においては、フォーマット効率を80%とした場合のデータ転送レートは約35Mbpsであり、最短ブランク間隔と記録線速度との比(最短ブランク間隔/記録線速度)は、30.4nsecであった。
次いで、上述の光媒体評価装置を用いて、光記録媒体に記録されたデータを再生し、最適記録パワーPwを有するレーザビームを用いて、ジッターを測定し、ジッターが最小になったときのレーザビームの記録パワーPwを最適記録パワーPwとして決定し、レーザビームの最適記録パワーPwと、第一の基底パワーPb1との関係を求めた。データの再生にあたっては、レーザ光の波長を405nm、対物レンズのNA(開口数)を0.85とした。
実施例2
以下の記録条件で、データを記録した以外は、実施例1と同様にして、光記録媒体にデータを記録し、ジッターが最小になったときのレーザビームの記録パワーPwを最適記録パワーPwとして決定し、レーザビームの最適記録パワーPwと、第一の基底パワーPb1との関係を求めた。
変調方式:(1,7)RLL
チャンネルビット長:0.12μm
記録線速度:10.6m/秒
チャンネルクロック:132MHz
記録信号:2Tないし8Tのランダム信号
この記録条件においては、フォーマット効率を80%とした場合のデータ転送レートは約70Mbpsであり、最短ブランク間隔と記録線速度との比(最短ブランク間隔/記録線速度)は、15.2nsecであった。
実施例1および実施例2の測定結果は、図6に示されている。
図6に示されるように、第1のパルス列パターンにしたがって、レーザビームのパワーを変調して、データを記録した場合には、第一の基底パワーPb1を高いレベルに設定するほど、レーザビームの最適記録パワーPwのレベルが低くなり、データ転送レートが約70Mbpsである場合に、レーザビームの最適記録パワーPwのレベルの低下が顕著であることが見出された。
したがって、記録線速度が高く、データ転送レートが高い場合に、第1のパルス列パターンにしたがって、レーザビームのパワーを変調して、データを記録することが効果的であることがわかった。
また、記録線速度が高いほど、第一の基底パワーPb1を高いレベルに設定することによって、レーザビームの記録パワーPwを同じレベルあるいはほぼ同じレベルに保持しつつ、異なる記録線速度で、データを記録することが可能であることがわかった。すなわち、約35Mbpsのデータ転送レートで、データを記録する場合には、レーザビームの第一の基底パワーPb1および記録パワーPwを、それぞれ、0.5mWおよび4.6mWに設定し、約70Mbpsのデータ転送レートで、データを記録する場合には、レーザビームの第一の基底パワーPb1および記録パワーPwを、それぞれ、2.0mWおよび4.8mWに設定して、データを記録することによって、ジッターの悪化を防止することが可能になり、したがって、最高出力が5mWの比較的安価な半導体レーザを用いて、データを記録することができる。
実施例3
第2のパルス列パターンにしたがって、レーザビームのパワーを変調した以外は、実施例1および実施例2と同様にして、光記録媒体にデータを記録し、ジッターが最小になったときのレーザビームの記録パワーPwを最適記録パワーPwとして決定し、レーザビームの最適記録パワーPwと、第一の基底パワーPb1との関係を求めた。
ここに、冷却期間Tclの長さは1Tとし、第二の基底パワーPb2は0.1mWに設定した。
測定結果は、図7に示されている。
図7に示されるように、第2のパルス列パターンにしたがって、レーザビームのパワーを変調して、データを記録した場合においても、第一の基底パワーPb1を高いレベルに設定するほど、レーザビームの最適記録パワーPwのレベルが低くなり、データ転送レートが約70Mbpsである場合に、レーザビームの最適記録パワーPwのレベルの低下が顕著であることが見出された。
したがって、記録線速度が高く、データ転送レートが高い場合に、第2のパルス列パターンにしたがって、レーザビームのパワーを変調して、データを記録することが効果的であることがわかった。
また、第2のパルス列パターンにしたがって、レーザビームのパワーを変調して、データを記録した場合においても、記録線速度が高いほど、第一の基底パワーPb1を高いレベルに設定することによって、レーザビームの記録パワーPwをほぼ同じレベルに保持しつつ、異なる記録線速度で、データを記録することが可能であることがわかった。すなわち、約35Mbpsのデータ転送レートで、データを記録する場合には、レーザビームの第一の基底パワーPb1および記録パワーPwを、それぞれ、0.5mWおよび4.6mWに設定し、約70Mbpsのデータ転送レートで、データを記録する場合には、レーザビームの第一の基底パワーPb1および記録パワーPwを、それぞれ、2.0mWおよび6.0mWに設定して、データを記録することによって、ジッターの悪化を防止することが可能になり、したがって、最高出力が6mWの比較的安価な半導体レーザを用いて、データを記録することができる。
さらに、図6および図7に示されるように、第一の基底パワーPb1を高いレベルに設定するほど、レーザビームの最適記録パワーPwのレベルが低くなるという現象は、第2のパルス列パターンにしたがって、レーザビームのパワーを変調して、データを記録した場合よりも、第1のパルス列パターンにしたがって、レーザビームのパワーを変調して、データを記録した場合の方がより顕著になることが判明した。これは、第1のパルス列パターンは、第2のパルス列パターンとは異なり、冷却期間Tclを含んでいないため、第1の基底パワーPb1による加熱補助効果がより高かったためであると考えられる。
実施例4
第1のパルス列パターンおよび第2のパルス列パターンを用いて、レーザビームのパワーを変調し、実施例1の記録条件にしたがって、光記録媒体にデータを記録し、光記録媒体に記録されたデータを再生して、第一の基底パワーPb1と、2T信号のC/N比の関係を測定した。
ここに、レーザビームの記録パワーPwとしては、ジッターが最小になったときのレーザビームの最適記録パワーPwを選択し、第2のパルス列パターンの冷却期間Tclの長さは1Tとし、第二の基底パワーPb2は0.1mWに設定した。
測定結果は、図8に示されている。
図8に示されるように、冷却期間Tclを含んでいない第1のパルス列パターンにしたがって、レーザビームのパワーを変調して、データを記録した場合には、第1の基底パワーPb1を増大させるにしたがって、2T信号のC/N比が低下することが認められたが、冷却期間Tclを含んでいる(いない)第2のパルス列パターンにしたがって、レーザビームのパワーを変調して、データを記録した場合には、第1の基底パワーPb1を増大させても、2T信号のC/N比の低下はほとんど認められなかった。
これは、第2のパルス列パターンにおいては、最後の分割パルスの直後に、レーザビームのパワーが、第2の基底パワーPb2となる冷却期間Tclが挿入されているので、記録マークを形成するために照射した記録パワーPwを有するレーザビームによって、加熱された記録マークの後縁部が効果的に冷却され、記録マークの後縁部よりもレーザビームの進行方向側の領域において、第一の記録層に主成分として含まれる元素と、第二の記録層に主成分として含まれる元素とが混合することが防止され、したがって、記録マークの後縁部がずれることが効果的に防止されて、記録マークの長さが所望の長さに制御されたためと考えられる。
本発明は、以上の実施態様および実施例に限定されることなく、特許請求の範囲に記載された発明の範囲内で種々の変更が可能であり、それらも本発明の範囲内に包含されるものであることはいうまでもない。
たとえば、前記実施態様および前記実施例においては、光記録媒体10の記録層14が、互いに接触するように形成された第一の反応層31と第二の反応層32とによって構成されているが、光記録媒体10の記録層14は、第一の反応層31と第二の反応層32を含んでいればよく、記録層14を、互いに接触するように形成された第一の反応層31と第二の反応層32とによって構成することは必ずしも必要でない。記録層14は、3層以上の反応層を備えていてもよく、たとえば、光記録媒体10の記録層14が、2つの第一の反応層31と、2つの第一の反応層31の間に配置された第二の反応層32とによって構成されていてもよい。
また、前記実施態様および前記実施例においては、光記録媒体10は、第一の誘電体層15および第二の誘電体層13を備え、記録層14が、第一の誘電体層15および第二の誘電体層13の間に配置されているが、光記録媒体10が、第一の誘電体層15および第二の誘電体層13を備えていることは必ずしも必要でなく、単一の誘電体層を有していてもよいし、誘電体層を備えていなくてもよい。
さらに、前記実施態様および前記実施例においては、光記録媒体10は反射層12を備えているが、レーザ光が照射された結果、第一の反応層31に主成分として含まれた元素と、第二の反応層32に主成分として含まれた元素が混合して形成された記録マークMにおける反射光のレベルと、それ以外の領域における反射光のレベルの差が十分に大きい場合には、反射層12を省略することができる。
また、前記実施態様においては、第2のパルス列パターンを用いる場合に、第2のパルス列パターンにしたがって、レーザビームのパワーを変調して、すべての記録マークMを形成しているが、記録マークMの後縁部がずれて、記録マークMの長さが、所望の長さよりも長くなることを防止するために、レーザビームの記録パワーPwを低下させたときに、記録マークMの幅が細くなって、記録信号のC/N比(キャリア/ノイズ比)が顕著に低下するのは、記録マークMの長さが短い場合であるから、記録マークMの長さが最も短くなる2T信号を用いる場合だけに、第2のパルス列パターンにしたがって、レーザビームのパワーを変調するようにし、3T信号ないし8T信号を用いて、記録マークMを形成する場合には、第1のパルス列パターンにしたがって、レーザビームのパワーを変調するようにしてもよい。
さらに、図5に示された実施態様においては、第1のパルス列パターンあるいは第2のパルス列パターンを特定するためのデータが、データを記録する際に必要な記録線速度などの種々の記録条件を特定するためのデータとともに、記録条件設定用データとして、ウォブルやプレピットの形で、光記録媒体10に記録されているが、第1のパルス列パターンあるいは第2のパルス列パターンを特定するためのデータを、データを記録する際に必要な記録線速度などの種々の記録条件を特定するためのデータとともに、記録条件設定用データを、ウォブルやプレピットの形で、光記録媒体10に記録しておくことは必ずしも必要でなく、光記録媒体10の第一の反応層31あるいは第二の反応層32に、記録条件設定用データを記録するようにしてもよい。
また、図5に示された実施態様においては、第1のパルス列パターンあるいは第2のパルス列パターンを特定するためのデータが、データを記録する際に必要な記録線速度などの種々の記録条件を特定するためのデータとともに、記録条件設定用データとして、光記録媒体10に、ウォブルやプレピットの形で、記録されているが、第1のパルス列パターンあるいは第2のパルス列パターンを特定するためのデータおよびデータを記録する際に必要な記録線速度などの種々の記録条件を特定するためのデータを、記録条件設定用データとして、光記録媒体10に記録しておくことは必ずしも必要でなく、第1のパルス列パターンあるいは第2のパルス列パターンを特定するためのデータのみが、記録条件設定用データとして、光記録媒体10に記録されていてもよい。
さらに、図5に示された実施態様においては、第1のパルス列パターンあるいは第2のパルス列パターンを特定するためのデータが、データを記録する際に必要な記録線速度などの種々の記録条件を特定するためのデータとともに、記録条件設定用データとして、光記録媒体10に、ウォブルやプレピットの形で、記録されているが、第1のパルス列パターンあるいは第2のパルス列パターンを特定するためのデータおよびデータを記録する際に必要な記録線速度などの種々の記録条件を特定するためのデータを、記録条件設定用データとして、光記録媒体10に記録しておくことは必ずしも必要でなく、情報記録装置内に、第1のパルス列パターンあるいは第2のパルス列パターンを特定するためのデータおよび記録条件を特定するためのデータを、あらかじめ格納しておき、記録条件設定用データとして、それらに基づいて、情報記録装置内にあらかじめ格納されているデータを特定することができ、間接的に、選択すべき記録ストラテジを特定可能なデータを、光記録媒体10に記録しておくようにすることもできる。
また、図5に示された実施態様においては、フォーカスサーボ追従回路57、トラッキングサーボ追従回路58およびレーザコントロール回路59が、コントローラ54内に組み込まれているが、フォーカスサーボ追従回路57、トラッキングサーボ追従回路58およびレーザコントロール回路59を、コントローラ54内に組み込むことは必ずしも必要でなく、コントローラ54とは別体に、フォーカスサーボ追従回路57、トラッキングサーボ追従回路58およびレーザコントロール回路59を設けることもできるし、フォーカスサーボ追従回路57、トラッキングサーボ追従回路58およびレーザコントロール回路59の機能を果たすソフトウエアを、コントローラ54内に組み込むようにしてもよい。
さらに、前記実施態様および前記実施例においては、高出力の半導体レーザを用いることが要求される次世代型の光記録媒体にデータを記録する場合につき、説明を加えたが、本発明は、次世代型の光記録媒体にデータを記録する場合に限らず、次世代型の光記録媒体以外の追記型光記録媒体に、データを記録する場合に広く適用することができる。
図1は、本発明の好ましい実施態様にかかる光記録媒体の構造を示す略断面図である。 図2(a)は、図1に示された光記録媒体の一部拡大略断面図であり、図2(b)は、データが記録された後の光記録媒体の一部拡大略断面図である。 図3は、1,7RLL変調方式を用いた場合の第1のパルス列パターンを示す図であり、図3(a)は、2T信号を形成する場合のパルス列パターンを示し、図3(b)は、3T信号ないし8T信号を形成する場合のパルス列パターンを示している。 図4は、1,7RLL変調方式を用いた場合の第2のパルス列パターンを示す図であり、図4(a)は、2T信号を形成する場合のパルス列パターンを示し、図4(b)は、3T信号ないし8T信号を形成する場合のパルス列パターンを示している。 図5は、本発明の好ましい実施態様にかかる光記録媒体への情報記録装置のブロックダイアグラムである。 図6は、ジッターが最小になったときのレーザビームの記録パワーPwを最適記録パワーPwとしたときに、最適記録パワーPwを有する第1のパルス列パターンにしたがって、レーザビームを変調して、約35Mbpsのデータ転送レートで、データを記録した場合の最適記録パワーPwと第一の基底パワーPb1との関係および最適記録パワーPwを有する第2のパルス列パターンにしたがって、レーザビームを変調して、約35Mbpsのデータ転送レートで、データを記録した場合の最適記録パワーPwと第一の基底パワーPb1との関係を示すグラフである。 図7は、ジッターが最小になったときのレーザビームの記録パワーPwを最適記録パワーPwとしたときに、最適記録パワーPwを有する第1のパルス列パターンにしたがって、レーザビームを変調して、約70Mbpsのデータ転送レートで、データを記録した場合の最適記録パワーPwと第一の基底パワーPb1との関係および最適記録パワーPwを有する第2のパルス列パターンにしたがって、レーザビームを変調して、約70Mbpsのデータ転送レートで、データを記録した場合の最適記録パワーPwと第一の基底パワーPb1との関係を示すグラフである。 図8は、最適記録パワーPwを有する第1のパルス列パターンにしたがって、レーザビームを変調して、約35Mbpsのデータ転送レートで、データを記録した場合の2T信号のC/N比と、第一の基底パワーPb1との関係および最適記録パワーPwを有する第2のパルス列パターンにしたがって、レーザビームを変調して、約35Mbpsのデータ転送レートで、データを記録した場合の2T信号のC/N比と、第一の基底パワーPb1との関係を示すグラフである。 図9は、有機色素を用いたCD−Rに、データを記録する場合の代表的なパルス列パターンを示す図である。 図10は、有機色素を用いたDVD−Rに、データを記録する場合の代表的なパルス列パターン(基本パルス列パターン)を示す図である。
符号の説明
10 光記録媒体
11 基板
11a ランド
11b グルーブ
12 反射層
13 第二の誘電体層
14 記録層
15 第一の誘電体層
16 光透過層
17 センターホール
31 第一の反応層
32 第二の反応層
50 情報記録装置
52 スピンドルモータ
53 ヘッド
54 コントローラ
55 レーザ駆動回路
56 レンズ駆動回路
57 フォーカスサーボ追従回路
58 トラッキングサーボ追従回路
59 レーザコントロール回路
L10 レーザビーム
M 記録マーク(混合領域)

Claims (20)

  1. 基板と前記基板上に形成された記録層を備えた追記型の光記録媒体に、少なくとも記録パワーPwおよび第一の基底パワーPb1を含むパルス列パターンにしたがって変調されたレーザビームを照射し、前記記録層を物理的及び/又は化学的に変化させて、前記記録層に少なくとも二つの記録マークを形成して、情報を記録する方法であって、5m/sec以上の第1の記録線速度で、情報を記録する場合の前記第一の基底パワーと前記記録パワーとの比をALとし、10m/sec以上の第2の記録線速度で、情報を記録する場合の前記第一の基底パワーと前記記録パワーとの比をAHとしたときに、AH>ALを満たすように、それぞれの第一の基底パワーおよび記録パワーを設定することを特徴とする光記録媒体への情報記録方法。
  2. 1.5×AL<AH<5.0×ALを満たすように、それぞれの第一の基底パワーおよび記録パワーを設定することを特徴とする請求項1に記載の光記録媒体への情報記録方法。
  3. 2.5×AL<AH<4.0×ALを満たすように、それぞれの第一の基底パワーおよび記録パワーを設定することを特徴とする請求項2に記載の光記録媒体への情報記録方法。
  4. 前記記録パワーからなるパルスが、前記記録マークの長さに対応する数の分割パルスによって構成されていることを特徴とする請求項1ないし3のいずれか1項に記載の光記録媒体への情報記録方法。
  5. 前記記録パワーからなるパルスの後に、前記第一の基底パワーよりも強度の低い第二の基底パワーを含むパルス列パターンにしたがって、レーザビームのパワーを変調するように構成されたことを特徴とする請求項4に記載の光記録媒体への情報記録方法。
  6. 前記光記録媒体が、さらに、光透過層を備え、前記記録層が、前記基板と前記光透過層の間に形成され、第一の反応層と第二の反応層を含み、光透過層と、前記光透過層を介して、レーザビームが照射されたときに、前記第一の反応層に主成分として含まれている元素と、前記第二の反応層に主成分として含まれている元素とが混合し、記録マークが形成されるように構成されたことを特徴とする請求項1ないし5のいずれか1項に記載の光記録媒体への情報記録方法。
  7. 前記第二の反応層が、前記第一の反応層に接するように、形成されたことを特徴とする請求項6に記載の光記録媒体への情報記録方法。
  8. 基板と、前記基板上に形成された記録層を備えた追記型の光記録媒体に、少なくとも記録パワーPwおよび第一の基底パワーPb1を含むパルス列パターンにしたがって変調されたレーザビームを照射するレーザ照射手段を備えた光記録媒体へのデータの記録装置であって、5m/sec以上の第1の記録線速度で、情報を記録する場合の前記第一の基底パワーと前記記録パワーとの比をALとし、10m/sec以上の第2の記録線速度で、情報を記録する場合の前記第一の基底パワーと前記記録パワーとの比をAHとしたときに、前記レーザ照射手段が、AH>ALを満たすように、それぞれの第一の基底パワーおよび記録パワーを設定することを特徴とする光記録媒体への情報記録装置。
  9. 1.5×AL<AH<5.0×ALを満たすように、それぞれの第一の基底パワーおよび記録パワーを設定することを特徴とする請求項8に記載の光記録媒体への情報記録装置。
  10. 2.5×AL<AH<4.0×ALを満たすように、それぞれの第一の基底パワーおよび記録パワーを設定することを特徴とする請求項9に記載の光記録媒体への情報記録装置。
  11. 前記記録パワーからなるパルスが、前記記録マークの長さに対応する数の分割パルスによって構成されていることを特徴とする請求項8ないし10のいずれか1項に記載の光記録媒体への情報記録装置。
  12. 前記記録パワーからなるパルスの後に、前記第一の基底パワーよりも強度の低い第二の基底パワーを含むパルス列パターンにしたがって、レーザビームのパワーを変調するように構成されたことを特徴とする請求項11に記載の光記録媒体への情報記録装置。
  13. 基板と、前記基板上に形成された記録層を備え、少なくとも記録パワーおよび第一の基底パワーを含むパルス列パターンにしたがって変調されたレーザビームが照射されて、前記記録層が物理的及び/又は化学的に変化し、前記記録層に少なくとも二つの記録マークが形成されて、情報が記録されるように構成された追記型の光記録媒体であって、5m/sec以上の第1の記録線速度で、情報を記録する場合の前記第一の基底パワーと前記記録パワーとの比をALとし、10m/sec以上の第2の記録線速度で、情報を記録する場合の前記第一の基底パワーと前記記録パワーとの比をAHとしたときに、AH>ALを満たすように、それぞれの第一の基底パワーおよび記録パワーを設定して、記録マークを形成するために必要な記録条件設定用データが記録されていることを特徴とする光記録媒体。
  14. さらに、光透過層を備え、前記記録層が、前記基板と前記光透過層の間に形成され、第一の反応層と第二の反応層を含み、光透過層と、前記光透過層を介して、レーザビームが照射されたときに、前記第一の反応層に主成分として含まれている元素と、前記第二の反応層に主成分として含まれている元素とが混合し、記録マークが形成されるように構成されたことを特徴とする請求項13に記載の光記録媒体。
  15. 前記第二の反応層が、前記第一の反応層に接するように、形成されたことを特徴とする請求項14に記載の光記録媒体。
  16. 前記光透過層が、10ないし300nmの厚さを有するように形成されたことを特徴とする請求項14または15に記載の光記録媒体。
  17. 1.5×AL<AH<5.0×ALを満たすように、それぞれの第一の基底パワーおよび記録パワーが設定されていることを特徴とする請求項13ないし16のいずれか1項に記載の光記録媒体。
  18. 2.5×AL<AH<4.0×ALを満たすように、それぞれの第一の基底パワーおよび記録パワーが設定されていることを特徴とする請求項17に記載の光記録媒体。
  19. 前記記録パワーからなるパルスが、前記記録マークの長さに対応する数の分割パルスによって構成されていることを特徴とする請求項13ないし18のいずれか1項に記載の光記録媒体。
  20. 前記記録パワーからなるパルスの後に、前記第一の基底パワーよりも強度の低い第二の基底パワーを含むパルス列パターンにしたがって、レーザビームのパワーを変調するように構成されていることを特徴とする請求項19に記載の光記録媒体。
JP2005155793A 2005-05-27 2005-05-27 光記録媒体への情報記録方法、光記録媒体への情報記録装置および光記録媒体 Pending JP2005293843A (ja)

Priority Applications (1)

Application Number Priority Date Filing Date Title
JP2005155793A JP2005293843A (ja) 2005-05-27 2005-05-27 光記録媒体への情報記録方法、光記録媒体への情報記録装置および光記録媒体

Applications Claiming Priority (1)

Application Number Priority Date Filing Date Title
JP2005155793A JP2005293843A (ja) 2005-05-27 2005-05-27 光記録媒体への情報記録方法、光記録媒体への情報記録装置および光記録媒体

Related Parent Applications (1)

Application Number Title Priority Date Filing Date
JP2002143477A Division JP2003338038A (ja) 2002-05-17 2002-05-17 光記録媒体への情報記録方法、情報記録装置及び光記録媒体

Publications (1)

Publication Number Publication Date
JP2005293843A true JP2005293843A (ja) 2005-10-20

Family

ID=35326569

Family Applications (1)

Application Number Title Priority Date Filing Date
JP2005155793A Pending JP2005293843A (ja) 2005-05-27 2005-05-27 光記録媒体への情報記録方法、光記録媒体への情報記録装置および光記録媒体

Country Status (1)

Country Link
JP (1) JP2005293843A (ja)

Similar Documents

Publication Publication Date Title
JP3868406B2 (ja) 光記録媒体へのデータの記録方法および光記録媒体へのデータの記録装置
US7254101B2 (en) Laser beam power modulation pattern decision method, device for recording data onto optical recording medium, and optical recording medium
EP1418574A2 (en) Information recording apparatus and information recording method
KR100716044B1 (ko) 광기록매체에의 데이터의 기록방법, 광기록매체에의데이터의 기록장치 및 광기록매체
JP3868455B2 (ja) 光記録媒体への情報記録方法、光記録媒体への情報記録装置および光記録媒体
JP2004047053A (ja) 光記録媒体へのデータの記録方法、光記録媒体へのデータの記録装置および光記録媒体
US7554892B2 (en) Method for recording data in optical recording medium, an apparatus for recording data in optical recording medium and optical recording medium
JP3954621B2 (ja) 光記録媒体への情報記録方法、光記録媒体への情報記録装置および光記録媒体
JP4249102B2 (ja) 光記録媒体へのデータの記録方法および光記録媒体へのデータの記録装置
JP2005293843A (ja) 光記録媒体への情報記録方法、光記録媒体への情報記録装置および光記録媒体
US7443775B2 (en) Method for recording data in optical recording medium, and apparatus for recording data in optical recording medium and optical recording medium
JP2005071516A (ja) 光記録ディスクへのデータ記録方法および光記録ディスクへのデータ記録装置
CN1942937B (zh) 光记录方法和记录装置
JP2005293845A (ja) 光記録媒体への情報記録方法、光記録媒体への情報記録装置および光記録媒体
US20060280111A1 (en) Optical storage medium and optical recording method
JP2005004949A (ja) 情報記録方法、情報記録装置及び情報記録媒体
JP2004158167A (ja) 光記録媒体および光記録媒体へのデータ記録方法
JP2006018982A (ja) 相変化型情報記録媒体の記録方法及びその記録装置
JP2005004800A (ja) 情報記録方法、情報記録装置及び情報記録媒体
JP2003136840A (ja) 光情報記録媒体
JP2005018829A (ja) 相変化型光情報記録媒体の記録再生方法

Legal Events

Date Code Title Description
A131 Notification of reasons for refusal

Free format text: JAPANESE INTERMEDIATE CODE: A131

Effective date: 20050809

A521 Written amendment

Free format text: JAPANESE INTERMEDIATE CODE: A523

Effective date: 20051007

A02 Decision of refusal

Free format text: JAPANESE INTERMEDIATE CODE: A02

Effective date: 20061003

A521 Written amendment

Free format text: JAPANESE INTERMEDIATE CODE: A523

Effective date: 20061129

A521 Written amendment

Free format text: JAPANESE INTERMEDIATE CODE: A821

Effective date: 20061102

A911 Transfer of reconsideration by examiner before appeal (zenchi)

Free format text: JAPANESE INTERMEDIATE CODE: A911

Effective date: 20061220

A912 Removal of reconsideration by examiner before appeal (zenchi)

Free format text: JAPANESE INTERMEDIATE CODE: A912

Effective date: 20070330