JP2005293845A - 光記録媒体への情報記録方法、光記録媒体への情報記録装置および光記録媒体 - Google Patents
光記録媒体への情報記録方法、光記録媒体への情報記録装置および光記録媒体 Download PDFInfo
- Publication number
- JP2005293845A JP2005293845A JP2005155795A JP2005155795A JP2005293845A JP 2005293845 A JP2005293845 A JP 2005293845A JP 2005155795 A JP2005155795 A JP 2005155795A JP 2005155795 A JP2005155795 A JP 2005155795A JP 2005293845 A JP2005293845 A JP 2005293845A
- Authority
- JP
- Japan
- Prior art keywords
- recording
- linear velocity
- information
- recording medium
- power
- Prior art date
- Legal status (The legal status is an assumption and is not a legal conclusion. Google has not performed a legal analysis and makes no representation as to the accuracy of the status listed.)
- Pending
Links
- 230000003287 optical effect Effects 0.000 title claims abstract description 215
- 238000000034 method Methods 0.000 title claims abstract description 40
- 239000000758 substrate Substances 0.000 claims abstract description 28
- 230000005540 biological transmission Effects 0.000 claims description 30
- 230000001678 irradiating effect Effects 0.000 claims description 9
- 239000010410 layer Substances 0.000 description 259
- 239000004065 semiconductor Substances 0.000 description 15
- 238000010586 diagram Methods 0.000 description 12
- 229920005989 resin Polymers 0.000 description 10
- 239000011347 resin Substances 0.000 description 10
- 239000003989 dielectric material Substances 0.000 description 9
- 229910004298 SiO 2 Inorganic materials 0.000 description 8
- 238000010438 heat treatment Methods 0.000 description 8
- 239000000975 dye Substances 0.000 description 7
- 229910052802 copper Inorganic materials 0.000 description 6
- 238000005259 measurement Methods 0.000 description 6
- 238000012546 transfer Methods 0.000 description 6
- 239000013626 chemical specie Substances 0.000 description 5
- 239000000470 constituent Substances 0.000 description 5
- 230000007423 decrease Effects 0.000 description 5
- 239000000463 material Substances 0.000 description 5
- 239000000203 mixture Substances 0.000 description 5
- 229910052709 silver Inorganic materials 0.000 description 5
- 238000001947 vapour-phase growth Methods 0.000 description 5
- 229910052782 aluminium Inorganic materials 0.000 description 4
- 238000004544 sputter deposition Methods 0.000 description 4
- NIXOWILDQLNWCW-UHFFFAOYSA-N acrylic acid group Chemical group C(C=C)(=O)O NIXOWILDQLNWCW-UHFFFAOYSA-N 0.000 description 3
- 230000000694 effects Effects 0.000 description 3
- 238000011156 evaluation Methods 0.000 description 3
- 229910052737 gold Inorganic materials 0.000 description 3
- 229910052742 iron Inorganic materials 0.000 description 3
- 229910052749 magnesium Inorganic materials 0.000 description 3
- 229910052697 platinum Inorganic materials 0.000 description 3
- 229910052719 titanium Inorganic materials 0.000 description 3
- 229910052725 zinc Inorganic materials 0.000 description 3
- 239000004925 Acrylic resin Substances 0.000 description 2
- 229920000178 Acrylic resin Polymers 0.000 description 2
- 239000000956 alloy Substances 0.000 description 2
- 229910045601 alloy Inorganic materials 0.000 description 2
- 229910052796 boron Inorganic materials 0.000 description 2
- 239000011248 coating agent Substances 0.000 description 2
- 238000000576 coating method Methods 0.000 description 2
- 230000006866 deterioration Effects 0.000 description 2
- 239000003822 epoxy resin Substances 0.000 description 2
- 229910052733 gallium Inorganic materials 0.000 description 2
- 230000007774 longterm Effects 0.000 description 2
- 229910052748 manganese Inorganic materials 0.000 description 2
- 239000004417 polycarbonate Substances 0.000 description 2
- 229920000515 polycarbonate Polymers 0.000 description 2
- 229920005668 polycarbonate resin Polymers 0.000 description 2
- 239000004431 polycarbonate resin Substances 0.000 description 2
- 229920000647 polyepoxide Polymers 0.000 description 2
- 238000002310 reflectometry Methods 0.000 description 2
- 238000011160 research Methods 0.000 description 2
- 230000035945 sensitivity Effects 0.000 description 2
- 229910052710 silicon Inorganic materials 0.000 description 2
- 238000004528 spin coating Methods 0.000 description 2
- 238000003860 storage Methods 0.000 description 2
- 239000000126 substance Substances 0.000 description 2
- 229910052718 tin Inorganic materials 0.000 description 2
- 238000001771 vacuum deposition Methods 0.000 description 2
- 238000007740 vapor deposition Methods 0.000 description 2
- 229910052726 zirconium Inorganic materials 0.000 description 2
- 229910018072 Al 2 O 3 Inorganic materials 0.000 description 1
- 239000004593 Epoxy Substances 0.000 description 1
- YCKRFDGAMUMZLT-UHFFFAOYSA-N Fluorine atom Chemical compound [F] YCKRFDGAMUMZLT-UHFFFAOYSA-N 0.000 description 1
- 239000004743 Polypropylene Substances 0.000 description 1
- 229910052777 Praseodymium Inorganic materials 0.000 description 1
- 229920000122 acrylonitrile butadiene styrene Polymers 0.000 description 1
- 239000000853 adhesive Substances 0.000 description 1
- 230000001070 adhesive effect Effects 0.000 description 1
- 239000000987 azo dye Substances 0.000 description 1
- 230000015572 biosynthetic process Effects 0.000 description 1
- QHIWVLPBUQWDMQ-UHFFFAOYSA-N butyl prop-2-enoate;methyl 2-methylprop-2-enoate;prop-2-enoic acid Chemical compound OC(=O)C=C.COC(=O)C(C)=C.CCCCOC(=O)C=C QHIWVLPBUQWDMQ-UHFFFAOYSA-N 0.000 description 1
- 239000000919 ceramic Substances 0.000 description 1
- 229910052804 chromium Inorganic materials 0.000 description 1
- 239000011247 coating layer Substances 0.000 description 1
- 230000007613 environmental effect Effects 0.000 description 1
- 239000011737 fluorine Substances 0.000 description 1
- 229910052731 fluorine Inorganic materials 0.000 description 1
- 239000011521 glass Substances 0.000 description 1
- LNEPOXFFQSENCJ-UHFFFAOYSA-N haloperidol Chemical compound C1CC(O)(C=2C=CC(Cl)=CC=2)CCN1CCCC(=O)C1=CC=C(F)C=C1 LNEPOXFFQSENCJ-UHFFFAOYSA-N 0.000 description 1
- 238000004519 manufacturing process Methods 0.000 description 1
- 229910052751 metal Inorganic materials 0.000 description 1
- 239000002184 metal Substances 0.000 description 1
- 239000007769 metal material Substances 0.000 description 1
- 150000002739 metals Chemical class 0.000 description 1
- 238000012986 modification Methods 0.000 description 1
- 230000004048 modification Effects 0.000 description 1
- 238000000465 moulding Methods 0.000 description 1
- 229910052759 nickel Inorganic materials 0.000 description 1
- 150000004767 nitrides Chemical class 0.000 description 1
- 229910052763 palladium Inorganic materials 0.000 description 1
- 239000012071 phase Substances 0.000 description 1
- 239000012782 phase change material Substances 0.000 description 1
- 239000001007 phthalocyanine dye Substances 0.000 description 1
- 229920013716 polyethylene resin Polymers 0.000 description 1
- -1 polypropylene Polymers 0.000 description 1
- 229920001155 polypropylene Polymers 0.000 description 1
- 229920005990 polystyrene resin Polymers 0.000 description 1
- 229920002050 silicone resin Polymers 0.000 description 1
- 239000013589 supplement Substances 0.000 description 1
- 229920002803 thermoplastic polyurethane Polymers 0.000 description 1
- 150000003568 thioethers Chemical class 0.000 description 1
- ANRHNWWPFJCPAZ-UHFFFAOYSA-M thionine Chemical compound [Cl-].C1=CC(N)=CC2=[S+]C3=CC(N)=CC=C3N=C21 ANRHNWWPFJCPAZ-UHFFFAOYSA-M 0.000 description 1
Images
Classifications
-
- G—PHYSICS
- G11—INFORMATION STORAGE
- G11B—INFORMATION STORAGE BASED ON RELATIVE MOVEMENT BETWEEN RECORD CARRIER AND TRANSDUCER
- G11B7/00—Recording or reproducing by optical means, e.g. recording using a thermal beam of optical radiation by modifying optical properties or the physical structure, reproducing using an optical beam at lower power by sensing optical properties; Record carriers therefor
- G11B7/004—Recording, reproducing or erasing methods; Read, write or erase circuits therefor
- G11B7/0045—Recording
- G11B7/00456—Recording strategies, e.g. pulse sequences
Landscapes
- Optical Record Carriers And Manufacture Thereof (AREA)
- Optical Recording Or Reproduction (AREA)
- Optical Head (AREA)
Abstract
【解決手段】 基板11上に設けられた記録層14を有する追記型の光記録媒体10に、記録パワーおよび基底パワーを含むパルス列パターンにしたがって変調されたレーザビームL10を照射して、記録層の所定の領域に記録マークを形成し、情報を記録する方法であって、記録線速度が高いほど、記録パワーからなるパルスの数が少なく、かつ、基底パワーのレベルと記録パワーのレベルの比が高くなるように設定されたパルス列パターンを用いて、レーザビームのパワーを変調し、記録マークを形成することを特徴とする光記録媒体への情報記録方法。
【選択図】 図3
Description
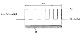
図8に示されるように、CD−Rにデータを記録する場合には、一般に、形成すべき記録マークMの長さに相当する幅の記録パルスが用いられる(たとえば、特開2000−187842号公報参照)。
以下のようにして、図1に示される光記録媒体1と同様の構成を有する光記録媒体を作製した。
2T信号ないし5T信号を記録するときには、単パルスパターンが選択され、6T信号ないし8T信号を記録するときには、2個ないし4個の分割パルスを含む基本パルス列パターンが選択されるように構成された第2のパルス列パターンを用いて、レーザビームのパワーを変調した以外は、実施例1と同様にして、光記録媒体にデータを記録し、記録されたデータを再生して、再生信号のクロックジッターが最小になったときのレーザビームの記録パワーPwを求め、最適な記録パワーとした。
記録信号にかかわらず、単パルスパターンが選択されるように構成された第3のパルス列パターンを用いて、レーザビームのパワーを変調した以外は、実施例1と同様にして、光記録媒体にデータを記録し、記録されたデータを再生して、再生信号のクロックジッターが最小になったときのレーザビームの記録パワーPwを求め、最適な記録パワーとした。
第1の記録線速度VLで、光記録媒体にデータを記録する場合に、第1のパルス列パターンの基底パワーPbを1.5mWに設定し、第2の記録線速度VMで、光記録媒体にデータを記録する場合に、第1のパルス列パターンの基底パワーPbを2.0mWに設定し、第3の記録線速度VHで、光記録媒体にデータを記録する場合に、第1のパルス列パターンの基底パワーPbを2.5mWに設定した以外は、実施例1と同様にして、光記録媒体にデータを記録し、記録されたデータを再生して、再生信号のクロックジッターが最小になったときのレーザビームの記録パワーPwを求め、最適な記録パワーとした。
第1の記録線速度VLで、光記録媒体にデータを記録する場合に、第2のパルス列パターンの基底パワーPbを1.5mWに設定し、第2の記録線速度VMで、光記録媒体にデータを記録する場合に、第2のパルス列パターンの基底パワーPbを2.0mWに設定し、第3の記録線速度VHで、光記録媒体にデータを記録する場合に、第2のパルス列パターンの基底パワーPbを2.5mWに設定した以外は、実施例1と同様にして、光記録媒体にデータを記録し、記録されたデータを再生して、再生信号のクロックジッターが最小になったときのレーザビームの記録パワーPwを求め、最適な記録パワーとした。
第1の記録線速度VLで、光記録媒体にデータを記録する場合に、第3のパルス列パターンの基底パワーPbを1.5mWに設定し、第2の記録線速度VMで、光記録媒体にデータを記録する場合に、第3のパルス列パターンの基底パワーPbを2.0mWに設定し、第3の記録線速度VHで、光記録媒体にデータを記録する場合に、第3のパルス列パターンの基底パワーPbを2.5mWに設定した以外は、実施例1と同様にして、光記録媒体にデータを記録し、記録されたデータを再生して、再生信号のクロックジッターが最小になったときのレーザビームの記録パワーPwを求め、最適な記録パワーとした。
記録パワーPwを、実施例4によって得られた最適な記録パワーに設定し、実施例4と同様にして、1本のトラックに、2Tないし8Tのランダム信号を記録し、記録した信号を再生して、再生信号のクロックジッターを測定した。以下、こうして測定されたクロックジッターを、「シングルジッター」という。
記録パワーPwを、実施例5によって得られた最適な記録パワーに設定し、実施例5と同様にして、1本のトラックに、2Tないし8Tのランダム信号を記録し、記録した信号を再生して、再生信号のシングルジッターを測定した。
記録パワーPwを、実施例6によって得られた最適な記録パワーに設定し、実施例6と同様にして、1本のトラックに、2Tないし8Tのランダム信号を記録し、記録した信号を再生して、再生信号のシングルジッターを測定した。
11 基板
11a ランド
11b グルーブ
12 反射層
13 第二の誘電体層
14 記録層
15 第一の誘電体層
16 光透過層
17 センターホール
31 第一の反応層
32 第二の反応層
50 情報記録装置
52 スピンドルモータ
53 ヘッド
54 コントローラ
55 レーザ駆動回路
56 レンズ駆動回路
57 フォーカスサーボ追従回路
58 トラッキングサーボ追従回路
59 レーザコントロール回路
L10 レーザビーム
M 記録マーク(混合領域)
Claims (26)
- 基板上に設けられた記録層を有する追記型の光記録媒体に、少なくとも記録パワーおよび基底パワーを含むパルス列パターンにしたがって変調されたレーザビームを照射して、前記記録層の所定の領域に記録マークを形成し、情報を記録する方法であって、記録線速度が高いほど、記録パワーからなるパルスの数が少なく、かつ、前記基底パワーのレベルと前記記録パワーのレベルの比が高くなるように設定されたパルス列パターンを用いて、レーザビームのパワーを変調し、記録マークを形成することを特徴とする光記録媒体への情報記録方法。
- 第1の線速度VH以上の記録線速度で、情報を記録する場合に、前記パルスの数を1に設定することを特徴とする請求項1に記載の光記録媒体への情報記録方法。
- 第1の線速度VH未満で、かつ、第2の線速度VLを越える記録線速度VMで、情報を記録する場合、少なくとも最短の記録マークを形成するときは、前記パルスの数を1に設定し、形成すべき記録マークの長さが長いほど、前記パルスの数を大きく、設定することを特徴とする請求項1または2に記載の光記録媒体への情報記録方法。
- 第1の線速度VH未満で、かつ、第2の線速度VLを越える記録線速度VMで、情報を記録する場合、少なくとも最短の記録マークを形成するときは、前記パルスの数を1に設定し、記録線速度VMが低くなるほど、前記パルスの数を大きく、設定することを特徴とする請求項1または2に記載の光記録媒体への情報記録方法。
- 前記第2の線速度VL以下の記録線速度で、それぞれの長さを有する記録マークを形成し、情報を記録する場合に、記録マークの長さを表わす数との差が一定になるように、前記パルスの数を設定することを特徴とする請求項1ないし4のいずれか1項に記載の光記録媒体への情報記録方法。
- 前記第1の線速度が、10m/sec以上に設定されたことを特徴とする請求項1ないし5のいずれか1項に記載の光記録媒体への情報記録方法。
- 前記光記録媒体に、450nm以下の波長を有するレーザビームを照射して、情報を記録することを特徴とする請求項1ないし6のいずれか1項に記載の光記録媒体への情報記録方法。
- λ/NA≦640nmを満たす開口数NAを有する対物レンズおよび波長λを有するレーザビームを用い、前記対物レンズを介して、前記光記録媒体に、レーザビームを照射して、情報を記録することを特徴とする請求項1ないし6のいずれか1項に記載の光記録媒体への情報記録方法。
- 前記光記録媒体が、さらに、光透過層を備え、前記記録層が、前記基板と前記光透過層の間に形成された第一の反応層と第二の反応層を含み、前記光透過層を介して、レーザビームを照射して、前記第一の記録層に主成分として含まれている元素と、前記第二の記録層に主成分として含まれている元素とを混合させて、記録マークを形成するように構成されたことを特徴とする請求項1ないし8のいずれか1項に記載の光記録媒体への情報記録方法。
- 前記第二の反応層が、前記第一の反応層に接するように、形成されたことを特徴とする請求項9に記載の光記録媒体への情報記録方法。
- 基板上に設けられた記録層を有する追記型の光記録媒体に、少なくとも記録パワーおよび基底パワーを含むパルス列パターンにしたがって変調されたレーザビームを照射して、前記記録層の所定の領域に記録マークを形成し、情報を記録する光記録媒体への情報記録装置であって、記録線速度が高いほど、記録パワーからなるパルスの数が少なく、かつ、前記基底パワーのレベルと前記記録パワーのレベルの比が高くなるように設定されたパルス列パターンを用いて、レーザビームのパワーを変調し、記録マークを形成することを特徴とする光記録媒体への情報記録装置。
- 第1の線速度VH以上の記録線速度で、情報を記録する場合に、前記パルスの数を1に設定することを特徴とする請求項11に記載の光記録媒体への情報記録装置。
- 第1の線速度VH未満で、かつ、第2の線速度VLを越える記録線速度VMで、情報を記録する場合、少なくとも最短の記録マークを形成するときは、前記パルスの数を1に設定し、形成すべき記録マークの長さが長いほど、前記パルスの数を大きく、設定することを特徴とする請求項11または12に記載の光記録媒体への情報記録装置。
- 第1の線速度VH未満で、かつ、第2の線速度VLを越える記録線速度VMで、情報を記録する場合、少なくとも最短の記録マークを形成するときは、前記パルスの数を1に設定し、記録線速度VMが低くなるほど、前記パルスの数を大きく、設定することを特徴とする請求項11または12に記載の光記録媒体への情報記録装置。
- 前記第2の線速度VL以下の記録線速度で、それぞれの長さを有する記録マークを形成し、情報を記録する場合に、記録マークの長さを表わす数との差が一定になるように、前記パルスの数を設定することを特徴とする請求項11ないし14のいずれか1項に記載の光記録媒体への情報記録装置。
- 前記第1の線速度が、10m/sec以上に設定されたことを特徴とする請求項11ないし15のいずれか1項に記載の光記録媒体への情報記録装置。
- 前記光記録媒体に、450nm以下の波長を有するレーザビームを照射して、情報を記録することを特徴とする請求項11ないし16のいずれか1項に記載の光記録媒体への情報記録装置。
- λ/NA≦640nmを満たす開口数NAを有する対物レンズおよび波長λを有するレーザビームを用い、前記対物レンズを介して、前記光記録媒体に、レーザビームを照射して、情報を記録することを特徴とする請求項11ないし16のいずれか1項に記載の光記録媒体への情報記録装置。
- 基板と前記基板上に形成された記録層を備え、少なくとも記録パワーおよび基底パワーを含むパルス列パターンにしたがって変調されたレーザビームが照射されて、前記記録層に記録マークが形成され、情報が記録されるように構成された追記型の光記録媒体であって、記録線速度が高いほど、記録パワーからなるパルスの数が少なく、かつ、前記基底パワーのレベルと前記記録パワーのレベルの比が高くなるように設定されたパルス列パターンを用いて、レーザビームのパワーを変調するために必要な記録条件設定用データが記録されていることを特徴とする光記録媒体。
- さらに、光透過層を備え、前記記録層が、前記基板と前記光透過層の間に形成された第一の反応層と第二の反応層を含み、前記光透過層を介して、レーザビームが照射されたときに、前記第一の記録層に主成分として含まれている元素と、前記第二の記録層に主成分として含まれている元素とが混合し、記録マークが形成されるように構成されたことを特徴とする請求項19に記載の光記録媒体。
- 前記第二の反応層が、前記第一の反応層に接するように、形成されたことを特徴とする請求項20に記載の光記録媒体。
- 前記光透過層が、10ないし300nmの厚さを有するように形成されたことを特徴とする請求項20または21に記載の光記録媒体。
- 第1の線速度VH以上の記録線速度で、情報を記録する場合に、前記パルスの数が1に設定されていることを特徴とする請求項19ないし22のいずれか1項に記載の光記録媒体。
- 第1の線速度VH未満で、かつ、第2の線速度VLを越える記録線速度VMで、情報を記録する場合、少なくとも最短の記録マークを形成するときは、前記パルスの数が1に設定され、形成すべき記録マークの長さが長いほど、前記パルスの数が大きく、設定されていることを特徴とする請求項19ないし23のいずれか1項に記載の光記録媒体。
- 第1の線速度VH未満で、かつ、第2の線速度VLを越える記録線速度VMで、情報を記録する場合、少なくとも最短の記録マークを形成するときは、前記パルスの数が1に設定され、記録線速度VMが低くなるほど、前記パルスの数が大きく、設定されていることを特徴とする請求項19ないし23のいずれか1項に記載の光記録媒体。
- 前記第2の線速度VL以下の記録線速度で、それぞれの長さを有する記録マークを形成し、情報を記録する場合に、記録マークの長さを表わす数との差が一定になるように、前記パルスの数が設定されていることを特徴とする請求項19ないし25のいずれか1項に記載の光記録媒体。
Priority Applications (1)
| Application Number | Priority Date | Filing Date | Title |
|---|---|---|---|
| JP2005155795A JP2005293845A (ja) | 2005-05-27 | 2005-05-27 | 光記録媒体への情報記録方法、光記録媒体への情報記録装置および光記録媒体 |
Applications Claiming Priority (1)
| Application Number | Priority Date | Filing Date | Title |
|---|---|---|---|
| JP2005155795A JP2005293845A (ja) | 2005-05-27 | 2005-05-27 | 光記録媒体への情報記録方法、光記録媒体への情報記録装置および光記録媒体 |
Related Parent Applications (1)
| Application Number | Title | Priority Date | Filing Date |
|---|---|---|---|
| JP2002159998A Division JP3954438B2 (ja) | 2002-05-31 | 2002-05-31 | 光記録媒体への情報記録方法、情報記録装置及び光記録媒体 |
Publications (1)
| Publication Number | Publication Date |
|---|---|
| JP2005293845A true JP2005293845A (ja) | 2005-10-20 |
Family
ID=35326571
Family Applications (1)
| Application Number | Title | Priority Date | Filing Date |
|---|---|---|---|
| JP2005155795A Pending JP2005293845A (ja) | 2005-05-27 | 2005-05-27 | 光記録媒体への情報記録方法、光記録媒体への情報記録装置および光記録媒体 |
Country Status (1)
| Country | Link |
|---|---|
| JP (1) | JP2005293845A (ja) |
-
2005
- 2005-05-27 JP JP2005155795A patent/JP2005293845A/ja active Pending
Similar Documents
| Publication | Publication Date | Title |
|---|---|---|
| JP3868406B2 (ja) | 光記録媒体へのデータの記録方法および光記録媒体へのデータの記録装置 | |
| US7254101B2 (en) | Laser beam power modulation pattern decision method, device for recording data onto optical recording medium, and optical recording medium | |
| JP4213600B2 (ja) | 光記録媒体への情報記録方法及び情報記録装置 | |
| KR100716044B1 (ko) | 광기록매체에의 데이터의 기록방법, 광기록매체에의데이터의 기록장치 및 광기록매체 | |
| JP3868455B2 (ja) | 光記録媒体への情報記録方法、光記録媒体への情報記録装置および光記録媒体 | |
| JP3954621B2 (ja) | 光記録媒体への情報記録方法、光記録媒体への情報記録装置および光記録媒体 | |
| JP4249102B2 (ja) | 光記録媒体へのデータの記録方法および光記録媒体へのデータの記録装置 | |
| JP2005293845A (ja) | 光記録媒体への情報記録方法、光記録媒体への情報記録装置および光記録媒体 | |
| WO2005022517A1 (ja) | 光記録ディスク | |
| JP2004047053A (ja) | 光記録媒体へのデータの記録方法、光記録媒体へのデータの記録装置および光記録媒体 | |
| US7554892B2 (en) | Method for recording data in optical recording medium, an apparatus for recording data in optical recording medium and optical recording medium | |
| JP2005293843A (ja) | 光記録媒体への情報記録方法、光記録媒体への情報記録装置および光記録媒体 | |
| US7443775B2 (en) | Method for recording data in optical recording medium, and apparatus for recording data in optical recording medium and optical recording medium | |
| JP2005004949A (ja) | 情報記録方法、情報記録装置及び情報記録媒体 | |
| JP3881215B2 (ja) | 光情報記録方法 | |
| JP2004158167A (ja) | 光記録媒体および光記録媒体へのデータ記録方法 | |
| JP2007026555A (ja) | 記録マークの形成方法、情報記録装置、情報記録方法、および情報記録媒体 | |
| JP2005004800A (ja) | 情報記録方法、情報記録装置及び情報記録媒体 | |
| CN101208744A (zh) | 光记录介质和光记录方法 | |
| JP2003085756A (ja) | 光情報記録媒体の記録方法、記録装置ならびに光情報記録媒体 |
Legal Events
| Date | Code | Title | Description |
|---|---|---|---|
| A131 | Notification of reasons for refusal |
Free format text: JAPANESE INTERMEDIATE CODE: A131 Effective date: 20050809 |
|
| A521 | Written amendment |
Free format text: JAPANESE INTERMEDIATE CODE: A523 Effective date: 20051006 |
|
| A02 | Decision of refusal |
Free format text: JAPANESE INTERMEDIATE CODE: A02 Effective date: 20061003 |
|
| A521 | Written amendment |
Free format text: JAPANESE INTERMEDIATE CODE: A523 Effective date: 20061128 |
|
| A521 | Written amendment |
Free format text: JAPANESE INTERMEDIATE CODE: A821 Effective date: 20061102 |
|
| A911 | Transfer of reconsideration by examiner before appeal (zenchi) |
Free format text: JAPANESE INTERMEDIATE CODE: A911 Effective date: 20061220 |
|
| A912 | Removal of reconsideration by examiner before appeal (zenchi) |
Free format text: JAPANESE INTERMEDIATE CODE: A912 Effective date: 20070330 |
