JP2005293701A - ディスク装置のヘッドスライダ - Google Patents

ディスク装置のヘッドスライダ Download PDF

Info

Publication number
JP2005293701A
JP2005293701A JP2004106426A JP2004106426A JP2005293701A JP 2005293701 A JP2005293701 A JP 2005293701A JP 2004106426 A JP2004106426 A JP 2004106426A JP 2004106426 A JP2004106426 A JP 2004106426A JP 2005293701 A JP2005293701 A JP 2005293701A
Authority
JP
Japan
Prior art keywords
head slider
pad
recording medium
center
inflow
Prior art date
Legal status (The legal status is an assumption and is not a legal conclusion. Google has not performed a legal analysis and makes no representation as to the accuracy of the status listed.)
Granted
Application number
JP2004106426A
Other languages
English (en)
Other versions
JP4293933B2 (ja
Inventor
Hiroyuki Kubodera
裕之 窪寺
Current Assignee (The listed assignees may be inaccurate. Google has not performed a legal analysis and makes no representation or warranty as to the accuracy of the list.)
Fujitsu Ltd
Original Assignee
Fujitsu Ltd
Priority date (The priority date is an assumption and is not a legal conclusion. Google has not performed a legal analysis and makes no representation as to the accuracy of the date listed.)
Filing date
Publication date
Application filed by Fujitsu Ltd filed Critical Fujitsu Ltd
Priority to JP2004106426A priority Critical patent/JP4293933B2/ja
Priority to US10/924,875 priority patent/US7397635B2/en
Priority to EP04255186A priority patent/EP1583080A3/en
Priority to KR1020040074581A priority patent/KR100641008B1/ko
Priority to CNA2008101667731A priority patent/CN101425298A/zh
Priority to CNB200710006969XA priority patent/CN100479037C/zh
Priority to CNB2004100780508A priority patent/CN100474399C/zh
Publication of JP2005293701A publication Critical patent/JP2005293701A/ja
Priority to US12/155,509 priority patent/US7701671B2/en
Application granted granted Critical
Publication of JP4293933B2 publication Critical patent/JP4293933B2/ja
Anticipated expiration legal-status Critical
Expired - Fee Related legal-status Critical Current

Links

Images

Classifications

    • GPHYSICS
    • G11INFORMATION STORAGE
    • G11BINFORMATION STORAGE BASED ON RELATIVE MOVEMENT BETWEEN RECORD CARRIER AND TRANSDUCER
    • G11B5/00Recording by magnetisation or demagnetisation of a record carrier; Reproducing by magnetic means; Record carriers therefor
    • G11B5/48Disposition or mounting of heads or head supports relative to record carriers ; arrangements of heads, e.g. for scanning the record carrier to increase the relative speed
    • G11B5/58Disposition or mounting of heads or head supports relative to record carriers ; arrangements of heads, e.g. for scanning the record carrier to increase the relative speed with provision for moving the head for the purpose of maintaining alignment of the head relative to the record carrier during transducing operation, e.g. to compensate for surface irregularities of the latter or for track following
    • G11B5/60Fluid-dynamic spacing of heads from record-carriers
    • GPHYSICS
    • G11INFORMATION STORAGE
    • G11BINFORMATION STORAGE BASED ON RELATIVE MOVEMENT BETWEEN RECORD CARRIER AND TRANSDUCER
    • G11B5/00Recording by magnetisation or demagnetisation of a record carrier; Reproducing by magnetic means; Record carriers therefor
    • G11B5/48Disposition or mounting of heads or head supports relative to record carriers ; arrangements of heads, e.g. for scanning the record carrier to increase the relative speed
    • G11B5/58Disposition or mounting of heads or head supports relative to record carriers ; arrangements of heads, e.g. for scanning the record carrier to increase the relative speed with provision for moving the head for the purpose of maintaining alignment of the head relative to the record carrier during transducing operation, e.g. to compensate for surface irregularities of the latter or for track following
    • G11B5/60Fluid-dynamic spacing of heads from record-carriers
    • G11B5/6005Specially adapted for spacing from a rotating disc using a fluid cushion
    • GPHYSICS
    • G11INFORMATION STORAGE
    • G11BINFORMATION STORAGE BASED ON RELATIVE MOVEMENT BETWEEN RECORD CARRIER AND TRANSDUCER
    • G11B21/00Head arrangements not specific to the method of recording or reproducing
    • G11B21/16Supporting the heads; Supporting the sockets for plug-in heads
    • G11B21/20Supporting the heads; Supporting the sockets for plug-in heads while the head is in operative position but stationary or permitting minor movements to follow irregularities in surface of record carrier
    • G11B21/21Supporting the heads; Supporting the sockets for plug-in heads while the head is in operative position but stationary or permitting minor movements to follow irregularities in surface of record carrier with provision for maintaining desired spacing of head from record carrier, e.g. fluid-dynamic spacing, slider
    • GPHYSICS
    • G11INFORMATION STORAGE
    • G11BINFORMATION STORAGE BASED ON RELATIVE MOVEMENT BETWEEN RECORD CARRIER AND TRANSDUCER
    • G11B5/00Recording by magnetisation or demagnetisation of a record carrier; Reproducing by magnetic means; Record carriers therefor
    • G11B5/48Disposition or mounting of heads or head supports relative to record carriers ; arrangements of heads, e.g. for scanning the record carrier to increase the relative speed
    • G11B5/58Disposition or mounting of heads or head supports relative to record carriers ; arrangements of heads, e.g. for scanning the record carrier to increase the relative speed with provision for moving the head for the purpose of maintaining alignment of the head relative to the record carrier during transducing operation, e.g. to compensate for surface irregularities of the latter or for track following
    • G11B5/60Fluid-dynamic spacing of heads from record-carriers
    • G11B5/6005Specially adapted for spacing from a rotating disc using a fluid cushion
    • G11B5/6082Design of the air bearing surface

Landscapes

  • Adjustment Of The Magnetic Head Position Track Following On Tapes (AREA)

Abstract

【課題】 回転するディスク型記録媒体上を浮上走行するヘッドスライダにおいて、気圧の低い高地においてもヘッドスライダの浮上量の変化を極力小さくする。
【解決手段】 ディスク型の磁気記録媒体上を浮上走行し、磁気記録媒体との間で磁気情報の記録又は再生を行う磁気エレメントを具備し、媒体対向面には、媒体走行方向に関して上流側端部に、流入パッド部、この流入パッド部から下流側に延びているサイドレール部、媒体走行方向に関して下流側端部に、中央部にはセンターパッド、該センターパッドの両側で且つ上流側よりの位置にサイドパッドが設けられている、ディスク装置のヘッドスライダにおいて、センターパッドにより発生する正圧力よりも、サイドパッドにより発生する正圧力を大きくするようにした。
【選択図】 図1

Description

本発明はディスク装置のヘッドスライダ、特に、ディスク型の磁気記録媒体上を浮上走行し、磁気記録媒体との間で磁気情報の記録又は再生を行う磁気エレメントを具備し、媒体対向面には、媒体走行方向に関して上流側端部に、流入パッド部、流入パッド部から下流側に延びているサイドレール部、媒体走行方向に関して下流側端部に、中央部にはセンターパッド、センターパッドの両側で且つ上流側よりの位置にサイドパッドが設けられている、ディスク装置のヘッドスライダに関する。
まず、磁気ヘッドスライダを搭載した従来のディスク装置について図15を参照して説明する。図15はこのような磁気ディスク装置1の平面図であって、装置本体2の内部には、1枚又は複数枚の円板状の磁気記録媒体3が所定の間隔をおいてスピンドル軸に搭載され、回転可能に配置されている。
ヘッドスライダ10は、回転する各磁気記録媒体3の表裏の媒体面毎に設けられ、ピポッド軸に揺動可能に支持されたアクチュエータのアーム4の端部にサスペンション5を介して支持されており、ボイス・コイル・モータ6によりの媒体面毎に対して半径方向に移動(シーク動作)する構造になっている。
ディスク装置1のヘッドスライダ10は、上記のような構造を有するため、図16に示すように、高速で回転するディスク型記録媒体3との間で生ずる正圧・負圧により媒体面に対して浮上しながら、ディスク型記録媒体の略半径方向に内側から外側へ、或いは逆に外側から内側へ移動することとなる。
図16において、磁気記録媒体3が矢印P方向に高速で回転移動すると、磁気記録媒体3とヘッドスライダ10との間に矢印P方向の図示のような空気流が発生する。このような正圧・負圧による空気膜を介してヘッドスライダ10は磁気記録媒体3の媒体面から所定量浮上して、記録媒体3の媒体面とヘッドスライダ10との間隔を保つ。
磁気記録媒体3の高密度実装を実現するためには、ヘッドスライダ10をディスク型記録媒体3にできる限り接近させのことが望まれるが、一方で、種々の条件下で、媒体面とヘッドスライダとの間隔が一定に保たれることが望まれる。ここで、例えば、ヘッドスライダ10の全長を1.25nmとすると、媒体面からのヘッドスライダ10の浮上高さtは、記録・再生用の磁気エレメント7が搭載されている、媒体面に最も接近する部位において、十数nm、例えば、約15nm程度となる。
ディスク装置のヘッドスライダ10は、上記のような構造を有するため、図17において、矢印P方向に高速で回転するディスク型記録媒体3との間で生ずる空気力により媒体面に対して浮上しながら、ディスク型記録媒体の略半径方向に内側から外側へ、或いは逆に外側から内側へ移動(シーク動作)することとなる。
このため、ヘッドスライダ10がディスク記録媒体3の内周側、中周、外周側をそれぞれ走行する場合において、ヘッドスライダ10に対するディスク記録媒体3の走行速度が相違すると共に、ヘッドスライダ3に対するディスク記録媒体3の走行方向、即ち速度ベクトルV1、V2、V3とそれぞれ方向が相違する。即ち、最内周側と最外周側とでは、走行速度差は約2倍で、速度ベクトルは約25度変化する。
したがって、ディスク装置のヘッドスライダ10の設計においては、このような速度差や速度ベクトルに変化がある場合でも、ディスク記録媒体3の全周にわたって記録媒体に対するヘッドスライダの浮上量t(図16)を可能な限り均一に保つことが肝要となる。
同様に、ヘッドスライダ10を支持しているアクチュエータのアーム4(図15)がシーク動作をする場合において、図18に示すように、アーム4の先端に搭載されたヘッドスライダ10がディスク記録媒体3に対して半径方向の内方へ移動する場合と、外方へ移動する場合とでは、記録媒体3に対するヘッドスライダ10の速度ベクトルについてシーク動作分(Vi又はVo)が加わり、速度ベクトルの方向(V4又はV5)は約15度方向を変化する。
したがって、このようなヘッドスライダ10が受ける流速の方向の変化に対しても、記録媒体に対するヘッドスライダの浮上量を可能な限り均一に保つことが要求される。
更に、磁気ディスク装置を搭載した機器、定置型のコンピュータ等であり、モバイル型のパーソナルコンピュータ等であれ、高地における気圧の低い条件下での使用に耐えるものでなければならない。一般に、HDD(ハード・ディスク・ドライブ)では高地での使用も考慮する必要があり、高度が例えば海抜3000mの地域においても使用を保障することが必要となる。
更に、製造上の問題、即ち加工誤差や組立誤差を考慮して、これらの誤差に対してロバストな設計とする必要がある。
上述のようなディスク装置のヘッドスライダの設計上の諸問題の中で、本発明は、特に高地における気圧の低い条件下での使用可能とする点に着目するものである。
即ち、従来のディスク装置のヘッドスライダは、高地などにおける気圧の低下に伴い、ヘッドスライダの浮上量が低下するという問題があった。特に、アクチュエータのアームの自由端側に支持されたヘッドスライダが、回転するディスク媒体に対して半径方向にシーク動作をして、ヘッドスライダがディスク媒体の内側(インナー側)に位置している時は、ヘッドスライダに対するディスク記録媒体の相対的な周速度が低いことから、ヘッドスライダに十分な浮上圧力が得られなくない等、気圧の低下により浮上量低下が顕著であるという問題があった。
気圧に対して依存性の低い、即ち気圧に対してロバストな特性をもったヘッドスライダを得ようとすると、周速の変化に対してのロバスト性が低下するという問題があった。また、気圧が低下するのに伴って、ヘッドスライダの浮上量が低下するだけでなく、ヘッドスライダが回転走行する媒体に対して上流下流方向の傾斜角度である「ピッチ角」も低下するという問題があった。
本発明に関連する先行技術とし、特許文献1には、スライダ本体が磁気記録媒体に対して浮上走行する場合に、磁気コアと磁気記録媒体との間のスペーシングが気圧変化に対して受ける影響を小さくして、磁気コアが磁気記録媒体に接触することを防止できる磁気ヘッドが提案されている。
この特許文献1によると、磁気コアが備えられたセンタパッド部はスライダ本体の媒体対向面の流出端(トレーリング側端部)中央部に形成され、センタパッド部より流入端(リーディング)側よりの幅方向両端部にサイドパッド部が形成され、両サイドパッド部の媒体と対向する側の面の面積の合計値がセンタパッド部の媒体と対向する側の面の面積より大きく、各パッド部は、リーディング側の他の部分より高さが低い前方段差面が形成されている磁気記録装置のヘッドスライダが開示されている。
このように、センタパッド部とサイドパッド部の媒体対向面の面積を調整することにより、磁気ヘッドスライダの気圧変動に対するロバストネスの向上を図っている。しかしながら、特許文献1に開示されている手法では、センタパッド部とサイドパッド部の媒体対向面の面積のみに着目しており、センタパッド部やサイドパッド部等において発生する圧力両が十分考慮されているとはいえない。
このようなことから、本発明では、センタパッド部とサイドパッド部の媒体対向面の面積とは関係なく、サイドパッド部で発生する正圧力がセンタパッド部で発生する正圧力よりも大きくすることにより気圧変動に対するロバストネスを確保するものであり、加えて、サイドパッド部の形状を工夫することにより更なる気圧変動に対するロバストネスの向上を図るものである。
特開2003−323706号
したがって、本発明は、上記のように回転するディスク型の磁気記録媒体上を浮上走行するヘッドスライダにおいて、気圧に対して依存性の低い、即ち気圧に対してロバストな特性をもたせ、大気圧より低い気圧の高地においてもヘッドスライダの浮上量の変化を極力小さくして、即ち気圧変化の対するロバストネス特性を有するディスク装置のヘッドスライダを提供することを課題とする。
上記の課題を達成するために、本発明によれば、ディスク型の磁気記録媒体上を浮上走行し、該磁気記録媒体との間で磁気情報の記録又は再生を行う磁気エレメントを具備し、媒体対向面には、媒体走行方向に関して上流側端部に、流入パッド部、該流入パッド部から下流側に延びているサイドレール部、媒体走行方向に関して下流側端部に、中央部にはセンターパッド、該センターパッドの両側にサイドパッドが設けられている、ヘッドスライダにおいて、前記センターパッドにより発生する正圧力よりも、前記サイドパッドにより発生する正圧力を大きくするようにしたヘッドスライダが提供される。
また、本発明によると、該ヘッドスライダが、前記磁気記録媒体の内周側の位置にある時、前記センターパッドにより発生する正圧力よりも、前記サイドパッドにより発生する正圧力を大きくするように構成したディスク装置のヘッドスライダが提供される。
また、本発明によると、上記のヘッドスライダにおいて、サイドパッドの少なくとも一方は、略L字型構造のエアベアリング面の長手方向延在部が記録媒体に対して外周側にあって、前記L字型構造は記録媒体に対して内周側に開口していることを特徴とする。
また、本発明によると、上記のディスク装置のヘッドスライダにおいて、前記流入パッド部、センターパッド及びサイドパッドは、エアベアリング面と該エアベアリング面よりも高さが低い段差面とを有し、少なくとも一方の側のサイドレールとサイドパッドとが接合されており、少なくとも一方のサイドレール部はヘッドスライダの側端縁から幅方向に10μm以上ヘッドスライダの中央寄りに形成されていることを特徴とするヘッドスライダが提供される。この場合において、サイドパッドとの結合部のヘッドスライダ外側寄りの角度が鈍角に形成されていることを特徴とする。
また、本発明によると、上記のヘッドスライダにおいて、前記センターパッドは、エアベアリング面と該エアベアリング面の後方にて該エアベアリング面よりも高さが低い段差面とを有し、該エアベアリング面は流出側の横方向延在部と流入側両側の長手前方延在部とで略コ字型形状を有し、段差面が、該エアベアリング面の直前領域と、該直前領域からヘッドスライダの前方向に延びる中央突起部とを有することを特徴とする。
また、上記のヘッドスライダにおいて、ヘッドスライダの記録媒体に対して内周側の負圧領域が、記録媒体に対して外周側の負圧領域よりもヘッドスライダの流入端側まで拡張されていることを特徴とするヘッドスライダが提供される。
更にまた、本発明によると、上記のヘッドスライダにおいて、前記負圧領域が、ヘッドスライダの流入端側からヘッドスライダの長手方向全長の25%以内の部位から形成されていることを特徴とするヘッドスライダが提供される。
更にまた、本発明によると、上記のヘッドスライダにおいて、前記流入パッド部は、ヘッドスライダの上流側端部の横方向に延びたエアベアリング面と、該エアベアリング面とヘッドスライダの上流側端部との間に該エアベアリング面より高さの低い段差面とを有し、且つ該段差面に、エアベアリング面からなる2つ以上の突起が形成されていることを特徴とするヘッドスライダが提供される。
以下、添付図面を参照して本発明の実施の形態について詳細に説明する。
図1〜図14は本発明のディスク装置におけるヘッドスライダの各実施形態をスライダの媒体対向面側から見た平面図である。また、図19は、本発明のヘッドスライダを磁気記録媒体に対向する面側から見た、特に媒体対向面の凹凸面を示す斜視図であって、底面Bからエア・ベアリング面(ABS)A及び段差面Dまでの高さを誇張して示している。
図19において、ヘッドスライダ本体10は、適当なセラミック材料、例えばアルミナ・チタン・カーバイド(AlTiC)からなり、イオン・ミーリング或いはイオン・エッチング等の従来から知られている方法により製造される。ヘッドスライダ本体10は媒体対向面側から見た平面形状が略矩形で、回転する磁気記録媒体の走行方向Pに関して上流側の横方向縁部を流入端10a、走行方向に関して後方の横方向縁部を流出端10b、走行方向に関して長手方向の両側縁10c、10dを有する。
このようにヘッドスライダ10の媒体対向面には、回転走行する磁気記録媒体との間で空気力による所要の浮上力を得るために、微小な凹凸が形成されていて、圧力を制御している。特に、これらの微小な凹凸により発生する正圧及び負圧を巧妙に組み合わせて制御することにより、高度な浮上機能を実現するものである。
図19に示すように、ヘッドスライダ10の媒体対向面は、3段階の段差のある凹凸面となっている。したがって、本明細書においては、磁気記録媒体の面から最も遠い位置にある、主として負圧面を形成している面Bを「底面」と定義し、逆に磁気記録媒体の面に最も接近している位置にある、主として正圧面を形成している面Aを「エア・ベアリング面(ABS)」と定義し、及びこのエア・ベアリング面からわずかに段差のある面Dを「段差面」と定義することとする。そして、エア・ベアリング面Aから底面Bまでの深さaは約1〜3μmであり、エア・ベアリング面Aから段差面Dまでの深さbは約0.1〜0.3μmである。
そして、エア・ベアリング面Aとして、媒体走行方向Pに関して上流側端部に近接して上流端からやや隔てて且つ媒体走行方向Pに関してヘッドスライダ本体の10の横ないし幅方向全体に延びた流入パッド部A(1)があり、媒体走行方向Pに関して下流側端部に、中央部にはセンターパッド部A(2)があり、更にこのセンターパッドの両側で且つこのセンターパッドの位置よりやや上流寄りの位置にサイドパッドA(3、4)が設けられている。
また、段差面Dとして、流入パッド部A(1)の媒体走行方向Pに関して前部域の全体に延びた流入側段差面D(1)、流入パッド部A(1)からヘッドスライダの両側縁に沿って下流側に延びているサイドレール部D(5、6)、及びセンターパッド部A(2)、サイドパッドA(3、4)の媒体走行方向Pに関して前方領域に設けられたセンター段差面D(2)及びサイド段差面D(3、4)がそれぞれ設けられている。
ヘッドスライダ10の媒体に対向する面であって、エア・ベアリング面A及び段差面D以外の領域は、底面Bであるが、特に、流入パッド部A(1)、サイドレール部D(5、6)、センターパッド部A(2)及びその段差面D(2)、サイドパッドA(3、4)及びその段差面D(3、4)で囲まれたヘッドスライダの媒体対向面の底部Bの中央領域は、負圧部を形成する。
ヘッドスライダ10の媒体対向面におけるエア・ベアリング面Aや段差面Dを形状や面積その他種々のパラメータを変更することで、ヘッドスライダ10の記録媒体面に対する浮上力を制御することができる。
次に、本発明のヘッドスライダ10の媒体対向面におけるエア・ベアリング面Aや段差面Dについての種々の実施形態を示した図1〜14について説明する。なお、これらの図において、前述の定義による、エア・ベアリング面Aを視線領域で示し、段差面Dを散点領域で示し、底面Bを白抜き領域として示す。
図1は本発明の第1実施形態に係るヘッドスライダの媒体対向面の平面図である。図1において、11は空気流が流入する流入端を、12は空気流が流れ出る流出端を示す。13はセンタパッド部、14、15はサイドパッド部を示す。この第1実施形態では、2つのサイドパッド部14、15による発生圧力(正圧力)をセンタパッド部による発生圧力(正圧力)よりも大きくする。これによって、気圧低下による浮上量の著しい低下を防ぐことができる。
具体的には、センタパッド部13におけるエア・ベアリング面Aと、サイドパッド部14、15におけるエア・ベアリング面Aの面積のみを考慮の対象とするのではなく、センタパッド部13及びサイドパッド部14、15の大きさ、形状、配置、或いは対応する段差面Dの大きさ、形状、配置、その他の物理的構成を種々の変化させることで、2つのサイドパッド部14、15による発生圧力をセンタパッド部による発生圧力よりも大きくすることができる。これらの大きさ、形状や配置により、そのようなヘッドスライダの媒体対向面において、如何なる圧力が得られるかについては、計算機シミュレーションを行い、具体的に圧力の状況をしていることができる。
図2は本発明の第2実施形態に係るヘッドスライダの媒体対向面の平面図である。21は空気流が流入する流入端を、22は空気流が流れ出る流出端を示す。23はセンタパッド部、24、25はサイドパッド部を示す。この第2実施形態では、ヘッドスライダが記録媒体に対して半径方向内側にある場合に、空気流は図2において左下方から右上方に向けて矢印Qのように流れる(図17の場合とは、表裏逆の関係になる)。したがって、サイドパッド24、25のエア・ベアリング面Aの前縁を図示のように内側へ向け、矢印Q方向の空気流に対する発生圧力を大きくする。これにより、ヘッドスライダが磁気記録媒体に対する半径方向の位置が内側領域にある時、サイドパッド部24、25による発生圧力が大きくなる。
即ち、ヘッドスライダが磁気記録媒体に対して半径方向の外周領域にある時よりも、内周領域にある時の方が、サイドパッド部24、25による発生圧力(正圧力)を大きくすることによって、特にヘッドスライダと磁気記録媒体との間の相対速度が低下する、磁気記録媒体の半径方向内側領域にヘッドスライダがある時における、気圧低下よるヘッドスライダの浮上量の著しい低下を防止することができる。
図3は本発明の第3実施形態に係るヘッドスライダの媒体対向面の平面図である。31は空気流が流入する流入端を、32は空気流が流れ出る流出端を示す。33はセンタパッド部、34、35はサイドパッド部を示す。この第3実施形態では、サイドパッド34、35のエア・ベアリング面Aを、後部の横方向延在部A1と長手方向延在部A2とで略L字型構造とする。そして、段差面Dをこれらの略L字型構造のエア・ベアリング面A1、A2で囲まれた領域の中央寄及び上流側の縁部まで延在させて、図示のように互いに中央寄へ向けるようにする。即ち、長手方向延在部A2は対応する段差面に対しては、ヘッドスライダ本体の縁側にある。これにより、矢印P方向に流入する空気流がこれらのサイドパッド部が土手となって集中効果を発揮し、サイドパッド部34、35による発生圧力が大きくなる。これにより、気圧低下よるヘッドスライダの浮上量の著しい低下を防止することができる。
図4は本発明の第4実施形態に係るヘッドスライダの媒体対向面の平面図である。41は空気流が流入する流入端を、42は空気流が流れ出る流出端を示す。43はセンタパッド部、44、45はサイドパッド部を示す。この第4実施形態では、第3実施形態と類似する構成であって、サイドパッド34、35のエア・ベアリング面Aを、後部の横方向延在部A1と長手方向延在部A2とで略L字型構造とする。そして、段差面Dがこれらの略L字型構造のエア・ベアリング面Aの中央寄及び上流側の縁部まで延在させている。しかしながら、特に、ヘッドスライダが磁気記録媒体に対して内周側にある場合に、空気流は図4において左下方から右上方に向けて矢印Qのように流れる。
したがって、内側に位置するサイドパッド44について、略L字型構造のエア・ベアリング面Aの長手方向延在部A2を図示のように段差面Dに対して、記録媒体に関し外周側、即ちヘッドスライダに対して中央寄りに配置する。これにより、特に、ヘッドスライダが磁気記録媒体に対する半径方向の位置が内側領域にある時、矢印Q方向に流れる空気流をこれらのサイドパッド部44、45の略L字型構造のエア・ベアリング面Aにより受け止めることにより、サイドパッド部44、45による発生圧力が大きくなる。
即ち、ヘッドスライダが磁気記録媒体に対して半径方向の外側領域にある時よりも、内側領域にある時の方が、サイドパッド部44、45による発生圧力(正圧力)を大きくすることによって、特にヘッドスライダと磁気記録媒体との間の相対速度が低下する、磁気記録媒体の半径方向内側領域にヘッドスライダがある時における、気圧低下によるヘッドスライダの浮上量の著しい低下を防止することができる。
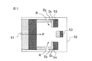
図5は本発明の第5実施形態に係るヘッドスライダの媒体対向面の平面図である。51は空気流が流入する流入端を、52は空気流が流れ出る流出端を示す。53はセンタパッド部、54、55はサイドパッド部を示す。この第5実施形態では、サイドパッド54、55のエア・ベアリング面Aの前方に延在する段差面Dを、後部の横方向延在部D1と長手方向延在部D2とで略L字型構造とする。そして、両サイドパッド54、55の段差面Dの略L字型構造の長手方向延在部D2を、ヘッドスライダに関して互いに外側寄りに配置することで、矢印P方向に流入する空気流が両サイドパッド54、55の前部に達した際に、これらのサイドパッド部54、55の略L字型構造の段差面Dにより内側へ向けるようにする。また、矢印R方向にヘッドスライダ内部へ流入する空気流をも制御する。
これにより、略L字型構造の段差面D2が土手となって空気流の集中効果を発揮し、サイドパッド部54、55による発生圧力が大きくなる。これにより、気圧低下によるヘッドスライダの浮上量の著しい低下を防止することができる。
図6は本発明の第6実施形態に係るヘッドスライダの媒体対向面の平面図である。61は空気流が流入する流入端を、62は空気流が流れ出る流出端を示す。63はセンタパッド部、64、65はサイドパッド部を示す。この第6実施形態では、サイドパッド64、65のエア・ベアリング面Aの前方に延在する段差面Dを、後部の横方向延在部D1と長手方向延在部D2とで略L字型構造とする点は、前述の第5実施形態と類似の構造であるが、両サイドパッド64、65の段差面Dの略L字型構造の長手方向延在部D2を、磁気記録媒体に対して両者とも媒体の外周側に配置している。
このような構造を採用することにより、ヘッドスライダが磁気記録媒体に対して内側にある場合に、空気流は図6において左下方から右上方に向けて矢印Qのように流れる。したがって、サイドパッド64、65が略L字型構造の段差面Dの前部長手方向延在部D2を図示のように磁気記録媒体に対して外側に配置することにより、ヘッドスライダが磁気記録媒体に対する半径方向の位置が内側領域にある時、矢印Q方向に流れる空気流をこれらのサイドパッド部64、65の略L字型構造の段差面Dにより受け止めることにより、サイドパッド部64、65による発生圧力が大きくなる。これにより、ヘッドスライダと磁気記録媒体との間の相対速度が低下する、磁気記録媒体の半径方向内側領域にヘッドスライダがある時における、気圧低下によるヘッドスライダの浮上量の著しい低下を防止することができる。
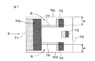
図7は本発明の第7実施形態に係るヘッドスライダの媒体対向面の平面図である。71は空気流が流入する流入端を、72は空気流が流れ出る流出端を示す。73はセンタパッド部、74、75はサイドパッド部、76、77はサイドレール部を示す。この第7実施形態では、段差面Dとして形成されている両サイドレール部76、77をヘッドスライダの側縁10c、10dからヘッドスライダの幅方向に寸法W(例えば10μm以上)中央側に配置している。また、これらの両サイドレール部76、77は、それらの上流端が流入パッド部710のエアベアリング面Aに結合され、下流端がサイドパッド部74、75の段差面に結合され、これらの間に長手方向に連続した構造となっている。
この第7実施形態では、このように両サイドレール部76、77をヘッドスライダの側縁10c、10dからヘッドスライダの幅方向に寸法W(例えば10μm以上)中央側に配置し且つ流入パッド部710のエア・ベアリング面Aに結合することにより、これらの両サイドレール部76、77が土手となって、矢印P方向に流入する空気流に対して集中効果を発揮する。特に、ヘッドスライダの内側へ回り込んだ空気流Rに対して集中効果が発揮される。これにより、サイドパッド74、75における発生圧力を増加させることができる、したがって、気圧低下によるヘッドスライダの浮上量の著しい低下を防止することができる。
図8は本発明の第8実施形態に係るヘッドスライダの媒体対向面の平面図である。81は空気流が流入する流入端を、82は空気流が流れ出る流出端を示す。83はセンタパッド部、84、85はサイドパッド部、86、87はサイドレール部、88、89はサイドレール部のサイドパッド部との結合部の角度を示す。この第8実施形態では、段差面Dとして形成されている両サイドレール部86、87をヘッドスライダの側縁10c、10dからヘッドスライダの幅方向に寸法W(例えば10μm以上)以上中央側に配置し、かつ、これらの両サイドレール部86、87は、流入パッド部810のエア・ベアリング面Aからサイドパッド部84、85の段差面にて連続して構造としている点は、第7実施形態と同様である。
しかしながら、この第8実施形態では、両サイドレール部86、87と各サイドパッド84、85の段差面との結合部の磁気ヘッドスライダの外側寄りの角度が鈍角になるように面取り部を設けている。この面取り部も段差面として形成されている。このように、第8実施形態では、ヘッドスライダの側縁10c、10dからヘッドスライダの幅方向に寸法W(例えば10μm以上)中央側に配置し且つ流入パッド部810のエア・ベアリング面Aに結合し、且つ両サイドレール部86、87と各サイドパッド84、85の段差面との結合部の外側角度88、89が鈍角となるように構成したので、第7実施形態と同様、両サイドレール部86、87が土手となって、矢印P方向(或いは、特に矢印R方向にヘッドスライダの内側へ)に流入する空気流に対して集中効果を発揮すると共に、磁気ヘッドスライダの加工時、記録媒体に対して動作待機位置にある時、或いは浮上時において、両サイドレール部86、87周辺位置にゴミ等が堆積するのを低減することが可能となる。特に、ヘッドスライダ浮上時においては高速回転する磁気記録媒体の表面に付着しているゴミが矢印R方向に流入する空気流と共にヘッドスライダ内へ流入するのが防止する効果が期待できる。
図9は本発明の第8実施形態に係るヘッドスライダの媒体対向面の平面図である。91は空気流が流入する流入端を、92は空気流が流れ出る流出端を示す。93はセンタパッド部、94、95はサイドパッド部、96、97はサイドレール部、98、99はサイドレール部の流入パッド部910との結合部の角度を示す。この第9実施形態では、段差面Dとして形成されている両サイドレール部96、97をヘッドスライダの側縁10c、10dからヘッドスライダの幅方向に寸法W(例えば10μm以上)中央側に配置し、かつ、これらの両サイドレール部96、97は、流入パッド部910のエアベアリング面Aからサイドパッド部94、95の段差面まで長手方向に結合した構造としている点は、第7実施形態と同様である。
しかしながら、この第9実施形態では、両サイドレール部96、97と流入パッド部910のエアベアリング面Aとの結合部のヘッドスライダの外側寄りの角度が鈍角になるように面取り部921、922を設けている。この面取り部921、922も段差面として形成されている。このように、第9実施形態では、ヘッドスライダの側縁10c、10dからヘッドスライダの幅方向に寸法W(例えば10μm以上)中央側に配置し且つ流入パッド部のエア・ベアリング面Aに結合し、且つ両サイドレール部86、87と流入パッド部910との結合部の角度98、99が鈍角となるように構成したので、第7実施形態と同様、両サイドレール部86、87が土手となって、矢印P方向(或いは、特に矢印R方向にヘッドスライダの内側へ)に流入する空気流に対して集中効果を発揮すると共に、ヘッドスライダの加工時、記録媒体に対して動作待機位置にある時、或いは浮上時において、両サイドレール部86、87周辺位置にゴミ等が堆積するのを低減することが可能となる。特に、ヘッドスライダ浮上時においては高速回転する磁気記録媒体の表面に付着しているゴミが矢印R方向に流入する空気流と共にヘッドスライダ内へ流入するのを防止する効果が期待できる。
なお、図7〜図9に示した実施形態において、例えば寸法Wが、10μm以上であるとした場合、ヘッドスライダ本体については、その種類にもよるが、例えば全長約1.25mm、全幅約1.0mmの中の、あるいは全長約0.85mm、全幅約0.70mmのものがある。
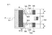
図10は本発明の第10実施形態に係るヘッドスライダの媒体対向面の平面図である。101は空気流が流入する流入端を、102は空気流が流れ出る流出端を示す。103はセンタパッド部、104、105はサイドパッド部、106、107はセンタパッド部のエアー・ベアリング面Aとして形成されたコ字形構造部分を示す。この第10実施形態では、センタパッド部103の構造に特徴がある。即ち、センターパッド部103は、エアー・ベアリング面Aとして形成された記録媒体面に最も近接する部分が、後部の横方向延在部と前部両側の長手方向延在部とで略コ字型形状として形成されている。また、センターパッド部103のエアー・ベアリング面Aの前方の領域に配置され且つエアー・ベアリング面Aより高さの低い段差面Dが、エアー・ベアリング面Aの直前領域109と、この直前領域109からヘッドスライダの上流側へ延びる中央突起部108とで構成されている。
このような構造を採用したことにより、磁気記録媒体の周速に対するロバストネスを実現することができる。また、センタパッド部103のエアー・ベアリング面Aのみを略コ字型形状106、107とする場合は、ヘッドスライダの浮上量の半径方向のプロファイルが中央付近で上昇する傾向があるが、この実施形態では、段差面Dに前方の延びた中央突起部108があるので、特に、ヘッドスライダの内部に流入した矢印S方向の空気流の集中効果が発揮されることにより、ヘッドスライダの浮上量の半径方向のプロファイルを平坦な形状とすることができる。
図11は本発明の第11実施形態に係るヘッドスライダの媒体対向面の平面図である。111は空気流が流入する流入端を、112は空気流が流れ出る流出端を示す。113はセンタパッド部、114、115はサイドパッド部、116、117はセンタパッド部のエアー・ベアリング面Aとして形成されたコ字形構造部分、118はセンタパッド部の段差面として形成された中央突起部、119はこの中央突起部118の下流側の外側付け根の部分に段差面としの面取りを示す。このように、第11実施形態は、図10に示す第10実施形態と類似するが、中央突起部118の下流端の外側付け根の部分に段差面としの面取り119を施した構造とした点が第10実施形態と相違する。これにより、ヘッドスライダが磁気記録媒体に対して半径方向外側の領域にある場合の気圧依存性を若干低下させることができる。即ち、このような構造により、磁気記録媒体に対して半径方向外側領域にある場合のヘッドスライダの気圧依存度が大きくなり過ぎることによって、浮上量が上昇し過ぎるのを防止することが可能となる。
図12は本発明の第12実施形態に係るヘッドスライダの媒体対向面の平面図である。121は空気流が流入する流入端を、122は空気流が流れ出る流出端を示す。123はセンタパッド部、124、125はサイドパッド部、126は内側の負圧領域、127は外側の負圧領域を示す。この第12実施形態では、ヘッドスライダの記録媒体に対し内側寄りの負圧領域126が、外側寄りの負圧領域127よりもヘッドスライダの流入端側121の側まで拡張されている。
即ち、流入パッド部の最も流入端側にある段差面129の長手方向の間隔をできる限り短くし、これに伴って流入パッド部のエアー・ベアリング面Aの後縁を出来る限り前方の位置とする。そして、記録媒体に対してヘッドスライダの内側寄りの負圧領域126をできる限り広くする。一方で、ヘッドスライダの外側寄りの負圧領域127が広くなり過ぎるのを防止するため、流入パッド部のエアー・ベアリング面Aの後方に、記録媒体に対して外側寄りの領域のみ、段差面128(D)を延在させる。このように、内側負圧領域126を拡張することによって、内側のサイドパッド部124における発生圧力が大きい場合でも、記録媒体の半径方向の位置による影響に対するヘッドスライダの「ロール」方向の変動、即ちヘッドスライダを前方から見た場合の横方向の傾斜変動を最小限度に抑制することが可能となる。
図13は本発明の第13実施形態に係るヘッドスライダの媒体対向面の平面図である。131は空気流が流入する流入端を、132は空気流が流れ出る流出端を示す。133はセンタパッド部、134、135はサイドパッド部、136は負圧領域を示す。この第13実施形態では、負圧領域136が、ヘッドスライダの流入端131側からヘッドスライダの長手方向全長の25%以内の部位から形成されている。即ち、流入端131から流出端132までのヘッドスライダの長さをL1とし、流入端131から負圧領域136の開始位置までの距離をL2とすると、L2はL1に対して25%以内の位置に設定する。
これにより、負圧領域136をより広くすることができて、気圧変動によるヘッドスライダのピッチ角変化を低減してヘッドスライダの姿勢を安定させることが可能となる。
図14は本発明の第14実施形態に係るヘッドスライダの媒体対向面の平面図である。141は空気流が流入する流入端を、142は空気流が流れ出る流出端を示す。143はセンタパッド部、144、145はサイドパッド部、146、147は流入パッド部の内側及び外側の突起を示す。この第14実施形態では、流入パッド部のエアー・ベアリング面Aの前部の段差面の領域において、内側及び外側にエアー・ベアリング面としての突起部146、147が形成されている。これらの突起部146、147は、ヘッドスライダの両側縁に近い部位ではあるが、両サイドレール部148、149よりは少し中央寄りの位置に設けられている。また、これらの突起部146、147は図示のように、エアー・ベアリング面として形成された流入パッド部140から流入端141まで前方に延びている。
このように第14実施形態では、ヘッドスライダの流入端141に両側縁近くにそれぞれエアー・ベアリング面としての突起部146、147を設けたので、ヘッドスライダのピッチ角の周速依存を改善することが可能となる。
以上添付図面を参照して本発明のディスク装置のヘッドスライダの各種の実施形態について説明したが、本発明は上記の実施形態に限定されるものではなく、本発明の精神ないし範囲内において種々の形態、変形、修正等が可能である。
以上説明したように、本発明の銑装置のヘッドスライダの形状に関し、気圧変動による浮上両変化を低減し、高度が海抜で0から4200mまでの大気圧変化が生じた場合においても、ヘッドスライダの浮上低下量を量の0nmにまで低減する効果を有する。更に、高度0から4200mの範囲内において、ヘッドスライダの浮上量を上昇させることも可能である。また、ヘッドスライダの浮上量の周速依存、ピッチ角の周速依存を改善することができる。
本発明の第1実施形態の平面図である。 本発明の第2実施形態の平面図である。 本発明の第3実施形態の平面図である。 本発明の第4実施形態の平面図である。 本発明の第5実施形態の平面図である。 本発明の第6実施形態の平面図である。 本発明の第7実施形態の平面図である。 本発明の第8実施形態の平面図である。 本発明の第9実施形態の平面図である。 本発明の第10実施形態の平面図である。 本発明の第11実施形態の平面図である。 本発明の第12実施形態の平面図である。 本発明の第13実施形態の平面図である。 本発明の第14実施形態の平面図である。 ディスク装置の概略平面図である。 ディスク装置におけるヘッドスライダの側面図である。 ヘッドスライダの位置と流速ベクトルとの関係を示す図である。 ヘッドスライダのシーク動作と流速ベクトルとの関係を示す図である。 ヘッドスライダの媒体対向面側から見た斜視図である。
符号の説明
10…ヘッドスライダ
10a(11,21,…)…流入端
10b(12,22,…)…流出端
10c,10d…側端
A…エア・ベアリング面
D…段差面
B…底面
A(1)…流入パッド部
A(2),(13,23,…)…センタパッドのエア・ベアリング面
A(3,4)(13,23,…)…サイドパッドのエア・ベアリング面
D(1)…流入パッド側の段差面
D(2),(13,23,…)…センタパッドの段差面
D(3,4)(14,15;24,25;…)…A(1)…サイドパッドの段差面

Claims (11)

  1. 回転するディスク型の磁気記録媒体上を浮上走行し、該磁気記録媒体との間で磁気情報の記録又は再生を行う磁気エレメントを具備し、媒体対向面には、媒体走行方向に関して上流側端部に、流入パッド部、該流入パッド部から下流側に延びているサイドレール部、媒体走行方向に関して下流側端部に、中央部にはセンターパッド、該センターパッドの両側にサイドパッドが設けられているヘッドスライダにおいて、
    前記センターパッドにより発生する正圧力よりも、前記サイドパッドにより発生する正圧力を大きくするように構成したヘッドスライダ。
  2. 該ヘッドスライダが、前記磁気記録媒体の内周側の位置にある時、前記センターパッドにより発生する正圧力よりも、前記サイドパッドにより発生する正圧力を大きくするように構成したことを特徴とする請求項1に記載のヘッドスライダ。
  3. 回転するディスク型の磁気記録媒体上を浮上走行し、該磁気記録媒体との間で磁気情報の記録又は再生を行う磁気エレメントを具備し、媒体対向面には、媒体走行方向に関して上流側端部に、流入パッド部、該流入パッド部から下流側に延びているサイドレール部、媒体走行方向に関して下流側端部に、中央部にはセンターパッド、該センターパッドの両側にサイドパッドが設けられているヘッドスライダにおいて、
    サイドパッドの少なくとも一方は、エアベアリング面と該エアベアリング面よりも高さの低い段差面とを有し、該エアベアリング面又は段差面は、長手方向延在部と流入側の横方向延在部とで略L字型構造を有することを特徴とするヘッドスライダ。
  4. サイドパッドの少なくとも一方は、略L字型構造のエアベアリング面の長手方向延在部が記録媒体に対して外周側にあって、前記L字型構造は記録媒体に対して内周側に開口していることを特徴とする請求項3に記載のディスク装置のヘッドスライダ。
  5. 回転するディスク型の磁気記録媒体の上を浮上走行し、該磁気記録媒体との間で磁気情報の記録又は再生を行う磁気エレメントを具備し、媒体対向面には、媒体走行方向に関して上流側端部に、流入パッド部、該流入パッド部から下流側に延びているサイドレール部、媒体走行方向に関して下流側端部に、中央部にはセンターパッド、該センターパッドの両側にサイドパッドが設けられているヘッドスライダにおいて、
    前記流入パッド部、センターパッド及びサイドパッドは、エアベアリング面と該エアベアリング面よりも高さが低い段差面とを有し、少なくとも一方の側のサイドレールとサイドパッドとが接合されており、少なくとも一方のサイドレール部はヘッドスライダの側端縁から幅方向に10μm以上ヘッドスライダの中央寄りに形成されていることを特徴とするヘッドスライダ。
  6. 前記サイドレール部は、流入パッド部との接合部又はサイドパッドとの結合部のヘッドスライダ外側寄りの角度が鈍角に形成されていることを特徴とする請求項5に記載のヘッドスライダ。
  7. 回転するディスク型の磁気記録媒体の上を浮上走行し、該磁気記録媒体との間で磁気情報の記録又は再生を行う磁気エレメントを具備し、媒体対向面には、媒体走行方向に関して上流側端部に、流入パッド部、該流入パッド部から下流側に延びているサイドレール部、媒体走行方向に関して下流側端部に、中央部にはセンターパッド、該センターパッドの両側にサイドパッドが設けられているヘッドスライダにおいて、
    前記センターパッドは、エアベアリング面と該エアベアリング面の後方にて該エアベアリング面よりも高さが低い段差面とを有し、該エアベアリング面は流出側の横方向延在部と流入側両側の長手前方延在部とで略コ字型形状を有し、段差面が、該エアベアリング面の直前領域と、該直前領域からヘッドスライダの前方向に延びる中央突起部とを有することを特徴とするヘッドスライダ。
  8. 前記段差面で構成されている前記中央突起部の前記直前領域との付け根部が記録媒体に対して外側寄りに面取りが施されていることを特徴とする請求項7に記載のヘッドスライダ。
  9. 回転するディスク型の磁気記録媒体の上を浮上走行し、該磁気記録媒体との間で磁気情報の記録又は再生を行う磁気エレメントを具備し、媒体対向面には、媒体走行方向に関して上流側端部に、流入パッド部、該流入パッド部から両側部にサイドレール部、媒体走行方向に関して下流側端部に、中央部にはセンターパッド、該センターパッドの両側にサイドパッドが設けられ、前記流入パッド部及びサイドレール部で囲まれた領域に負圧領域が形成されているヘッドスライダにおいて、
    ヘッドスライダの記録媒体に対して内周側の負圧領域が、記録媒体に対して外周側の負圧領域よりもヘッドスライダの流入端側まで拡張されていることを特徴とするヘッドスライダ。
  10. 回転するディスク型の磁気記録媒体の上を浮上走行し、該磁気記録媒体との間で磁気情報の記録又は再生を行う磁気エレメントを具備し、媒体対向面には、媒体走行方向に関して上流側端部に、流入パッド部、該流入パッド部から下流側に延びているサイドレール部、媒体走行方向に関して下流側端部に、中央部にはセンターパッド、該センターパッドの両側にサイドパッドが設けられ、前記流入パッド部及びサイドレール部で囲まれた領域に負圧領域が形成されているヘッドスライダにおいて、
    前記負圧領域が、ヘッドスライダの流入端側からヘッドスライダの長手方向全長の25%以内の部位から形成されていることを特徴とするヘッドスライダ。
  11. 回転するディスク型の磁気記録媒体の上を浮上走行し、該磁気記録媒体との間で磁気情報の記録又は再生を行う磁気エレメントを具備し、媒体対向面には、媒体走行方向に関して上流側端部に、流入パッド部、該流入パッド部から下流側に延びているサイドレール部、媒体走行方向に関して下流側端部に、中央部にはセンターパッド、該センターパッドの両側にサイドパッドが設けられているヘッドスライダにおいて、
    前記流入パッド部は、ヘッドスライダの上流側端部の横方向に延びたエアベアリング面と、該エアベアリング面とヘッドスライダの上流側端部との間に該エアベアリング面より高さの低い段差面とを有し、且つ該段差面に、エアベアリング面からなる2つ以上の突起が形成されていることを特徴とするヘッドスライダ。
JP2004106426A 2004-03-31 2004-03-31 ディスク装置のヘッドスライダ Expired - Fee Related JP4293933B2 (ja)

Priority Applications (8)

Application Number Priority Date Filing Date Title
JP2004106426A JP4293933B2 (ja) 2004-03-31 2004-03-31 ディスク装置のヘッドスライダ
US10/924,875 US7397635B2 (en) 2004-03-31 2004-08-25 Head slider for disk apparatus
EP04255186A EP1583080A3 (en) 2004-03-31 2004-08-27 Head slider for disk apparatus
KR1020040074581A KR100641008B1 (ko) 2004-03-31 2004-09-17 디스크 장치의 헤드 슬라이더
CNA2008101667731A CN101425298A (zh) 2004-03-31 2004-09-20 盘片装置的读写头滑块
CNB200710006969XA CN100479037C (zh) 2004-03-31 2004-09-20 盘片装置的读写头滑块
CNB2004100780508A CN100474399C (zh) 2004-03-31 2004-09-20 盘片装置的读写头滑块
US12/155,509 US7701671B2 (en) 2004-03-31 2008-06-05 Head slider for disk apparatus with rail portions

Applications Claiming Priority (1)

Application Number Priority Date Filing Date Title
JP2004106426A JP4293933B2 (ja) 2004-03-31 2004-03-31 ディスク装置のヘッドスライダ

Related Child Applications (1)

Application Number Title Priority Date Filing Date
JP2008326249A Division JP4734402B2 (ja) 2008-12-22 2008-12-22 ディスク装置のヘッドスライダ

Publications (2)

Publication Number Publication Date
JP2005293701A true JP2005293701A (ja) 2005-10-20
JP4293933B2 JP4293933B2 (ja) 2009-07-08

Family

ID=34880086

Family Applications (1)

Application Number Title Priority Date Filing Date
JP2004106426A Expired - Fee Related JP4293933B2 (ja) 2004-03-31 2004-03-31 ディスク装置のヘッドスライダ

Country Status (5)

Country Link
US (2) US7397635B2 (ja)
EP (1) EP1583080A3 (ja)
JP (1) JP4293933B2 (ja)
KR (1) KR100641008B1 (ja)
CN (3) CN100474399C (ja)

Cited By (2)

* Cited by examiner, † Cited by third party
Publication number Priority date Publication date Assignee Title
JP2008293568A (ja) * 2007-05-23 2008-12-04 Tdk Corp 磁気ヘッド装置
JP2014116062A (ja) * 2012-12-07 2014-06-26 Seagate Technology Llc スライダ本体を備える装置および方法

Families Citing this family (5)

* Cited by examiner, † Cited by third party
Publication number Priority date Publication date Assignee Title
JP2006120198A (ja) * 2004-10-19 2006-05-11 Toshiba Corp ヘッド、ヘッドサスペンションアッセンブリ、およびこれを備えたディスク装置
JP2007149205A (ja) * 2005-11-28 2007-06-14 Alps Electric Co Ltd 磁気ヘッド装置
JP2008016069A (ja) * 2006-06-30 2008-01-24 Toshiba Corp ヘッド、ヘッドサスペンションアッセンブリ、およびこれを備えたディスク装置
US20090059432A1 (en) * 2007-08-31 2009-03-05 Fujitsu Limited Head slider of magnetic disk device
JP2010033638A (ja) * 2008-07-25 2010-02-12 Toshiba Storage Device Corp 磁気ディスク装置のヘッドスライダ

Family Cites Families (20)

* Cited by examiner, † Cited by third party
Publication number Priority date Publication date Assignee Title
US6229671B1 (en) * 1997-09-22 2001-05-08 Seagate Technology Llc Shock pads for a slider for a data storage system
JP2000057724A (ja) * 1998-08-04 2000-02-25 Hitachi Ltd 磁気ヘッドスライダ及びそれを用いた磁気ディスク装置
US6606222B1 (en) * 1998-09-21 2003-08-12 Seagate Technology Llc Convergent channel, trenched disc head slider
JP3674347B2 (ja) 1998-09-28 2005-07-20 富士通株式会社 負圧ヘッドスライダ
US6144528A (en) * 1998-10-26 2000-11-07 Read-Rite Corporation Air bearing slider with reduced stiction
US6504682B1 (en) 1999-12-02 2003-01-07 Seagate Technology Llc Disc head slider having recessed, channeled rails for reduced stiction
KR100382757B1 (ko) * 2000-06-22 2003-05-01 삼성전자주식회사 부압 공기 윤활 베어링 슬라이더
US6646831B1 (en) * 2000-11-22 2003-11-11 Matsushita Kotobuki Electronics Peripherals Of America, Inc. Air bearing slider having optimized etch depth ratio
US6501621B1 (en) * 2000-11-22 2002-12-31 Matsushita Kotobuki Electronics Peripherals Of America, Inc. Air bearing slider having improved take-off velocity
JP2001283548A (ja) 2001-03-16 2001-10-12 Hitachi Ltd 磁気ディスク装置
JP2001283549A (ja) * 2001-03-16 2001-10-12 Hitachi Ltd 磁気ヘッドスライダ
US6771468B1 (en) * 2001-10-22 2004-08-03 Western Digital Corporation Slider with high pitch-stiffness air bearing design
US6590756B2 (en) 2001-11-21 2003-07-08 Eaton Corporation Network protector cable trip assembly
JP4020689B2 (ja) * 2002-05-01 2007-12-12 アルプス電気株式会社 磁気ヘッドとこれを備えた磁気記録装置
US6937440B2 (en) 2002-07-17 2005-08-30 Seagate Technology Llc Head slider having convergent channel features with side opening
US6989967B2 (en) * 2002-08-06 2006-01-24 Seagate Technology Llc Slider having a trailing bearing pad adjacent to a recessed area
US6879464B2 (en) * 2002-08-16 2005-04-12 Western Digital (Fremont), Inc. Air bearing having a cavity patch surface coplanar with a leading edge pad surface
KR100524940B1 (ko) * 2003-02-07 2005-10-31 삼성전자주식회사 디스크 드라이브의 공기 베어링 슬라이더
US7233460B2 (en) 2003-07-08 2007-06-19 Sae Magnetics (H.K.) Ltd. Ultra-low flying height slider design
US7333297B2 (en) * 2004-03-26 2008-02-19 Samsung Electronics Co., Ltd. Method and apparatus supporting a slider having multiple deflection rails in a negative pressure pocket for a hard disk drive

Cited By (2)

* Cited by examiner, † Cited by third party
Publication number Priority date Publication date Assignee Title
JP2008293568A (ja) * 2007-05-23 2008-12-04 Tdk Corp 磁気ヘッド装置
JP2014116062A (ja) * 2012-12-07 2014-06-26 Seagate Technology Llc スライダ本体を備える装置および方法

Also Published As

Publication number Publication date
CN100474399C (zh) 2009-04-01
CN100479037C (zh) 2009-04-15
EP1583080A2 (en) 2005-10-05
US7701671B2 (en) 2010-04-20
CN1677506A (zh) 2005-10-05
JP4293933B2 (ja) 2009-07-08
US20080259500A1 (en) 2008-10-23
KR20050096809A (ko) 2005-10-06
US20050219755A1 (en) 2005-10-06
CN101425298A (zh) 2009-05-06
US7397635B2 (en) 2008-07-08
KR100641008B1 (ko) 2006-11-02
CN1991987A (zh) 2007-07-04
EP1583080A3 (en) 2008-05-14

Similar Documents

Publication Publication Date Title
US6583961B2 (en) Air bearing facilitating load/unload of a magnetic read/write head
US5870250A (en) Method and apparatus for improving file capacity using different flying height profiles
US6144528A (en) Air bearing slider with reduced stiction
US7245455B2 (en) Center split feature and pressurization for altitude insensitivity, high pitch torque and high preload sensitivity air bearing slider
WO2001041141A2 (en) Disc head slider having recessed, trenched rails for reduced stiction
US8089729B2 (en) Slider with an air bearing surface and related topography
US7701671B2 (en) Head slider for disk apparatus with rail portions
US6606222B1 (en) Convergent channel, trenched disc head slider
US8320082B2 (en) Head with guide groove in center rail and ribs extending along air intake groove and disk device with the same
US20030053253A1 (en) Self-correcting disc head slider
JPH1064034A (ja) 浮上型ヘッドスライダ及び磁気ディスク装置
JP4734402B2 (ja) ディスク装置のヘッドスライダ
US7408742B2 (en) Magnetic head slider and method of fabricating magnetic head slider
JP4139700B2 (ja) 磁気ヘッドスライダ及び磁気ディスク装置
JP2008130207A (ja) ヘッドスライダおよび記憶媒体駆動装置
JP2778518B2 (ja) 磁気ヘッドスライダ
JPH11144418A (ja) 浮上型ヘッドスライダ及び磁気ディスク装置
JP2949313B2 (ja) 磁気ヘッドスライダ及び磁気ディスク装置
JP3035136U (ja) 磁気ヘッドスライダ
JP3633785B2 (ja) 磁気ヘッド装置
JP2008016069A (ja) ヘッド、ヘッドサスペンションアッセンブリ、およびこれを備えたディスク装置
US8184401B2 (en) Disk drive head and suspension assembly having a slider with a groove and a connecting step
JP2002184148A (ja) スライダ及び回転型円板記憶装置
JP3092278B2 (ja) 浮上型ヘッドスライダ
JPH09198635A (ja) 磁気ヘッドスライダ

Legal Events

Date Code Title Description
A621 Written request for application examination

Free format text: JAPANESE INTERMEDIATE CODE: A621

Effective date: 20060627

A977 Report on retrieval

Free format text: JAPANESE INTERMEDIATE CODE: A971007

Effective date: 20080625

A131 Notification of reasons for refusal

Free format text: JAPANESE INTERMEDIATE CODE: A131

Effective date: 20080701

A521 Request for written amendment filed

Free format text: JAPANESE INTERMEDIATE CODE: A523

Effective date: 20080828

A02 Decision of refusal

Free format text: JAPANESE INTERMEDIATE CODE: A02

Effective date: 20081104

A521 Request for written amendment filed

Free format text: JAPANESE INTERMEDIATE CODE: A523

Effective date: 20081204

A911 Transfer to examiner for re-examination before appeal (zenchi)

Free format text: JAPANESE INTERMEDIATE CODE: A911

Effective date: 20090114

TRDD Decision of grant or rejection written
A01 Written decision to grant a patent or to grant a registration (utility model)

Free format text: JAPANESE INTERMEDIATE CODE: A01

Effective date: 20090310

A01 Written decision to grant a patent or to grant a registration (utility model)

Free format text: JAPANESE INTERMEDIATE CODE: A01

A61 First payment of annual fees (during grant procedure)

Free format text: JAPANESE INTERMEDIATE CODE: A61

Effective date: 20090407

FPAY Renewal fee payment (event date is renewal date of database)

Free format text: PAYMENT UNTIL: 20120417

Year of fee payment: 3

R150 Certificate of patent or registration of utility model

Free format text: JAPANESE INTERMEDIATE CODE: R150

FPAY Renewal fee payment (event date is renewal date of database)

Free format text: PAYMENT UNTIL: 20120417

Year of fee payment: 3

S111 Request for change of ownership or part of ownership

Free format text: JAPANESE INTERMEDIATE CODE: R313111

FPAY Renewal fee payment (event date is renewal date of database)

Free format text: PAYMENT UNTIL: 20120417

Year of fee payment: 3

R350 Written notification of registration of transfer

Free format text: JAPANESE INTERMEDIATE CODE: R350

LAPS Cancellation because of no payment of annual fees