JP2005292805A - 再帰性反射シート及び外照式照明システム - Google Patents
再帰性反射シート及び外照式照明システム Download PDFInfo
- Publication number
- JP2005292805A JP2005292805A JP2005056241A JP2005056241A JP2005292805A JP 2005292805 A JP2005292805 A JP 2005292805A JP 2005056241 A JP2005056241 A JP 2005056241A JP 2005056241 A JP2005056241 A JP 2005056241A JP 2005292805 A JP2005292805 A JP 2005292805A
- Authority
- JP
- Japan
- Prior art keywords
- layer
- glass sphere
- resin
- angle
- focal
- Prior art date
- Legal status (The legal status is an assumption and is not a legal conclusion. Google has not performed a legal analysis and makes no representation as to the accuracy of the status listed.)
- Granted
Links
Images
Landscapes
- Optical Elements Other Than Lenses (AREA)
- Laminated Bodies (AREA)
Abstract
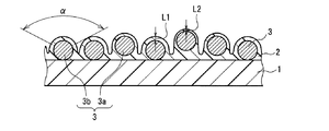
【解決手段】本発明の再帰反射シートは、少なくとも1層からなる表面層(1)と、ガラス球(3)を包含する焦点層(2)と、前記焦点層(2)の裏面側に金属反射層(4)を設けた再帰性反射シートにおいて、前記ガラス球(3)は、前記焦点層(2)の厚さ方向のアトランダムな位置に配置されている。本発明の外照式照明システムは、前記の再帰性反射シートを含む標識面を持つ標識と、外部の照明源を備え、照明源から標識面までの距離が1m以上100m以下の範囲である。
【選択図】 図1F
Description
又、焦点層樹脂溶液を塗布乾燥する時に、焦点層溶液は体積収縮し、この収縮応力によりガラス球の裏面に回り込み、理想的な同心円を形成しようとする。焦点層12がガラス球の焦点位置に均一厚さに形成できれば、図8Bに示すように、正面方向からの入射光b1はガラス球焦点層裏面の金属反射層で反射し、入射の方向とほぼ平行に反射光b2として再帰反射し、斜め方向からの入射光c1も入射の方向とほぼ平行に反射光c2として再帰反射する。しかし、実際にはガラス球とガラス球間の固着層にも前記焦点層溶液は接触し、乾燥工程と共に前記固着層にも焦点層溶液が引き寄せられるか、又は重力により位置の低い方向に流れる。その結果、焦点層樹脂の同心円の形成が阻害され、ガラス球の裏面側が薄く、側面側が厚くなり、図8Cのような焦点層が形成される。
すなわち、ガラス球の裏面側の焦点層膜厚をガラス球の焦点位置に合致させた場合、正面方向からの入射光d1は入射の方向とほぼ平行に反射光d2として再帰反射するが、斜め方向からの入射光e1は入射の方向から拡散して反射光e2として再帰反射する。したがって、図8Cのβで示す範囲の入射角の小さい角度でしか最適な反射はできなかった。
また、前記特許文献4に提案されている反射シート(図8D)のように、ガラス球の側面側を入射光g1とほぼ平行に反射光g2として再帰反射させようとして焦点層を形成すると、正面方向からの入射光f1は入射の方向から拡散して反射光f2として再帰反射する問題がある。したがって、大きい観測角での反射性能は得られても、比較的小さい観測角である正面方向からの反射性能が要求される日本工業規格(JIS)や海外の標識の規格値に遠く到達しないのが現状であった。そのため、使用用途は限定され、一般交通標識への利用もできなく、車のナンバープレート等への利用も困難であり、実用上、市場のニーズを充足させるに至らなかった。
これにより、無色透明で、顔料の分散性、酸化チタンガラスへの接着性、かつ強靭で可とう性に優れ、有機溶剤への溶解性が良く、官能基を有し、架橋反応を行えるので好適である。
再帰反射係数R′=I/ES・A
R′:再帰反射係数
ES:試験片中心位置における入射光における入射光に垂直な平面上の照度(lx)
A :試験片表面積(m2)
I :試験片による観測軸方向への光度(Cd)で次式から求める。
I=Er・d2
ここにEr:受光器上の照度(lx)
d:試験片表面中心と受光器間の距離(m)
また、前記標識面に対して外部から色温度が2,856Kである標準の光Aを照射したとき、観測角5°、入射角50°での反射性能が0.5以上、かつ観測角40°、入射角50°での反射性能が0.055以上であることが好ましい。
(1)反射性能
色彩輝度計(トプコン社製)を使用し、JIS Z 9117の反射性能の測定に準拠して、反射性能を測定した。反射性能は、観測角と入射角の各種組み合わせにて測定した。
(2)第一の表面層に接触しているガラス球の割合を測定する方法
超深度形状測定顕微鏡(キーエンス社製)又は光学顕微鏡(ニコン社製)等を使用し、シート断面構造を解析して、ガラス球群Aとガラス球群Bの割合を測定した。
第一の表面層として使用するアニール処理された2軸延伸ポリエチレンテレフタレートフィルム(帝人デュポンフィルム社製、商品名MX534,150℃で30分加熱した時のフィルムの巻き取り方向の収縮率が0.3%、膜厚97μm)上に、焦点層として下記のガラス球分散樹脂溶液を塗布した。
(1)ポリビニルブチラール樹脂溶液:75.0部(重合度:680,ポリビニルアルコール単位23重量%,ガラス転移点66℃,固形分21%,n−ブタノール/トルエン1:1)
(2)スーパーベッカミンJ−820−60:3.3部(大日本インキ化学工業社製、ブチル化メラミン樹脂、固形分60%)
(3)ベッカミンP−198:0.2部(大日本インキ化学工業社製、硬化促進剤、酸価400)
(4)BYK−053:0.5部(ビックケミージャパン社製、アルキルビニルエーテル共重合物、消泡剤)
(5)ポリサイダー W−360−ELS:7.0部(大日本インキ化学工業社製、高分子可塑剤)
(6)トルエン:7.6部
(7)n−ブタノール:7.6部
(8)ガラス球:68.0部(中心粒径50μm、±10μm以内に90%以上含有、
屈折率2.25±0.05)
上記配合樹脂(ガラス球を除く)塗料の塗工時の粘度は1900mPa・sであった。
アニール処理された2軸延伸ポリエチレンテレフタレートフィルム(帝人デュポンフィルム社製、商品名MX534,150℃で30分加熱した時のフィルムの巻き取り方向の収縮率が0.3%、膜厚97μm)上に、下記のガラス球分散樹脂溶液を塗布した。
(1)ポリビニルブチラール樹脂溶液:98.0部(重合度:1100、ポリビニルアルコール単位18重量%、ガラス転移点76℃、固形分16%、n−ブタノール/トルエン1:1)
(2)ベッカミンP−196−M:3.0部(大日本インキ化学工業社製、ブチル化尿素樹脂、固形分60%)
(3)ベッカミンP−198:0.1部(大日本インキ化学工業製社、硬化促進剤、酸価400)
(4)BYK−053:0.5部(ビックケミージャパン社製、アルキルビニルエーテル共重合物、消泡剤)
(5)ポリサイダー W−360−ELS:2.0部(大日本インキ化学工業社製、高分子可塑剤)
(6)DIDP:2.0部(フタル酸エステル、可塑剤)
(7)トルエン:8.0部
(8)n−ブタノール:8.0部
(9)ガラス球:60.0部(中心粒径50μm、±10μm以内に90%以上含有、
屈折率2.25±0.05)
上記配合樹脂(ガラス球を除く)の塗工時の粘度は1100mPa・sであった。
上記のガラス球分散樹脂溶液を実施例1と同様に、第一の表面層に接触したガラス球の焦点位置に焦点層が形成されるようにWET膜厚を調整して、表面層上に塗布した。
表面層用の樹脂組成物を、ベッコライトM−6401−50(大日本インキ化学工業社製、ポリエステル樹脂)の100部、スーパーベッカミンJ−820−60の20部、ベッカミンP−198の1部から調整した。
比較例1において、ガラス球の裏面の頂点に積層される焦点層の乾燥膜厚を約15μmとなる様に焦点層用の樹脂組成物を塗布したが、比較例2では、前記した約15μmを約12μmに設定して、大きい観測角での反射性能を向上させた。他は比較例1と同様にした。
また、特許文献5の標識照明システムに使用されている市販の広観測角性を有するカプセルレンズ型再帰性反射シート(スリーエム社製、高輝度広角反射シート HV−8100 白色)を比較例3として使用し、本発明の実施例1の再帰性反射シートと反射性能を比較した。数値を表2に示す。
実施例1と同様にして焦点層用ガラス球分散樹脂溶液を作製した。次に黄色、赤色、橙色、緑色、青色の再帰性反射シートを作製するためにそれぞれの色別に前記焦点層用ガラス球分散樹脂溶液に下記色材を配合した。
(1)黄色用焦点層ガラス球分散樹脂溶液:AWB−CP201オレンジ(日弘ビックス製:顔料濃度40%)のトルエン/Nーブタノール(1/1)20%溶液0.2g、AWB−CP310イエロー(日弘ビックス製:顔料濃度50%)のトルエン/Nーブタノール(1/1)20%溶液3.5g
(2)赤色用焦点層ガラス球分散樹脂溶液:AWB−CP102レッド(日弘ビックス製:顔料濃度50%)のトルエン/Nーブタノール(1/1)20%溶液5.5g
(3)橙色用焦点層ガラス球分散樹脂溶液:AWB−CP201オレンジ(日弘ビックス製:顔料濃度40%)のトルエン/Nーブタノール(1/1)20%溶液4.9g
(4)緑色用焦点層ガラス球分散樹脂溶液:AWB−CP310イエロー(日弘ビックス製:顔料濃度50%)のトルエン/Nーブタノール(1/1)20%溶液0.5g、AWB−CP400グリーン(日弘ビックス製:顔料濃度50%)のトルエン/Nーブタノール(1/1)20%溶液8.0g
(5)青色用焦点層ガラス球分散樹脂溶液:AWB−CP102レッド(日弘ビックス製:顔料濃度50%)のトルエン/Nーブタノール(1/1)20%溶液0.14g、AWB−CP650ブルー(日弘ビックス製:顔料濃度45%)のトルエン/Nーブタノール(1/1)20%溶液7.5g
上記で作製した各色用焦点層ガラス球分散樹脂溶液を用いて実施例1と同様にして、各色の再帰性反射シートを作製した。そのときの反射性能を表3に示す。
2,12 焦点層
3,13 ガラス球
4,14 金属反射層
5,15 粘着剤層
6,16 剥離材
11 ガラス球固着層
20 照明源
20a 投光照明器
30 道路標識
Claims (21)
- 少なくとも1層からなる表面層と、ガラス球を包含する焦点層と、前記焦点層の裏面側に金属反射層を設けた再帰性反射シートにおいて、
前記ガラス球は、前記焦点層の厚さ方向のアトランダムな位置に配置されていることを特徴とする再帰性反射シート。 - 前記ガラス球は、前記表面層に接しているガラス球群Bと、前記表面層から離れた場所に位置するガラス球群Aを含み、前記ガラス球群Aが前記ガラス球群Bの観測角より大きな観測角で再帰反射性能を有する請求項1に記載の再帰性反射シート。
- 前記ガラス球は、前記表面層に接しているガラス球群Bと、前記表面層から離れた場所に位置するガラス球群Aを含み、
前記ガラス球群Bの金属反射層が焦点形成位置に形成され、前記ガラス球群Aの焦点層の厚さを前記ガラス球群Bの焦点層の厚さより薄くし、前記ガラス球群Bに比べて前記ガラス球群Aのほうが相対的に大きな観測角で再帰反射性能を有する請求項1に記載の再帰性反射シート。 - 前記ガラス球は、前記表面層に接しているガラス球群Bと、前記表面層から離れた場所に位置するガラス球群Aを含み、
前記ガラス球群Bのガラス球面上同心円状に形成された焦点層は、観測角0.2°、入射角5°で最高の反射性能が発現する膜厚を有し、ガラス球群Aの焦点層の膜厚は、前記ガラス球群Bの焦点層の膜厚より薄く、かつ前記ガラス球群Aのほうが前記ガラス球群Bに比べてより大きな観測角で再帰反射性能を有する請求項1に記載の再帰性反射シート。 - 前記表面層に接したガラス球の割合は、全ガラス球の50〜90重量%である請求項2〜4のいずれかに記載の再帰性反射シート。
- 前記ガラス球は、屈折率が2.10以上2.40以下の範囲にある請求項1〜5のいずれかに記載の再帰性反射シート。
- 前記ガラス球は、中心粒径が35μm以上75μmの範囲にあり、かつ前記ガラス球の80%以上が中心粒径±10μmの範囲にある請求項1〜6のいずれかに記載の再帰性反射シート。
- 前記焦点層を構成する樹脂の主成分はポリビニルアセタール樹脂である請求項1〜7のいずれかに記載の再帰性反射シート。
- 前記ポリビニルアセタール樹脂は重合度500〜1500のポリビニルブチラール樹脂である請求項8に記載の再帰性反射シート。
- 前記ポリビニルブチラール樹脂のポリビニルアルコール単位が17重量%以上23重量%以下である請求項9に記載の再帰性反射シート。
- 前記ポリビニルブチラール樹脂のガラス転移点(Tg)が60℃以上80℃以下である請求項9又は10に記載の再帰性反射シート。
- 前記ポリビニルブチラール樹脂のポリビニルアルコール単位中のヒドロキシル基がアミノ樹脂と架橋反応したものであり、前記焦点層が、トルエンに1分間、キシレンに1分間、メタノールに10分間各々の溶剤に浸漬したときに溶解しない層である請求項9〜11のいずれかに記載の再帰性反射シート。
- 前記焦点層の樹脂重量とガラス球の混合割合が、樹脂重量1に対してガラス球重量が1.5〜3.7である請求項1〜12のいずれかに記載の再帰性反射シート。
- 前記焦点層には非シリコン系消泡剤が前記焦点層の樹脂重量の0.01〜3.0%含有されている請求項1〜13のいずれかに記載の再帰性反射シート。
- 前記非シリコン系消泡剤がアルキルビニルエーテル共重合物である請求項14に記載の再帰性反射シート。
- 前記表面層は、少なくとも1層のコーティング層、又は樹脂シートの上に形成された少なくとも1層のコーティング層を含み、前記コーティング層は、反応性官能基を含有するフルオロオレフィン系共重合体、ポリエステル系樹脂、アルキド系樹脂、ポリウレタン系樹脂、ビニル系樹脂、及び反応性官能基を有するアクリル系重合体から選ばれる少なくとも一つの樹脂成分と、アミノ樹脂、エポキシ樹脂、ポリイソシアネート、及びブロックポリイソシアネートから選ばれる少なくとも一つの硬化剤及び/又は硬化触媒を配合した組成物である請求項1に記載の再帰性反射シート。
- 前記表面層は、少なくとも1層のコーティング層、又は樹脂シートの上に形成された少なくとも1層のコーティング層を含み、前記コーティング層の最外層は、フルオロオレフィン系共重合体組成物である請求項1に記載の再帰性反射シート。
- 前記コーティング層の樹脂成分は、反応性官能基を含有するフルオロオレフィン系共重合体である請求項16に記載の再帰性反射シート。
- 請求項1〜18のいずれかに記載の再帰性反射シートを含む標識面を持つ標識と、外部の照明源を備え、
前記照明源から前記標識面までの距離が1m以上100m以下の範囲であることを特徴とする外照式照明システム。 - 前記照明源は前記標識面に対して0°以上50°以下の範囲の入射角で前記標識面に入射する光を放射し、
前記標識面は入射角35°の角度で色温度が2,856Kである標準の光Aが入射した時、観測角35°で0.07以上の反射性能を有する請求項19に記載の外照式照明システム。
ただし、入射角とは、投光された光の照射軸と再帰性反射シートの表面中心法線とのなす角度をいい、観測角とは、投光された光の照射軸と観測軸とのなす角度をいい、反射性能とは、下記の数式にて算出された係数である。
再帰反射係数R′=I/ES・A
R′:再帰反射係数
ES :試験片中心位置における入射光における入射光に垂直な平面上の照度(lx)
A :試験片表面積(m2)
I :試験片による観測軸方向への光度(Cd)で次式から求める。
I=Er・d2
ここにEr:受光器上の照度(lx)
d:試験片表面中心と受光器間の距離(m) - 前記標識面に対して外部から色温度が2,856Kである標準の光Aを照射したとき、観測角5°、入射角50°での反射性能が0.5以上、かつ観測角40°、入射角50°での反射性能が0.055以上である請求項19に記載の外照式照明システム。
Priority Applications (1)
| Application Number | Priority Date | Filing Date | Title |
|---|---|---|---|
| JP2005056241A JP3723568B2 (ja) | 2004-03-10 | 2005-03-01 | 再帰性反射シート及び外照式照明システム |
Applications Claiming Priority (2)
| Application Number | Priority Date | Filing Date | Title |
|---|---|---|---|
| JP2004068130 | 2004-03-10 | ||
| JP2005056241A JP3723568B2 (ja) | 2004-03-10 | 2005-03-01 | 再帰性反射シート及び外照式照明システム |
Publications (2)
| Publication Number | Publication Date |
|---|---|
| JP2005292805A true JP2005292805A (ja) | 2005-10-20 |
| JP3723568B2 JP3723568B2 (ja) | 2005-12-07 |
Family
ID=35325735
Family Applications (1)
| Application Number | Title | Priority Date | Filing Date |
|---|---|---|---|
| JP2005056241A Expired - Fee Related JP3723568B2 (ja) | 2004-03-10 | 2005-03-01 | 再帰性反射シート及び外照式照明システム |
Country Status (1)
| Country | Link |
|---|---|
| JP (1) | JP3723568B2 (ja) |
Cited By (4)
| Publication number | Priority date | Publication date | Assignee | Title |
|---|---|---|---|---|
| WO2010134586A1 (ja) * | 2009-05-22 | 2010-11-25 | 日本カーバイド工業株式会社 | 封入レンズ型再帰反射シート |
| JP2011123222A (ja) * | 2009-12-10 | 2011-06-23 | Nippon Carbide Ind Co Inc | 再帰反射シート |
| JP2014062236A (ja) * | 2012-08-29 | 2014-04-10 | Tokyo Univ Of Science | 構造色発色基材及びその作製方法 |
| WO2021085478A1 (ja) | 2019-10-30 | 2021-05-06 | 紀和化学工業株式会社 | 再帰性反射シート |
-
2005
- 2005-03-01 JP JP2005056241A patent/JP3723568B2/ja not_active Expired - Fee Related
Cited By (8)
| Publication number | Priority date | Publication date | Assignee | Title |
|---|---|---|---|---|
| WO2010134586A1 (ja) * | 2009-05-22 | 2010-11-25 | 日本カーバイド工業株式会社 | 封入レンズ型再帰反射シート |
| CN102439492A (zh) * | 2009-05-22 | 2012-05-02 | 日本电石工业株式会社 | 封入透镜型回射片 |
| JP2011123222A (ja) * | 2009-12-10 | 2011-06-23 | Nippon Carbide Ind Co Inc | 再帰反射シート |
| JP2014062236A (ja) * | 2012-08-29 | 2014-04-10 | Tokyo Univ Of Science | 構造色発色基材及びその作製方法 |
| WO2021085478A1 (ja) | 2019-10-30 | 2021-05-06 | 紀和化学工業株式会社 | 再帰性反射シート |
| JP6905782B1 (ja) * | 2019-10-30 | 2021-07-21 | 紀和化学工業株式会社 | 再帰性反射シート |
| KR20210137155A (ko) | 2019-10-30 | 2021-11-17 | 기와 가가쿠 고교 가부시키가이샤 | 재귀성 반사 시트 |
| US12066645B2 (en) | 2019-10-30 | 2024-08-20 | Kiwa Chemical Industry Co., Ltd. | Retroreflective sheet |
Also Published As
| Publication number | Publication date |
|---|---|
| JP3723568B2 (ja) | 2005-12-07 |
Similar Documents
| Publication | Publication Date | Title |
|---|---|---|
| TWI384261B (zh) | Sealed lens type back reflection film and external lighting system | |
| KR100872261B1 (ko) | 색상 가변형 재귀성 반사시트 | |
| JPH11508653A (ja) | 高照射角再帰反射製品および製造法 | |
| JPH11508654A (ja) | 湿潤再帰反射性標識材料 | |
| JP3723568B2 (ja) | 再帰性反射シート及び外照式照明システム | |
| KR100738190B1 (ko) | 축광 역반사시트를 이용한 차선표시용 테이프 | |
| JP3881686B2 (ja) | 色相可変型再帰性反射シート | |
| JP4762916B2 (ja) | 再帰性反射シートとその製造方法及び使用方法 | |
| KR100721461B1 (ko) | 내후성 및 유연성이 우수한 역반사 시트 | |
| JP2005338799A5 (ja) | ||
| HK1092223B (en) | Retroreflective sheet and external illumination system | |
| JP4817989B2 (ja) | 再帰反射シート | |
| JP4813994B2 (ja) | 再帰反射シート | |
| KR100725696B1 (ko) | 역반사시트를 이용한 차선표시용 테이프 | |
| WO2010134586A1 (ja) | 封入レンズ型再帰反射シート | |
| KR20070047404A (ko) | 바닥면에 사용되는 역반사시트 | |
| CN1189200A (zh) | 潮湿的逆反射标志材料 | |
| MXPA97010362A (en) | Retrorreflejante article of elevated inlet angle, with refracc spherical elements | |
| HK1103444B (en) | Hue variable retroreflective sheet |
Legal Events
| Date | Code | Title | Description |
|---|---|---|---|
| A521 | Request for written amendment filed |
Free format text: JAPANESE INTERMEDIATE CODE: A523 Effective date: 20050714 |
|
| A621 | Written request for application examination |
Free format text: JAPANESE INTERMEDIATE CODE: A621 Effective date: 20050714 |
|
| A871 | Explanation of circumstances concerning accelerated examination |
Free format text: JAPANESE INTERMEDIATE CODE: A871 Effective date: 20050714 |
|
| TRDD | Decision of grant or rejection written | ||
| A975 | Report on accelerated examination |
Free format text: JAPANESE INTERMEDIATE CODE: A971005 Effective date: 20050819 |
|
| A01 | Written decision to grant a patent or to grant a registration (utility model) |
Free format text: JAPANESE INTERMEDIATE CODE: A01 Effective date: 20050908 |
|
| A61 | First payment of annual fees (during grant procedure) |
Free format text: JAPANESE INTERMEDIATE CODE: A61 Effective date: 20050915 |
|
| R150 | Certificate of patent or registration of utility model |
Ref document number: 3723568 Country of ref document: JP Free format text: JAPANESE INTERMEDIATE CODE: R150 |
|
| FPAY | Renewal fee payment (event date is renewal date of database) |
Free format text: PAYMENT UNTIL: 20110922 Year of fee payment: 6 |
|
| R250 | Receipt of annual fees |
Free format text: JAPANESE INTERMEDIATE CODE: R250 |
|
| FPAY | Renewal fee payment (event date is renewal date of database) |
Free format text: PAYMENT UNTIL: 20120922 Year of fee payment: 7 |
|
| R250 | Receipt of annual fees |
Free format text: JAPANESE INTERMEDIATE CODE: R250 |
|
| FPAY | Renewal fee payment (event date is renewal date of database) |
Free format text: PAYMENT UNTIL: 20130922 Year of fee payment: 8 |
|
| R250 | Receipt of annual fees |
Free format text: JAPANESE INTERMEDIATE CODE: R250 |
|
| R250 | Receipt of annual fees |
Free format text: JAPANESE INTERMEDIATE CODE: R250 |
|
| R250 | Receipt of annual fees |
Free format text: JAPANESE INTERMEDIATE CODE: R250 |
|
| R250 | Receipt of annual fees |
Free format text: JAPANESE INTERMEDIATE CODE: R250 |
|
| R250 | Receipt of annual fees |
Free format text: JAPANESE INTERMEDIATE CODE: R250 |
|
| R250 | Receipt of annual fees |
Free format text: JAPANESE INTERMEDIATE CODE: R250 |
|
| R250 | Receipt of annual fees |
Free format text: JAPANESE INTERMEDIATE CODE: R250 |
|
| R250 | Receipt of annual fees |
Free format text: JAPANESE INTERMEDIATE CODE: R250 |
|
| R250 | Receipt of annual fees |
Free format text: JAPANESE INTERMEDIATE CODE: R250 |
|
| R250 | Receipt of annual fees |
Free format text: JAPANESE INTERMEDIATE CODE: R250 |
|
| R250 | Receipt of annual fees |
Free format text: JAPANESE INTERMEDIATE CODE: R250 |
|
| R250 | Receipt of annual fees |
Free format text: JAPANESE INTERMEDIATE CODE: R250 |
|
| LAPS | Cancellation because of no payment of annual fees |
