JP2005292739A - 光モジュール - Google Patents

光モジュール Download PDF

Info

Publication number
JP2005292739A
JP2005292739A JP2004111688A JP2004111688A JP2005292739A JP 2005292739 A JP2005292739 A JP 2005292739A JP 2004111688 A JP2004111688 A JP 2004111688A JP 2004111688 A JP2004111688 A JP 2004111688A JP 2005292739 A JP2005292739 A JP 2005292739A
Authority
JP
Japan
Prior art keywords
optical
translucent plate
substrate
optical module
component
Prior art date
Legal status (The legal status is an assumption and is not a legal conclusion. Google has not performed a legal analysis and makes no representation as to the accuracy of the status listed.)
Pending
Application number
JP2004111688A
Other languages
English (en)
Inventor
Takuma Saka
卓磨 坂
Yasunobu Matsuoka
康信 松岡
Masato Shishikura
正人 宍倉
Kenji Kogo
健治 古後
Current Assignee (The listed assignees may be inaccurate. Google has not performed a legal analysis and makes no representation or warranty as to the accuracy of the list.)
Hitachi Ltd
Original Assignee
Hitachi Ltd
Priority date (The priority date is an assumption and is not a legal conclusion. Google has not performed a legal analysis and makes no representation as to the accuracy of the date listed.)
Filing date
Publication date
Application filed by Hitachi Ltd filed Critical Hitachi Ltd
Priority to JP2004111688A priority Critical patent/JP2005292739A/ja
Publication of JP2005292739A publication Critical patent/JP2005292739A/ja
Pending legal-status Critical Current

Links

Images

Landscapes

  • Light Receiving Elements (AREA)
  • Optical Couplings Of Light Guides (AREA)
  • Semiconductor Lasers (AREA)

Abstract

【課題】光素子が透光性板に半田によって実装される光モジュールにおいて、光結合だけでなく電気的結合も高精度で簡単に位置あわせ実装を可能にする機構を有する光モジュールを提供すること。
【解決手段】ファイバブロック1と透光性板4と基板9それぞれに設けられたガイド穴2a、2b、2cをガイドピン7によって嵌合させることで、光素子6とファイバブロック1に固定されたファイバ3は光結合がなされ、透光性板4上の導電性パターン5と基板9の導電性パターン上に置かれた半田8との電気的接続も行われる。
【選択図】図1

Description

本発明は、光信号を送信もしくは受信する光モジュールの構造に関するものである。
近年、インターネットの急速な普及に伴い、サービスプロバイダーのバックボーン光ネットワークの伝送容量は急激に増大している。そのため、大容量のルータや光多重伝送装置等が置かれる局舎内では、各装置内あるいは装置間を接続する大容量、低価格、低消費電力の光モジュールの需要が高まっている。
このような要求を満たす光モジュールは、多々提案されているが、低価格、低消費電力の観点から、発光光源としてVCSEL(Vertical Cavity Surface Emitting Laser)に代表される面発光素子と共に、光電変換をPINフォトダイオードに代表される面型受光素子によって行う方式が取られている。更に大容量化の観点から、これらの光素子を250μmピッチで複数チャンネル並べたアレイ型光素子が用いられている。VCSELは電気的に接続されたICによって駆動変調され、面型受光素子で光電変換された電気信号は電気的に接続されたICによって増幅され出力される。
このような光モジュールの光学系の一例として特開2001−116962が知られている。これは250μmピッチのアレイ状光素子を光素子搭載用基板上に実装し、250μmピッチのアレイレンズを介して250μmピッチの多芯光ファイバと光結合を行う。一般的な面型光素子の場合、発光面/受光面は電気パッドと同じ面上にあるため電気パッドにワイヤボンディングがなされる。このワイヤに接触しないようにするために、アレイレンズ−光素子間距離は数百μm〜数mm程度離間させる必要があった。しかし一般的なVCSELの空間中の広がり角は30°程度にも及ぶため、アレイレンズ−光素子間距離が長いと、隣接チャンネルに光信号がもれこんでしまう光学的クロストークが発生する。更に250μmピッチのアレイレンズではレンズ直径を250μm以上にすることは出来ないため、VCSEL−アレイレンズ間距離を長くするとビームスポットが大きくなり、収差によって光結合が劣化する等の問題があった。
これらの問題を解決した例として、図15に2003年電子情報通信学会ソサイエティ大会講演論文集C−3−124に示される従来の光モジュールの断面構造を示す。この光モジュールでは、光素子6は半田8によって透明樹脂基板16上の導電性パターン5上にフリップチップ実装されている。したがって光素子6の発光面/受光面は上側となる。アレイレンズ基板11はレンズホルダ15によって固定され、透明樹脂基板16上に実装される。光コネクタ20のV溝21に配線保持された光ファイバ3と光素子6との光結合はガイドピン7を透明樹脂基板上に設けられたガイド穴2に嵌合させることで行われる。したがって、たとえば光素子6が発光素子の場合、光線は透明樹脂基板16、アレイレンズ基板11を透過後、ミラー面22で反射され光ファイバ3内に入射される。LSI18も透明樹脂基板16上にフリップチップ実装されるため、光素子6とLSI18との電気的接続は透明樹脂基板16上の導電性パターン5を介して行われる。さらに透明樹脂基板16上の導電性パターン5とセラミック基板19上の導電性パターン5、スルーホール10及びコンデンサ17との電気的接続は半田8を介して行われる。
図15に示す光モジュールの利点は光素子6をワイヤを使うことなく半田8によって電気接続を行うので、アレイレンズ11−光素子6間の光路長はほぼ透明樹脂基板16の厚さによって精度良く決めることが出来る。一般的に透明樹脂基板16は現行の技術で50μm程度まで薄くできるので、隣接チャンネルに光信号が漏れ込む恐れや、アレイレンズ基板11のレンズ11での収差による光結合劣化も防ぐことが出来る。
また他の一つの利点は、光コネクタ20のV溝21に固定されたファイバ3と透明樹脂基板16に固定された光素子6との光結合が、ガイドピン7とガイド穴2との嵌合によって簡単に数μm程度の精度で行えることである。
特開平7−209556号公報
特開平8−136768号公報 特開平10−239570号公報 特開2001−116962号公報 2003年電子情報通信学会ソサイエティ大会講演論文集C−3−124
しかしながら、図15に示すに光モジュールおいては次の課題を有する。参考文献2003年電子情報通信学会ソサイエティ大会講演論文集C−3−124によると、透明樹脂基板16のサイズは10mm×11mm程度である。したがって、透明樹脂基板16上に、多チャンネルの電気信号、電源、グランドの導電性パターン5がパターニングされる必要があり、これらは数十本にも及ぶ。したがって導電性パターン5の幅および導電性パターン5同士の間隔は数十〜数百μm程度と非常に細い。導電性パターン5には高周波信号が流れるため、透明樹脂基板16上導電性パターン5とセラミック基板19上の導電性パターン5は、数〜数十μm程度の精度で位置あわせ後、電気的接続がなされなければならない。
そこで本発明の目的は以上の課題を解決するために、光素子が透光性板に半田によって実装される光モジュールにおいて、光結合だけでなく電気的結合も数μm程度の精度で簡単に位置あわせ実装を可能にする機構を有する光モジュールを提供することである。
本発明の光モジュールは、面型光素子、透光性板、光部品、透光性板を搭載する台座を有した基板から構成される。面型光素子は、透光性板の導電性パターン上に搭載されている。光部品は面型光素子と光結合がなされる。透光性板を搭載するための基板上の台座部は、導電性パターンを有している。透光性板、光部品のうち少なくとも一つ、基板は、それぞれガイドピンがついているか、もしくはガイドピンをガイドする機構をもっている。このガイドピンとガイド機構は嵌合させられることで、光素子と光部品の光学的結合がなされ、透光性板上の導電性パターンと台座上の導電性パターンは電気的接合がなされることが特徴である。
面型光素子とは面型発光/受光素子であり、発光面/受光面と同じ面側に電気信号入出力用の電気パッドがある。光素子は、光信号が透光性板内を透過するように透光性板上に搭載される。透光性板上の導電性パターンと光素子の電極パッドは半田等の金属によって接着され電気接続される。
透光性板とは光信号の一部の光を透過すれば良く、平板、レンズ、偏光板、波長板、フィルタ、ミラー等でも良い。
導電性パターンとは、導電性を有した材質で出来ている。
2つの導電性パターンの電気的接続は、半田、ペースト半田、接触等で行われ、電気信号の少なくとも一部が伝導すればよい。
光部品とは、少なくとも光信号の一部が透過するものであれば、平板、レンズ、偏光板、波長板、フィルタ、ミラー等などである。
光素子と光部品の光学的結合は、外部の光モジュールと送受信する光信号の少なくとも一部が光部品を透過すれば成すことが出来る。
基板上に透光性板用の台座を設けるが、台座の材質は底面の基板と同じ材質でも別の材質でもよい。また台座は基板に固定されているか一体化されている。
ガイドピンの材質は金属、セラミック等で出来ている。またガイドピンは光モジュール内の部品と別体でも良く、一体化されていても良い。
ガイドピンとガイドピンをガイドする機構とは、特開平7−209556、特開平8−136768、特開平10−239570などが知られている。
本光モジュールでは、基板、透光性板、光部品に設けられたガイドピンまたはガイド溝の嵌合によって、光部品と光素子の光結合がなされ、透光性板上の導電性パターンと基板台座上の導電性パターンは電気結合が精度良くなされる。
本発明の光モジュールは、少なくとも一つの電子部品が基板上に搭載されていて、ガイドピンとガイド機構を嵌合されることで、光素子と光部品の光学的結合がなされ、透光性板の導電性パターンと電子部品の電極パッドは電気的接合がなされることを特徴とする。
電子部品とはIC、容量素子、インダクタンス素子、抵抗素子等の電気信号を通すもの、電気信号を変化させる機能を持つものであれば何でも良い。
電子部品の電極パッドと透光性板上の導電性パターンは半田、導電性ペースト等の導電性の材料で固着されているか接触されて電気伝導がなされている。
本発明の光モジュールでは、基板、透光性板、光部品に設けられたガイドピンまたはガイド溝の嵌合によって、光部品と光素子の光結合がなされ、透光性板上の導電性パターンと電子部品の電極パッドは電気結合が精度良くなされる。
少なくとも一つの電子部品が透光性板上に搭載されている光モジュールにおいて、透光性板上に実装される電子部品とはIC、容量素子、インダクタンス素子、抵抗素子等の電気信号を通すもの、電気信号変化させる機能を有していれば何でも良い。
電子部品の電極パッドと透光性板上の導電性パターンは半田、導電性ペースト等の導電性の材料で固着されている。
本発明の光モジュールでは電子部品を透光性板上に実装することで、透光性板上のスペースを有効に利用することが出来ると共に、電子部品、光素子間の距離が近くなることで電気信号の高周波伝導特性が良好になる。
光部品が基板に設けられた光部品用の台座上に搭載される光モジュールにおいては、透光性板に外部から圧力等がかからないように、光部品の透光性板側の高さが透光性板の光部品側の高さと同じか、高い位置に搭載されるようになっている。本発明の光モジュールでは、透光性板の上方にある光部品に加わる外力が透光性板に加わらないため、機械的信頼性が保つことができる。
光部品を搭載する台座の材質は、台座を搭載している基板と同じ材質でも別の材質でもよい。また台座は基板に固定されているか一体化されている。
光部品を搭載する台座は透光性板を搭載する台座と少なくとも一部が一体化されていても良い。
透光性板が搭載される台座で囲まれた内側が凹部になっていて、この凹部の位置に透光性板上に搭載された光素子が位置している光モジュールでは、光素子の周囲が透光性板、透光性板用台座、基板によって囲まれるため、外気の塵等が光素子が搭載されている部分に混入しにくいという利点を持つ。
また台座と透光性板を接着剤・樹脂・半田等で光素子の周囲を取り囲むように固着することで、光素子が外気にさらされない信頼性の高い光モジュールを作ることが出来る。
透光性板の周囲を取り囲むように光部品を搭載する台座が基板上に設けられていることを特徴とする光モジュールでは、光部品の透光性板側の面が透光性板の光部品側の面と同じ高さか高くなるように配置されている。光部品、光部品用台座、基板で囲まれる部分は、光部品によって外気からの塵等の混入が防がれており、光素子や透光性板を塵等の汚濁から防いでいる。
光部品搭載用の台座と光部品を接着剤・樹脂・半田等で透光性板の周囲を取り囲むように固着することで、光部品、光部品搭載用台座、基板で囲まれる内部を外気から遮断した構造にすることが出来る。
光部品のガイド機構を有する光モジュールとは、ガイド機構が光部品を搭載する台座の外壁の一部に固定されており、形は筒状、板状、棒状の固体であり、溝等を有していても良い。ガイド機構の材質は金属、プラスチック、ガラス、セラミックなど固体であれば何でも良い。
本発明の光モジュールは、光部品のガイド機構によって、光部品の機械的信頼性を高めることを特徴とする。
基板の裏面の少なくとも一部と、放熱機構の少なくとも一部が接する事を特徴とする光モジュールでは、光素子や電子部品の発熱を放熱する機能を有する。
放熱機構とは熱伝導率10W・m−1・K−1程度以上の物質から出来ており、主に金属等が用いられる。
放熱機構とは、ペルチェ素子、ファン、ヒートパイプ等が用いられていても良い。
放熱機構と基板裏面の間は半田、ペースト半田によって固着されてもよい。
放熱機構と基板裏面の間には熱伝導率1W・m−1・K−1以上を有したグリース等が塗布されてもよい。
光モジュールの放熱機構にガイド穴もしくはガイドピンをつけることで、同一のガイドピンで放熱機構、基板、透光性板、光部品を一括して固定することが出来る。
面型光素子が透光性板に固定搭載される光モジュールにおいて、基板、透光性板、光部品それぞれにガイドピンまたはガイド穴を設け、ガイドピンとガイド穴を嵌合させることで部品間の電気的接続と光学的結合を簡便に精度良く成すことが可能となる。
以下、本発明にかかわる実施の形態について図面を参照にして説明する。ただし図中の座標は、光素子の光軸方向をZ軸方向、2つのガイドピン穴に対して平行方向にX軸方向、垂直方向にY軸方向と定めて説明してゆく。
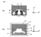
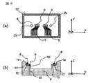
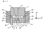
図1〜図3は第一の実施形態に係わる光モジュールを示しており、図1は斜視図であり、XYZ座標を図1内で描かれているように定めると、図2は光モジュール中央をXZ平面で切った断面図であり、図3はモジュール中央をYZ平面で切った断面図である。
この光モジュールはZ軸方向上方に光を出射する面型発光素子6とZ軸方向上方から光を受光する面型受光素子6を使用した光モジュールである。
基板9上には凸部が設けられ、上面が透光性板用台座13となっている。基板9内にはモジュールから電気信号を入出力するスルーホール10が設けられている。半田8は透光性板4上の導電性パターン5の一部と基板9内のスルーホール10の一部が溶融接着され電気接続固定される目的のものである。基板9の凸部になっている透光性板用台座13は基板9と別体でも良く、材質も同一でなくて良い。
透光性板4上の導電性パターン5と光素子6の電極パッドは半田8によって電気的に接続される。
ファイバブロック1にはファイバ3が固定保持されている。ファイバ3の本数が複数ファイバブロック1に固定される場合、このファイバ3同士のピッチは250μm程度が最も一般的である。
ファイバ3と光素子6の光学的接続は、ガイドピン7をガイド穴2a、2bに嵌合させることで、数μm程度の位置精度でなされている。更に透光板4上の導電性パターン5とスルーホール10の電気的接続もガイドピン7とガイド穴2b、2cを嵌合させることで数μm程度の精度でなされている。したがって、ガイドピン7とガイド穴2a、2b、2cは光学的接続と電気的接続の両方の機能を有している。
図1、2によると、ガイド穴2cは透光性板用台座13の面上に設けられているが、透光性板用台座13よりも基板9よりも低い部分に設けられていても良い。さらにガイド穴2cは基板9を貫通していても良い。
ガイドピン7は、ファイバブロック1、透光性板4、基板9のいずれかと一体化されても良い。更にガイドピン7はいずれかの部品に固着されていても良い。ガイドピン7は別の部品に固着しているか、作りつけられたものであっても良い。
ガイドピン7は基板9、透光性板4、ファイバブロック1を搭載する際に使用された後、抜いてもかまわない。その場合、搭載後はガイドピン7が無く、ガイド穴2が各部品に空いている光モジュールとなる。
透光性板4は光素子6に適した波長の少なくとも一部の光を透過する板であれば、レンズ、光フィルタ、偏光板、波長板、ミラー基板であっても良く、またその他の光学的性能を有するものであっても良い。
光素子6は多チャンネルのアレイ状光素子であっても良く、1チャンネル光素子であっても良い。また光ファイバ3が複数本ある場合、ファイバ3の一部の本数とだけ光結合をすることもある。図1において光素子6は二つ離間されて実装されており、光ファイバ3の中央付近の数本は光学的に使用されていない。更に光素子6が多チャンネルある場合には、実用上必要とされる光素子6だけ光ファイバ3と光学的結合が成されていても良い。
ファイバブロック1に固定されたファイバ3は光信号を導くものであればファイバ以外でも良く、このような用途としては石英、ポリマーを材料とした導波路が知られている。
更に、ファイバブロック1はモジュールから挿抜可能なものであっても良く、使用されるときのみ装着されていればよい。
図4は第2の実施例に係わる光モジュールの一部であって、基板9と透光性板4の実装様態を示している。図4はモジュール中央部のYZ平面における断面図である。この光モジュールにおいては光素子6の電極パッドは半田8によって透光性板4上の導電性パターン5と電気接続が成されており、透光性板4上の導電性パターン5は半田8によって電子部品33の電極パッド及び基板9上の導電性パターン5と電気的接続がなされている。電子部品33の一部の電極パッドはワイヤ32を使って基板9上の導電性パターン5と電気的接続が成されている。
電子部品33はコンデンサ素子、インダクタンス素子、LSI、IC等の他に導電性を有する部品で出来ていれば他のものでも良く、電気信号を基板9上の導電性パターン5やスルーホール10とやり取りするものである。
電子部品33の電極パッドと基板9上の導電性パターン5はワイヤ32以外にも半田、ペースト半田、導電性クリーム等の導電性の部材または接触により電気接続されても良い。
図4に示される基板9と透光性板4をガイドピン7とガイド穴2の嵌合によって位置あわせすると、透光性板4上の導電性パターン5と電子部品33の電極パッドは精度良く位置あわせされると共に基板9上の導電性パターンとも精度良く位置あわせされ電気的接続がなされる。
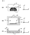
図5は第3の実施例に係わる光モジュールの一部であって、図5(a)は透光性板4のZ軸負方向から見た上面図、図5(b)はZ軸正方向から見た基板9の上面図、図5(c)は基板9中央部のYZ平面における断面図である。光素子6は多チャンネルのアレイ状光素子である。透光性板4は基板9上の透光性板用台座13に搭載される。透光性板4上の導電性パターン5は透光性板用台座13上面にあるスルーホール10の一部と電気的接続が成される。
光部品を光部品用台座14上に搭載した際に、光部品が透光性板4に当らないように、光部品用台座14は透光性板用台座13よりもZ軸方向の高さが透光性板4の厚さ以上に高くなっている。したがって、図5に示される光モジュールでは、光部品用台座14を設けることで光部品搭載による衝撃や力を透光性板4に加わることを防ぐことが出来る構造を有している。
図6は第4の実施例に係わる光モジュールの一部であって、図6(a)は透光性板4のZ軸負方向から見た上面図、図6(b)は基板9中央部のYZ平面における断面図である。
透光性板4は基板9の透光性板用台座13に搭載されるが、透光性板4と透光性板用台座13上に金属薄膜12を付け、両者を半田8によって固着する。
半田用台座30は透光性板用台座13よりZ軸方向に低くなる配置にあるが、これは金属薄膜12同士を半田8が隙間無く固着されることを助け固定を完全におこなうためである。
透光性板4と透光性板用台座13同士を固着する手段としては、半田、接着剤、樹脂、溶融金属、溶融ガラス等が有る。
図7は第5の実施例に係わる光モジュールの一部であって、図7(a)は透光性板4のZ軸負方向から見た上面図であり、図7(b)は基板9のZ軸正方向から見た上面図である。透光性板4上は光素子を取り囲むように金属薄膜12がついており、金属薄膜12はガイド穴2bの周囲にもついている。これより、この透光性板4上の金属薄膜12と透光性板用台座13上の金属薄膜12を半田8によって固着すると、光素子を外気から遮断した気密封止構造をとることが出来る。
半田8の代わりに樹脂、接着剤で透光性板4と透光性板用台座13を固定しても良い。
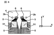
図8は第6の実施例に係わる光モジュールの一部であって、透光性板4のZ軸負方向から見た上面図である。透光性板4上の導電性パターン5と光素子6が電気接続されるように半田等によって搭載されると共に光素子駆動/電気信号増幅用のICも透光性板4上の導電性パターン5と電気接続が成されるように半田等によって搭載される。このように光素子6とIC31を同一の基板上に搭載することが可能になり、光素子6とIC31の距離は短くすることが出来るので、高周波電気信号の特性が良くなる。
透光性板4上にはIC31だけでなくそのほかの電子部品も搭載することが出来る。
図9は第7の実施例に係わる光モジュールの実装途中を示す図であって、モジュール中央部のYZ平面における断面図である。ガイドピン7をガイド穴2b、2cに嵌合させることで、アレイレンズ基板11は基板9上の光部品台座14aに搭載され、透光性板4は基板9上の透光性板用台座13に搭載される。金属薄膜12上に置いた半田8を固着させることで、透光性板4は透光性板用台座13に固着されている。
ファイバブロック1は光部品用台座14bに搭載される。搭載時にファイバブロック1とアレイレンズ基板11があたらないように、光部品用台座14bと光部品用台座14aの高さの差はアレイレンズ基板11の厚さ以上である。アレイレンズ基板11とファイバ3との光結合はガイドピンを使わず行われている。これよりファイバブロック1に装着されている2本のガイドピン7と、レンズ基板11に装着されている2本のガイドピン7のY軸方向ピッチは異なったものとすることが出来る。
ファイバブロック1を光部品用台座14bに搭載することで、外気にある塵等はアレイレンズ基板11と基板9で囲まれた内部に混入することが無い。
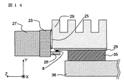
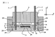
図10〜図12は第8の実施例に係わる光モジュールを示す図であって、図10は光モジュールの実装途中の斜視図、図11は光モジュール中央部のXZ平面における断面図、図12は光モジュール中央部のYZ平面における断面図である。ガイド穴2aとガイドピン7を嵌合させることによって、ファイバブロック1を光部品用台座14上に搭載する。
ファイバブロック1に固着されているアレイレンズ基板11はガイドピン7と嵌合するガイド穴を設けていない。
基板9に固着されている電気入出力用基板26上には導電性パターン5がパターニングされており、この導電性パターン5によってモジュールの電気信号入出力が行われる。接着ペースト24と光部品ガイド23は、ファイバブロック1と基板9の固定を強固にする効果を持っている。光素子6と基板9の間には放熱ペースト25が塗布してあり光素子から基板9への放熱を高めている。
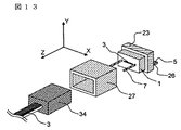
図13は第8の実施例に係わる光モジュールに、光コネクタスリーブ27とガイド穴の開いたメス型の光コネクタ34を取り付けた斜視図である。光コネクタ34としてはMPO/MTコネクタ等の多芯光コネクタが知られ、光コネクタスリーブ27は光コネクタ34をガイド保持する機能を有する。
図10〜図13に示す光モジュールでは、コネクタ34の挿抜による衝撃と力はファイバブロック1に直接かかるが、それらの力は全て光部品ガイド23と光部品用台座14に保持され、透光性板4に力が加わることはないため、衝撃による透光性板4が壊れることは無い。
更に図10〜図13に示す光モジュールでは、ファイバブロック1は基板9上の光部品用台座14に搭載されている。したがって、ファイバブロック1のZ軸上方からコネクタを挿抜することによる衝撃や力は、透光性板やアレイレンズ基板11に加わることは無い。またファイバブロックと光部品用台座14は接着ペーストによって固着されているので、外気の塵等はファイバブロック1と基板9で囲まれた内部には混入することはない。
図14は第8の実施例に係わる光モジュールをX軸正方向から見た光モジュールであり、光コネクタスリーブ27、放熱フィン29、プリント回路基板28、電気コネクタ35が取り付けられている。光部品ガイド23に囲まれた基板9の裏面には放熱ペースト25が塗布されており、放熱フィン29がつけられている。したがって図14に示される光モジュールでは熱は放熱フィン29から空気中に放射される。
プリント回路基板28上には導電性パターンがパターニングされていてこの導電性パターンは電気入出力用基板26上の導電性パターン5と半田8によって電気的接続がなされている。外部基板36とプリント回路基板28と電気的接続は電気コネクタ35によって行われる。
図14に示される光モジュールは、光素子6や周辺の導電性パターン5、IC31等をXY平面に実装し、電気コネクタ35やプリント回路基板28をXZ平面に実装するので、Z軸方向の長さが小さい光モジュールを実現している。
本発明を用いて作製された光モジュールは、特に面型受光/発光素子を用いた光モジュールに用いられ、電気信号から光信号、または逆に光信号から電気信号に変換する機能を持つ。これら光モジュールはルータ、伝送装置、コンピュータ、ディスプレイ、記憶装置、プリンタ等の装置に収められ、装置間を光信号で高速情報通信するためのものである。モジュール同士の光信号のやり取りはファイバを介してなされる。これらの点から、本発明は産業上の利用可能性を有する。
本発明の第1の実施形態となる光モジュールの実装途中を示す斜視図である。 本発明の第1の実施形態となる光モジュールの実装途中を示す断面図である。 本発明の第1の実施形態となる光モジュールの実装途中を示す断面図である。 本発明の第2の実施形態となる光モジュールの部品の断面図である。 本発明の第3の実施形態となる光モジュールの部品の(a)(b)上面図と(c)断面図である。 本発明の第4の実施形態となる光モジュールの部品の(a)上面図と(c)断面図である。 本発明の第5の実施形態となる光モジュールの部品の上面図である。 本発明の第6の実施形態となる光モジュールの部品の上面図である。 本発明の第7の実施形態となる光モジュールの実装途中の断面図である。 本発明の第8の実施形態となる光モジュールの実装途中の斜視図である。 本発明の第9の実施形態となる光モジュールの断面図である。 本発明の第9の実施形態となる光モジュールの断面図である。 本発明の第9の実施形態となる光モジュールの実装途中の斜視図である。 本発明の第9の実施形態となる光モジュールの上面図である。 従来の光モジュールの構造を示す断面図である。
符号の説明
1 ファイバブロック
2 ガイド穴
3 ファイバ
4 透光性板
5 導電性パターン
6 光素子
7 ガイドピン
8 半田
9 基板
10 スルーホール
11 アレイレンズ基板
12 金属薄膜
13 透光性板用台座
14 光部品用台座
15 レンズホルダ
16 透明樹脂基板
17 コンデンサ
18 LSI
19 セラミック基板
20 光コネクタ
21 V溝
22 ミラー面
23 光部品ガイド
24 接着ペースト
25 放熱ペースト
26 電気入出力用基板
27 光コネクタスリーブ
28 高周波基板
29 放熱フィン
30 半田用台座
31 IC
32 ワイヤ
33 電子部品
34 光コネクタ
35 電気コネクタ
36 外部基板。

Claims (9)

  1. 導電性パターンが有ると共に面型光素子が搭載されている透光性板と、前記透光性板上の前記光素子と光学的結合がなされる少なくとも一つの光部品と、導電性パターンを有していると共に透光性板を保持するための第一の台座部を有している基板から構成される光モジュールにおいて、前記基板と前記透光性板と少なくとも一つの前記光部品は、ガイドピンが付いているかもしくはガイドピンをガイドする機構を持っており、前記第一の台座上の導電性パターンの少なくとも一部と前記透光性板上の前記導電性パターンの少なくとも一部が電気的接続をなして搭載されていて、前記透光性板上の前記光素子と前記光部品が光学的結合していることを特徴とする光モジュール。
  2. 導電性パターンが有ると共に面型光素子が搭載されている透光性板と、前記透光性板上の前記光素子と光学的結合がなされる少なくとも一つの光部品と、少なくとも一つの電子部品が搭載されている基板から構成される光モジュールにおいて、前記基板と前記透光性板と少なくとも一つの前記光部品はガイドピンが付いているかもしくはガイドピンをガイドする機構を持っており、前記電子部品の電極パッドの少なくとも一部と前記透光性板上の前記導電性パターンの少なくとも一部が電気的接続をなしており、前記透光性板上の前記光素子と前記光部品が光学的結合していることを特徴とする光モジュール。
  3. 請求項1,2記載の光モジュールであって、少なくとも一つの電子部品が透光性板上に搭載されていることを特徴とする光モジュール。
  4. 請求項1から請求項3のいずれか記載の光モジュールであって、前記基板上に少なくとも一つの前記光部品を搭載する第二の台座があり、前記第一の台座に実装された前記透光性板の前記光部品側の面が前記第二の台座に実装された前記光部品の前記透光性板側の面の高さと同じか低いことを特徴とする光モジュール。
  5. 請求項1から請求項4のいずれか記載の光モジュールであって、前記第一の台座で囲まれた内側が凹部をなしていて、前記透光性板上に搭載された光素子が前記凹部に位置していることを特徴とする光モジュール。
  6. 請求項1から請求項5のいずれか記載の光モジュールであって、前記透光性板の周囲を取り囲むように少なくとも一つの前記光部品を搭載する前記第二の台座が少なくとも一つあり、前記第二の台座に搭載された前記光部品の前記透光性板側の面が前記第一の台座に搭載された前期透光性板の前記光部品側の面と同じ高さになるか高くなることを特徴とする光モジュール。
  7. 請求項1から請求項6のいずれか記載の光モジュールであって、少なくとも一つの前記光部品の外側をガイドするスリーブを有していて、前記ガイド機構に少なくとも一つの前記光部品が前記スリーブに固定されることを特徴とする光モジュール。
  8. 請求項1から請求項7のいずれか記載の光モジュールであって、前記基板の裏面の少なくとも一部に、放熱機構の少なくとも一部と接することを特徴とする光モジュール。
  9. 請求項8記載の光モジュールであって、前記放熱機構に前記ガイドピンを嵌合させる前記ガイド穴もしくは前記ガイドピンがついていることを特徴とする光モジュール。
JP2004111688A 2004-04-06 2004-04-06 光モジュール Pending JP2005292739A (ja)

Priority Applications (1)

Application Number Priority Date Filing Date Title
JP2004111688A JP2005292739A (ja) 2004-04-06 2004-04-06 光モジュール

Applications Claiming Priority (1)

Application Number Priority Date Filing Date Title
JP2004111688A JP2005292739A (ja) 2004-04-06 2004-04-06 光モジュール

Publications (1)

Publication Number Publication Date
JP2005292739A true JP2005292739A (ja) 2005-10-20

Family

ID=35325687

Family Applications (1)

Application Number Title Priority Date Filing Date
JP2004111688A Pending JP2005292739A (ja) 2004-04-06 2004-04-06 光モジュール

Country Status (1)

Country Link
JP (1) JP2005292739A (ja)

Cited By (14)

* Cited by examiner, † Cited by third party
Publication number Priority date Publication date Assignee Title
JP2007294743A (ja) * 2006-04-26 2007-11-08 Hitachi Cable Ltd 光モジュール及びその製造方法
JP2007300032A (ja) * 2006-05-02 2007-11-15 Hitachi Cable Ltd 光モジュール及びその製造方法
JP2007324303A (ja) * 2006-05-31 2007-12-13 Hitachi Cable Ltd 光モジュール及びその実装方法
JP2008040318A (ja) * 2006-08-09 2008-02-21 Hitachi Ltd 多チャンネル光モジュールの製造方法
WO2008023508A1 (fr) * 2006-08-22 2008-02-28 Nec Corporation Connecteur optique et structure de couplage optique
JP2008134444A (ja) * 2006-11-28 2008-06-12 Fujitsu Ltd 光モジュール及び光導波路構造体
JP2009031455A (ja) * 2007-07-25 2009-02-12 Fujikura Ltd 光コネクタを備えた回路基板の放熱構造
JP2010016012A (ja) * 2008-06-30 2010-01-21 Fujitsu Ltd 光電気変換デバイス、光電気変換モジュールおよび光電気変換デバイスの製造方法
US7960739B2 (en) 2006-07-12 2011-06-14 Hitachi Cable, Ltd. Optical module and production method therefor
JP2013003177A (ja) * 2011-06-13 2013-01-07 Sumitomo Electric Ind Ltd 光電気変換モジュール及びその製造方法
JP2014215499A (ja) * 2013-04-26 2014-11-17 株式会社フジクラ 光モジュール
WO2018037551A1 (ja) * 2016-08-26 2018-03-01 オリンパス株式会社 内視鏡用光モジュール、内視鏡、および内視鏡用光モジュールの製造方法
JP2020030206A (ja) * 2018-08-13 2020-02-27 コマツクス・ホールデイング・アー・ゲー ケーブルのケーブル先端を検査するための検査装置および洗浄するための方法
US10905311B2 (en) 2017-08-25 2021-02-02 Olympus Corporation Optical module for endoscope, endoscope, and manufacturing method for optical module for endoscope

Cited By (18)

* Cited by examiner, † Cited by third party
Publication number Priority date Publication date Assignee Title
JP2007294743A (ja) * 2006-04-26 2007-11-08 Hitachi Cable Ltd 光モジュール及びその製造方法
JP2007300032A (ja) * 2006-05-02 2007-11-15 Hitachi Cable Ltd 光モジュール及びその製造方法
JP2007324303A (ja) * 2006-05-31 2007-12-13 Hitachi Cable Ltd 光モジュール及びその実装方法
US7960739B2 (en) 2006-07-12 2011-06-14 Hitachi Cable, Ltd. Optical module and production method therefor
JP2008040318A (ja) * 2006-08-09 2008-02-21 Hitachi Ltd 多チャンネル光モジュールの製造方法
WO2008023508A1 (fr) * 2006-08-22 2008-02-28 Nec Corporation Connecteur optique et structure de couplage optique
US8315491B2 (en) 2006-08-22 2012-11-20 Nec Corporation Optical connector and optical coupling structure
JP2008134444A (ja) * 2006-11-28 2008-06-12 Fujitsu Ltd 光モジュール及び光導波路構造体
JP2009031455A (ja) * 2007-07-25 2009-02-12 Fujikura Ltd 光コネクタを備えた回路基板の放熱構造
JP2010016012A (ja) * 2008-06-30 2010-01-21 Fujitsu Ltd 光電気変換デバイス、光電気変換モジュールおよび光電気変換デバイスの製造方法
JP2013003177A (ja) * 2011-06-13 2013-01-07 Sumitomo Electric Ind Ltd 光電気変換モジュール及びその製造方法
JP2014215499A (ja) * 2013-04-26 2014-11-17 株式会社フジクラ 光モジュール
WO2018037551A1 (ja) * 2016-08-26 2018-03-01 オリンパス株式会社 内視鏡用光モジュール、内視鏡、および内視鏡用光モジュールの製造方法
JPWO2018037551A1 (ja) * 2016-08-26 2019-06-20 オリンパス株式会社 内視鏡用光モジュール、内視鏡、および内視鏡用光モジュールの製造方法
US11445898B2 (en) 2016-08-26 2022-09-20 Olympus Corporation Optical module for endoscope, endoscope, and manufacturing method for optical module for endoscope
US10905311B2 (en) 2017-08-25 2021-02-02 Olympus Corporation Optical module for endoscope, endoscope, and manufacturing method for optical module for endoscope
JP2020030206A (ja) * 2018-08-13 2020-02-27 コマツクス・ホールデイング・アー・ゲー ケーブルのケーブル先端を検査するための検査装置および洗浄するための方法
JP7508205B2 (ja) 2018-08-13 2024-07-01 コマツクス・ホールデイング・アー・ゲー ケーブルのケーブル先端を検査するための検査装置および洗浄するための方法

Similar Documents

Publication Publication Date Title
JP4825739B2 (ja) 光電気混載基板と光電気パッケージとの構造体
US8867869B2 (en) Miniaturized high speed optical module
JP4477677B2 (ja) 光モジュールおよびその作製方法
CN101911405B (zh) 光模块
JP2007271998A (ja) 光コネクタ及び光モジュール
US9680573B2 (en) Optical transceiver
JP2008040318A (ja) 多チャンネル光モジュールの製造方法
US9726826B2 (en) Inter-lens adjusting method and photoelectric hybrid substrate
JP2021139998A (ja) 光モジュール
JP2005292739A (ja) 光モジュール
KR100627701B1 (ko) 병렬 광접속 모듈
JP2015028658A (ja) 光モジュール、光モジュールの実装方法、光モジュール搭載回路基板、光モジュール評価キットシステム、回路基板および通信システム
US6879423B2 (en) Printed circuit board assembly with multi-channel block-type optical devices packaged therein
CN114815093B (zh) 光模块
US10018791B2 (en) Multi-channel optical subassembly and method of manufacturing the same
US8750657B2 (en) Flip-chip optical interface with micro-lens array
US20250219350A1 (en) Optical system-in-package, and optical module and optical transceiver using same
JP2004286835A (ja) 光学素子搭載装置及びその製造方法、光学素子搭載装置付き配線基板
WO2015002520A1 (ko) 수동광정렬을 위한 옵티컬블럭을 구비하는 광모듈 및 그 제조방법
JP2011081343A (ja) 溶接可能な挿入部を有する並列光通信装置
JPWO2009001822A1 (ja) 光モジュール
JP2004288713A (ja) 光学素子搭載装置の製造方法
CN114397734A (zh) 一种高集成度垂直无线出光模块
KR20090124771A (ko) 광전변환모듈
JP4739987B2 (ja) 光ファイバ接続構造及び光ファイバ接続方法

Legal Events

Date Code Title Description
RD04 Notification of resignation of power of attorney

Free format text: JAPANESE INTERMEDIATE CODE: A7424

Effective date: 20060424

A621 Written request for application examination

Free format text: JAPANESE INTERMEDIATE CODE: A621

Effective date: 20060830

A977 Report on retrieval

Free format text: JAPANESE INTERMEDIATE CODE: A971007

Effective date: 20080822

A131 Notification of reasons for refusal

Free format text: JAPANESE INTERMEDIATE CODE: A131

Effective date: 20080902

A02 Decision of refusal

Free format text: JAPANESE INTERMEDIATE CODE: A02

Effective date: 20090106