JP2005292665A - 光学システム及び背面投射型ディスプレイ装置 - Google Patents

光学システム及び背面投射型ディスプレイ装置 Download PDF

Info

Publication number
JP2005292665A
JP2005292665A JP2004110349A JP2004110349A JP2005292665A JP 2005292665 A JP2005292665 A JP 2005292665A JP 2004110349 A JP2004110349 A JP 2004110349A JP 2004110349 A JP2004110349 A JP 2004110349A JP 2005292665 A JP2005292665 A JP 2005292665A
Authority
JP
Japan
Prior art keywords
fresnel lens
lens
incident
light
optical axis
Prior art date
Legal status (The legal status is an assumption and is not a legal conclusion. Google has not performed a legal analysis and makes no representation as to the accuracy of the status listed.)
Pending
Application number
JP2004110349A
Other languages
English (en)
Inventor
Takao Tomono
孝夫 友野
Takashi Abe
崇 阿部
Susumu Takahashi
進 高橋
Kazuyoshi Ebina
一義 海老名
Current Assignee (The listed assignees may be inaccurate. Google has not performed a legal analysis and makes no representation or warranty as to the accuracy of the list.)
Toppan Inc
Original Assignee
Toppan Printing Co Ltd
Priority date (The priority date is an assumption and is not a legal conclusion. Google has not performed a legal analysis and makes no representation as to the accuracy of the date listed.)
Filing date
Publication date
Application filed by Toppan Printing Co Ltd filed Critical Toppan Printing Co Ltd
Priority to JP2004110349A priority Critical patent/JP2005292665A/ja
Publication of JP2005292665A publication Critical patent/JP2005292665A/ja
Pending legal-status Critical Current

Links

Images

Landscapes

  • Projection Apparatus (AREA)

Abstract

【課題】 偏心した光軸を有する全反射型フレネルレンズを用いて背面投射型ディスプレイ装置の薄型化を図りつつ、透過型スクリーン上での明るさの均一性を確保する。
【解決手段】 プロジェクタ12から投射されてフレネルレンズ30のレンズ本体31に入射する入射光が、フレネルレンズ30の光軸P1に対してなす傾斜角をθとしたときに、この傾斜角θの最小値θminが、θmin≧30°を満たすようにする。
【選択図】 図5

Description

本発明は、例えばリアプロジェクションテレビなどの背面投射型ディスプレイ装置に用いられる光学システムに関するものである。
従来より、透過型スクリーンと光源とを有する光学システムを備えた背面投射型ディスプレイ装置として、例えば図9に示すようなリアプロジェクションテレビ1が知られている。
リアプロジェクションテレビ1は、図9に示すように、光源としてのプロジェクタ2から投射される映像光を、反射鏡3A,3Bによって反射させて略長方形平板状をなす透過型スクリーン4の背面に入射させることにより、この透過型スクリーン4の前面側に位置する観察者が、透過型スクリーン4を透過して出射する映像光を観察することができるように構成されている。
透過型スクリーン4は、例えば図10に示すように、入射光の方向を整えて出射光とするフレネルレンズ部5Cを有するフレネルレンズ5と、このフレネルレンズ5からの出射光をスクリーンの左右方向(水平方向)に拡散させる拡散レンズ部を有するレンチキュラーレンズシート(拡散レンズシート)6と、このレンチキュラーレンズシート6からの出射光をスクリーンの上下方向(垂直方向)に拡散させる拡散層7とを備えている。
このような透過型スクリーン4の背面に入射する映像光は、まず、フレネルレンズ5により略平行光となり、次いで、レンチキュラーレンズシート6によりスクリーンの左右方向に拡散するとともに拡散層7によりスクリーンの上下方向に拡散する。これにより、スクリーン左右方向及び上下方向の視野角が制御される。
また、透過型スクリーン4に用いられるフレネルレンズ5のレンズ本体5Aは、図10に示すように、レンズ基板5Bにおけるレンチキュラーレンズシート6側を向く片面に、同心円状の凹凸からなるフレネルレンズ部5Cがレンズ本体5Aの出射面側に位置するように設けられて構成されている。すなわち、このフレネルレンズ5は、入射する映像光がレンズ基板5Bを透過してからフレネルレンズ部5Cの屈折面で屈折させられることにより、その方向が整えられて略平行光として出射される、いわゆる透過型フレネルレンズ5となっている。
さらに、このフレネルレンズ5の光軸5D(レンズ部5Cの凹凸がなす同心円の中心)は、レンズ本体5Aの中心5Eと一致させられている。
ところで、リアプロジェクションテレビ1においては、透過型スクリーン4の背面に映像光を入射させるための光学系の占める空間が大きいため、反射鏡3A,3Bによってプロジェクタ2から投射される映像光の光路を偏向させて、プロジェクタ2を透過型スクリーン4と反射鏡3Bとの間の領域から下方側に外れた領域に配置することにより、奥行きを極力小さくして薄型化を図るようにしている。
しかしながら、プロジェクタ2は、フレネルレンズ5の光軸5D上に配置されるため、上記のようにフレネルレンズ5の光軸5Dがレンズ本体5Aの中心5Eに一致していると、このプロジェクタ2が、反射鏡3A,3Bによって映像光の光路を偏向させていない状態において、図9中の2点鎖線で示すように透過型スクリーン4の背面に対向配置されることになる。
そのため、映像光の光路を偏向させる反射鏡3A,3Bのうち、透過型スクリーン4の背面に対向配置される反射鏡3Bを、透過型スクリーン4に対して大きな傾斜角で傾斜させなければ、プロジェクタ2を透過型スクリーン4と反射鏡3Bとの間の領域から下方側に外れた領域に配置することができず、これに起因してリアプロジェクションテレビ1の奥行きを小さくすることに限界が生じていた。
つまり、反射鏡3Bを傾斜させた分だけ、リアプロジェクションテレビ1の奥行きを大きく確保しなければならないことになり、この反射鏡3Bの傾斜が、リアプロジェクションテレビ1の薄型化を図る上での大きな障害となっていたのである。
これに対して最近では、図11に示すように、光軸5Dがレンズ本体5Aの中心5Eを通るレンズ本体5Aの短辺に沿う方向においてレンズ本体5Aから外れた位置を通るように配置された透過型フレネルレンズ5を用いることにより、上記反射鏡3Bの傾斜を緩やかにして、リアプロジェクションテレビ1の薄型化を図ることが考えられている(例えば特許文献1参照)。
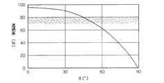
ここで、上記透過型フレネルレンズ5において、プロジェクタ2から投射されてフレネルレンズ5のレンズ本体5Aに入射する入射光がフレネルレンズ5の光軸5Dに対してなす傾斜角をθとしたときに、この傾斜角θと入射光の透過率との関係の一例を図12に示す。なお、図12に示すグラフは、フレネルレンズ5のレンズ本体5Aを構成する材料が例えばアクリル樹脂とされていて、その屈折率が1.49の場合のものである。
図12に示すように、透過型フレネルレンズ5では、上記傾斜角θが大きくなるにしたがい入射光の透過率が低下してゆき、とくに傾斜角θが45°以上の領域では透過率の低下が急激となるため、傾斜角θが大きい状態で透過型フレネルレンズ5を用いると、透過型スクリーン4上での明るさのバランスが崩れてしまって、その均一性が基準を満たさなくなる。また、フレネルレンズ5の光軸5D上に配置されるプロジェクタ2からフレネルレンズ5のレンズ本体5Aまでの投射距離を短くする、つまり、フレネルレンズ5の短焦点化によっても上記傾斜角θが大きくなり、上記のような問題が助長される。
なお、透過型スクリーン4上での明るさの均一性は、この透過型スクリーン4上における所定の9ポイントあるいは13ポイントで評価されるものであり、例えばフレネルレンズ5についての入射光の透過率が約70%以上望ましくは約80%以上の範囲(例えば図12中の網掛け部分)に収まることが要求される。
つまり、リアプロジェクションテレビ1の薄型化を図るために、フレネルレンズ5の光軸5Dの偏心量を増大させたり、フレネルレンズ5の短焦点化を図った場合には、どうしても上記傾斜角θが大きくなるので、従来の透過型フレネルレンズ5では対応できなくなってしまうのである。
そこで、上記傾斜角θを大きくしたとしても、入射光の透過率が低下しないものとして、図13に示すような、いわゆる全反射型フレネルレンズ5が知られている。また、透過型フレネルレンズと全反射型フレネルレンズとを組み合わされたものも知られている(例えば特許文献2参照)。
国際公開第01/86340号パンフレット 国際公開第02/27399号パンフレット
このような全反射型フレネルレンズ5のレンズ本体5Aは、図13に示すように、レンズ基板5Bにおける透過型スクリーン4の背面側を向く片面に、同心円状の凹凸からなるフレネルレンズ部5Cがレンズ本体5Aの入射面側に位置するように設けられて構成されている。そして、この全反射型フレネルレンズ5のフレネルレンズ部5Cは、入射光を全反射することによってこの入射光の方向を整えて出射光とする全反射面を有しており、入射する映像光がフレネルレンズ部5Cの全反射面で全反射させられることにより、その方向が整えられて略平行光として出射されるようになっている。
しかしながら、図13に示すような全反射型フレネルレンズ5を備えた光学システムでは、従来より、フレネルレンズ5の透過率に影響を及ぼす上記傾斜角θに関して何ら考慮されておらず、全反射型フレネルレンズ5を含む透過型スクリーン4上での明るさの均一性を維持することが可能な効果的な光学システムが存在しないのが現状であった。
上記の課題を解決して、このような目的を達成するために、本発明による光学システムは、入射光を全反射面で全反射させることによってこの入射光の方向を整えて出射光とするフレネルレンズ部が設けられた略長方形平板状のレンズ本体と前記レンズ本体の中心を通る前記レンズ本体の短辺に沿う方向において前記レンズ本体から外れた位置を通るように配置された光軸とを有するフレネルレンズを含む透過型スクリーンと、前記フレネルレンズの光軸上に配置され、前記フレネルレンズに映像光を投射する光源と、を備えた光学システムであって、前記光源から投射されて前記フレネルレンズのレンズ本体に入射する入射光が前記光軸に対してなす傾斜角をθとしたときに、この傾斜角θの最小値θminが、θmin≧30°を満たしていることを特徴としている。
また、本発明による背面投射型ディスプレイ装置は、本発明の光学システムを備えていることを特徴としている。
本発明の光学システムでは、まず、フレネルレンズの光軸がレンズ本体から外れるように配置されていることから、この光学システムを用いて背面投射型ディスプレイ装置を構成したときには、透過型スクリーンの背面に対向配置される反射鏡の傾斜を緩やかにして、背面投射型ディスプレイ装置の薄型化を図ることが可能となっている。
ここで、上記のように光軸が偏心したフレネルレンズを用いたことにより、このフレネルレンズのレンズ本体に入射する映像光とフレネルレンズの光軸との傾斜角θが大きくなってしまうのであるが、本発明では、上記傾斜角θが大きい場合でも十分に機能を発揮することができる全反射型フレネルレンズを採用したことによって、何ら不具合が生じることはない。そして、とくに、この全反射型フレネルレンズについての上記傾斜角θと透過率との関係に着目し、透過率の低下が生じないとともにそのバラツキも少なくなる範囲の傾斜角θを設定した光学システム、つまりθ≧30°を満たす光学システムを構成していることから、例えば約80%以上の高い値でバラツキの少ない透過率を有する全反射型フレネルレンズを得ることができる。したがって、このような光学システムを用いて背面投射型ディスプレイ装置を構成したときには、この背面投射型ディスプレイ装置の薄型化が可能でありながらも、透過型スクリーン上での明るさの均一性を確保することができる。
以下、本発明の実施形態を添付した図面を参照しながら説明する。
本実施形態による光学システムを備えた背面投射型ディスプレイ装置としてのリアプロジェクションテレビ10は、図1に示すように、筐体11と、前面側(図1中の左側)を筐体11の外部へ露出させるとともに背面側(図1中の右側)を筐体11の内部へ露出させた略長方形平板状をなす透過型スクリーン20と、筐体11内に配置され、透過型スクリーン20の背面に対して映像光を投射する光源としてのプロジェクタ12と、同じく筐体11内に配置され、プロジェクタ12から投射される映像光の光路を偏向させる例えば2枚の反射鏡13,14とを備えている。
透過型スクリーン20は、図2に示すように、入射光の方向を整えて出射光とするフレネルレンズ部33を有するフレネルレンズ30と、このフレネルレンズ30からの出射光をスクリーンの左右方向(水平方向)に拡散させる拡散レンズ部44を有するレンチキュラーレンズシート(拡散レンズシート)40と、このレンチキュラーレンズシート40からの出射光をスクリーンの上下方向(垂直方向)に拡散させる拡散層50とを備えている。
これらフレネルレンズ30、レンチキュラーレンズシート40、拡散層50は、透過型スクリーン20の背面側(図2中の右側)から前面側(図2中の左側)にかけて順次配置されているとともに、互いに略平行となるように配置されている。
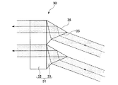
フレネルレンズ30のレンズ本体31は、図2及び図3に示すように、略長方形平板状をなすレンズ基板32における透過型スクリーン20の背面側を向く片面に、フレネルレンズ部33が設けられることによって構成されている。このフレネルレンズ部33は、同心円状の凹凸からなり、レンズ本体31の入射面側に位置させられている。
本実施形態において、フレネルレンズ部33の凹凸がなす同心円の中心を通ってレンズ本体31の法線に沿う方向、つまり、フレネルレンズ30の光軸P1は、図3に示すように、レンズ本体31の中心P2を通るレンズ本体31の短辺31Aに沿う方向Xにおいてレンズ本体31の長辺31Bよりも外側でレンズ本体31から外れた位置を通るように配置されている。
このようなフレネルレンズ30を製造するには、図3に示すように、略円形平板状をなすレンズ基板の片面に、このレンズ基板の中心を通ってレンズ基板の法線に沿う方向を中心(光軸P1)とする同心円状の凹凸からなるフレネルレンズ部が設けられることによって構成されたフレネルレンズ素材34を用意する。このフレネルレンズ素材34は、金型法によりフレネルレンズを製作する場合には、その金型に相当する。
このフレネルレンズ素材34から、上記光軸P1がレンズ本体31の長辺31Bよりも外側でレンズ本体31から外れた位置を通るように、かつ、上記光軸P1及び中心P2を短辺31Aに沿う方向X上に位置させるように、略長方形平板状のレンズ本体31を切り出すことによって、上述したフレネルレンズ30を得ることができる。
また、レンズ基板32の片面に設けられた同心円状の凹凸からなるフレネルレンズ部33は、図4に示すように、入射光を屈折させて後述する全反射面36に向けて方向付ける入射面35と、この入射面35で屈折させられた入射光を全反射させてその方向を整える全反射面36とを有している。そのため、このフレネルレンズ30は、いわゆる全反射型フレネルレンズ30となっている。なお、実際には、入射光が入射面35に対して略垂直に入射すると考えても差し支えないことから、図4では、入射面35において入射光が屈折しないものとして記載してある(後述する図7でも同様)。
上記のような構成とされたフレネルレンズ30は、その光軸P1を例えば下方側に位置させるようにして透過型スクリーン20に備えられている。
そして、プロジェクタ12から投射される映像光を透過型スクリーン20の背面に入射させる、つまり、プロジェクタ12から投射される映像光を透過型スクリーン20の背面側に位置するフレネルレンズ30に入射させると、このフレネルレンズ30は、入射した映像光の方向を整えて略平行光としてからレンチキュラーレンズシート40に向けて出射する。
ここで、プロジェクタ12から投射される映像光の光路を反射鏡13,14によって偏向させていない状態を考えると、プロジェクタ12は、フレネルレンズ30の光軸P1上に配置されるために、図1中の2点鎖線で示すように透過型スクリーン20の背面に対向する領域から例えば下方側に外れた領域に配置された状態となっている。
そして、このような配置とされるプロジェクタ12から投射される映像光の光路を、透過型スクリーン20の背面に対向配置されるとともに透過型スクリーン20に対して略平行となるように配置される反射鏡14とさらにもう一つの反射鏡13とによって偏向させることにより、プロジェクタ12が、筐体11内において透過型スクリーン20と反射鏡14との間の領域から例えば下方側に外れた領域に配置されている。
また、上記X方向に沿う断面で見て図5に示すように、光軸P1上に配置されるプロジェクタ12から投射されてレンズ本体31に入射する入射光が光軸P1に対してなす傾斜角をθとすると、この傾斜角θの最小値θmin、つまり、レンズ本体31の一対の長辺31B,31Bのうちの光軸P1に近い一方の長辺31B(図5における下側の長辺31B)に対して入射する入射光が光軸P1に対してなす最小傾斜角θminは、θmin≧30°を満たしている。一方、この傾斜角θの最大値θmax、つまり、レンズ本体31の一対の長辺31B,31Bのうちの光軸P1から離れた他方の長辺31B(図5における上側の長辺31B)に対して入射する入射光が光軸P1に対してなす最大傾斜角θmaxは、θmax≦80°を満たしている。
レンチキュラーレンズシート40のシート本体41は、図2に示すように、略長方形平板状をなすシート基板42におけるフレネルレンズ30側を向く片面(透過型スクリーン20の背面側を向く片面)に、拡散レンズ部44が設けられ、かつ、シート基板42における拡散層50側を向く片面(透過型スクリーン20の前面側を向く片面)に、遮光部45が設けられることによって構成されている。
拡散レンズ部44は、略半円柱状をなす複数のシリンドリカルレンズ(単位レンズ)43が互いに略平行となるように配列されてなり、シート本体41の入射面側に位置させられている。
この拡散レンズ部44を構成する複数のシリンドリカルレンズ43は、その長さ方向をスクリーンの上下方向(垂直方向)に略一致させており、フレネルレンズ30から出射される映像光がレンチキュラーレンズシート40に入射すると、このレンチキュラーレンズシート40は、入射した映像光をスクリーンの左右方向(水平方向)で集光・拡散してストライプ状の光としてから拡散層50に向けて出射する。なお、図2においては、説明上分かりやすくするため、シリンドリカルレンズ43の長さ方向をスクリーンの上下方向(垂直方向)ではなく左右方向(水平方向)に略一致させて示してある。
遮光部(BS=ブラック・ストライプ)45は、複数のシリンドリカルレンズ43によるストライプ状の非集光部を遮光するように、シート本体41の出射面41A側に位置させられている。
これに対し、複数のシリンドリカルレンズ43によるストライプ状の集光部に対応する領域は、シート本体41の出射面41A側に位置させられた通過部46とされており、シリンドリカルレンズ43によって集光した映像光が、この通過部46を通過するようにして拡散することになる。
拡散層50は、略長方形平板状をなす基材中に拡散材が分散配置されることによって構成されており、レンチキュラーレンズシート40から出射される映像光が拡散層50に入射すると、この拡散層50は、入射した映像光をスクリーンの上下方向(垂直方向)へ拡散してから透過型スクリーン20の前面側に向けて出射する。
以上のような構成とされた本実施形態によるリアプロジェクションテレビ10では、まず、透過型スクリーン20に用いられるフレネルレンズ30の光軸P1が、レンズ本体31の中心P2を通るレンズ本体31の短辺31Aに沿う方向Xにおいて、レンズ本体31から外れた位置を通るように配置されている。
そのため、フレネルレンズ30の光軸P1上に配置されるプロジェクタ12を、反射鏡13,14によって映像光の光路を偏向させていない状態において、透過型スクリーン20の背面に対向する領域から例えば下方側に外れた領域に配置することができている。
したがって、本実施形態によるリアプロジェクションテレビ10において、プロジェクタ12から投射される映像光の光路を透過型スクリーン20の背面に対向配置された反射鏡14によって偏向させるときには、この反射鏡14が透過型スクリーン20の背面に対して略平行となっていたとしても、プロジェクタ12を透過型スクリーン20と反射鏡14との間の領域から例えば下方側に外れた領域に配置することができる。
このように、透過型スクリーン20の背面に対向配置される反射鏡14を透過型スクリーン20に対して略平行となるように配置することができていると、従来では反射鏡14の傾斜の分だけ必要となっていた筐体11の奥行きが不必要になり、リアプロジェクションテレビ10のさらなる薄型化を実現することができる。
また、上記のように光軸P1が偏心したフレネルレンズ30を用いたことにより、このフレネルレンズ30のレンズ本体31に入射する映像光とフレネルレンズ30の光軸P1との傾斜角θが大きくなってしまうのであるが、本実施形態では、上記傾斜角θが大きい場合でも十分に機能を発揮することが可能な全反射型フレネルレンズ30を採用している。
ここで、上記全反射型フレネルレンズ30において、上記傾斜角θと入射光の透過率との関係の一例を図6に示す。なお、図6に示すグラフは、フレネルレンズ30のレンズ本体31を構成する材料が例えばアクリル樹脂とされていて、その屈折率が1.49の場合のものであり、参考までに上述した透過型フレネルレンズについての傾斜角θと入射光の透過率との関係も記載してある。
図6に示すように、全反射型フレネルレンズ30では、上記傾斜角θが30°以上となる領域において、約80%以上の高い透過率を得ることができるとともに、この透過率を基準内にバラツキなく収めることができている。一方、傾斜角θが30°よりも小さくなっていくにしたがい、急激な透過率の低下を招いてしまう。これは、例えば傾斜角θが約60°よりも大きな領域(図6中のA領域)では、図7に示すように、入射面35に入射した映像光のほぼすべてが全反射面36に到達するのであるが、例えば傾斜角θが約20°と小さくなる領域(図6中のB領域)では、図8に示すように、入射面35に入射した映像光のすべてが全反射面36に到達することはなく、隣接する全反射面36に対して到達する入射光同士の間に無効光線が生じてしまうからである。
そのため、本実施形態では、図6に示した全反射型フレネルレンズ30についての上記傾斜角θと透過率との関係に着目し、透過率の低下が生じず、かつ、そのバラツキが少なくなるように、傾斜角θの最小値θminが、θmin≧30°を満たすような光学システムを構成したことにより、例えば約80%以上の高い値でバラツキの少ない透過率を有する全反射型フレネルレンズ30を得ることができる。
したがって、このような光学システムを用いてリアプロジェクションテレビ10を構成したときには、このリアプロジェクションテレビ10の薄型化が可能でありながらも、透過型スクリーン20上での明るさの均一性を確保することができる。
また、上記傾斜角θの最小値θminについて、図6を参照すると、θmin≧40°を満たしていることが好ましく、さらには、θmin≧50°を満たしていることがより好ましい。
一方、上記傾斜角θの最大値θmaxについては、フレネルレンズ部33の製造上の点を考慮して、θmax≦80°を満たすようにしたのであるが、θmax≦70°を満たしていることがより好ましい。
なお、本実施形態においては、フレネルレンズ30のレンズ本体31の入射面側に位置するように設けられたフレネルレンズ部33の全域が、入射光を全反射面36で全反射させることによってこの入射光の方向を整えて出射する全反射型フレネルレンズ部となっているようにしたが、これに限定されることはない。
例えば、傾斜角θが小さくなる一部の領域には、入射光を全反射面で全反射させるとともに屈折面で屈折させることによってこの入射光の方向を整えるハイブリッド型フレネルレンズ部が設けられていてもよいし、傾斜角θがより小さくなる一部の領域には、入射光を屈折面で屈折させることによってこの入射光の方向を整える屈折型フレネルレンズ部が設けられていてもよい。
また、本実施形態においては、透過型スクリーン20が、フレネルレンズ30からの出射光をスクリーンの左右方向に拡散させる拡散レンズシートとして、複数のシリンドリカルレンズ(単位レンズ)43が略平行に配列されてなる拡散レンズ部44を有するレンチキュラーレンズシート40を備え、フレネルレンズ30からの出射光をスクリーンの上下方向に拡散させる拡散手段として、拡散層50を備えているようにしたが、上記のような拡散レンズシートだけに限定されることはない。
例えば、透過型スクリーン20が、フレネルレンズ30からの出射光をスクリーンの左右方向(水平方向)及び上下方向(垂直方向)に拡散させる拡散レンズシートとして、複数の単位レンズがマトリックス状に配列されてなる拡散レンズ部を有するマイクロレンズシートを備えているようにしてもよい。また、例えば、透過型スクリーン20が、フレネルレンズ30からの出射光をスクリーンの左右方向(水平方向)及び上下方向(垂直方向)に拡散させる拡散レンズシートとして、複数のシリンドリカルレンズ(単位レンズ)が略平行に配列された第1のレンズアレイと複数のシリンドリカルレンズ(単位レンズ)が略平行に配列された第2のレンズアレイとがそれらのシリンドリカルレンズの長さ方向を互いに交差させるように同一平面上に配置されてなる拡散レンズ部を有するクロスレンチレンズシートを備えているようにしてもよい。なお、これらの場合でも、必要に応じて透過型スクリーン20が拡散層50を備えていてもよい。
さらに、例えば、透過型スクリーン20が、フレネルレンズ30からの出射光をスクリーンの左右方向(水平方向)に拡散させる拡散レンズシートとして、映像光を反射して拡散させる複数の単位レンズが配列されてなる拡散レンズ部を有するプリズムレンズシートを備え、フレネルレンズ30からの出射光をスクリーンの上下方向(垂直方向)に拡散させる拡散手段として、拡散層50を備えているようにしてもよい。なお、プリズムレンズシートにおける複数の単位レンズの形状・配列によっては、必ずしも拡散層50を必要としない。
本発明の実施形態による光学システムを備えたリアプロジェクションテレビの一例を示す概略説明図である。 本発明の実施形態による透過型スクリーンの一例を示す概略説明図である。 本発明の実施形態によるフレネルレンズ(全反射型フレネルレンズ)の一例を示す概略説明図である。 本発明の実施形態によるフレネルレンズ(全反射型フレネルレンズ)の一例を示す要部拡大断面図である。 本発明の実施形態による光学システムを示す概略説明図である。 全反射型フレネルレンズ及び透過型フレネルレンズについての傾斜角θと透過率との関係の一例を示すグラフである。 図6に示すA領域でのフレネルレンズ部を示す要部拡大断面図である。 図6に示すB領域でのフレネルレンズ部を示す要部拡大断面図である。 従来のリアプロジェクションテレビの一例を示す概略説明図である。 従来の透過型スクリーンの一例を示す概略説明図である。 従来のフレネルレンズの一例(透過型フレネルレンズ)を示す概略説明図である。 透過型フレネルレンズについての傾斜角θと透過率との関係の一例を示すグラフである。 従来のフレネルレンズの他の一例(全反射型フレネルレンズ)を示す概略説明図である。
符号の説明
10 リアプロジェクションテレビ(背面投射型ディスプレイ装置)
12 プロジェクタ(光源)
20 透過型スクリーン
30 フレネルレンズ
31 レンズ本体
33 フレネルレンズ部
36 全反射面
40 レンチキュラーレンズシート(拡散レンズシート)
43 シリンドリカルレンズ(単位レンズ)
44 拡散レンズ部
45 遮光部
46 通過部
50 拡散層
P1 フレネルレンズの光軸
P2 フレネルレンズのレンズ本体の中心
θ 入射光がフレネルレンズの光軸に対してなす傾斜角
θmin 傾斜角θの最小値
θmax 傾斜角θの最大値

Claims (2)

  1. 入射光を全反射面で全反射させることによってこの入射光の方向を整えて出射光とするフレネルレンズ部が設けられた略長方形平板状のレンズ本体と前記レンズ本体の中心を通る前記レンズ本体の短辺に沿う方向において前記レンズ本体から外れた位置を通るように配置された光軸とを有するフレネルレンズを含む透過型スクリーンと、
    前記フレネルレンズの光軸上に配置され、前記フレネルレンズに映像光を投射する光源と、を備えた光学システムであって、
    前記光源から投射されて前記フレネルレンズのレンズ本体に入射する入射光が前記光軸に対してなす傾斜角をθとしたときに、この傾斜角θの最小値θminが、
    θmin≧30°
    を満たしていることを特徴とする光学システム。
  2. 請求項1に記載の光学システムを備えていることを特徴とする背面投射型ディスプレイ装置。
JP2004110349A 2004-04-02 2004-04-02 光学システム及び背面投射型ディスプレイ装置 Pending JP2005292665A (ja)

Priority Applications (1)

Application Number Priority Date Filing Date Title
JP2004110349A JP2005292665A (ja) 2004-04-02 2004-04-02 光学システム及び背面投射型ディスプレイ装置

Applications Claiming Priority (1)

Application Number Priority Date Filing Date Title
JP2004110349A JP2005292665A (ja) 2004-04-02 2004-04-02 光学システム及び背面投射型ディスプレイ装置

Publications (1)

Publication Number Publication Date
JP2005292665A true JP2005292665A (ja) 2005-10-20

Family

ID=35325621

Family Applications (1)

Application Number Title Priority Date Filing Date
JP2004110349A Pending JP2005292665A (ja) 2004-04-02 2004-04-02 光学システム及び背面投射型ディスプレイ装置

Country Status (1)

Country Link
JP (1) JP2005292665A (ja)

Cited By (1)

* Cited by examiner, † Cited by third party
Publication number Priority date Publication date Assignee Title
CN116299799A (zh) * 2022-09-09 2023-06-23 赛尔富电子有限公司 一种菲涅尔透镜及包含其的灯具

Cited By (1)

* Cited by examiner, † Cited by third party
Publication number Priority date Publication date Assignee Title
CN116299799A (zh) * 2022-09-09 2023-06-23 赛尔富电子有限公司 一种菲涅尔透镜及包含其的灯具

Similar Documents

Publication Publication Date Title
JP4014837B2 (ja) 透過型スクリーンおよび投写型表示装置
CN100449401C (zh) 透射式屏幕及投射式显示装置
JPH046315B2 (ja)
JP3542963B2 (ja) リアプロジェクションテレビジョン
JP2006126526A (ja) 画像表示装置、それに用いられる透過型スクリーン及び反射ミラー
JP4487567B2 (ja) 背面投射スクリーン
JP2004170862A (ja) フレネルレンズ
JP4701640B2 (ja) スクリーン及びそれに用いられるフレネルレンズシート、並びにそれを用いた画像表示装置
JP5092193B2 (ja) 光学システム及び背面投射型ディスプレイ装置
JP4170369B2 (ja) 透過型スクリーンおよび投写型表示装置
JP4635490B2 (ja) 光学システム及び背面投射型ディスプレイ装置
JP2005292665A (ja) 光学システム及び背面投射型ディスプレイ装置
KR100607989B1 (ko) 어레이 미러를 구비한 반사부 유닛 및 이를 채용한프로젝션 디스플레이 시스템
CN100426006C (zh) 菲涅耳透镜、投影屏、相应的投影装置和系统
JP2005292299A (ja) 透過型スクリーン及び背面投射型ディスプレイ装置
JP2009047883A (ja) スクリーン
JP2005077767A (ja) 映像表示装置、それに用いる透過型スクリーン及びフレネルレンズシート、並びにその製造方法
JPH08336091A (ja) 背景映写形のテレビジョン受像機又はビデオモニター
CN222354141U (zh) 一种像源、抬头显示器以及车辆
JP4736359B2 (ja) フレネルレンズ、透過型スクリーン及び背面投射型ディスプレイ装置
JP2006011117A (ja) フレネルレンズ、透過型スクリーン及び背面投射型ディスプレイ装置
JP2004529394A (ja) コリメートおよびマイクロフォーカシング双方のための手段を有するバックプロジェクションスクリーン
JP4747522B2 (ja) 背面投射型ディスプレイ装置
JP2005266487A (ja) フレネルレンズ、透過型スクリーン及び背面投射型ディスプレイ装置
JP2006189526A (ja) 画像表示装置、及びそれに用いるスクリーン並びにフレネルレンズシート

Legal Events

Date Code Title Description
A621 Written request for application examination

Free format text: JAPANESE INTERMEDIATE CODE: A621

Effective date: 20070323

A977 Report on retrieval

Free format text: JAPANESE INTERMEDIATE CODE: A971007

Effective date: 20090917

A131 Notification of reasons for refusal

Free format text: JAPANESE INTERMEDIATE CODE: A131

Effective date: 20090924

A521 Written amendment

Free format text: JAPANESE INTERMEDIATE CODE: A523

Effective date: 20091117

A02 Decision of refusal

Free format text: JAPANESE INTERMEDIATE CODE: A02

Effective date: 20091215