JP2005292091A - 地下タンクの漏洩検査方法及び漏洩センサ装置 - Google Patents

地下タンクの漏洩検査方法及び漏洩センサ装置 Download PDF

Info

Publication number
JP2005292091A
JP2005292091A JP2004111469A JP2004111469A JP2005292091A JP 2005292091 A JP2005292091 A JP 2005292091A JP 2004111469 A JP2004111469 A JP 2004111469A JP 2004111469 A JP2004111469 A JP 2004111469A JP 2005292091 A JP2005292091 A JP 2005292091A
Authority
JP
Japan
Prior art keywords
underground tank
pressure
tank
leakage
underground
Prior art date
Legal status (The legal status is an assumption and is not a legal conclusion. Google has not performed a legal analysis and makes no representation as to the accuracy of the status listed.)
Granted
Application number
JP2004111469A
Other languages
English (en)
Other versions
JP4338572B2 (ja
Inventor
Hiroshi Sakurai
浩 櫻井
Mitsuo Shibazaki
光夫 柴崎
Hiroyuki Amemori
宏之 雨森
Yasuhisa Yumoto
泰久 湯本
Current Assignee (The listed assignees may be inaccurate. Google has not performed a legal analysis and makes no representation or warranty as to the accuracy of the list.)
Tokico System Solutions Co Ltd
Original Assignee
Tokico Technology Ltd
Priority date (The priority date is an assumption and is not a legal conclusion. Google has not performed a legal analysis and makes no representation as to the accuracy of the date listed.)
Filing date
Publication date
Application filed by Tokico Technology Ltd filed Critical Tokico Technology Ltd
Priority to JP2004111469A priority Critical patent/JP4338572B2/ja
Publication of JP2005292091A publication Critical patent/JP2005292091A/ja
Application granted granted Critical
Publication of JP4338572B2 publication Critical patent/JP4338572B2/ja
Anticipated expiration legal-status Critical
Expired - Fee Related legal-status Critical Current

Links

Images

Landscapes

  • Examining Or Testing Airtightness (AREA)
  • Loading And Unloading Of Fuel Tanks Or Ships (AREA)

Abstract

【課題】 タンク容量にかかわらず、短時間で、かつ高い検知精度を有する地下タンク内の液相部、又は地下水位より下部のタンク壁面や当該タンクに連通する配管壁面に生じた開口部からの漏洩を検知する地下タンクの漏洩検査方法を提供する。
【解決手段】 計測制御装置24によって、漏洩検査を実施するに際して、後述するように、地下タンク2内の気相部Gを減圧する圧力の大きさを、タンク容量(タンク寸法)、危険物の液面位(タンク底面から液面までの高さ)、及び危険物の密度から計算して設定し、さらには地下タンク2の周りの地下水位(タンク底面から地下水面までの高さ)を加味して計算して設定する。
【選択図】 図1

Description

本発明は、地下タンクに貯蔵された液体の洩れの有無を検査する方法に関するもので、特にガソリン等の危険物や各種の液状化学品等が貯蔵された地下タンク等の壁面に生じた微小な開口部からの洩れを検知するのに好適な地下タンクの漏洩検査方法、及びこの漏洩検査方法に専ら用いられる漏洩センサ装置に関する。
従来、ガソリンをはじめとする燃料油等の危険物を地下タンクに貯蔵する貯蔵所等においては、地下タンクからの燃料油の漏洩による土壌汚染,火災事故等の予防のために、「消防庁危険物関係通達」に基づいて地下タンクの気密漏洩検査を定期的に行うことが義務付けられている。このような地下タンクの気密漏洩検査方法として、例えば特開平8−198398号公報に記載されているような微加圧法あるいは微減圧法が広く用いられている。微加圧法も微減圧法も、地下タンク内の貯蔵物を移動させることなく行える簡便な方法ではあるが、その検査範囲は地下水位より上部のタンク内気相部の壁面からの漏れ検知に限られている。
一方、タンク内液相部又は地下水位より下部のタンク壁面からの漏れ検知方法としては、例えば特開昭62−223640号公報や特開平10−120099号公報等に記載されているように、地下タンク内の液面レベルの変動を検知するものがある。この方法は、洩れによるタンク内の液量増減に基づく液面レベルの変動を測定するもので、漏れを正しく反映した検知ができるので、液相部又は地下水位より下部のタンク壁面の漏洩検査に用いることができる。しかしながら、この方法では、液面レベルの相対変位量を検知するため、漏れ量、又は外部からの浸入量が小さい場合には、液面レベルの変位が極めて小さいため、その検知には多大な時間を要する欠点がある。
この欠点を是正し、液相部又は地下水位より下部のタンク壁面から漏洩を短時間で検知できる方法として、例えば特開2003−185522号公報に記載されているような液面レベルの微少な変動を流量センサによって検知する方法がある。この方法は、液面レベルの変動に伴って発生する流量センサを通過する液体の流れの量を計測して液面レベルの変位速度、すなわち液面レベルの単位時間当たりの変位量を検知するため、流量センサの測定管路の径を細くすれば流量計の分解能が上がり、微小な液面変位も検知することができる特徴を持っている。
特開平8−198398号公報 特開昭62−223640号公報 特開平10−120099号公報 特開2003−185522号公報
しかしながら、上述した流量センサを用いて液面レベルの変位速度を検知する方法をもってしても、例えば地下水が地下タンク内に浸入することによる液面レベルの変位速度が流量センサの検出限界以下である場合には、いくら時間をかけても検知できないという欠点を有している。
一方、タンク壁面に生じた漏洩箇所の開口部からタンク内の液体が漏出する場合の単位時間当たりの漏れ量、又はタンク壁面に生じた漏洩箇所の開口部を介して地下水がタンク内に浸入する場合の単位時間当たりの浸入量は、開口部の面積と、開口部におけるヘッド(圧力)でほぼ一義的に決定される。すなわち、開口部が存在するタンクの大きさ(タンク容量)とは無関係の量となる。しかしながら、タンクの形状容量によって、液面高さ位置(液位)に応じた液面面積は大きく異なるため、同じ漏れ量又は浸入量であっても、液面の変位する速度は大きく異なる。
例えば、1時間当たり400mLの地下水が開口部から浸入する場合、タンク容量がそれぞれ2kL,10kL,30kL,及び100kLのストレートタンクにおけるタンク中心部の液面面積は、概ね2.3m,9.5m,20m,及び44mとなるので、1時間当たりの液面レベルの変位速度は、それぞれ約0.17mm,0.04mm,0.02mm,及び0.01mmとなる。したがって、流量センサを用いた検査方法の液面レベルの変位速度についての検出限界が0.02mm/hとすれば、同じ開口部からの400mL/hの量の地下水が外部から浸入しても、2kLと10kLのストレートタンクでは検知できるが、30kLのストレートタンクでは地下水の浸入判定の確実性が低くなり、100kLのストレートタンクでは検知できない結果になってしまう。
以上のことから、タンク内液相部又は地下水位より下部のタンク壁面に生じた開口部からの漏洩を検査する場合に、地下水が浸入する条件を設定して漏洩の有無を判定する方法においては、液面高さ位置に応じた液面面積の違いを考慮に入れた検査方法を適用なければならない。したがって、液面変位速度検知方式の漏洩検査方法を採用する場合には、常に検出限界以上の地下水が浸入する条件を求め、それに合った検査条件を設定する必要がある。
また、上述したタンク内の液面の変位速度を検知する液面変位速度検知方式の検査方法をもってしても、例えば地下水位がタンク底面よりさらに下部に存在する場合には、地下水の浸入はあり得ない。その場合には、開口部からは空気が浸入することになり、流量センサのような液面レベルの変位速度を検知するセンサのみでは開口部の検出、あるいは開口部からの洩れの検出は完全には検出できない。具体的には、空気が浸入すると、減圧されている気相部の圧力はゼロに向かって変化し始めるが、危険物がガソリンのような蒸気圧が大きなものである場合には、それによる圧力の変化と判別しがたい欠点を有する。
そこで、地下タンクに生じた開口部及びその開口部からの漏洩を検査する場合には、空気の浸入を、地下水の浸入を検出するための流量センサとは別のセンサで検出する必要がある。空気の浸入を適確に捉えられるセンサとして、例えば空気の浸入音を検出するマイクロホンがある。このマイクロホンを使用すれば、空気の浸入する音を直接捉えるため、ガソリンのような蒸気圧の高い場合も影響を受けない。
しかしながら、タンクの密閉性を確保する上からも、また、タンクの検査に使用しうるセンサをタンク内に挿入する口も限られていることから、それぞれのセンサの個別の設置は、検査上いろいろな制約を与えてしまう欠点を有している。
そこで、本発明は、液面変位速度検知方式の漏洩検査方法で、センサの検出限界以上の液面レベルの変位速度が発生しうる地下水の浸入量を確保する条件を検査条件として設定することにより、タンク容量にかかわらず、短時間で、かつ高い検知精度を有する地下タンク内の液相部、又は地下水位より下部のタンク壁面や当該タンクに連通する配管壁面に生じた開口部からの漏洩を検知する地下タンクの漏洩検査方法を提供することをその第1の目的とする。
さらに、本発明は、この液面変位速度検知方式の漏洩検査方法に用いられる液面レベルの変位速度を検知するセンサでは検出できない空気の浸入をマイクロホンで検出し、かつそのマイクロホンを、タンク内に液面変位速度検出用のセンサを挿入するための漏洩センサ装置としての検査プローブに一体的に内蔵することにより、検査時における作業性やタンク内の気密密閉性を損うことなく、短時間で、かつ高い検知精度を有する地下タンクの検査方法を提供することを第2の目的とする。
上記課題を解決するために、本発明の地下タンクの漏洩検査方法は、危険物を貯蔵する地下タンクの壁面に生じた開口部からの漏洩を検査する地下タンクの漏洩検査方法であって、危険物が通過する際の変位を検出するセンサを内蔵した検査プローブを地下タンクに挿入して当該地下タンクの漏洩を検査するために減圧する圧力の大きさを、タンクの形状容量、危険物の液面の高さ、及び危険物の密度から計算して設定する圧力演算ステップと、当該地下タンク内の圧力を当該地下タンクに連通させて設けた圧力計測手段及び減圧手段によって設定値に減圧する減圧ステップとを有することを特徴とする。
また、本発明の地下タンクの漏洩検査方法は、危険物を貯蔵する地下タンクの壁面に生じた開口部からの漏洩を検査する地下タンクの漏洩検査方法であって、危険物が通過する際の変位を検出するセンサを内蔵した検査プローブを地下タンクに挿入して当該地下タンクの漏洩を検査するために減圧する圧力の大きさを、タンクの形状容量、危険物の液面の高さ、危険物の密度、及び地下タンクの周りの地下水位から計算して設定する圧力演算ステップと、当該地下タンク内の圧力を当該地下タンクに連通させて設けた圧力計測手段及び減圧手段によって設定値に減圧する減圧ステップとを有することを特徴とする。
また、本発明の地下タンクの漏洩検査方法では、圧力演算ステップは、地下水位が当該地下タンクの底面以上の高さ位置に存在する場合に、開口部から浸入する地下水により上昇する当該地下タンクの液面レベルの上昇速度が、予め定められた速度以上となるような地下水の浸入量が確保できる大きさの減圧圧力値を計算して設定することを特徴とする。
また、本発明の地下タンクの漏洩検査方法では、圧力演算ステップは、開口部の直径が0.3mmで、当該開口部から浸入した地下水の量を当該地下タンクの液面位の液面面積で除した値が毎時0.02mm以上となる地下水の浸入を可能ならしめるような地下水浸入のためのヘッド圧力を確保できる大きさの減圧圧力値を計算して設定することを特徴とする。
また、本発明の地下タンクの漏洩検査方法では、圧力演算ステップは、地下水位が当該地下タンクの底面より下方に存在する場合に、危険物の液面位にその密度を乗じて求めた圧力に、4kPa以上を加えた圧力の大きさの負圧を減圧圧力値として計算して設定することを特徴とする。
また、本発明の漏洩センサ装置は、危険物を貯蔵する地下タンクの壁面に生じた開口部からの漏洩を検査する地下タンク等の漏洩検査方法に用いられる漏洩センサ装置であって、危険物が通過する際の変位を検出するセンサとともにマイクロホンを挿入端側に配置して内蔵し、地下タンクに設けられた計量口から当該地下タンク内に挿入可能な検査プローブによって構成されることを特徴とする。
また、本発明の漏洩センサ装置は、危険物を貯蔵する地下タンクの壁面に生じた開口部からの漏洩を検査する地下タンク等の漏洩検査方法に用いられる漏洩センサ装置であって、危険物が通過する際の変位を検出するセンサを挿入端側に配置して内蔵し、地下タンクに設けられた計量口から当該地下タンク内に挿入可能な検査プローブによって構成され、当該検査プローブには、挿入端側から離間した地下タンク内の危険物に侵漬されない高さ位置に、当該地下タンク内と前記センサの危険物の通過出口に連通した当該検査プローブ内とを連通する連通孔を設けたことを特徴とする。
さらに、本発明の漏洩センサ装置では、検査プローブには、挿入端側の地下タンク内の危険物に侵漬される高さ位置に、当該地下タンク内と前記センサの危険物の通過出口に連通した当該検査プローブ内とを連通する連通孔を設けると共に、該連通孔を連通・遮断する弁手段を設けたことを特徴とする。
本発明によれば、流量センサを用いた液面変位速度検知方式の漏洩検査方法を用い、かつ、流量センサの検出限界以上の液面レベルの変位速度が発生しうる地下水の浸入量を確保する条件を検査条件として設定することにより、タンク容量にかかわらず、短時間で、かつ高い検知精度を有する地下タンク等のタンク内液相部、又は地下水位より下部のタンク壁面に生じた開口部からの漏洩を検知することができる。
また、本発明によれば、流量センサを用いた液面変位速度検知方式の漏洩検査方法では検出できない空気の浸入をマイクロホンで検出し、かつそのマイクロホンをタンク内に流量センサ挿入するための検査プローブ(すなわち、漏洩センサ装置)に一体的に内蔵することにより、検査時における作業性やタンク内の気密密閉性を損うことなく、短時間で、かつ高い検知精度を有する地下タンク等の液相部に生じた開口部からの漏洩を検知することができる。
本発明の地下タンクの漏洩検査方法及び漏洩検査装置の一実施の形態について図面とともに説明する。
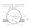
図1は、本発明の地下タンクの漏洩検査方法に用いる漏洩検査システムの実施例の構成図である。図1は、本発明の地下タンクの漏洩検査方法に用いる漏洩検査システムを、車両等に燃料を供給するための給油所に適用した例を示す。
本実施例の漏洩検査システム20は、給油所1に設けられた地下タンク2内に挿入されて地下タンク2に生じた漏洩箇所の開口部を検出する検査プロ一ブ21や、この検査プロ一ブ21に組み込まれた液面変位速度センサ22及びマイクロホン23から供給される信号を検出・処理し、表示・記録・出力、及び判定等を行う計測制御装置24等によって構成される測定系と、検査条件を設定又は実施するために地下タンク2を密閉し気相部Gを減圧するための継ぎ手71、減圧ホース72、減圧ポンプ73及び圧力計75等からなる設備系に大別される。
このように構成された本実施例の漏洩検査システム20の各部について説明する前に、本実施例の漏洩検査システム20が適用される給油所1の構成について、まず説明する。
図1において、地下タンク2には、油液3が貯留され、内部には、液相部Lと気相部Gとが形成されている。4は地下タンク2にタンクローリ車等から油液を補給するための注入管で、一端が注入口4aとなり、他端が地下タンク2内の底部側に位置して開口している。注油口4aは、通常、油液の補給時以外は、蓋部材5によって気密に施蓋されている。6は地下タンク2内の油液を吸上げるための吸入管で、一端が地下タンク2内の底部側に位置して開口し、他端が計量機7に接続されている。計量機7は、計量機本体内にポンプ及び流量計を内蔵し、地下タンク2からポンプにより吸い上げた油液を流量計によって計量し、図示せぬ給油ホース先端に設けられた給油ノズルから車両の燃料タンク等に油液を供給する構成になっている。計量機7のポンプ吸込み側の流路部分には、ポンプの吸込みヘッド圧を確保するための逆止弁(図示省略)が配設されており、地下タンク2の漏洩検査時には、この逆止弁は地下タンク2内の圧力が負圧になるため閉弁し、自動的に吸入管6の他端を外部に対して閉塞可能になっている。
8は、地下タンク2の上部に埋設された金属製又はコンクリート製の埋設ボックス(マンホールプロテクタ)で、地表に開口した開口部はマンホール蓋(図示省略)によって施蓋されている。埋設ボックス8内には、検尺棒,液面計のフロート等を地下タンク2内に挿入するため計量管9の計量口9aが開口している。この計量口9aは、蓋部材、又は当該計量口9aに装着された液面計本体によって、常時は気密に施蓋されている。
10は、一端が通気口10aとなり、他端が地下タンク2内の上部側に連通して設けられた通気管である。通気管10は、地下タンク2内の油蒸気を外部に逃がす。
次に、上述した給油所1を例に、本実施例の漏洩検査システム20の設備系及び測定系各部構成について説明する。
設備系において、減圧ポンプ73は、地下タンク2内の気相部Gの気体を外部に排出して、地下タンク2内を減圧する。減圧ポンプ73の吸引側は、減圧ホース72を介して、通気管10の通気口10aと継ぎ手71を介して気密に接続される。この減圧ホース72の途中には、地下タンク2内の温度状態を測定するための温度計74、地下タンク2内の減圧状態を測定するための圧力計75が設けられている。減圧ポンプ73によって吸引された地下タンク2内の気相部Gの気体は、不活性ガスを混合する等して安全・環境面の処置がなされた後、大気開放ホース76を介して放出される。
一方、測定系において、検査プロ一ブ21は、液面変位速度センサ22及びマイクロホン23を備え、検査時には、計量口9aから計量管9を介して地下タンク2内に挿入配置される。液面変位速度センサ22は、液面レベルの変動に伴って発生する流量センサを通過する液体の流れの量を計測する。液面変位速度センサ22には、本実施例の場合は、熱交換式流量センサが用いられている。液面変位速度センサ22の検出信号は、検査プロ一ブ21の長さ方向に延設したケーブル25内の信号線を介して差圧伝送器26に接続されている。そして、差圧伝送器26によって信号処理が施された後、計測制御装置24に供給される。マイクロホン23は、地下タンク2内の音を集音して電気音響信号に変換する。マイクロホン23には、本実施例の場合は、耐油性の防食構造を備えた圧電型のマイクロホンが用いられている。マイクロホン23から出力される電気音響信号は、同じくケーブル25内の信号線を介して、安全保持器付音声変換器27と、安全保持器28を介してI/F変換器(電流/周波数変換器)29とに供給される。安全保持器付音声変換器27は、マイクロホン23から出力される電気音響信号を音声信号に変換し、スピーカから音声出力する。また、I/F変換器29は、マイクロホン23から出力される電気音響信号を周波数分析するための周波数信号に変換する。
計測制御装置24は、本実施例の場合は、パーソナルコンピュータによって構成され、漏洩検査の検査状況や測定結果を監視・出力するためのディスプレイ装置やプリンタ等といった出力手段30や、漏洩検査のための各種データや測定結果を蓄積するための記憶手段31や、漏洩検査実施に当たって各種データを設定入力するためのキーボード等からなる入力手段32が備えられている。計測制御装置24は、差圧伝送器26を介して供給される地下タンク2内で液面変位速度センサ22によって検出した地下タンク2内の液面変位に基づく流量検出信号や、I/F変換器29を介して供給される周波数信号に変換された地下タンク2内でマイクロホン23により検出した電気音響信号に基づいて、地下タンク2内に生じた開口部(漏洩箇所)の有無等を検査する。
また、計測制御装置24は、漏洩検査を実施するに際して、後述するように、地下タンク2内の気相部Gを減圧する圧力の大きさを、タンク容量(タンク寸法)、危険物の液面位(タンク底面から液面までの高さ)、及び危険物の密度から計算して設定し、さらには地下タンク2の周りの地下水位(タンク底面から地下水面までの高さ)を加味して計算して設定する減圧圧力演算手段として機能する。
以上のように構成された本実施例の漏洩検査システム20では、密閉された地下タンク2内を減圧ポンプ73を作動して減圧することによって負圧状態とし、地下水または空気の浸入を液相部Lに挿入した液面変位速度センサ22とマイクロホン23により検知することにより、液相部L及び地下水位より下部の直径0.3mm以下の開口部からの漏洩の有無を検査する地下タンクの漏洩検査方法を実施できるものである。
次に、液相部L及び地下水位より下部の直径0.3mm以下の開口部からの漏洩の有無を検査するための地下タンクの漏洩検査方法、特にその際における地下タンク2内の気相部Gを減圧する圧力の大きさの設定について説明する。
本実施の形態による地下タンクの漏洩検査方法では、直径0.3mm以下の開口部から浸入する地下水、あるいは空気を確実に検知するため、タンク容量、貯蔵物の液面位、地下水位等の条件に従って適切な減圧値(負圧力)を設定する。
このことにより、液相部Lに生じたタンク壁部の開口部すなわち漏洩箇所を介しての地下水の浸入は、液面変位速度センサ22で検知した信号を分析することにより、ある値以上の液面の上昇速度として捉え、また空気の浸入はマイクロホン23により採取した音声信号を分析することにより特異な周波数域の一定レベル以上の音として捉えることができる。
ここでは、地下水の浸入を検出する液面変位速度センサ22の感度を0.02mm/h、マイクロホン23は0.3mmの開口部から空気の侵入音を捉える感度を持つものとして説明を行う。
まず、本実施の形態による地下タンクの漏洩検査方法のポイントである地下タンク2内を減圧する圧力の大きさについて説明する。図2〜4は、検査を実施する地下タンク2の危険物(油液)3の液面位と地下水位80との関係を示している。
図2は、地下水位がタンクの底部より更に下方に存在する場合の地下タンクの漏洩状態の説明図である。
図2に示した如くの、地下水位80が地下タンク2の底部2eより更に下方に存在するような環境で検査を行った際に、地下タンク2の危険物3の液相部Lに開口部11が存在する場合には、当該開口部11からは空気85が浸入することになる。
図3は、地下水位がタンクの危険物の液面より上方に存在する場合の地下タンクの漏洩状態の説明図である。
図3に示した如くの、地下水位80が地下タンク2の危険物3の液面より上方に存在するような環境で検査を行った際に、地下タンク2の危険物3の液相部Lに開口部12が存在する場合には、当該開口部12からは地下水81が浸入することになる。
図4は、地下水位がタンクの底部より上方で、タンクの危険物の液面より下方にあって、タンクの底部と危険物の液面とのその中間に存在する場合の地下タンクの漏洩状態の説明図である。
図4に示した如くの、地下水位80が地下タンク2の底部2eより上方で、地下タンク2の危険物3の液面より下方にあって、地下タンク2の底部2eと危険物3の液面とのその中間に存在するような環境で検査を行った際に、地下タンク2の危険物3の液相部Lに開口部13,14が存在する場合には、当該開口部13,14の位置により、開口部13からは地下水81が、又開口部14からは空気85が浸入することになる。
ここで、地下タンク2内を減圧する圧力の大きさを考えるに当たり、まず、図2に示すような、開口部11が地下タンク2の底部2eに存在し、開口部11の外側に地下水81がない場合を考える。
地下タンク2内の気相部Gの圧力が大気圧で、地下タンク2の周囲も大気圧と想定すると、図2に示すように、開口部11には、地下タンク2の内側から外側に危険物3を排出しようとする圧力が働いている。
この圧力の大きさH1は、危険物3の液位h1と密度ρ1を乗じた大きさになっている。この状態から地下タンク2内を減圧してタンク内の圧力が△H2になったとすると、開口部11に作用するヘッドH3は(H1−△H2)となる。
すなわち、地下タンク2内を減圧することにより、危険物3を排出する圧力は小さくなる。減圧する圧力が危険物3の液位h1と危険物の密度ρ1を乗じた大きさと等しくなった時、開口部11における危険物3を排出する圧力の大きさは0となり、それ以上減圧する圧力を大きくすると、逆に開口部11から空気85が浸入するようになる。
したがって、図2のように空気85が浸入する場合の地下タンク2内の減圧する圧力の大きさHaは、式(1)に示す値を設定すればよい。
Ha=△(h1×ρ1+α) ・・・・・(1)
式(1)におけるαは、検知する開口部11の大きさとマイクロホン23の感度によって決められる。
例えば、直径0.3ミリメートル以下の開口部11を確実に検知しようとする場合、通常の感度のマイクロホンを使用した場合には、4kPa程度の大きさになる。
一方、図5に示すような、開口部15が地下タンク2の底部2eに存在し、開口部15の外側に地下水81がある場合を考える。
図5は、開口部が地下タンクの底部に存在し、開口部の外側に地下水がある場合の地下タンクの漏洩状態の説明図である。
地下タンク2内の気相部Gの圧力が大気圧の時、開口部15には、地下タンク2の内側から外側に向かって圧力H3が働いている。この圧力H3の大きさは、式(2)に示すように、危険物3の液位h1と密度ρ1を乗じた値と地下水位h2に地下水の密度ρ2を乗じた値の差となっている。
H3=h1×ρ1−h2×ρ2 ・・・・・(2)
したがって、H3が正の値を取る場合には、開口部15を通して危険物3が地下タンク2の外に流出し、負の値を取る場合には、開口部15を通して地下水81が地下タンク2の中に浸入することになる。この場合、式(2)の正負に拘わらず、地下タンク2の気相部Gの圧力H4を式(3)で示す値まで減圧すれば、その時の開口部15に働く圧力H5は、式(4)に示す通りとなり負の値を取るため、開口部15を通して地下水81が地下タンク2内に浸入する条件となる。
H4=△(h1×ρ1) ・・・・・(3)
H5=H3+H4=△(h2×ρ2) ・・・・・(4)
式(4)の圧力の大きさが、地下水81を開口部15を通して地下タンク2内に浸入させる、いわゆるヘッドとなるが、微小な開口部から大気中にそのヘッドにより水が放出される時の流量Qは、良く知られているように式(5)で表される。
Q=CA√2ρgH×3600 ・・・・・(5)
ここで、Q:流量[ml/h]、C:流量係数(=0.815)、A:開口部断面積[Cm]、ρ:水の比重(=1)、g:重力加速度[cm/s](=980)、H:ヘッド[cm]、なお、“√2ρgH”は、“(2ρgH)1/2”を表わす。
この状態に比べ、水が油中に放出された場合、出口付近での油分の粘性抵抗により微小な開口部を流れる流量は低下すると考えられたため、実際にガソリン中に微小孔から水を浸入させる実験を行った。
図6は、ガソリン中に微小孔から水を浸入させる実験を行った結果のグラフである。
図中の実線は、各微小孔径について式(5)から計算した結果を示している。各孔径の場合も、流量は式(5)の計算結果に対して低下しており、この低下が粘性等による抵抗と考えると、実際の流量Q'は式(6)で表される。
Q'=FCA√2ρgH×3600 ・・・・・(6)
ここで、F:損失係数。
実験結果からFを求めると、F=0.75〜0.90となっている。
0.02mm/hの液面変化をもたらす水の浸入量は、タンクの容量によって異なり、タンク容量が大きくなるに従って液面面積が増えるため、それだけ大きな量が必要となる。すなわち、点検するタンクの容量に従って、十分な液面変位をもたらす水準浸入するだけの点検圧力を設定する必要がある。
実際の水の浸入量は損失係数F=0.75として式(6)を用いて、各容量の代表的なストレートタンクの最大液面面積Smax(タンク中心)から、0.02mm/hの液面変位に必要な水の浸入量Qminを計算し、その浸入量が確保できるヘッドHminを孔径Φ0.3mmについて計算した結果を図7に示す。
図7は、各容量のストレートタンクに対する水の侵入に必要な圧力表である。
以上から、水が浸入する条件での、タンク内の減圧する圧力の大きさHdは、危険物の液位によるヘッド分(h1・ρ1)を打ち消し、さらにタンク容量に応じた十分な水の浸入を確保できるヘッドHminを加えた式(7)で示される値にすれば良いことが分かる。
Hd=△(h1×ρ1+Hmin) ・・・・・(7)
図8は、本発明による地下タンクの漏洩検査方法の一実施の形態のフローチャートである。
本発明による地下タンクの漏洩検査方法は、地下タンク2内の気相部Gを減圧することにより、開口部11〜15からの地下水、もしくは空気の浸入を促し、それを液面変位速度センサ22、及びマイクロホン23で検知する。直径0.3mm以下の開口部11〜15からの浸入を確実に検知するためには、液面変位速度センサ22、及びマイクロホン23で検知できるレベルの変化を起こすことが必要となる。このことから、気相部Gを負圧にする圧力の大きさが検査条件として重要となる。
本方法では、この検査圧力の決定(ステップS2)を、事前調査(ステップS1)によって得られたタンクデータ等に基づいて決定する。
一方、液面変位速度センサ22、及びマイクロホン23は所定の機能通りに動作し、適確にレベル検知することか求められる。このため、本方法では、ステップS3に示す準備段階に、(1)漏洩検査システム20を構成する各機器の設置工程,(3)給油所1の検査対象の地下タンク2と連通されている配管や機器等の各部の密閉処置工程,(4)その気密確認工程とともに、(2)液面変位速度センサ22、及びマイクロホン23のチェックを行う静圧テスト工程を設けている。
ステップS5の判定工程は、計測制御装置24に取り込まれた全ての検査結果から判断されて出力される。
ステップS1の事前調査は、地下タンク2の漏洩検査試験を適正、かつ有効に実施するために行う調査で、地下タンク2の設置位置、危険物(油液)3の種類、及び地下タンク2の容量、寸法(内径、胴長、板厚)等を図面により確認した後、下記の調査を行う。この調査データは、例えば、入力手段32の操作によって計測制御装置(パソコン)24にマスターデータとして入力される。マスターデータとしては、
(1)地下タンク2の貯蔵量及び液の高さ
(2)GL(地表面)〜地下タンク2の底部2eまでの深さ
(3)GL〜地下水81までの深さ
(4)タンク内液温、等
があり、記憶手段31に登録される。
マスターデータとして登録された事前調査データから、計測制御装置(パソコン)24ンは検査圧力を決定する。
検査圧力の算出の基本的な考え方は前述の通りであるが、地下水の浸入がある場合と無い場合とで以下の通りとなる。
(1)地下水位がタンク底面より下方にある場合(地下水の浸入がない場合)
Pd=△1・(ρc・hc/10.2+4.0) ・・・・・(8)
ここで、Pd:設定圧力(負圧)[kPa]、ρc:タンク貯蔵物の比重、hc:タンク貯蔵物の液位(タンク底面からの高さ)[cm]。
(2)地下水位がタンク底面より上方にある場合(水の浸入がある場合)
Pd=△1・(ρc・hc/10.2+Ha) ・・・・・(9)
ここで、Pa:設定圧力(負圧)[kPa]、ρc:タンク貯蔵物の比重、hc:タンク貯蔵物の液位[cm]、Ha:タンク容量に応じて付加する圧力[kPa]、(図7に示した圧力表の値[kPa])。
したがって、上述した式(8)及び式(9)、加えて図7に示した如くの各容量のストレートタンクに対する地下水位の浸入に必要な圧力表を、計測制御装置24に接続された記憶手段31に登録しておくことによって、ストレートタンクの漏洩検査の実施の際、入力手段32によって、検査対象の地下タンク2について地下水位がタンク底面より下方にあるか上方にあるかを選択設定した上、検査対象の地下タンク2に貯蔵された貯蔵物の比重ρc、及びタンク貯蔵物の液位を設定するだけで、地下タンク2内の気相部Gを減圧する圧力の適確な大きさを演算して取得することができる。この取得した気相部Gの減圧値は、出力手段30から表示または印刷出力される。また、例えば、減圧ホース72に開閉弁77を設け、この開閉弁77及び減圧ポンプ73を計測制御装置24に備えられた制御端に接続し、減圧ポンプ73のマニュアル操作によらず、計測制御装置24によって開閉弁77及び減圧ポンプ73を作動制御し、気相部Gの取得した減圧値に気相部がなるように圧力計75に基づき自動制御する構成にすることも可能である。
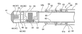
次に、本発明の地下タンクの漏洩検査方法に用いる漏洩センサ装置としての検査プローブ21の構成について、図面により説明する。
図9,図10は、本発明の地下タンクの漏洩検査方法に用いる漏洩センサ装置としての検査プローブの一実施例の構成図である。
図9は、漏洩センサ装置としての検査プローブの全体構成図である。
図10は、図9に示した検査プローブの先端側部分の拡大図である。なお、図10において、図10(A)は検査プローブの先端側部分の拡大平面図を、図10(B)は検査プローブの先端側部分の拡大正面図を、図10(C)は図10(A)に記載したX−X矢視方向の断面図をそれぞれ示したものである。
検査プローブ21は、図1で説明したように、計量口9aから計量管9に挿入されて地下タンク2内に設けられるため、円筒形状の細長筐体部40によって構成されている。
検査プローブ21の細長筐体部40の先端面(挿入端面)には、地下タンク2への挿入の際にタンク内壁と衝突してタンク内壁を傷つけるのを防止するとともに、その衝撃から検査プローブ21の細長筐体部40内に実装された液面変位速度センサ22(図10(C)参照)やマイクロホン23を保護するための弾性体からなる保護部材41が設けられている。保護部材41は、検査プローブ21の先端を構成する。保護部材41は、細長筐体部40の先端側に形成されたマイクロホン収納筐体部42の軸方向端部に取り付けられている。マイクロホン収納筐体部42は、マイクロホン23を収容するマイクロホン収納室43が内部に形成され、その周面にはこのマイクロホン収納室43を外部すなわち地下タンク2内に対して開放するための複数の集音窓部44が形成されている。これにより、収納室43に設けられたマイクロホン23も外部(地下タンク2内)に臨むようになっている。
このマイクロホン収納筐体部42に隣接して検査プローブ21の基端側方向には、液面変位速度センサ22の流入口室を形成するフィルタ収納筐体部45が形成されている。フィルタ収納筐体部45も、フィルタ収納室46が内部に形成され、その周面にはこの収納室46を外部すなわち地下タンク2内に対して開放するための複数の流入窓47が形成されている。そして、フィルタ収納室46には、コイルバネ48によって検査プローブ21の基端側方向に付勢指示されて円筒フィルタ49が配置されている。
また、フィルタ収納筐体部45に隣接して検査プローブ21の基端側方向には、液面変位速度センサ22が内部に収容されたセンサ収納筐体部50が形成されている。液面変位速度センサ収納部50の内部には、液面変位速度センサ22を構成する流量センサ(熱線式流量センサ)が収容されているセンサ収納室51が形成されている。液面変位速度センサ収納部50には、検査プローブ21の軸方向に沿って挿入端側に延びるオリフィス流入路52が形成され、フィルタ収納筐体部45に設けられた円筒フィルタ49のコイルバネ48側とは反対側の軸方向流出口に液面変位速度センサ22の流入側が連通しているとともに、検査プローブ21の軸方向に沿って基端側に延びるオリフィス流出路53によって、液面変位速度センサ22の流出側が後述する流路管部54内に形成された液蓄積空間に連通している。
そして、これらマイクロホン収納筐体部42、フィルタ収納筐体部45、及びセンサ収納筐体部50は、検査プローブ21の細長筐体部40の挿入端側部分に配置されている。
これに対し、検査プローブ21の細長筐体部40のセンサ収納筐体部50よりも基端側の部分は、内部に液蓄積空間が形成された流路管部54(図9参照)になっている。流路管部54は本実施の形態の場合、複数段の円筒管の連結構成からなり、挿入される地下タンク2の直径(深さ)等に応じてその連結長さを調整することによって、各種タンクに適応できるようになっている。その上で、この細長筐体部40における流路管部54の検査プローブ21の基端側の円筒管54aには、図9に示すように周回りに4個ずつ1組の連通孔55が検査プローブ21の軸方向に間隔を空けて4組、計16個の連通孔55が設けられ、流路管部54内の液蓄積空間を外部(地下タンク2内の気相部G)と連通するようになっている。この円筒管54aの外周には、ゴミ除け様のカバー54が巻装されて連通孔55は覆われ、外部から異物が流路管部54内の液蓄積空間に入らないようになっている。ところで、検査プローブ21を地下タンク2に挿入して取り付けると、前述した液面変位速度センサ22部分及びこの流路管部54内の液蓄積空間はエアーリッチ、一方、地下タンク2の気相部Gはベーパーリッチになる。このため、液面変位速度センサ22部分及びこの流路管部54内の液蓄積空間と地下タンク2の気相部Gとの間に圧力差が生じ、地下タンク2に漏洩箇所の開口部が開いていないのに拘わらず、地下タンク2の気相部Gから液面変位速度センサ22を介して流路管部54内の液蓄積空間内に油液が流れ込む現象が生じようとする。連通孔55は、その際に、液面変位速度センサ22部分及びこの流路管部54内の液蓄積空間と地下タンク2の気相部Gとの間に圧力差を速やかに解消するように作用する。
56は液面変位速度センサ22やマイクロホン23からの信号線が内蔵された信号線ケーブル(前述のケーブル25と同一)である。信号線ケーブルは検査プローブ21の細長筐体部40外周に装着された熱収縮性チューブ57によって固定され、基端側に導出されている。
続いて、図11,図12より、本発明の地下タンクの漏洩検査方法に用いる漏洩センサ装置としての検査プローブの他の実施例について説明する。なお、その説明に当たっては、図9,図10に示した漏洩センサ装置と同一な構成部分については、同一の符号を付してその説明を省略する。
図11は、漏洩センサ装置としての検査プローブの別の実施例の構成図である。
図12は、漏洩センサ装置としての検査プローブの別の実施例の要部外観図である。
まず、本実施の形態の形態の漏洩センサ装置としての検査プローブ21は、マイクロホン収納筐体部42とフィルタ収納筐体部45とが位置の筐体部によって構成され、これに関係して、マイクロホン収納室43とフィルタ収納室46、集音窓部44と流入窓47が共用化された構成になっている。
そして、本実施の形態の検査プローブ21においては、センサ収納筐体部50に隣接した流路管部54の中、センサ収納筐体部50に連結された円筒管54bに、当該円筒管54b内の液蓄積空間を外部(地下タンク2内の気相部G)と連通する連通孔60が例えば周回りに4個設けられ、さらにこの連通孔60を連通・遮断する開閉弁部61が備えられていることを特徴とする。本実施例の開閉弁部61は、円筒管54bの外周を摺動可能に設けられ、連通孔60をその摺動に応じて開閉する弁体部62と、弁体部62を閉弁するように付勢する円筒管54bの外周に巻回されたコイルスプリング63と、コイルスプリング63の付勢力による弁体部62の移動を規制するために円筒管54bに固定された位置決めリング64と、弁体部62に形成された鍔部62aに一端が固定され、他端が検査プローブ21の基端側へ延設された一対の索条65と、コイルスプリング63の移動を規制するとともにこの索条を案内するガイド溝66が形成された鍔部67aを備え、円筒管54bに固定された固定リング67と、弁体部62の閉弁状態を検出するための閉弁センサ68とを備えて構成されている。
通常、検査プローブ21の挿入端を地下タンク2内の液相Lに侵漬させた際は、液面変位速度センサ22の流入側と流出側との間は、当該センサ(熱線式流量計)22の細い(例えば、直径0.8mm)通路によってのみ連通される状態であるため、危険物としての油液が円筒管54b内の液蓄積空間69内に進入する(円筒外すなわち地下タンク2内の液相Lと同じ液面レベルにするまで)のに時間がかかる。
本実施の検査プローブ21によれば、検査プローブ21を地下タンク2内に挿入した後、一対の索条65を引き、弁体部62を開放させて、油液をセンサ22上部の円筒管54b内の液蓄積空間69内に速やかに侵入させることができる。そして、流路管部54の液蓄積空間69内の液面と、地下タンク2の液面とが同一レベルになると、連通孔60を閉塞させる。連通孔60が確実に閉塞されているか否かは鍔部67aの上面に設けている閉弁センサ(例えば、圧力感知センサ)68がONになっていることで判断する。
また、前述したように、センサ22の測定管路の径を細くすれば流量計の分解能が上がり、微小な液面変位、すなわち微小な漏洩も検知することができる。ところで、センサ22の測定管路の径を細くするにつれ、前述したステップS3の準備段階の(1)で説明した、漏洩検査システム20を構成する各機器の設置工程で検査プローブ21を地下タンク2内の液相Lに侵漬させたときに、このセンサ22の内部通路にエアー(微少な気泡)が付着して残留し易くなる傾向もある。このような場合には、センサ22の原点(ゼロ点)がでにくくなる可能性が考えられる。そこで、このような場合には、検査プローブ21を地下タンク2内に挿入した後に、センサ22の上部に地下タンク2内の液体が満たされた状態で、所定圧力の窒素ガスを筒部上部に間歇的に封入するこれにより、センサ22の上部(下流)に貯留している液体を介してセンサ22の内部通路およびセンサ22の通路下部の液体に振動を与え、センサ22の通路下部に混入したエアーを排出でき、センサ22の性能確保にも貢献できる。この場合の窒素ガスには、減圧ポンプ73によって吸引された地下タンク2内の気相部Gの気体を放出するときに利用する不活性ガスを転用することも可能である。
本発明の地下タンクの漏洩検査方法に用いる漏洩検査システムの実施例の構成図である。 地下水位がタンクの底部より更に下方に存在する場合の地下タンクの漏洩状態の説明図である。 地下水位がタンクの危険物の液面より上方にある存在する場合の地下タンクの漏洩状態の説明図である。 地下水位がタンクの底部より上方で、タンクの危険物の液面より下方にあって、タンクの底部と危険物の液面とのその中間に存在する場合の地下タンクの漏洩状態の説明図である。 開口部が地下タンクの底部に存在し、開口部の外側に地下水がある場合の地下タンクの漏洩状態の説明図である。 ガソリン中に微小孔から水を浸入させる実験を行った結果のグラフである。 各容量のストレートタンクに対する水の侵入に必要な圧力表である。 本発明による地下タンクの漏洩検査方法の一実施の形態のフローチャートである。 漏洩センサ装置としての検査プローブの全体構成図である。 図9に示した検査プローブの先端側部分の拡大図である。 漏洩センサ装置としての検査プローブの別の実施例の構成図である。 漏洩センサ装置としての検査プローブの別の実施例の要部外観図である。
符号の説明
1 給油所
2 地下タンク
3 油液
4 注入管
5 蓋部材
6 吸入管
7 計量機
8 埋設ボックス
9 計量管
10 通気管
11 開口部
20 漏洩検査システム
21 検査プロ一ブ
22 液面変位速度センサ
23 マイクロホン
24 計測制御装置
25 ケーブル
26 差圧伝送器
27 安全保持器付音声変換器
28 安全保持器
29 I/F変換器
30 出力手段
31 記憶手段
32 入力手段
71 継ぎ手
72 減圧ホース
73 減圧ポンプ
74 温度計
75 圧力計
76 大気開放ホース
80 地下水位
81 地下水
85 空気

Claims (8)

  1. 危険物を貯蔵する地下タンクの壁面に生じた開口部からの漏洩を検査する地下タンクの漏洩検査方法であって、
    危険物が通過する際の変位を検出するセンサを内蔵した検査プローブを地下タンクに挿入して当該地下タンクの漏洩を検査するために減圧する圧力の大きさを、タンクの形状容量、危険物の液面の高さ、及び危険物の密度から計算して設定する圧力演算ステップと、
    当該地下タンク内の圧力を当該地下タンクに連通させて設けた圧力計測手段及び減圧手段によって設定値に減圧する減圧ステップと
    を有することを特徴とする地下タンクの漏洩検査方法。
  2. 危険物を貯蔵する地下タンクの壁面に生じた開口部からの漏洩を検査する地下タンクの漏洩検査方法であって、
    危険物が通過する際の変位を検出するセンサを内蔵した検査プローブを地下タンクに挿入して当該地下タンクの漏洩を検査するために減圧する圧力の大きさを、タンクの形状容量、危険物の液面の高さ、危険物の密度、及び地下タンクの周りの地下水位から計算して設定する圧力演算ステップと、
    当該地下タンク内の圧力を当該地下タンクに連通させて設けた圧力計測手段及び減圧手段によって設定値に減圧する減圧ステップと
    を有することを特徴とする地下タンクの漏洩検査方法。
  3. 前記圧力演算ステップは、
    地下水位が当該地下タンクの底面以上の高さ位置に存在する場合に、開口部から浸入する地下水により上昇する当該地下タンクの液面レベルの上昇速度が、予め定められた速度以上となるような地下水の浸入量が確保できる大きさの減圧圧力値を計算して設定する
    ことを特徴とする請求項1又は2記載の地下タンクの漏洩検査方法。
  4. 前記圧力演算ステップは、
    開口部の直径が0.3mmで、当該開口部から浸入した地下水の量を当該地下タンクの液面位の液面面積で除した値が毎時0.02mm以上となる地下水の浸入を可能ならしめるような地下水浸入のためのヘッド圧力を確保できる大きさの減圧圧力値を計算して設定する
    ことを特徴とする請求項1又は2記載の地下タンクの漏洩検査方法。
  5. 前記圧力演算ステップは、
    地下水位が当該地下タンクの底面より下方に存在する場合に、危険物の液面位にその密度を乗じて求めた圧力に、4kPa以上を加えた圧力の大きさの負圧を減圧圧力値として計算して設定する
    ことを特徴とする請求項1又は2記載の地下タンクの漏洩検査方法。
  6. 危険物を貯蔵する地下タンクの壁面に生じた開口部からの漏洩を検査する地下タンク等の漏洩検査方法に用いられる漏洩センサ装置であって、
    危険物が通過する際の変位を検出するセンサとともにマイクロホンを挿入端側に配置して内蔵し、地下タンクに設けられた計量口から当該地下タンク内に挿入可能な検査プローブによって構成される
    ことを特徴とする漏洩センサ装置。
  7. 危険物を貯蔵する地下タンクの壁面に生じた開口部からの漏洩を検査する地下タンク等の漏洩検査方法に用いられる漏洩センサ装置であって、
    危険物が通過する際の変位を検出するセンサを挿入端側に配置して内蔵し、地下タンクに設けられた計量口から当該地下タンク内に挿入可能な検査プローブによって構成され、当該検査プローブには、挿入端側から離間した地下タンク内の危険物に侵漬されない高さ位置に、当該地下タンク内と前記センサの危険物の通過出口に連通した当該漏洩検査プローブ内とを連通する連通孔を設けた
    ことを特徴とする漏洩センサ装置。
  8. 前記漏洩検査プローブには、
    挿入端側の地下タンク内の危険物に侵漬される高さ位置に、当該地下タンク内と前記センサの危険物の通過出口に連通した当該漏洩検査プローブ内とを連通する連通孔を設けると共に、該連通孔を連通・遮断する弁手段を設けた
    ことを特徴とする請求項6又は7記載の漏洩センサ装置。
JP2004111469A 2004-04-05 2004-04-05 地下タンクの漏洩検査方法及び漏洩センサ装置 Expired - Fee Related JP4338572B2 (ja)

Priority Applications (1)

Application Number Priority Date Filing Date Title
JP2004111469A JP4338572B2 (ja) 2004-04-05 2004-04-05 地下タンクの漏洩検査方法及び漏洩センサ装置

Applications Claiming Priority (1)

Application Number Priority Date Filing Date Title
JP2004111469A JP4338572B2 (ja) 2004-04-05 2004-04-05 地下タンクの漏洩検査方法及び漏洩センサ装置

Publications (2)

Publication Number Publication Date
JP2005292091A true JP2005292091A (ja) 2005-10-20
JP4338572B2 JP4338572B2 (ja) 2009-10-07

Family

ID=35325164

Family Applications (1)

Application Number Title Priority Date Filing Date
JP2004111469A Expired - Fee Related JP4338572B2 (ja) 2004-04-05 2004-04-05 地下タンクの漏洩検査方法及び漏洩センサ装置

Country Status (1)

Country Link
JP (1) JP4338572B2 (ja)

Cited By (4)

* Cited by examiner, † Cited by third party
Publication number Priority date Publication date Assignee Title
JP2007121208A (ja) * 2005-10-31 2007-05-17 Tokiko Techno Kk 地下タンクの漏洩検査方法
JP2008058153A (ja) * 2006-08-31 2008-03-13 Tokiko Techno Kk 地下タンクの漏洩検査装置
JP2015148560A (ja) * 2014-02-07 2015-08-20 富士電機株式会社 熱交換器細管のリーク検出装置及びリーク検出方法
CN113776757A (zh) * 2021-09-17 2021-12-10 大连船舶重工集团有限公司 一种b型独立储舱的泄漏监测处理系统

Families Citing this family (1)

* Cited by examiner, † Cited by third party
Publication number Priority date Publication date Assignee Title
CN106197890A (zh) * 2016-07-12 2016-12-07 潜江菲利华石英玻璃材料有限公司 一种石英玻璃锭熔制用下料管的检测方法

Cited By (5)

* Cited by examiner, † Cited by third party
Publication number Priority date Publication date Assignee Title
JP2007121208A (ja) * 2005-10-31 2007-05-17 Tokiko Techno Kk 地下タンクの漏洩検査方法
JP2008058153A (ja) * 2006-08-31 2008-03-13 Tokiko Techno Kk 地下タンクの漏洩検査装置
JP2015148560A (ja) * 2014-02-07 2015-08-20 富士電機株式会社 熱交換器細管のリーク検出装置及びリーク検出方法
CN113776757A (zh) * 2021-09-17 2021-12-10 大连船舶重工集团有限公司 一种b型独立储舱的泄漏监测处理系统
CN113776757B (zh) * 2021-09-17 2023-09-01 大连船舶重工集团有限公司 一种b型独立储舱的泄漏监测处理系统

Also Published As

Publication number Publication date
JP4338572B2 (ja) 2009-10-07

Similar Documents

Publication Publication Date Title
US8234911B2 (en) Method and apparatus for detecting a leak in a double pipe
US11060944B2 (en) Leak detection installation, method, usage and corresponding computer program storage means
JP4499332B2 (ja) 漏れを検査しかつ漏れの箇所をつきとめるための方法ならびに該方法を実施するために適した装置
KR100309361B1 (ko) 누설검출방법및장치
US10215656B2 (en) Systems and methods for liquid dynamic pressure testing
JP4374241B2 (ja) 対象物の密封性を測定するためのシステム及び方法
RU2545355C2 (ru) Способ функциональной проверки течеискателя
JPS59170739A (ja) タンクの漏洩検査方法
CN106461488B (zh) 均压元件
JP2005537488A (ja) ガス供給アダプタ
JP4338572B2 (ja) 地下タンクの漏洩検査方法及び漏洩センサ装置
JPH0231332B2 (ja)
CN104246131B (zh) 密封结构、具有密封结构的输送装置以及密封结构的操作方法
KR100573426B1 (ko) 유류 저장 탱크용 이동식 누출 검사 장치
US7216530B2 (en) Fluid containment element leak detection apparatus and method
JP4795775B2 (ja) 地下タンクの漏洩検査方法
JP4336236B2 (ja) タンク漏洩検出装置
JP4206498B2 (ja) 液体貯蔵タンクの漏洩検出システム
JP4968668B2 (ja) ハウジングなどの漏れ検査装置
JP2009198323A (ja) シール検査方法、及びシール検査装置、並びにシール検査システム
US7143636B2 (en) Field device for determining and/or monitoring a process variable
CN215573616U (zh) 压力传感器密封性检测装置
KR102218128B1 (ko) 창호 성능시험 장치용 누설공기량 측정시스템
JP2008058153A (ja) 地下タンクの漏洩検査装置
JP4257396B2 (ja) 地下タンクの漏洩試験装置

Legal Events

Date Code Title Description
A621 Written request for application examination

Free format text: JAPANESE INTERMEDIATE CODE: A621

Effective date: 20070226

A521 Request for written amendment filed

Free format text: JAPANESE INTERMEDIATE CODE: A821

Effective date: 20070227

A977 Report on retrieval

Free format text: JAPANESE INTERMEDIATE CODE: A971007

Effective date: 20081219

TRDD Decision of grant or rejection written
A01 Written decision to grant a patent or to grant a registration (utility model)

Free format text: JAPANESE INTERMEDIATE CODE: A01

Effective date: 20090623

A01 Written decision to grant a patent or to grant a registration (utility model)

Free format text: JAPANESE INTERMEDIATE CODE: A01

A61 First payment of annual fees (during grant procedure)

Free format text: JAPANESE INTERMEDIATE CODE: A61

Effective date: 20090630

R150 Certificate of patent or registration of utility model

Ref document number: 4338572

Country of ref document: JP

Free format text: JAPANESE INTERMEDIATE CODE: R150

Free format text: JAPANESE INTERMEDIATE CODE: R150

FPAY Renewal fee payment (event date is renewal date of database)

Free format text: PAYMENT UNTIL: 20120710

Year of fee payment: 3

FPAY Renewal fee payment (event date is renewal date of database)

Free format text: PAYMENT UNTIL: 20130710

Year of fee payment: 4

S533 Written request for registration of change of name

Free format text: JAPANESE INTERMEDIATE CODE: R313533

R350 Written notification of registration of transfer

Free format text: JAPANESE INTERMEDIATE CODE: R350

R250 Receipt of annual fees

Free format text: JAPANESE INTERMEDIATE CODE: R250

R250 Receipt of annual fees

Free format text: JAPANESE INTERMEDIATE CODE: R250

R250 Receipt of annual fees

Free format text: JAPANESE INTERMEDIATE CODE: R250

R250 Receipt of annual fees

Free format text: JAPANESE INTERMEDIATE CODE: R250

S533 Written request for registration of change of name

Free format text: JAPANESE INTERMEDIATE CODE: R313533

R350 Written notification of registration of transfer

Free format text: JAPANESE INTERMEDIATE CODE: R350

R250 Receipt of annual fees

Free format text: JAPANESE INTERMEDIATE CODE: R250

LAPS Cancellation because of no payment of annual fees