JP2005292013A - 表面分析装置 - Google Patents

表面分析装置 Download PDF

Info

Publication number
JP2005292013A
JP2005292013A JP2004109567A JP2004109567A JP2005292013A JP 2005292013 A JP2005292013 A JP 2005292013A JP 2004109567 A JP2004109567 A JP 2004109567A JP 2004109567 A JP2004109567 A JP 2004109567A JP 2005292013 A JP2005292013 A JP 2005292013A
Authority
JP
Japan
Prior art keywords
sample
lens
electron
charged particles
secondary charged
Prior art date
Legal status (The legal status is an assumption and is not a legal conclusion. Google has not performed a legal analysis and makes no representation as to the accuracy of the status listed.)
Pending
Application number
JP2004109567A
Other languages
English (en)
Inventor
Toyohiko Tazawa
豊彦 田澤
Current Assignee (The listed assignees may be inaccurate. Google has not performed a legal analysis and makes no representation or warranty as to the accuracy of the list.)
Jeol Ltd
Original Assignee
Jeol Ltd
Priority date (The priority date is an assumption and is not a legal conclusion. Google has not performed a legal analysis and makes no representation as to the accuracy of the date listed.)
Filing date
Publication date
Application filed by Jeol Ltd filed Critical Jeol Ltd
Priority to JP2004109567A priority Critical patent/JP2005292013A/ja
Publication of JP2005292013A publication Critical patent/JP2005292013A/ja
Pending legal-status Critical Current

Links

Images

Landscapes

  • Analysing Materials By The Use Of Radiation (AREA)

Abstract

【課題】 本発明が解決しようとする問題点は、磁場型結像レンズを使用する分析モードでは電気導電性のない試料を分析することが困難であるという点である。
【解決手段】 試料を磁場中に浸漬する磁場レンズと、前記試料を励起して2次荷電粒子を発生させる励起線源と、前記2次荷電粒子を捕集する捕集レンズと、前記捕集レンズで捕集した前記2次荷電粒子を検出するアナライザと、前記2次荷電粒子が発生した前記試料を電子により中和する電子供給源と、前記電子供給源から供給された前記電子を前記試料へ加速する電子加速手段と、を備えた荷電粒子エネルギー分析装置であって、前記捕集レンズと前記試料との間に前記2次荷電粒子を前記捕集レンズに向けて通過させる開口を有する接地電極を設け、前記電子供給源を前記接地電極内に配置するようにした荷電粒子エネルギー分析装置。
【選択図】 図2

Description

本発明は光電子分光装置等の表面分析装置に関する。
光電子分光装置は、X線を試料表面に照射し、試料から放出された光電子をインプットレンズ、エネルギーアナライザ等から構成される電子分光器でエネルギー測定することにより、試料表面に存在する元素の同定、化学結合状態および構造解析等の分析を行う装置である。
光電子分光装置において磁場型の電磁レンズを利用して特定の問題箇所を限定し、電気導電性のない試料を分析する場合、電気導電性のない試料は光電子を発生させるための手段として軟X線や真空紫外光を照射すると光電子及びオージェ電子などの2次電子が試料表面から真空中へ放出された結果、試料表面が正に帯電する。試料表面が正に帯電すると試料表面から光電子が放出される際に、帯電による電界の影響で光電子の運動エネルギーが減速され、この結果観察されるスペクトルはエネルギー値がシフトして観察される。試料表面の状況によっては観察されるピークのエネルギー値がシフトするばかりでなく、局所帯電の影響で正確なピーク形状の観察が行えない。そして、正確なピーク形状を得られないためにピークを幾つかの成分に分離して行う化学状態分析の解析結果に重大な悪影響を及ぼす場合がある。
この場合、分析室のインプットレンズを取り付けた位置と異なるポートに低エネルギーの電子線を発生する帯電補償電子銃を取り付け、この帯電補償電子銃から供給される低速エネルギー電子を用いて試料表面の電位補償を行っていた。
なお、従来技術としては、磁場型結像レンズを備えた電子分光装置がある(例えば、特許文献1)。
特開2003−4676
しかしながら、この磁場型結像レンズによって試料の周りに生成される磁場によって、帯電補償電子銃より磁場の磁界線に対して斜め方向から供給される低エネルギーの電子は試料の分析位置に到達できない。
本発明が解決しようとする問題は、磁場型結像レンズを使用する分析モードでは電気導電性のない試料を分析することが困難であるという点である。
請求項1の発明は、試料を磁場中に浸漬する磁場レンズと、前記試料を励起して2次荷電粒子を発生させる励起線源と、前記2次荷電粒子を捕集する捕集レンズと、前記捕集レンズで捕集した前記2次荷電粒子を検出するアナライザと、前記2次荷電粒子が発生した前記試料を電子により中和する電子供給源と、前記電子供給源から供給された前記電子を前記試料へ加速する電子加速手段と、を備えた荷電粒子エネルギー分析装置であって、前記捕集レンズと前記試料との間に前記2次荷電粒子を前記捕集レンズに向けて通過させる開口を有する接地電極を設け、前記電子供給源を前記接地電極内に配置するようにした荷電粒子エネルギー分析装置である。
請求項2の発明は、前記電子供給源が環状のフィラメントである請求項1に記載した荷電粒子エネルギー分析装置である。
請求項3の発明は、前記電子加速手段を制御する電子加速制御手段を備えた請求項1又は2に記載した荷電粒子エネルギー分析装置であって、前記電子加速制御手段は前記2次荷電粒子の測定前に前記電子供給源から前記試料へ前記電子を加速し、前記2次荷電粒子の測定中は前記電子供給源からの前記電子を加速しないように制御する荷電粒子エネルギー分析装置である。
請求項4の発明は、前記2次荷電粒子が光電子である請求項1乃至3のいずれかに記載された荷電粒子エネルギー分析装置である。
本発明により、磁場型結像レンズを使用する分析モードでも、帯電した電気導電性のない試料に電子を供給して補償させることができる。
以下、図面を用いて本発明の実施の形態について説明する。
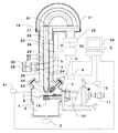
図1は、本発明の電子分光装置の一例を示したものであり、光電子分光装置の断面図である。
まず、図1の装置構成について説明すると、1は分析室チャンバである。分析室チャンバ1の内部の分析室2は、排気装置3により超高真空に排気されている。分析室2の真空度は真空ゲージ4でモニタされており、真空ゲージ4の検出出力は制御装置5に供給されている。
6は光電子励起X線源(照射手段)であり、X線源6は分析室チャンバ1のポートに取り付けられている。このX線源6は、分析室2に配置された試料7にX線(1次線)を照射して、光電子を励起するための励起光源である。X線源6は、X線源電源8を介して制御装置5に接続されている。
試料7は試料ホルダ9に保持されていて、試料ホルダ9は試料ステージ10上に置かれている。試料ステージ10は分析室チャンバ1に取り付けられており、試料ステージ位置調整機構11を調整することによって、試料ステージ10をx,yおよびz方向に移動させることができる。
14は磁界型結像レンズであり、磁界型結像レンズ14は試料7の下方に配置されている。この磁界型結像レンズ14は試料ステージ10に取り付けられている。
また、図1において、19は電子分光器であり、電子分光器19は分析室チャンバ1に取り付けられている。この電子分光器19は、インプットレンズ20と、インプットレンズ20からの電子をエネルギー分析するためのアナライザ21と、アナライザ21で選別された電子を検出する検出器22で構成されている。
筒状のインプットレンズ20は、試料側から順に、筒状の接地電極23、筒状の電極(主倍率制御レンズL1)34、筒状の接地電極24、筒状の電極(補助倍率制御レンズL2)35、筒状の接地電極25、筒状の電極(結像レンズL3)36、筒状の接地電極26、筒状の電極(減速レンズLR)37を備えている。なお、これらの各電極は、隣の電極と所定の間隔を置いて配置されている。
また、インプットレンズ20は円形の視野制限絞り27を有している。この視野制限絞り27は、補助倍率制御レンズ35と結像レンズ36間に、インプットレンズ20の筒内を仕切るように配置されている。視野制限絞り27の開口aの中心は、インプットレンズ20の光軸O上に位置している。
そして、視野制限絞り27は虹彩絞りが用いられており、開口径調整機構28を調整することによって、視野制限絞り27の開口径を連続して変えることができる。このため、視野制限絞り27が完全に閉じられると、その左右のインプットレンズ内の空間は、絞り27によって真空的に完全に遮断される。なお、視野制限絞り27は、試料7面上で発生した光電子を取り込む領域を制限するために設けられており、この絞りによって、試料7上の分析領域の大きさを設定することができる。
さらに、インプットレンズ20は円形の角度制限絞り29を有している。この角度制限絞り29は、視野制限絞り27と結像レンズ36間に、インプットレンズ20の筒内を仕切るように配置されている。角度制限絞り29の開口bの中心は、インプットレンズ20の光軸O上に位置している。
そして、角度制限絞り29も虹彩絞りが用いられており、開口径調整機構30を調整することによって、角度制限絞り29の開口径を連続して変えることができる。このため、角度制限絞り29が完全に閉じられると、その左右のインプットレンズ内の空間は、絞り29によって真空的に完全に遮断される。なお、角度制限絞り29は、視野制限絞り27を通過した光電子の取込角度を制限するために設けられており、この角度制限絞りによって、レンズ系の球面収差によるボケを低減し、試料上の分析領域の精度を保証することができる。
なお、図1のインプットレンズ20においては、主倍率制御レンズ34と補助倍率制御レンズ35で本発明の第1レンズが構成されており、結像レンズ36と減速レンズ37で本発明の第2レンズが構成されている。
また、図1において、31はアナライザ21の入射スリット、32は電源ユニットである。この電源ユニット32は、電子分光器19の各構成要素に印加する電圧と、磁界型結像レンズ14のコイルに流れる電流とを制御するためのものである。
そして、制御装置5は、電源ユニット32、検出器22および表示装置33に接続されている。
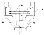
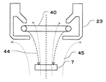
図2は、図1におけるインプットレンズ20下端部分の断面詳細図である。インプットレンズ下端には接地電極23が接地されている。接地電極23内部には帯電補償電子源40が収納されている。
図3は、図2における帯電補償電子源40の平面図である。環状の熱フィラメントより構成されている帯電補償電子源40には、加熱電源42及び放出された電子を試料に加速させる加速電源43が接続されている。
以上、図における各部の構成について説明したが、次に動作について説明する。
図1において、分析室2の真空度は制御装置5で常に監視されており、制御装置5は真空度適正であると、試料7にX線照射を行うためのX線照射信号をX線源電源8に送る。また、制御装置5は、電子分光器19の各構成要素に所定の電圧を印加するための電圧制御信号を電源ユニット32に供給する。
X線照射信号を受けたX線源電源8は、そのX線照射信号に基づいてX線源6を制御する。この結果、X線源6からX線が発生し、試料7にX線が照射される。
一方、電圧制御信号を受けた電源ユニット32は、その電圧制御信号に基づいて電子分光器19を制御する。微小領域分析を感度良く行うために磁場型結像レンズを使用する場合、電源ユニット32は、X線照射によって試料7のX線照射領域から発生した光電子が視野制限絞り27上に結像するように、磁界型結像レンズ14のコイルに電流を供給すると共に、補助倍率制御レンズ35に電圧V2を印加する。
また、電源ユニット32は、視野制限絞り27と角度制限絞り29を通過した光電子が減速するように、減速レンズ37に電圧VRを印加する。電源ユニット32は、視野制限絞り27と角度制限絞り29を通過して減速レンズ37で減速された光電子が、入射スリット31上に結像するように、結像レンズ36に電圧V3を印加する。さらに、電源ユニット32は、アナライザ21と検出器22に所定の電圧を印加する。
なお、磁場型結像レンズ14と補助倍率制御レンズ35の2段レンズで構成されているので、この磁場型結像レンズ14と補助倍率制御レンズ35に印加する電圧を変更すれば、そのレンズ倍率を変更することができる。その際、光電子が視野制限絞り27上に常に結像するように、磁場型結像レンズ14と補助倍率制御レンズ35に印加する電圧の組み合わせが変更される。この場合は、主倍率制御レンズ34には、電圧は印加されない。
さて、上述したように試料7にX線が照射されると、X線が照射された例えば直径数10mmの領域からは光電子が放出される。そして、この光電子は、磁場型結像レンズ14と補助倍率制御レンズ35によって、視野制限絞り27上に結像される。
このように、試料7表面で発生した光電子は視野制限絞り27上に結像され、その開口を通過した光電子のみがアナライザ21へ向かうので、試料上の微小領域の光電子分析を行うことができると共に、上述したように視野制限絞り27の開口径がかなり小さく設定されていても、多くの光電子が視野制限絞り27の開口aを通過する。
そして、視野制限絞り27の開口aを通過し、さらに角度制限絞り29の開口bを通過した光電子は、結像レンズ36と減速レンズ37によって、減速されてアナライザの入射スリット31上に結像される。図1の装置においては、アナライザ21の分析エネルギーに応じて減速レンズ37への印加電圧が変更されると、常に光電子が入射スリット31上に結像するように、それに伴って結像レンズ36への印加電圧が変更される。
さて、入射スリット31を通過した電子は、アナライザ21でエネルギー分光される。なお、分光中にアラナイザ内部の排気が必要な場合は、アナライザに接続された排気装置(図示せず)によって、アナライザ内部が排気される。
そして、アナライザ21で選別された光電子は検出器22で検出される。検出器22は、検出した光電子を電気信号に変換して出力し、その電気信号は、パルス計測システム(図示せず)を介して制御装置5に取り込まれる。制御装置5は、取り込んだ信号から光電子スペクトルを生成し、そのスペクトルを表示装置33の表示画面上に表示させる。
ここで、試料7にX線が照射されて光電子が試料7表面から真空中に放出した結果、電気導電性のない試料7表面が正に帯電する。これは分析された光電子のエネルギースペクトルを乱し、エネルギー分解能の損失の原因となる。
この問題解決のため、帯電補償電子源40が用いられる。帯電補償電子源40を制御する帯電補償電子源電源41は、制御装置5で選択した中和条件によって帯電補償電子源40のフィラメント加熱電流及び負の加速電圧を供給する。帯電補償電子源40の表面から放出された熱電子44は、試料7に到達して中和する。
光電子スペクトル又は光電子イメージの測定を開始していない場合は、図4のように、帯電補償電子源電源41が帯電補償電子源40から発生した熱電子を0.1〜10eVに加速して試料7に熱電子44を供給し、広い範囲の試料7を中和する。
光電子スペクトル又は光電子イメージの測定している場合は、図5のように、帯電補償電子源電源41が加速を中止し、フィラメント40から発生した熱電子44の初期エネルギーで帯電した試料7表面の正電荷を中和する。つまり、試料7表面から光電子が放出されることによる正の帯電によって発生する静電場によって熱電子44が試料7表面上に選択的に供給され、不均一な帯電を除去される。
なお、図2のように帯電補償電子源40は接地電極23内に配置されているため、試料7より発生した光電子は帯電補償電子源40まで到達せず、帯電補償電子源40から2次電子が発生することはない。
上記例では、主倍率制御レンズ34はオフされたが、この主倍率制御レンズ34を用いて、試料から発生した光電子を視野制限絞り27上に結像するようにしても良い。その場合、磁界型結像レンズ14はオフされ、主倍率制御レンズ34と補助倍率制御レンズ35によって、試料から発生した光電子は視野制限絞り27上に結像される。
このときには、光電子が視野制限絞り27上に常に結像するように、主倍率制御レンズ34の電圧V1と補助倍率制御レンズ35の電圧V2が変更されて、レンズ倍率が変更される。
磁場型結像レンズ14を使用しない場合においても、帯電補償電子源電源41を用いて帯電補償のための電子を試料表面上に供給できる。
以上、本発明の一例を、図1の電子分光装置を用いて説明した。
なお、本発明は上記例に限定されるものではない。
例えば、上記例ではX線を試料に照射しているが、X線源の代わりに真空紫外光源(ヘリウム共鳴線源)を装置に組込み、真空紫外光を試料に照射するようにしても良い。このように、低いエネルギーの1次線を試料に当てることにより、試料表面の化学状態変化を、得られた価電子帯のスペクトルから求めることができる。
また、本発明は、電子ビームにより試料を励起し、それにより発生したオージェ電子のエネルギーを分析するオージェ電子分光装置等にも適用することができる。
さらに、図1の装置において、視野制限絞り27の前段に偏向手段を設けるようにしてもよい。たとえば、接地電極24の内側に、視野制限絞り27の前段に形成される電場E(主倍率制御レンズ34と補助倍率制御レンズ35によって形成される電場)をX、Y方向に偏向させるための偏向手段を設けるようにしてもよい。
そして、上述した試料分析のときに、視野制限絞り27の開口径を微小領域分析に対応した大きさに設定し、偏向手段により電場Eを二次元的に走査させるようにすれば、試料上の大領域Aについて、その大領域A中の各ポイント(各微小領域)から発生した光電子を順にアラナイザ21に取り込んで検出器22で検出することができる。この場合、制御装置5は、偏向手段による走査に対応させて検出器22からの信号を内部メモリに書き込み、その記憶した情報に基づき、試料表面領域についての化学状態マップを表示画面上に表示させる。
本発明による電子分光装置の断面図である。 図1における接地電極付近の詳細図である。 本発明による帯電補償電子源の平面図である。 本発明による熱電子を加速して試料を補償する模式図である。 本発明による熱電子を加速しないで試料を補償する模式図である。
符号の説明
1…分析室チャンバ、2…分析室、3…排気装置、4…真空ゲージ、5…制御装置、6…X線源、7…試料、8…X線源電源、9…試料ホルダ、10…試料ステージ、11…試料ステージ位置調整機構、12…電流供給部、13…加熱電源、14…磁界型結像レンズ、19…電子分光器、20…インプットレンズ、21…アナライザ、22…検出器、23、24、25、26…接地電極、27…視野制限絞り、28…開口径調整機構、29…角度制限絞り、30…開口径調整機構、31…入射スリット、32…電源ユニット、33…表示装置、34…主倍率制御レンズ(L1)、35…補助倍率制御レンズ(L2)、36…結像レンズ(L3)、37…減速レンズ(LR)、38…帯電補償電子銃、40…帯電補償電子源、41…帯電補償電子源電源、42…加熱電源、43…加速電源、44…熱電子、45…磁界線、100…ガス反応セル、101…分析室チャンバ、102…加熱ヒータ、103…試料、105…排気装置、106…X線源、107…電子分光器、108…インプットレンズ、109…絞り、110…アナライザ

Claims (4)

  1. 試料を磁場中に浸漬する磁場レンズと、
    前記試料を励起して2次荷電粒子を発生させる励起線源と、
    前記2次荷電粒子を捕集する捕集レンズと、
    前記捕集レンズで捕集した前記2次荷電粒子を検出するアナライザと、
    前記2次荷電粒子が発生した前記試料を電子により中和する電子供給源と、
    前記電子供給源から供給された前記電子を前記試料へ加速する電子加速手段と、を備えた荷電粒子エネルギー分析装置であって、
    前記捕集レンズと前記試料との間に前記2次荷電粒子を前記捕集レンズに向けて通過させる開口を有する接地電極を設け、
    前記電子供給源を前記接地電極内に配置するようにした荷電粒子エネルギー分析装置。
  2. 前記電子供給源が環状のフィラメントである請求項1に記載した荷電粒子エネルギー分析装置。
  3. 前記電子加速手段を制御する電子加速制御手段を備えた請求項1又は2に記載した荷電粒子エネルギー分析装置であって、
    前記2次荷電粒子を測定していないときは前記電子加速制御手段が前記電子を加速するよう制御して前記試料を中和し、
    前記2次荷電粒子の測定中は前記電子加速制御手段が前記電子を加速しないように制御して前記試料を中和する荷電粒子エネルギー分析装置。
  4. 前記2次荷電粒子が光電子である請求項1乃至3のいずれかに記載された荷電粒子エネルギー分析装置。
JP2004109567A 2004-04-02 2004-04-02 表面分析装置 Pending JP2005292013A (ja)

Priority Applications (1)

Application Number Priority Date Filing Date Title
JP2004109567A JP2005292013A (ja) 2004-04-02 2004-04-02 表面分析装置

Applications Claiming Priority (1)

Application Number Priority Date Filing Date Title
JP2004109567A JP2005292013A (ja) 2004-04-02 2004-04-02 表面分析装置

Publications (1)

Publication Number Publication Date
JP2005292013A true JP2005292013A (ja) 2005-10-20

Family

ID=35325093

Family Applications (1)

Application Number Title Priority Date Filing Date
JP2004109567A Pending JP2005292013A (ja) 2004-04-02 2004-04-02 表面分析装置

Country Status (1)

Country Link
JP (1) JP2005292013A (ja)

Cited By (3)

* Cited by examiner, † Cited by third party
Publication number Priority date Publication date Assignee Title
JP2006349384A (ja) * 2005-06-13 2006-12-28 National Institute For Materials Science 絶縁物試料の帯電又は電位歪みを抑制した放射電子顕微鏡装置及び試料観察方法
JP2007165155A (ja) * 2005-12-14 2007-06-28 National Institute For Materials Science 帯電中和電子の斜め照射法を用いた絶縁物試料観察用放射電子顕微鏡
WO2026018299A1 (ja) * 2024-07-16 2026-01-22 株式会社日立ハイテク 光電子顕微鏡及び欠陥検出方法

Citations (3)

* Cited by examiner, † Cited by third party
Publication number Priority date Publication date Assignee Title
JPH04249754A (ja) * 1990-10-16 1992-09-04 Seiko Instr Inc 光電子分光分析方法及び装置
JP2003187738A (ja) * 2001-12-20 2003-07-04 Jeol Ltd 電子分光装置および電子分光器ならびに試料分析方法
JP2004085546A (ja) * 2002-06-28 2004-03-18 Canon Inc 飛行時間型二次イオン質量分析法による素子の情報取得方法、および、情報取得装置

Patent Citations (3)

* Cited by examiner, † Cited by third party
Publication number Priority date Publication date Assignee Title
JPH04249754A (ja) * 1990-10-16 1992-09-04 Seiko Instr Inc 光電子分光分析方法及び装置
JP2003187738A (ja) * 2001-12-20 2003-07-04 Jeol Ltd 電子分光装置および電子分光器ならびに試料分析方法
JP2004085546A (ja) * 2002-06-28 2004-03-18 Canon Inc 飛行時間型二次イオン質量分析法による素子の情報取得方法、および、情報取得装置

Cited By (3)

* Cited by examiner, † Cited by third party
Publication number Priority date Publication date Assignee Title
JP2006349384A (ja) * 2005-06-13 2006-12-28 National Institute For Materials Science 絶縁物試料の帯電又は電位歪みを抑制した放射電子顕微鏡装置及び試料観察方法
JP2007165155A (ja) * 2005-12-14 2007-06-28 National Institute For Materials Science 帯電中和電子の斜め照射法を用いた絶縁物試料観察用放射電子顕微鏡
WO2026018299A1 (ja) * 2024-07-16 2026-01-22 株式会社日立ハイテク 光電子顕微鏡及び欠陥検出方法

Similar Documents

Publication Publication Date Title
JP4302316B2 (ja) 走査形電子顕微鏡
US7960697B2 (en) Electron beam apparatus
JP4236742B2 (ja) 走査形電子顕微鏡
US8378299B2 (en) Twin beam charged particle column and method of operating thereof
US6043491A (en) Scanning electron microscope
TWI662580B (zh) 帶電粒子束樣本檢查系統及用於其中操作之方法
CN112970088A (zh) 用于调节单独粒子束的电流的粒子束系统
JPWO1999046798A1 (ja) 走査形電子顕微鏡
JP3616714B2 (ja) 分析機器内の絶縁試料上を所定表面電位にするための装置
JPH0727556Y2 (ja) 荷電粒子エネルギ分析装置
US20180151329A1 (en) Time-of-flight charged particle spectroscopy
JPWO2019064496A1 (ja) 走査電子顕微鏡
JP4444494B2 (ja) 電子検出器
US6815678B2 (en) Raster electron microscope
KR100695983B1 (ko) 주사전자현미경
JP4590590B2 (ja) 位置感度の高い検出器による透過オペレーションに対するsem
US5451783A (en) Charged-particle analyser
JP2005292013A (ja) 表面分析装置
JPH0955181A (ja) 走査電子顕微鏡
JP3683156B2 (ja) 固体物質の表面分析方法
JP3730041B2 (ja) 複合放出電子顕微鏡における放出電子加速方法
JP2000304712A (ja) 電子線分析・観察装置および電子線マイクロアナライザ
JP2003187738A (ja) 電子分光装置および電子分光器ならびに試料分析方法
JP3965691B2 (ja) 走査電子顕微鏡
JP2002352759A (ja) 電界放射型電子銃を備えた電子ビーム装置

Legal Events

Date Code Title Description
A621 Written request for application examination

Free format text: JAPANESE INTERMEDIATE CODE: A621

Effective date: 20061130

A977 Report on retrieval

Free format text: JAPANESE INTERMEDIATE CODE: A971007

Effective date: 20090311

A131 Notification of reasons for refusal

Free format text: JAPANESE INTERMEDIATE CODE: A131

Effective date: 20091117

A02 Decision of refusal

Free format text: JAPANESE INTERMEDIATE CODE: A02

Effective date: 20100413