JP2005291648A - ミスト発生機能付き暖房装置 - Google Patents

ミスト発生機能付き暖房装置 Download PDF

Info

Publication number
JP2005291648A
JP2005291648A JP2004109183A JP2004109183A JP2005291648A JP 2005291648 A JP2005291648 A JP 2005291648A JP 2004109183 A JP2004109183 A JP 2004109183A JP 2004109183 A JP2004109183 A JP 2004109183A JP 2005291648 A JP2005291648 A JP 2005291648A
Authority
JP
Japan
Prior art keywords
hot water
mist
water supply
generating function
supply unit
Prior art date
Legal status (The legal status is an assumption and is not a legal conclusion. Google has not performed a legal analysis and makes no representation as to the accuracy of the status listed.)
Granted
Application number
JP2004109183A
Other languages
English (en)
Other versions
JP4257593B2 (ja
Inventor
Tatsuya Mukai
達哉 向井
Shinichiro Nakajo
紳一郎 中條
Yukikazu Hashimoto
幸和 橋本
Current Assignee (The listed assignees may be inaccurate. Google has not performed a legal analysis and makes no representation or warranty as to the accuracy of the list.)
Noritz Corp
Original Assignee
Noritz Corp
Priority date (The priority date is an assumption and is not a legal conclusion. Google has not performed a legal analysis and makes no representation as to the accuracy of the date listed.)
Filing date
Publication date
Application filed by Noritz Corp filed Critical Noritz Corp
Priority to JP2004109183A priority Critical patent/JP4257593B2/ja
Publication of JP2005291648A publication Critical patent/JP2005291648A/ja
Application granted granted Critical
Publication of JP4257593B2 publication Critical patent/JP4257593B2/ja
Anticipated expiration legal-status Critical
Expired - Fee Related legal-status Critical Current

Links

Images

Landscapes

  • Ventilation (AREA)
  • Steam Or Hot-Water Central Heating Systems (AREA)
  • Central Heating Systems (AREA)
  • Devices For Medical Bathing And Washing (AREA)

Abstract

【課題】 ミスト発生機能付き暖房装置において、ミスト噴霧装置の温水供給ユニットを暖房装置本体と分離して屋外に設置し、併せて換気装置も室外機として屋外に設置することにより、当該暖房装置のコンパクト化を図る。
【解決手段】 暖房装置本体12を浴室等の壁16の室内面に設置し、換気装置14を壁16の屋外面に設置し、両者を壁貫通孔17に嵌めたダクト18でつなぐ。ミスト噴霧装置は、暖房装置本体12の下面に設けられたミスト噴霧部13と、屋外に設置された温水供給ユニット15とからなり、ミスト噴霧部13と温水供給ユニット15はダクト18内を通して配管されたホース等の接続配管19によってつながれている。温水供給ユニット15は液々熱交換器を備え、暖房装置本体12内の熱交換器に供給される高温の湯と接続配管19内の水とを熱交換させることによって接続配管19内の水を加熱し、加熱された温水をミスト噴霧部13に供給する。
【選択図】 図1

Description

本発明は、ミスト発生機能付き暖房装置に関する。例えば、浴室やシャワールーム等において温水又は水を霧状に吐出させる機能を備えたミスト発生機能付き暖房装置に関する。
温風を吹き出すことによって浴室内を暖房する浴室用暖房装置が広く普及している。しかし、温風を吹き出すことによって暖房する方式では、浴室を暖めるのに時間が掛かり、効率よく暖房を行えない。
そのため、高温のミストを噴霧させることができるようにしたミスト発生機能付きの暖房装置が提案されている。このような暖房装置によれば、温風だけでは能力が不足するような場合には、高温のミストを噴霧させることによって短時間で浴室を暖めることができる。また、高温のミストを噴霧させることにより浴室内でミストサウナを行うことができ、水をミスト状にして噴霧させることでシャワー効果を得ることができる。
このようなミスト発生機能付きの暖房装置としては、特許文献1に開示されたものが知られている。この暖房装置にあっては、浴室の天井に設置された室内機に熱交換器、送風機、換気装置およびミストノズルを納めてあり、ミストノズルに高温の湯を供給するための温水供給ユニットも室内機と一体に構成している。また、熱交換器に温水を循環させるための熱源器は屋外に設置されている。そして、熱源器で加熱された温水を熱交換器に循環させ、送風機により熱交換器で加熱された温風を温風吹出口から室内へ吹き出させている。室内の湿気は、換気装置により外壁に貫通させた換気ダクトから屋外に排出される。また、温水供給ユニットからミストノズルに温水又は水を供給してミストノズルからミスト状の温水又は水(以下、ミストという。)を噴霧させている。
このようなミスト発生機能付き暖房装置では、浴室等に設置される関係でその設置スペースが限られ、室内機の設置スペースはできるだけ小さいことが望まれる。特に、浴室等の壁面に設置される壁掛けタイプのものでは、室内機をできるだけコンパクトにしないと浴室内に設置することができないので、ミスト発生機能付き暖房装置のサイズをミスト発生機能のないものと同等のサイズにすることが要求されていた。
ところが、特許文献1に開示されているような暖房装置では、室内機の熱源器やリモコン以外の機能がすべて室内機に納められているため、室内機をコンパクトにすることが困難であった。特に、このような暖房装置の構造を壁掛けタイプに転用しようとしたとき、室内機が非常に大きなものとなるので、室内機を浴室等の壁面に設置することが困難であり、浴室内の外観も非常に悪くなる問題があった。また、特許文献1の暖房装置では、外壁に換気装置の換気口と、熱交換器や温水供給ユニットに温水を供給するための配管を通すための貫通孔とを開けなければならないので、施工に手間が掛かっていた。
特開2003−334230号公報
本発明は、上記のような技術的課題に鑑みてなされたものであり、その目的とするところは、ミスト発生機能付き暖房装置における室内機のコンパクト化を図ることにある。
本発明の請求項1にかかるミスト発生機能付き暖房装置は、熱源器からの温水を循環させて温風を吹き出す室内機と、壁貫通孔を介して前記室内機に接続された室内換気用の室外機と、温水又は水をミスト状にして噴霧するミスト噴霧装置とを備えたミスト発生機能付き暖房装置において、前記ミスト噴霧装置は、室内に設置されたミスト噴霧ノズルと、屋外に設置されていて前記ミスト噴霧ノズルに温水又は水を供給する温水供給ユニットとを有し、前記ミスト噴霧ノズルと前記温水供給ユニットは、前記壁貫通孔を通して配設された接続配管によって接続されていることを特徴としている。
本発明のミスト発生機能付き暖房装置にあっては、室内換気用の換気装置を室外機として屋外に設置し、さらに、ミスト噴霧ノズルに温水を供給する温水供給ユニットも室内機と分離して屋外に設置するようにしているので、室内機をコンパクト化することができる。特に、室内機をコンパクト化することによって室内機を壁面に設置される壁掛けタイプとすることが可能になり、壁掛けタイプとしても室内の外観を損ねることがなくなる。また、この暖房装置においては、屋外に設置されている温水供給ユニットとミスト噴霧ノズルとをつなぐ接続配管は、室内機と室外機を結ぶ壁貫通孔を利用して配管されているので、壁にあける孔が少なくて済み、施工が簡略になる。
本発明の請求項2による実施態様においては、前記温水供給ユニットが、前記熱源器と前記室内機の間を循環している温水と前記ミスト噴霧ノズルに供給される水を熱交換させる液々熱交換器を備えており、前記熱源器から前記室内機に温水を循環させる温水配管から、前記室内機をバイパスするようにして分岐管を分岐して前記液々熱交換器へ導き、前記分岐管に流れる温水と前記接続配管に流れる水とを液々熱交換器により熱交換させている。従って、温水供給ユニットにバーナー等の熱源が必要なくなり、温水供給ユニットの構造を簡単にし、コンパクトにすることができる。
本発明の請求項3による実施態様においては、前記分岐管に流量調整手段を設けているので、流量調整手段で分岐管に流れる温水の流量を調整することにより、ミスト噴霧ノズルに供給される温水の温度を調整することができる。また、熱源器から室内機に供給されている温水の温度が変動しても、ミスト噴霧ノズルに供給される温水の温度を一定に保つことができまる。なお、流量調整手段としては、水比例弁などを使用することができる。
また、本発明の請求項4による実施態様においては、前記接続配管に水圧調整手段を設けているので、接続配管に水を供給している水源(例えば、市水道)の水圧が変動してもミスト噴霧ノズルに供給される温水の流量を安定させることができ、ミスト噴霧ノズルから噴霧されるミスト噴霧量を安定させることができる。また、水圧調整手段で流量を安定させることによってミストノズルに供給される温水の温度も安定するので、ミストの温度も安定する。
以下、本発明の実施形態を図面に従って詳細に説明する。ただし、本発明は以下の実施例に限定されるものではない。
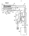
図1は本発明の一実施形態によるミスト発生機能付き暖房装置(以下、暖房装置という。)11を浴室等の外壁に設置した状態を示す側面図である。図2は壁面に設置した暖房装置11の内部の構造を示す概略断面図である。また、図3は暖房装置11の暖房装置本体12(室内機)の正面図である。
図1に示すように、暖房装置11は、暖房装置本体12、換気装置14(室外機)およびミスト噴霧装置からなる。また、ミスト噴霧装置は、ミスト噴霧部13と温水供給ユニット15からなる。暖房装置本体12は浴室等の壁16の室内面に設置され、換気装置14は壁16の屋外面に設置されており、暖房装置本体12と換気装置14は壁16の壁貫通孔17に嵌め込んだ筒状のダクト18を介して互いに接続されている。ミスト噴霧部13は暖房装置本体12の下面に一体的に設けられ、温水供給ユニット15は屋外(例えば、壁16の屋外面)に設置されており、ミスト噴霧部13と温水供給ユニット15は、温水供給ユニット15からミスト噴霧部13に高温の温水を供給するための接続配管19によってつながれている。また、暖房装置本体12に温水を循環させるための熱源器20は、温水配管21によって暖房装置本体12につながれている。
図2に示すように、暖房装置本体12は、支持パネル22aと化粧カバー22bからなる暖房装置本体ケース22内に、クロスフローファンとモータからなる送風機23や熱交換器24、制御回路等を納めたものである。送風機23及び熱交換器24は支持パネル22aに固定されており、化粧カバー22bにより覆われている。熱交換器24は温水配管21によって屋外に設置された熱源器20と接続されており、温水配管21は壁貫通孔17に嵌め込まれたダクト18及び換気装置14のケース25に設けられた通孔26a、26bを通過して屋外側へ導かれ、熱源器20に接続されている。化粧カバー22bの上部には空気吸込口27が設けられ、化粧カバー22bの前面下端部ないし下面には温風吹出口28が開口されている。また、図1に示すように、温風吹出口28には、上下に回動させて温風の吹き出し方向を上下に調整するためのルーバー羽根28aと、左右に回動させて温風の吹き出し方向を左右に調整するための風向板28bが設けられている。なお、ルーバー羽根28a及び風向板28bは、モータ等の動力によって動かせるようにし、リモコン操作でルーバー羽根28aや風向板28bの角度を調整できるようにしてあってもよい。
図2に示すように、換気装置14内には、モータ29及びシロッコファン30が設けられており、モータ29でシロッコファン30を回転させることによって浴室内の湿気を含んだ空気をダクト18から吸引して屋外へ強制排気させることができる。
図4はミスト噴霧部13の構造を示す断面図である。ミスト噴霧部13は、温水又は水をミスト状にして噴霧させるミスト噴霧ノズル(以下、ミストノズルという。)31と、ミストノズル31を覆うカバー32とから構成されており、暖房装置本体12の下面で、かつ、温風吹出口28の後方近傍に配置されている。ミストノズル31は、ノズルヘッド34と、接続口35と、ノズルヘッド34及び接続口35を結ぶジョイント管36と、接続口35の外周部に設けられたフランジ37とによって構成されている。温水又は水をミスト状にして噴霧する機構はノズルヘッド34内に設けられており、接続口35は温水供給ユニット15から導かれ接続配管19を接続するための口金となっており、ジョイント管36及びフランジ31はノズルヘッド34を所定の角度で暖房装置本体12に取り付ける働きをしている。
図4に示すように、ノズルヘッド34は、支持パネル22aの下面部に位置する下水平片38に取り付けられている。すなわち、下水平片38の前縁部には、U字状をした切欠き39が設けられており、この切欠き39にジョイント管36の上端部を納め、フランジ37を下水平片38の上に載置してミストノズル31が保持されている。さらに、ビス(図示せず)によってフランジ37が下水平片38に固定される。接続口35には接続配管19の一端が接続され、接続配管19はダクト18及び換気装置14のケース25に設けた通孔26a、26bを通って屋外へ導かれ、接続配管19の他端は温水供給ユニット15に接続されている。ここで、接続配管19としては、柔軟で強度のあるゴムホース等のホースを用いている。接続配管19として柔軟なホースを用いることにより、暖房装置本体12内における接続配管19の取り回しが容易になる。また、温水供給ユニット15がどのような箇所に設置されていても接続配管19を温水供給ユニット15まで容易に導いてくることができる。
こうして、ミストノズル31は、図2に示すように、暖房装置本体12の下面から飛び出るようにして、温風吹出口28の下方に配置される。また、暖房装置11が浴室等の壁面の高所に設置されることから、ノズルヘッド34は斜め下方を向くように配置されている。ミストノズル31はカバー32によって覆われており、カバー32にはミストを噴霧させるための噴霧口33が開口されている。ノズルヘッド34の先端部は噴霧口33の近傍で、かつカバー32の内側に位置している。
図3に示すように、ミストノズル31はミスト噴霧部13の左方又は右方に偏った位置に設けられており、ミスト噴霧部13は暖房装置本体12の下面中央部に位置し、ミストノズル31は温風吹出口28の幅方向中央部の下方に位置している。なお、図示例では、ミスト噴霧部13は1つのミストノズル31しか有していないが、複数のミストノズルを備えていてもよい。
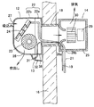
図5は本実施形態による暖房装置11の全体構成を示す概略図である。熱源器20と暖房装置本体12の熱交換器24とは温水配管21によってつながれており、熱源器20内のガスバーナーで加熱された高温(例えば、約80℃)の温水が熱交換器24を循環させられる。熱交換器24に温水が循環しているとき、送風機23が運転されると、空気吸込口27から暖房装置本体12内に吸い込まれた空気は熱交換器24で温水と熱交換して加熱され、加熱された温風が温風吹出口28から吹き出され、室内の暖房が行われる。なお、図5における符号40は制御回路を搭載した基板を表している。
温水配管21からは、熱交換器24をバイパスするようにして分岐管41が分岐している。分岐管41の一端は温水配管21の往き管21aにつながり、分岐管41の他端は温水配管21の戻り管21bにつながっており、分岐管41は液々熱交換器43内を通過している。また、分岐管41には、流量調整手段として水比例弁42が設けられている。接続配管19は、その一端が市水道につながっており、液々熱交換器43内を通過して他端をミストノズル31に接続されている。接続配管19の液々熱交換器43よりも上流側には減圧弁44(水圧調整手段)を設け、液々熱交換器43よりも下流側には順次電磁弁45、温度センサ46(サーミスタ)、電磁弁47を設けている。さらに、電磁弁45と電磁弁47の間において、接続配管19から排水管48が分岐しており、排水管48には電磁弁49が設けられている。
しかして、ミストノズル31からは、次のようにしてミストが噴射される。通常は、電磁弁45は開かれ、電磁弁47及び電磁弁49は閉じられている。ミストを発生させる場合には、リモコン操作等によって電磁弁47を開く。電磁弁47を開くと、接続配管19に供給された水が液々熱交換器43内を通過する。一方、暖房装置11が暖房運転している場合には、温水配管21に高温の温水が循環しており、高温の温水の一部は分岐管41内を循環している。従って、接続配管19に供給された水は、液々熱交換器43において分岐管41を流れる高温の温水と熱交換し、高温(例えば、約60℃)に加熱される。こうして加熱された高温の温水は接続配管19を通じてミストノズル31に供給され、ミストノズル31から高温のミストとして浴室内に噴霧される。
このとき、換気装置14に水比例弁42を設けているので、水比例弁42によって分岐管41に流れる温水の流量を調整することにより、ミストノズル31に供給される温水の温度を変化させることができる。
また、分岐管41に設けた温度センサ46でミストノズル31に供給される温水の温度を検出しているので、温度センサ46の検出温度に応じて水比例弁42をフィードバック制御すれば、ミストノズル31に供給される温水の温度を適度の温度に保つことができる。あるいは、シャワー使用などによって熱源器20の燃焼能力が大きくなったりして温水配管21に流れている温水の温度が変化した場合でも、ミストノズル31に供給される温水の温度を一定に保つことができる。
また、ミスト噴霧装置においては、接続配管19に注水している市水道の水圧が変化すると、ミストノズル31から噴霧されるミストの噴霧量が変動することがある。そのため、この実施形態では、水圧を一定水圧に減圧することのできる減圧弁44を接続配管19に設け、減圧弁44によって接続配管19に掛かる水圧を減圧すると共に市水道の水圧が変動しても接続配管19又はミストノズル31に掛かる水圧が一定になるようにし、ミストの噴霧量を安定させてミストの使用感を向上させている。また、減圧弁44を設けることで接続配管19に流れる水量が安定するので、液々熱交換器43で加熱された温水の温度が安定し、安定した温度でミストを噴霧することが可能になる。なお、図5では液々熱交換器43は温水供給ユニット15内に内蔵しているが、外付けとしてもよい。
ミストノズル31と液々熱交換器43の間の接続配管19に溜まった水を排出したい場合(例えば、凍結防止のため)には、電磁弁45を閉じて電磁弁47及び電磁弁49を開くと、接続配管19内の温水又は水が排水管48から排出される。
当該実施形態による暖房装置11にあっては、上記のように温水供給ユニット15を暖房装置本体12と分離して室外に設置するようにしたので、暖房装置にミスト発生機能を持たせても暖房装置11がほとんど大きくなることが無く、ミスト発生機能付きの暖房装置11をコンパクトにすることができる。さらには、換気装置14も室外機として屋外に設置しているので、暖房装置11をさらにコンパクト化することができる。また、ミストノズル31と温水供給ユニット15を結ぶ接続配管19を換気用のダクト18内に通しているので、接続配管19を配管するための壁貫通孔を別途設ける必要が無く、施工が容易になる。
また、液々熱交換器43を用いて暖房用の温水と熱交換させることにより、ミスト用の温水を加熱するようにしたので、ミストノズル31に温水を供給するための専用の熱源器が必要なく、暖房装置11の構成が簡略になり、温水供給ユニット15をコンパクト化できる。
なお、図示しないが、熱源器には、通常、暖房用の温水循環配管とは別に、給水、給湯配管が設けられており、本発明のように、熱源器の給湯配管を用いないでミストノズルに温水を供給するようにすることで、熱源器の給湯配管がミスト噴霧の影響を受けず、自由に温度設定可能となる利点がある。
本発明の一実施形態によるミスト発生機能付き暖房装置を外壁に設置した状態を示す側面図である。 図1の暖房装置の内部の構造を示す概略断面図である。 図1の暖房装置を構成する暖房装置本体(室内機)の正面図である。 ミスト噴霧部の断面図である。 図1のミスト発生機能付き暖房装置の構成を示す概略図である。
符号の説明
11 ミスト発生機能付き暖房装置
12 暖房装置本体
13 ミスト噴霧部
14 換気装置
15 温水供給ユニット
17 壁貫通孔
18 ダクト
19 接続配管
20 熱源器
21 温水配管
23 送風機
24 熱交換器
27 空気吸込口
28 温風吹出口
31 ミストノズル
32 カバー
41 分岐管
42 水比例弁
43 液々熱交換器
44 減圧弁
46 温度センサ
48 排水管

Claims (4)

  1. 熱源器からの温水を循環させて温風を吹き出す室内機と、壁貫通孔を介して前記室内機に接続された室内換気用の室外機と、温水又は水をミスト状にして噴霧するミスト噴霧装置とを備えたミスト発生機能付き暖房装置において、
    前記ミスト噴霧装置は、室内に設置されたミスト噴霧ノズルと、屋外に設置されていて前記ミスト噴霧ノズルに温水又は水を供給する温水供給ユニットとを有し、
    前記ミスト噴霧ノズルと前記温水供給ユニットは、前記壁貫通孔を通して配設された接続配管によって接続されていることを特徴とするミスト発生機能付き暖房装置。
  2. 前記温水供給ユニットは、前記熱源器と前記室内機の間を循環している温水と前記ミスト噴霧ノズルに供給される水を熱交換させる液々熱交換器を備えており、
    前記熱源器から前記室内機に温水を循環させる温水配管から、前記室内機をバイパスするようにして分岐管を分岐して前記液々熱交換器へ導き、
    前記分岐管に流れる温水と前記接続配管に流れる水とを液々熱交換器により熱交換させることを特徴とする、請求項1に記載のミスト発生機能付き暖房装置。
  3. 前記分岐管に流量調整手段を設けたことを特徴とする、請求項2に記載のミスト発生機能付き暖房装置。
  4. 前記接続配管に水圧調整手段を設けたことを特徴とする、請求項1、2又は3に記載のミスト発生機能付き暖房装置。
JP2004109183A 2004-04-01 2004-04-01 ミスト発生機能付き暖房装置 Expired - Fee Related JP4257593B2 (ja)

Priority Applications (1)

Application Number Priority Date Filing Date Title
JP2004109183A JP4257593B2 (ja) 2004-04-01 2004-04-01 ミスト発生機能付き暖房装置

Applications Claiming Priority (1)

Application Number Priority Date Filing Date Title
JP2004109183A JP4257593B2 (ja) 2004-04-01 2004-04-01 ミスト発生機能付き暖房装置

Publications (2)

Publication Number Publication Date
JP2005291648A true JP2005291648A (ja) 2005-10-20
JP4257593B2 JP4257593B2 (ja) 2009-04-22

Family

ID=35324767

Family Applications (1)

Application Number Title Priority Date Filing Date
JP2004109183A Expired - Fee Related JP4257593B2 (ja) 2004-04-01 2004-04-01 ミスト発生機能付き暖房装置

Country Status (1)

Country Link
JP (1) JP4257593B2 (ja)

Cited By (5)

* Cited by examiner, † Cited by third party
Publication number Priority date Publication date Assignee Title
JP2007117633A (ja) * 2005-10-31 2007-05-17 Max Co Ltd 温水噴出装置及びそれを応用した室
JP2007271208A (ja) * 2006-03-31 2007-10-18 Tokyo Gas Co Ltd ミストサウナシステム及びその運転方法
JP2009047331A (ja) * 2007-08-17 2009-03-05 Noritz Corp ミスト発生装置を備えた空調機
JP2010085013A (ja) * 2008-09-30 2010-04-15 Noritz Corp ミスト機能付浴室暖房装置
JP2010101614A (ja) * 2008-09-29 2010-05-06 Noritz Corp ミスト機能付浴室暖房装置

Citations (3)

* Cited by examiner, † Cited by third party
Publication number Priority date Publication date Assignee Title
JPH11192280A (ja) * 1997-12-26 1999-07-21 Tostem Corp 浴室用ミストサウナ装置
JP2003014269A (ja) * 2001-06-27 2003-01-15 Noritz Corp 浴室暖房機用の換気ファンユニット
JP2003334230A (ja) * 2002-05-21 2003-11-25 Harman Pro:Kk 浴用ミスト装置

Patent Citations (3)

* Cited by examiner, † Cited by third party
Publication number Priority date Publication date Assignee Title
JPH11192280A (ja) * 1997-12-26 1999-07-21 Tostem Corp 浴室用ミストサウナ装置
JP2003014269A (ja) * 2001-06-27 2003-01-15 Noritz Corp 浴室暖房機用の換気ファンユニット
JP2003334230A (ja) * 2002-05-21 2003-11-25 Harman Pro:Kk 浴用ミスト装置

Cited By (5)

* Cited by examiner, † Cited by third party
Publication number Priority date Publication date Assignee Title
JP2007117633A (ja) * 2005-10-31 2007-05-17 Max Co Ltd 温水噴出装置及びそれを応用した室
JP2007271208A (ja) * 2006-03-31 2007-10-18 Tokyo Gas Co Ltd ミストサウナシステム及びその運転方法
JP2009047331A (ja) * 2007-08-17 2009-03-05 Noritz Corp ミスト発生装置を備えた空調機
JP2010101614A (ja) * 2008-09-29 2010-05-06 Noritz Corp ミスト機能付浴室暖房装置
JP2010085013A (ja) * 2008-09-30 2010-04-15 Noritz Corp ミスト機能付浴室暖房装置

Also Published As

Publication number Publication date
JP4257593B2 (ja) 2009-04-22

Similar Documents

Publication Publication Date Title
JP4670442B2 (ja) サウナ装置
WO2007108341A1 (ja) サウナ装置
JP5913151B2 (ja) 冷暖房換気システム
JP4257593B2 (ja) ミスト発生機能付き暖房装置
JP4801022B2 (ja) ミスト機能付き浴室空調装置
JP2008241131A (ja) 加湿換気システム及び加湿給気システム
JP2008215684A (ja) 加湿装置及び加湿空調装置
JP6982724B2 (ja) 熱交換形換気装置
KR200353929Y1 (ko) 욕실의 환기시스템
JP4150027B2 (ja) 浴室暖房機
JP2007089752A (ja) 浴室サウナ装置
JP2006109869A (ja) 蒸気発生装置
JP4550670B2 (ja) ミスト機能付き浴室暖房装置
JP4613026B2 (ja) ミスト発生機能付き暖房装置
JP4712579B2 (ja) ミストサウナ装置
JP4606307B2 (ja) シャワー装置及びその運転方法
JP2008151453A (ja) 加湿空調システム
KR20030055738A (ko) 가습기 일체형 팬코일유닛
JP2008157529A (ja) 加湿空調システム及び加湿装置
JP4798224B2 (ja) ミスト発生機能付き暖房装置
JP5034416B2 (ja) 浴室サウナ装置
JP2004353971A (ja) 壁掛型空気調和機
JP5295739B2 (ja) サウナ機能付き浴室暖房機
JP5034417B2 (ja) 浴室サウナ装置
JP2005204713A (ja) ミストサウナシステム及びその運転方法

Legal Events

Date Code Title Description
A621 Written request for application examination

Free format text: JAPANESE INTERMEDIATE CODE: A621

Effective date: 20070402

A977 Report on retrieval

Free format text: JAPANESE INTERMEDIATE CODE: A971007

Effective date: 20080616

A131 Notification of reasons for refusal

Free format text: JAPANESE INTERMEDIATE CODE: A131

Effective date: 20080624

A521 Request for written amendment filed

Free format text: JAPANESE INTERMEDIATE CODE: A523

Effective date: 20080822

A02 Decision of refusal

Free format text: JAPANESE INTERMEDIATE CODE: A02

Effective date: 20080924

A521 Request for written amendment filed

Free format text: JAPANESE INTERMEDIATE CODE: A523

Effective date: 20081112

A911 Transfer to examiner for re-examination before appeal (zenchi)

Free format text: JAPANESE INTERMEDIATE CODE: A911

Effective date: 20081127

TRDD Decision of grant or rejection written
A01 Written decision to grant a patent or to grant a registration (utility model)

Free format text: JAPANESE INTERMEDIATE CODE: A01

Effective date: 20090108

A01 Written decision to grant a patent or to grant a registration (utility model)

Free format text: JAPANESE INTERMEDIATE CODE: A01

A61 First payment of annual fees (during grant procedure)

Free format text: JAPANESE INTERMEDIATE CODE: A61

Effective date: 20090121

R150 Certificate of patent or registration of utility model

Ref document number: 4257593

Country of ref document: JP

Free format text: JAPANESE INTERMEDIATE CODE: R150

Free format text: JAPANESE INTERMEDIATE CODE: R150

FPAY Renewal fee payment (event date is renewal date of database)

Free format text: PAYMENT UNTIL: 20120213

Year of fee payment: 3

FPAY Renewal fee payment (event date is renewal date of database)

Free format text: PAYMENT UNTIL: 20120213

Year of fee payment: 3

FPAY Renewal fee payment (event date is renewal date of database)

Free format text: PAYMENT UNTIL: 20130213

Year of fee payment: 4

R250 Receipt of annual fees

Free format text: JAPANESE INTERMEDIATE CODE: R250

FPAY Renewal fee payment (event date is renewal date of database)

Free format text: PAYMENT UNTIL: 20130213

Year of fee payment: 4

FPAY Renewal fee payment (event date is renewal date of database)

Free format text: PAYMENT UNTIL: 20140213

Year of fee payment: 5

R250 Receipt of annual fees

Free format text: JAPANESE INTERMEDIATE CODE: R250

R250 Receipt of annual fees

Free format text: JAPANESE INTERMEDIATE CODE: R250

R250 Receipt of annual fees

Free format text: JAPANESE INTERMEDIATE CODE: R250

R250 Receipt of annual fees

Free format text: JAPANESE INTERMEDIATE CODE: R250

R250 Receipt of annual fees

Free format text: JAPANESE INTERMEDIATE CODE: R250

R250 Receipt of annual fees

Free format text: JAPANESE INTERMEDIATE CODE: R250

R250 Receipt of annual fees

Free format text: JAPANESE INTERMEDIATE CODE: R250

R250 Receipt of annual fees

Free format text: JAPANESE INTERMEDIATE CODE: R250

R250 Receipt of annual fees

Free format text: JAPANESE INTERMEDIATE CODE: R250

LAPS Cancellation because of no payment of annual fees