JP2005291625A - 空気調和機 - Google Patents

空気調和機 Download PDF

Info

Publication number
JP2005291625A
JP2005291625A JP2004107307A JP2004107307A JP2005291625A JP 2005291625 A JP2005291625 A JP 2005291625A JP 2004107307 A JP2004107307 A JP 2004107307A JP 2004107307 A JP2004107307 A JP 2004107307A JP 2005291625 A JP2005291625 A JP 2005291625A
Authority
JP
Japan
Prior art keywords
air
suction port
centrifugal fan
fan
flow path
Prior art date
Legal status (The legal status is an assumption and is not a legal conclusion. Google has not performed a legal analysis and makes no representation as to the accuracy of the status listed.)
Granted
Application number
JP2004107307A
Other languages
English (en)
Other versions
JP4670250B2 (ja
Inventor
Yoshihisa Kanetsuna
良壽 金綱
Tomonori Tanaka
友規 田中
Current Assignee (The listed assignees may be inaccurate. Google has not performed a legal analysis and makes no representation or warranty as to the accuracy of the list.)
Panasonic Electric Works Co Ltd
Original Assignee
Matsushita Electric Works Ltd
Priority date (The priority date is an assumption and is not a legal conclusion. Google has not performed a legal analysis and makes no representation as to the accuracy of the date listed.)
Filing date
Publication date
Application filed by Matsushita Electric Works Ltd filed Critical Matsushita Electric Works Ltd
Priority to JP2004107307A priority Critical patent/JP4670250B2/ja
Publication of JP2005291625A publication Critical patent/JP2005291625A/ja
Application granted granted Critical
Publication of JP4670250B2 publication Critical patent/JP4670250B2/ja
Anticipated expiration legal-status Critical
Expired - Fee Related legal-status Critical Current

Links

Images

Landscapes

  • Disinfection, Sterilisation Or Deodorisation Of Air (AREA)
  • Electrostatic Spraying Apparatus (AREA)
  • Air Humidification (AREA)

Abstract

【課題】 効率良く空気を送風できて静音化、小型化、省エネ化が図れ、ファンモータや制御基板等の発熱部品を送風量を落とすことなく冷却できる
【解決手段】空気吸入口2と空気吐出口3を連通させる送風経路4の途中にファンモータ25により回転駆動して空気吸入口2から空気を吸い込むと共にこの吸い込んだ空気を空気吐出口3から吹き出す遠心ファン5を備える。遠心ファン5に第一吸込口22及び第二吸込口24を形成する。遠心ファン5に第一吸込口22及び第二吸込口24から吸い込んだ空気を遠心ファン5の径方向外側に向かって吹き出す吹出口40を形成する。送風経路4における遠心ファン5よりも上流側を、前記遠心ファン5の第一吸込口22と空気吸入口2とを連通させる第一空気流路31aと、第二吸込口24と空気吸入口2とを連通させる第二空気流路31bとで構成する。
【選択図】 図1

Description

本発明は室内空気の脱臭等を行う空気調和機に関する。
従来から脱臭、集塵等の室内空気の清浄化や、室内空気の除湿、冷房等の空気調和を行う空気調和機が知られており、この空気調和機は空気吸入口と空気吐出口を連通させる送風経路の途中に設けたファンにより空気吸入口から空気を吸い込むと共にこの吸い込んだ空気を空気吐出口から吹き出すものであって、これにより例えば送風経路内に吸い込んだ空気を空気吸入口に設けた清浄化フィルタにより清浄化する等して室内空気を調和していた。
この種の空気調和機のファンとしては軸方向の片側から吸い込んだ空気を径方向外側に吹き出すシロッコファン等の遠心ファンを用いたものがあり、この空気調和機にあっては遠心ファンの中央に形成した吸込口と前記空気吸込口、及び遠心ファンの外周面に形成した吹出口と前記空気吐出口を、夫々送風経路にて連通させている。
しかし上記空気調和機にあっては遠心ファンの軸方向における一方の側面部の中央からのみ遠心ファンへ空気が流入するものであるので遠心ファンへの空気供給量が少なく、このため遠心ファンによる送風の効率が悪くて送風量が少なく、室内全域にまんべんなく調和空気を循環させることができないという問題があった。このため従来では送風能力の高い大型の遠心ファンを送風経路に配設していたのだが、この場合空気調和機が大型化してしまい、また大きな騒音も発生してしまい、さらには消費電力が大きいという問題が生じてしまう。また空気調和機には前記遠心ファンを駆動するためのファンモータや、該モータの駆動を制御する制御基板等の発熱部品を内装しており、このようなファンモータや制御基板はファンの運転により発熱する場合があって冷却する必要がある。ここで前記発熱部品を冷却する方法としては、例えば送風経路の流路中に発熱部品を設けて送風経路を流れる空気により発熱部品を冷却すること等が考えられるが、この場合送風経路の途中に流路抵抗となる発熱部品が配設されるためにファンの送風量が低下するといった問題が生じる。
特開平11−51429号公報
本発明は上記従来の問題点に鑑みて発明したものであって、遠心ファンにより効率良く空気を送風できて、室内全域にまんべんなく調和空気を循環させることができ、しかも静音化、小型化、省エネ化が図れ、さらにはファンモータや制御基板等の発熱部品を送風量を落とすことなく冷却できる空気調和機を提供することを課題とする。
上記課題を解決するために本発明に係る空気調和機は、空気吸入口2と空気吐出口3を連通させる送風経路4の途中にファンモータ25により回転駆動して空気吸入口2から空気を吸い込むと共にこの吸い込んだ空気を空気吐出口3から吹き出す遠心ファン5を備え、遠心ファン5に第一吸込口22及び第二吸込口24を形成すると共に前記第一吸込口22及び第二吸込口24から吸い込んだ空気を遠心ファン5の径方向外側に向かって吹き出す吹出口40を形成し、送風経路4における遠心ファン5よりも上流側を、前記遠心ファン5の第一吸込口22と空気吸入口2とを連通させる第一空気流路31aと、第二吸込口24と空気吸入口2とを連通させる第二空気流路31bとで構成して成ることを特徴とする。
このように遠心ファン5に第一吸込口22及び第二吸込口24を形成し、送風経路4における遠心ファン5よりも上流側を、前記遠心ファン5の第一吸込口22と空気吸入口2とを連通させる第一空気流路31aと、第二吸込口24と空気吸入口2とを連通させる第二空気流路31bとで構成することで、遠心ファン5への空気供給量を増大させることができ、これにより効率良く遠心ファン5で空気を送風できて送風量を増大させることができ、この場合、小型で送風能力が低い遠心ファン5を用いて室内全域にまんべんなく調和空気を循環させることができて、空気調和機1の小型化、静音化、省エネ化が図れ、さらには例えば第二空気流路31bの途中にファンモータ25や制御基板27等の運転時に発熱する冷却が必要な発熱部品を配設することで、発熱部品をファンモータ25の送風により冷却でき、しかもこの場合、第一空気流路31aには流路抵抗となるものがないため第一吸込口22から遠心ファン5に供給される空気量が低下しない。
また水溜部33と、水溜部33から水を搬送する多孔質部材によって形成された搬送部37と、該搬送部37の搬送方向の端部に対向する対向電極35と、水溜部33から搬送部37の搬送方向の端に至る経路中の水に電圧を印加する印加電極36と、を備えて、電圧印加部42により前記印加電極36と対向電極35間に高電圧を印加することで静電霧化がなされる静電霧化装置28を備え、該静電霧化装置28を送風経路4の遠心ファン5よりも下流側に配設することも好ましい。
静電霧化装置28を送風経路4に配設することで、静電霧化装置28の静電霧化によって生じたナノメータサイズの帯電ミストにより送風経路4を流れる空気の脱臭を行うことができ、しかも上記遠心ファン5から送られてきた送風量の大きな送風に乗せて室内全域に送ることができ、これにより帯電ミストが有する活性種により室内空間の臭気成分、特に壁やカーテン等に付着した臭気成分を除去できる。
また遠心ファン5の回転軸方向における一方の側面部の中央に第一吸込口22を形成し、他方の側面部の中心部に駆動軸接続部23を設け、該駆動軸接続部23に遠心ファン5の他方の側面部側に配設したファンモータ25の駆動軸25bを接続し、前記遠心ファン5の他方の側面部の駆動軸接続部23よりも径方向外側に位置する外周部に第二吸込口24を形成することも好ましい。
遠心ファン5の他方の側面部の駆動軸接続部23よりも径方向外側に位置する外周部に第二吸込口24を形成することで、他方の側面部において利用されていない外周部を利用して遠心ファン5への空気供給量を増大でき、しかもこの場合、遠心ファン5の回転軸方向における一方の側面部の中央に第一吸込口を形成してあるので第一吸込口から遠心ファン5に流入した空気は従来同様スムーズに径方向外側に誘導されて吹出口40から吐出されることとなる。
本発明では、遠心ファンにより効率良く空気を送風できて、室内全域にまんべんなく調和空気を循環させることができ、しかも静音化、小型化、省エネ化が図れ、さらにはファンモータや制御基板等の発熱部品を送風量を落とすことなく冷却できる。
以下、本発明を添付図面に示す実施形態の一例を説明する。なお以下の説明では器体8の前面を正面と規定して説明する。
図1〜9に示す本実施形態の空気調和機1は、空気吸入口2と空気吐出口3とを連通させる送風経路4の途中に配設した遠心ファンによって空気吸入口2から室内空気を吸い込み、この吸い込んだ室内空気を脱臭すると共に室内空気に含まれる塵や埃等を捕集した後、空気吐出口3から吐出するものであって、空気清浄機として利用されるものである。
図2に示すように空気調和機1は床に載置されるベース6と、ベース6上に設けた本体部7にて構成されており、本体部7の外殻をなす縦長の器体8の天壁部及び該器体8の前壁部を構成する前カバー39の上部には空気吐出口3を形成している。また図3、図4に示すように器体8の後面部の下部には前方に凹む矩形状の凹部9を形成してあり、該凹部9により器体8の後面部の下部に形成された開口43には該開口43を覆うように上記空気吸入口2を有する吸込グリル10を着脱自在に取り付けている。
凹部9内には空気吸入口2を内面側から覆うように清浄化フィルタ11を配設してあり、該清浄化フィルタ11は塵や埃を捕捉する集塵フィルタと臭い成分を吸着する活性炭フィルタとの2層で構成されている。
図5に示すように器体8の内部空間は後部の左右方向における一方の端部(図示例では右側端部)を除いて器体8内に配設した仕切り板12によって上下に仕切られており、これにより器体8の内部には仕切り板12よりも上位の前記空気吐出口3と連通する上位空間13と、仕切り板12よりも下位の下位空間14とが形成され、また仕切り板12の後部と器体8の側壁部との間に平面視で器体8の内部空間における後部の左右方向における一方の端部に位置する開口44が形成される。
上記凹部9の奥壁部9aの前方にある下位空間14は正面視で矩形状の空間であって、図1に示すように前側のファンモータ収納空間15と後側のファン収納空間16とからなり、ファン収納空間16は更に図6に示すように正面視で略C字状の隔壁17により渦室18と渦室18を除く部分である外側流路19とに仕切られている。
上記略C字状の隔壁17は、左右方向において前記開口44とは反対側に位置して開口44側とは反対側に突となる半円分の弧の長さを有する半円弧状隔壁部17aと、左右方向において前記開口44側に位置して開口44側の斜め下方に突となる1/4円分の弧の長さを有する円弧状隔壁部17bと、器体8の底壁部における前記円弧状隔壁部17bと半円弧状隔壁部17aの間の部分と、器体8の左右方向における開口44側の側壁部とで構成されている。ここで半円弧状隔壁部17aはその上端を前記仕切り板12の後部の開口44側の端に一体に接続すると共にその下端を器体8の底壁部に接続してあり、また円弧状隔壁17bはその上端を器体8の左右方向における開口44側の側壁部に接続すると共にその下端を器体8の底壁部に接続してあり、半円弧状隔壁部17a及び円弧状隔壁部17bは共に凹部9の奥壁部9aから前方に突設してあるものとする。上記により隔壁17の内側に、正面視略円状のファン収納部18aと、ファン収納部18aと前記仕切り板12の開口44とを連通させる連通流路部18bと、で構成された渦室18が形成されることとなる。
また上記半円弧状隔壁部17a及び円弧状隔壁部17bの夫々を介して渦室18の外側にある外側流路19は正面視で矩形状のファン収納空間16の四隅部の内、左右方向における開口44側且つ上側の一隅部を除く三隅部の夫々に形成された流路19a、19b、19cからなり、左右方向における開口44とは反対側且つ上側の隅部に形成された流路19aと、左右方向における開口44とは反対側且つ下側の隅部に形成された流路19bは連通している。
上記渦室18のファン収納部18aには遠心ファンとして軸方向を前後方向とする略円筒状のシロッコファン5を回動自在に配設している。隔壁17によって周面部が囲まれたシロッコファン5は軸方向における両側の側面部を構成するエンドプレート20a、20bと、両エンドプレート20a、20b間に回転軸回りに間隔を介して架設したシロッコファン5の周面部を構成する複数枚の羽根21とで構成されており、両エンドプレート20の内、後側にある一方のエンドプレート20aの中央には第一吸込口としてシロッコファン5の回転軸方向に貫通する円形の主吸込口22を形成してある。また前側にある他方のエンドプレート20bの中心部には駆動軸接続部となる軸方向に貫通する駆動軸接続孔部23を形成してあり、エンドプレート20bの駆動軸接続孔部23よりも径方向外側に位置する外周部には第二吸込口として回転軸方向に貫通する副吸込口24を穿設している。ここで上記主吸込口22はシロッコファン5の周面部よりも径方向における内方に形成されており、また上記副吸込口24は回転軸廻りに間隔を介して配した複数の孔24aからなり、これら複数の孔24aは羽根21よりも径方向における内方に形成されているものとする。
上記外側流路19及び渦室18に連通するファンモータ収納空間15はファン収納空間16のように仕切られておらず、このファンモータ収納空間15には図1に示すようにモータ本体25aと、モータ本体25aによって回転駆動するモータ本体25aから後方に突出した駆動軸25bと、からなるファンモータ25を配設している。ファンモータ25の駆動軸25bは渦室18のファン収納部18aに至るまで突出しており、該駆動軸25bの突端部は前記シロッコファン5の駆動軸接続孔部23に挿入されてナット26により固着されている。またファンモータ収納空間15にはファンモータ25よりも上位にファンモータ25や後述する静電霧化装置28の運転を制御する制御基板27を配設している。ここでモータ本体25aとシロッコファン5の間、及び制御基板27とシロッコファン5の間には夫々ファンモータ収納空間15と副吸込口24とを連通させる隙間が形成されているものとする。
そして図3に示すように前述した矩形状の凹部9の奥壁部9aにおけるシロッコファン5の主吸込口22に対応する部分である中央には複数の孔で構成された円形の主吸込孔部29を穿設してあり、これにより凹部9と主吸込孔部29とで構成された第一空気流路となる主空気流路31aが形成され、該主空気流路31aにより空気吸入口2とシロッコファン5の主吸込口22とが連通することとなる。また図3に示すように凹部9の奥壁部9aにおける矩形状のファン収納空間16の三隅部の夫々に形成された流路19a、19b、19cからなる外側流路19に対応する部分である下端部の左右方向における両端部と、上端部の左右方向における開口44とは反対側の半部の計3箇所の夫々には複数のスリット孔からなる副吸込孔部32を穿設してあり、これにより凹部9と副吸込孔部32と外側流路19とで構成された第二空気流路となる副空気流路31bが形成され、該副空気流路31bにより空気吸入口2とシロッコファン5の副吸込口24とが連通することとなる。そして本実施形態ではシロッコファン5よりも上流側の上流側流路30とシロッコファン5よりも下流側の下流側流路31とで構成された送風経路4の内、上流側流路30を上記主空気流路31aと副空気流路31bとで構成してあり、下流側流路31を上記連通流路部18bと上位空間13とで構成してある。
今、前述したファンモータ25を運転しシロッコファン5を回転駆動した場合、室内空気は空気吸入口2から清浄化フィルタ11を通り、該清浄化フィルタ11にて清浄化された後、凹部9内に流入する。そしてこの凹部9内に流入した空気の内、一部は図1の矢印イに示すように主吸込孔部29から渦室18のファン収納部18aに流入し、この後シロッコファン5の主吸込口22からシロッコファン5内に流入し、また他部は図1及び図6の矢印ロに示すように副吸込孔部32から外側流路19に流入し、この後外側流路19を通ってファンモータ収納空間15に流入し、次いで渦室18のファン収納部18aに流入してシロッコファン5の副吸込口24からシロッコファン5内に流入する。そしてこの主吸込口22及び副吸込口24から別々にシロッコファン5に流入した空気の全部はシロッコファン5の回転軸回りに隣接する羽根21間に形成された吹出口40を通って連通流路部18bを介して上位空間13に流入し、この後空気吐出口3より室内に吐出される。
上記のように本実施形態の空気調和機1は、空気吸入口2と主吸込口22とを主空気流路31aにより連通させてあるので、従来と同様にシロッコファン5の主吸込口22から吸い込んだ空気をシロッコファン5の径方向外側に向かって吹き出すことができるのは勿論、加えてシロッコファン5には上記軸方向における一方の側面部(エンドプレート20a)の中央に設けてある主吸込口22とは別に副吸込口24を設けて、この副吸込口24と空気吸入口2とを副空気流路31bにて連通させているので、シロッコファン5への空気供給量が増加し、これによりシロッコファン5で効率良く空気を送風できて送風量を増大させることができ、従って小型で送風能力が低いシロッコファン5を用いて室内全域にまんべんなく調和空気を循環させることができて、空気調和機1の小型化、静音化、省エネ化が図れる。さらにシロッコファン5への空気供給量を増大させるために設けた上記副空気流路31bには冷却が必要となる部品であるファンモータ25及び制御基板27を配設してあるので、運転により発熱したファンモータ25及び制御基板27を副空気流路31bを通る空気により冷却することができ、ファンモータ25及び制御基板27の故障を防止でき、しかもこの場合、主空気流路31aには流路抵抗となるものが配設されておらず、主空気流路11からシロッコファン5に供給される空気供給量が低下することがない。さらに本実施形態ではシロッコファン5の軸方向における一方の側面部(エンドプレート20a)の中央に主吸込口22を形成し、他方の側面部(エンドプレート20b)の中心部には駆動軸接続孔部23を設け、シロッコファン5の他方の側面部の駆動軸接続孔部23が設けられていない駆動軸接続孔部23よりも径方向外側に位置する外周部に副吸込口24を形成してあるので、従来同様主吸込口22からシロッコファン5内に流入した空気はスムーズに径方向外側に誘導されて吐出されることとなる。また本実施形態では前述したように外側流路19を構成する流路19a、19b、19cを正面視矩形状のファン収納空間16において渦室18を除くデッドスペースとなる三隅部に夫々形成してあるので空気調和機1を更に小型化できる。なお本実施形態では上流側流路30の上流側端部で異なる二流路に分岐して、この分岐点よりも下流側を主空気流路31aと副空気流路31bとで構成した例を示したが、器体8の異なる位置に夫々空気吸入口2を設け、送風経路4の上流側流路30を、一方の空気吸入口2と主吸込口22とを連通させる主空気流路と他方の空気吸入口2と副吸込口とを連通させる副空気流路とで構成しても良いものとする。
また本実施形態の空気調和機1には図7等に示すように上記送風経路4のシロッコファン5よりも下流側、具体的には上位空間13の下部に静電霧化装置28を配設してあり、該静電霧化装置28により空気吸入口2より流入した室内空気の脱臭効果を高めると共に室内の壁やカーテン等に付着した臭気成分を除去できるようにしている。
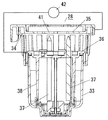
図8に示す静電霧化装置28は霧化させることになる水を収容したカップ状の水溜部33と、円筒状で且つ周面に通風孔が開口するホルダー34と、該ホルダー34の上部に配された対向電極35と、ホルダー34の下部に嵌め込まれて水に対する電圧印加を担う印加電極36と、この印加電極36によって保持されている複数本の棒状の搬送部37とで構成されており、静電霧化装置28の下部に設けた上記水溜部33は上端部が上記ホルダー34の下部に装着されている印加電極36に着脱自在に取り付けられている。
対向電極35と印加電極36は共にカーボンのような導電材を混入した合成樹脂やSUSのような金属で形成されることで導電性を有しているもので、ホルダー34の上部に被せられる対向電極35は接地され、また印加電極36は器体1に内装した電圧印加部42となる高電圧発生源に接続されている。
搬送部37は多孔質セラミックで形成されてその上端が針状に尖ったもので、これら搬送部37は上部が印加電極36よりも上方に突出し、下部は下方に突出して上記水溜部33内に入れられた水と接触している。
図8中38は印加電極36から下方に突出している円筒状のスカートで、上記複数本の搬送部37の外側を囲んでおり、その下端は搬送部37の下端よりも下方に位置している。印加電極36における該スカート38は水溜部33内に入れられた水と接触することで水に高電圧を印加すると同時にセラミックで形成されている搬送部37の保護を行うものである。ここでスカート22の周方向の一部にはスカート22の上下方向全長にわたるスリットを設けているものとする。
ホルダー34の上面開口を閉じるように装着された対向電極35は、図7に示すように中央に開口部41を有するとともに、この開口部41の縁は上方から見た時、前記複数本の搬送部37の上端の針状部を中心とする複数の同一径の円弧を他の円弧で滑らかにつないだものとなっている。対向電極35を接地し、印加電極36に高電圧発生源を接続するとともに、搬送部37が毛細管現象で水を吸い上げている時、搬送部37の上端の針状部が印加電極36側の実質的な電極として機能すると同時に、対向電極35の上記円弧が実質的な電極として機能するものである。
そして上記印加電極36のスカートに水を接触させると同時に、搬送部37に毛細管現象で水を吸い上げさせ、さらに電圧印加部42により対向電極35及び印加電極36間に電圧を印加した時、この電圧が水にレイリー分裂を起こさせることができる高電圧であれば、搬送部37の上端の針状部に達した水はここでレイリー分裂を起こしてナノメータサイズの粒子径の霧化を生じさせる静電霧化がなされるようになっており、これにより静電霧化装置28から送風経路4にナノメータサイズの帯電ミストが吹き出されることとなる。
上記のように送風経路4の下流側に静電霧化装置28を配設することで、空気吸入口2から吸い込まれた室内空気を静電霧化で生じたナノメータサイズの帯電ミストにより脱臭することができ、さらにはこの帯電ミストをシロッコファン5による送風に乗せて、帯電ミストを含んだ室内空気を空気吐出口3から室内に吐出することができ、これにより帯電ミストが有している活性種により室内空気中の臭気成分、特に室内壁面やカーテン等へ付着した臭気成分物を除去することができる。
なお本実施形態では上記したように空気調和機を室内空気の脱臭及び室内空気に含まれる塵や埃を捕集する空気調和機1としたが、これに限定されず、例えば熱交換器を備えて冷房や除湿を行う空気調和機に上記技術を適用しても良いものとする。
本発明の実施の形態の一例を示し、図は空器調和機の側断面図である。 同上の空気調和機の正面斜視図である。 同上の空気調和機の吸込グリルを取り外した背面斜視図である。 同上の空気調和機の背面斜視図である。 同上の空気調和機の前面部の図示を省略した正面斜視図である。 同上の第2空気流路を通る空気の流れを示すものであり、図は空気調和機の前面側の部品の図示を省略した正面斜視図である。 同上の前カバーを取り外した状態を示す空気調和機の正面斜視図である。 同上の静電霧化装置を示す側断面図である。 同上の空気調和機の正面図である。
符号の説明
1 空気調和機
2 空気吸入口
3 空気吐出口
4 送風経路
5 遠心ファン
22 第一吸込口
24 第二吸込口
25 ファンモータ
25b 駆動軸
28 静電霧化装置
31a 第一空気流路
31b 第二空気流路
33 水溜部
35 対向電極
36 印加電極
37 搬送部
40 吹出口
42 電圧印加部

Claims (3)

  1. 空気吸入口と空気吐出口を連通させる送風経路の途中にファンモータにより回転駆動して空気吸入口から空気を吸い込むと共にこの吸い込んだ空気を空気吐出口から吹き出す遠心ファンを備え、遠心ファンに第一吸込口及び第二吸込口を形成すると共に前記第一吸込口及び第二吸込口から吸い込んだ空気を遠心ファンの径方向外側に向かって吹き出す吹出口を形成し、送風経路における遠心ファンよりも上流側を、前記遠心ファンの第一吸込口と空気吸入口とを連通させる第一空気流路と、第二吸込口と空気吸入口とを連通させる第二空気流路とで構成して成ることを特徴とする空気調和機。
  2. 水溜部と、水溜部から水を搬送する多孔質部材によって形成された搬送部と、該搬送部の搬送方向の端部に対向する対向電極と、水溜部から搬送部の搬送方向の端に至る経路中の水に電圧を印加する印加電極と、を備えて、電圧印加部により前記印加電極と対向電極間に高電圧を印加することで静電霧化がなされる静電霧化装置を備え、該静電霧化装置を送風経路の遠心ファンよりも下流側に配設して成ることを特徴とする請求項1記載の空気調和機。
  3. 遠心ファンの回転軸方向における一方の側面部の中央に第一吸込口を形成し、他方の側面部の中心部に駆動軸接続部を設け、該駆動軸接続部に遠心ファンの他方の側面部側に配設したファンモータの駆動軸を接続し、前記遠心ファンの他方の側面部の駆動軸接続部よりも径方向外側に位置する外周部に第二吸込口を形成して成ることを特徴とする請求項1又は請求項2記載の空気調和機。
JP2004107307A 2004-03-31 2004-03-31 空気調和機 Expired - Fee Related JP4670250B2 (ja)

Priority Applications (1)

Application Number Priority Date Filing Date Title
JP2004107307A JP4670250B2 (ja) 2004-03-31 2004-03-31 空気調和機

Applications Claiming Priority (1)

Application Number Priority Date Filing Date Title
JP2004107307A JP4670250B2 (ja) 2004-03-31 2004-03-31 空気調和機

Publications (2)

Publication Number Publication Date
JP2005291625A true JP2005291625A (ja) 2005-10-20
JP4670250B2 JP4670250B2 (ja) 2011-04-13

Family

ID=35324746

Family Applications (1)

Application Number Title Priority Date Filing Date
JP2004107307A Expired - Fee Related JP4670250B2 (ja) 2004-03-31 2004-03-31 空気調和機

Country Status (1)

Country Link
JP (1) JP4670250B2 (ja)

Cited By (6)

* Cited by examiner, † Cited by third party
Publication number Priority date Publication date Assignee Title
KR100829992B1 (ko) 2007-02-02 2008-05-16 (주)에이티앤비 저소음 배기장치
JP2009293830A (ja) * 2008-06-03 2009-12-17 Tiger Vacuum Bottle Co Ltd 加湿器
JP2011031202A (ja) * 2009-08-04 2011-02-17 Panasonic Corp 静電霧化装置
JP2016095097A (ja) * 2014-11-14 2016-05-26 象印マホービン株式会社 送風装置
CN109442583A (zh) * 2018-10-25 2019-03-08 Tcl空调器(中山)有限公司 一种窗式空调器
CN113494748A (zh) * 2020-03-20 2021-10-12 广东美的环境电器制造有限公司 加湿装置

Citations (4)

* Cited by examiner, † Cited by third party
Publication number Priority date Publication date Assignee Title
JPH01168315A (ja) * 1987-12-23 1989-07-03 Matsushita Electric Works Ltd 空気清浄器
JPH1151429A (ja) * 1997-07-31 1999-02-26 Matsushita Electric Works Ltd 空気清浄器
JP2002295872A (ja) * 2001-03-30 2002-10-09 Mitsubishi Electric Corp 加湿装置
JP2004085185A (ja) * 2002-06-25 2004-03-18 Matsushita Electric Works Ltd 空気清浄機

Patent Citations (4)

* Cited by examiner, † Cited by third party
Publication number Priority date Publication date Assignee Title
JPH01168315A (ja) * 1987-12-23 1989-07-03 Matsushita Electric Works Ltd 空気清浄器
JPH1151429A (ja) * 1997-07-31 1999-02-26 Matsushita Electric Works Ltd 空気清浄器
JP2002295872A (ja) * 2001-03-30 2002-10-09 Mitsubishi Electric Corp 加湿装置
JP2004085185A (ja) * 2002-06-25 2004-03-18 Matsushita Electric Works Ltd 空気清浄機

Cited By (7)

* Cited by examiner, † Cited by third party
Publication number Priority date Publication date Assignee Title
KR100829992B1 (ko) 2007-02-02 2008-05-16 (주)에이티앤비 저소음 배기장치
JP2009293830A (ja) * 2008-06-03 2009-12-17 Tiger Vacuum Bottle Co Ltd 加湿器
JP2011031202A (ja) * 2009-08-04 2011-02-17 Panasonic Corp 静電霧化装置
JP2016095097A (ja) * 2014-11-14 2016-05-26 象印マホービン株式会社 送風装置
CN109442583A (zh) * 2018-10-25 2019-03-08 Tcl空调器(中山)有限公司 一种窗式空调器
CN113494748A (zh) * 2020-03-20 2021-10-12 广东美的环境电器制造有限公司 加湿装置
CN113494748B (zh) * 2020-03-20 2023-03-17 广东美的环境电器制造有限公司 加湿装置

Also Published As

Publication number Publication date
JP4670250B2 (ja) 2011-04-13

Similar Documents

Publication Publication Date Title
JP4701746B2 (ja) 空気清浄機能付き空気調和機
JP4470710B2 (ja) 車両用空気調和装置
WO2013047134A2 (ja) 空気清浄機及び空気清浄機の使用方法
US20060230713A1 (en) Wet type air cleaner
JP2005282873A (ja) 空気調和機
JP2007263551A (ja) 空気調和機
US7387664B2 (en) Wet type air cleaner
JP4670250B2 (ja) 空気調和機
JP2003056873A (ja) 加湿機能付き電気暖房機器
KR100335324B1 (ko) 공기순환식 진공청소기
JP4551288B2 (ja) 空気調和機
JP6020805B2 (ja) 空気清浄機
JP5149765B2 (ja) 脱臭装置
JP5357941B2 (ja) 掃除ロボット
US20060102002A1 (en) Cleaning unit for wet type air cleaner
JPH09155139A (ja) 空気清浄装置
JP5066053B2 (ja) 脱臭装置
JP5556341B2 (ja) 空気清浄装置
JP4085710B2 (ja) 空気清浄機
JP2014117299A (ja) 脱臭装置
JP4428183B2 (ja) 照明器具
JP5919557B2 (ja) 送風装置
JP2007260674A (ja) 空気調和機
JP5249893B2 (ja) パネル装置
JP2003262368A (ja) マイナスイオン発生装置

Legal Events

Date Code Title Description
A621 Written request for application examination

Free format text: JAPANESE INTERMEDIATE CODE: A621

Effective date: 20061222

A977 Report on retrieval

Free format text: JAPANESE INTERMEDIATE CODE: A971007

Effective date: 20091130

A131 Notification of reasons for refusal

Free format text: JAPANESE INTERMEDIATE CODE: A131

Effective date: 20091208

A521 Request for written amendment filed

Free format text: JAPANESE INTERMEDIATE CODE: A523

Effective date: 20100208

A131 Notification of reasons for refusal

Free format text: JAPANESE INTERMEDIATE CODE: A131

Effective date: 20100608

A521 Request for written amendment filed

Free format text: JAPANESE INTERMEDIATE CODE: A523

Effective date: 20100809

RD04 Notification of resignation of power of attorney

Free format text: JAPANESE INTERMEDIATE CODE: A7424

Effective date: 20100809

TRDD Decision of grant or rejection written
A01 Written decision to grant a patent or to grant a registration (utility model)

Free format text: JAPANESE INTERMEDIATE CODE: A01

Effective date: 20101221

A01 Written decision to grant a patent or to grant a registration (utility model)

Free format text: JAPANESE INTERMEDIATE CODE: A01

A61 First payment of annual fees (during grant procedure)

Free format text: JAPANESE INTERMEDIATE CODE: A61

Effective date: 20110103

FPAY Renewal fee payment (event date is renewal date of database)

Free format text: PAYMENT UNTIL: 20140128

Year of fee payment: 3

LAPS Cancellation because of no payment of annual fees