JP2005291491A - 選択的衝撃吸収制御を行う油圧衝撃吸収装置を備えるサスペンション装置 - Google Patents

選択的衝撃吸収制御を行う油圧衝撃吸収装置を備えるサスペンション装置 Download PDF

Info

Publication number
JP2005291491A
JP2005291491A JP2004324384A JP2004324384A JP2005291491A JP 2005291491 A JP2005291491 A JP 2005291491A JP 2004324384 A JP2004324384 A JP 2004324384A JP 2004324384 A JP2004324384 A JP 2004324384A JP 2005291491 A JP2005291491 A JP 2005291491A
Authority
JP
Japan
Prior art keywords
shock absorber
suspension
piston
movable body
rod
Prior art date
Legal status (The legal status is an assumption and is not a legal conclusion. Google has not performed a legal analysis and makes no representation as to the accuracy of the status listed.)
Pending
Application number
JP2004324384A
Other languages
English (en)
Inventor
Olivier Bossard
ボッサール.オリビエ
Current Assignee (The listed assignees may be inaccurate. Google has not performed a legal analysis and makes no representation or warranty as to the accuracy of the list.)
BOS SARL
Original Assignee
BOS SARL
Priority date (The priority date is an assumption and is not a legal conclusion. Google has not performed a legal analysis and makes no representation as to the accuracy of the date listed.)
Filing date
Publication date
Application filed by BOS SARL filed Critical BOS SARL
Publication of JP2005291491A publication Critical patent/JP2005291491A/ja
Pending legal-status Critical Current

Links

Images

Classifications

    • FMECHANICAL ENGINEERING; LIGHTING; HEATING; WEAPONS; BLASTING
    • F16ENGINEERING ELEMENTS AND UNITS; GENERAL MEASURES FOR PRODUCING AND MAINTAINING EFFECTIVE FUNCTIONING OF MACHINES OR INSTALLATIONS; THERMAL INSULATION IN GENERAL
    • F16FSPRINGS; SHOCK-ABSORBERS; MEANS FOR DAMPING VIBRATION
    • F16F9/00Springs, vibration-dampers, shock-absorbers, or similarly-constructed movement-dampers using a fluid or the equivalent as damping medium
    • F16F9/32Details
    • F16F9/44Means on or in the damper for manual or non-automatic adjustment; such means combined with temperature correction
    • F16F9/46Means on or in the damper for manual or non-automatic adjustment; such means combined with temperature correction allowing control from a distance, i.e. location of means for control input being remote from site of valves, e.g. on damper external wall
    • F16F9/466Throttling control, i.e. regulation of flow passage geometry
    • BPERFORMING OPERATIONS; TRANSPORTING
    • B60VEHICLES IN GENERAL
    • B60GVEHICLE SUSPENSION ARRANGEMENTS
    • B60G2204/00Indexing codes related to suspensions per se or to auxiliary parts
    • B60G2204/40Auxiliary suspension parts; Adjustment of suspensions
    • B60G2204/421Pivoted lever mechanisms for mounting suspension elements, e.g. Watt linkage

Landscapes

  • Engineering & Computer Science (AREA)
  • General Engineering & Computer Science (AREA)
  • Mechanical Engineering (AREA)
  • Vehicle Body Suspensions (AREA)
  • Fluid-Damping Devices (AREA)

Abstract

【課題】 本発明の目的は、車両の非懸架部分(120)と該車両の懸架部分(130)との間に配置される、衝撃吸収装置(105)とばね(110)とを含む自動車のサスペンション装置である。
【解決手段】 衝撃吸収装置(105)が、ピストン(2)が中で滑動する円筒形キャビティ(10)を備える衝撃吸収装置本体(1)を含み、ピストンが、密封リング(4)を通って円筒形キャビティから突出するロッド(3)に接続され、ピストン(2)が、サスペンションに印加される力を受けたピストンの運動と相関して、ピストンの位置により画定される1つのサブキャビティ(10a)からサブキャビティ(10b)へ油などの流体を通過させるための校正済み手段(5)を備え、ピストンが排出装置(15)を含み、排出装置が、サブキャビティの一方と他方との間において導管(16、17)を開く位置と、導管を閉じる位置とを取らせるのに適している。
【選択図】 図2

Description

本発明は、自動車、二輪車、自転車など油圧衝撃吸収装置を備える車両のサスペンション装置に関連するものである。自動車用の油圧衝撃吸収装置を備えるサスペンション装置は、概ね、ばねと、2つの室を画定するピストンが中を滑動する本体を含む受動的油圧衝撃吸収装置とを含み、ピストンはロッドによって延長され、ばねは、衝撃吸収装置本体に固定される第1端部と、衝撃吸収装置のロッドに固定される第2端部とを有するものである。
従来のシステムは、車両の運動による力を受けるばねの振動を吸収するように、一定の衝撃吸収法則が予め決定されているというものである。
衝撃吸収法則を動的に変化させることのできる装置が存在するが、これらの装置は、複雑な運動検出器に基づく電子的管理を必要とする。能動的装置は例えば、検出器により測定されるパラメータと相関して反応する電子装置に接続されたアクチュエータの制御と相関して、多様な衝撃吸収法則に対応する幾つかの位置を取るのに適した回転ブレードを含む衝撃吸収装置に関連する特許文献1に記載されている。しかしこのような装置は、低速かつ複雑で、例えば轍によるばねの圧縮後の車輪と道路との突然の接触から急速に回復することができない。
米国特許第5,178,242号
本発明の目的は、特に車輪と地面との接触が失われた際に、所与の衝撃吸収法則から別の衝撃吸収法則まで短時間で変化するのに適したサスペンション装置を提供することである。
これを行うため、本発明は主として、衝撃吸収装置と、車両の非懸架部分と車両の懸架部分との間に配置されるばねとを含む車両のサスペンション装置に関連し、前記衝撃吸収装置は、ピストンが中を滑動する円筒形凹部を備える衝撃吸収体を含み、ピストンは、密封リングを通って円筒形キャビティから延長するロッドに接続され、サスペンションに印加される力を受けたピストンの運動と相関して、ピストンの位置により画定される第1サブキャビティから第2サブキャビティまで、油などの流体を通過させるための校正済み手段を備え、サスペンション装置は、ピストンが排出装置を含むようなものであり、この排出装置は、ピストンロッド内で軸方向に滑動するとともに可動体を終端とし、非懸架部分と懸架部分の一方への固定手段を備える制御ロッドを介して得られる、一つのサブキャビティと他のサブキャビティとの間における導管の開位置とこの導管の閉位置とを取らせるのに適している。
排出手段は特に、上方サブキャビティへ開口する第1通路と、下方サブキャビティへ開口する少なくとも1本の第2通路と、第1通路と第2通路との間の連通が閉じられた時にシートに当接するニードルバルブを含む第1および第2通路の間の通路の閉口システムとを含み、ニードルバルブは、第1および第2通路の間の連通が開いた時にシートから離間する。
回転機構への衝撃吸収装置ロッドの接続手段は特に、衝撃吸収装置ロッドに固定されたヘッドによって構成される、衝撃吸収装置に対して固着された本体を含み、可動体は回転機構への固定手段を備えるとともに、衝撃吸収装置に対して可動である。
可動体は、衝撃吸収装置ロッドに固定されたヘッドに設けられる室に配置され、上方当接位置と下方当接位置との間で室内を滑動するのに適し、室の上壁と下壁とにより画定される第1部分を含む。
より詳しく述べると、固定手段を含む可動体の第2部分を通過させる中央通路を備えるねじ付プラグにより、室が閉じられる。
ねじ付プラグは、可動体の表面と相互作用を行って可動体の自由運動の可能性を制限する環状底面を含む。
本発明の特に好適な実施例では、排出装置への流体の通過量を調整するため、可動体の、ゆえに制御ロッドを介した排出装置の自由運動の経路を、ねじ付プラグが調整できる。
より詳しく述べると、排出装置は、サスペンションが応力を受けている限り導管を閉位置に維持するようなものであり、サスペンションが開放モードへ移動すると、排出装置は導管の開位置へ移動する。
衝撃吸収装置体は、懸架部分と非懸架部分の一方に衝撃吸収装置を固定する手段を備える第2ヘッドにより、密封リングと反対側で閉じられている。
ばねは、衝撃吸収装置と同軸に配置され、一方は衝撃吸収装置本体に固定されるとともに他方は衝撃吸収装置ロッドに固定される2つの環状当接部の間で圧縮状態にある。
本発明の特定実施例によれば、可動体と衝撃吸収装置本体との間に補正部材が位置し、補正部材は、導管の開位置への排出装置の移動に抵抗する。
別の代替実施例によれば、可動体と緩衝吸収体との間に補正部材が位置し、補正部材は、導管の開位置への排出装置の移動を促進する。
望ましくは、振動アームが車両の非懸架部分を車両の懸架部分に接続し、補正部材は、一端部において衝撃吸収体に、第2端部において振動アームに関節接続されたアームに固定されたロッドと、振動アームとロッドとの間に配置され、可動体と衝撃吸収体とを離間させようとし、導管の開位置への排出装置の移動を促進するばねとを含む。
本発明の他の特徴と長所は、特定の非限定的実施例について図面を参照して以下に挙げられる説明を読むことにより明らかになるだろう。
図1(a)に概略が図示された公知の従来サスペンション装置は、平行な衝撃吸収装置100とばね110とを含む。このような衝撃吸収装置は、回転装置120つまり車両の非懸架部分と、車両の懸架部分、例えば車両のボデー130との間に公知の方法で配置される。二輪車では、衝撃吸収装置は、前輪と車両のステアリングコラムとの間の分岐管に配置されるか、車両のボデーと、後輪の車軸を収容する振動アームとの間に取り付けられている。
図1(b)に概略が図示された本発明によるサスペンション装置は、変形された衝撃吸収装置105と、やはり平行に取り付けられているが、この例では上方当接部143と回転装置120に機械的に固定された下方当接部144との間においてばね/衝撃吸収装置アセンブリ105、110に対して可動である部材142を含む接続部材140を介して回転部分120に接続されたばね110とを含み、サスペンション装置はさらに、可動部材142に固定されるとともに衝撃吸収装置105と一体的な排出装置15を制御するのに適したロッド141を含む。
図2により詳しく図示された、本発明による装置の実施例は、ここでは同軸であり、いかなるタイプの車両にも使用可能な衝撃吸収装置105とばね110とを含むサスペンション部材を含む。図示された衝撃吸収装置105は、ピストン2が中で滑動する円筒形キャビティ10を含む衝撃吸収体1を含み、ピストンは、密封リング4を通って円筒形キャビティから突出するピストンロッド3に接続される。衝撃吸収装置105は、用途に応じて一方向または他方向に垂直に取り付けることができる。
ピストン2は、ピストンによって分離された1つのサブキャビティ10aからサブキャビティ10bへ、ピストンの運動と相関して、油などの流体を通過させるための校正済み手段5を周知のように備え、この運動はサスペンションに印加される力を受けたものである。やはり公知のように、図示された衝撃吸収装置は、不活性ガスが充填されたキャビティ12からキャビティ10を分離する浮動補助ピストン11を含む。
衝撃吸収装置1の本体は、車両の部材つまり車両の回転構造の部材へ衝撃吸収装置を固定する手段8を備えるヘッド7によって、密封リング4と反対側で閉じられている。衝撃吸収装置本体1がピストンロッドの上にある状態で衝撃吸収装置が図示されているこの例では、衝撃吸収装置本体は上方ヘッド7を介して車両のシャシに固着されるのに対して、ピストンロッド3は第1側ではピストン2へ、第2側では、車両の回転構造への接続部材の一部を形成する下方ヘッド6へ接続されている。
やはりこの例では、ばね110は衝撃吸収装置と同軸に配置されるとともに、一方は上方ヘッド7に、他方は下方ヘッド6に固定された2つの環状当接部13、14の間で圧縮状態にある。
本発明によれば、衝撃吸収装置は、流体を通過させるための校正済み手段5に加えて、ピストン2に接続された排出装置15を含み、この排出装置は、サブキャビティの一方と他方との間において導管16、17の開位置とこの導管の閉位置とを取らせるのに適している。
この排出装置は、上方サブキャビティ10bへ開口する第1通路16と、所望であれば複数の分岐路を備えて下方サブキャビティ10aへ開口する第2通路17と、通路16、17の間の通過のための閉口システム18、19とを含む。閉口システムは図のように、第1通路16と第2通路17との間の連通が閉じた時にシート19に嵌着するニードルバルブ18を含み、第1通路16と第2通路17との間の連通が開くと、ニードルバルブ18はシート19から離間する。
ニードルバルブの制御は、制御ロッド20によって実施される。ピストンロッド3内で軸方向に滑動するこの制御ロッドは、可動体21を終端とし、可動体21は、ヘッド6に設けられた室22に配置されるとともに、可動体21の上面が室22の上壁23と当接する別の当接位置と、室22の底面を閉じる中央通路を備えるねじ付プラグ25によって可動体21が保持される下方当接位置との間で、室22内を滑動するのに適している。図2、図3、図4に図示された実施例によれば、可動体21は、ねじ付プラグ25で構成される室の下壁24と当接する環状リング26´を含む。
このように、回転構造への衝撃吸収装置ロッド3の接続手段は、衝撃吸収装置に対して固着された本体を含み、この固着された本体は、ヘッド6と、衝撃吸収装置に対して可動である本体とを含み、この可動体は、回転構造への固定のための手段27を備える可動体21である。
ヘッド6と可動体21とは、ばね/衝撃吸収装置アセンブリ105、110に対して可動である部材142を含む接続部材140に対応する。
排出装置の動作は以下の通りである。
停止時には、車両は回転構造と当接し、こうして可動体は室22を閉じる壁23の間に保持され、ニードルバルブ18はそのシート19に嵌着し、第1および第2通路の間の通過部分が閉じられる。この位置は図4に示されている。
車両が動いて適度な運動を受けると、サスペンションは応力を受けた状態にあるため、ばねは圧縮状態または伸張状態にある。この形態では、車両の車輪は地面と接触したままであり、可動体21は室22を閉じる壁23へと保持されたままであり、ニードルバルブ18は依然としてシート19に嵌着し、第1および第2通路の間の通過部分は閉じたままである。
対照的に、例えば轍に当たった後で衝撃吸収装置が突然伸張した場合には、サスペンションは開放モードに入る。つまり地面と車両の距離の変化がより急激であって、ばねの伸張速度が衝撃吸収装置によって抑制されるのである。このような場合に従来のサスペンションでは、車輪が地面を離れてから、ばねがおそらくまだ伸張していない間に車両が落下する。
逆に、本発明による装置を備えるサスペンションでは、車輪と地面との間の接触が失われると、回転機構が自重によって図3の矢印Fで表された方向に可動体21を下向きに引き、これが制御ロッド20を介してニードルバルブ18をシート19から解離させ、第1および第2排出通路16、17の間の通過部分P1、P2を開いて、キャビティ10aからキャビティ10bへと流体を大量に流出させ、車輪が再び地面と接触するまでばねがより急激に伸張するようにばねを開放する弱い法則へ、衝撃吸収装置105の衝撃吸収法則を変化させる。
接触の損失が最少である時には、車輪と地面との接触を回復すると、第1および第2通路の間の通過部分が即座に閉じられる。全地形型車両の場合に例えば轍を通過した後で接触の損失がもっと長く続く時には、サスペンションができる限り速く完全に伸張する。
このように本発明は、サスペンションの開放モードにおいて、負荷を受けている衝撃吸収法則と負荷が低下した衝撃吸収法則との間で選択できる衝撃吸収制御を提供できる。
装置の動作は、可動体21の運動に左右される。すでに分かっているように、ねじ付プラグ25は、サスペンションが伸張する時に可動体21を保持するとともに、衝撃吸収装置が上向き位置である衝撃吸収装置の場合には車両の回転構造との、あるいは逆転した衝撃吸収装置の場合には車両のボデーとの固定手段27を含む可動体21の部分を通過させる。
可動体21が延出している図5に図示された例では、ねじ付プラグは、可動体21の表面と直接に相互作用を行って下方向への可動体21の自由運動の可能性を制限する環状底面24を含む。この例では、固定手段27を備えて断面積が狭くなった終端ロッド29を可動体21が含む。
室22を閉じるのにねじ付プラグを使用すると、ねじ付プラグ25の把持に作用することによって、可動体21の開放経路を調整し、結果的にニードルバルブ18の経路“d”を調整する。
この原則によれば、サスペンションの開放モードに対応する延出位置における可動体21の最大移動距離を変更することにより、そしてニードルバルブ18の最大移動を調整することにより、排出装置における流体通過の流速を適応させることが可能である。
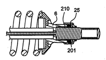
本発明による装置は、補正手段を追加することによって改良でき、特に図7には、リング210によって可動体21に固定されるとともにねじ付プラグ25と当接するらせんばねの形の補正装置201が可動体21と衝撃吸収体1との間に位置する実施例が開示されており、補正装置は、可動体を押し上げることにより、導管の開位置における排出装置の移動に抵抗する。この原則によれば、ばね201の剛性が低い場合には導管の開口の遅れが生じ、ばねの剛性が高い場合には、伸張時の突然の衝撃のみが通路の開口を引き起こす。
対照的に図8の例は、補正装置が導管の開口を促進する例である。この例では、可動体21と衝撃吸収体1との間にらせんばねの形の補正部材206も位置しているが、この時、らせんばねは、可動体21のヘッドと衝撃吸収体のヘッド6の底部との間に配置されている。
この原則によれば、衝撃吸収装置が開放されるとすぐに、補正装置206が導管の開位置への排出装置の移動を促進し、衝撃吸収装置を完全にフリーモードへ移動させることがない。
一般的に、振動アーム200またはロッドは、車両の非懸架部分120と車両の懸架部分130とを接続する。図9の例では、補正装置はレバー204とばね203とによって構成され、レバー204の第1端部はヘッド6において衝撃吸収体1に、第2端部は振動アーム200に関節接続されたアーム205に固着されている。
ばね203は、振動アームとロッドとの間に配置される。つまり最終的には、振動アームに固着された可動体21と衝撃吸収装置の本体1との間にヘッド6を介して配置される。
こうして、ばね203は可動体21と衝撃吸収体1との間に分離力を印加し、この力は、衝撃吸収装置が開放されるか、車輪が地面を離れる時に、導管の開位置への排出装置の移動を促進する。
本発明によるシステムが、ロッド3が上向きで衝撃吸収装置本体1が下向きである逆転衝撃吸収装置としても機能することに注意すべきである。ゆえにこのような構成では、移動するのは、車両のシャシに固着された可動体21ではなく、地面を離れる時の車輪の運動に従う衝撃吸収装置アセンブリのばねである。ゆえに、ヘッド6が上方ヘッドとなる時には、可動体21が同様に変化し、当接部23(この場合には可動体21の下方当接部)から離れ、通路16、17の間の通過部分を開放して、排出回路を開く。
このシステムの動作では、衝撃吸収装置とばねとが同軸である必要はもはやないが、排出装置を開口させる可動体は、ばね/衝撃吸収装置アセンブリの外側に残すべきである。
サスペンション装置を備える車両の部分的概略図であり、(a)は従来のサスペンション装置を備える車両の部分的概略図、(b)は本発明によるサスペンション装置を備える車両の部分的概略図である。 本発明によるサスペンション装置の長手方向断面図である。 排出位置における図2の装置の部分的な図である。 閉位置における図2の装置の部分的な図である。 本発明による装置実施例の詳細を示す拡大図である。 本発明の第1特定実施例の詳細を示す図である。 本発明の第2特定実施例の詳細図である。 本発明の第3特定実施例の詳細を示す図である。
符号の説明
1 衝撃吸収装置本体
2 ピストン
3 ピストンロッド
4 密封リング
5 校正済み手段
6 下方ヘッド
7 上方ヘッド
10 キャビティ
10a 下方キャビティ
10b 上方キャビティ
11 浮動補助ピストン
12 不活性ガスキャビティ
13 環状当接部
16 導管/第1通路
17 導管/第2通路
18 ニードルバルブ
19 シート
20 制御ロッド
21 可動体
23 当接部
24 室の下壁
25 ねじ付プラグ
26´ 環状リング
27 固定手段
29 終端ロッド
100 衝撃吸収装置
105 衝撃吸収装置
110 ばね
120 非懸架部分/回転装置
130 懸架部分/車両ボデー
140 接続部材
141 ロッド
143 上方当接部
144 下方当接部

Claims (12)

  1. 車両の非懸架部分(120)と該車両の懸架部分(130)との間に配置される、衝撃吸収装置(105)とばね(110)とを含む自動車のサスペンション装置であって、該衝撃吸収装置(105)が、ピストン(2)が中で滑動する円筒形キャビティ(10)を備える衝撃吸収装置本体(1)を含み、該ピストンが、密封リング(4)を通って該円筒形キャビティから突出するピストンロッド(3)に接続され、該ピストン(2)が、該サスペンションに印加される力を受けた該ピストンの運動と相関して該ピストンの位置により画定される1つのサブキャビティ(10a)からサブキャビティ(10b)へ油などの流体を通過させるための校正済み手段(5)を備えるサスペンション装置において、該ピストンが排出装置(15)を含み、該排出装置が、サブキャビティの一方と他方との間において導管(16、17)の開位置と該導管の閉位置とを取らせるのに適しており、該ピストンロッド(3)内で軸方向に滑動し、可動体(21)を終端とし、該非懸架部分(120)と該懸架部分(130)の一方へ固定するための手段(27)を備える制御ロッド(20)により、該排出装置の制御が実施されることを特徴とするサスペンション装置。
  2. 前記排出装置が、前記上方サブキャビティ(10b)へ開口する第1通路(16)と、前下方サブキャビティ(10a)へ開口する少なくとも1本の第2通路(17)と、該第1通路(16)と該第2通路(17)との間の通過部分が閉じた時にシート(19)に嵌着するニードルバルブ(18)を含む、該第1および第2通路(16、17)の間の通過部分のための閉口システム(18、19)とを含み、該ニードルバルブ(18)が、該第1通路(16)と該第2通路(17)との連通が開いた時に該シート(19)から離間することを特徴とする請求項1記載のサスペンション装置。
  3. 回転構造への前記衝撃吸収装置ロッド(3)の接続手段が、前記衝撃吸収装置に対して固着された本体を含み、該固着された本体が、該衝撃吸収装置ロッド(3)に固定されたヘッド(6)で構成され、前記可動体(21)が該衝撃吸収装置に対して可動であるとともに、該回転構造への固定手段(27)を備えることを特徴とする請求項1または2記載の装置。
  4. 前記衝撃吸収装置ロッド(3)に固定された前記ヘッド(6)の室(22)に配置され、該室の上壁と下壁とにより画定される上方当接位置と下方当接位置との間において該室内で滑動するのに適した第1部分を前記可動体(21)が含むことを特徴とする請求項3記載のサスペンション装置。
  5. 前記固定手段(27)を含む前記可動体(21)の第2部分を通過させる中央通過部分を備えるねじ付プラグ(25)によって前記室(22)が閉じられ、該ねじ付プラグが、該可動体(21)の表面(26)と相互作用を行って該可動体(21)の自由運動の可能性を制限する環状底面(24)を含むことを特徴とする請求項4記載のサスペンション装置。
  6. 前記ねじ付プラグ(25)が、前記可動体(21)、ゆえに前記制御ロッド(20)を介した前記排出装置の自由運動の経路を調整して、該排出装置への流体の通過量を調整できることを特徴とする請求項5記載のサスペンション装置。
  7. 前記サスペンションが応力を受けているかぎり、前記排出装置が前記導管(16、17)の前記閉位置にあり、該サスペンションが開放モードへ変化すると、該排出装置が該導管(16、17)の開位置へ移動することを特徴とする請求項1〜6のいずれか1項記載の装置。
  8. 前記衝撃吸収装置を前記懸架部分(130)と前記非懸架部分(120)の一方へ固定する手段(8)を備える第2ヘッド(7)により、該衝撃吸収装置本体(1)が前記密封リング(4)の反対側で閉じられることを特徴とする請求項1〜7のいずれか1項記載の装置。
  9. 前記ばね(110)が、前記衝撃吸収装置と同軸に配置されるとともに、一方は前記衝撃吸収装置本体に固定されるとともに他方は前記衝撃吸収装置ロッドに固定された2つの環状当接部(13、14)の間において圧縮状態で保持されることを特徴とする請求項1〜8のいずれか1項記載の装置。
  10. 前記可動体(21)と前記衝撃吸収装置本体(1)との間に補正部材(201)が位置し、該補正部材が、前記導管の前記開位置への該排出装置の移動に抵抗することを特徴とする請求項1〜9のいずれか1項記載の装置。
  11. 前記可動体(21)と前記衝撃吸収体(1)との間に補正部材(206)が位置し、前記補正部材(201)が、前記導管の前記開位置への該排出装置の移動を促進することを特徴とする請求項1〜10のいずれか1項記載の装置。
  12. 振動アーム(200)が前記車両の前記非懸架部分(120)と該車両の前記懸架部分(130)とを接続し、一端部において前記衝撃吸収体(1)に、前記振動アーム(200)に関節接続されたアーム(205)に第2端部によって固定されたロッド(204)と、該振動アームと該ロッドとの間に配置されたばね(203)とを含む補正部材が、前記導管の前記開位置への前記排出装置の移動を促進する分離力を前記可動体(21)と該衝撃吸収体(1)との間に印加することとを特徴とする請求項1〜11のいずれか1項記載の装置。

JP2004324384A 2004-03-31 2004-11-08 選択的衝撃吸収制御を行う油圧衝撃吸収装置を備えるサスペンション装置 Pending JP2005291491A (ja)

Applications Claiming Priority (1)

Application Number Priority Date Filing Date Title
FR0450636A FR2868493B1 (fr) 2004-03-31 2004-03-31 Dispositif de suspension a amortisseur hydraulique a controle d'amortissement selectif

Publications (1)

Publication Number Publication Date
JP2005291491A true JP2005291491A (ja) 2005-10-20

Family

ID=34947544

Family Applications (1)

Application Number Title Priority Date Filing Date
JP2004324384A Pending JP2005291491A (ja) 2004-03-31 2004-11-08 選択的衝撃吸収制御を行う油圧衝撃吸収装置を備えるサスペンション装置

Country Status (3)

Country Link
US (1) US20050217953A1 (ja)
JP (1) JP2005291491A (ja)
FR (1) FR2868493B1 (ja)

Cited By (1)

* Cited by examiner, † Cited by third party
Publication number Priority date Publication date Assignee Title
WO2011080795A1 (ja) * 2009-12-28 2011-07-07 株式会社テイン サスペンション装置

Families Citing this family (18)

* Cited by examiner, † Cited by third party
Publication number Priority date Publication date Assignee Title
FR2897915B1 (fr) * 2006-02-27 2008-05-30 Bos Sarl Systeme d'amortissement a detente rapide monte en jambe de force
EP3150828B1 (en) 2010-06-03 2018-08-15 Polaris Industries Inc. Electronic throttle control
US9205717B2 (en) 2012-11-07 2015-12-08 Polaris Industries Inc. Vehicle having suspension with continuous damping control
FR3003619B1 (fr) * 2013-03-25 2015-03-27 Peugeot Citroen Automobiles Sa Amortisseur hydraulique comportant un dispositif de detente rapide
US10648554B2 (en) 2014-09-02 2020-05-12 Polaris Industries Inc. Continuously variable transmission
BR112017008825A2 (pt) 2014-10-31 2018-03-27 Polaris Inc método e sistema de direção assistida para um veículo, métodos para controlar um sistema de direção assistida de um veículo e para controlar um veículo, método de substituição de borboleta para um veículo recreativo, e, veículo.
DE102016209826A1 (de) * 2016-06-03 2017-12-07 Suspa Gmbh Dämpfer
US11110913B2 (en) 2016-11-18 2021-09-07 Polaris Industries Inc. Vehicle having adjustable suspension
US10406884B2 (en) 2017-06-09 2019-09-10 Polaris Industries Inc. Adjustable vehicle suspension system
US11649889B2 (en) 2018-03-19 2023-05-16 Polaris Industries Inc. Continuously variable transmission
JP7059791B2 (ja) * 2018-05-16 2022-04-26 トヨタ自動車株式会社 減衰力制御装置
US10987987B2 (en) 2018-11-21 2021-04-27 Polaris Industries Inc. Vehicle having adjustable compression and rebound damping
CA3173047A1 (en) 2020-05-20 2021-11-25 Michael A. Hedlund Systems and methods of adjustable suspensions for off-road recreational vehicles
CA3182725A1 (en) 2020-07-17 2022-01-20 Polaris Industries Inc. Adjustable suspensions and vehicle operation for off-road recreational vehicles
CN112677912A (zh) * 2021-01-06 2021-04-20 恒大新能源汽车投资控股集团有限公司 汽车、防卷入装置及防卷入方法
CA3206425A1 (en) 2021-01-29 2022-08-04 Gary A. PINKLEY Electronically-controlled continuously variable transmission for a utility vehicle
CN112918203B (zh) * 2021-03-10 2023-03-17 奈克斯科技股份有限公司 一种路轨两用车主动伸缩式避震器、车辆悬挂及切换方法
CN113202895A (zh) * 2021-03-23 2021-08-03 济南弗莱德科学仪器有限公司 油品快检车减震装置

Citations (4)

* Cited by examiner, † Cited by third party
Publication number Priority date Publication date Assignee Title
FR2796431A1 (fr) * 1999-07-16 2001-01-19 Nicolas Carlier Systeme d'amortisseur a huile
JP2002005219A (ja) * 2000-06-21 2002-01-09 Mitsubishi Motors Corp 車両用ショックアブソーバ
JP2002161939A (ja) * 2000-11-24 2002-06-07 Parts Creator Kk ショックアブソーバー
JP2002240527A (ja) * 2001-02-19 2002-08-28 Tein:Kk 車両用ショックアブソーバーの減衰力調整装置およびその制御プログラム提供方法

Family Cites Families (10)

* Cited by examiner, † Cited by third party
Publication number Priority date Publication date Assignee Title
US3272493A (en) * 1964-08-26 1966-09-13 Bourcier Christian Marie Louis Shock absorbers
NL6817259A (ja) * 1968-12-03 1970-06-05
DE2249971A1 (de) * 1972-10-12 1974-04-18 Daimler Benz Ag Aufhaengung lenkbarer fahrzeugraeder, insbesondere vorderraeder von kraftfahrzeugen
US4305486A (en) * 1979-10-11 1981-12-15 Interpart Corporation Dual damping control valve shock absorber
US5178242A (en) 1990-11-19 1993-01-12 Atsugi Unisia Corporation Hydraulic damper
US6244398B1 (en) * 1997-05-15 2001-06-12 K2 Bike Inc. Shock absorber with variable bypass damping
US6161662A (en) * 1999-03-16 2000-12-19 Delphi Technologies, Inc. Suspension damper for motor vehicle
US6382370B1 (en) * 1999-09-01 2002-05-07 K2 Bike, Inc. Shock absorber with an adjustable lock-out value and two-stage flow restriction
DE10122729B4 (de) * 2001-05-10 2006-04-20 Dt Swiss Ag Feder-Dämpfersystem für Fahrräder
FR2851808B1 (fr) * 2002-10-25 2006-09-29 Amortisseur Donerre Butee hydraulique d'amortisseur pour vehicule, systeme amortisseur et procede d'utilisation

Patent Citations (4)

* Cited by examiner, † Cited by third party
Publication number Priority date Publication date Assignee Title
FR2796431A1 (fr) * 1999-07-16 2001-01-19 Nicolas Carlier Systeme d'amortisseur a huile
JP2002005219A (ja) * 2000-06-21 2002-01-09 Mitsubishi Motors Corp 車両用ショックアブソーバ
JP2002161939A (ja) * 2000-11-24 2002-06-07 Parts Creator Kk ショックアブソーバー
JP2002240527A (ja) * 2001-02-19 2002-08-28 Tein:Kk 車両用ショックアブソーバーの減衰力調整装置およびその制御プログラム提供方法

Cited By (1)

* Cited by examiner, † Cited by third party
Publication number Priority date Publication date Assignee Title
WO2011080795A1 (ja) * 2009-12-28 2011-07-07 株式会社テイン サスペンション装置

Also Published As

Publication number Publication date
FR2868493B1 (fr) 2008-06-13
US20050217953A1 (en) 2005-10-06
FR2868493A1 (fr) 2005-10-07

Similar Documents

Publication Publication Date Title
JP2005291491A (ja) 選択的衝撃吸収制御を行う油圧衝撃吸収装置を備えるサスペンション装置
US7441638B2 (en) Front fork
EP1158200B1 (en) Air spring
CN100363226C (zh) 摩托车转向减振器
EP2487384B1 (en) Hydraulic shock absorbing device
US9855811B2 (en) Vehicle suspension system
CN105313627B (zh) 带缓冲器的车辆
JPS5981290A (ja) 自動二輪車の制動時姿勢制御装置
EP1880880B1 (en) Vehicle
JPH11315876A (ja) ダンパ
JP4918022B2 (ja) 油圧緩衝器の減衰力調整構造
JP4637409B2 (ja) フロントフォーク
JP4800172B2 (ja) 自動二輪車
TWI845691B (zh) 具有作用於衝擊吸收器之傾斜阻擋系統之滾動機動車輛
US20030094341A1 (en) Shock absorber with a gas chamber on the rebound side of a piston
JPS59179413A (ja) シヨツク・アブソ−バ
JPH11280826A (ja) フロントフォーク
JP4917986B2 (ja) 二輪車のフロントフォーク
KR102532579B1 (ko) 능동 현가 시스템
JP2006151161A (ja) エアバネおよび懸架装置
JP4842012B2 (ja) 車両
JP3938411B2 (ja) 油圧緩衝器
WO2019014726A1 (en) SUSPENSION DAMPING SYSTEM
JP2001082529A (ja) 自動二輪車等のサスペンション装置
JP2001099214A (ja) 油圧緩衝器

Legal Events

Date Code Title Description
A621 Written request for application examination

Free format text: JAPANESE INTERMEDIATE CODE: A621

Effective date: 20071029

A977 Report on retrieval

Free format text: JAPANESE INTERMEDIATE CODE: A971007

Effective date: 20100914

A131 Notification of reasons for refusal

Free format text: JAPANESE INTERMEDIATE CODE: A131

Effective date: 20100929

A601 Written request for extension of time

Free format text: JAPANESE INTERMEDIATE CODE: A601

Effective date: 20101228

A602 Written permission of extension of time

Free format text: JAPANESE INTERMEDIATE CODE: A602

Effective date: 20110106

A02 Decision of refusal

Free format text: JAPANESE INTERMEDIATE CODE: A02

Effective date: 20110329