JP2005291455A - 回転継手 - Google Patents

回転継手 Download PDF

Info

Publication number
JP2005291455A
JP2005291455A JP2004110857A JP2004110857A JP2005291455A JP 2005291455 A JP2005291455 A JP 2005291455A JP 2004110857 A JP2004110857 A JP 2004110857A JP 2004110857 A JP2004110857 A JP 2004110857A JP 2005291455 A JP2005291455 A JP 2005291455A
Authority
JP
Japan
Prior art keywords
hole
bearings
inner diameter
shaft
rotary
Prior art date
Legal status (The legal status is an assumption and is not a legal conclusion. Google has not performed a legal analysis and makes no representation as to the accuracy of the status listed.)
Pending
Application number
JP2004110857A
Other languages
English (en)
Inventor
Kimio Ishii
公男 石井
Current Assignee (The listed assignees may be inaccurate. Google has not performed a legal analysis and makes no representation or warranty as to the accuracy of the list.)
Kuroda Precision Industries Ltd
Original Assignee
Kuroda Precision Industries Ltd
Priority date (The priority date is an assumption and is not a legal conclusion. Google has not performed a legal analysis and makes no representation as to the accuracy of the date listed.)
Filing date
Publication date
Application filed by Kuroda Precision Industries Ltd filed Critical Kuroda Precision Industries Ltd
Priority to JP2004110857A priority Critical patent/JP2005291455A/ja
Publication of JP2005291455A publication Critical patent/JP2005291455A/ja
Pending legal-status Critical Current

Links

Images

Classifications

    • FMECHANICAL ENGINEERING; LIGHTING; HEATING; WEAPONS; BLASTING
    • F16ENGINEERING ELEMENTS AND UNITS; GENERAL MEASURES FOR PRODUCING AND MAINTAINING EFFECTIVE FUNCTIONING OF MACHINES OR INSTALLATIONS; THERMAL INSULATION IN GENERAL
    • F16CSHAFTS; FLEXIBLE SHAFTS; ELEMENTS OR CRANKSHAFT MECHANISMS; ROTARY BODIES OTHER THAN GEARING ELEMENTS; BEARINGS
    • F16C2361/00Apparatus or articles in engineering in general

Landscapes

  • Joints Allowing Movement (AREA)
  • Mounting Of Bearings Or Others (AREA)

Abstract

【課題】かじり減少が発生し難いメタルシール構造の回転継手を提供する。
【解決手段】 継手本体11には中心部に貫通孔11aが穿孔され、継手本体11の両端に軸受13、14が挿着され、軸受13の方が内径、外径共に大きい径とされ、軸受13の内径は継手本体11の貫通孔11aの内径寸法とほぼ同一に形成されており、軸受14の内径は貫通孔11aの内径よりも小さくされている。軸受13、14間の貫通孔11aの内径側から継手本体11の外径側に、流体通路11d、11e、11fが形成されている。貫通孔11aに回転軸12が挿通され、回転軸12の両端は軸受13、14のそれぞれの内径に嵌合される軸端部12a、12bとされている。両軸端部12a、12bの間の貫通孔11aとの間でメタルシール構造を構成する軸中部12cが形成されており、この軸中部12cは軸端部12aよりも稍々小径とされている。
【選択図】図1

Description

本発明は、固定体と回転体との間において、圧力油、圧縮空気などの流体を流通させるための回転継手に関するものである。
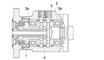
従来から図3に示す構成の回転継手が知られている。この構成においては、回転軸1の外周が継手本体2に所定間隔をおいて回転軸受3a、3bを介在して相対回転自在に装着され、両回転軸受3a、3b間にスリーブ4が装着されている。この回転継手においては、複数系統の流体を回転軸1から継手本体2に又は継手本体2から回転軸1に流通するようになっている。スリーブ4と継手本体2間は、シール部材5により流路間を遮断するように密封状態に弾性支持されており、スリーブ4の内径側は回転軸1と微少隙間を持って嵌合し、所謂メタルシール構造とされている。
このメタルシール構造においては、通常の隙間量(クリアランス)としては、5/1000mm〜1/100mmといった微小量であるため、回転中に何らかの偏荷重がスリーブ4へ加わったりすると、回転軸1の外周面とスリーブ4の内周面とが接触し、両者間にかじり(喰い付き)現象が発生し、作動不良を生じ使用不能を引き起こす虞れがある。
この場合に、部品精度を高めかつ組み立て精度を向上させても、なかなか均一な製品精度が得られず、より構造を簡略化して、コストダウンをする必要が生じている。
このため、スリーブ4を省略した回転継手構造も提案されており、図4に示す例えば特許文献1に記載されている構造が知られている。この回転継手構造においては、継手本体に相当する供給体6の両端において、回転軸に相当する回転体7はその突出部8との間でベアリング9を介して回転自在に保持されており、ベアリング9に挟まれた供給体6の内径側が、突出部8の外周との間で環状微小隙間を形成している。また、この特許文献1には供給体6の内径側、突出部8の外径側の部分にフッ素コーティングをすることが明示されている。
特開昭63−19488号公報
しかしながら、この構造においては両端のベアリング9による支持部分に対して、突出部8による環状微少隙間の同芯度が重要になり、この同芯度が精度良く得られていないと、前述したようなフッ素コーティングを施しても、回転が特に高速回転になるに従って回転による振れの影響が発生し、それによって接触、かじり発生という虞れがあり、メタルシール構造における問題点は解決されていない。
本発明の目的は、上述の問題点を解消し、かじり減少が発生し難いメタルシール構造の回転継手を提供することにある。
上記目的を達成するための本発明に係る回転継手は、回転軸を継手本体の貫通孔に挿通したメタルシール方式の回転継手において、前記回転軸をその両端において回転自在に支持する第1、第2の軸受を前記継手本体の両端側に設けた穴部内に配置し、少なくとも前記第1の軸受の内径と前記貫通孔の内径とを略同一とし、前記第1、第2の軸受の間に位置する前記回転軸の外径と前記貫通孔の内径との間をメタルシール構造としたことを特徴とする。
本発明に係る回転継手によれば、次に列挙する利点がある。
(1)スリーブを無くして構造を簡単にできるので、コストを大幅に低減できる。(2)加工を容易にしかつ精度を高めることができ、更には組立を容易にできる。(3)組立精度、同芯度が向上するので、高速においてもメタルシール部の非接触状態が良好に保持でき長寿命化を図れる。
本発明を図1、図2に図示の実施例に基づいて詳細に説明する。
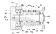
図1において、継手本体11には中心部に貫通孔11aが穿孔され、継手本体11の両端に第1、第2の軸受13、14が挿着されている。軸受13、14の径は相異し、第1の軸受13の方が内径、外径共に大きい径とされ、第1の軸受13の内径は継手本体11の貫通孔11aの内径寸法とほぼ同一に形成されており、第2の軸受14の内径は貫通孔11aの内径よりも小さくされている。
第1、第2の軸受13、14は継手本体11の両端に設けられた大径穴11b、11c内にそれぞれ取り付けられ、大径穴11b、11cの径は軸受13、14の外径寸法よりも稍々大きく形成されている。大径穴11b、11cの間の貫通孔11aの内径側から継手本体11の外径側に、所定間隔で流体通路11d、11e、11fが形成され、これらの外径側はねじ穴とされている。
貫通孔11aに回転軸12が挿通され、回転軸12の両端は第1、第2の軸受13、14のそれぞれの内径に嵌合される第1、第2の軸端部12a、12bとされ、第1の軸端部12aの外側にエンドカバー15が接続され、第2の軸端部12bの外側に止め輪16が設けられている。両軸端部12a、12bの間の貫通孔11aとの間でメタルシール構造を構成する軸中部12cが形成されており、この軸中部12cは第1の軸端部12aよりも稍々小径とされている。
継手本体11の流体通路11d、11e、11fに対向した軸中部12cには環状溝12d、12e、12fが形成されている。回転軸12には、これらの環状溝12d、12e、12fに面して通孔12g、12h、12iが形成され、これらの通孔12g、12h、12iは軸芯中心に向けて穿孔され、途中から軸芯方向に屈曲され、第1の軸端部12aの側面に開口し、エンドカバー15に設けられた孔部と接続され、エンドカバー15の外面に接続口15a、15b、15cとして開口されている。
この構成により、軸受本体11の流体通路11d、11e、11fは、回転軸12の通孔12g、12h、12iを介してエンドカバー15の接続口15a、15b、15cと導通することにより、貫通孔11aと回転軸12との間はメタルシール構造とされているために、貫通孔11aと回転軸12間で流体が漏出することもなく、各通路の独立性は保持される。
また、この構成により、回転軸12の第1の軸端部12aを基準にして、第2の軸端部12b、軸中部12cをワンチャックで研削精密加工することができ、更に継手本体11の貫通孔11aを第1の軸受13の内径と同一に形成することで、組立精度を高めることができる。
この回転軸受の組立に際して使用する環状の組立治具の外径は、第1の軸受13の内径つまり継手本体11の貫通孔11aの内径寸法と同一に形成され、かつ先端側の軸径は第2の軸受14の内径寸法に形成されている。この組立治具を継手本体11の貫通孔11aに挿入し、この状態で第1、第2の軸受13、14を継手本体11の大径穴11b、11cに挿入する。
第1、第2の軸受13、14は組立治具側の外径で保持されており、この状態で軸受13、14の外径と大径穴11b、11cとの間には隙間が生じているが、この隙間部分に接着剤を流し込み軸受13、14を固定することによって、軸受13、14の内径と継手本体11の貫通孔11aとが同芯状に固定される。
その後に組立治具を抜いて、回転軸12を第1の軸受13側から挿入することで、軸受本体11と固定軸12を正確に所定位置に組立てることができる。
また、メタルシール部についても、回転軸12の第1の軸端部12aに対して軸中部12cを精密加工ができるので、継手本体11の貫通孔11aとの隙間量を正確に設定することができる。
なお実施例1では、両端の第1、第2の軸受13、14の大きさを変えたが、同じ大きさの軸受に構成しても、基本的には同じである。
即ち、図2の実施例2に示すように、両軸受21、22の内径21a、22a同士は継手本体11の貫通孔11aの内径と同一に形成することで、先の実施例1と同様な効果が得られる。
実施例1の断面図である。 実施例2の断面図である。 従来の回転継手の断面図である。 他の従来の回転継手の断面図である。
符号の説明
11 継手本体
11a 貫通孔
11b、11c 大径孔
11d、11e、11f 流体通路
12 回転軸
12a、12b 軸端部
12c 軸中部
12d、12e、12f 環状溝
12g、12h、12i 通孔
13、14、21、22 軸受
15 エンドカバー

Claims (5)

  1. 回転軸を継手本体の貫通孔に挿通したメタルシール方式の回転継手において、前記回転軸をその両端において回転自在に支持する第1、第2の軸受を前記継手本体の両端側に設けた穴部内に配置し、少なくとも前記第1の軸受の内径と前記貫通孔の内径とを略同一とし、前記第1、第2の軸受の間に位置する前記回転軸の外径と前記貫通孔の内径との間をメタルシール構造としたことを特徴とする回転継手。
  2. 前記第2の軸受の内外径は第1の軸受よりも小さくしたことを特徴とする請求項1に記載の回転継手。
  3. 前記第1、第2の軸受は内外径共に同一としたことを特徴とする請求項1に記載の回転継手。
  4. 前記第1、第2の軸受の間に位置する前記回転軸の外径に複数の環状溝を形成し、これらの環状溝に対応して前記回転軸及び継手本体に流体通路を設けたことを特徴とする請求項1に記載の回転継手。
  5. 前記第1、第2の軸受は前記貫通孔に前記回転軸の軸芯を合わせながら接着剤により固定したことを特徴とする請求項1に記載の回転継手。
JP2004110857A 2004-04-05 2004-04-05 回転継手 Pending JP2005291455A (ja)

Priority Applications (1)

Application Number Priority Date Filing Date Title
JP2004110857A JP2005291455A (ja) 2004-04-05 2004-04-05 回転継手

Applications Claiming Priority (1)

Application Number Priority Date Filing Date Title
JP2004110857A JP2005291455A (ja) 2004-04-05 2004-04-05 回転継手

Publications (1)

Publication Number Publication Date
JP2005291455A true JP2005291455A (ja) 2005-10-20

Family

ID=35324601

Family Applications (1)

Application Number Title Priority Date Filing Date
JP2004110857A Pending JP2005291455A (ja) 2004-04-05 2004-04-05 回転継手

Country Status (1)

Country Link
JP (1) JP2005291455A (ja)

Cited By (3)

* Cited by examiner, † Cited by third party
Publication number Priority date Publication date Assignee Title
CN103100970A (zh) * 2013-01-31 2013-05-15 西安工业大学 一种可带气研抛的旋转密封装置
KR101456296B1 (ko) * 2007-12-27 2014-11-04 두산인프라코어 주식회사 공작기계 스핀들 후단부 절삭유 공급라인 조인트부
DE202016101447U1 (de) 2016-03-16 2017-06-19 Zasche handling GmbH Drehdurchführung

Citations (5)

* Cited by examiner, † Cited by third party
Publication number Priority date Publication date Assignee Title
JPS6319488A (ja) * 1986-07-11 1988-01-27 株式会社 北川鉄工所 流体用回転継手
JPH01168090U (ja) * 1988-05-18 1989-11-27
JPH0798085A (ja) * 1993-04-30 1995-04-11 Kuroda Precision Ind Ltd 複合型回転継手装置
JP2002130308A (ja) * 2000-10-17 2002-05-09 Nsk Ltd 軸受装置の組立方法
JP2003056719A (ja) * 2001-08-08 2003-02-26 Thk Co Ltd 動圧シール装置及びこれを用いたロータリジョイント装置

Patent Citations (5)

* Cited by examiner, † Cited by third party
Publication number Priority date Publication date Assignee Title
JPS6319488A (ja) * 1986-07-11 1988-01-27 株式会社 北川鉄工所 流体用回転継手
JPH01168090U (ja) * 1988-05-18 1989-11-27
JPH0798085A (ja) * 1993-04-30 1995-04-11 Kuroda Precision Ind Ltd 複合型回転継手装置
JP2002130308A (ja) * 2000-10-17 2002-05-09 Nsk Ltd 軸受装置の組立方法
JP2003056719A (ja) * 2001-08-08 2003-02-26 Thk Co Ltd 動圧シール装置及びこれを用いたロータリジョイント装置

Cited By (3)

* Cited by examiner, † Cited by third party
Publication number Priority date Publication date Assignee Title
KR101456296B1 (ko) * 2007-12-27 2014-11-04 두산인프라코어 주식회사 공작기계 스핀들 후단부 절삭유 공급라인 조인트부
CN103100970A (zh) * 2013-01-31 2013-05-15 西安工业大学 一种可带气研抛的旋转密封装置
DE202016101447U1 (de) 2016-03-16 2017-06-19 Zasche handling GmbH Drehdurchführung

Similar Documents

Publication Publication Date Title
US20070211971A1 (en) Fluid Dynamic Bearing Mechanism for a Motor
JPH1113764A (ja) 静圧空気軸受
WO2013002252A1 (ja) 転がり軸受
US7391139B2 (en) Spindle motor and rotation apparatus
JPH1151069A (ja) ダブルシールベアリング
KR20050039660A (ko) 방사형 회전식 운송 어셈블리
JP2016086611A (ja) 回転電機のステータコア冷却構造
JP2010151292A (ja) ティルティングパッド軸受
JPH1182486A (ja) 流体軸受
JP4451771B2 (ja) スピンドルモータ
JP2005291455A (ja) 回転継手
US7550887B2 (en) Spindle motor and method of manufacturing spindle motor
JP3547844B2 (ja) 流体動圧軸受
CN100485211C (zh) 高速转子系统减振用粘弹摩擦阻尼装置
JP2004190855A (ja) スピンドルモータ
JP2001041242A (ja) 静圧気体軸受装置
JP2000205469A (ja) ロ―タリ―ジョイント
JP2001116046A (ja) 動圧軸受装置
JP5026301B2 (ja) 転がり軸受ユニットおよびその製造方法
JPH06173952A (ja) 静圧流体軸受
JP5225700B2 (ja) 転がり軸受ユニット
JP7003683B2 (ja) アンギュラ玉軸受、軸受装置、及び主軸装置
JP3904179B2 (ja) スピンドルモータ
JP5230020B2 (ja) ハードディスク装置用スピンドルモータ
JP2006077835A (ja) シール装置

Legal Events

Date Code Title Description
A621 Written request for application examination

Free format text: JAPANESE INTERMEDIATE CODE: A621

Effective date: 20070330

A711 Notification of change in applicant

Free format text: JAPANESE INTERMEDIATE CODE: A711

Effective date: 20080929

A521 Written amendment

Free format text: JAPANESE INTERMEDIATE CODE: A821

Effective date: 20080930

A521 Written amendment

Free format text: JAPANESE INTERMEDIATE CODE: A523

Effective date: 20081128

A521 Written amendment

Free format text: JAPANESE INTERMEDIATE CODE: A821

Effective date: 20081128

A521 Written amendment

Free format text: JAPANESE INTERMEDIATE CODE: A523

Effective date: 20090217

A521 Written amendment

Free format text: JAPANESE INTERMEDIATE CODE: A821

Effective date: 20090217

A977 Report on retrieval

Free format text: JAPANESE INTERMEDIATE CODE: A971007

Effective date: 20091030

A131 Notification of reasons for refusal

Free format text: JAPANESE INTERMEDIATE CODE: A131

Effective date: 20091110

A02 Decision of refusal

Free format text: JAPANESE INTERMEDIATE CODE: A02

Effective date: 20100330