JP2005291324A - 液化ガス気化装置の運転方法 - Google Patents

液化ガス気化装置の運転方法 Download PDF

Info

Publication number
JP2005291324A
JP2005291324A JP2004105952A JP2004105952A JP2005291324A JP 2005291324 A JP2005291324 A JP 2005291324A JP 2004105952 A JP2004105952 A JP 2004105952A JP 2004105952 A JP2004105952 A JP 2004105952A JP 2005291324 A JP2005291324 A JP 2005291324A
Authority
JP
Japan
Prior art keywords
steam supply
liquefied gas
steam
supply valve
hot water
Prior art date
Legal status (The legal status is an assumption and is not a legal conclusion. Google has not performed a legal analysis and makes no representation as to the accuracy of the status listed.)
Granted
Application number
JP2004105952A
Other languages
English (en)
Other versions
JP4567358B2 (ja
Inventor
Takashi Takeda
貴志 武田
Masahiro Ikeda
雅博 池田
Current Assignee (The listed assignees may be inaccurate. Google has not performed a legal analysis and makes no representation or warranty as to the accuracy of the list.)
Nippon Sanso Holdings Corp
Original Assignee
Nippon Sanso Holdings Corp
Priority date (The priority date is an assumption and is not a legal conclusion. Google has not performed a legal analysis and makes no representation as to the accuracy of the date listed.)
Filing date
Publication date
Application filed by Nippon Sanso Holdings Corp filed Critical Nippon Sanso Holdings Corp
Priority to JP2004105952A priority Critical patent/JP4567358B2/ja
Publication of JP2005291324A publication Critical patent/JP2005291324A/ja
Application granted granted Critical
Publication of JP4567358B2 publication Critical patent/JP4567358B2/ja
Anticipated expiration legal-status Critical
Expired - Lifetime legal-status Critical Current

Links

Images

Landscapes

  • Filling Or Discharging Of Gas Storage Vessels (AREA)
  • Pipeline Systems (AREA)

Abstract

【課題】 製品ガス送出量が極端に減量されたときや製品ガスの送出が中断されたときでも、安定した運転を行うことができ、スチーム供給弁の弁シートや弁座部にエロージョンが発生したり、ストレーナを通過した微小な異物が食い込んだりすることを回避できる液化ガス気化装置の運転方法を提供する。
【解決手段】 スチーム供給弁16によるスチーム供給量の調節を、温水により加温されて気化した製品ガス又は供給される液化ガスの流量測定値と、前記温水の温度測定値とに基づいて行う。流量測定値が流量最小値を下回ったときには、温度測定値に応じてスチーム供給弁の開閉制御を行い。流量測定値が流量最小値以上のときには、温度測定値に応じてPID制御を行う。
【選択図】 図1

Description

本発明は、液化ガス気化装置の運転方法に関し、詳しくは、低温液化ガスをスチームにより、あるいは、スチームで加温された温水により加温して気化させ、気化した製品ガスを使用先に送出する液化ガス気化装置の運転方法に関する。
一般に、比較的大量のガス、例えば酸素、窒素等のガスを使用する設備では、低温液化ガス貯槽内に充填した液化酸素や液化窒素等の低温液化ガスを液化ガス気化装置で気化させて使用している。液化ガス気化装置としては、低温液化ガスを気化させる熱源として、高温、高圧のスチームを低温液化ガスと直接熱交換させるスチーム式液化ガス気化装置や、高温、高圧のスチームで加温した温水と低温液化ガスとを熱交換させる温水式液化ガス気化装置、あるいは、これらを組み合わせた液化ガス気化装置が知られている。
これらは、通常、液化ガス気化装置で気化して送出される製品ガスの温度あるいは温水の温度を測定し、その測定温度に基づいてスチーム供給弁を開閉制御することにより、製品ガスをあらかじめ設定された温度で使用先に送出するようにしている(例えば、特許文献1参照。)。
実開昭53−19560号公報
上述のように、高温、高圧のスチームを直接あるいは間接的に熱源として使用するスチーム式液化ガス気化装置や温水式液化ガス気化装置では、製品ガスの送出量が極端に減量されたときや製品ガスの送出が中断されたときでも、自然放熱等による熱交換器や温水の微小な温度変化に対応するようにスチーム供給弁の弁開度が制御され、スチーム供給弁は、微開−閉を繰り返すことになる。
このため、スチーム供給弁の弁シートや弁座部にエロージョン(浸食)が発生し、弁座部が損傷して弁座漏洩を起こすことがあり、スチームの供給を遮断できず、製品ガスの温度が異常に上昇することがある。また、スチーム供給弁の弁座部に漏洩があると、蒸気ロスを引き起こし、温水式では温水温度が上昇し続け、装置の設計温度を超えて損傷するおそれもあった。
さらに、スチーム供給弁の上流側には、通常、異物による障害を防止するためのストレーナが設置されているが、スチーム供給弁の弁開度が微開−閉を繰り返している場合には、ストレーナを通過した微小な異物がスチーム供給弁の弁シートや弁座に食い込み、弁座洩れを起こす可能性もあった。
そこで本発明は、製品ガス送出量が極端に減量されたときや製品ガスの送出が中断されたときでも、安定した運転を行うことができ、スチーム供給弁の弁シートや弁座部にエロージョンが発生したり、ストレーナを通過した微小な異物が食い込んだりすることを回避できる液化ガス気化装置の運転方法を提供することを目的としている。
上記目的を達成するため、本発明の液化ガス気化装置の運転方法は、スチーム供給源からスチーム供給弁を介して供給されるスチームで加温した温水を熱源として液化ガスを気化させることにより製品ガスを送出する温水式液化ガス気化装置の運転方法において、前記スチーム供給弁によるスチーム供給量の調節を、前記温水により加温されて気化した製品ガス又は供給される液化ガスの流量測定値と、前記温水の温度測定値とに基づいて行うことを特徴としている。
また、前記温水式液化ガス気化装置の運転方法では、前記スチーム供給弁によるスチーム供給量の調節を、前記温水により加温されて気化した製品ガス又は供給される液化ガスの流量測定値と、該製品ガスの温度測定値とに基づいて行うこともできる。
さらに、スチーム供給源からスチーム供給弁を介して供給されるスチームを熱源として液化ガスを気化させることにより製品ガスを送出するスチーム式液化ガス気化装置の運転方法において、前記スチーム供給弁によるスチーム供給量の調節を、前記スチームにより加温されて気化した製品ガス又は供給される液化ガスの流量測定値と、該製品ガスの温度測定値とに基づいて行うことを特徴としている。
加えて、上記各運転方法において、前記スチーム供給弁は、最小弁開度があらかじめ規定されていることを特徴としている。
本発明の液化ガス気化装置の運転方法によれば、製品ガス送出量が極端に減量されたり、製品ガスの送出が中断されたりして製品ガス又は供給される液化ガスの流量測定値があらかじめ設定された流量最小値を下回ったときには、通常の温水や製品ガスの温度測定値に基づく運転制御とは異なる手順でスチーム供給弁を開閉制御するように設定することができる。
したがって、スチーム供給弁が微開−閉を繰り返すような制御を行わずに、弁シートや弁座部にエロージョンが発生したり、ストレーナを通過した微小な異物が食い込んだりすることがないようにあらかじめ規定された最小弁開度以上で弁開度を制御することにより、スチーム供給弁の弁座部に漏洩が発生することを防止できる。
図1は温水式液化ガス気化装置に本発明を適用した一形態例を示す系統図、図2は制御手順の一例を示すフローチャートである。
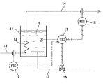
まず、温水式液化ガス気化装置は、温水Hを貯留する温水槽11と、該温水槽11内に気密状態で配設された熱交換部12と、該熱交換部12に低温液化ガスを供給する低温液化ガス供給配管13と、熱交換部12で気化した製品ガスを使用先に送出する製品ガス送出配管14と、温水槽11の温水中に高温、高圧のスチームを供給するスチーム供給配管15と、該スチーム供給配管15のスチーム供給量を調節するためのスチーム供給弁16と、該スチーム供給弁16を温水槽11の温水Hの温度測定値に基づいて開閉制御する温度指示調節計(TIC)17と、該温度指示調節計17の制御手順を、製品ガス送出配管14を流れる製品ガスの流量測定値に基づいて切り替えるための信号を出力する製品ガス流量計(FIS)18とを備えている。
温度指示調節計17によるスチーム供給弁16の制御は、従来から一般に行われている通常のPID制御、すなわち、温度指示調節計17で測定した温水Hの温度測定値に基づいて温水Hの水温を一定乃至一定範囲内に維持するようにスチーム供給弁16の開度を自動調節する制御と、製品ガス流量計18で測定した流量測定値があらかじめ設定された流量最小値を下回ったときに製品ガス流量計18から出力される信号によって切り替えられるスチーム供給弁16の開閉(ON−OFF)制御とで行われる。
図2において、まず、ステップ101で製品ガス流量計18で測定した流量測定値FGと、あらかじめ設定されている流量最小値FSとの比較が行われる。このステップ101で流量測定値FGが流量最小値FS未満と判断された場合(Yes)は、ステップ102に進み、温度指示調節計17で測定した温度測定値HCと、あらかじめ設定されている水温最小値HLとの比較が行われる。
このステップ102で温度測定値HCが水温最小値HL未満であると判断された場合(Yes)は、ステップ103に進んでスチーム供給弁16があらかじめ規定された弁開度(規定弁開度)になるように制御され、続けてステップ104に進んでタイマーがスタートしてカウントを開始し、さらに、ステップ105でタイマーがタイムアップしたか否かが判断される。
ステップ105でタイマーがタイムアップしたと判断されたら(Yes)、ステップ106に進み、温度指示調節計17で測定した温度測定値HCと、あらかじめ設定されている水温最大値HHとの比較が行われる。ステップ106で温度測定値HCが水温最大値HH未満の場合は(No)、温度測定値HCが水温最大値HH以上になるまでステップ106が繰り返され、温度測定値HCが水温最大値HH以上になったと判断されたときに(Yes)、ステップ107に進んでスチーム供給弁16を閉じて全閉状態とした後、最初のステップ101に戻る。
また、ステップ102で温度測定値HCが水温最小値HL以上であると判断された場合(No)は、ステップ107に進み、スチーム供給弁16を閉じた後、最初のステップ101に戻る。さらに、ステップ101で流量測定値FGが流量最小値FS以上と判断された場合(No)は、ステップ108に進んで通常のPID制御が行われ、水温が低いときにはスチーム供給弁16を開方向に、水温が高いときにはスチーム供給弁16を閉方向に、それぞれ調節する制御が行われてステップ101に戻る。
この制御における各種設定値は、装置の規模、例えば、水槽の容積、製品ガスの最大送出量、スチームの最大供給量等の条件に応じて適宜設定されるものであって、さらに、スチーム供給弁16には、このスチーム供給弁16における弁シートや弁座部にエロージョンが発生したり、ストレーナを通過した微小な異物が食い込んだりすることがない最小弁開度が設定されており、PID制御によってスチーム供給弁16を開閉制御するときには、この最小弁開度が適用され、この最小弁開度以上に弁開度を絞る必要が生じたときには、スチーム供給弁16を閉じるように設定している。
例えば、最小弁開度を30%に設定したときには、弁開度が30〜100%の間でPID制御を行い、温水の温度が弁開度を30%未満にするような状態になったときには、スチーム供給弁16を一時的に全閉状態とし、弁開度が0〜30%の範囲にならないようにする。
ステップ103におけるスチーム供給弁16の規定弁開度や、ステップ105におけるタイマー等のパラメーターは、系の熱収支を計算して決定され、規定弁開度は、前記最小弁開度以上で、前記ステップ106を繰り返す際に、水温を適当な速度で上昇させることが可能な開度に設定すればよく、例えば、50〜60%程度に設定しておけばよい。
このように、製品ガス流量計18で測定した製品ガスの流量測定値FGがあらかじめ設定した最小流量値FS以上のときには、温度指示調節計17による通常のPID制御でスチーム供給弁16の弁開度を制御し、所定温度に加温した温水Hで低温液化ガスを加温するように設定することにより、今までと同様にして所定温度の製品ガスを使用先に供給することができる。このとき、前記最小弁開度以上の範囲でスチーム供給弁16の弁開度を制御することにより、弁シートや弁座部にエロージョンが発生したり、微小な異物が食い込んだりすることも防止できる。
そして、使用先での製品ガスの使用量が極端に少なくなったり、製品ガスの使用が中断されたりして、製品ガス流量計18で測定した製品ガスの流量測定値FGがあらかじめ設定した最小流量値FSを下回る状態となったときには、製品ガス流量計18からの信号により、温度指示調節計17のPID制御を中断してスチーム供給弁16の開閉制御を行う。これにより、スチーム供給弁16が微開−閉を繰り返す状態になることを回避できるので、弁シートや弁座部にエロージョンが発生したり、微小な異物が食い込んだりすることがなくなる。
また、スチーム供給弁16の開閉制御を行うにあたり、温水Hの温度測定値HCが水温最小値HL以上の場合は(ステップ102でNo)、スチーム供給弁16を閉じてスチームの供給を遮断することにより、温水Hを無駄に加熱することなく、エネルギーの節約が図れる。さらに、ステップ102での水温最小値HLをPID制御での低温側設定値よりも低い温度に設定しておくことにより、PID制御から開閉制御に移行した直後は、温度測定値HCが水温最小値HL以上となっているので、ステップ107でスチーム供給弁16を閉じるだけの操作でよく、さらに、ステップ106での水温最大値HHをPID制御での高温側設定値よりも高い温度に設定しておくことにより、開閉制御からPID制御に移行した直後は、スチーム供給弁16が全閉状態での制御が継続されることになり、制御性を向上させることができる。しかも、開閉制御の際に、ステップ105でタイマーにより所定時間継続してスチーム供給弁16を規定開度に保つようにしたことにより、スチーム供給弁16の頻繁な開閉動作を回避することができる。
なお、本形態例では、製品ガス流量計18で測定した製品ガスの流量に応じて制御方式を切り替えるようにしているが、図1に想像線で示すように、低温液化ガス供給配管13に液化ガス流量計19を設け、この液化ガス流量計19で装置に供給される低温液化ガスの流量を測定し、この流量測定値に応じて制御方式を切り替えることもできる。
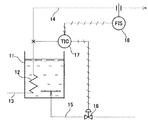
図3は温水式液化ガス気化装置に本発明を適用した他の形態例を示す系統図である。なお、以下の説明において、前記形態例で示した液化ガス気化装置における構成要素と同一の構成要素には、それぞれ同一符号を付して詳細な説明は省略する。
この温水式液化ガス気化装置は、温度指示調節計17によるPID制御を、前述の温水Hの温度に代えて、熱交換部12で気化した製品ガスの温度測定値に基づいて行うようにしている。この場合も、図2に示したステップ108でのPID制御の他は、製品ガス流量計18で測定した流量測定値FGに基づいて前記ステップ101〜107の開閉制御に切り替えることにより、前記同様の運転制御を行うことができる。
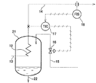
図4はスチーム式液化ガス気化装置に本発明を適用した一形態例を示す系統図である。このスチーム式液化ガス気化装置は、スチームが導入される密閉容器21内に熱交換部12を設けたもので、密閉容器21の底部にはドレン排出部22が設けられている。
このようなスチーム式液化ガス気化装置においても、熱交換部12で気化した製品ガスの温度測定値に基づいてPID制御を行い、製品ガス流量計18で測定した流量測定値FGに基づいてPID制御を前記開閉制御に切り替えることにより、前記同様の安定した運転制御を行うことができる。
なお、図3及び図4に示す形態例では、製品ガスの送出が完全に止まった場合、すなわち、製品ガス流量計18あるいは液化ガス流量計(図示せず)の流量測定値がゼロになった場合には、スチーム供給弁16を閉じ状態とし、装置へのスチームの供給を停止して待機状態とすればよい。
温水式液化ガス気化装置に本発明を適用した一形態例を示す系統図である。 制御手順の一例を示すフローチャートである。 温水式液化ガス気化装置に本発明を適用した他の形態例を示す系統図である。 スチーム式液化ガス気化装置に本発明を適用した一形態例を示す系統図である。
符号の説明
11…温水槽、12…熱交換部、13…低温液化ガス供給配管、14…製品ガス送出配管、15…スチーム供給配管、16…スチーム供給弁、17…温度指示調節計、18…製品ガス流量計、19…液化ガス流量計、21…密閉容器、22…ドレン排出部

Claims (4)

  1. スチーム供給源からスチーム供給弁を介して供給されるスチームで加温した温水を熱源として液化ガスを気化させることにより製品ガスを送出する温水式液化ガス気化装置の運転方法において、前記スチーム供給弁によるスチーム供給量の調節を、前記温水により加温されて気化した製品ガス又は供給される液化ガスの流量測定値と、前記温水の温度測定値とに基づいて行うことを特徴とする液化ガス気化装置の運転方法。
  2. スチーム供給源からスチーム供給弁を介して供給されるスチームで加温した温水を熱源として液化ガスを気化させることにより製品ガスを送出する温水式液化ガス気化装置の運転方法において、前記スチーム供給弁によるスチーム供給量の調節を、前記温水により加温されて気化した製品ガス又は供給される液化ガスの流量測定値と、該製品ガスの温度測定値とに基づいて行うことを特徴とする液化ガス気化装置の運転方法。
  3. スチーム供給源からスチーム供給弁を介して供給されるスチームを熱源として液化ガスを気化させることにより製品ガスを送出するスチーム式液化ガス気化装置の運転方法において、前記スチーム供給弁によるスチーム供給量の調節を、前記スチームにより加温されて気化した製品ガス又は供給される液化ガスの流量測定値と、該製品ガスの温度測定値とに基づいて行うことを特徴とする液化ガス気化装置の運転方法。
  4. 前記スチーム供給弁は、最小弁開度があらかじめ規定されていることを特徴とする請求項1乃至3のいずれか1項に記載の液化ガス気化装置の運転方法。
JP2004105952A 2004-03-31 2004-03-31 液化ガス気化装置の運転方法 Expired - Lifetime JP4567358B2 (ja)

Priority Applications (1)

Application Number Priority Date Filing Date Title
JP2004105952A JP4567358B2 (ja) 2004-03-31 2004-03-31 液化ガス気化装置の運転方法

Applications Claiming Priority (1)

Application Number Priority Date Filing Date Title
JP2004105952A JP4567358B2 (ja) 2004-03-31 2004-03-31 液化ガス気化装置の運転方法

Publications (2)

Publication Number Publication Date
JP2005291324A true JP2005291324A (ja) 2005-10-20
JP4567358B2 JP4567358B2 (ja) 2010-10-20

Family

ID=35324487

Family Applications (1)

Application Number Title Priority Date Filing Date
JP2004105952A Expired - Lifetime JP4567358B2 (ja) 2004-03-31 2004-03-31 液化ガス気化装置の運転方法

Country Status (1)

Country Link
JP (1) JP4567358B2 (ja)

Cited By (3)

* Cited by examiner, † Cited by third party
Publication number Priority date Publication date Assignee Title
KR100890436B1 (ko) 2007-04-13 2009-03-26 한국가스안전공사 기화기 설계 장치 및 그 설계 방법
KR20150037268A (ko) * 2013-09-30 2015-04-08 한국전력공사 외기를 이용한 승온시스템을 갖춘 저온용기
JP2019178686A (ja) * 2018-03-30 2019-10-17 大陽日酸株式会社 液化ガス気化装置の運転方法

Citations (3)

* Cited by examiner, † Cited by third party
Publication number Priority date Publication date Assignee Title
JPH06257586A (ja) * 1993-03-09 1994-09-13 Mitsubishi Heavy Ind Ltd 気液分離タンクの液面制御方法
JPH06265209A (ja) * 1991-03-06 1994-09-20 Tokyo Gas Co Ltd 減圧ボイラ式気化器の制御方法
JP2002340297A (ja) * 2001-05-18 2002-11-27 Nippon Sanso Corp 高圧ガス供給設備

Patent Citations (3)

* Cited by examiner, † Cited by third party
Publication number Priority date Publication date Assignee Title
JPH06265209A (ja) * 1991-03-06 1994-09-20 Tokyo Gas Co Ltd 減圧ボイラ式気化器の制御方法
JPH06257586A (ja) * 1993-03-09 1994-09-13 Mitsubishi Heavy Ind Ltd 気液分離タンクの液面制御方法
JP2002340297A (ja) * 2001-05-18 2002-11-27 Nippon Sanso Corp 高圧ガス供給設備

Cited By (4)

* Cited by examiner, † Cited by third party
Publication number Priority date Publication date Assignee Title
KR100890436B1 (ko) 2007-04-13 2009-03-26 한국가스안전공사 기화기 설계 장치 및 그 설계 방법
KR20150037268A (ko) * 2013-09-30 2015-04-08 한국전력공사 외기를 이용한 승온시스템을 갖춘 저온용기
KR102096520B1 (ko) * 2013-09-30 2020-05-27 한국전력공사 외기를 이용한 승온시스템을 갖춘 저온용기
JP2019178686A (ja) * 2018-03-30 2019-10-17 大陽日酸株式会社 液化ガス気化装置の運転方法

Also Published As

Publication number Publication date
JP4567358B2 (ja) 2010-10-20

Similar Documents

Publication Publication Date Title
JP2012047234A (ja) ガス充填装置
JP4327559B2 (ja) 燃料充てん方法
JP4567358B2 (ja) 液化ガス気化装置の運転方法
JP4286186B2 (ja) コージェネレーションシステム及びその運転制御方法
JP2004301186A (ja) 液化ガス気化システム
JP4906464B2 (ja) 給湯システム
JP2004036980A (ja) 給湯システム
JP2002277053A (ja) コージェネレーションシステムの温水回収制御装置
CN209926016U (zh) 一种水浴汽化系统
JP7622477B2 (ja) 蓄熱システム
JP4917417B2 (ja) コージェネレーションシステム
JP3699402B2 (ja) 湯水混合ユニット
JPS6229791Y2 (ja)
JP2003214597A (ja) Lngを用いた水素供給装置
JPH09101059A (ja) 給湯システム
JP4076939B2 (ja) 給湯システム
JP3701903B2 (ja) 給湯器用湯水混合ユニット
JP2004116932A (ja) 温水暖房熱源機
EP0487401A1 (fr) Procédé et installation d'élaboration d'un débit de gaz
JP4354074B2 (ja) 脱気器シール蒸気系統設備
JP7382811B2 (ja) 熱交換器
JP3834412B2 (ja) 燃焼機器
JP2001141302A (ja) 潜熱回収型給湯機
JP2005291627A (ja) 給湯熱源システム
JPH09145004A (ja) 加圧流動層ボイラの緊急停止時制御装置

Legal Events

Date Code Title Description
A621 Written request for application examination

Free format text: JAPANESE INTERMEDIATE CODE: A621

Effective date: 20070314

A977 Report on retrieval

Free format text: JAPANESE INTERMEDIATE CODE: A971007

Effective date: 20100325

A131 Notification of reasons for refusal

Free format text: JAPANESE INTERMEDIATE CODE: A131

Effective date: 20100406

A521 Request for written amendment filed

Free format text: JAPANESE INTERMEDIATE CODE: A523

Effective date: 20100603

TRDD Decision of grant or rejection written
A01 Written decision to grant a patent or to grant a registration (utility model)

Free format text: JAPANESE INTERMEDIATE CODE: A01

Effective date: 20100713

A01 Written decision to grant a patent or to grant a registration (utility model)

Free format text: JAPANESE INTERMEDIATE CODE: A01

A61 First payment of annual fees (during grant procedure)

Free format text: JAPANESE INTERMEDIATE CODE: A61

Effective date: 20100805

R150 Certificate of patent or registration of utility model

Ref document number: 4567358

Country of ref document: JP

Free format text: JAPANESE INTERMEDIATE CODE: R150

Free format text: JAPANESE INTERMEDIATE CODE: R150

FPAY Renewal fee payment (event date is renewal date of database)

Free format text: PAYMENT UNTIL: 20130813

Year of fee payment: 3

FPAY Renewal fee payment (event date is renewal date of database)

Free format text: PAYMENT UNTIL: 20130813

Year of fee payment: 3

FPAY Renewal fee payment (event date is renewal date of database)

Free format text: PAYMENT UNTIL: 20130813

Year of fee payment: 3

R250 Receipt of annual fees

Free format text: JAPANESE INTERMEDIATE CODE: R250

R250 Receipt of annual fees

Free format text: JAPANESE INTERMEDIATE CODE: R250

R250 Receipt of annual fees

Free format text: JAPANESE INTERMEDIATE CODE: R250

R250 Receipt of annual fees

Free format text: JAPANESE INTERMEDIATE CODE: R250

R250 Receipt of annual fees

Free format text: JAPANESE INTERMEDIATE CODE: R250

R250 Receipt of annual fees

Free format text: JAPANESE INTERMEDIATE CODE: R250

R250 Receipt of annual fees

Free format text: JAPANESE INTERMEDIATE CODE: R250

R250 Receipt of annual fees

Free format text: JAPANESE INTERMEDIATE CODE: R250

S111 Request for change of ownership or part of ownership

Free format text: JAPANESE INTERMEDIATE CODE: R313111

R350 Written notification of registration of transfer

Free format text: JAPANESE INTERMEDIATE CODE: R350

R250 Receipt of annual fees

Free format text: JAPANESE INTERMEDIATE CODE: R250

R250 Receipt of annual fees

Free format text: JAPANESE INTERMEDIATE CODE: R250

R250 Receipt of annual fees

Free format text: JAPANESE INTERMEDIATE CODE: R250

EXPY Cancellation because of completion of term