JP2005290029A - プリプレグ及びコンポジット積層板の製造方法 - Google Patents
プリプレグ及びコンポジット積層板の製造方法 Download PDFInfo
- Publication number
- JP2005290029A JP2005290029A JP2004102584A JP2004102584A JP2005290029A JP 2005290029 A JP2005290029 A JP 2005290029A JP 2004102584 A JP2004102584 A JP 2004102584A JP 2004102584 A JP2004102584 A JP 2004102584A JP 2005290029 A JP2005290029 A JP 2005290029A
- Authority
- JP
- Japan
- Prior art keywords
- resin composition
- epoxy resin
- prepreg
- woven fabric
- epoxy
- Prior art date
- Legal status (The legal status is an assumption and is not a legal conclusion. Google has not performed a legal analysis and makes no representation as to the accuracy of the status listed.)
- Pending
Links
- 239000002131 composite material Substances 0.000 title claims abstract description 54
- 238000004519 manufacturing process Methods 0.000 title claims abstract description 40
- 229920000647 polyepoxide Polymers 0.000 claims abstract description 98
- 239000003822 epoxy resin Substances 0.000 claims abstract description 96
- 239000011521 glass Substances 0.000 claims abstract description 74
- 239000011342 resin composition Substances 0.000 claims abstract description 58
- 239000000203 mixture Substances 0.000 claims abstract description 52
- 239000002759 woven fabric Substances 0.000 claims abstract description 42
- 239000004745 nonwoven fabric Substances 0.000 claims abstract description 32
- 239000013034 phenoxy resin Substances 0.000 claims abstract description 23
- 229920006287 phenoxy resin Polymers 0.000 claims abstract description 23
- 238000001035 drying Methods 0.000 claims abstract description 22
- 239000011248 coating agent Substances 0.000 claims abstract description 18
- 238000000576 coating method Methods 0.000 claims abstract description 18
- 239000011256 inorganic filler Substances 0.000 claims abstract description 18
- 229910003475 inorganic filler Inorganic materials 0.000 claims abstract description 18
- 238000010438 heat treatment Methods 0.000 claims abstract description 9
- 238000000034 method Methods 0.000 claims description 28
- 239000003795 chemical substances by application Substances 0.000 claims description 10
- 238000003825 pressing Methods 0.000 claims description 2
- 239000004593 Epoxy Substances 0.000 abstract description 18
- 239000000758 substrate Substances 0.000 abstract description 12
- 229920005989 resin Polymers 0.000 description 18
- 239000011347 resin Substances 0.000 description 18
- IISBACLAFKSPIT-UHFFFAOYSA-N bisphenol A Chemical compound C=1C=C(O)C=CC=1C(C)(C)C1=CC=C(O)C=C1 IISBACLAFKSPIT-UHFFFAOYSA-N 0.000 description 13
- 239000007787 solid Substances 0.000 description 10
- 239000002904 solvent Substances 0.000 description 10
- 239000002966 varnish Substances 0.000 description 10
- CSCPPACGZOOCGX-UHFFFAOYSA-N Acetone Chemical compound CC(C)=O CSCPPACGZOOCGX-UHFFFAOYSA-N 0.000 description 8
- 230000000694 effects Effects 0.000 description 8
- LNEPOXFFQSENCJ-UHFFFAOYSA-N haloperidol Chemical compound C1CC(O)(C=2C=CC(Cl)=CC=2)CCN1CCCC(=O)C1=CC=C(F)C=C1 LNEPOXFFQSENCJ-UHFFFAOYSA-N 0.000 description 7
- PXKLMJQFEQBVLD-UHFFFAOYSA-N bisphenol F Chemical compound C1=CC(O)=CC=C1CC1=CC=C(O)C=C1 PXKLMJQFEQBVLD-UHFFFAOYSA-N 0.000 description 6
- 125000005843 halogen group Chemical group 0.000 description 6
- 238000005470 impregnation Methods 0.000 description 6
- WNROFYMDJYEPJX-UHFFFAOYSA-K aluminium hydroxide Chemical compound [OH-].[OH-].[OH-].[Al+3] WNROFYMDJYEPJX-UHFFFAOYSA-K 0.000 description 5
- 229910000679 solder Inorganic materials 0.000 description 5
- VTYYLEPIZMXCLO-UHFFFAOYSA-L Calcium carbonate Chemical compound [Ca+2].[O-]C([O-])=O VTYYLEPIZMXCLO-UHFFFAOYSA-L 0.000 description 4
- VYPSYNLAJGMNEJ-UHFFFAOYSA-N Silicium dioxide Chemical compound O=[Si]=O VYPSYNLAJGMNEJ-UHFFFAOYSA-N 0.000 description 4
- ZUOUZKKEUPVFJK-UHFFFAOYSA-N diphenyl Chemical compound C1=CC=CC=C1C1=CC=CC=C1 ZUOUZKKEUPVFJK-UHFFFAOYSA-N 0.000 description 4
- 238000001704 evaporation Methods 0.000 description 4
- -1 glycidyl ester Chemical class 0.000 description 4
- 239000000463 material Substances 0.000 description 4
- 238000000465 moulding Methods 0.000 description 4
- 239000000126 substance Substances 0.000 description 4
- 239000002344 surface layer Substances 0.000 description 4
- VEORPZCZECFIRK-UHFFFAOYSA-N 3,3',5,5'-tetrabromobisphenol A Chemical compound C=1C(Br)=C(O)C(Br)=CC=1C(C)(C)C1=CC(Br)=C(O)C(Br)=C1 VEORPZCZECFIRK-UHFFFAOYSA-N 0.000 description 3
- 230000000052 comparative effect Effects 0.000 description 3
- 238000013329 compounding Methods 0.000 description 3
- 150000001875 compounds Chemical class 0.000 description 3
- 238000005520 cutting process Methods 0.000 description 3
- 238000007865 diluting Methods 0.000 description 3
- 230000002349 favourable effect Effects 0.000 description 3
- 239000010410 layer Substances 0.000 description 3
- 238000002156 mixing Methods 0.000 description 3
- 229920003986 novolac Polymers 0.000 description 3
- 239000005011 phenolic resin Substances 0.000 description 3
- 229920001721 polyimide Polymers 0.000 description 3
- 239000009719 polyimide resin Substances 0.000 description 3
- 238000012546 transfer Methods 0.000 description 3
- QTWJRLJHJPIABL-UHFFFAOYSA-N 2-methylphenol;3-methylphenol;4-methylphenol Chemical compound CC1=CC=C(O)C=C1.CC1=CC=CC(O)=C1.CC1=CC=CC=C1O QTWJRLJHJPIABL-UHFFFAOYSA-N 0.000 description 2
- ULKLGIFJWFIQFF-UHFFFAOYSA-N 5K8XI641G3 Chemical compound CCC1=NC=C(C)N1 ULKLGIFJWFIQFF-UHFFFAOYSA-N 0.000 description 2
- 229930185605 Bisphenol Natural products 0.000 description 2
- RYGMFSIKBFXOCR-UHFFFAOYSA-N Copper Chemical compound [Cu] RYGMFSIKBFXOCR-UHFFFAOYSA-N 0.000 description 2
- UFWIBTONFRDIAS-UHFFFAOYSA-N Naphthalene Chemical compound C1=CC=CC2=CC=CC=C21 UFWIBTONFRDIAS-UHFFFAOYSA-N 0.000 description 2
- ISWSIDIOOBJBQZ-UHFFFAOYSA-N Phenol Chemical compound OC1=CC=CC=C1 ISWSIDIOOBJBQZ-UHFFFAOYSA-N 0.000 description 2
- 239000004305 biphenyl Substances 0.000 description 2
- 235000010290 biphenyl Nutrition 0.000 description 2
- 229910000019 calcium carbonate Inorganic materials 0.000 description 2
- 238000006243 chemical reaction Methods 0.000 description 2
- 239000004927 clay Substances 0.000 description 2
- 229910052570 clay Inorganic materials 0.000 description 2
- 239000011889 copper foil Substances 0.000 description 2
- 229930003836 cresol Natural products 0.000 description 2
- 238000011156 evaluation Methods 0.000 description 2
- 229910052736 halogen Inorganic materials 0.000 description 2
- 150000002367 halogens Chemical class 0.000 description 2
- RAXXELZNTBOGNW-UHFFFAOYSA-N imidazole Natural products C1=CNC=N1 RAXXELZNTBOGNW-UHFFFAOYSA-N 0.000 description 2
- 239000012948 isocyanate Substances 0.000 description 2
- 239000004843 novolac epoxy resin Substances 0.000 description 2
- 229920000768 polyamine Polymers 0.000 description 2
- 239000000377 silicon dioxide Substances 0.000 description 2
- 239000000454 talc Substances 0.000 description 2
- 229910052623 talc Inorganic materials 0.000 description 2
- 229920001342 Bakelite® Polymers 0.000 description 1
- 125000002723 alicyclic group Chemical group 0.000 description 1
- 125000001931 aliphatic group Chemical group 0.000 description 1
- 125000003118 aryl group Chemical group 0.000 description 1
- 239000012298 atmosphere Substances 0.000 description 1
- WPYMKLBDIGXBTP-UHFFFAOYSA-N benzoic acid Chemical compound OC(=O)C1=CC=CC=C1 WPYMKLBDIGXBTP-UHFFFAOYSA-N 0.000 description 1
- 239000004841 bisphenol A epoxy resin Substances 0.000 description 1
- 230000003247 decreasing effect Effects 0.000 description 1
- 238000011161 development Methods 0.000 description 1
- QGBSISYHAICWAH-UHFFFAOYSA-N dicyandiamide Chemical compound NC(N)=NC#N QGBSISYHAICWAH-UHFFFAOYSA-N 0.000 description 1
- 238000010292 electrical insulation Methods 0.000 description 1
- 239000011888 foil Substances 0.000 description 1
- 230000009477 glass transition Effects 0.000 description 1
- 238000009499 grossing Methods 0.000 description 1
- 125000000623 heterocyclic group Chemical group 0.000 description 1
- 239000011229 interlayer Substances 0.000 description 1
- 150000002513 isocyanates Chemical class 0.000 description 1
- 238000003475 lamination Methods 0.000 description 1
- 238000005259 measurement Methods 0.000 description 1
- 125000001624 naphthyl group Chemical group 0.000 description 1
- 239000010680 novolac-type phenolic resin Substances 0.000 description 1
- 150000002989 phenols Chemical class 0.000 description 1
- 238000002360 preparation method Methods 0.000 description 1
- 239000002994 raw material Substances 0.000 description 1
- 230000000717 retained effect Effects 0.000 description 1
- 238000004062 sedimentation Methods 0.000 description 1
- 238000000926 separation method Methods 0.000 description 1
- 238000007493 shaping process Methods 0.000 description 1
- 230000035939 shock Effects 0.000 description 1
- 238000012360 testing method Methods 0.000 description 1
Images
Landscapes
- Reinforced Plastic Materials (AREA)
- Compositions Of Macromolecular Compounds (AREA)
- Application Of Or Painting With Fluid Materials (AREA)
Abstract
【課題】 耐熱性などの基本特性を実質的に維持しながら、接続信頼性を備えたコンポジット基材エポキシ積層板を製造することができるプリプレグの製造方法と、このプリプレグを用いたコンポジット基材エポキシ積層板の製造方法を提供する。
【解決手段】 コンポジット積層板に用いられるプリプレグの製造方法であって、
(A)ガラス織布に、エポキシ樹脂とフェノキシ樹脂とを含有する樹脂組成物(a)を塗布する工程、
(B)ガラス織布の、樹脂組成物(a)を塗布した面にガラス不織布を重ね合わせる工程、
(C)ガラス不織布の上から、エポキシ樹脂と無機充填材とを含有するエポキシ樹脂組成物(b)を塗布する工程、
(D)ガラス織布の、樹脂組成物(a)を塗布した反対側の面にエポキシ樹脂組成物(c)を塗布する工程、及び、
(E)上記工程で得られたものを加熱乾燥する工程、
を有することを特徴とする、プリプレグの製造方法。
【選択図】 図1
【解決手段】 コンポジット積層板に用いられるプリプレグの製造方法であって、
(A)ガラス織布に、エポキシ樹脂とフェノキシ樹脂とを含有する樹脂組成物(a)を塗布する工程、
(B)ガラス織布の、樹脂組成物(a)を塗布した面にガラス不織布を重ね合わせる工程、
(C)ガラス不織布の上から、エポキシ樹脂と無機充填材とを含有するエポキシ樹脂組成物(b)を塗布する工程、
(D)ガラス織布の、樹脂組成物(a)を塗布した反対側の面にエポキシ樹脂組成物(c)を塗布する工程、及び、
(E)上記工程で得られたものを加熱乾燥する工程、
を有することを特徴とする、プリプレグの製造方法。
【選択図】 図1
Description
本発明は、プリプレグ及びコンポジット積層板の製造方法に関するものである。
プリント回路板には多くの種類の積層板が用いられるが、これらの中でも、ガラス不織布を中間層基材、ガラス織布を表面層基材としコンポジット基材エポキシ積層板は、基本的な機械的特性、電気的特性に優れるとともに低価格であるため、産業・民生など広い分野で使用されている。そして、このように複数種の基材を用いたコンポジット基材エポキシ積層板用のプリプレグを効率的に生産する方法についても数多くの検討がなされてきている(例えば、特許文献1又は2参照。)。
コンポジット基材エポキシ積層板は、一般的にガラス織布基材エポキシ樹脂積層板と比較すると線膨張率が大きい傾向があるため、搭載部品との半田接続信頼性をより向上させるために、コンポジット基材エポキシ積層板の低線膨張率化が検討されている。
積層板に低線膨張性を付与する手法のひとつとして、基材とともに用いるエポキシ樹脂組成物に無機充填材を高率で配合する手法が挙げられる。しかし、打抜性、ドリル加工性、耐熱性が低下しやすい傾向がみられる。このため、コンポジット基材エポキシ積層板が有する耐熱性などの基本特性と、接続信頼性とを兼ね備えたコンポジット基材エポキシ積層板の開発が望まれていた。
積層板に低線膨張性を付与する手法のひとつとして、基材とともに用いるエポキシ樹脂組成物に無機充填材を高率で配合する手法が挙げられる。しかし、打抜性、ドリル加工性、耐熱性が低下しやすい傾向がみられる。このため、コンポジット基材エポキシ積層板が有する耐熱性などの基本特性と、接続信頼性とを兼ね備えたコンポジット基材エポキシ積層板の開発が望まれていた。
本発明は、耐熱性などの基本特性を実質的に維持しながら、接続信頼性を備えたコンポジット基材エポキシ積層板を製造することができるプリプレグの製造方法と、このプリプレグを用いたコンポジット基材エポキシ積層板の製造方法を提供するものである。
このような目的は、以下の本発明(1)〜(4)により達成される。
(1)コンポジット積層板に用いられるプリプレグの製造方法であって、
(A)ガラス織布に、エポキシ樹脂とフェノキシ樹脂とを含有する樹脂組成物(a)を塗布する工程、
(B)ガラス織布の、樹脂組成物(a)を塗布した面にガラス不織布を重ね合わせる工程、
(C)ガラス不織布の上から、エポキシ樹脂と無機充填材とを含有するエポキシ樹脂組成物(b)を塗布する工程、
(D)ガラス織布の、樹脂組成物(a)を塗布した反対側の面にエポキシ樹脂組成物(c)を塗布する工程、及び、
(E)上記工程で得られたものを加熱乾燥する工程、
を有することを特徴とする、プリプレグの製造方法。
(2)上記樹脂組成物(a)は、エポキシ樹脂(E)とフェノキシ樹脂(P)とを、重量比(E:P)で1:9〜8:2の割合で含有する上記(1)に記載のプリプレグの製造方法。
(3)上記エポキシ樹脂組成物(b)は、該組成物中のエポキシ樹脂と硬化剤との合計100重量部に対して、無機充填材80〜250重量部を含有する上記(1)又は(2)に
記載のプリプレグの製造方法。
(4)上記(1)ないし(3)のいずれかに記載の製造方法により得られたプリプレグ2枚を、ガラス不織布を内側にして重ね合わせ、これを加熱加圧成形することを特徴とするコンポジット積層板の製造方法。
(1)コンポジット積層板に用いられるプリプレグの製造方法であって、
(A)ガラス織布に、エポキシ樹脂とフェノキシ樹脂とを含有する樹脂組成物(a)を塗布する工程、
(B)ガラス織布の、樹脂組成物(a)を塗布した面にガラス不織布を重ね合わせる工程、
(C)ガラス不織布の上から、エポキシ樹脂と無機充填材とを含有するエポキシ樹脂組成物(b)を塗布する工程、
(D)ガラス織布の、樹脂組成物(a)を塗布した反対側の面にエポキシ樹脂組成物(c)を塗布する工程、及び、
(E)上記工程で得られたものを加熱乾燥する工程、
を有することを特徴とする、プリプレグの製造方法。
(2)上記樹脂組成物(a)は、エポキシ樹脂(E)とフェノキシ樹脂(P)とを、重量比(E:P)で1:9〜8:2の割合で含有する上記(1)に記載のプリプレグの製造方法。
(3)上記エポキシ樹脂組成物(b)は、該組成物中のエポキシ樹脂と硬化剤との合計100重量部に対して、無機充填材80〜250重量部を含有する上記(1)又は(2)に
記載のプリプレグの製造方法。
(4)上記(1)ないし(3)のいずれかに記載の製造方法により得られたプリプレグ2枚を、ガラス不織布を内側にして重ね合わせ、これを加熱加圧成形することを特徴とするコンポジット積層板の製造方法。
本発明の製造方法によれば、耐熱性などの基本特性を実質的に維持しながら、接続信頼性を備えたコンポジット基材エポキシ積層板に適用できるプリプレグと、このプリプレグを用いたコンポジット基材エポキシ積層板を製造することができる。
以下に、本発明のプリプレグ及びコンポジット基材エポキシ積層板(以下、単に「コンポジット積層板」ということがある)について説明する。
本発明のプリプレグの製造方法では、まず、
(A)ガラス織布に、エポキシ樹脂とフェノキシ樹脂とを含有する樹脂組成物(a)を塗布する。
(A)ガラス織布に、エポキシ樹脂とフェノキシ樹脂とを含有する樹脂組成物(a)を塗布する。
上記(A)工程で用いられるガラス織布としては特に限定されないが、単位面積当たりの重量が、150〜250g/cm2 であるものが好ましい。さらに好ましくは190〜230g/cm2である。これにより、コンポジット積層板の機械的強度を確保することができる。
上記(A)工程で用いられる樹脂組成物(a)は、エポキシ樹脂とフェノキシ樹脂とを含有することを特徴とする。
樹脂組成物(a)は、エポキシ樹脂を含有する。これにより、耐熱性を付与することができる。
ここでエポキシ樹脂としては特に限定されないが、例えば、ビスフェノールA型エポキシ樹脂、ビスフェノールF型エポキシ樹脂、ビスフェノールAD型エポキシ樹脂等のビスフェノール型エポキシ樹脂、フェノールノボラック型エポキシ樹脂、クレゾールノボラック型エポキシ樹脂等のノボラック型エポキシ樹脂、臭素化ビスフェノールA型エポキシ樹脂、臭素化フェノールノボラック型エポキシ樹脂等の臭素化型エポキシ樹脂、トリグリシジルイソシアネートなどの複素環式エポキシ樹脂のほか、脂環式型エポキシ樹脂、ビフェニル型エポキシ樹脂、ナフタレン型エポキシ樹脂、グリシジルエステル型エポキシ樹脂等が挙げられる。これらを単独または2種類以上組み合わせて使用することができる。
ここでエポキシ樹脂としては特に限定されないが、例えば、ビスフェノールA型エポキシ樹脂、ビスフェノールF型エポキシ樹脂、ビスフェノールAD型エポキシ樹脂等のビスフェノール型エポキシ樹脂、フェノールノボラック型エポキシ樹脂、クレゾールノボラック型エポキシ樹脂等のノボラック型エポキシ樹脂、臭素化ビスフェノールA型エポキシ樹脂、臭素化フェノールノボラック型エポキシ樹脂等の臭素化型エポキシ樹脂、トリグリシジルイソシアネートなどの複素環式エポキシ樹脂のほか、脂環式型エポキシ樹脂、ビフェニル型エポキシ樹脂、ナフタレン型エポキシ樹脂、グリシジルエステル型エポキシ樹脂等が挙げられる。これらを単独または2種類以上組み合わせて使用することができる。
また、コンポジット積層板として、ハロゲン物質を含まないものを製造する場合は、上記エポキシ樹脂として、実質的にハロゲン原子を含まないエポキシ樹脂を用いることができる。なおここで、実質的にハロゲン原子を含まないエポキシ樹脂としては、例えば、樹脂中のハロゲン原子の含有量が1重量%以下であるものを用いることができる。
上記エポキシ樹脂には、通常、硬化剤を用いることができる。硬化剤としては特に限定されないが、例えば、脂肪族ポリアミン、芳香族ポリアミン、脂環族酸無水物、芳香族酸無水物、イソシアネート化合物、ノボラック型フェノール樹脂、イミダゾール化合物、ジシアンジアミドなどが挙げられる。これらを単独または2種類以上組み合わせて使用することができる。
樹脂組成物(a)は、フェノキシ樹脂を含有する。これにより、コンポジット積層板の表面層と中間層との間に可塑性を付与することができ、熱履歴に対する中間層の寸法変化
を吸収することができるので、表面層側の線膨張を低減させ、表面層に搭載された部品との半田接続信頼性を向上させることができる。
ここで用いられるフェノキシ樹脂としては特に限定されないが、例えば、ビスフェノールA型フェノキシ樹脂、ビスフェノールF型フェノキシ樹脂、ビスフェノールA・F混合型フェノキシ樹脂などのビスフェノール骨格を有するフェノキシ樹脂のほか、ナフタレン骨格を有するフェノキシ樹脂、ビフェニル骨格を有するフェノキシ樹脂等が挙げられる。
また、フェノキシ樹脂の分子量としては特に限定されないが、重量平均分子量が10000以上であるものを用いることが好ましい。さらに好ましくは30000〜80000である。これにより、上記特性をより効果的に発現させることができる。
を吸収することができるので、表面層側の線膨張を低減させ、表面層に搭載された部品との半田接続信頼性を向上させることができる。
ここで用いられるフェノキシ樹脂としては特に限定されないが、例えば、ビスフェノールA型フェノキシ樹脂、ビスフェノールF型フェノキシ樹脂、ビスフェノールA・F混合型フェノキシ樹脂などのビスフェノール骨格を有するフェノキシ樹脂のほか、ナフタレン骨格を有するフェノキシ樹脂、ビフェニル骨格を有するフェノキシ樹脂等が挙げられる。
また、フェノキシ樹脂の分子量としては特に限定されないが、重量平均分子量が10000以上であるものを用いることが好ましい。さらに好ましくは30000〜80000である。これにより、上記特性をより効果的に発現させることができる。
また、コンポジット積層板として、ハロゲン物質を含まないものを製造する場合は、上記フェノキシ樹脂として、実質的にハロゲン原子を含まないフェノキシ樹脂を用いることができる。なおここで、実質的にハロゲン原子を含まないフェノキシ樹脂としては、例えば、樹脂中のハロゲン原子の含有量が1重量%以下であるものを用いることができる。
上記樹脂組成物(a)において、エポキシ樹脂(E)とフェノキシ樹脂(P)との配合割合(E:P)は特に限定されないが、重量比で1:9〜8:2の割合で含有することが好ましい。さらに好ましくは3:7〜7:3である。これにより、コンポジット積層板としての耐熱性と、上記効果とを高い水準で両立させることができる。
樹脂組成物(a)は、樹脂成分として上記エポキシ樹脂とフェノキシ樹脂とを主成分として含有するが、このほかにも、本発明の効果を損なわない範囲内において、その他の樹脂成分、例えば、フェノール樹脂、ポリイミド樹脂などのほか、エポキシ樹脂と反応するテトラブロムビスフェノールAなどの化合物を配合して用いることができる。
また、樹脂組成物(a)は、樹脂成分のほか、無機充填材を配合することができる。これにより、コンポジット積層板に難燃性、低線膨張性、耐トラッキング性などを付与することができる。
ここで用いられる無機充填材としては特に限定されないが、例えば、水酸化アルミニウム、炭酸カルシウム、クレー、タルク、シリカ等が挙げられる。これらの中でも、水酸化アルミニウムを用いると、上記効果に加えてコンポジット積層板に耐燃性を付与することができる。
無機充填材を用いる場合、その配合量としては特に限定されないが、上記樹脂成分、及び、硬化剤成分との合計100重量部に対して、20〜80重量部とすることが好ましい。
ここで用いられる無機充填材としては特に限定されないが、例えば、水酸化アルミニウム、炭酸カルシウム、クレー、タルク、シリカ等が挙げられる。これらの中でも、水酸化アルミニウムを用いると、上記効果に加えてコンポジット積層板に耐燃性を付与することができる。
無機充填材を用いる場合、その配合量としては特に限定されないが、上記樹脂成分、及び、硬化剤成分との合計100重量部に対して、20〜80重量部とすることが好ましい。
樹脂組成物(a)の形態としては特に限定されないが、以上に説明した成分を含有した、比較的高粘度のワニスとすることが好ましい。これにより、ガラス織布に塗布する際の取り扱い性が良好になり、塗布後にガラス織布中に樹脂組成物(a)を容易に保持させることができる。また、溶剤の使用量を削減でき、その後の加熱乾燥に要するエネルギーも少なくすることができる。
高粘度のワニスとする場合、樹脂組成物(a)中の固形分は特に限定されないが、50〜95重量%とすることが好ましい。さらに好ましくは60〜90重量%である。これにより、上記効果を有効に発現できる。固形分が上記下限値より少ないと、ガラス織布中に保持される樹脂組成物(a)の量が少なくなることがある。また、上記上限値より多いと、ガラス織布への含浸性が低下する場合がある。
樹脂組成物(a)の固形分量を調整する方法としては、例えば、アセトン等の溶剤を用いて希釈する方法が挙げられる。
高粘度のワニスとする場合、樹脂組成物(a)中の固形分は特に限定されないが、50〜95重量%とすることが好ましい。さらに好ましくは60〜90重量%である。これにより、上記効果を有効に発現できる。固形分が上記下限値より少ないと、ガラス織布中に保持される樹脂組成物(a)の量が少なくなることがある。また、上記上限値より多いと、ガラス織布への含浸性が低下する場合がある。
樹脂組成物(a)の固形分量を調整する方法としては、例えば、アセトン等の溶剤を用いて希釈する方法が挙げられる。
ガラス織布に塗布される樹脂組成物(a)の量は特に限定されないが、ガラス織布10
0重量部に対して、20〜200重量部であることが好ましい。さらに好ましくは50〜150重量部である。樹脂組成物(a)の量が上記下限値より少ないと、(B)工程で重ね合わせるガラス不織布との密着性が低下することがあり、コンポジット積層板の特性が低下する原因となることがある。また、上記上限値より多いと、樹脂組成物(a)の配合内容によっては樹脂成分量が多くなり、コンポジット積層板の熱時特性に影響することがある。
0重量部に対して、20〜200重量部であることが好ましい。さらに好ましくは50〜150重量部である。樹脂組成物(a)の量が上記下限値より少ないと、(B)工程で重ね合わせるガラス不織布との密着性が低下することがあり、コンポジット積層板の特性が低下する原因となることがある。また、上記上限値より多いと、樹脂組成物(a)の配合内容によっては樹脂成分量が多くなり、コンポジット積層板の熱時特性に影響することがある。
ガラス織布に樹脂組成物(a)を塗布する方法としては特に限定されないが、樹脂組成物(a)をワニスとし、コンマロールコーター、ナイフコーター、ダイスコーター、リバースコーター等のコーター装置を用いてガラス織布の上面に塗工する方法が好ましい。特に、コンマロールコーター、ナイフコーターを用いることが好ましい。これにより、樹脂組成物(a)を高粘度ワニスの形態で用いても、均一な塗工を簡易に行うことができる。
本発明のプリプレグの製造方法においては、上記(A)工程の後、樹脂組成物(a)を塗布したガラス織布を加熱乾燥して、樹脂組成物(a)中の溶剤を蒸発させる工程を設けることもできる。この加熱乾燥により、プリプレグ中の気泡を低減することができる。この加熱乾燥条件は、特に限定されないが、例えば、120〜180℃、1〜5分間で行うことができる。
次に、本発明のプリプレグの製造方法においては、
(B)ガラス織布の、樹脂組成物(a)を塗布した面にガラス不織布を重ね合わせる。
(B)ガラス織布の、樹脂組成物(a)を塗布した面にガラス不織布を重ね合わせる。
上記(B)工程で用いられるガラス不織布としては特に限定されないが、単位面積当たりの重量が25〜150g/cm2であるものを用いることが好ましい。さらに好ましくは30〜120g/cm2である。これにより、コンポジット積層板の機械的強度を確保することができるとともに、後述する(C)工程において塗布するエポキシ樹脂組成物(b)含浸性を向上させることができる。
ガラス不織布を重ね合わせる方法としては特に限定されないが、ガラス織布の、樹脂組成物(a)を塗布した面に、ガラス不織布を重ね合わせながら、重ね合わせロール等を用いて平滑化する方法が好ましい。これにより、ガラス不織布に対する樹脂組成物(a)の含浸性を均一にすることができる。また、(C)工程において、エポキシ樹脂組成物(b)の塗工量を均一にすることができる。
本発明のプリプレグの製造方法においては、上記(B)工程の後、これを加熱乾燥して、樹脂組成物(a)中の溶剤を蒸発させる工程を設けることもできる。この加熱乾燥により、プリプレグ中の気泡を低減することができる。この加熱乾燥条件は、特に限定されないが、例えば、120〜180℃、1〜5分間で行うことができる。ただし、この加熱乾燥は、上記(A)工程の後、(B)工程の前に加熱乾燥を行う場合は、省略することができる。
次に、本発明のプリプレグの製造方法においては、
(C)ガラス不織布の上から、エポキシ樹脂と無機充填材とを含有するエポキシ樹脂組成物(b)を塗布する。
(C)ガラス不織布の上から、エポキシ樹脂と無機充填材とを含有するエポキシ樹脂組成物(b)を塗布する。
上記(C)工程で用いられるエポキシ樹脂組成物(b)は、エポキシ樹脂と無機充填材とを含有する。これにより、コンポジット積層板に耐熱性、低線膨張性、寸法安定性を付与することができる。
エポキシ樹脂組成物(b)に用いるエポキシ樹脂、硬化剤、無機充填材としては、樹脂
組成物(a)と同様のものを用いることができる。このほかにも、その他の樹脂成分、例えば、フェノール樹脂、ポリイミド樹脂などのほか、エポキシ樹脂と反応するテトラブロムビスフェノールAなどの化合物を配合して用いることができる。
組成物(a)と同様のものを用いることができる。このほかにも、その他の樹脂成分、例えば、フェノール樹脂、ポリイミド樹脂などのほか、エポキシ樹脂と反応するテトラブロムビスフェノールAなどの化合物を配合して用いることができる。
エポキシ樹脂組成物(b)における無機充填材の配合量としては特に限定されないが、上記樹脂成分、及び、硬化剤成分との合計100重量部に対して、80〜250重量部とすることが好ましい。さらに好ましくは100〜200重量部である。配合量が上記下限値より少ないと、低熱膨張性、寸法安定性の向上効果が小さくなることがある。また、上記上限値を越えると、成形性が低下し、これに伴う熱時特性の低下がみられることがある。
エポキシ樹脂組成物(b)の形態としては特に限定されないが、以上に説明した成分を含有した、比較的高粘度のワニスとすることが好ましい。これにより、ガラス不織布に塗布する際の取り扱い性が良好になり、エポキシ樹脂組成物(b)中の無機充填材の沈降分離を防止することができる。また、塗布後にガラス不織布中にエポキシ樹脂組成物(a)を容易に保持させることができる。さらに、溶剤の使用量を削減でき、その後の加熱乾燥に要するエネルギーも少なくすることができる。
高粘度のワニスとする場合、樹脂組成物(a)中の固形分は特に限定されないが、65〜95重量%とすることが好ましい。さらに好ましくは70〜90重量%である。これにより、上記効果を有効に発現できる。固形分が上記下限値より少ないと、ガラス不織布中に保持されるエポキシ樹脂組成物(b)の量が少なくなることがある。また、上記上限値より多いと、ガラス不織布への含浸性が低下する場合がある。
エポキシ樹脂組成物(b)の固形分量を調整する方法としては、例えば、アセトン等の溶剤を用いて希釈する方法が挙げられる。
高粘度のワニスとする場合、樹脂組成物(a)中の固形分は特に限定されないが、65〜95重量%とすることが好ましい。さらに好ましくは70〜90重量%である。これにより、上記効果を有効に発現できる。固形分が上記下限値より少ないと、ガラス不織布中に保持されるエポキシ樹脂組成物(b)の量が少なくなることがある。また、上記上限値より多いと、ガラス不織布への含浸性が低下する場合がある。
エポキシ樹脂組成物(b)の固形分量を調整する方法としては、例えば、アセトン等の溶剤を用いて希釈する方法が挙げられる。
ガラス不織布に塗布されるエポキシ樹脂組成物(b)の量は特に限定されないが、ガラス織布100重量部に対して、150〜1500重量部であることが好ましい。さらに好ましくは300〜1200重量部である。エポキシ樹脂組成物(b)の量が上記下限値より少ないと、コンポジット積層板を成形する際にプリプレグ間の密着性が小さくなる傾向があり、コンポジット積層板の熱時特性に影響することがある。上記上限値より多いと、成形性が低下するようになる。
ガラス不織布にエポキシ樹脂組成物(b)を塗布する方法としては特に限定されないが、エポキシ樹脂組成物(b)をワニスとし、コンマロールコーター、ナイフコーター、ダイスコーター、リバースコーター等のコーター装置を用いてガラス不織布の上面に塗工する方法が好ましい。特に、コンマロールコーター、ナイフコーターを用いることが好ましい。これにより、エポキシ樹脂組成物(b)を高粘度ワニスの形態で用いても、均一な塗工を簡易に行うことができる。
本発明のプリプレグの製造方法においては、上記(C)工程の後、これを加熱乾燥して、樹脂組成物(a)中の溶剤を蒸発させる工程を設けることができる。この加熱乾燥により、プリプレグ中の気泡を低減することができる。この加熱乾燥条件は、特に限定されないが、例えば、120〜180℃、1〜10分間で行うことができる。
次に、本発明のプリプレグの製造方法においては、
(D)ガラス織布の、樹脂組成物(a)を塗布した反対側の面にエポキシ樹脂組成物(c)を塗布する。
これにより、ガラス織布の外側表面の樹脂量を多くすることができ、成形性を向上させることができる。
(D)ガラス織布の、樹脂組成物(a)を塗布した反対側の面にエポキシ樹脂組成物(c)を塗布する。
これにより、ガラス織布の外側表面の樹脂量を多くすることができ、成形性を向上させることができる。
上記(C)工程で用いられるエポキシ樹脂組成物(c)としては、エポキシ樹脂と硬化剤を含む樹脂組成物を好適に用いることができる。このほかにも、その他の樹脂成分、例えば、フェノール樹脂、ポリイミド樹脂などのほか、エポキシ樹脂と反応するテトラブロムビスフェノールAなどの化合物を配合して用いることができる。
また、樹脂組成物(c)は、これら樹脂成分のほか、無機充填材を配合することができる。これにより、コンポジット積層板に難燃性、低線膨張性、耐トラッキング性などを付与することができる。
ここで用いられる無機充填材としては特に限定されないが、例えば、水酸化アルミニウム、炭酸カルシウム、クレー、タルク、シリカ等が挙げられる。これらの中でも、水酸化アルミニウムを用いると、上記効果に加えてコンポジット積層板に耐燃性を付与することができる。
無機充填材を用いる場合、その配合量としては特に限定されないが、上記樹脂成分、及び、硬化剤成分との合計100重量部に対して、20〜80重量部とすることが好ましい。
ここで用いられる無機充填材としては特に限定されないが、例えば、水酸化アルミニウム、炭酸カルシウム、クレー、タルク、シリカ等が挙げられる。これらの中でも、水酸化アルミニウムを用いると、上記効果に加えてコンポジット積層板に耐燃性を付与することができる。
無機充填材を用いる場合、その配合量としては特に限定されないが、上記樹脂成分、及び、硬化剤成分との合計100重量部に対して、20〜80重量部とすることが好ましい。
エポキシ樹脂組成物(c)に用いるエポキシ樹脂、硬化剤としては、樹脂組成物(a)と同様のものを用いることができる。この中でも、樹脂組成物(a)、エポキシ樹脂組成物(c)とも、同じガラス織布に塗布含浸されるものであるので、同一種のものを用いることが好ましい。
エポキシ樹脂組成物(c)の形態としては特に限定されないが、以上に説明した成分を含有したワニスとすることが好ましい。これにより、ガラス不織布に塗布する際の取り扱い性と、ガラス織布への含浸性とを良好なものとすることができる。
エポキシ樹脂組成物(c)中の固形分は特に限定されないが、35〜85重量%とすることが好ましい。さらに好ましくは45〜75重量%である。これにより、上記効果を有効に発現できる。固形分が上記下限値より少ないと、ガラス織布中に保持されるエポキシ樹脂組成物(c)の量が少なくなることがある。また、上記上限値より多いと、ガラス織布への含浸性が低下する場合がある。
エポキシ樹脂組成物(c)の固形分量を調整する方法としては、例えば、アセトン等の溶剤を用いて希釈する方法が挙げられる。
エポキシ樹脂組成物(c)中の固形分は特に限定されないが、35〜85重量%とすることが好ましい。さらに好ましくは45〜75重量%である。これにより、上記効果を有効に発現できる。固形分が上記下限値より少ないと、ガラス織布中に保持されるエポキシ樹脂組成物(c)の量が少なくなることがある。また、上記上限値より多いと、ガラス織布への含浸性が低下する場合がある。
エポキシ樹脂組成物(c)の固形分量を調整する方法としては、例えば、アセトン等の溶剤を用いて希釈する方法が挙げられる。
ガラス織布に塗布されるエポキシ樹脂組成物(c)の量は特に限定されないが、ガラス織布100重量部に対して、20〜200重量部であることが好ましい。さらに好ましくは40〜180重量部である。エポキシ樹脂組成物(c)の量が上記下限値より少ないと、銅箔とプリプレグとの密着性が低下するようになる。また、上記上限値より多いと、樹脂量が多くなり成形性の低下や寸法安定性の低下を生じやすくなる。
ガラス織布にエポキシ樹脂組成物(c)を塗布する方法としては特に限定されないが、エポキシ樹脂組成物(c)をワニスとし、転写ロール、ロールコーター、ナイフコーター等の装置を用いて塗工する方法が好ましい。
次に、本発明のプリプレグの製造方法においては、
(E)上記の工程で得られたものを加熱乾燥する。
(E)上記の工程で得られたものを加熱乾燥する。
上記(E)工程において、(A)〜(D)工程で得られたものを加熱乾燥する条件は特に限定されないが、例えば、120〜180℃、1〜10分間で行うことができる。これにより、(A)〜(D)工程で用いた樹脂組成物中の溶剤分を実質的に蒸発除去するとともに、樹脂成分の硬化反応を途中まで進めることにより、取り扱い性が良好なプリプレグを得ることができる。
得られたプリプレグは、カッター装置により所定長さのプリプレグに切断した後、コンポジット積層板の成形に用いることができる。また、長尺物のまま連続的なコンポジット積層板の成形に供してもよい。
次に、本発明のコンポジット積層板の製造方法について説明する。
本発明のコンポジット積層板の製造方法は、上記本発明のプリプレグの製造方法で得られたプリプレグ2枚を用い、ガラス不織布側を内側にして重ね合わせ、加熱加圧成形することを特徴とする。
本発明のコンポジット積層板の製造方法は、上記本発明のプリプレグの製造方法で得られたプリプレグ2枚を用い、ガラス不織布側を内側にして重ね合わせ、加熱加圧成形することを特徴とする。
上記加熱加圧成形する条件としては特に限定されないが、例えば、温度150〜200℃、圧力1〜4MPa、時間60〜120分間で行うことができる。
このようにして得られたコンポジット積層板は、耐熱性、接続信頼性などに優れたものである。
このようにして得られたコンポジット積層板は、耐熱性、接続信頼性などに優れたものである。
次に、本発明のプリプレグの製造方法について、その好適な形態の一例を、図面を参照しながら詳細に説明する。
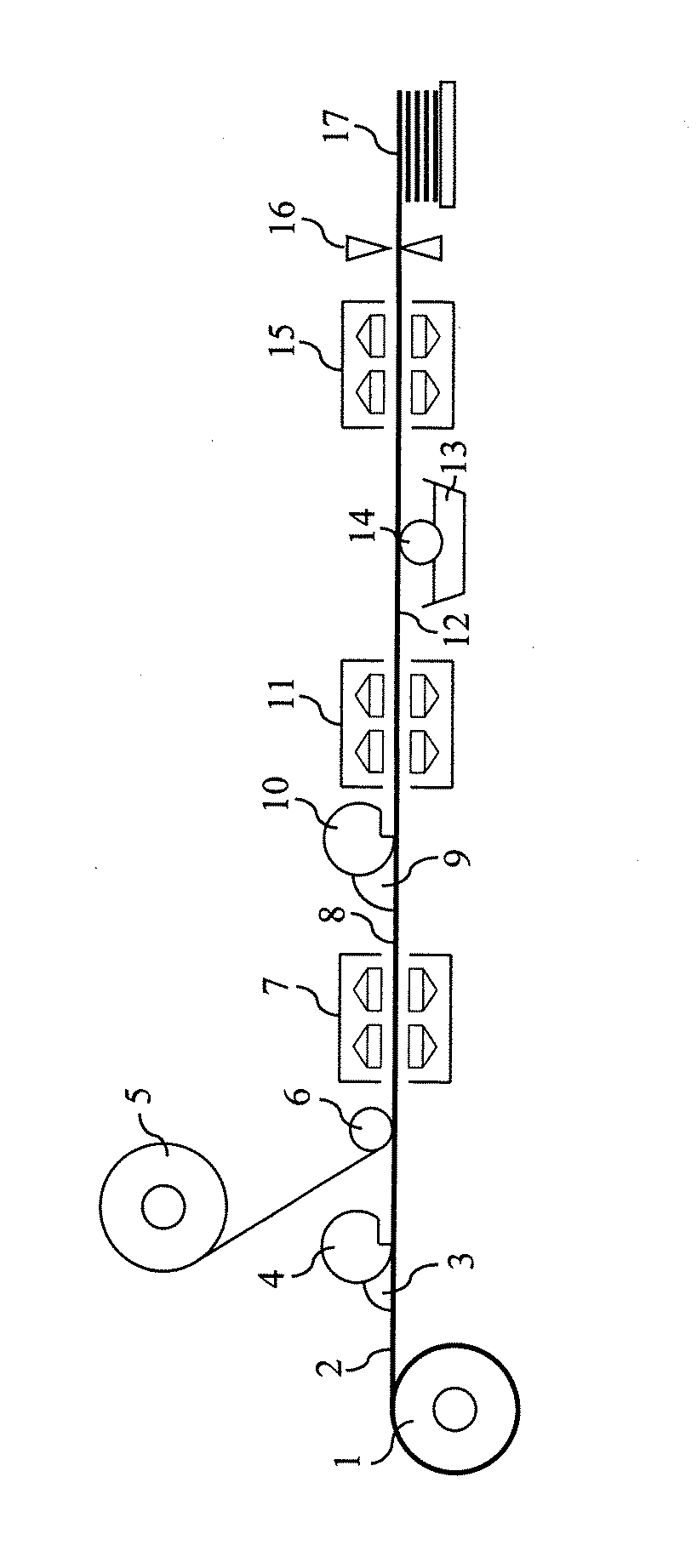
図1において、ガラス織布1は巻き出し装置から順次連続的に供給される。そして、ガラス織布の上面側2に、樹脂組成物(a)3をコンマコーター装置4により所定量塗工する。次いで、ガラス不織布5を巻き出し装置から供給し、重ね合わせロール6により重ね合わせて一体化する。これを乾燥装置7に通した後、ガラス不織布の上面側8から、エポキシ樹脂組成物(b)9をコンマコーター装置10により所定量塗工する。これを乾燥装置11に通した後、さらに、ガラス織布の下面側12から、エポキシ樹脂組成物(c)13を転写ロール装置14により所定量塗工する。これを乾燥装置15に通した後、裁断装置16により所定長さに裁断して、プリプレグ17を得ることができる。
図1において、ガラス織布1は巻き出し装置から順次連続的に供給される。そして、ガラス織布の上面側2に、樹脂組成物(a)3をコンマコーター装置4により所定量塗工する。次いで、ガラス不織布5を巻き出し装置から供給し、重ね合わせロール6により重ね合わせて一体化する。これを乾燥装置7に通した後、ガラス不織布の上面側8から、エポキシ樹脂組成物(b)9をコンマコーター装置10により所定量塗工する。これを乾燥装置11に通した後、さらに、ガラス織布の下面側12から、エポキシ樹脂組成物(c)13を転写ロール装置14により所定量塗工する。これを乾燥装置15に通した後、裁断装置16により所定長さに裁断して、プリプレグ17を得ることができる。
以下、実施例により本発明を具体的に説明する。
1.樹脂組成物(a)、エポキシ樹脂組成物(b)、及び、エポキシ樹脂組成物(c)の調製
下記の原料を、表1に示した量(重量部)で配合し、樹脂組成物(a1)〜(a3)、エポキシ樹脂組成物(b)、及び、エポキシ樹脂組成物(c)を得た。
下記の原料を、表1に示した量(重量部)で配合し、樹脂組成物(a1)〜(a3)、エポキシ樹脂組成物(b)、及び、エポキシ樹脂組成物(c)を得た。
(1)ビスフェノ−ルA型エポキシ樹脂:大日本インキ化学社製・「エピクロン850」、エポキシ当量190
(2)臭素化ビスフェノ−ルA型エポキシ樹脂:大日本インキ化学社製・「GX153」、エポキシ当量400
(3)クレゾ−ルノボラック型エポキシ樹脂:ジャパンエポキシレジン社製・「エピコ−ト180S75」、エポキシ当量210
(4)フェノキシ樹脂:ジャパンエポキシレジン社製・「エピコ−ト4250」、重量平均分子量60000
(5)ノボラック型フェノール樹脂:住友ベークライト社製・「PR−51470」
(6)硬化促進剤:2−エチル−4−メチルイミダゾ−ル
(7)無機充填材:住友化学社製・水酸化アルミニウム「CL−310」
(8)溶剤:アセトン
(2)臭素化ビスフェノ−ルA型エポキシ樹脂:大日本インキ化学社製・「GX153」、エポキシ当量400
(3)クレゾ−ルノボラック型エポキシ樹脂:ジャパンエポキシレジン社製・「エピコ−ト180S75」、エポキシ当量210
(4)フェノキシ樹脂:ジャパンエポキシレジン社製・「エピコ−ト4250」、重量平均分子量60000
(5)ノボラック型フェノール樹脂:住友ベークライト社製・「PR−51470」
(6)硬化促進剤:2−エチル−4−メチルイミダゾ−ル
(7)無機充填材:住友化学社製・水酸化アルミニウム「CL−310」
(8)溶剤:アセトン
4.プリプレグ及びコンポジット積層板の製造
<実施例1>
ガラス織布(日東紡績社製・「WEA7628」、単位面積当たりの重量180g/m2)に、ガラス織布100重量部に対して樹脂組成物(a1)100重量部を塗布した。その上面側からガラス不織布(キュムラス社製・「EPM―4100B」、単位面積当たりの重量100g/m2 )を重ね合わせ、150℃で2分間加熱乾燥した。
次に、ガラス不織布の上面側から、ガラス不織布100重量部に対してエポキシ樹脂組成物(b)1000重量部を塗布した。これを150℃で6分間加熱乾燥した。
次に、ガラス織布の側から、ガラス織布100重量部に対してエポキシ樹脂組成物(c)50重量部を塗布した。これを150℃で2分間加熱乾燥して、プリプレグを得た。
なお、樹脂組成物(a)、エポキシ樹脂組成物(b)、及び、エポキシ樹脂組成物(c)の塗布量は、すべて固形分換算値である。
上記で得られたプリプレグ2枚を、ガラス不織布側を内側にして重ね合わせ、さらに、その両外面に18μm厚みの電解銅箔(古河サーキットフォイル社製・「GTSMP−18」)を重ね、180℃、4MPaで90分間加熱加圧成形してコンポジット積層板を得た。
<実施例1>
ガラス織布(日東紡績社製・「WEA7628」、単位面積当たりの重量180g/m2)に、ガラス織布100重量部に対して樹脂組成物(a1)100重量部を塗布した。その上面側からガラス不織布(キュムラス社製・「EPM―4100B」、単位面積当たりの重量100g/m2 )を重ね合わせ、150℃で2分間加熱乾燥した。
次に、ガラス不織布の上面側から、ガラス不織布100重量部に対してエポキシ樹脂組成物(b)1000重量部を塗布した。これを150℃で6分間加熱乾燥した。
次に、ガラス織布の側から、ガラス織布100重量部に対してエポキシ樹脂組成物(c)50重量部を塗布した。これを150℃で2分間加熱乾燥して、プリプレグを得た。
なお、樹脂組成物(a)、エポキシ樹脂組成物(b)、及び、エポキシ樹脂組成物(c)の塗布量は、すべて固形分換算値である。
上記で得られたプリプレグ2枚を、ガラス不織布側を内側にして重ね合わせ、さらに、その両外面に18μm厚みの電解銅箔(古河サーキットフォイル社製・「GTSMP−18」)を重ね、180℃、4MPaで90分間加熱加圧成形してコンポジット積層板を得た。
<実施例2>
樹脂組成物(a1)の代わりに、樹脂組成物(a2)を用いた。これ以外は、実施例1と同様にしてプリプレグ及びコンポジット積層板を得た。
樹脂組成物(a1)の代わりに、樹脂組成物(a2)を用いた。これ以外は、実施例1と同様にしてプリプレグ及びコンポジット積層板を得た。
<実施例3>
樹脂組成物(a1)の代わりに、樹脂組成物(a3)を用いた。これ以外は、実施例1と同様にしてプリプレグ及びコンポジット積層板を得た。
樹脂組成物(a1)の代わりに、樹脂組成物(a3)を用いた。これ以外は、実施例1と同様にしてプリプレグ及びコンポジット積層板を得た。
<比較例1>
ガラス織布に最初に塗布する樹脂組成物(a1)の代わりに、エポキシ樹脂組成物(c)を用いた。これ以外は、実施例1と同様にしてプリプレグ及びコンポジット積層板を得た。
ガラス織布に最初に塗布する樹脂組成物(a1)の代わりに、エポキシ樹脂組成物(c)を用いた。これ以外は、実施例1と同様にしてプリプレグ及びコンポジット積層板を得た。
実施例及び比較例で得られたコンポジット積層板について、以下の評価を行った。結果を表2に示す。
5.評価方法
(1)ガラス転移温度:DMA法により、 周波数60Hzでの回転振動による粘弾性データを用い実施した。測定は3℃昇温で行った。
(1)ガラス転移温度:DMA法により、 周波数60Hzでの回転振動による粘弾性データを用い実施した。測定は3℃昇温で行った。
(2)半田接続信頼性:コンポジット積層板を使用したプリント板に市販の6432チップ抵抗を半田で接続し、−65℃・30分間/125℃・30分間 の冷熱衝撃試験を100サイクル実施し、半田接続部のクラックの有無を目視にて観察した。符号は以下のとおりである。
○:クラックなし ×:クラックあり
○:クラックなし ×:クラックあり
(3)耐熱性:100×100mmのコンポジット積層板を、250℃の雰囲気中にて30分間処理した後、層間ふくれ又は剥離の発生の有無を目視にて観察した。
(4)電気絶縁性:JIS C 6481に準拠して、コンポジット積層板の常態における体積抵抗率を測定した。
実施例1〜3はいずれも、樹脂組成物(a)にエポキシ樹脂とフェノキシ樹脂とを含有するものを用いた本発明の製造方法により得られたプリプレグ及びコンポジット積層板であり、耐熱性などの基本的特性を実質的に維持しながら、接続信頼性を向上させることができた。
比較例1は、実施例1〜3で用いた樹脂組成物(a)の代わりに、樹脂組成物(c)を用いたが、接続信頼性に劣るものとなった。
比較例1は、実施例1〜3で用いた樹脂組成物(a)の代わりに、樹脂組成物(c)を用いたが、接続信頼性に劣るものとなった。
本発明の製造方法によれば、耐熱性などの基本特性を実質的に維持しながら、接続信頼性を備えたコンポジット基材エポキシ積層板に適用できるプリプレグと、このプリプレグを用いたコンポジット基材エポキシ積層板を製造することができる。本発明の製造方法により得られたコンポジット積層板は、ガラス織布基材エポキシ樹脂積層板と同様な用途への展開が期待できるものである。
1 ガラス織布
3 樹脂組成物(a)
4 コンマコーター装置
5 ガラス不織布
6 重ね合わせロール
7 乾燥装置
9 エポキシ樹脂組成物(b)
10 コンマコーター装置
11 乾燥装置
13 エポキシ樹脂組成物(c)
14 転写ロール装置
15 乾燥装置
16 裁断装置
17 プリプレグ
3 樹脂組成物(a)
4 コンマコーター装置
5 ガラス不織布
6 重ね合わせロール
7 乾燥装置
9 エポキシ樹脂組成物(b)
10 コンマコーター装置
11 乾燥装置
13 エポキシ樹脂組成物(c)
14 転写ロール装置
15 乾燥装置
16 裁断装置
17 プリプレグ
Claims (4)
- コンポジット積層板に用いられるプリプレグの製造方法であって、
(A)ガラス織布に、エポキシ樹脂とフェノキシ樹脂とを含有する樹脂組成物(a)を塗布する工程、
(B)ガラス織布の、樹脂組成物(a)を塗布した面にガラス不織布を重ね合わせる工程、
(C)ガラス不織布の上から、エポキシ樹脂と無機充填材とを含有するエポキシ樹脂組成物(b)を塗布する工程、
(D)ガラス織布の、樹脂組成物(a)を塗布した反対側の面にエポキシ樹脂組成物(c)を塗布する工程、及び、
(E)前記工程で得られたものを加熱乾燥する工程、
を有することを特徴とする、プリプレグの製造方法。 - 前記樹脂組成物(a)は、エポキシ樹脂(E)とフェノキシ樹脂(P)とを、重量比(E:P)で1:9〜8:2の割合で含有する請求項1に記載のプリプレグの製造方法。
- 前記エポキシ樹脂組成物(b)は、該組成物中のエポキシ樹脂と硬化剤との合計100重量部に対して、無機充填材80〜250重量部を含有する請求項1又は2に記載のプリプレグの製造方法。
- 請求項1ないし3のいずれかに記載の製造方法により得られたプリプレグ2枚を、ガラス不織布を内側にして重ね合わせ、これを加熱加圧成形することを特徴とするコンポジット積層板の製造方法。
Priority Applications (1)
| Application Number | Priority Date | Filing Date | Title |
|---|---|---|---|
| JP2004102584A JP2005290029A (ja) | 2004-03-31 | 2004-03-31 | プリプレグ及びコンポジット積層板の製造方法 |
Applications Claiming Priority (1)
| Application Number | Priority Date | Filing Date | Title |
|---|---|---|---|
| JP2004102584A JP2005290029A (ja) | 2004-03-31 | 2004-03-31 | プリプレグ及びコンポジット積層板の製造方法 |
Publications (1)
| Publication Number | Publication Date |
|---|---|
| JP2005290029A true JP2005290029A (ja) | 2005-10-20 |
Family
ID=35323339
Family Applications (1)
| Application Number | Title | Priority Date | Filing Date |
|---|---|---|---|
| JP2004102584A Pending JP2005290029A (ja) | 2004-03-31 | 2004-03-31 | プリプレグ及びコンポジット積層板の製造方法 |
Country Status (1)
| Country | Link |
|---|---|
| JP (1) | JP2005290029A (ja) |
Cited By (3)
| Publication number | Priority date | Publication date | Assignee | Title |
|---|---|---|---|---|
| JP2008280470A (ja) * | 2007-05-14 | 2008-11-20 | Sumitomo Bakelite Co Ltd | プリプレグの製造方法、コンポジット積層板の製造方法およびコンポジット積層板 |
| JP2011068772A (ja) * | 2009-09-25 | 2011-04-07 | Namics Corp | エポキシ樹脂組成物、および、それによる接着フィルム |
| CN103946012A (zh) * | 2011-12-30 | 2014-07-23 | 氰特科技股份有限公司 | 剥离层、使用其的表面制备和结合复合结构的方法 |
-
2004
- 2004-03-31 JP JP2004102584A patent/JP2005290029A/ja active Pending
Cited By (4)
| Publication number | Priority date | Publication date | Assignee | Title |
|---|---|---|---|---|
| JP2008280470A (ja) * | 2007-05-14 | 2008-11-20 | Sumitomo Bakelite Co Ltd | プリプレグの製造方法、コンポジット積層板の製造方法およびコンポジット積層板 |
| JP2011068772A (ja) * | 2009-09-25 | 2011-04-07 | Namics Corp | エポキシ樹脂組成物、および、それによる接着フィルム |
| CN103946012A (zh) * | 2011-12-30 | 2014-07-23 | 氰特科技股份有限公司 | 剥离层、使用其的表面制备和结合复合结构的方法 |
| CN103946012B (zh) * | 2011-12-30 | 2016-01-20 | 氰特科技股份有限公司 | 剥离层、使用其的表面制备和结合复合结构的方法 |
Similar Documents
| Publication | Publication Date | Title |
|---|---|---|
| TWI570200B (zh) | 熱硬化性接著劑組成物、熱硬化性接著薄膜及複合薄膜 | |
| JP4957552B2 (ja) | プリント配線板用キャリア付きプリプレグの製造方法、プリント配線板用キャリア付きプリプレグ、プリント配線板用薄型両面板の製造方法、プリント配線板用薄型両面板、及び多層プリント配線板の製造方法 | |
| CN101687981B (zh) | 树脂组合物以及使用该树脂组合物得到的带树脂铜箔 | |
| JP6205692B2 (ja) | 熱硬化性エポキシ樹脂組成物、絶縁層形成用接着フィルム及び多層プリント配線板 | |
| JP5206600B2 (ja) | エポキシ樹脂組成物、プリプレグ、積層板、樹脂シート、多層プリント配線板、及び半導体装置 | |
| JP5547032B2 (ja) | 熱伝導性樹脂組成物、樹脂シート、プリプレグ、金属積層板およびプリント配線板 | |
| JP2008050526A (ja) | 樹脂組成物、それを用いたプリプレグ及び積層板 | |
| TW201936878A (zh) | 用於半導體封裝的熱固性樹脂組成物、預浸料以及覆金屬層壓板 | |
| JP2008280470A (ja) | プリプレグの製造方法、コンポジット積層板の製造方法およびコンポジット積層板 | |
| TWI504663B (zh) | Resin composition | |
| JP2005290029A (ja) | プリプレグ及びコンポジット積層板の製造方法 | |
| JP2014062150A (ja) | 絶縁樹脂フィルム、絶縁樹脂フィルムの製造方法、予備硬化物、積層体及び多層基板 | |
| JP2005290030A (ja) | プリプレグ及びコンポジット積層板の製造方法 | |
| KR100802840B1 (ko) | 콤포지트 적층판의 제조방법 | |
| KR20060134192A (ko) | 양면 금속 피복 적층판의 제조 방법 및 그 제조 방법에의해 얻어진 양면 금속 피복 적층판 | |
| CN101296998A (zh) | 树脂组合物、树脂膜、覆盖层膜、层间粘合剂、覆金属箔层压板和多层印刷电路板 | |
| KR102546390B1 (ko) | 수지 시트의 제조 방법 | |
| JP4784011B2 (ja) | 積層板の製造方法 | |
| JP2003011269A (ja) | 銅箔付き絶縁材の製造方法 | |
| JP6816566B2 (ja) | 樹脂組成物、接着フィルム、プリプレグ、多層プリント配線板及び半導体装置 | |
| JPH1154922A (ja) | 内層回路入り積層板の製造方法 | |
| JP2006232984A (ja) | 接着剤組成物ならびにそれを用いたカバーレイフィルムおよび接着シート | |
| JP2007128955A (ja) | プリント配線板及びその製造方法 | |
| JP2000133900A (ja) | 印刷配線板用プリプレグ | |
| JP2008111188A (ja) | プリント配線板用の銅箔 |
