JP2005166320A - 鉛蓄電池 - Google Patents

鉛蓄電池 Download PDF

Info

Publication number
JP2005166320A
JP2005166320A JP2003400774A JP2003400774A JP2005166320A JP 2005166320 A JP2005166320 A JP 2005166320A JP 2003400774 A JP2003400774 A JP 2003400774A JP 2003400774 A JP2003400774 A JP 2003400774A JP 2005166320 A JP2005166320 A JP 2005166320A
Authority
JP
Japan
Prior art keywords
cell
exhaust chamber
electrolyte
gas discharge
battery
Prior art date
Legal status (The legal status is an assumption and is not a legal conclusion. Google has not performed a legal analysis and makes no representation as to the accuracy of the status listed.)
Granted
Application number
JP2003400774A
Other languages
English (en)
Other versions
JP4715091B2 (ja
JP2005166320A5 (ja
Inventor
Yoshiaki Yamaguchi
義彰 山口
Hiroyasu Kawada
裕泰 河田
Takashi Akimoto
尚 秋本
Current Assignee (The listed assignees may be inaccurate. Google has not performed a legal analysis and makes no representation or warranty as to the accuracy of the list.)
Yuasa Corp
Original Assignee
Yuasa Corp
Yuasa Battery Corp
Priority date (The priority date is an assumption and is not a legal conclusion. Google has not performed a legal analysis and makes no representation as to the accuracy of the date listed.)
Filing date
Publication date
Application filed by Yuasa Corp, Yuasa Battery Corp filed Critical Yuasa Corp
Priority to JP2003400774A priority Critical patent/JP4715091B2/ja
Publication of JP2005166320A publication Critical patent/JP2005166320A/ja
Publication of JP2005166320A5 publication Critical patent/JP2005166320A5/ja
Application granted granted Critical
Publication of JP4715091B2 publication Critical patent/JP4715091B2/ja
Anticipated expiration legal-status Critical
Expired - Fee Related legal-status Critical Current

Links

Images

Classifications

    • YGENERAL TAGGING OF NEW TECHNOLOGICAL DEVELOPMENTS; GENERAL TAGGING OF CROSS-SECTIONAL TECHNOLOGIES SPANNING OVER SEVERAL SECTIONS OF THE IPC; TECHNICAL SUBJECTS COVERED BY FORMER USPC CROSS-REFERENCE ART COLLECTIONS [XRACs] AND DIGESTS
    • Y02TECHNOLOGIES OR APPLICATIONS FOR MITIGATION OR ADAPTATION AGAINST CLIMATE CHANGE
    • Y02EREDUCTION OF GREENHOUSE GAS [GHG] EMISSIONS, RELATED TO ENERGY GENERATION, TRANSMISSION OR DISTRIBUTION
    • Y02E60/00Enabling technologies; Technologies with a potential or indirect contribution to GHG emissions mitigation
    • Y02E60/10Energy storage using batteries

Landscapes

  • Gas Exhaust Devices For Batteries (AREA)

Abstract

【課題】一括排気方式を採用した鉛蓄電池であって、ガスの排出機能に優れ、電池に振動が加わってセル内の電解液が波打ったり、電池が傾いたりしたときにも電解液の逸出を抑制した防止機能に優れた鉛蓄電池を提供する。
【解決手段】一括排気する機構を備えた鉛蓄電池において、排気室41の床壁のセルに面する壁面に前記ガス排出口を囲みセル内に向かって伸びる筒状体と電解液還流口35を囲みセル内に向かって伸びる筒状体を設け、前記ガス排出口を囲みセル内に向かって伸びる筒状体の壁面に切り欠き43または透孔を設ける。
【選択図】図3

Description

本発明は、電解液に逸出を防止しながら、ガスを排出させる排気構造を備えた鉛蓄電池に関するものである。
複数のセルを備えるモノブロック式の鉛蓄電池の排気構造には、大別して、各セル毎に排気栓を設けた個別排気方式と各セルから排出されたガスを一旦排気室に導き、該排気室からガスを集中して外部に排出する一括排気方式がある。個別排気方式に比べて、一括排気方式は部品点数が少なくて済むこと、極板の上部空間の容積を小さくすることが可能であって、電池の容量を減らすことなくして電池の小型化が図れること、電解液の逸出量などの利点があるところから、車載用の鉛蓄電池に広く採用されるようになった。
従来、鉛蓄電池の一括排気に関しては、電解液がミストまたは蒸気の形で電池外へ逸出するのを防ぎ、電池の内圧が上昇しないようにガスをスムースに排出させる点で幾つかの提案がされている。例えば、排気室内で電解液のミストや蒸気を含んだガスを水平方向に流し、この間に電解液のミストや蒸気を結露させることによりガスと電解液を分離、ガスを外部に排出すると共に、結露した電解液をセル内に還流する構造となっている。(特許文献1、特許文献2参照)
米国特許第4486516号公報 特開平8−22815号公報
また、ガスと電解液の分離の効率を高めるために、前記ガスが水平方向に流れる距離を出来るだけ長くした一括排気の構造が提案されている。(特許文献3参照)
特開2001−84981号公報
また、排気室から電池外部に至るガス排出口に多孔性フィルターを配置し、電解液のミストや蒸気が排出されるのを防ぐと共に、フィルターの下側に空間を設けてフィルターが電解液で濡れて目詰まりするのを防いだ排気構造が提案されている。(特許文献4参照)
特開平6−176748号公報 車載用鉛蓄電池においては、車が振動したときに電解液面が波打ったり、車を登坂させるときに電解液面が傾いたりする。前記特許文献1〜3に提案の方式では、電解液面が波打ったり、傾いたりしたときに、電解液がセルと排気室を連通するガス排出口を通って、セル内の電解液が排気室に飛び出る虞があった。また、誤って電池を横転させたときに電解液が排気室から電池外部に溢れ出る虞があった。
本発明は、一括排気方式を採用した従来の鉛蓄電池の欠点に鑑みなされたものであって、ガスの排出機能、電解液の逸出防止機能に優れた鉛蓄電池を提供せんとするものである。
本発明においては、鉛蓄電池の排気構造を以下の構成とすることによって前記課題を解決する。
(1)本発明に係る鉛蓄電池は、複数のセルを収納する電槽と、該電槽の上面を覆う中蓋、該中蓋の凹部を覆う上蓋4囲まれれた空間に、隔壁で区画された前記複数のセル同数の排気室および該排気室に連通する少なくとも1個の集中排気室を備え、排気室の床壁に前記セルと排気室を連通するガス排気口と電解液還流口を備え、前記セルから発生するガスを前記排気室および集中排気室を経由して電池外へ一括排気する機構を備えた鉛蓄電池において、前記排気室の床壁のセルに面する壁面に前記ガス排出口を囲みセル内に向かって伸びる筒状体と電解液還流口を囲みセル内に向かって伸びる筒状体を設け、前記ガス排出口を囲みセル内に向かって伸びる筒状体の壁面に切り欠きまたは透孔を設けたことを特徴とする鉛蓄電池である。
(2)本発明に係る鉛蓄電池は、前記(1)に記載の蓄電池において、前記ガス排出口を長円形又は長方形の開口としたことを特徴とする鉛蓄電池である。
(3)本発明に係る鉛蓄電池は、前記(1)または(2)に記載の蓄電池において、前記排気室床壁のうち、前記ガス排出口を設けた局所床壁を、その周囲床壁に比べてセルの電解液面から遠い位置に配置したことを特徴とする鉛蓄電池である。
前記(1)および(3)に記載の本発明電池によれば、セル内の電解液面が波打ったり、電池が傾いたりした場合にも電解液の漏出の虞の小さい一括排気方式の鉛蓄電池とすることができる。
前記(2)、(3)に記載の本発明電池によれば、ガス排出口が電解液や異物で塞がれ難くでき、セルから排気室にスムースにガスを移行させることのできる鉛蓄電池とすることができる。
以下、本発明の詳細について、1実施形態により説明するが、本発明はこれに限定されるものではない。
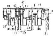
図1は、上蓋を外した状態での本発明の1実施形態に係る6セルモノブロック型の鉛蓄電池1を斜め上から見た斜視図である。2は電槽で、その内部は、電池の側辺のうち短辺に平行に配置された5個の隔壁(図示せず)によって6セルに分割されており、それぞれのセルに1組の正極板、負極板およびセパレータからなる極板群と希硫酸からなる電解液(図示せず)を収納している。図1の3は、電槽2の上に装着した中蓋で、4は、中蓋3の凹部に装着する上蓋である。電槽2、中蓋3、上蓋4は、何れもポリプロピレン製の成形体であり、電槽1の側壁上端(図示せず)と中蓋2の側壁下端(図示せず)および中蓋3の凹部に設けたの隔壁の上端と上蓋の隔壁の下端(図示せず)は熱融着されて、それぞれ気密に接合されている。なお5は、鉛合金製の正極端子、6は、鉛合金製の負極端子である。
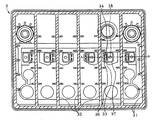
図2は、前記中蓋3をセルに面する方向から見た図である。斜線を施した部分は電槽2の側壁およびセル間隔壁(図示せず)の開口端面と熱融着によって接合される側壁31の端面と隔壁の32の端面である。電池は5個の隔壁32によって6個のセルに区画されている。中蓋3の床壁33にはセル数と同数のガス排出口34および電解液還流口中35からなる開口を設け、該開口を介してセルと排気室を連通している。
中蓋3の床壁33のセルに面する壁面には、前記ガス排出口34を囲みセルの方向に向かって伸びる筒状体36、電解液還流口35を囲みセルに向かって伸びる筒状体37を配置している。
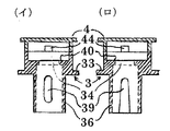
図3は、前記図2に示した中蓋3を図のA−Aで切断したときの断面図である。尚、理解し易いように、図3には、電槽2の側壁21、セル間隔壁22の開口端部と上蓋4の一部を図示した。中蓋の床壁33のうちセルに面する壁面に設けた隔壁の端面と電槽2の側壁21、セル間隔壁22の開口端部とは熱融着により気密に接合される。また、中蓋の床壁33の上面凹部に設けた隔壁と上蓋4の内面(図では下側の面)に設けた隔壁とは熱融着により気密に接合され、中蓋3と上蓋4とで囲まれた排気室41が形成される。セルから発生したガスは、ガス排出口を通って小室42に至り、上蓋4の隔壁に設けた切り欠き43を通って排気室41に移行した後、該排気室41に連通する集中排気室(図示せず)に導かれ、集中排気室を経由して電池の外へ排出される。ガスが排気室41内を移行している間にガスに混入した電解液のミストや蒸気が結露して液体となり、電解液還流口35を通って排気室41からセル内に還流される。
前記のように、中蓋の床壁33にはガス排出口34を囲みセルに向かって伸びる筒状体36と電解液還流口35を囲みセルに向かって伸びる筒状体37を設けている。該筒状体は、セル内の電解液面が波打ったときには波の頂点(波頭)や波が電槽の壁面に衝突する事によって生じる電解液の飛沫がガス排出口34や電解液還流口35に至るのを防ぐ働きをする。
また、前記筒状体36、37の下端38をセルの電解液に浸る(筒状体36、37の下端38が電解液面の下にある状態)ように設定することによって、電解液面を小面積に区画し、電池が傾いたときに電解液がガス排出口34や電解液還流口35に至るのを抑制する働きがある。筒状体36、および筒状体37の太さや断面形状は特に限定されるものではないが、電池が傾いたときに電解液がガス排出口34や電解液還流口35に至るのを抑制するためには、電解液面をできるだけ小面積に区画することが望ましく、それには筒状体36、37の太さが小さいほうが好ましい。
本発明においては、ガス排出口34を囲みセルに向かって伸びる筒状体36の壁面に切り欠きまたは透孔39を設けることが好ましい。該切り欠きや透孔39の大きさや位置は特に限定される者ではないが、前記のように電解液が波打ったときに電解液がガス排出口34に至るのを防ぐには、小さい方が好ましい。ただし、セルからガスをスムースに排出させるには、セル内の電解液が波打ったり、電池が傾いたりした場合にも切り欠き39の上端が電解液面の上にあることが望ましい。さらに、筒状体が電解液で濡れたときに電解液が液膜を形成して切り欠や透孔39を塞がない大きさにすることが好ましい。このような条件を満たすには、筒状体36に設ける切り欠きや透孔39は縦長の形状にすることが好ましい。このことによって、切り欠きや透孔39の上端を電解液面の上に設定し、かつ、できるだけ細くして電解液が波打ったときに電解液がガス排出口34に至るのを防ぐと同時に切り欠きや透孔39が電解液の液膜で塞がれるのを抑制することができる。
図4は、図3のB−Bで示した部分の断面図である。前記のように筒状体36の壁面には縦長の切り欠きや透孔39を設けている。
本発明においては、前記のようにガス排出口34を囲みセルに向かって伸びる筒状体36の壁面に切り欠きや透孔39を設けるので電解液還流口35に比べて電解液面が波打った時に電解液飛沫がガス排出口34に到達し易い。ガス排出口34に至った電解液飛沫は、ガス排出口34に液膜を形成し塞ぐことがある。ガス配排出口が液膜で塞がれ、その上に結露した電解液が溜まるとガス排出口34を通ってセルからガスが排出34するのを阻害する虞がある。液膜の形成を防ぐためには、図3に示したようにガス排出口34の形状を円や誠正方形ではなく細長い長円形や長方形とすることが好ましい。
また、ガス排出口34に液膜が形成してガス排出口34が塞がれることやガス排出口34に電解液面に浮遊している異物(極板から脱落したスポンジ状鉛等)詰まるという弊害を避けるために、図3および図4に示したようにガス排出口34を含む局所床壁40を中蓋の床壁33に比べて高い位置に配置してガス排出口34と電解液面との距離を大きくすることがさらに好ましい。
また、中蓋の床壁33に設けたガス排出口34を備える前記局所床壁40を取り囲むように隔壁43を設け、小室42を区画し、排気室41内で結露した電解液が小室42に入り込まないようにすると同時に、セルから排出されたガスが上蓋4の隔壁43に設けた切り欠き44を通って排気室41に移行させることが好ましい。
本発明に係る鉛蓄電池の上蓋を外した状態を斜め上から見た斜視図である。 本発明に係る鉛蓄電池の中蓋をセル側から見た平面図である。 本発明に係る上蓋の内面を示す平面図である。 筒状体の断面図である。
符号の説明
3 中蓋
4 上蓋
33 排気室床壁
34 ガス排出口
35 電解液還流口
35、37 筒状体
40 局所床壁
41 排気室

Claims (3)

  1. 複数のセルを収納する電槽と、該電槽の上面を覆う中蓋、該中蓋の凹部を覆う上蓋で囲まれれた空間に隔壁で区画された前記セルと同数の排気室および該排気室に連通する少なくとも1個の集中排気室を備え、排気室の床壁に前記セルと排気室を連通するガス排気口と電解液還流口を備え、前記セルから発生するガスを前記排気室および集中排気室を経由して電池外へ一括排気する機構を備えた鉛蓄電池において、前記排気室の床壁のセルに面する壁面に前記ガス排出口を囲みセル内に向かって伸びる筒状体と電解液還流口を囲みセル内に向かって伸びる筒状体を設け、前記ガス排出口を囲みセル内に向かって伸びる筒状体の壁面に切り欠きまたは透孔を設けたことを特徴とする鉛蓄電池。
  2. 前記ガス排出口を長円形又は長方形の開口としたことを特徴とする請求項1に記載の鉛蓄電池。
  3. 前記排気室床壁のうち、前記ガス排出口を設けた局所床壁を、その周囲床壁に比べてセルの電解液面から遠い位置に配置したことを特徴とする請求項1または、請求項2にl記載の鉛蓄電池。























JP2003400774A 2003-11-28 2003-11-28 鉛蓄電池 Expired - Fee Related JP4715091B2 (ja)

Priority Applications (1)

Application Number Priority Date Filing Date Title
JP2003400774A JP4715091B2 (ja) 2003-11-28 2003-11-28 鉛蓄電池

Applications Claiming Priority (1)

Application Number Priority Date Filing Date Title
JP2003400774A JP4715091B2 (ja) 2003-11-28 2003-11-28 鉛蓄電池

Publications (3)

Publication Number Publication Date
JP2005166320A true JP2005166320A (ja) 2005-06-23
JP2005166320A5 JP2005166320A5 (ja) 2006-10-26
JP4715091B2 JP4715091B2 (ja) 2011-07-06

Family

ID=34724911

Family Applications (1)

Application Number Title Priority Date Filing Date
JP2003400774A Expired - Fee Related JP4715091B2 (ja) 2003-11-28 2003-11-28 鉛蓄電池

Country Status (1)

Country Link
JP (1) JP4715091B2 (ja)

Cited By (8)

* Cited by examiner, † Cited by third party
Publication number Priority date Publication date Assignee Title
JP2005216815A (ja) * 2004-02-02 2005-08-11 Furukawa Battery Co Ltd:The 蓄電池用液口栓
JP2008117582A (ja) * 2006-11-02 2008-05-22 Furukawa Battery Co Ltd:The 蓄電池の排気構造
JP2008186690A (ja) * 2007-01-30 2008-08-14 Gs Yuasa Corporation:Kk 鉛蓄電池
JP2009021017A (ja) * 2007-07-10 2009-01-29 Furukawa Battery Co Ltd:The 蓄電池
WO2010035407A1 (ja) * 2008-09-26 2010-04-01 パナソニック株式会社 鉛蓄電池の製造方法および鉛蓄電池
CN106486616A (zh) * 2015-09-01 2017-03-08 株式会社杰士汤浅国际 铅蓄电池
CN114243201A (zh) * 2021-12-20 2022-03-25 风帆(扬州)有限责任公司 一种安全性高的阀控免维护电池
JP7470490B2 (ja) 2018-07-27 2024-04-18 株式会社Gsユアサ 鉛蓄電池

Citations (5)

* Cited by examiner, † Cited by third party
Publication number Priority date Publication date Assignee Title
JPS5298936A (en) * 1976-02-13 1977-08-19 Miyagawa Kasei Ind Molded article and method of molding same
JPS6252854A (ja) * 1985-08-30 1987-03-07 ジ−エヌビ− インコ−ポレイテイド 通気口装置を有する蓄電池
JPH0822815A (ja) * 1994-07-07 1996-01-23 Yuasa Corp 蓄電池の排気構造
JP2002313317A (ja) * 2001-04-11 2002-10-25 Matsushita Electric Ind Co Ltd 蓄電池用液口栓およびその蓄電池用液口栓を備えた蓄電池
JP2002540567A (ja) * 1999-03-22 2002-11-26 グローリー ウィン インターナショナル グループ リミティド バッテリ用換気システム

Patent Citations (5)

* Cited by examiner, † Cited by third party
Publication number Priority date Publication date Assignee Title
JPS5298936A (en) * 1976-02-13 1977-08-19 Miyagawa Kasei Ind Molded article and method of molding same
JPS6252854A (ja) * 1985-08-30 1987-03-07 ジ−エヌビ− インコ−ポレイテイド 通気口装置を有する蓄電池
JPH0822815A (ja) * 1994-07-07 1996-01-23 Yuasa Corp 蓄電池の排気構造
JP2002540567A (ja) * 1999-03-22 2002-11-26 グローリー ウィン インターナショナル グループ リミティド バッテリ用換気システム
JP2002313317A (ja) * 2001-04-11 2002-10-25 Matsushita Electric Ind Co Ltd 蓄電池用液口栓およびその蓄電池用液口栓を備えた蓄電池

Cited By (11)

* Cited by examiner, † Cited by third party
Publication number Priority date Publication date Assignee Title
JP2005216815A (ja) * 2004-02-02 2005-08-11 Furukawa Battery Co Ltd:The 蓄電池用液口栓
JP2008117582A (ja) * 2006-11-02 2008-05-22 Furukawa Battery Co Ltd:The 蓄電池の排気構造
JP2008186690A (ja) * 2007-01-30 2008-08-14 Gs Yuasa Corporation:Kk 鉛蓄電池
JP2009021017A (ja) * 2007-07-10 2009-01-29 Furukawa Battery Co Ltd:The 蓄電池
WO2010035407A1 (ja) * 2008-09-26 2010-04-01 パナソニック株式会社 鉛蓄電池の製造方法および鉛蓄電池
US9059482B2 (en) 2008-09-26 2015-06-16 Panasonic Intellectual Property Management Co., Ltd. Lead acid battery manufacturing method and lead acid battery
CN106486616A (zh) * 2015-09-01 2017-03-08 株式会社杰士汤浅国际 铅蓄电池
CN106486616B (zh) * 2015-09-01 2021-03-30 株式会社杰士汤浅国际 铅蓄电池
JP7470490B2 (ja) 2018-07-27 2024-04-18 株式会社Gsユアサ 鉛蓄電池
CN114243201A (zh) * 2021-12-20 2022-03-25 风帆(扬州)有限责任公司 一种安全性高的阀控免维护电池
CN114243201B (zh) * 2021-12-20 2023-11-17 风帆(扬州)有限责任公司 一种安全性高的阀控免维护电池

Also Published As

Publication number Publication date
JP4715091B2 (ja) 2011-07-06

Similar Documents

Publication Publication Date Title
JP4715089B2 (ja) 鉛蓄電池
JP5115199B2 (ja) 鉛蓄電池
US4486516A (en) Low silhouette venting system for electric storage battery
US4117205A (en) Electric storage battery
JP2002540567A (ja) バッテリ用換気システム
JP2015002166A (ja) 鉛蓄電池
JP5245335B2 (ja) 鉛蓄電池
US6686720B2 (en) Vented-type leak resistant motor cycle battery
JP2020017461A (ja) 鉛蓄電池
JP2005166318A5 (ja)
JP4715091B2 (ja) 鉛蓄電池
WO2006129340A1 (ja) 鉛蓄電池
JP2008186690A (ja) 鉛蓄電池
JP4246600B2 (ja) 蓄電池排気構造
US20190081287A1 (en) Battery cover for retention of dielectric fluid
JP2015022997A (ja) 鉛蓄電池
EP0107469B1 (en) Low silhouette venting system for electric storage battery
JP2009016063A (ja) 蓄電池
JP4715090B2 (ja) 鉛蓄電池
JP2019029069A (ja) 鉛蓄電池
JP2008146895A (ja) 鉛蓄電池
JP2008177042A (ja) 蓄電池用二重蓋排気構造
JP7210925B2 (ja) 鉛蓄電池
JP5184000B2 (ja) 蓄電池用排気構造
JP2011171039A (ja) 鉛蓄電池用の排気栓および鉛蓄電池

Legal Events

Date Code Title Description
A711 Notification of change in applicant

Free format text: JAPANESE INTERMEDIATE CODE: A712

Effective date: 20051219

A521 Request for written amendment filed

Free format text: JAPANESE INTERMEDIATE CODE: A523

Effective date: 20060125

A521 Request for written amendment filed

Free format text: JAPANESE INTERMEDIATE CODE: A523

Effective date: 20060912

A621 Written request for application examination

Free format text: JAPANESE INTERMEDIATE CODE: A621

Effective date: 20061019

A977 Report on retrieval

Free format text: JAPANESE INTERMEDIATE CODE: A971007

Effective date: 20090911

A711 Notification of change in applicant

Free format text: JAPANESE INTERMEDIATE CODE: A712

Effective date: 20100507

A131 Notification of reasons for refusal

Free format text: JAPANESE INTERMEDIATE CODE: A131

Effective date: 20100713

A521 Request for written amendment filed

Free format text: JAPANESE INTERMEDIATE CODE: A523

Effective date: 20100913

A131 Notification of reasons for refusal

Free format text: JAPANESE INTERMEDIATE CODE: A131

Effective date: 20101109

A521 Request for written amendment filed

Free format text: JAPANESE INTERMEDIATE CODE: A523

Effective date: 20101229

TRDD Decision of grant or rejection written
A01 Written decision to grant a patent or to grant a registration (utility model)

Free format text: JAPANESE INTERMEDIATE CODE: A01

Effective date: 20110301

A61 First payment of annual fees (during grant procedure)

Free format text: JAPANESE INTERMEDIATE CODE: A61

Effective date: 20110314

R150 Certificate of patent or registration of utility model

Ref document number: 4715091

Country of ref document: JP

Free format text: JAPANESE INTERMEDIATE CODE: R150

Free format text: JAPANESE INTERMEDIATE CODE: R150

FPAY Renewal fee payment (event date is renewal date of database)

Free format text: PAYMENT UNTIL: 20140408

Year of fee payment: 3

LAPS Cancellation because of no payment of annual fees